KR20120050648A - Door lock device and safe having it - Google Patents

Door lock device and safe having it Download PDF

Info

Publication number
KR20120050648A
KR20120050648A KR1020100112005A KR20100112005A KR20120050648A KR 20120050648 A KR20120050648 A KR 20120050648A KR 1020100112005 A KR1020100112005 A KR 1020100112005A KR 20100112005 A KR20100112005 A KR 20100112005A KR 20120050648 A KR20120050648 A KR 20120050648A
Authority
KR
South Korea
Prior art keywords
door
locking
clearance
clamp
insertion hole
Prior art date
Legal status (The legal status is an assumption and is not a legal conclusion. Google has not performed a legal analysis and makes no representation as to the accuracy of the status listed.)
Abandoned
Application number
KR1020100112005A
Other languages
Korean (ko)
Inventor
구홍식
김은영
김태은
Original Assignee
주식회사 선일
Priority date (The priority date is an assumption and is not a legal conclusion. Google has not performed a legal analysis and makes no representation as to the accuracy of the date listed.)
Filing date
Publication date
Application filed by 주식회사 선일 filed Critical 주식회사 선일
Priority to KR1020100112005A priority Critical patent/KR20120050648A/en
Publication of KR20120050648A publication Critical patent/KR20120050648A/en
Abandoned legal-status Critical Current

Links

Images

Classifications

    • EFIXED CONSTRUCTIONS
    • E05LOCKS; KEYS; WINDOW OR DOOR FITTINGS; SAFES
    • E05BLOCKS; ACCESSORIES THEREFOR; HANDCUFFS
    • E05B47/00Operating or controlling locks or other fastening devices by electric or magnetic means
    • E05B47/0001Operating or controlling locks or other fastening devices by electric or magnetic means with electric actuators; Constructional features thereof
    • E05B47/0012Operating or controlling locks or other fastening devices by electric or magnetic means with electric actuators; Constructional features thereof with rotary electromotors
    • EFIXED CONSTRUCTIONS
    • E05LOCKS; KEYS; WINDOW OR DOOR FITTINGS; SAFES
    • E05BLOCKS; ACCESSORIES THEREFOR; HANDCUFFS
    • E05B65/00Locks or fastenings for special use
    • E05B65/0075Locks or fastenings for special use for safes, strongrooms, vaults, fire-resisting cabinets or the like
    • EFIXED CONSTRUCTIONS
    • E05LOCKS; KEYS; WINDOW OR DOOR FITTINGS; SAFES
    • E05GSAFES OR STRONG-ROOMS FOR VALUABLES; BANK PROTECTION DEVICES; SAFETY TRANSACTION PARTITIONS
    • E05G1/00Safes or strong-rooms for valuables
    • E05G1/02Details
    • E05G1/026Closures
    • EFIXED CONSTRUCTIONS
    • E05LOCKS; KEYS; WINDOW OR DOOR FITTINGS; SAFES
    • E05GSAFES OR STRONG-ROOMS FOR VALUABLES; BANK PROTECTION DEVICES; SAFETY TRANSACTION PARTITIONS
    • E05G1/00Safes or strong-rooms for valuables
    • E05G1/02Details
    • E05G1/04Closure fasteners

Landscapes

  • Lock And Its Accessories (AREA)

Abstract

도어잠금장치 및 이를 포함하는 금고가 개시된다. 본 발명에 따른 도어잠금장치는 도어에 결합되는 하우징; 및 하우징에 왕복 직선이동 가능하게 결합되며, 문틀에 형성된 삽입공에 삽입되어 도어가 록킹되는 록킹위치 및 삽입공으로부터 이탈되어 도어의 록킹이 해제되는 록킹해제위치 사이에서 왕복 직선 이동 가능한 잠금쇠;를 구비하는 도어잠금장치에 있어서, 잠금쇠는 록킹위치로부터 록킹위치와 이격된 유격조절위치까지 더욱 직선 이동 가능하며, 삽입공의 내측면은 서로 마주하게 배치되되 그 사이의 거리가 잠금쇠의 록킹위치로부터 유격조절위치로의 직선이동방향으로 갈수록 감소하는 한 쌍의 유격제어 내측면을 포함하며, 잠금쇠의 전면 및 배면에는 유격조절위치에서 한 쌍의 유격제어 내측면과 각각 면접촉 또는 선접촉하는 유격제어 외측면이 형성되도록 구성된다. A door lock and a safe including the same are disclosed. The door locking device according to the present invention comprises a housing coupled to the door; And a locking key coupled to the housing so as to be reciprocally linearly movable, and reciprocating linearly movable between a locking position inserted into an insertion hole formed in the door frame to lock the door and a locking release position from which the door is released from the locking hole to be released from the insertion hole. In the door lock device, the lock can be moved more linearly from the locking position to the clearance adjustment position spaced apart from the locking position, the inner surface of the insertion hole is disposed facing each other, the distance between the clearance adjustment from the locking position of the clamp And a pair of clearance control inner surfaces that decrease in a linear movement direction to the position, and the front and rear surfaces of the clamping portion respectively face contact or line contact with the pair of clearance control inner surfaces at the clearance adjustment position, respectively. It is configured to be formed.

Description

도어잠금장치 및 이를 포함하는 금고{Door lock device and safe having it}Door lock device and safe containing it {Door lock device and safe having it}

본 발명은 도어잠금장치 및 이를 포함하는 금고에 관한 것으로서, 보다 상세하게는 특정 공간을 개폐하는 도어에 설치되어 도어를 록킹 및 록킹해제하는 도어잠금장치 및 이를 포함하는 금고에 관한 것이다. The present invention relates to a door locking device and a safe including the same, and more particularly, to a door locking device installed on a door for opening and closing a specific space to lock and unlock the door, and a safe including the same.

도어잠금장치는 특정 공간을 록킹 및 록킹해제하기 위한 보안장치로서, 가정이나 사무실의 현관문, 자동차의 도어 및 금고의 도어 등에 구비되어 있다.The door locking device is a security device for locking and releasing a specific space, and is provided in a front door of a home or office, a door of a car, a door of a safe, and the like.

도 1에는 가정의 현관문에 설치된 도어잠금장치의 일례가 도시되어 있다. 도 1을 참조하면, 도어잠금장치는 도어(1)의 측면에 삽입되어 설치되는 하우징(미도시)과, 하우징에 왕복 직선이동 가능하게 결합되는 잠금쇠(3)를 구비한다. 잠금쇠(3)가 문틀(4)에 형성된 삽입공(5)에 삽입 및 이탈됨에 따라, 도어(1)가 록킹 및 록킹해제된다. 그리고 도어(1)는 문틀(4)에 힌지 결합되어, 힌지축(6)을 중심으로 회전 가능하다. 잠금쇠(3)는 전자식 또는 기계식으로 구동된다. 하우징은 도어에 삽입되어 도 1에는 도시되지 않는다. 1 shows an example of a door locking device installed in a front door of a home. Referring to FIG. 1, the door locking device includes a housing (not shown) inserted and installed at a side of the door 1, and a clamp 3 coupled to the housing so as to reciprocate linearly. As the clamp 3 is inserted into and removed from the insertion hole 5 formed in the door frame 4, the door 1 is locked and unlocked. And the door 1 is hinged to the door frame 4, it is rotatable about the hinge axis (6). The catch 3 is driven electronically or mechanically. The housing is inserted into the door and not shown in FIG. 1.

그런데 상술한 바와 같이 구성된 종래의 도어잠금장치에 있어서는, 잠금쇠(3)가 삽입공(5)에 원활하게 삽입되도록 잠금쇠(3)가 삽입공(5)보다 더 크게 형성되어 있으므로, 잠금쇠(3)가 삽입공(5)에 삽입된 상태에서는 도 1에 도시되어 있는 바와 같이 잠금쇠(3)와 삽입공(5)의 내측면 사이에는 일정 정도의 공간, 즉 유격이 필연적으로 존재하게 된다. 이러한 유격 때문에, 도어(1)가 록킹된 상태에서도 도 1의 화살표방향으로 일정 정도 흔들릴 수 밖에 없는 한계가 있다. 그리고 유격이 형성되면, 도어(1)의 흔들림시에 잠금쇠(3)가 삽입공(5)의 내측면과 부딪혀서 소음이 발생하며 나아가 잠금쇠(3)가 쉽게 파손된다.By the way, in the conventional door lock device configured as described above, since the clamp 3 is formed larger than the insertion hole 5 so that the clamp 3 is smoothly inserted into the insertion hole 5, the clamp 3 In the state where the is inserted into the insertion hole 5, as shown in FIG. 1, a certain amount of space, i.e., a clearance, is inevitably present between the clasp 3 and the inner surface of the insertion hole 5. Because of this play, there is a limit that the door 1 can only be shaken to some extent in the direction of the arrow of FIG. 1 even when the door 1 is locked. When the clearance is formed, the clasp 3 hits the inner surface of the insertion hole 5 when the door 1 is shaken, and noise is generated. Furthermore, the clasp 3 is easily broken.

본 발명은 상기한 문제점을 해결하기 위해서 안출된 것으로서, 본 발명의 목적은, 도어가 록킹된 상태에서도 잠금쇠와 삽입공 사이에 유격이 존재하지 않아 도어의 흔들림이 방지되도록 구조가 개선되어 소음 발생을 원천적으로 차단하며 잠금쇠의 내구성이 향상된 도어잠금장치 및 이를 포함하는 금고를 제공하는 것이다.The present invention has been made to solve the above problems, an object of the present invention, there is no play between the clamp and the insertion hole even when the door is locked, the structure is improved so that the shaking of the door is prevented to generate noise It is to provide a door lock device and a safe containing the same to block the source and improve the durability of the clamp.

상기 목적을 달성하기 위해, 본 발명에 따른 도어잠금장치는 도어에 결합되는 하우징; 및 상기 하우징에 왕복 직선이동 가능하게 결합되며, 문틀에 형성된 삽입공에 삽입되어 상기 도어가 록킹되는 록킹위치 및 상기 삽입공으로부터 이탈되어 상기 도어의 록킹이 해제되는 록킹해제위치 사이에서 왕복 직선 이동 가능한 잠금쇠;를 구비하는 도어잠금장치에 있어서, 상기 잠금쇠는 상기 록킹위치로부터 상기 록킹위치와 이격된 유격조절위치까지 더욱 직선 이동 가능하며, 상기 삽입공의 내측면은 서로 마주하게 배치되되 그 사이의 거리가 상기 잠금쇠의 상기 록킹위치로부터 상기 유격조절위치로의 직선이동방향으로 갈수록 감소하는 한 쌍의 유격제어 내측면을 포함하며, 상기 잠금쇠의 전면 및 배면에는 상기 유격조절위치에서 상기 한 쌍의 유격제어 내측면과 각각 면접촉 또는 선접촉하는 유격제어 외측면이 형성되는 것을 특징으로 한다. In order to achieve the above object, the door locking device according to the present invention comprises a housing coupled to the door; And a reciprocating linear movement coupled to the housing, the reciprocating linear movement between a locking position inserted into an insertion hole formed in the door frame and the locking position at which the door is locked and a unlocking position at which the door is released from the insertion hole is released. In the door locking device having a lock; The lock is more linearly movable from the locking position to the clearance adjustment position spaced apart from the locking position, the inner surface of the insertion hole is disposed facing each other and the distance therebetween And a pair of clearance control inner surfaces that decrease in a linear movement direction from the locking position of the clamp to the clearance adjustment position, and the pair of clearance control at the clearance adjustment position on the front and rear surfaces of the clamp. Characterized in that the clearance control outer surface which is in surface contact or line contact with the inner surface respectively; do.

또한 본 발명에 따른 금고는 내부가 일측으로 개방되게 형성된 함체; 상기 함체의 내부를 개방하는 개방위치 및 상기 함체의 내부를 닫는 닫힘위치 사이에 이동 가능하도록 상기 함체에 결합되는 도어; 도어에 결합되는 하우징; 및 상기 하우징에 왕복 직선이동 가능하게 결합되며, 상기 닫힘위치에서 상기 함체에 형성된 삽입공에 삽입되어 상기 도어가 록킹되는 록킹위치 및 상기 삽입공으로부터 이탈되어 상기 도어의 록킹이 해제되는 록킹해제위치 사이에서 왕복 직선 이동 가능한 잠금쇠;를 구비하는 금고에 있어서, 상기 잠금쇠는 상기 록킹위치로부터 상기 록킹위치와 이격된 유격조절위치까지 더욱 직선 이동 가능하며, 상기 삽입공의 내측면은 서로 마주하게 배치되되 그 사이의 거리가 상기 잠금쇠의 상기 록킹위치로부터 상기 유격조절위치로의 직선이동방향으로 갈수록 감소하는 한 쌍의 유격제어 내측면을 포함하며, 상기 잠금쇠의 전면 및 배면에는 상기 유격조절위치에서 상기 한 쌍의 유격제어 내측면과 각각 면접촉 또는 선접촉하는 유격제어 외측면이 형성되는 것을 특징으로 한다. In addition, the safe box according to the present invention includes a housing formed so that the inside is opened to one side; A door coupled to the enclosure to be movable between an open position for opening the interior of the enclosure and a closed position for closing the interior of the enclosure; A housing coupled to the door; And a locking position coupled to the housing so as to be reciprocally linearly movable, the locking position being inserted into the insertion hole formed in the enclosure at the closed position to lock the door, and the unlocking position to be released from the insertion hole to release the locking of the door. In the safe having a reciprocating linear fastener in the lock, the fastener is more linearly movable from the locking position to the clearance adjustment position spaced apart from the locking position, the inner surface of the insertion hole is disposed facing each other And a pair of clearance control inner surfaces, the distance between which decreases in a linear movement direction from the locking position to the clearance adjustment position, wherein the pair of front and rear surfaces of the clasp at the clearance adjustment position. A clearance control outer surface is formed which is in surface contact or line contact with the clearance control inner surface of the .

본 발명에 따르면, 잠금쇠가 록킹위치에서 더욱 이동하여 유격조절위치까지 이동하도록 구성되므로, 잠금쇠와 잠금쇠가 삽입되는 삽입공 사이에 유격이 발생하지 않게 된다. 따라서 도어가 힌지축을 중심으로 흔들리지 않게 되어 소음 발생이 차단되며 잠금쇠, 더 나아가 금고의 내구성이 향상된다. According to the present invention, since the clamp is configured to move further from the locking position to the clearance adjustment position, there is no play between the clamp and the insertion hole into which the clamp is inserted. Therefore, the door is not shaken about the hinge axis, so that noise is prevented, and the clamp and, moreover, the durability of the safe is improved.

그리고 모터에 인가되는 전류 및/또는 모터가 작동하는 시간을 이용하여 모터의 작동이 제어되므로, 잠금쇠의 유격조절위치로의 이동과정에서 쉽게 발생 가능한 모터의 과부하가 원천적으로 차단된다. In addition, since the operation of the motor is controlled by using the current applied to the motor and / or the time when the motor operates, the overload of the motor, which is easily generated in the process of moving to the play position of the clamp, is essentially blocked.

도 1은 종래의 일례에 따른 도어잠금장치의 개략적인 평면도이다.
도 2는 본 발명의 일 실시예에 따른 금고의 개략적인 사시도이다.
도 3은 도 2의 Ⅲ-Ⅲ선의 개략적인 부분 단면도이다.
도 4 및 도 5는 도 3에 대응되는 부분 단면도로서, 잠금쇠가 록킹위치 및 유격조절위치까지 이동한 모습을 각각 도시한다.
도 6은 도 3의 Ⅵ-Ⅵ선의 개략적인 단면도이다.
도 7은 도 6의 Ⅶ-Ⅶ선의 개략적인 단면도이다.
도 8은 도 2에 도시된 잠금쇠의 편심도를 보정하는 과정을 설명하기 위한 개략적인 단면도이다.
도 9는 도 2에 도시된 잠금쇠의 제어동작을 설명하기 위한 개략적인 블록도이다.
도 10은 도 3에 도시된 유격제어 내측면 및 유격제어 외측면의 다른 형태를 개략적으로 도시한 단면도이다.
1 is a schematic plan view of a door locking device according to a conventional example.
2 is a schematic perspective view of a safe according to an embodiment of the present invention.
3 is a schematic partial cross-sectional view taken along line III-III of FIG. 2.
4 and 5 are partial cross-sectional views corresponding to FIG. 3, respectively, illustrating the state in which the clamp is moved to the locking position and the clearance adjustment position, respectively.
FIG. 6 is a schematic cross-sectional view taken along the line VI-VI of FIG. 3.
FIG. 7 is a schematic cross-sectional view taken along the line VII-VII of FIG. 6.
FIG. 8 is a schematic cross-sectional view for describing a process of correcting an eccentricity of the clamp shown in FIG. 2.
FIG. 9 is a schematic block diagram for describing a control operation of the catch illustrated in FIG. 2.
FIG. 10 is a cross-sectional view schematically illustrating another form of the play control inner surface and the play control outer surface shown in FIG. 3.

도 2는 본 발명의 일 실시예에 따른 금고의 개략적인 사시도이고, 도 3은 도 2의 Ⅲ-Ⅲ선의 개략적인 부분 단면도이며, 도 4 및 도 5는 도 3에 대응되는 부분 단면도로서, 잠금쇠가 록킹위치 및 유격조절위치까지 이동한 모습을 각각 도시하며, 도 6은 도 3의 Ⅵ-Ⅵ선의 개략적인 단면도이며, 도 7은 도 6의 Ⅶ-Ⅶ선의 개략적인 단면도이며, 도 8은 도 2에 도시된 잠금쇠의 편심도를 보정하는 과정을 설명하기 위한 개략적인 단면도이며, 도 9는 도 2에 도시된 잠금쇠의 제어동작을 설명하기 위한 개략적인 블록도이다. Figure 2 is a schematic perspective view of a safe according to an embodiment of the present invention, Figure 3 is a schematic partial cross-sectional view of the line III-III of Figure 2, Figures 4 and 5 are partial cross-sectional view corresponding to Figure 3, FIG. 6 is a schematic cross sectional view taken along the line VI-VI of FIG. 3, FIG. 7 is a schematic cross sectional view taken along the line VII-VII of FIG. 6, and FIG. 8 is shown in FIG. 2 is a schematic cross-sectional view for describing a process of correcting the eccentricity of the clamp shown in FIG. 2, and FIG. 9 is a schematic block diagram for explaining a control operation of the clamp shown in FIG. 2.

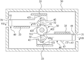
도 2 내지 도 9를 참조하면, 본 실시예의 금고(100)는 함체(10)와, 도어(20)와, 하우징(30)과, 잠금쇠(40)와, 가압부재(50)를 구비한다.2 to 9, the safe 100 according to the present embodiment includes a housing 10, a door 20, a housing 30, a clamp 40, and a pressing member 50.

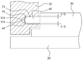
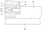
함체(10)는 전체적으로 사각의 박스형상으로 형성된다. 함체(10)의 내부는 전방으로 개방되게 형성된다. 그리고 함체(10)의 내측면에는 삽입공(11)이 한 쌍 형성된다. 구체적으로, 함체(10)의 내측면은 상측 내측면, 하측 내측면, 좌측 내측면 및 우측 내측면을 포함하며, 이 중 좌측 내측면 및 우측 내측면에는 각각 삽입공(11)이 형성된다. 도 3 내지 도 6에는 도면의 간략화를 위해서 좌측 내측면에 형성된 삽입공(11)만이 도시되어 있다.The enclosure 10 is formed in a rectangular box shape as a whole. The interior of the enclosure 10 is formed to open to the front. And a pair of insertion holes 11 are formed on the inner surface of the enclosure (10). Specifically, the inner surface of the housing 10 includes an upper inner surface, a lower inner surface, a left inner surface and a right inner surface, of which the insertion hole 11 is formed on the left inner surface and the right inner surface, respectively. 3 to 6 only the insertion hole 11 formed in the left inner side for the sake of simplicity of the drawing is shown.

각 삽입공(11)의 내측면에는 도 3에 도시되어 있는 바와 같이 전후방향으로 서로 마주하는 한 쌍의 유격제어 내측면(111)이 포함된다. 한 쌍의 유격제어 내측면(111) 사이의 거리는 도 3에서 좌측으로 갈수록 점진적으로 감소한다. 구체적으로, 한 쌍의 유격제어 내측면(111)은 후술하는 잠금쇠(40)의 직선이동방향(도 3에서 좌우측방향)에 대해 경사진 평면으로 구성되며, 한 쌍의 유격제어 내측면(111)의 경사진 방향은 서로 반대이다. As shown in FIG. 3, the inner surface of each insertion hole 11 includes a pair of play control inner surfaces 111 facing each other in the front-rear direction. The distance between the pair of play control inner surfaces 111 gradually decreases toward the left side in FIG. 3. Specifically, the pair of play control inner surfaces 111 are configured in a plane inclined with respect to the linear movement direction (left and right direction in Figure 3) of the clamp 40 to be described later, a pair of play control inner surfaces 111 The inclined directions are opposite.

도어(20)는 함체(10)에 힌지 결합되어, 힌지축(P)을 중심으로 회전함에 따라 함체(10)의 내부를 개폐한다. 구체적으로, 함체(10)가 도 2의 (a)에 도시된 닫힘위치에서는 함체(10)의 내부가 닫혀 외부로부터 접근이 불가능하며, 도 2의 (b)에 도시된 개방위치에서는 함체(10)의 내부가 개방되어 외부로부터 접근이 가능하다.The door 20 is hinged to the enclosure 10 to open and close the interior of the enclosure 10 as it rotates around the hinge axis P. FIG. Specifically, the enclosure 10 is closed in the closed position shown in Figure 2 (a) of the interior of the enclosure 10 is not accessible from the outside, the enclosure 10 in the open position shown in Figure 2 (b) The inside of the) is open and accessible from the outside.

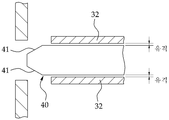
하우징(30)은 도어(20)의 내측면에 결합된다. 하우징(30)은 후술하는 잠금쇠(40) 및 잠금쇠(40)를 구동하기 위한 각종 구성요소가 설치되는 공간을 제공한다. 하우징(30)은 전체적으로 사각의 박스형상으로 형성된다. 하우징(30)의 좌측면 및 우측면에는 각각 잠금쇠(40)가 출입하는 출입공(31)이 관통 형성된다. 출입공(31)은 잠금쇠(40)의 직선이동을 방해하지 않을 정도로 형성된다. 그리고 하우징(30)의 내부에는 각 잠금쇠(40)의 직선이동을 가이드하는 전후방향 가이드부(32) 및 상하방향 가이드부(33)가 각각 한 쌍 형성된다. 각 잠금쇠(40)는 한 쌍의 전후방향 가이드부(32) 사이 배치되며, 또한 및 상하방향 가이드부(33) 사이에도 배치된다. 전후방향 가이드부(32)는 잠금쇠(40)의 전후방향으로의 움직임을 가이드하기 위한 것이다. 여기서 전후방향은 상하방향 및 잠금쇠의 직선이동방향과 직교하는 방향을 말한다. 그리고 상하방향 가이드부(33)는 잠금쇠(40)의 상하방향으로의 움직임을 가이드하기 위한 것이다. 이와 같이 각 잠금쇠(40)는 전후방향 가이드부(32) 및 상하방향 가이드부(33)에 의해서 전후방향 및 상하방향으로의 움직임이 일정 정도로 구속된 상태에서 삽입공(11)에 삽입 및 이탈되도록 구동된다. The housing 30 is coupled to the inner side of the door 20. The housing 30 provides a space in which the clamp 40 and the various components for driving the clamp 40 are described below. The housing 30 is formed in a rectangular box shape as a whole. On the left side and the right side of the housing 30, access holes 31 through which the clamp 40 enters and exits are respectively formed. The entrance hole 31 is formed so as not to interfere with the linear movement of the clamp 40. And inside the housing 30, a pair of front and rear direction guide portion 32 and the vertical guide portion 33 for guiding the linear movement of each clamp 40 is formed. Each clamp 40 is disposed between the pair of front and rear guide portions 32 and is also disposed between the vertical guide portions 33. The front-rear direction guide part 32 is for guiding the movement of the catch 40 to the front-back direction. Here, the front-rear direction refers to a direction perpendicular to the up-down direction and the linear movement direction of the clamp. And the vertical guide portion 33 is for guiding the movement of the clamp 40 in the vertical direction. In this way, each clamp 40 is inserted and removed from the insertion hole 11 in the state that the movement in the front and rear direction and the vertical direction by the front and rear guide portion 32 and the vertical guide portion 33 is restricted to a certain degree. Driven.

잠금쇠(40)는 도어(20)를 록킹 및 록킹해제하기 위한 것으로서 삽입공(11)의 개수에 대응되게 한 쌍 구비되어, 하우징(30)의 좌측 및 우측에 각각 배치된다. 각 잠금쇠(40)는 하우징(30)에 왕복 직선이동 가능하게 결합된다.The fasteners 40 are for locking and releasing the doors 20 and are provided in pairs corresponding to the number of the insertion holes 11 and are disposed on the left and right sides of the housing 30, respectively. Each catch 40 is coupled to the housing 30 so as to reciprocate linearly.

각 잠금쇠(40)의 전면 및 배면에는 각각 유격제어 외측면(41)이 형성된다. 유격제어 외측면(41)은 잠금쇠(40)의 직선이동방향(도 3에서 좌우측방향)에 대해 경사진 평면으로 구성되며, 잠금쇠(40)의 전면에 형성된 유격제어 외측면(41)의 경사 방향은 잠금쇠(40)의 배면에 형성된 유격제어 외측면(41)의 경사 방향과 반대이다. 각 유격제어 외측면(41)은 유격제어 내측면(111) 보다 더 작게 형성된다. 여기서 "더 작게 형성된다"의 의미는 유격제어 외측면(41)의 표면적이 유격제어 내측면(111)의 표면적 보다 더 작으며, 도 4에 도시되어 있는 바와 같이 잠금쇠(40)의 단면도에서 유격제어 외측면(41)을 지시하는 길이가 유격제어 내측면(111)을 지시하는 길이보다 더 작다는 것을 의미한다. The play control outer surface 41 is formed on the front and rear surfaces of each clamp 40, respectively. The clearance control outer surface 41 is constituted by a plane inclined with respect to the linear movement direction (left and right direction in FIG. 3) of the clamp 40, the inclination direction of the clearance control outer surface 41 formed on the front surface of the clamp 40 Is opposite to the inclination direction of the play control outer surface 41 formed on the rear surface of the clamp 40. Each play control outer surface 41 is formed smaller than the play control inner surface (111). The meaning of “smaller” here means that the surface area of the clearance control outer surface 41 is smaller than the surface area of the clearance control inner surface 111, and the clearance in the cross-sectional view of the clamp 40 as shown in FIG. 4. It means that the length indicating the control outer surface 41 is smaller than the length indicating the play control inner surface 111.

각 잠금쇠(40)는 직선이동하는 과정에서, 록킹해제위치, 록킹위치 및 유격조절위치에 선택적으로 위치 가능하다. 특히 종래와 달리 본 실시예의 잠금쇠는 록킹위치로부터 더욱 직선이동 하여 유격조절위치에 배치될 수 있다. Each fastener 40 is selectively positioned at the unlocking position, the locking position, and the play position in the process of linear movement. In particular, unlike the prior art, the clamp of the present embodiment may be arranged in the play position to move more linearly from the locking position.

도 3에 도시된 록킹해제위치에서는, 각 잠금쇠(40)가 삽입공(11)으로부터 이탈되어 도어(30)의 록킹이 해제된다. 그리고 도 4에 도시된 록킹위치에서는, 각 잠금쇠(40)가 삽입공(11)에 삽입되어 도어(30)가 록킹된다. 특히 록킹위치에서는, 각 잠금쇠(40)의 내측면, 특히 전면 및 배면 중 적어도 하나는 삽입공(11)의 내측면과 접촉하지 않는다. 따라서 종래기술에서 설명한 바와 같이 도어(30)는 록킹위치에서 힌지축을 중심으로 일정 정도 흔들리게 된다.In the unlocking position shown in FIG. 3, each clamp 40 is released from the insertion hole 11 to release the locking of the door 30. And in the locking position shown in FIG. 4, each clamp 40 is inserted in the insertion hole 11, and the door 30 is locked. Particularly in the locking position, at least one of the inner side, particularly the front side and the rear side of each clamp 40 does not contact the inner side of the insertion hole 11. Therefore, as described in the prior art, the door 30 is shaken about a hinge axis at a locking position to some extent.

도 5에 도시된 유격조절위치에서는, 잠금쇠(40)가 록킹위치에서보다 삽입공(11)의 내부로 더욱 삽입되므로, 한 쌍의 유격제어 외측면(41)은 한 쌍의 유격제어 내측면(111)과 각각 면접촉 또는 선접촉을 하게 된다. 면접촉은 유격제어 외측면(41)과 유격제어 내측면(111)이 이상적인 평면인 경우에 이루어지나, 이러한 경우는 현실적으로 어려우므로 선접촉할 수도 있다. 이와 같이 한 쌍의 유격제어 외측면(41)이 한 쌍의 유격제어 내측면(111)과 접촉하게 되면, 잠금쇠(40)의 전후방향으로 유격이 전혀 존재하지 않게 되므로, 잠금쇠(40)는 힌지축(P)을 중심으로 흔들리지 않는다. 특히 힌지축(P)이 하우징(30)의 우측에 배치된 잠금쇠(40) 주위에 배치되므로, 하우징(30)의 좌측에 배치된 잠금쇠(40) 및 이 잠금쇠(40)가 삽입되는 삽입공(11)에만 각각 유격제어 외측면(41) 및 유격제어 내측면(111)이 형성되더라도, 유격조절위치에서 도어(20)의 흔들림이 방지된다. In the clearance adjustment position shown in FIG. 5, since the clamp 40 is further inserted into the insertion hole 11 than in the locking position, the pair of clearance control outer surfaces 41 have a pair of clearance control inner surfaces ( And surface contact or line contact respectively. The surface contact is made when the clearance control outer surface 41 and the clearance control inner surface 111 are ideal planes. However, the surface contact may be in line contact because it is difficult in reality. As such, when the pair of play control outer surfaces 41 come into contact with the pair of play control inner surfaces 111, there is no play at all in the front and rear directions of the lock 40, so that the lock 40 is hinged. It is not shaken about the axis P. In particular, since the hinge shaft P is disposed around the clamp 40 disposed on the right side of the housing 30, the clamp 40 disposed on the left side of the housing 30 and the insertion hole into which the clamp 40 is inserted ( 11) Even if the clearance control outer surface 41 and the clearance control inner surface 111 are respectively formed, the shaking of the door 20 in the clearance adjustment position is prevented.

그리고 잠금쇠(40)와 삽입공(11) 사이에 법선벡터 방향으로 형성되는 유격은, 전후방향 가이드부(32)와 잠금쇠(40) 사이에 법선벡터 방향으로 형성되는 유격보다 작다. 여기서 법선벡터는 상하방향 및 잠금쇠(40)의 직선이동방향을 포함하는 가상의 평면의 법선벡터로서, 잠금쇠(40)의 전면 또는 배면이 향하는 방향이나 잠금쇠(40)의 직선이동방향과 직교하는 방향과 동일한 방향을 말한다. 이와 같이 유격의 크기가 상이하게 형성되면, 잠금쇠(40)가 삽입공(11)과 동축적으로 배치되지 못하고 도 8에 도시되어 있는 바와 같이 편심되게 배치되어 작동하더라도, 잠금쇠(40)의 유격조절위치로의 직선이동과정에서 유격제어 외측면(41)이 유격제어 내측면(111)을 타고 슬라이딩하게 되어 결국은 도 5에 도시된 유격조절위치에 배치될 수 있게 된다. 즉 잠금쇠(40)는 유격조절위치로의 직선이동과정에서 전후방향으로도 직선이동하게 된다. And the clearance formed in the normal vector direction between the clamp 40 and the insertion hole 11 is smaller than the clearance formed in the normal vector direction between the front-back direction guide part 32 and the clamp 40. Here, the normal vector is a normal plane vector of an imaginary plane including an up-down direction and a linear movement direction of the clamp 40, and the direction in which the front or rear surface of the clamp 40 is directed or perpendicular to the linear movement direction of the clamp 40. And speak the same direction. In this way, if the size of the clearance is formed differently, even if the locking clamp 40 is not arranged coaxially with the insertion hole 11 and arranged eccentrically as shown in Figure 8, the clearance adjustment of the clamp 40 In the linear movement to the position, the play control outer surface 41 slides on the play control inner surface 111, and thus can be disposed in the play control position shown in FIG. That is, the clamp 40 is also moved linearly in the front and rear direction during the linear movement to the play position.

가압부재(50)는 하우징(30)의 내부에 회전 가능하게 설치된다. 가압부재(50)는 하우징(30)에 회전 가능하게 결합되는 원형의 회전부(51)와, 회전부(51)의 외주면에 대해 길게 돌출 형성된 한 쌍의 가압부(52)를 포함한다. 회전부(51)의 외주면에는 복수의 치(齒)를 포함하는 치형부(511)가 형성된다. 그리고 한 쌍의 가압부(52)는 회전부(51)를 중심으로 180°를 이루도록 배치된다. 한 쌍의 가압부(52)는 가압부재(50)의 회전시 한 쌍의 잠금쇠(40)를 각각 가압하여 직선구동한다. 각 가압부(52)는 가압홈부(42)의 내측면을 가압한다. The pressing member 50 is rotatably installed inside the housing 30. The pressing member 50 includes a circular rotating part 51 rotatably coupled to the housing 30, and a pair of pressing parts 52 protruding from the outer circumferential surface of the rotating part 51. A tooth portion 511 including a plurality of teeth is formed on the outer circumferential surface of the rotating portion 51. In addition, the pair of pressing parts 52 are disposed to form 180 ° about the rotating part 51. The pair of pressing portions 52 pressurizes the pair of catches 40 at the time of rotation of the pressing member 50 to drive linearly. Each pressing portion 52 pressurizes an inner surface of the pressing groove 42.

가압홈부(42)는 각 잠금쇠(40)에 형성된다. 각 가압홈부(42)에는 각 가압부(52)가 각각 삽입된다. 각 가압홈부(42)의 내측면에는 급경사부(421) 및 완경사부(422)가 형성된다. 급경사부(421)는 잠금쇠(40)의 록킹해제위치로부터 록킹위치로의 직선이동시에 가압부(52)에 의해 가압되는 부분이다. 완경사부(422)는 잠금쇠(40)의 록킹위치로부터 유격조절위치로의 직선이동시에 가압부(52)에 의해 가압되는 부분이다. 급경사부(421)의 경사도는 완경사부(422)의 경사도보다 크다. 여기서 경사도라 함은 잠금쇠(40)의 직선이동방향에 대해 경사진 정도를 말한다. 따라서 경사도가 크면, 가압부재(50)가 동일한 각도만큼 회전하더라도 잠금쇠(40)가 직선이동하는 거리가 더 크다. 결국 잠금쇠(40)는 록킹위치까지는 상대적으로 급격하게 이동하다가 그 이후 유격조절위치까지는 상대적으로 느리게 이동하게 된다.The pressing grooves 42 are formed in the respective catches 40. Each pressing portion 52 is inserted into each pressing groove portion 42, respectively. The inclined portion 421 and the mild inclined portion 422 are formed on the inner surface of each of the pressing grooves 42. The steep slope 421 is a portion that is urged by the pressing portion 52 at the time of linear movement from the unlocking position of the clamp 40 to the locking position. The mildly inclined portion 422 is a portion pressed by the pressing portion 52 at the time of linear movement from the locking position of the clamp 40 to the clearance adjustment position. The slope of the steep slope 421 is greater than the slope of the gentle slope 422. Here, the inclination refers to the degree of inclination with respect to the linear movement direction of the clamp 40. Therefore, when the inclination is large, even if the pressing member 50 is rotated by the same angle, the distance that the stopper 40 is moved linearly is larger. As a result, the clamp 40 moves relatively sharply to the locking position, and then moves relatively slowly to the clearance adjusting position thereafter.

그리고 본 실시예의 금고(100)는 모터(61)와, 전류측정부(62)와, 록킹감지ㅂ부(63)와, 모터작동시간측정부(64)와, 제어부(70)를 더 구비한다. The safe 100 according to the present embodiment further includes a motor 61, a current measuring unit 62, a locking detecting unit 63, a motor operating time measuring unit 64, and a control unit 70. .

모터(61)는 잠금쇠(40)를 구동하기 위한 것으로서 전원에 의해 작동한다. 모터(61)의 출력축에는 피니언이 결합된다. 그리고 피니언은 감속기어를 매개로 하여 가압부재의 치형부(511)에 기어결합된다. 따라서 모터(61)의 회전력을 잠금쇠(40)의 직선구동력으로 변환되어 전달된다.The motor 61 is for driving the clamp 40 and is operated by a power source. The pinion is coupled to the output shaft of the motor 61. And the pinion is geared to the teeth 511 of the pressure member via the reduction gear. Therefore, the rotational force of the motor 61 is converted into the linear driving force of the clamp 40 is transmitted.

전류측정부(62)는 모터(61)에 인가되는 전류를 측정한다. 모터(61)의 전원은 상용전원이나 금고에 구비된 배터리에 의해 공급될 수 있으며, 전류측정부(62)는 모터(61)의 작동시 상용전원 또는 배터리와 모터 사이의 회로로 공급되는 전류를 측정한다. 전류측정부(62)는 제어부(70)와 물리적으로 분리된 별개의 센서로 구성될 수 있으나, 제어부(70)에 통합되어 구성될 수도 있으며, 이러한 부분은 통상의 기술자에게 자명하므로 여기서는 이에 대한 상세한 설명을 생략하기로 한다. The current measuring unit 62 measures the current applied to the motor 61. The power of the motor 61 may be supplied by a battery provided in a commercial power source or a safe, and the current measuring unit 62 may supply a commercial power or a current supplied to a circuit between the battery and the motor when the motor 61 operates. Measure The current measuring unit 62 may be configured as a separate sensor that is physically separated from the control unit 70, but may be integrated into the control unit 70, which is obvious to those skilled in the art. The description will be omitted.

록킹감지부(63)는 도어(20)의 록킹 여부를 감지하기 위한 것이다. 록킹감지센서(63)는 잠금쇠(40)가 도 4에 도시되어 있는 바와 같이 삽입공(11)의 내부에 삽입된 상태를 감지한다. 이와 같이 잠금쇠(40)의 위치를 기준으로 록킹여부를 감지하는 구조는 다양하게 설정될 수 있는데, 본 실시예에서는 잠금쇠(40)가 삽입공(11)에 삽입될 때에 잠금쇠(40)에 돌출 형성된 돌기(43)에 의해 눌려서 유격을 신호를 출력하는 누름스위치로 구성된다. 돌기(43)의 양측면은 잠금쇠(40)의 직선이동방향에 대해 경사지게 형성되되 서로 면대칭을 이루는 경사면으로 구성된다. 다만 록킹감지부(63)는 포토센서나 터치센서 등 다양한 형태로 구성될 수 있다. The locking detecting unit 63 is for detecting whether the door 20 is locked. The locking detection sensor 63 detects a state in which the clamp 40 is inserted into the insertion hole 11 as shown in FIG. 4. Thus, the structure for detecting whether the locking based on the position of the clamp 40 can be set in various ways, in this embodiment is formed when the clamp 40 is protruded to the clamp 40 when inserted into the insertion hole (11). It is composed of a push switch that is pressed by the projection 43 and outputs a signal of play. Both sides of the protrusion 43 are formed to be inclined with respect to the linear movement direction of the clamp 40 is composed of inclined surface symmetrical with each other. However, the locking detection unit 63 may be configured in various forms such as a photo sensor or a touch sensor.

모터작동시간측정부(64)는 록킹감지부(63)에 의해 도어(20)의 록킹이 감지된 이후에, 잠금쇠(40)가 유격조절위치쪽을 이동할 때에 모터(61)의 작동시간을 측정한다. 모터작동시간측정부(64)도 전류측정부(62)와 마찬가지로 제어부(70)와 물리적으로 분리된 별개의 센서로 구성될 수 있으나, 제어부(70)에 통합되어 구성될 수도 있으며, 이러한 부분은 통상의 기술자에게 자명하므로 여기서는 이에 대한 상세한 설명을 생략하기로 한다. The motor operating time measuring unit 64 measures the operating time of the motor 61 when the locking clamp 40 moves toward the play position after the locking of the door 20 is detected by the locking detecting unit 63. do. Like the current measuring unit 62, the motor operation time measuring unit 64 may be configured as a separate sensor physically separated from the control unit 70, but may be integrated into the control unit 70. As it will be apparent to those skilled in the art, a detailed description thereof will be omitted herein.

제어부(70)는 전류측정부(62) 및 록킹감지부(63) 각각의 출력을 기초로 하여 모터를 제어한다. 구체적으로 살펴보면, 도어(20)의 록킹에 대응되는 록킹신호가 록킹감지부(63)로부터 입력되면, 도어(20)의 흔들림이 방지되도록 하기 위해서, 제어부(70)는 모터(61)를 작동시키는 제어신호를 출력하여 잠금쇠(40)를 유격조절위치로 이동시킨다. 이 때, 모터(61)의 과부하를 방지하기 위해서는 모터(61)의 작동 시간이나 모터(61)에 인가되는 전류를 기초로 하여 모터의 작동을 제어함으로서 모터의 내구성을 향상시켜야 한다. 이를 위해서, 도어(20)가 록킹된 이후에 전류측정부(62)에 의해 측정된 전류값이 미리 설정된 기준 전류값 보다 크면, 제어부(70)는 모터(61)를 정지시키는 제어신호를 출력한다. 한편 모터작동시간측정부(64)에 의해 측정된 모터(61)의 작동시간이 미리 설정된 기준 작동시간보다 크면, 제어부(70)를 모터(61)를 정지시키는 제어신호를 출력할 수도 있다. 그리고 측정된 전류값이 기준 전류값 보다 크고 동시에 모터의 작동시간도 기준 작동시간 보다 큰 조건하에서만, 모터(61)가 정지하도록 제어될 수도 있다. 한편 기준 작동시간은 과부하 없이 일반적인 상태에서 잠금쇠가 록킹위치에서 유격조절위치까지 이동하는데 걸리는 시간으로 설정되는 것이 바람직하며, 기준 전류값은 잠금쇠의 유격제어 외측면이 삽입공의 유격제어 내측면과 접촉하여 모터에 과부하가 인가될 수 있는 순간의 전류값으로 설정되는 것이 바람직하다. The controller 70 controls the motor based on the output of each of the current measuring unit 62 and the locking detecting unit 63. In detail, when a locking signal corresponding to the locking of the door 20 is input from the locking detecting unit 63, in order to prevent shaking of the door 20, the controller 70 operates the motor 61. Outputs a control signal to move the clamp 40 to the play adjustment position. At this time, in order to prevent the overload of the motor 61, the durability of the motor should be improved by controlling the operation of the motor based on the operating time of the motor 61 or the current applied to the motor 61. To this end, if the current value measured by the current measuring unit 62 is greater than the preset reference current value after the door 20 is locked, the control unit 70 outputs a control signal for stopping the motor 61. . On the other hand, if the operating time of the motor 61 measured by the motor operating time measuring unit 64 is greater than the preset reference operating time, the control unit 70 may output a control signal for stopping the motor 61. The motor 61 may be controlled to stop only when the measured current value is larger than the reference current value and at the same time the operating time of the motor is also larger than the reference operating time. On the other hand, the reference operating time is preferably set to the time it takes for the clamp to move from the locking position to the clearance adjustment position in a normal state without overload. It is preferable to set the current value at the moment when the overload can be applied to the motor.

또한 모터(61)를 작동시키기 위해서는, 도어(20)의 외측면에 설치된 사용자인증부(21)를 통한 사용자 인증이 이루어져야 한다. 사용자인증부(21)는 사용자를 인증하기 위한 것으로서, 숫자나 문자 또는 기호를 입력하기 위한 키패드나 지문이나 홍채 등 사용자의 생체정보를 인식하기 위한 생체정보인식기 등으로 구성된다. 사용자인증부(21)를 통해 사용자가 인증되면, 모터를 작동시키는 제어신호가 출력되어, 모터(61)가 작동하게 된다. In addition, in order to operate the motor 61, the user authentication through the user authentication unit 21 installed on the outer surface of the door 20 should be made. The user authentication unit 21 is for authenticating a user and includes a keypad for inputting numbers, letters or symbols, a biometric information recognizer for recognizing the user's biometric information such as a fingerprint or an iris. When the user is authenticated through the user authentication unit 21, a control signal for operating the motor is output, and the motor 61 is operated.

그리고 배터리가 방전되거나 모터(61)가 고장나거나 비밀번호를 잊어서 사용자 인증이 불가능한 비상시에는, 도어(20)의 실외측에 노출된 열쇠뭉치(22)를 통해서 잠금쇠(40)를 수동으로 작동시킬 수 있다. 열쇠뭉치(22)는 도어(20)에 회전 가능하게 결합된다. 열쇠뭉치(22)의 외측면에는 도 1에 도시되어 있는 바와 같이 도어의 실외측으로 노출된 열쇠공(221)이 형성되며, 열쇠공(221)에 그 열쇠공의 형상에 대응되는 형상의 열쇠를 넣고 열쇠를 회전시키면, 열쇠뭉치(22)는 열쇠와 함께 회전한다. 열쇠뭉치(22)는 가압부재(50)와 연동하도록 결합되며, 이러한 연동구조는 종래의 디지털 도어록 장치 등에 다양한 방식으로 채택되어 있는 공지의 구성에 불과하므로 여기서는 이에 대한 상세한 설명은 생략하기로 한다. In an emergency where the battery is discharged, the motor 61 is broken, or the user cannot be authenticated because the password is forgotten, the catch 40 can be manually operated through the key bundle 22 exposed on the outdoor side of the door 20. . The key bundle 22 is rotatably coupled to the door 20. As shown in FIG. 1, a key hole 221 exposed to the outside of the door is formed on the outer surface of the key bundle 22, and a key having a shape corresponding to the shape of the key hole is inserted into the key hole 221. When rotated, key bundle 22 rotates with the key. The key bundle 22 is coupled to interlock with the pressing member 50, and this interlocking structure is only a well-known configuration that is adopted in various ways, such as a conventional digital door lock device, so a detailed description thereof will be omitted here.

상술한 바와 같이 구성된 금고(100)에 있어서는, 잠금쇠(40)가 록킹위치에 배치된 상태에서도, 잠금쇠를 유격조절위치까지 더욱 이동할 수 있게 된다. 그리고 유격조절위치에서는 한 쌍의 유격제어 내측면(111)과 한 쌍의 유격제어 외측면(41)이 서로 접촉하게 되므로, 도어(20)가 힌지축(P)을 중심으로 흔들리지 않게 된다. 왜냐하면 한 쌍의 유격제어 내측면(111)과 한 쌍의 유격제어 외측면(41)이 서로 접촉함으로써, 잠금쇠(40)가 삽입공(11)의 내부에서 움직일 수 있는 여유 공간, 즉 유격이 전혀 존재할 수 없기 때문이다. 이와 같이 록킹상태에서도 도어의 흔들림이 방지되면, 잠금쇠(40)가 삽입공(11)의 내측면과 부딪힘으로써 유발되는 소음을 원천적으로 차단할 수 있으며 이에 따라 잠금쇠(40)나 잠금쇠와 연결된 각종 구성요소의 파손을 방지할 수 있게 되며, 궁극적으로는 금고(100)의 내구성이 크게 향상된다. In the safe 100 comprised as mentioned above, even if the clamp 40 is arrange | positioned at the locking position, it becomes possible to move a clamp further to a clearance adjustment position. In the clearance adjustment position, since the pair of clearance control inner surfaces 111 and the pair of clearance control outer surfaces 41 come into contact with each other, the door 20 is not shaken about the hinge shaft P. Because the pair of play control inner surface 111 and the pair of play control outer surface 41 are in contact with each other, there is no free space, that is, there is no play between the clamping holes 40 inside the insertion hole 11. Because it cannot exist. When the door is prevented from shaking even in the locking state as described above, the clasp 40 can fundamentally block the noise caused by colliding with the inner surface of the insertion hole 11 and accordingly, the clasp 40 or various components connected to the clasp. It is possible to prevent the breakage, and ultimately the durability of the safe 100 is greatly improved.

또한 잠금쇠(40)가 록킹위치에 배치되기만 하면, 록킹감지부(63)가 도어의 록킹을 감지하여 모터가 작동하도록 제어되므로, 잠금쇠(63)를 유격조절위치까지 자동으로 위치시킬 수 있으며 이에 따라 사용이 매우 편리한 장점이 있다. In addition, as long as the clamp 40 is disposed in the locking position, the locking detecting unit 63 detects the locking of the door and is controlled to operate the motor, thereby automatically positioning the clamp 63 to the play position. It is very convenient to use.

특히 유격조절위치에서는 한 쌍의 유격제어 내측면(111)과 한 쌍의 유격제어 외측면(41)이 서로 접촉하게 되므로, 모터(61)가 과부하에 의해 쉽게 파손될 수 있으나, 본 실시예에서는 모터(61)에 인가되는 전류 및/또는 모터가 작동하는 시간을 각각 기준 전류값 및/또는 기준 작동시간과 비교하여 모터(61)의 정지 여부를 결정할 수 있으므로, 모터에 과부하가 인가되는 것을 원천적으로 방지할 수 있게 된다. 따라서 모터(61)의 고장을 줄일 수 있어 금고(100)의 내구성이 향상되는 결과를 얻을 수 있다. In particular, in the clearance adjustment position, since the pair of clearance control inner surfaces 111 and the pair of clearance control outer surfaces 41 come into contact with each other, the motor 61 may be easily broken by an overload. It is possible to determine whether the motor 61 is stopped by comparing the current applied to the 61 and / or the time that the motor operates with the reference current value and / or the reference operating time, respectively, so that the overload is applied to the motor. It becomes possible to prevent it. Therefore, the failure of the motor 61 can be reduced, so that the durability of the safe 100 can be improved.

그리고 전후방향 가이드부(32)와 잠금쇠(40) 사이의 유격이 잠금쇠(40)와 삽입공(11) 사이의 유격보다 더 크게 형성되므로, 잠금쇠(40)가 삽입공(11)에 편심되게 삽입되어 록킹위치에 배치되더라도, 잠금쇠(40)가 유격조절위치로 이동하는 과정에서 잠금쇠가 전후방향으로 움직일 수 있게 된다. 이와 같이 본 실시예에서는 잠금쇠(40)가 삽입공(11) 내에 편심되게 배치되든 아니든 잠금쇠(40)를 유격조절위치에 배치시킬 수 있게 되므로, 금고(100)의 제작이 보다 쉬워지며 작동성도 매우 우수한 효과가 얻어진다. And since the play between the front and rear direction guide portion 32 and the clamp 40 is formed larger than the play between the clamp 40 and the insertion hole 11, the clamp 40 is inserted eccentrically into the insertion hole (11) Even if the lock is positioned in the locking position, the lock can be moved forward and backward in the process of moving the lock 40 to the play position. As such, in the present embodiment, the clamp 40 can be disposed in the play position, whether or not the clamp 40 is disposed eccentrically in the insertion hole 11, the production of the safe 100 is easier and the operability is also very high. Excellent effect is obtained.

한편 본 실시예에서는 각 유격제어 내측면 및 각 유격제어 외측면이 각각 평면으로 구성되어 있으나, 도 10에 도시되어 있는 바와 같이 곡면으로 형성될 수도 있다. Meanwhile, in the present embodiment, each of the clearance control inner side and each clearance control outer side are configured as planes, but may be formed as a curved surface as shown in FIG. 10.

도 10을 참조하면, 본 실시예에서는, 각 유격제어 내측면(111a)은 잠금쇠쪽으로 볼록한 곡면으로 형성된다. 그리고 각 유격제어 외측면(41a)은 유격제어 내측면쪽으로 볼록한 곡면으로 형성된다. 이와 같이 각 유격제어 내측면(111a) 및 유격제어 외측면(41a)이 볼록한 곡면 형상으로 형성되어 있으므로, 잠금쇠(40a)가 록킹위치로부터 유격조절위치쪽으로 이동시에도 한 쌍의 유격제어 외측면(41a)은 한 쌍의 유격제어 내측면(111a)과 적어도 선접촉하게 된다. 따라서 도어는 힌지축을 중심으로 어느 방향으로도 흔들리지 않게 된다. Referring to Fig. 10, in the present embodiment, each of the clearance control inner surfaces 111a is formed into a curved surface that is convex toward the clasp. And each clearance control outer side surface 41a is formed with the curved surface convex toward the clearance control inner side surface. Thus, since each clearance control inner surface 111a and clearance control outer surface 41a are formed in the convex curved shape, even when the clamp 40a moves to a clearance adjustment position from a locking position, a pair of clearance control outer surface 41a is carried out. ) Is at least in line contact with the pair of play control inner surfaces 111a. Therefore, the door does not shake in any direction about the hinge axis.

그리고 도 10에 도시된 것과 달리, 유격제어 내측면은 평면으로 형성되고 유격제어 외측면은 볼록한 곡면으로 형성되거나 이와 반대로 형성될 수도 있다.And unlike shown in Figure 10, the clearance control inner surface is formed in a plane and the clearance control outer surface may be formed of a convex curved surface or vice versa.

이상, 본 발명을 바람직한 실시예들을 들어 상세하게 설명하였으나, 본 발명은 상기 실시예들에 한정되지 않으며, 본 발명의 기술적 사상 내에서 당 분야에서 통상의 지식을 가진 자에 의하여 여러 가지 많은 변형이 가능함은 명백하다.As mentioned above, the present invention has been described in detail with reference to preferred embodiments, but the present invention is not limited to the above embodiments, and various modifications may be made by those skilled in the art within the technical idea of the present invention. It is obvious.

예를 들어 본 실시예에서는 가이드부가 출입공과 별개로 형성되도록 구성되어 있으나, 가이드부가 출입공의 내측면으로 구성되도록 할 수도 있다. For example, in the present embodiment, the guide portion is configured to be formed separately from the entrance hole, but the guide portion may be configured as the inner side surface of the entrance hole.

또한 본 실시예에서는 전원측정부가 모터에 인가되는 전류를 측정하고 측정된 전류값을 기준 전류값과 비교하여 모터가 제어되도록 구성되어 있으나, 전원측정부가 모터에 인가되는 전압을 측정하고 측정된 전압값을 미리 설정된 기준 전압값과 비교하여 모터가 제어되도록 구성할 수도 있다. In addition, in this embodiment, the power measuring unit measures the current applied to the motor and the motor is controlled by comparing the measured current value with the reference current value, but the power measuring unit measures the voltage applied to the motor and the measured voltage value It may be configured to control the motor by comparing with a preset reference voltage value.

10...함체 11...삽입공
20...도어 21...사용자인증부
22...열쇠뭉치 30..하우징
31...출입공 32...가이드부
40,40a...잠금쇠 41,41a...유격제어 외측면
42...가압홈부 43...돌기
50...가압부재 51...회전부
52...가압부 61...모터
62...전류측정부 63...록킹감지부
64...모터작동시간측정부 70...제어부
100...금고 111,111a...유격제어 내측면
221...열쇠공 421...급경사부
422...완경사부 511...치형부
10 ... enclosure 11 ... inserter
20 ... Door 21 ... User Authentication
22 ... keyball 30..housing
31.Accessor 32.Guide Section
40, 40a ... Lock 41, 41a ...
42.Pressure groove 43.Protrusion
50 ... Pressure member 51 ... Rotator
52.Pressure unit 61 ... Motor
62 Current measuring unit 63 Locking detection unit
64.Motor operating time measurement part 70 ... Control part
100 ... Safety 111,111a ... Great control inner side
221 ... key 421 ... steep slope
422 Mild slope 511 Teeth

Claims (9)

도어에 결합되는 하우징; 및
상기 하우징에 왕복 직선이동 가능하게 결합되며, 문틀에 형성된 삽입공에 삽입되어 상기 도어가 록킹되는 록킹위치 및 상기 삽입공으로부터 이탈되어 상기 도어의 록킹이 해제되는 록킹해제위치 사이에서 왕복 직선 이동 가능한 잠금쇠;를 구비하는 도어잠금장치에 있어서,
상기 잠금쇠는 상기 록킹위치로부터 상기 록킹위치와 이격된 유격조절위치까지 더욱 직선 이동 가능하며,
상기 삽입공의 내측면은 서로 마주하게 배치되되 그 사이의 거리가 상기 잠금쇠의 상기 록킹위치로부터 상기 유격조절위치로의 직선이동방향으로 갈수록 감소하는 한 쌍의 유격제어 내측면을 포함하며,
상기 잠금쇠의 전면 및 배면에는 상기 유격조절위치에서 상기 한 쌍의 유격제어 내측면과 각각 면접촉 또는 선접촉하는 유격제어 외측면이 형성되는 것을 특징으로 하는 도어잠금장치.
A housing coupled to the door; And
A fastener reciprocally coupled to the housing so as to be reciprocally linearly movable between a locking position inserted into an insertion hole formed in the door frame to lock the door and a locking release position from the insertion hole to release the locking of the door. In the door locking device having;
The catch is more linearly movable from the locking position to the clearance adjustment position spaced from the locking position,
The inner surface of the insertion hole is disposed to face each other, and the distance therebetween includes a pair of play control inner surface that decreases toward the linear movement direction from the locking position of the lock to the play control position,
The front and rear of the clasp door lock device, characterized in that the clearance control outer surface which is in surface contact or line contact with the pair of the clearance control inner surface at the clearance adjustment position, respectively.
제 1항에 있어서,
상기 각 유격제어 내측면 및 각 유격제어 외측면은 상기 잠금쇠의 직선이동방향에 대해 볼록하거나 오목한 곡면 및 상기 잠금쇠의 직선이동방향에 대해 경사진 평면 중 어느 하나로 구성되는 것을 특징으로 하는 도어잠금장치.
The method of claim 1,
Each of the clearance control inner surface and each clearance control outer surface is a door locking device characterized in that it is composed of any one of the convex or concave curved surface with respect to the linear movement direction of the clasp and the plane inclined with respect to the linear movement direction of the clasp.
제 2항에 있어서,
상기 한 쌍의 유격제어 내측면은 상기 잠금쇠의 직선이동방향에 대해 경사진 평면으로 구성되며,
상기 한 쌍의 유격제어 외측면은 각각 상기 한 쌍의 유격제어 내측면과 대응되게 경사진 평면으로 구성되는 것을 특징으로 하는 도어잠금장치.
The method of claim 2,
The pair of play control inner surfaces are configured in a plane inclined with respect to the linear movement direction of the clamp,
The pair of play control outer surface is a door lock device, characterized in that each of the plane configured to be inclined to correspond to the play control inner surface of the pair.
제 3항에 있어서,
상기 유격제어 내측면은 상기 유격제어 외측면 보다 더 크게 형성되는 것을 특징으로 하는 도어잠금장치.
The method of claim 3, wherein
The clearance control inner surface is formed larger than the clearance control outer surface door lock device.
제 1항에 있어서,
상기 하우징에는 상기 잠금쇠의 직선이동을 가이드하는 가이드부가 형성되며,
상기 가이드부와 상기 잠금쇠 사이에 상하방향 및 상기 잠금쇠의 직선이동방향을 포함하는 가상의 평면의 법선벡터 방향으로 형성되는 유격은, 상기 잠금쇠와 상기 삽입공 사이에 상기 법선벡터 방향으로 형성되는 유격보다 큰 것을 특징으로 하는 도어잠금장치.
The method of claim 1,
The housing is formed with a guide for guiding the linear movement of the clamp,
The clearance formed in the normal vector direction of the imaginary plane including the vertical direction between the guide portion and the clamp and the linear movement direction of the clamp is greater than the clearance formed in the normal vector direction between the clamp and the insertion hole. Door lock, characterized in that large.
제 1항에 있어서,
상기 잠금쇠를 구동하기 위한 것으로서 전원에 의해 작동하는 모터;
상기 모터에 인가되는 전압 또는 전류를 측정하는 전원측정부;
상기 도어의 록킹을 감지하는 록킹감지부; 및
상기 도어의 록킹에 대응되는 록킹신호의 입력시 상기 잠금쇠가 상기 유격조절위치로 이동하도록 상기 모터를 제어하며, 상기 록킹신호가 입력된 상태에서 상기 측정된 전압값 또는 전류값이 미리 설정된 기준 전압값 또는 기준 전류값 보다 크면 상기 모터가 정지하도록 상기 모터를 제어하는 제어부;를 더 구비하는 것을 특징으로 하는 도어잠금장치.
The method of claim 1,
A motor operated by a power source for driving said catch;
A power measuring unit measuring a voltage or current applied to the motor;
A locking detecting unit detecting a locking of the door; And
When the locking signal corresponding to the locking of the door is input, the lock is controlled to move to the clearance adjustment position, and the measured voltage value or current value is a preset reference voltage value when the locking signal is input. Or a control unit controlling the motor to stop the motor when the reference current value is greater than the reference current value.
제 6항에 있어서,
상기 제어부는, 상기 잠금쇠를 상기 록킹위치로부터 상기 유격조절위치쪽으로 이동시키기 위하여 상기 모터가 작동하는 모터작동시간이 미리 설정된 기준 작동시간보다 크면 상기 모터가 정지하도록 상기 모터를 제어하는 것을 특징으로 하는 도어잠금장치.
The method according to claim 6,
And the control unit controls the motor to stop the motor when the motor operation time for operating the motor is greater than a preset reference operation time to move the catch from the locking position toward the clearance adjustment position. lock.
제 1항에 있어서,
상기 하우징에 회전 가능하게 결합되는 가압부재;를 더 구비하며,
상기 잠금쇠에는 상기 가압부재의 회전시 상기 잠금쇠가 상기 록킹해제위치로부터 상기 유격조절위치까지 직선 이동하도록 상기 가압부재에 의해 가압되는 완경사부 및 급경사부가 형성되며,
상기 잠금쇠의 직선이동방향에 대해 경사진 정도인 경사도는, 상기 급경사부에서보다 상기 완경사부에서 더 작은 것을 특징으로 하는 도어잠금장치.
The method of claim 1,
And a pressing member rotatably coupled to the housing.
The clasp is formed with a light inclined portion and a steep inclined portion is urged by the pressing member so that when the clamping member rotates linearly from the unlocking position to the clearance adjustment position when the pressing member rotates,
The inclination degree of the inclination with respect to the linear movement direction of the clasp, characterized in that the door lock device characterized in that the smaller on the gentle slope than the steep slope.
내부가 일측으로 개방되게 형성된 함체;
상기 함체의 내부를 개방하는 개방위치 및 상기 함체의 내부를 닫는 닫힘위치 사이에 이동 가능하도록 상기 함체에 결합되는 도어;
도어에 결합되는 하우징; 및
상기 하우징에 왕복 직선이동 가능하게 결합되며, 상기 닫힘위치에서 상기 함체에 형성된 삽입공에 삽입되어 상기 도어가 록킹되는 록킹위치 및 상기 삽입공으로부터 이탈되어 상기 도어의 록킹이 해제되는 록킹해제위치 사이에서 왕복 직선 이동 가능한 잠금쇠;를 구비하는 금고에 있어서,
상기 잠금쇠는 상기 록킹위치로부터 상기 록킹위치와 이격된 유격조절위치까지 더욱 직선 이동 가능하며,
상기 삽입공의 내측면은 서로 마주하게 배치되되 그 사이의 거리가 상기 잠금쇠의 상기 록킹위치로부터 상기 유격조절위치로의 직선이동방향으로 갈수록 감소하는 한 쌍의 유격제어 내측면을 포함하며,
상기 잠금쇠의 전면 및 배면에는 상기 유격조절위치에서 상기 한 쌍의 유격제어 내측면과 각각 면접촉 또는 선접촉하는 유격제어 외측면이 형성되는 것을 특징으로 하는 금고.
An enclosure formed to open to one side;
A door coupled to the enclosure to be movable between an open position for opening the interior of the enclosure and a closed position for closing the interior of the enclosure;
A housing coupled to the door; And
It is coupled to the housing so as to reciprocate linearly, between the locking position is inserted into the insertion hole formed in the housing in the closed position to lock the door and the unlocking position is released from the insertion hole to release the locking of the door A safe comprising: a reciprocating linear fastener;
The catch is more linearly movable from the locking position to the clearance adjustment position spaced from the locking position,
The inner surface of the insertion hole is disposed to face each other, and the distance therebetween includes a pair of play control inner surface that decreases toward the linear movement direction from the locking position of the lock to the play control position,
Safes, characterized in that the front and back of the clamp is formed with a clearance control outer surface which is in surface contact or line contact with the pair of clearance control inner surface respectively in the clearance adjustment position.
KR1020100112005A 2010-11-11 2010-11-11 Door lock device and safe having it Abandoned KR20120050648A (en)

Priority Applications (1)

Application Number Priority Date Filing Date Title
KR1020100112005A KR20120050648A (en) 2010-11-11 2010-11-11 Door lock device and safe having it

Applications Claiming Priority (1)

Application Number Priority Date Filing Date Title
KR1020100112005A KR20120050648A (en) 2010-11-11 2010-11-11 Door lock device and safe having it

Publications (1)

Publication Number Publication Date
KR20120050648A true KR20120050648A (en) 2012-05-21

Family

ID=46268008

Family Applications (1)

Application Number Title Priority Date Filing Date
KR1020100112005A Abandoned KR20120050648A (en) 2010-11-11 2010-11-11 Door lock device and safe having it

Country Status (1)

Country Link
KR (1) KR20120050648A (en)

Cited By (3)

* Cited by examiner, † Cited by third party
Publication number Priority date Publication date Assignee Title
CN103291177A (en) * 2013-06-26 2013-09-11 芜湖科密电子有限公司 Balanced type safety box preventing technical unlocking
CN103291176A (en) * 2013-06-26 2013-09-11 芜湖科密电子有限公司 Opposite-and-vertical type safe case capable of preventing from technical unlocking
KR102740261B1 (en) * 2024-06-03 2024-12-10 범일금고(주) Emergency accessible safe

Cited By (4)

* Cited by examiner, † Cited by third party
Publication number Priority date Publication date Assignee Title
CN103291177A (en) * 2013-06-26 2013-09-11 芜湖科密电子有限公司 Balanced type safety box preventing technical unlocking
CN103291176A (en) * 2013-06-26 2013-09-11 芜湖科密电子有限公司 Opposite-and-vertical type safe case capable of preventing from technical unlocking
CN103291176B (en) * 2013-06-26 2015-11-18 芜湖科密电子有限公司 The safety cabinet of vertical anti-skilled unlocking
KR102740261B1 (en) * 2024-06-03 2024-12-10 범일금고(주) Emergency accessible safe

Similar Documents

Publication Publication Date Title
KR200456982Y1 (en) Tubular digital door lock with integral drive dead bolt
KR101363098B1 (en) Digital Opening And Closing Device for Exit
KR20120050648A (en) Door lock device and safe having it
KR101895216B1 (en) Mortise for door lock
JP2019180470A (en) Washing machine
KR101936332B1 (en) Push Pull Door Lock
KR200352026Y1 (en) Mortise locking apparatus
KR200436157Y1 (en) Door lock for lockers
KR100903673B1 (en) Digital door lock with door shake prevention unit
KR102268726B1 (en) Open/close module with cover structure and door apparatus having the same
KR101372590B1 (en) Rotation preventive apparatus of door lever
KR101810489B1 (en) Digital Opening And Closing Device for Exit
KR101747146B1 (en) Photo Coupler Type Dead Bolt Position Detecting Apparatus for Digital Door Lock
KR102832519B1 (en) Locking apparatus for cabinet
JP4127712B2 (en) Lock handle device for door
KR101013719B1 (en) Combination structure of door and safe including the same
KR20100126135A (en) Door lock device and door lock system
KR20110048400A (en) Door lock device
KR102738806B1 (en) Automatic unlocking device for latch bolt
KR100996477B1 (en) Door lock device
KR102767111B1 (en) Interlocking apparatus with Latch Bolt and Edge Bolt
KR102575824B1 (en) Door-lock mortise
KR20100047769A (en) Door lock device
KR20110027170A (en) Door lock device
KR100702440B1 (en) Electronic door lock

Legal Events

Date Code Title Description
A201 Request for examination
PA0109 Patent application

Patent event code: PA01091R01D

Comment text: Patent Application

Patent event date: 20101111

PA0201 Request for examination
PG1501 Laying open of application
E701 Decision to grant or registration of patent right
PE0701 Decision of registration

Patent event code: PE07011S01D

Comment text: Decision to Grant Registration

Patent event date: 20120720

NORF Unpaid initial registration fee
PC1904 Unpaid initial registration fee