KR20120042801A - 집진장치 - Google Patents

집진장치 Download PDF

Info

Publication number
KR20120042801A
KR20120042801A KR1020120028479A KR20120028479A KR20120042801A KR 20120042801 A KR20120042801 A KR 20120042801A KR 1020120028479 A KR1020120028479 A KR 1020120028479A KR 20120028479 A KR20120028479 A KR 20120028479A KR 20120042801 A KR20120042801 A KR 20120042801A
Authority
KR
South Korea
Prior art keywords
dust
unit
main body
filter unit
filter
Prior art date
Legal status (The legal status is an assumption and is not a legal conclusion. Google has not performed a legal analysis and makes no representation as to the accuracy of the status listed.)
Granted
Application number
KR1020120028479A
Other languages
English (en)
Other versions
KR101260977B1 (ko
Inventor
조현욱
Original Assignee
조현욱
Priority date (The priority date is an assumption and is not a legal conclusion. Google has not performed a legal analysis and makes no representation as to the accuracy of the date listed.)
Filing date
Publication date
Application filed by 조현욱 filed Critical 조현욱
Priority to KR1020120028479A priority Critical patent/KR101260977B1/ko
Publication of KR20120042801A publication Critical patent/KR20120042801A/ko
Application granted granted Critical
Publication of KR101260977B1 publication Critical patent/KR101260977B1/ko
Expired - Fee Related legal-status Critical Current
Anticipated expiration legal-status Critical

Links

Images

Classifications

    • BPERFORMING OPERATIONS; TRANSPORTING
    • B01PHYSICAL OR CHEMICAL PROCESSES OR APPARATUS IN GENERAL
    • B01DSEPARATION
    • B01D46/00Filters or filtering processes specially modified for separating dispersed particles from gases or vapours
    • B01D46/02Particle separators, e.g. dust precipitators, having hollow filters made of flexible material
    • B01D46/04Cleaning filters
    • BPERFORMING OPERATIONS; TRANSPORTING
    • B01PHYSICAL OR CHEMICAL PROCESSES OR APPARATUS IN GENERAL
    • B01DSEPARATION
    • B01D46/00Filters or filtering processes specially modified for separating dispersed particles from gases or vapours
    • B01D46/42Auxiliary equipment or operation thereof
    • B01D46/48Removing dust other than cleaning filters, e.g. by using collecting trays
    • BPERFORMING OPERATIONS; TRANSPORTING
    • B08CLEANING
    • B08BCLEANING IN GENERAL; PREVENTION OF FOULING IN GENERAL
    • B08B9/00Cleaning hollow articles by methods or apparatus specially adapted thereto
    • B08B9/08Cleaning containers, e.g. tanks
    • B08B9/20Cleaning containers, e.g. tanks by using apparatus into or on to which containers, e.g. bottles, jars, cans are brought
    • B08B9/36Cleaning containers, e.g. tanks by using apparatus into or on to which containers, e.g. bottles, jars, cans are brought the apparatus cleaning by using brushes

Landscapes

  • Chemical & Material Sciences (AREA)
  • Chemical Kinetics & Catalysis (AREA)
  • Engineering & Computer Science (AREA)
  • Mechanical Engineering (AREA)
  • Filtering Of Dispersed Particles In Gases (AREA)
  • Cleaning In General (AREA)

Abstract

본 발명은 집진장치에 관한 것으로, 구체적으로는 별도의 먼지제거부를 이용해 필터부 표면에 부착된 먼지를 털어내도록 하고, 먼지제거부가 필터부의 길이방향을 따라 이동하는 과정에서 브러시와 필터부 간 접촉되도록 함과 동시에 필터부에 진동을 가해 먼지가 털어지도록 함으로써, 기존의 압축공기 분사방식에 비해 먼지제거효율을 높임과 동시에 압축공기 공급구조를 구비할 필요가 없어 전체 구조가 간소화되어 제작비용 절감효과를 얻을 수 있을 뿐만 아니라 소음절감효과 및 집진장치 내부에서의 불필요한 공기이동방향 변화를 막을 수 있어 집진효율을 높일 수 있는 기술에 관한 것이다.

Description

집진장치{DUST COLLECTOR}
본 발명은 내부로 유입된 공기가 필터부를 통과하면서 정화된 상태로 배출되도록 하는 집진장치에 관한 것이다.
일반적으로 공장과 같이 외부로 배출되는 공기의 정화시설이 요구되는 곳에는 배출과정에서 배출공기에 함유된 먼지를 걸러내는 집진장치가 필수적으로 설치된다.
이러한 집진장치는 일반적으로 집진케이스 내부에 필터부가 형성된 상태에서 집진케이스 내부로 유입된 공기가 필터부를 통과하는 과정에서 공기에 포함된 먼지가 배출부 표면에 부착되어 걸러진 후 배출되는 방식으로 이루어진다.
따라서 장기간 사용하여 필터부에 부착된 먼지 양이 증가되면 필터부의 필터링효과가 저하되기 때문에 수시로 필터부 표면의 먼지를 강제로 털어내는 먼지제거작업을 실시해야만 한다.
이러한 먼지제거 작업으로는 별도 공기분사부를 구비시키고 공기분사부가 필터부 길이방향을 따라 이동하는 과정에서 압축공기를 분사하여 공기압에 의해 먼지가 털어지도록 하는 공기분사방식이 제안되어 있다.
하지만 이러한 공기분사방식은 집진장치 외 별도 압착공기공급 시설을 구비해야만 하므로 전체 시설규모가 늘어나 설치공간의 불필요한 소모가 초래되고 제작이 어려울 뿐만 아니라 제작비용도 증가되는 단점이 있다.
또한 필터부 표면과의 비 접촉방식, 즉 공기압력에 의해서만 먼지를 털어내야 하므로 먼지 제거효율이 높지 못해 먼지제거 작업을 수시로 실시해야만 하는 문제점도 있다.
뿐만 아니라 공기를 압축하는 과정에서 소음이 발생됨은 물론 분사된 압축공기에 의해 집진케이스 내부에서의 공기흐름이 변화됨에 따라 집진효율이 저하되는 문제점도 발생된다.
등록특허공보 제10-07799628호 (집진기 여과포의 먼지 제거장치) 2007.11.20 공개실용신안공보 제20-2009-0010070호 (저소음 집진장치) 2009.10.06.
본 발명은 이러한 종래기술의 문제점을 해결하기 위하여 제안된 것으로, 먼지제거구조를 개선하여 기존에 비해 필터부의 먼지제거 효율을 높임은 물론 전체 시설의 규모 증가를 방지함과 동시에 집진효율도 향상시킬 수 있는 집진장치를 제공하고자 한다.
위의 목적을 달성하기 위해 제안된 본 발명의 실시예는, 내부에 수용공간이 형성되고 수용공간과 연결된 공기유입구 및 공기배출구가 형성된 집진케이스, 상기 수용공간 중 상기 공기유입구와 공기배출구 사이에 설치되어 수용공간 내 존재하는 먼지가 부착되는 필터부, 상기 필터부의 둘레를 따라 설치되는 설치본체와, 상기 설치본체 상에 회전가능하게 설치되어 있고 상기 필터부와 접촉하는 브러시와, 상기 설치본체 상에 설치되어 있고 상기 브러시를 회전시키는 모터를 포함하는 먼지제거부, 그리고 상기 설치본체에 연결되어 설치본체를 상기 필터부 길이방향을 따라 이송시키는 이송부를 포함한다.
상기 먼지제거부는, 상기 모터와 연결되어 회전하는 회전부재를 더 포함할 수 있고, 상기 필터부는 상기 회전부재의 회전으로 회전되어 상기 필터부를 쓸어내릴 수 있다.
상기 회전부재는 상기 설치본체 상에 위치하고 상기 필터부의 둘레를 따라 설치되어 있으며 상기 브러시는 상기 회전부재 상에 간격을 두고 설치될 수 있다.
상기 이송부는, 이송모터, 상기 이송모터와 연결되어 회전되는 회전부, 일측은 상기 회전부와 연결되고 타측은 상기 설치본체와 연결되어 회전부의 회전에 의해 상하 직선이동되는 직선이동부를 포함할 수 있다.
상기 회전부는 상기 이송모터와 연결되어 회전하는 회전축 및 상기 회전축 상에 설치되는 스프로킷을 포함할 수 있고, 상기 직선이동부는 일측이 상기 스프로킷에 연결되고 타측은 상기 설치본체와 연결되어 스프로킷의 회전에 의해 상하 이동되는 체인을 포함할 수 있다.
이러한 여러 실시예를 갖는 본 발명은, 기본적으로 설치본체가 이송부를 통해 이동하는 과정에서 브러시가 필터부 표면을 쓸어내거나 필터부에 직접적으로 진동을 가하는 방식으로 먼지제거가 이루어지므로 기존에 비해 먼지제거효율을 향상되는 장점이 있다.
본 발명의 집진 장치는, 기존에 비해 먼지제거 구조가 간소화 되므로 집진장치 전체 규모도 간소되는 장점이 있다.
본 발명의 집진 장치는 먼지제거 과정에서 별도 소음이 발생되지 않고 집진기 내부에서의 공기흐름에 영향을 미치지 않는 방식으로 먼지제거가 이루어지므로 집진효율 저하 현상도 방지할 수 있는 장점이 있다.
도1은 본 발명의 전체 사시도.
도2은 본 발명의 전체 단면도.
도3 및 도4는 진동발생부의 설치구조 및 작동과정을 나타낸 일부 단면도.
도5는 먼지제거부와 이송부 구조를 나타낸 사시도.
도6은 먼지제거부의 일부 확대사시도.
도 7은 브러시와 필터부간 접촉 상태를 나타낸 일부 확대 단면도.
도8은 먼지제거부가 이송부에 의해 상승된 상태의 전체단면도.
도9는 브러시가 설치본체에 직접 설치된 변형예를 나타낸 일부 확대도.
도10은 이송부를 래크와 피니언기어 구조로 변형한 예를 나타낸 일부확대도.
이하, 본 발명이 속하는 기술 분야에서 통상의 지식을 가진 자가 용이하게 실시할 수 있도록 본 발명의 실시예에 대하여 첨부한 도면을 참고로 하여 상세히 설명한다. 그러나 본 발명은 여러 가지 상이한 형태로 구현될 수 있으며 여기에서 설명하는 실시예에 한정되지 않는다. 명세서 전체를 통하여 유사한 부분에 대해서는 동일한 도면 부호를 붙였다.
본 발명 집진장치는 [도 1] 내지 [도 5]에 도시된 바와 같이 크게 집진케이스(100)와 진동발생부(200), 필터부(300), 먼지제거부(400), 이송부(500)를 포함하여 구성된다.
먼저 집진케이스(100)는 집진장치의 집진공간 형성기능을 하는 것으로, 내부에 수용공간(110)이 형성되고 하부 일측에는 공기유입구(120)가 형성되며 상측에는 정화된 공기배출을 위한 공기배출구(130)가 형성된 구조로 이루어진다.
그리고 하부는 아래로 갈수록 면적이 줄어드는 호퍼 형태로 제작되고 바닥 중앙에는 후술하는 먼지제거부(400)를 통해 필터부(300)로부터 떨어져 나온 먼지 배출을 위한 먼지배출구(140)가 형성되며 먼지배출구(140)에는 별도의 배출제어밸브(150)가 형성되어 선택적으로 먼지배출구(140)를 개폐할 수 있도록 한다.
참고로 집진케이스(100)는 특정 형상에 한정되지 않고 설치되는 곳의 환경 등에 따라 도면과 같은 사각이나 원형 등 다양하게 변형 제작될 수 있다.
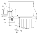
이러한 집진케이스(100)에는 진동발생부(200)가 더 설치된다.
진동발생부(200)는 후술하는 필터부(300)에 진동을 가해 필터부(300)에 묻어 있는 먼지의 제거효율을 높이기 위한 것으로, [도 2] 내지 [도 4]와 같이 다시 진동공급부(200A)와 진동전달부(200B)로 구성된다.
그 중 진동공급부(200A)는 진동을 최초 발생시는 역할을 하며 구동모터(210)와 구동캠(220)을 포함하여 구성된다.
먼저 구동모터(210)는 진동발생부(200)의 실제 진동원 역할을 하는 것으로, 일반적인 D.C모터를 사용하며 집진케이스(100) 상측 외부면 상에 설치된다.
그리고 구동캠(220)은 구동모터(210)의 회전력을 상하 직선운동으로 변환시키는 역할을 하며 구동모터(210)의 구동축에 편심 결합된 상태에서 집진케이스(100)의 수용공간 내에 위치된다.
진동전달부(200B)는 진동공급부(200A)로부터 발생된 진동을 후술하는 필터부(300)로 전달하는 기능을 하는 것으로 다시 고정판(230), 탄성부재(240) 및 진동판(250)을 포함한다.
고정판(230)은 구동캠(220)의 아래쪽에 위치되고 고정판(230) 상에는 스프링 형태의 탄성부재(240)가 설치된다. 이러한 고정판(230)과 탄성부재(240)는 수용공간(110) 양측에 설치되거나 사방에 설치될 수 있다.
그리고 탄성부재(240)와 구동캠(220) 사이에는 단순 판재형태의 진동판(250)이 위치되는데, 탄성부재(240) 상에 안착된 상태에서 상면이 구동캠(220)과 접촉된 상태로 위치된다.
이때 진동판(250)은 수용공간(110)의 면적과 거의 동일하게 제작됨에 따라 집진케이스(100)의 수용공간(110)은 진동판(250)을 기준으로 상하 분할된 상태가 된다.
즉 진동판(250) 아래쪽에는 정화 전 상태의 공기가 채워지는 제1공간(112)이 형성되고 진동판(250) 위쪽에는 정화된 공기가 채워지는 제2공간(114)이 형성된다.
이 상태에서 진동판(250)에는 후술하는 필터부(300)의 설치 및 제1, 2공간(112)(114)간 통로 역할을 하는 통공(252)이 간격을 두고 복수개 형성된다.
이러한 구조에 의해 구동모터(210)에 의해 구동캠(220)이 회전하는 과정에서 진동판(250)이 상하 요동되는 구조를 갖게 된다. 구체적인 작용과정은 후술하는 작용설명과정에서 언급한다.
이러한 집진케이스(100)에는 필터부(300)가 설치된다.
필터부(300)는 집진과정 중 공기의 실질적인 필터링 기능을 하는 것으로, 다시 필터케이스(310)와 필터부재(320)를 포함한다.
먼저 필터케이스(310)는 바닥판 상에 봉 형태의 설치막대(312)가 수직으로 세워지고 이러한 설치막대(312)가 바닥판 테두리를 따라 간격을 두고 배치되어 각 설치막대(312) 사이에 공간부가 형성된 구조로 이루어진다.
이 상태에서 상단부가 진동판(230)의 각 통공(252)마다 연결되어, 마치 진동판(230)에 매달린 형태로 설치된다.
참고로 필터케이스(310)는 이러한 구조 외에도 전체를 원통형태로 제작하고 외주면 상에 공기 유입을 위한 관통공이 여러 개 형성된 구조 등으로도 제작될 수 있다.
그리고 이러한 필터케이스(310)와 함께 필터부(300)를 구성하는 필터부재(320)는 필터부(300) 중에서도 실질적인 공기필터링 기능을 하는 것으로, 부직포나 매쉬 형태 등 공기는 통과되면서 먼지입자는 걸리질 수 있는 구조로 이루어진다.
이러한 필터부재(320)는 필터케이스(310) 내부에 삽입되어 각 설치막대(312) 사이 공간을 차단하는 형태로 설치된다.
참고로 필터부재(320)는 특정재질 및 구조에 한정되지 않고 일반적인 공기집진용도로 사용 가능한 것이라면 얼마든지 적용할 수 있다.
이렇게 필터부재(320)가 설치됨에 따라 필터부(300)는 필터부재(320)에 의해 둘러 쌓여진 상태에서 상단부가 개방된 중공관 구조를 갖게 된다.
이렇게 필터부(300)가 설치된 집진케이스(100)에는 먼지제거부(400)가 설치된다.
먼지제거부(400)는 집진과정에서 필터부재(320)에 부착된 먼지의 제거기능을 하는 것으로, [도 2] 내지 [도 7]에 도시된 바와 같이 다시 설치본체(410)와 모터(430), 회전부재(440) 및 브러시(450)를 포함하여 구성된다.
먼저 설치본체(410)는 먼지제거부(400)의 전체 몸체 역할을 하는 것으로, 전체적으로 링 형상으로 제작되며 필터부()하단이 중앙을 관통한 형태, 즉 필터부(300) 의 하단 외부둘레를 감싸는 형태로 설치된다.
참고로 설치본체(410)는 원형 링 형태 외에도 필터케이스(310)의 형상에 따라 각형 링 형태로도 제작될 수 있으며, 반드시 링 형태가 아니더라도 무관하다.
설치본체(410)는 이러한 구조로 각 필터부(300) 하단마다 위치된 상태에서 연결편(412)을 통해 상호 연결되어 전체가 일체화 된 구조를 갖게 되며, 이 상태에서[도 5] 및 [도 6]과 같이 양측 테두리 상에 위치되는 설치본체(410) 측면에는 후술하는 이송부(500)와의 연결을 위한 연결판(414)이 돌출 형성된다.
참고로 설치본체(410)는 단순히 판재 형태로 제작하고 판재 상에 각 필터부(300)가 관통되는 지점마다 관통공을 형성시킨 구조로도 변형 제작할 수 있다.
그리고 각 설치본체(410) 상면에는 후술하는 회전부재(440)의 설치기능을 하는 지지판(420)이 설치본체(410) 형상을 따라 간격을 두고 원형 배열된다.
또한 설치본체(410) 상면에는 후술하는 브러시(450)의 구동원 역할을 하는 모터(430)가 설치되며 진동발생부(200)의 구동모터(210)와 마찬가지로 일반적인 D.C모터를 사용한다.
그리고 모터(430)의 모터축에는 후술하는 브러시(450)의 설치 및 모터(430)의 회전력 전달기능을 하는 회전부재(440)가 설치된다.
회전부재(440)는 단순 철사형태로 이루어지며, 일단부가 모터축에 연결된 상태에서 각 지지판(420)을 순차적으로 관통하여 설치된다.
이때 위에서 설명한 것처럼 각 지지판(420)들이 원형배열되어 있기 때문에 이렇게 설치된 회전부재(440)도 링 형상을 갖게 된다.
먼지제거부(400)는 이러한 설치본체(410)와 모터(430) 및 회전부재(440)와 더불어 브러시(450)를 더 포함하는데, 브러시(450)는 필터부(300) 표면의 먼지를 실질적으로 제거하는 역할을 하는 것으로 전체적으로 중공관 형태로 이루어지며 둘레 상에 낱개의 브러시털이 촘촘하게 박혀 있는 구조로 이루어진다.
그리고 이러한 브러시(450)는 복수개 구비되어 회전부재(440) 길이방향을 따라 배열 설치되는데, 이때 회전부재(440)는 설치과정에서 각 브러시(450)를 길이방향으로 관통함에 따라 각 브러시(450)는 회전부재(440)를 따라 원형 배열된 상태로 설치된다.
따라서 각 브러시(450)들이 필터부(300)와 접촉된 상태에서 필터부(300) 주변을 둘러싸는 형태로 위치되고 이 상태에서 회전부재를 중심으로 회전되는 구조를 갖게 된다.
이렇게 먼지제거부(400)까지 설치된 집진케이스(100)에는 이송부(500)가 더 설치된다.
이송부(500)는 먼지제거부(400)의 승하강 기능을 하는 것으로, [도 1], [도 2] 및 [도 5]와 같이 다시 제1이송부(500A)와 제2이송부(500B)로 나뉘어 구성된다.
먼저 제1이송부(500A)는 다시 이송모터(510)와 회전부(520) 및 직선이동부재(530)를 포함하여 구성된다.
이송모터(510)는 일반적인 DC모터로 구성되며 집진케이스(100) 상측에 위치된다.
회전부(520)는 이송모터(510)의 회전력을 먼지제거부(400)로 전달하는 기능을 하는 것으로 일단부가 이송모터(510)의 모터축(미도시)에 연결되어 지면과 수평상태로 배치되는 회전축(522) 양측에 구동스프로킷(524)이 형성된 구조로 이루어진다.
이러한 회전부(520)는 상하 간격을 두고 배치되어 직선이동부재(530)를 통해 연결된다. 참고로 이때 상하 회전부(520) 간 거리는 필터부(300)의 길이 이상으로 형성되어 먼지제거부(400)가 필터부(300) 전체에 걸쳐 접촉될 수 있도록 한다.
직선이동부재(530)는 회전부(520)의 회전력을 직선방향으로 전환시켜 먼지제거부(400)의 상하 이동기능을 하는 것으로, 일반적인 체인으로 적용되며 양단부가 상하 구동스프로킷(524)에 감겨 각 구동스프로킷(524)을 수직으로 연결하는 구조를 갖는다.
참고로 체인 형태의 직선이동부(530)와 구동스프로킷(524)은 벨트와 풀리 구조 등으로 대체될 수 있다.
제2이송부(500B)는 제1이송부(500A)와 동일한 구조로 이루어지며 필터부(300)와 먼지제거부(400) 전체를 사이에 두고 대칭 위치된다. 참고로 제2이송부(500B)의 각 구성요소는 제1이송부(500A)와 중복되므로 구체적인 설명은 생략한다.
그리고 제1, 2이송부(500A)(500B)의 각 직선이동부(530) 하단은 설치본체(410)의 연결판(414)과 연결됨에 따라 직선이동부(530)의 회전 시 설치본체를(510) 비롯한 먼지제거부(500) 전체가 상하 직선 이동되는 구조를 갖게 된다.
이하에서는 본 실시예의 작용 및 그 과정에서 발생되는 특유의 효과를 설명하도록 한다.
먼저 [도 2]와 같이 외부의 공기가 공기유입구(120)를 통해 집진케이스(100)의 제1공간부(112)로 유입된 뒤, 각 필터부(300)를 통과하면서 공기에 포함된 먼지가 필터부재(320)를 통해 걸러진 뒤 진동판(250)의 통공(252)을 통해 제2공간부(114)로 유입되고 그 후 공기배출구(130)를 통해 외부로 배출된다.
이러한 과정이 반복되면서 필터부재(320)에 묻은 먼지의 양이 적정수준 이상이 되면, 필터부재(320)로부터 먼지를 털어내는 먼지제거작업이 실시된다.
먼지제거작업은 먼저 [도 2]와 [도 5] 및 [도 8]과 같이 각 이송모터(510)가 작동되면 제1, 2이송부(500A)(500B)의 각 위쪽 회전축(520)이 동시에 회전되고 이로 인해 직선이동부(530)도 회전되면서 아래쪽 각 회전축도 동시에 회전된다.
이렇게 직선이동부(530)가 회전됨에 따라 이와 연결된 설치본체(410)는 [도 8]처럼 각 필터부(400) 주변을 둘러싼 상태에서 상승된다.
이 과정에서 모터(430)에 의해 회전부재(440)가 회전되고 이로 인해 [도 7]과 같이 각 브러시(450)가 회전되면서 필터부재(320)에 묻어있는 먼지를 털어내게 된다.
그리고 설치본체(410)가 필터부(300) 상단까지 상승된 후 이송부(500)가 반대로 구동되면 먼지제거부(400) 전체가 아래로 하강하게 되고 하강과정에서도 브러시(450) 와 필터부재(320)간 접촉에 의한 먼지제거가 진행된다.
이렇게 설치본체(410)의 상하 이동이 반복되면서 필터부재(320)로부터 먼지를 계속 털어내게 된다.
이와 같이 본 발명은 브러시(450)가 필터부재(320) 표면을 직접 쓸어내는 형태로 먼지를 털어내기 때문에 기존 공기분사방식과 같은 비 접촉방식에 비해 먼지제거효율이 향상되는 효과를 얻게 된다.
그리고 브러시(450)의 먼지제거과정에서 [도 3] 및 [도 4]와 같이 진동발생부(200)의 구동모터(210)가 작동되면 구동캠(220)이 편심 회전되면서 일정간격을 두고 반복적으로 진동판(250)을 가압하게 된다.
진동판(250)이 가압됨에 따라 탄성부재(240)도 함께 가압되고 진동판(250)과 구동캠(220) 간의 접촉이 해제되는 순간 가압판(250)은 탄성부재(240)의 탄성력에 의해 위로 상승된다.
이때 필터부(300) 상단이 가압판에 매달려 있기 때문에, 이러한 진동판의 상하 이동과정에서 필터부(300)도 함께 상하 이동된다.
이러한 과정이 아주 빠르게 반복됨에 따라 각 필터부(300)도 함게 빠르게 상하 이동되어 전체적으로 떨림 형태의 진동이 발생된다.
이러한 필터부(300)의 진동에 의해 필터부재(320)에 묻어 있는 먼지가 떨어지게 된다. 즉 위에서 설명한 먼지제거부(400)에 의한 먼지제거 과정에서 이러한 필터부(300)의 떨림 현상이 복합적으로 이루어짐에 따라 필터부(300)에 묻은 먼지의 제거효율이 더욱 상승되는 효과를 얻게 된다.
참고로 위의 진동발생부(200)는 먼지제거효율을 더욱 향상시키기 위한 부가적인 구성이므로 브러시(450)에 의한 먼지제거구성 만으로도 충분한 먼지제거효율을 얻을 수 있다고 판단 될 경우 진동발생부(200)는 생략될 수 있다.
또한 반대로 진동발생부(200)에 의한 필터부(300)의 진동만으로도 충분한 먼지제거효율을 얻을 수 있다면 브러시(320)를 포함한 먼지제거부(400)를 생략하고 진동발생부(200)를 먼지제거수단으로 사용할 수 있다.
그리고 먼지제거부(400)의 구조도 다양하게 변형될 수 있다. 일예로 구동모터 없이 브러시(450)가 단순히 회전부재(440)에 고정 설치된 구조로도 구현가능하며 이 경우 회전부재(440)도 별도 회전기능은 갖고 있지 않는다.
또한 [도 9]와 같이 구동모터 및 회전부재 없이 브러시(450)를 설치본체(410) 표면에 직접 부착시키는 형태로 설치될 수도 있다.
그리고 이송부(500)의 구조도 여러 형태로 변형될 수 있는데, 일예로 [도 10]과 같이 회전부(520)를 이송모터(510) 및 이송모터(510)에 의해 회전되는 피니언기어(550)로 구성하고 직선이동부(530)를 래크기어로 구현할 수도 있다.
이 경우 래크기어(530)는 위치가 고정되고 피니언기어(550) 및 이송모터(510)는 설치본체(410)등에 설치되어 설치본체(410)를 따라 승하강 되도록 구성된다.
이렇게 피니언기어(550)와 래크기어(530)가 맞물린 상태에서 이송모터(510)의 작동에 의해 피니언기어가(550) 회전됨과 동시에 래크기어(530)의 길이방향을 따라 이동되고 이로 인해 설치본체(410)를 비롯한 먼지제거부(400) 전체가 상승된다.
그리고 피니언기어(550)가 반대로 회전되면 먼지제거부(400)도 아래쪽으로 이동된다.
이렇게 이송부(500)를 래크와 피니언 형태로 적용할 경우 회전축과 스프로킷 및 체인형태에 비해 전체적으로 구조가 간소해지는 장점이 있다.
또한 진동발생부()의 구조도 구동모터(510) 대신 유압 또는 공압실린더를 적용하고 실린더로드가 진동판(250)에 직접 연결되어 진동판(250)을 상하 이동시키는 구조로도 변형할 수 있다.
이상 설명한 본 발명의 여러 실시예는 당업자에 의해 다양하게 변형되고 조합되어 실시될 수 있으나, 이러한 변형 및 조합이 상하 이동되는 설치본체 상에 브러시를 설치하고 설치본체의 상하 이동과정에서 브러시가 필터본체를 쓸어내는 형태로 먼지를 제거하도록 하거나 별도의 진동발생부를 통해 필터부에 진동을 가해 먼지를 제거하는 구성과 관련이 있을 경우 본 발명의 보호범위에 속하는 것으로 판단되어야 한다.
100 : 집진케이스 110 : 수용공간
112 : 제1공간 114 : 제2공간
120 : 공기유입구 130 : 공기배출구
200 : 진동발생부 210 : 구동모터
220 : 구동캠 230 : 고정판
240 : 탄성부재 250 : 진동판
252 : 통공 300 : 필터부
310 : 필터케이스 320 : 필터부재
400 : 먼지제거부 410 : 설치본체
420 : 지지판 422 : 관통공
430 : 모터 440 : 회전부재
450 : 브러시 500 : 이송부
510 : 이송모터 520 : 회전부
522 : 회전축 524 : 스프로킷
530 : 직선이동부 540 : 벨트
550 : 래크기어

Claims (5)

  1. 내부에 수용공간이 형성되고 수용공간과 연결된 공기유입구 및 공기배출구가 형성된 집진케이스,
    상기 수용공간 중 상기 공기유입구와 공기배출구 사이에 설치되어 수용공간 내 존재하는 먼지가 부착되는 필터부,
    상기 필터부의 둘레를 따라 설치되는 설치본체와, 상기 설치본체 상에 회전가능하게 설치되어 있고 상기 필터부와 접촉하는 브러시와, 상기 설치본체 상에 설치되어 있고 상기 브러시를 회전시키는 모터를 포함하는 먼지제거부, 그리고
    상기 설치본체에 연결되어 설치본체를 상기 필터부 길이방향을 따라 이송시키는 이송부
    를 포함하는 집진장치.
  2. 제1항에서,
    상기 먼지제거부는,
    상기 모터와 연결되어 회전하는 회전부재를 더 포함하고,
    상기 필터부는 상기 회전부재의 회전으로 회전되어 상기 필터부를 쓸어내리는
    집진장치.
  3. 제2항에서,
    상기 회전부재는 상기 설치본체 상에 위치하고 상기 필터부의 둘레를 따라 설치되어 있으며 상기 브러시는 상기 회전부재 상에 간격을 두고 설치되어 있는
    집진장치.
  4. 제1항에서,
    상기 이송부는,
    이송모터,
    상기 이송모터와 연결되어 회전되는 회전부,
    일측은 상기 회전부와 연결되고 타측은 상기 설치본체와 연결되어 회전부의 회전에 의해 상하 직선이동되는 직선이동부를 포함하는
    집진장치.
  5. 제4항에서,
    상기 회전부는 상기 이송모터와 연결되어 회전하는 회전축 및 상기 회전축 상에 설치되는 스프로킷을 포함하고,
    상기 직선이동부는 일측이 상기 스프로킷에 연결되고 타측은 상기 설치본체와 연결되어 스프로킷의 회전에 의해 상하 이동되는 체인을 포함하는
    집진장치.
KR1020120028479A 2012-03-20 2012-03-20 집진장치 Expired - Fee Related KR101260977B1 (ko)

Priority Applications (1)

Application Number Priority Date Filing Date Title
KR1020120028479A KR101260977B1 (ko) 2012-03-20 2012-03-20 집진장치

Applications Claiming Priority (1)

Application Number Priority Date Filing Date Title
KR1020120028479A KR101260977B1 (ko) 2012-03-20 2012-03-20 집진장치

Related Parent Applications (1)

Application Number Title Priority Date Filing Date
KR1020100062978A Division KR101260976B1 (ko) 2010-06-30 2010-06-30 집진장치

Publications (2)

Publication Number Publication Date
KR20120042801A true KR20120042801A (ko) 2012-05-03
KR101260977B1 KR101260977B1 (ko) 2013-05-06

Family

ID=46263365

Family Applications (1)

Application Number Title Priority Date Filing Date
KR1020120028479A Expired - Fee Related KR101260977B1 (ko) 2012-03-20 2012-03-20 집진장치

Country Status (1)

Country Link
KR (1) KR101260977B1 (ko)

Cited By (4)

* Cited by examiner, † Cited by third party
Publication number Priority date Publication date Assignee Title
KR101633878B1 (ko) * 2015-03-17 2016-07-08 유건렬 미세먼지 제거가 가능한 집진장치
WO2017099497A1 (ko) * 2015-12-09 2017-06-15 유건렬 홈 공기청정화 시스템
CN110253686A (zh) * 2019-07-29 2019-09-20 阜阳市卓创科技服务生产力促进中心 一种木质原料切割用粉尘清除设备
CN118999195A (zh) * 2024-09-03 2024-11-22 诺贝特空调(盐城)有限公司 一种壳管式换热器

Cited By (5)

* Cited by examiner, † Cited by third party
Publication number Priority date Publication date Assignee Title
KR101633878B1 (ko) * 2015-03-17 2016-07-08 유건렬 미세먼지 제거가 가능한 집진장치
WO2017099497A1 (ko) * 2015-12-09 2017-06-15 유건렬 홈 공기청정화 시스템
KR20170068320A (ko) * 2015-12-09 2017-06-19 유건렬 홈 공기청정화 시스템
CN110253686A (zh) * 2019-07-29 2019-09-20 阜阳市卓创科技服务生产力促进中心 一种木质原料切割用粉尘清除设备
CN118999195A (zh) * 2024-09-03 2024-11-22 诺贝特空调(盐城)有限公司 一种壳管式换热器

Also Published As

Publication number Publication date
KR101260977B1 (ko) 2013-05-06

Similar Documents

Publication Publication Date Title
KR101260976B1 (ko) 집진장치
DK3110521T3 (en) Filtering arrangement for stepwise screening of fine and coarse particles in a single functional unit
CN107376539B (zh) 自清洁空气净化器
KR101260977B1 (ko) 집진장치
KR100491495B1 (ko) 회전펄스식 여과집진기
CN202942714U (zh) 一种回转滤网式格栅除污机
CN207187361U (zh) 自清洁空气净化器
US20140251387A1 (en) Method and apparatus for cleaning a filter
KR101976265B1 (ko) 회전식 대전체를 갖는 미세먼지 제거필터장치
CN101299955B (zh) 真空吸尘器的过滤器支架
EP1987870A2 (en) Cleaning device for filters
KR20140010243A (ko) 먼지제거장치
CN213912761U (zh) 一种脱硫脱硝除尘装置
CN206103531U (zh) 布袋脉冲除尘器
CN104652333B (zh) 扫地机内置双通道交替振动清尘装置
KR102197832B1 (ko) 집진기 필터 크리닝 장치
KR20040067404A (ko) 집진장치
CN208879045U (zh) 精煤脱介筛
RU2217218C2 (ru) Устройство для очистки воздуха
KR200407392Y1 (ko) 이중필터 구조 집진기
KR200312953Y1 (ko) 집진장치
CN113082877A (zh) 一种震打式除尘器
CN206635503U (zh) 一种纺织机收尘装置
CN117883908B (zh) 一种前置过滤器
RU29861U1 (ru) Устройство для очистки воздуха

Legal Events

Date Code Title Description
A107 Divisional application of patent
A201 Request for examination
PA0107 Divisional application

St.27 status event code: A-0-1-A10-A16-div-PA0107

St.27 status event code: A-0-1-A10-A18-div-PA0107

PA0201 Request for examination

St.27 status event code: A-1-2-D10-D11-exm-PA0201

PG1501 Laying open of application

St.27 status event code: A-1-1-Q10-Q12-nap-PG1501

E902 Notification of reason for refusal
PE0902 Notice of grounds for rejection

St.27 status event code: A-1-2-D10-D21-exm-PE0902

T11-X000 Administrative time limit extension requested

St.27 status event code: U-3-3-T10-T11-oth-X000

T11-X000 Administrative time limit extension requested

St.27 status event code: U-3-3-T10-T11-oth-X000

T11-X000 Administrative time limit extension requested

St.27 status event code: U-3-3-T10-T11-oth-X000

T11-X000 Administrative time limit extension requested

St.27 status event code: U-3-3-T10-T11-oth-X000

E13-X000 Pre-grant limitation requested

St.27 status event code: A-2-3-E10-E13-lim-X000

P11-X000 Amendment of application requested

St.27 status event code: A-2-2-P10-P11-nap-X000

P13-X000 Application amended

St.27 status event code: A-2-2-P10-P13-nap-X000

E701 Decision to grant or registration of patent right
PE0701 Decision of registration

St.27 status event code: A-1-2-D10-D22-exm-PE0701

GRNT Written decision to grant
PR0701 Registration of establishment

St.27 status event code: A-2-4-F10-F11-exm-PR0701

R15-X000 Change to inventor requested

St.27 status event code: A-5-5-R10-R15-oth-X000

R16-X000 Change to inventor recorded

St.27 status event code: A-5-5-R10-R16-oth-X000

R18-X000 Changes to party contact information recorded

St.27 status event code: A-5-5-R10-R18-oth-X000

PR1002 Payment of registration fee

Fee payment year number: 1

St.27 status event code: A-2-2-U10-U11-oth-PR1002

PG1601 Publication of registration

St.27 status event code: A-4-4-Q10-Q13-nap-PG1601

PR1001 Payment of annual fee

Fee payment year number: 4

St.27 status event code: A-4-4-U10-U11-oth-PR1001

P22-X000 Classification modified

St.27 status event code: A-4-4-P10-P22-nap-X000

FPAY Annual fee payment

Payment date: 20170905

Year of fee payment: 5

PR1001 Payment of annual fee

Fee payment year number: 5

St.27 status event code: A-4-4-U10-U11-oth-PR1001

R18-X000 Changes to party contact information recorded

St.27 status event code: A-5-5-R10-R18-oth-X000

R18-X000 Changes to party contact information recorded

St.27 status event code: A-5-5-R10-R18-oth-X000

FPAY Annual fee payment

Payment date: 20180221

Year of fee payment: 6

PR1001 Payment of annual fee

Fee payment year number: 6

St.27 status event code: A-4-4-U10-U11-oth-PR1001

R18-X000 Changes to party contact information recorded

St.27 status event code: A-5-5-R10-R18-oth-X000

FPAY Annual fee payment

Payment date: 20190416

Year of fee payment: 7

PR1001 Payment of annual fee

Fee payment year number: 7

St.27 status event code: A-4-4-U10-U11-oth-PR1001

FPAY Annual fee payment

Payment date: 20200225

Year of fee payment: 8

PR1001 Payment of annual fee

Fee payment year number: 8

St.27 status event code: A-4-4-U10-U11-oth-PR1001

R18-X000 Changes to party contact information recorded

St.27 status event code: A-5-5-R10-R18-oth-X000

PR1001 Payment of annual fee

Fee payment year number: 9

St.27 status event code: A-4-4-U10-U11-oth-PR1001

PR1001 Payment of annual fee

Fee payment year number: 10

St.27 status event code: A-4-4-U10-U11-oth-PR1001

PC1903 Unpaid annual fee

Not in force date: 20230430

Payment event data comment text: Termination Category : DEFAULT_OF_REGISTRATION_FEE

St.27 status event code: A-4-4-U10-U13-oth-PC1903

PC1903 Unpaid annual fee

Ip right cessation event data comment text: Termination Category : DEFAULT_OF_REGISTRATION_FEE

Not in force date: 20230430

St.27 status event code: N-4-6-H10-H13-oth-PC1903