KR20120035284A - Assembly structure of log prefabricated house - Google Patents

Assembly structure of log prefabricated house Download PDF

Info

Publication number
KR20120035284A
KR20120035284A KR1020100096683A KR20100096683A KR20120035284A KR 20120035284 A KR20120035284 A KR 20120035284A KR 1020100096683 A KR1020100096683 A KR 1020100096683A KR 20100096683 A KR20100096683 A KR 20100096683A KR 20120035284 A KR20120035284 A KR 20120035284A
Authority
KR
South Korea
Prior art keywords
assembly structure
log
wall
wooden house
coupling
Prior art date
Legal status (The legal status is an assumption and is not a legal conclusion. Google has not performed a legal analysis and makes no representation as to the accuracy of the status listed.)
Granted
Application number
KR1020100096683A
Other languages
Korean (ko)
Other versions
KR101235249B1 (en
Inventor
서경석
서우원
Original Assignee
서경석
서우원
Priority date (The priority date is an assumption and is not a legal conclusion. Google has not performed a legal analysis and makes no representation as to the accuracy of the date listed.)
Filing date
Publication date
Application filed by 서경석, 서우원 filed Critical 서경석
Priority to KR1020100096683A priority Critical patent/KR101235249B1/en
Publication of KR20120035284A publication Critical patent/KR20120035284A/en
Application granted granted Critical
Publication of KR101235249B1 publication Critical patent/KR101235249B1/en
Expired - Fee Related legal-status Critical Current
Anticipated expiration legal-status Critical

Links

Images

Classifications

    • EFIXED CONSTRUCTIONS
    • E04BUILDING
    • E04BGENERAL BUILDING CONSTRUCTIONS; WALLS, e.g. PARTITIONS; ROOFS; FLOORS; CEILINGS; INSULATION OR OTHER PROTECTION OF BUILDINGS
    • E04B1/00Constructions in general; Structures which are not restricted either to walls, e.g. partitions, or floors or ceilings or roofs
    • E04B1/18Structures comprising elongated load-supporting parts, e.g. columns, girders, skeletons
    • E04B1/19Three-dimensional framework structures
    • E04B1/1903Connecting nodes specially adapted therefor
    • EFIXED CONSTRUCTIONS
    • E04BUILDING
    • E04BGENERAL BUILDING CONSTRUCTIONS; WALLS, e.g. PARTITIONS; ROOFS; FLOORS; CEILINGS; INSULATION OR OTHER PROTECTION OF BUILDINGS
    • E04B1/00Constructions in general; Structures which are not restricted either to walls, e.g. partitions, or floors or ceilings or roofs
    • E04B1/18Structures comprising elongated load-supporting parts, e.g. columns, girders, skeletons
    • E04B1/26Structures comprising elongated load-supporting parts, e.g. columns, girders, skeletons the supporting parts consisting of wood
    • E04B1/2604Connections specially adapted therefor
    • EFIXED CONSTRUCTIONS
    • E04BUILDING
    • E04BGENERAL BUILDING CONSTRUCTIONS; WALLS, e.g. PARTITIONS; ROOFS; FLOORS; CEILINGS; INSULATION OR OTHER PROTECTION OF BUILDINGS
    • E04B1/00Constructions in general; Structures which are not restricted either to walls, e.g. partitions, or floors or ceilings or roofs
    • E04B1/343Structures characterised by movable, separable, or collapsible parts, e.g. for transport
    • E04B1/34315Structures characterised by movable, separable, or collapsible parts, e.g. for transport characterised by separable parts
    • E04B1/34326Structures characterised by movable, separable, or collapsible parts, e.g. for transport characterised by separable parts mainly constituted by longitudinal elements
    • EFIXED CONSTRUCTIONS
    • E04BUILDING
    • E04BGENERAL BUILDING CONSTRUCTIONS; WALLS, e.g. PARTITIONS; ROOFS; FLOORS; CEILINGS; INSULATION OR OTHER PROTECTION OF BUILDINGS
    • E04B1/00Constructions in general; Structures which are not restricted either to walls, e.g. partitions, or floors or ceilings or roofs
    • E04B1/343Structures characterised by movable, separable, or collapsible parts, e.g. for transport
    • E04B1/34384Assembling details for foldable, separable, collapsible or retractable structures
    • EFIXED CONSTRUCTIONS
    • E04BUILDING
    • E04BGENERAL BUILDING CONSTRUCTIONS; WALLS, e.g. PARTITIONS; ROOFS; FLOORS; CEILINGS; INSULATION OR OTHER PROTECTION OF BUILDINGS
    • E04B1/00Constructions in general; Structures which are not restricted either to walls, e.g. partitions, or floors or ceilings or roofs
    • E04B1/38Connections for building structures in general
    • E04B1/58Connections for building structures in general of bar-shaped building elements
    • EFIXED CONSTRUCTIONS
    • E04BUILDING
    • E04BGENERAL BUILDING CONSTRUCTIONS; WALLS, e.g. PARTITIONS; ROOFS; FLOORS; CEILINGS; INSULATION OR OTHER PROTECTION OF BUILDINGS
    • E04B2/00Walls, e.g. partitions, for buildings; Wall construction with regard to insulation; Connections specially adapted to walls
    • E04B2/56Load-bearing walls of framework or pillarwork; Walls incorporating load-bearing elongated members
    • E04B2/70Load-bearing walls of framework or pillarwork; Walls incorporating load-bearing elongated members with elongated members of wood
    • EFIXED CONSTRUCTIONS
    • E04BUILDING
    • E04HBUILDINGS OR LIKE STRUCTURES FOR PARTICULAR PURPOSES; SWIMMING OR SPLASH BATHS OR POOLS; MASTS; FENCING; TENTS OR CANOPIES, IN GENERAL
    • E04H1/00Buildings or groups of buildings for dwelling or office purposes; General layout, e.g. modular co-ordination or staggered storeys
    • E04H1/02Dwelling houses; Buildings for temporary habitation, e.g. summer houses

Landscapes

  • Engineering & Computer Science (AREA)
  • Architecture (AREA)
  • Civil Engineering (AREA)
  • Structural Engineering (AREA)
  • Physics & Mathematics (AREA)
  • Electromagnetism (AREA)
  • Load-Bearing And Curtain Walls (AREA)

Abstract

본 발명의 통나무 목조주택의 벽체 조립구조는 규격과 모양이 다른 목재, 예를 들어 4각, 다각, 원주 목, 원목기둥에 보와 벽체가 접하는 부분에 일정한 폭과 깊이로 중심부 각도에 맞추어 안내 경사면과 기둥의 내면을 형성하고, 기둥에 연결되는 보(인방)에서 벽체와 접하는 부분에 일정한 폭과 깊이로 중심부 각도에 맞추어 안내 경사면과 보의 내면, 그리고 경사 슬라이드 면을 형성함으로써, 기둥, 보, 창틀의 맞춤을 용이하게 하고 기존의 결합 홀(장부 구멍)보다 결합 홀(장부 구멍)을 크고 깊게 형성할 수 있기 때문에 장틀과 보의 장부(결합 돌기)가 기둥과 보 중앙에 안착하도록 유도하여 좀더 용이하고 정확한 공사를 가능케 하고, 기밀성을 좋게 함과 구조적으로 견고한 목조주택을 조립할 수 있다.The wall assembly structure of the log wooden house of the present invention is a guide slope in accordance with the central angle with a certain width and depth to the part where the beam and the wall in contact with the wood, for example, quadrilateral, polygonal, columnar, wooden pillars of different standards and shapes And the inner surface of the beam and the pillars connected to the pillars, and the guide slope, the inner surface of the beam, and the inclined slide surface according to the central angle with a constant width and depth at the part contacting the wall. It facilitates the alignment of the window frame and makes the joining holes (cogholes) larger and deeper than the existing joining holes (cogholes), which induces the cog of the frame and beams to settle in the center of the column and beam. It enables easy and accurate construction, improves airtightness and assembles structurally robust wooden houses.

Description

통나무 목조주택의 조립구조{Assembly structure of log prefabricated house}Assembly structure of log prefabricated house

본 발명은 통나무 목조주택에 관한 것으로, 좀더 상세하게는 규격과 모양이 다른 목재들(4각, 다각, 원주 목, 통나무원목의 기둥, 보, 벽체 등)을 조립함에 있어서 목재들이 서로 접하는 부분에 일정한 폭과 깊이로 중심부 각도에 맞추어 안내 경사면과 안내 경사면과 동일한 각도의 경사 슬라이드 면을 형성함으로써, 목재들의 맞춤을 용이하게 하고 정확한 공사를 가능케 하며, 구조적으로 견고한 목조주택을 조립할 수 있는 통나무 목조주택의 조립구조에 관한 것이다.The present invention relates to a log wooden house, and more particularly, in the parts in which the wood is in contact with each other in assembling wood (four-sided, polygonal, columnar, pillars, beams, walls, etc.) of different specifications and shapes. By forming a guide slope and an inclined slide surface at the same angle as the guide slope with a constant width and depth, a log wooden house that facilitates the fitting of timbers, enables accurate construction, and assembles a structurally robust wooden house. It relates to the assembly structure of.

일반적으로 전원주택은 교외의 한적한 장소에 주로 시공되는 건축물로, 근래에 들어 도시인구의 폭발적인 증대로 인해 교외의 한적한 전원생활을 갈망하는 현대인의 요구에 맞추어 그 수요가 꾸준히 증가하고 있다.In general, rural houses are mainly constructed in secluded places in the suburbs, and in recent years, with the explosive increase in urban population, the demand is steadily increasing in response to the demands of modern people who desire the secluded rural life in the suburbs.

이러한 전원주택은 통상 석재 등과 같은 재료를 이용하여 시공되어 왔으나, 최근에는 석재에 비해 비용이 저렴하고 시공이 용이한 통나무 재를 이용한 목조 주택이 많이 시공되고 있다.Such rural houses have been generally constructed using materials such as stone, but in recent years, many wooden houses have been constructed using log ash, which is cheaper and easier to construct than stone.

최근 저렴한 전원주택의 수요에 발맞추어 전문 시공업체의 전문적인 시공 없이도 가족끼리 소규모로 비교적 용이하게 시공할 수 있는 소규모의 목조주택용 자재들이 생산되고 있는데, 이러한 목재들을 이용하여 주택의 골격을 시공한 후, 소정길이의 목재들(4각, 다각, 원주목, 통나무원목의 기둥, 보, 벽체 등)을 조립한 다음, 지붕, 창문, 출입문 등을 시공하여 손쉽게 목조주택을 시공할 수 있다.Recently, in line with the demand of low-cost rural houses, small wooden house materials are being produced that can be easily installed on a small scale by families without specialized construction by a specialized construction company. After assembling wood of a predetermined length (four-sided, polygonal, columnar, logs, pillars, walls, etc.), the roof, windows, doors, etc. can be easily constructed to construct a wooden house.

최근에는 통나무를 이용한 통나무 목조주택도 많이 설치되고 있는바, 이러한 통나무 목조주택은 건물 자체가 통나무를 가공한 통나무 부재로 이루어진 만큼, 친환경적이며, 환경에 따라 습기를 흡수하거나 품고 있던 습기를 내뿜어 주는 특성을 가질 뿐만 아니라, 나무 특유의 향을 가지기 때문에, 다른 양식의 주택에 비하여 실내 환경을 더욱 쾌적하게 유지시켜 주는 장점이 있다.Recently, many log wooden houses using logs have been installed. These log wooden houses are environmentally friendly, as the buildings themselves are made of log members that process logs, and are eco-friendly and absorb moisture or emit moisture in accordance with the environment. In addition to having a unique wood fragrance, it has the advantage of keeping the indoor environment more comfortable than other types of houses.

그리고 통나무 목조주택은 에너지 효율이 매우 뛰어나며, 단열 효과도 좋고, 탄소의 저장체인 목재를 사용함으로써 탄소 절감과 실제로 같은 평수의 통나무집과 일반 주택을 비교할 때 냉,난방비를 30% 정도 절약할 수 있는 것으로 알려져 있을 뿐만 아니라, 공간 활용도가 높고 증개축이 용이한 장점이 있다.In addition, the log wooden house is very energy efficient, has a good thermal insulation effect, and saves 30% of the heating and cooling costs by comparing carbon house with ordinary log cabin. Not only is it known, there is a high space utilization and easy expansion and expansion.

통나무 목조주택은 통나무 기둥 보 구조로서, 대지에 콘크리트 구조의 기초 공사를 실시한 후 그 위에, 지반에 의한 습기에 부식되지 않도록 차단막과 화학약품 등으로 방부처리된 방부 목을 설치하고, 이 방부 목 위에 통나무 기둥 보를 결합시켜 벽체를 만든 다음, 벽체 상단에 지붕을 조립하게 된다.The log wooden house is a log beam structure. After the groundwork of the concrete structure is installed on the site, a preservative wood preservatively treated with a barrier film and chemicals is installed on the ground to prevent corrosion from moisture caused by the ground. After joining the log beams to form a wall, the roof is assembled on top of the wall.

그러나 종래 통나무 목조주택의 조립구조에서는 규격과 모양이 다른 목재들(4각, 다각, 원주목, 통나무원목의 기둥, 보, 벽체 등)을 혼용하여 사용할 수 없고 일정하게 가공된 사이즈의 목재만을 사용할 수 있기 때문에 비용이 늘어나고, 공사 현장에서 톱밥, 대패 밥, 목재의 자투리가 발생하여 자원의 절감과 공사 폐기물 발생을 줄일 수 없다.However, in the assembly structure of the conventional log wooden house, it is not possible to use a mixture of woods of different sizes and shapes (four-sided, multi-angled, columnar, logs, pillars, walls, etc.) and use only wood of uniformly processed size. This can increase costs and generate sawdust, planer rice, and scrap of wood at the construction site, thus reducing resources and construction waste.

또한, 종래 통나무 목조주택의 조립구조에서는 기둥과 보가 중앙에 안착하지 못하고 조립되어 정확한 공사를 하기 어렵고, 구조적으로 견고한 목조주택을 조립을 시공하는 데 한계가 있다.In addition, in the assembly structure of the conventional log wooden house, the pillars and beams are not seated in the center and are difficult to assemble precisely, and there is a limitation in constructing a structurally solid wooden house.

본 발명은 전술한 문제점을 해결하기 위한 것으로, 규격과 모양이 다른 목재, 예를 들어 4각, 다각, 원주 목, 원목기둥, 원목기둥에 보와 벽체가 접하는 부분에 일정한 폭과 깊이로 중심부 각도에 맞추어 안내 경사면과 기둥의 내면을 형성하고, 기둥에 연결되는 보(인방)에서 벽체와 접하는 부분에 일정한 폭과 깊이로 중심부 각도에 맞추어 안내 경사면과 보의 내면, 그리고 경사 슬라이드 면을 형성함으로써, 기둥, 보, 창틀의 맞춤을 용이하게 하고 기존의 결합 홀(장부 구멍)보다 결합 홀(장부 구멍)을 크고 깊게 형성할 수 있기 때문에 장틀과 보의 장부(결합 돌기)가 기둥과 보 중앙에 안착하도록 유도하여 좀더 용이하고 정확한 공사를 가능케 하고, 기밀성을 좋게 함과 구조적으로 견고한 목조주택을 조립할 수 있는 통나무 목조주택의 조립구조를 제공함에 그 목적이 있다.The present invention is to solve the above-mentioned problems, the standard and shape of the wood, for example, four angles, polygons, columnar necks, wooden pillars, wooden pillars in contact with the beam and the wall at a constant width and depth at the central angle By forming the guide inclined surface and the inner surface of the pillar in accordance with, and forming the guide inclined surface, the inner surface of the beam and the inclined slide surface in accordance with the central angle with a constant width and depth in the contact portion (wall) in the beam connected to the pillar, The tenon of beams and beams (seaming protrusions) is settled in the center of beams and beams because it facilitates the fitting of columns, beams, and window frames, and makes the joining holes (cogholes) larger and deeper than the existing coupling holes. In order to facilitate easier and more accurate construction, improve the airtightness and provide the assembly structure of the log wooden house that can assemble the structurally solid wooden house. As there is a purpose.

또한, 본 발명의 다른 목적은 규격과 모양이 다른 목재들을 혼용하여 사용할 수 있기 때문에 다양한 목재 사용이 가능하고, 공사 현장에서 톱밥, 대패 밥, 목재의 자투리가 발생하지 않아 자원의 절감과 공사 폐기물 발생을 줄일 수 있는 통나무 목조주택의 조립구조를 제공함에 있다.In addition, another object of the present invention can be used in a variety of wood because it can be used in a mixture of different specifications and shapes, and sawdust, planer rice, no scraps of wood does not occur in the construction site, saving resources and generating construction waste To provide an assembly structure of the log wooden house can be reduced.

또한, 본 발명의 또 다른 목적은 원목의 겉껍질만 제거하고 사용 가능하기 때문에 나무 무늬를 그대로 살려 자연미를 높이고, 햇빛과 비바람에도 강하여 목 조 건축물의 내용연수를 연장할 수 있고, 한 치수 작은 목재 사용이 가능함으로 비용을 대폭 절감할 수 있는 통나무 목조주택의 조립구조를 제공함에 있다.In addition, another object of the present invention is to remove the outer shell of the solid wood can be used to increase the natural beauty by utilizing the wood pattern as it is, it is also resistant to sunlight and rain and wind can extend the useful life of wooden buildings, one-dimensional wood It is possible to use it to provide an assembly structure of log wooden houses that can significantly reduce the cost.

전술한 목적을 달성하기 위하여 본 발명의 통나무 목조주택의 조립구조는 보 연결용 기둥의 측면에 결합 홀이 형성되고, 보의 끝단에는 결합 돌기가 형성되어, 상기 결합 돌기를 상기 결합 홀에 삽입하여 상기 보 연결용 기둥과 상기 보를 결합하는 통나무 목조주택의 조립구조에 있어서, 상기 보 연결용 기둥 및 상기 보의 직경과 형상에 관계없이 상기 연결용 기둥과 상기 보를 연결할 수 있도록 상기 결합 홀의 입구에는 일정한 안내 경사면이 형성되고, 상기 안내 경사면과 접하여 슬라이드 되도록 상기 보에는 안내 경사면과 동일한 각도의 경사 슬라이드 면이 형성되는 것을 특징으로 한다.In order to achieve the above object, the assembly structure of the log wooden house of the present invention, the coupling hole is formed on the side of the beam connection column, the coupling end is formed at the end of the beam, by inserting the coupling protrusion into the coupling hole In the assembly structure of the log wooden house for coupling the beam connecting column and the beam, the beam connecting column and the beam is fixed at the entrance of the coupling hole so as to connect the connection column and the beam regardless of the diameter and shape of the beam. The guide inclined surface is formed, the beam is characterized in that the inclined slide surface of the same angle as the guide inclined surface is formed so as to slide in contact with the guide inclined surface.

상기 안내 경사면은 상기 기둥의 중심부 각도에 맞추어 가공된 것을 특징으로 한다.The guide inclined surface is characterized in that it is processed in accordance with the central angle of the pillar.

또한, 본 발명의 통나무 목조주택의 조립구조는 보 연결용 기둥에 다수의 보들이 결합되고, 상기 보들 사이에 벽체가 결합하는 통나무 목조주택의 벽체 조립구조에 있어서, 상기 보에는 결합 홈이 형성되고, 상기 벽체의 상하좌우 끝단에는 결합 돌기가 형성되며, 상기 결합 홈의 입구에는 안내 경사면이 형성되고, 상기 벽체 상하좌우에 경사 슬라이드 면이 형성되는 것을 특징으로 한다. In addition, in the assembly structure of the log wooden house of the present invention a plurality of beams are coupled to the beam connection column, the wall assembly structure of the log wooden house that the wall is coupled between the beams, the coupling groove is formed in the beam The upper, lower, left, and right ends of the wall are provided with engaging projections, and the inlet of the engaging groove is formed with a guide inclined surface, characterized in that the inclined slide surface is formed on the upper, lower, left and right of the wall.

이상에서 설명한 바와 같이, 본 발명의 통나무 목조주택의 벽체 조립구조에서는 규격과 모양이 다른 목재, 예를 들어 4각, 다각, 원주 목, 원목기둥에 보와 벽체 좌우가 접하는 부분에 일정한 폭과 깊이로 중심부 각도에 맞추어 안내 경사면과 기둥의 내면을 형성하고, 기둥에 연결되는 보(인방) 상하에 벽체와 접하는 부분에 일정한 폭과 깊이로 중심부 각도에 맞추어 안내 경사면과 보의 내면, 그리고 경사 슬라이드 면을 형성함으로써, 기둥, 보, 창틀의 맞춤을 용이하게 하고 기존의 결합 홀(장부 구멍)보다 결합 홀(장부 구멍)을 크고 깊게 형성할 수 있기 때문에 장틀과 보의 장부(결합 돌기)가 기둥과 보 중앙에 안착하도록 유도하여 좀더 용이하고 정확한 공사를 가능케 하고, 기밀성을 좋게 함과 구조적으로 견고한 목조주택을 조립할 수 있다.As described above, in the wall assembly structure of the log wooden house of the present invention, the width and depth of the wood of different sizes and shapes, for example, a quadrilateral, a polygon, a circumferential neck, and a beam contacting the left and right sides of the wooden column The guide inclined surface and the inner surface of the column are formed according to the angle of the center of the furnace, and the guide inclined surface and the inner surface of the beam and the inclined slide surface according to the central angle with a constant width and depth on the upper and lower portions of the beam connected to the column. By forming the structure, the tenons of beams and beams can be formed larger and deeper than those of the existing coupling holes. It can be guided to settle in the center of the beam, which enables easier and more accurate construction, improves airtightness, and assembles a structurally strong wooden house.

또한, 본 발명의 통나무 목조주택의 벽체 조립구조에서는 규격과 모양이 다른 목재들을 혼용하여 사용할 수 있기 때문에 다양한 목재 사용이 가능하고, 공사 현장에서 톱밥, 대패 밥, 목재의 자투리가 발생하지 않아 자원의 절감과 공사 폐기물 발생을 줄일 수 있다.In addition, since the wall assembly structure of the log wooden house of the present invention can be used by using a mixture of wood of different specifications and shapes, it is possible to use a variety of timber, and sawdust, planer rice, the stalk of wood does not occur in the construction site of the resource It can save money and reduce construction waste.

또한, 본 발명의 통나무 목조주택의 벽체 조립구조에서는 원목의 겉껍질만 제거하고 사용 가능하기 때문에 나무 무늬를 그대로 살려 자연미를 높이고, 햇빛과 비바람에도 강하여 목 조 건축물의 내용연수를 연장할 수 있고, 한 치수 작은 목재 사용이 가능함으로 비용을 대폭 절감할 수 있다.In addition, the wall assembly structure of the log wooden house of the present invention can be used by removing only the outer shell of the solid wood, so that the natural pattern by utilizing the wood pattern as it is, and also strong in sunlight and wind, can extend the useful life of the wooden building, The use of small-sized timber can significantly reduce costs.

도 1은 본 발명의 일 실시 예에 따른 통나무 목조주택을 보인 사시도
도 2는 본 발명의 일 실시 예에 따른 보 연결용 기둥과 보의 연결을 보인 분리 사시도
도 3은 도 2의 보의 결합을 보인 분리 사시도
도 4 및 도 5는 3개의 보들이 결합 홈에 끼워져 "T"자 형으로 결합되는 것을 보인 분리 사시도
도 6 및 도 7은 원형 기둥과 보의 연결을 보인 횡단면도
도 8 및 도 9는 사각 기둥과 보의 연결을 보인 횡단면도
도 10은 각기둥, 원기둥, 혼용기둥을 보인 단면도
도 11 및 도 12는 보 연결용 기둥에 보를 결합하는 과정을 보인 도면
도 13은 본 발명의 다른 실시 예에 따른 통나무 목조주택을 보인 사시도
도 14는 기둥들과 벽체의 조립구조를 보인 종단면도
1 is a perspective view showing a log wooden house according to an embodiment of the present invention
Figure 2 is an exploded perspective view showing the connection of the beam connection beam and the beam according to an embodiment of the present invention
3 is an exploded perspective view showing the coupling of the beam of FIG.
4 and 5 are exploded perspective views showing that the three beams are fitted in the coupling groove to be coupled in a "T" shape?
6 and 7 are cross-sectional views showing the connection of the circular column and the beam
8 and 9 are cross-sectional views showing the connection of square columns and beams.
10 is a cross-sectional view showing a prismatic cylinder, a cylinder, a mixed column
11 and 12 are views showing a process of joining the beam to the beam connection column
Figure 13 is a perspective view of a log wooden house according to another embodiment of the present invention
14 is a longitudinal sectional view showing the assembly structure of the pillars and the wall;

이하, 첨부도면을 참조하여 본 발명의 바람직한 실시 예에 따른 통나무 목조주택의 조립구조를 상세하게 설명한다.Hereinafter, with reference to the accompanying drawings will be described in detail the assembly structure of the log wooden house according to an embodiment of the present invention.

도 1은 본 발명의 일 실시 예에 따른 통나무 목조주택을 보인 사시도, 도 2는 본 발명의 일 실시 예에 따른 보 연결용 기둥과 보의 연결을 보인 분리 사시도, 도 3은 도 2의 보의 결합을 보인 분리 사시도, 도 4 및 도 5는 3개의 보들이 결합 홈에 끼워져 "T"자 형으로 결합되는 것을 보인 분리 사시도, 도 6 및 도 7은 원형 기둥과 보의 연결을 보인 횡단면도 그리고, 도 8 및 도 9는 사각 기둥과 보의 연결을 보인 횡단면도이다.1 is a perspective view showing a log wooden house according to an embodiment of the present invention, Figure 2 is an exploded perspective view showing the connection of the beam connecting beams and beams according to an embodiment of the present invention, Figure 3 is a beam of Figure 2 4 and 5 are exploded perspective views showing the coupling of the three beams are inserted into the coupling groove to be coupled in a "T" shape, 6 and 7 are cross-sectional views showing the connection of the circular column and the beam, and 8 and 9 are cross-sectional views showing the connection of the square column and the beam.

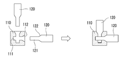
우선, 도 1 내지 도 3을 참조하면, 본 발명의 일 실시 예에 따른 통나무 목조주택의 조립구조는 보 연결용 기둥(110)의 측면에 결합 홀(111)이 형성되고, 보(120)의 끝단에는 결합 돌기(장부)(121)가 형성되어, 상기 결합 돌기(121)를 상기 결합 홀(111)에 삽입하여 상기 보 연결용 기둥(110)과 상기 보(120)를 결합한다.First, referring to Figures 1 to 3, the assembly structure of the log wooden house according to an embodiment of the present invention, the coupling hole 111 is formed on the side of the beam connection pillar 110, the beam 120 of A coupling protrusion (cog) 121 is formed at an end thereof, and the coupling protrusion 121 is inserted into the coupling hole 111 to couple the beam connecting pillar 110 and the beam 120.

상기 보 연결용 기둥(110) 및 상기 보(120)의 직경과 형상에 관계없이 상기 연결용 기둥(110)과 상기 보(120)를 연결할 수 있도록 상기 결합 홀(111)의 입구에는 안내 경사면(112)이 형성되고, 상기 안내 경사면(112)과 접하여 슬라이드 되도록 상기 결합 돌기(장부)(121)에는 경사 슬라이드 면(122)이 형성된다.Regardless of the diameter and shape of the beam connecting pillar 110 and the beam 120, a guide inclined surface is formed at the entrance of the coupling hole 111 to connect the connecting pillar 110 and the beam 120. 112 is formed, and the inclined slide surface 122 is formed on the engaging projection (cog) 121 to slide in contact with the guide inclined surface 112.

여기서 상기 안내 경사면(112)은 상기 기둥(110)의 중심부 각도에 맞추어 가공된다. 상기 경사 슬라이드면(122)은 상기 안내 경사면(112)과 동일 각도로 형성됨으로써, 목조주택의 기밀과 조립이 용이하여 모양이 다른 목재를 호환하여 사용 할 수 있다. Here, the guide inclined surface 112 is processed according to the central angle of the pillar 110. Since the inclined slide surface 122 is formed at the same angle as the guide inclined surface 112, the airtight and easy assembly of the wooden house can be used to compatible with the different wood.

그리고 상기 기둥(110)에는 일정 사이즈의 내면(114)이 형성되고, 상기 보(120)에는 일정 사이즈의 내면(124)이 형성된다. 이는, 기둥(110), 보(120)의 형상이나 사이즈에 관계없이 서로 견고하게 조립할 수 있도록 하기 위해서이다.An inner surface 114 of a predetermined size is formed on the pillar 110, and an inner surface 124 of a predetermined size is formed on the beam 120. This is to ensure that the pillars 110 and the beams 120 can be firmly assembled to each other regardless of the shape or size of the pillar 110 and the beam 120.

상기 보(120)의 결합 돌기(121)들은 서로 겹쳐 조립될 수 있도록 하부와 상부에 결합 홈(121a)이 형성된다(도 3 참조).Coupling protrusions 121 of the beam 120 are formed in the lower and upper coupling grooves 121a to be assembled to overlap each other (see Figure 3).

도 4 및 도 5에 보인 바와 같이, 3개의 보들(120)이 결합 홈(121a)에 끼워져 "T"자 형으로 결합되고, 상기 "T"자 형 보(120)들은 기둥(110)의 결합 홀(111) 안에 삽입된다. 상기 안내 경사면(112)에 경사 슬라이드 면(122)이 접하도록 구성된다.As shown in FIGS. 4 and 5, three beams 120 are fitted into the coupling grooves 121a to be coupled in a “T” shape, and the “T” shaped beams 120 are coupled to the pillars 110. It is inserted into the hole 111. The inclined slide surface 122 is in contact with the guide inclined surface 112.

도 6을 참조하면, 본 발명의 일 실시 예에 따른 통나무 목조주택의 조립구조에서는 원형 기둥(110)과 보(120)의 "ㅡ"자 형 연결이 가능하다. 상기 결합 돌기(121)들은 서로 겹친 상태를 유지하며, 상기 안내 경사면(112)에 경사 슬라이드 면(122)이 접하게 된다.Referring to Figure 6, in the assembly structure of the log wooden house according to an embodiment of the present invention "-" shaped connection of the circular column 110 and the beam 120 is possible. The coupling protrusions 121 maintain the overlapping state, and the inclined slide surface 122 is in contact with the guide inclined surface 112.

도 7을 참조하면, 본 발명의 일 실시 예에 따른 통나무 목조주택의 조립구조에서는 원형 기둥(110)과 보(120)의 "+"자 형 연결이 가능하다. 상기 결합 돌기(121)들은 서로 겹친 상태를 유지하며, 상기 안내 경사면(112)에 경사 슬라이드 면(122)이 접하게 된다.Referring to Figure 7, in the assembly structure of the log wooden house according to an embodiment of the present invention, the "+" shaped connection of the circular column 110 and the beam 120 is possible. The coupling protrusions 121 maintain the overlapping state, and the inclined slide surface 122 is in contact with the guide inclined surface 112.

도 8을 참조하면, 본 발명의 일 실시 예에 따른 통나무 목조주택의 조립구조에서는 사각 기둥(110)과 보(120)의 "L"자 형 연결이 가능하다. 상기 결합 돌기(121)들은 서로 겹친 상태를 유지하며, 상기 안내 경사면(112)에 경사 슬라이드 면(122)이 접하게 된다.Referring to Figure 8, in the assembly structure of the log wooden house according to an embodiment of the present invention, the "L" shaped connection of the square pillar 110 and the beam 120 is possible. The coupling protrusions 121 maintain the overlapping state, and the inclined slide surface 122 is in contact with the guide inclined surface 112.

도 9를 참조하면, 본 발명의 일 실시 예에 따른 통나무 목조주택의 조립구조에서는 사각 기둥(110)과 보(120)의 "T"자 형 연결이 가능하다. 상기 결합 돌기(121)들은 서로 겹친 상태를 유지하며, 상기 안내 경사면(112)에 경사 슬라이드 면(122)이 접하게 된다.9, in the assembly structure of the log wooden house according to an embodiment of the present invention, the "T" shaped connection of the square pillar 110 and the beam 120 is possible. The coupling protrusions 121 maintain the overlapping state, and the inclined slide surface 122 is in contact with the guide inclined surface 112.

도 10에서 (a)는 각기둥, (b)는 원기둥, (c)는 혼용기둥 단면을 보인 것으로, 안내 경사면(112)에 의해서 규격과 모양이 다른 목재, 예를 들어 4각, 다각, 원주 목, 원목기둥 등의 목재가 혼용하여 사용 가능하므로, 보의 맞춤을 용이하게 하고 기존의 결합 홀(장부구멍)보다 결합 홀(장부구멍)을 크게 형성할 수 있기 때문에 장틀과 보의 장부가 기둥과 보 중앙에 안착하도록 유도하여 좀더 용이하고 정확한 공사를 가능케 하고, 구조적으로 견고한 목조주택을 조립할 수 있다.In FIG. 10, (a) is a prismatic pillar, (b) is a cylinder, and (c) is a mixed cylinder cross-section, and the guide inclined surface 112 different in size and shape, for example, four angles, polygons, circumferential neck Since the timbers, such as wooden pillars, etc. can be used in combination, it is easy to fit the beams and the joining holes (cogholes) can be formed larger than the existing coupling holes (cogholes). It can be guided to the center position, allowing easier and more accurate construction and assembling structurally solid wooden houses.

도 11 및 도 12는 보 연결용 기둥에 보를 결합하는 과정을 보인 도면이다.11 and 12 are views showing a process of coupling the beam to the beam connection column.

도 11 및 도 12를 참조하면, 보 연결용 기둥(110)의 측면에 결합 홀(111)이 형성되고, 보(120)의 끝단에 결합 돌기(장부)(121)가 형성되어, 상기 결합 돌기(121)를 상기 결합 홀(111)에 삽입하여 상기 보 연결용 기둥(110)과 상기 보(120)를 결합하되, 상기 결합 홀(111)의 입구에는 안내 경사면(112)이 형성되고, 상기 안내 경사면(112)과 접하여 슬라이드 되도록 상기 보(120)에는 경사 슬라이드 면(122)이 형성됨으로써, 보 연결용 기둥(110)의 양쪽을 로프(R)로 화살표 방향으로 조여서 상기 보 연결용 기둥(110)과 상기 보(120)를 원활하고 견고하게 결합할 수 있는 것이다. 11 and 12, a coupling hole 111 is formed at a side surface of the beam connecting pillar 110, and a coupling protrusion (cog) 121 is formed at an end of the beam 120, and the coupling protrusion is formed. Insert the 121 into the coupling hole 111 to couple the beam connecting pillar 110 and the beam 120, the guide inclined surface 112 is formed at the inlet of the coupling hole 111, Since the inclined slide surface 122 is formed on the beam 120 to slide in contact with the guide inclined surface 112, the beam connecting pillar 110 is tightened in the direction of the arrow with a rope R to the beam connecting pillar ( 110 and the beam 120 will be able to combine smoothly and firmly.

한편, 도 13은 본 발명의 다른 실시 예에 따른 통나무 목조주택의 조립구조를 보인 사시도이고, 도 14는 기둥들과 벽체의 조립구조를 보인 종단면도이다.On the other hand, Figure 13 is a perspective view showing the assembly structure of the log wooden house according to another embodiment of the present invention, Figure 14 is a longitudinal sectional view showing the assembly structure of the pillars and the wall.

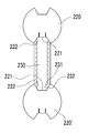
도 13 및 도 14를 참조하면, 본 발명의 다른 실시 예에 따른 통나무 목조주택의 조립구조는 보 연결용 기둥(210)에 다수의 보들(220)(220')이 결합되고, 상기 보들(220)(220') 사이에 벽체(230)가 결합한다.13 and 14, in the assembly structure of the log wooden house according to another embodiment of the present invention, a plurality of beams 220 and 220 ′ are coupled to the beam connecting pillar 210, and the beams 220 Wall 230 is coupled between the (220).

상기 보(220)(220')에는 결합 홈(221)이 형성되고, 상기 벽체(230)의 끝단에는 결합 돌기(231)가 형성되며, 상기 결합 홈(221)의 입구에는 안내 경사면(222)이 형성되고, 상기 벽체(230)에는 경사 슬라이드 면(232)이 형성된다. 여기서 벽체(230) 상부의 경우에는 경사 슬라이드 면(232)이 안내 경사면(222) 안으로 완전히 삽입되도록 하고, 상기 벽체(230) 하부의 경우에는 경사 슬라이드 면(232)이 안내 경사면(222) 안으로 덜 삽입되도록 배치하여 빗물이 아래쪽 보(220')의 상기 결합 홈(221) 안으로 스며들지 않도록 하는 것이 바람직하다.Coupling grooves 221 are formed in the beams 220 and 220 ', and coupling protrusions 231 are formed at the ends of the wall 230, and guide inclined surfaces 222 at the inlet of the coupling grooves 221. Is formed, and an inclined slide surface 232 is formed on the wall 230. In this case, the inclined slide surface 232 is completely inserted into the guide inclined surface 222 in the case of the upper wall 230, and the inclined slide surface 232 is less in the guide inclined surface 222 in the lower part of the wall 230. It is preferable to arrange so that the rainwater does not penetrate into the coupling groove 221 of the lower beam 220 '.

이상에서 설명한 바와 같이, 본 발명의 통나무 목조주택의 벽체 조립구조에서는 규격과 모양이 다른 목재, 예를 들어 4각, 다각, 원주 목, 원목기둥, 원목기둥에 보와 벽체가 접하는 부분에 일정한 폭과 깊이로 중심부 각도에 맞추어 안내 경사면과 기둥의 내면을 형성하고, 기둥에 연결되는 보(인방)에서 벽체와 접하는 부분에 일정한 폭과 깊이로 중심부 각도에 맞추어 안내 경사면과 보의 내면, 그리고 경사 슬라이드 면을 형성함으로써, 기둥, 보, 창틀의 맞춤을 용이하게 하고 기존의 결합 홀(장부 구멍)보다 결합 홀(장부 구멍)을 크고 깊게 형성할 수 있기 때문에 장틀과 보의 장부(결합 돌기)가 기둥과 보 중앙에 안착하도록 유도하여 좀더 용이하고 정확한 공사를 가능케 하고, 기밀성을 좋게 함과 구조적으로 견고한 목조주택을 조립할 수 있다.As described above, in the wall assembly structure of the log wooden house of the present invention, the width and the width of the standard and the shape of the wood, for example, a quadrilateral, a polygon, a column, a wooden column, a wooden column and a portion where the beam and the wall contact with a certain width The inner surface of the guide slope and the pillar is formed at the center angle with the depth and depth, and the guide slope and the inner surface of the beam and the slope slide at the center angle with a constant width and depth at the part contacting the wall in the beam connected to the pillar. By forming the surface, the tenon (beam) of the frame and beam can be made easier by fitting columns, beams, and window frames and forming larger and deeper coupling holes (cogholes) than conventional coupling holes (cogholes). It can be guided to settle in the center of the project, which enables easier and accurate construction, improves airtightness, and assembles a structurally solid wooden house.

또한, 본 발명의 통나무 목조주택의 벽체 조립구조에서는 규격과 모양이 다른 목재들을 혼용하여 사용할 수 있기 때문에 다양한 목재 사용이 가능하고, 공사 현장에서 톱밥, 대패 밥, 목재의 자투리가 발생하지 않아 자원의 절감과 공사 폐기물 발생을 줄일 수 있다.In addition, since the wall assembly structure of the log wooden house of the present invention can be used by using a mixture of wood of different specifications and shapes, it is possible to use a variety of timber, and sawdust, planer rice, the stalk of wood does not occur in the construction site of the resource It can save money and reduce construction waste.

또한, 본 발명의 통나무 목조주택의 벽체 조립구조에서는 원목의 겉껍질만 제거하고 사용 가능하기 때문에 나무 무늬를 그대로 살려 자연미를 높이고, 햇빛과 비바람에도 강하여 목 조 건축물의 내용연수를 연장할 수 있고, 한 치수 작은 목재 사용이 가능함으로 비용을 대폭 절감할 수 있다. In addition, the wall assembly structure of the log wooden house of the present invention can be used by removing only the outer shell of the solid wood, so that the natural pattern by utilizing the wood pattern as it is, and also strong in sunlight and wind, can extend the useful life of the wooden building, The use of small-sized timber can significantly reduce costs.

이와 같이 본 발명의 권리는 상기 설명된 실시 예에 한정되지 않고, 청구범위에 기재된 바에 의해 정의되며, 본 발명의 기술분야에서 통상의 지식을 가진 자가 특허청구범위에 기재된 권리범위 내에서 다양한 변형을 할 수 있다는 것은 자명하다.As such, the rights of the present invention are not limited to the above-described embodiments, but are defined by the claims, and various modifications can be made within the scope of the claims by those skilled in the art. It is self evident.

110: 보 연결용 기둥
111: 결합 홀
112: 안내 경사면
114: 기둥의 내면
120: 보
121: 결합 돌기
122: 경사 슬라이드 면
124: 보의 내면
110: beam connection column
111: coupling hole
112: guide slope
114: Inside of pillar
120: Show
121: splice protrusion
122: sloped slide face
124: inside of the beam

Claims (3)

보 연결용 기둥(110)의 측면에 결합 홀(111)이 형성되고, 보(120)의 끝단에는 결합 돌기(121)가 형성되어, 상기 결합 돌기(121)를 상기 결합 홀(111)에 삽입하여 상기 보 연결용 기둥(110)과 상기 보(120)를 결합하는 통나무 목조주택의 벽체 조립구조에 있어서,
상기 보 연결용 기둥(110) 및 상기 보(120)의 직경과 형상에 관계없이 상기 연결용 기둥(110)과 상기 보(120)를 연결할 수 있도록 상기 결합 홀(111)의 입구에는 안내 경사면(112)이 형성되고, 상기 안내 경사면(112)과 접하여 슬라이드 되도록 상기 보(120)에는 상기 안내 경사면(112)과 같은 각도로 경사 슬라이드 면(122)이 형성되는 통나무 목조주택의 벽체 조립구조.
A coupling hole 111 is formed at a side of the beam connecting pillar 110, and a coupling protrusion 121 is formed at an end of the beam 120, and the coupling protrusion 121 is inserted into the coupling hole 111. In the wall assembly structure of the log wooden house to combine the beam connecting column 110 and the beam 120,
Regardless of the diameter and shape of the beam connecting pillar 110 and the beam 120, a guide inclined surface is formed at the entrance of the coupling hole 111 to connect the connecting pillar 110 and the beam 120. 112 is formed, the wall assembly structure of the log wooden house in which the inclined slide surface 122 is formed on the beam 120 at the same angle as the guide inclined surface 112 so as to slide in contact with the guide inclined surface (112).
제1항에 있어서,
상기 기둥(110)의 상기 안내 경사면(112)은 상기 기둥(110)의 중심부 각도에 맞추어 가공된 것을 특징으로 하는 통나무 목조주택의 벽체 조립구조.
The method of claim 1,
The guide inclined surface 112 of the pillar 110 is a wall assembly structure of a log wooden house, characterized in that processed to the central angle of the pillar (110).
보 연결용 기둥(210)에 다수의 보들(220)(220')이 결합되고, 상기 보들(220)(220') 사이에 벽체(230)가 결합하는 통나무 목조주택의 벽체 조립구조에 있어서,
상기 보(220)(220')에는 결합 홈(221)이 형성되고, 상기 벽체(230)의 끝단에는 결합 돌기(231)가 형성되며, 상기 결합 홈(221)의 입구에는 안내 경사면(222)이 형성되고, 상기 벽체(230) 상하좌우에는 경사 슬라이드 면(232)이 형성되는 것을 특징으로 하는 통나무 목조주택의 벽체 조립구조.
In the beam assembly structure of the log wooden house in which a plurality of beams 220 and 220 'are coupled to the beam connection pillar 210 and the walls 230 are coupled between the beams 220 and 220'.
Coupling grooves 221 are formed in the beams 220 and 220 ', and coupling protrusions 231 are formed at the ends of the wall 230, and guide inclined surfaces 222 at the inlet of the coupling grooves 221. Is formed, the wall 230, the wall assembly structure of the log wooden house, characterized in that the inclined slide surface 232 is formed on the top, bottom, left and right.
KR1020100096683A 2010-10-05 2010-10-05 Assembly structure of log prefabricated house Expired - Fee Related KR101235249B1 (en)

Priority Applications (1)

Application Number Priority Date Filing Date Title
KR1020100096683A KR101235249B1 (en) 2010-10-05 2010-10-05 Assembly structure of log prefabricated house

Applications Claiming Priority (1)

Application Number Priority Date Filing Date Title
KR1020100096683A KR101235249B1 (en) 2010-10-05 2010-10-05 Assembly structure of log prefabricated house

Publications (2)

Publication Number Publication Date
KR20120035284A true KR20120035284A (en) 2012-04-16
KR101235249B1 KR101235249B1 (en) 2013-02-20

Family

ID=46137218

Family Applications (1)

Application Number Title Priority Date Filing Date
KR1020100096683A Expired - Fee Related KR101235249B1 (en) 2010-10-05 2010-10-05 Assembly structure of log prefabricated house

Country Status (1)

Country Link
KR (1) KR101235249B1 (en)

Cited By (3)

* Cited by examiner, † Cited by third party
Publication number Priority date Publication date Assignee Title
KR101645914B1 (en) 2016-01-12 2016-08-04 이기상 The structure of prefabricated house
CN110117989A (en) * 2019-04-29 2019-08-13 天津港保税区益达国际贸易有限公司 The fast construction method and its movable building of energy saving and environment friendly building block system removable form structure movable building
CN114960957A (en) * 2022-06-13 2022-08-30 珠海采筑电子商务有限公司 Supporting structure and construction method of movable house

Family Cites Families (4)

* Cited by examiner, † Cited by third party
Publication number Priority date Publication date Assignee Title
JPH1162054A (en) 1997-08-21 1999-03-05 Toho Corp:Kk Construction member for log house, and construction method using thereof
JP2003307080A (en) 2002-04-17 2003-10-31 Nippon Spindle Mfg Co Ltd Joint member of rail/stile
JP4569867B2 (en) 2004-11-02 2010-10-27 勇 上畠 Log house log, pillar and its assembly method
KR100911718B1 (en) * 2007-09-17 2009-08-10 서경석 Wall structure of wooden house

Cited By (4)

* Cited by examiner, † Cited by third party
Publication number Priority date Publication date Assignee Title
KR101645914B1 (en) 2016-01-12 2016-08-04 이기상 The structure of prefabricated house
CN110117989A (en) * 2019-04-29 2019-08-13 天津港保税区益达国际贸易有限公司 The fast construction method and its movable building of energy saving and environment friendly building block system removable form structure movable building
CN114960957A (en) * 2022-06-13 2022-08-30 珠海采筑电子商务有限公司 Supporting structure and construction method of movable house
CN114960957B (en) * 2022-06-13 2023-08-11 珠海采筑电子商务有限公司 Supporting structure of movable house and construction method

Also Published As

Publication number Publication date
KR101235249B1 (en) 2013-02-20

Similar Documents

Publication Publication Date Title
KR101060903B1 (en) Wall of log prefabricated wooden house
US9797149B2 (en) Timber frame structures with improved joint assemblies
JP2012241482A (en) Built-up house and method for building up the sane
KR101235249B1 (en) Assembly structure of log prefabricated house
CN206599879U (en) A kind of light-duty wooden house wall combined member that can be recycled
KR102008410B1 (en) Pannel and prefabricated house using the same
CN1543526A (en) Building precast assembly and method for erecting building wall by using same
KR101291678B1 (en) Wall structure using the log for vertical member
KR20140008144A (en) Panel for prefabricated house, assembly structure using the same, and prefabricated house including the same
CN209369039U (en) A prefabricated wood structure beam-column connection node
US20040177575A1 (en) System of interlocking wall and corner components for construction of buildings
CN211736518U (en) Pin-connected panel yurt structure
KR101122815B1 (en) Wall of log prefabricated houses and method for preventing contraction deformation of the houses
EA200800746A1 (en) CONSTRUCTION STRUCTURE FOR THE WALL CONSTRUCTION
RU88696U1 (en) WOODEN BAR FOR ESTABLISHING WALLS
KR101655081B1 (en) Prefabricated house
RU72994U1 (en) LONGITUDINAL JOINING OF LOGS
FI13574Y1 (en) Timber coupling
CN209066641U (en) A wooden house assembled wall
Kwan An investigation of the new opportunities of wood in mid-rise construction in British Columbia
RU49860U1 (en) WOODEN BUILDING ELEMENT, BLOCK AND WALL OF A LOW-STOREY CONSTRUCTION
RU100102U1 (en) KIT OF WOODEN PARTS, VERTICALLY INSTALLED WOODEN PARTS, HORIZONTALLY INSTALLED WOODEN PARTS AND WALL
KR100734175B1 (en) Wooden house and construction method of this wooden house
US20160251843A1 (en) Construction structure for houses and buildings
KR102120369B1 (en) Roof structures of prefabricated buildings

Legal Events

Date Code Title Description
A201 Request for examination
PA0109 Patent application

St.27 status event code: A-0-1-A10-A12-nap-PA0109

PA0201 Request for examination

St.27 status event code: A-1-2-D10-D11-exm-PA0201

R17-X000 Change to representative recorded

St.27 status event code: A-3-3-R10-R17-oth-X000

D13-X000 Search requested

St.27 status event code: A-1-2-D10-D13-srh-X000

D14-X000 Search report completed

St.27 status event code: A-1-2-D10-D14-srh-X000

PG1501 Laying open of application

St.27 status event code: A-1-1-Q10-Q12-nap-PG1501

PE0902 Notice of grounds for rejection

St.27 status event code: A-1-2-D10-D21-exm-PE0902

E13-X000 Pre-grant limitation requested

St.27 status event code: A-2-3-E10-E13-lim-X000

P11-X000 Amendment of application requested

St.27 status event code: A-2-2-P10-P11-nap-X000

P13-X000 Application amended

St.27 status event code: A-2-2-P10-P13-nap-X000

E701 Decision to grant or registration of patent right
PE0701 Decision of registration

St.27 status event code: A-1-2-D10-D22-exm-PE0701

GRNT Written decision to grant
PR0701 Registration of establishment

St.27 status event code: A-2-4-F10-F11-exm-PR0701

PR1002 Payment of registration fee

St.27 status event code: A-2-2-U10-U11-oth-PR1002

Fee payment year number: 1

PG1601 Publication of registration

St.27 status event code: A-4-4-Q10-Q13-nap-PG1601

R18-X000 Changes to party contact information recorded

St.27 status event code: A-5-5-R10-R18-oth-X000

R18-X000 Changes to party contact information recorded

St.27 status event code: A-5-5-R10-R18-oth-X000

FPAY Annual fee payment

Payment date: 20160304

Year of fee payment: 4

PR1001 Payment of annual fee

St.27 status event code: A-4-4-U10-U11-oth-PR1001

Fee payment year number: 4

P22-X000 Classification modified

St.27 status event code: A-4-4-P10-P22-nap-X000

LAPS Lapse due to unpaid annual fee
PC1903 Unpaid annual fee

St.27 status event code: A-4-4-U10-U13-oth-PC1903

Not in force date: 20170215

Payment event data comment text: Termination Category : DEFAULT_OF_REGISTRATION_FEE

PC1903 Unpaid annual fee

St.27 status event code: N-4-6-H10-H13-oth-PC1903

Ip right cessation event data comment text: Termination Category : DEFAULT_OF_REGISTRATION_FEE

Not in force date: 20170215