KR20120023296A - 기판처리장치 - Google Patents

기판처리장치

Info

Publication number
KR20120023296A
KR20120023296A KR1020100085644A KR20100085644A KR20120023296A KR 20120023296 A KR20120023296 A KR 20120023296A KR 1020100085644 A KR1020100085644 A KR 1020100085644A KR 20100085644 A KR20100085644 A KR 20100085644A KR 20120023296 A KR20120023296 A KR 20120023296A
Authority
KR
South Korea
Prior art keywords
substrate
nozzle
space
discharge line
home port
Prior art date
Legal status (The legal status is an assumption and is not a legal conclusion. Google has not performed a legal analysis and makes no representation as to the accuracy of the status listed.)
Granted
Application number
KR1020100085644A
Other languages
English (en)
Other versions
KR101408788B1 (ko
Inventor
노환익
권오진
Original Assignee
세메스 주식회사
Priority date (The priority date is an assumption and is not a legal conclusion. Google has not performed a legal analysis and makes no representation as to the accuracy of the date listed.)
Filing date
Publication date
Application filed by 세메스 주식회사 filed Critical 세메스 주식회사
Priority to KR1020100085644A priority Critical patent/KR101408788B1/ko
Publication of KR20120023296A publication Critical patent/KR20120023296A/ko
Application granted granted Critical
Publication of KR101408788B1 publication Critical patent/KR101408788B1/ko
Active legal-status Critical Current
Anticipated expiration legal-status Critical

Links

Images

Classifications

    • HELECTRICITY
    • H01ELECTRIC ELEMENTS
    • H01LSEMICONDUCTOR DEVICES NOT COVERED BY CLASS H10
    • H01L21/00Processes or apparatus adapted for the manufacture or treatment of semiconductor or solid state devices or of parts thereof
    • H01L21/67Apparatus specially adapted for handling semiconductor or electric solid state devices during manufacture or treatment thereof; Apparatus specially adapted for handling wafers during manufacture or treatment of semiconductor or electric solid state devices or components ; Apparatus not specifically provided for elsewhere
    • H01L21/67005Apparatus not specifically provided for elsewhere
    • H01L21/67011Apparatus for manufacture or treatment
    • H01L21/67017Apparatus for fluid treatment
    • HELECTRICITY
    • H01ELECTRIC ELEMENTS
    • H01LSEMICONDUCTOR DEVICES NOT COVERED BY CLASS H10
    • H01L21/00Processes or apparatus adapted for the manufacture or treatment of semiconductor or solid state devices or of parts thereof
    • H01L21/67Apparatus specially adapted for handling semiconductor or electric solid state devices during manufacture or treatment thereof; Apparatus specially adapted for handling wafers during manufacture or treatment of semiconductor or electric solid state devices or components ; Apparatus not specifically provided for elsewhere
    • H01L21/67005Apparatus not specifically provided for elsewhere
    • H01L21/67011Apparatus for manufacture or treatment
    • H01L21/67017Apparatus for fluid treatment
    • H01L21/67028Apparatus for fluid treatment for cleaning followed by drying, rinsing, stripping, blasting or the like
    • H01L21/6704Apparatus for fluid treatment for cleaning followed by drying, rinsing, stripping, blasting or the like for wet cleaning or washing
    • H01L21/67051Apparatus for fluid treatment for cleaning followed by drying, rinsing, stripping, blasting or the like for wet cleaning or washing using mainly spraying means, e.g. nozzles

Landscapes

  • Engineering & Computer Science (AREA)
  • Physics & Mathematics (AREA)
  • Condensed Matter Physics & Semiconductors (AREA)
  • General Physics & Mathematics (AREA)
  • Manufacturing & Machinery (AREA)
  • Computer Hardware Design (AREA)
  • Microelectronics & Electronic Packaging (AREA)
  • Power Engineering (AREA)
  • Cleaning Or Drying Semiconductors (AREA)

Abstract

본 발명은 기판처리장치이다. 본 발명의 기판처리장치는 노즐유닛에 복수 개의 노즐을 갖는 구성이다. 공정 후에 대기위치로 이동된 노즐유닛은 복수의 처리액을 홈포트로 토출한다. 복수의 처리액은 토출 시 홈포트 내에서 혼합되어 퓸(Fume)을 일으킨다. 이때 홈포트의 내부공간에 격판을 설치하여 상기 복수의 처리액이 혼합되는 것을 방지할 수 있다.

Description

기판처리장치{APPARATUS FOR TREATING A SUBSTRATE}
본 발명은 기판처리장치에 관한 것으로, 더 상세하게는 기판으로 처리액을 공급하는 기판처리장치에 관한 것이다.
기판 표면에 잔류하는 파티클(Particle), 유기 오염물, 금속 오염물 등의 오염 물질은 반도체 소자의 특성과 생산 수율에 많은 영향을 미친다. 이 때문에 기판 표면에 부착된 각종 오염 물질을 제거하는 세정 공정이 반도체 제조 공정에서 매우 중요하며, 반도체를 제조하는 각 단위 공정의 전후 단계에서 기판을 세정 처리하는 공정이 실시되고 있다. 이러한 이물질을 제거를 위한 공정으로는 탈이온수(Deionize Water) 또는 처리액(Chemical)을 이용한 세정 공정이 있다.
일반적으로 기판을 세정하는 세정공정은 노즐을 통해 기판으로 처리액을 공급한다. 공정 시 노즐은 기판의 상부로 처리액을 공급하고, 대기 시 홈포트로 이동하여 그 내부에 잔류하는 처리액을 홈포트로 토출한다. 홈포트에 수용된 처리액은 배출라인을 통해 홈포트의 외부로 배출된다. 처리액으로 황산과 과산화수소가 혼합된 혼합액 및 탈이온수가 사용되는 경우, 홈포트의 내부에는 많은 량의 퓸(Fume)이 발생된다. 또한 혼합액이 배출라인을 통해 배출되는 동안에도 퓸(Fume)이 발생하여 홈포트의 내부로 재유입된다. 또한 고온으로 배출되는 혼합액은 다른 구조물에 손상을 입힌다.
본 발명은 홈포트로 토출된 처리액에서 퓸(Fume)이 발생하는 것을 최소화하는 기판처리장치를 제공한다.
본 발명은 처리액이 홈포트를 통해 외부로 배출될 시 배출라인에서 발생하는 퓸(Fume)이 홈포트의 내부로 역류되는 것을 최소화하는 기판처리장치를 제공한다.
본 발명은 홈포트를 통해 외부로 배출되는 처리액으로 인해 다른 구조물이 손상되는 것을 최소화하는 기판처리장치를 제공한다.
본 발명이 해결하고자 하는 과제는 여기에 제한되지 않으며, 언급되지 않은 또 다른 과제들은 아래의 기재로부터 당업자에게 명확하게 이해될 수 있을 것이다.
본 발명은 기판처리장치를 제공한다. 본 발명의 기판처리장치에 있어서, 기판을 지지하는 스핀헤드와; 상기 기판으로 제1처리액을 공급하는 제1노즐 및 상기 기판으로 제2처리액을 공급하는 제2노즐을 구비하는 노즐유닛과; 상기 스핀헤드의 일측에 위치하며 상기 제1노즐 및 상기 제2노즐이 대기하는 홈포트를 포함하되; 상기 홈포트는 몸체와; 상기 몸체 내 영역을 상기 제1노즐이 대기하는 제1공간과 상기 제2노즐이 대기하는 제2공간으로 분리시키는 격판과; 상기 제1공간과 통하도록 제공되어 상기 제1처리액을 배출하는 제1배출라인과; 상기 제2공간과 통하도록 제공되어 상기 제2처리액을 배출하는 제2배출라인을 포함한다.
상기 노즐유닛은 구동기와; 상기 구동기의 상부에 결합되는 지지축과;
일단은 지지축과 수직하게 결합되고 타단에 제1노즐과 제2노즐이 결합되는 노즐지지대를 더 포함한다. 상기 홈포트는 상기 몸체의 측면에 연결되며 상기 제1공간을 배기하는 배기라인을 더 포함한다. 상기 홈포트는 상기 제1배출라인 상에 설치되며 역류방지밸브를 더 포함한다. 상기 홈포트는 상기 제1배출라인 상에 설치되며 배출되는 제1처리액을 냉각하는 냉각장치를 더 포함한다. 상기 제1배출라인 및 상기 제2배출라인은 서로 독립되어 상기 제1처리액과 상기 제2처리액을 외부로 배출한다. 상기 제1처리액은 황산과 과산화수소를 포함하는 혼합액이고, 상기 제2처리액은 탈이온수이다.
본 발명은 홈포트로 토출된 처리액에서 퓸(Fume)을 발생하는 것을 최소화한다.
본 발명은 처리액이 홈포트를 통해 외부로 배출될 시 배출라인에서 발생하는 퓸이 역류되는 것을 최소화한다.
본 발명은 처리액이 홈포트를 통해 외부로 배출될 시 그 처리액이 고온의 상태로 배출되는 것을 최소화한다.
도 1은 본 발명의 기판처리설비를 개략적으로 나타낸 평면도이다.
도 2는 도 1의 기판처리장치를 보여주는 단면도이다.
도 3은 도 2의 기판처리장치를 개략적으로 보여주는 평면도이다.
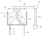
도 4는 도 3의 홈포트를 개략적으로 보여주는 단면도이다.
도 5는 홈포트 내에서 처리액 및 퓸이 이동되는 경로를 간략하게 보여주는 도면이다.
본 발명의 실시예는 여러 가지 형태로 변형될 수 있으며, 본 발명의 범위가 아래에서 서술하는 실시예로 인해 한정되어지는 것으로 해석되어서는 안된다. 본 실시예는 당업계에서 평균적인 지식을 가진 자에게 본 발명을 보다 완전하게 설명하기 위해서 제공되는 것이다. 따라서 도면에서의 구성 요소의 형상 등은 보다 명확한 설명을 강조하기 위해서 과장된 것이다.
본 발명은 도 1 내지 도 5를 참조하여 본 발명의 일 예를 상세히 설명한다.
도 1은 본 발명의 기판처리설비(1)를 개략적으로 나타낸 평면도이다.
도 1을 참조하면, 기판처리설비(1)는 인덱스모듈(10)과 공정처리모듈(20)을 가지고, 인덱스모듈(10)은 로드포트(120) 및 이송프레임(140)을 가진다. 로드포트(120), 이송프레임(140), 그리고 공정처리모듈(20)은 순차적으로 일렬로 배열된다. 이하, 로드포트(120), 이송프레임(140), 그리고 공정처리모듈(20)이 배열된 방향을 제1방향(12)이라 하고, 상부에서 바라볼 때, 제1방향(12)과 수직한 방향을 제2방향(14)이라 하며, 제1방향(12)과 제2방향(14)을 포함한 평면에 수직인 방향을 제3방향(16)이라 칭한다.
로드포트(140)에는 기판(W)이 수납된 캐리어(130)가 안착된다. 로드포트(120)는 복수 개가 제공되며 이들은 제2방향(14)을 따라 일렬로 배치된다. 로드포트(120)의 개수는 공정처리모듈(20)의 공정효율 및 풋 프린트조건 등에 따라 증가하거나 감소할 수도 있다. 캐리어(130)에는 기판(W)들을 지면에 대해 수평하게 배치한 상태로 수납하기 위한 다수의 슬롯(미도시)이 형성된다. 캐리어(130)로는 전면개방일체형포드(Front Opening Unifed Pod;FOUP)가 사용될 수 있다.
공정처리모듈(20)은 버퍼유닛(220), 이송챔버(240), 그리고 공정챔버(260)를 가진다. 이송챔버(240)는 그 길이 방향이 제 1 방향(12)과 평행하게 배치된다. 이송챔버(240)의 양측에는 각각 공정챔버(260)들이 배치된다. 이송챔버(240)의 일측 및 타측에서 공정챔버(260)들은 이송챔버(240)를 기준으로 대칭되도록 제공된다. 이송챔버(240)의 일측에는 복수 개의 공정챔버(260)들이 제공된다. 공정챔버(260)들 중 일부는 이송챔버(240)의 길이 방향을 따라 배치된다. 또한, 공정챔버(260)들 중 일부는 서로 적층되게 배치된다. 즉, 이송챔버(240)의 일측에는 공정챔버(260)들이 A X B의 배열로 배치될 수 있다. 여기서 A는 제1방향(12)을 따라 일렬로 제공된 공정챔버(260)의 수이고, B는 제3방향(16)을 따라 일렬로 제공된 공정챔버(260)의 수이다. 이송챔버(240)의 일측에 공정챔버(260)가 4개 또는 6개 제공되는 경우, 공정챔버(260)들은 2 X 2 또는 3 X 2의 배열로 배치될 수 있다. 공정챔버(260)의 개수는 증가하거나 감소할 수도 있다. 상술한 바와 달리, 공정챔버(260)는 이송챔버(240)의 일측에만 제공될 수 있다. 또한, 상술한 바와 달리, 공정챔버(260)는 이송챔버(240)의 일측 및 양측에 단층으로 제공될 수 있다.
버퍼유닛(220)은 이송프레임(140)과 이송챔버(240) 사이에 배치된다. 버퍼 유닛(220)은 이송챔버(240)와 이송프레임(140) 간에 기판(W)이 반송되기 전에 기판(W)이 머무르는 공간을 제공한다. 버퍼유닛(220)은 그 내부에 기판(W)이 놓이는 슬롯(미도시)이 제공되며, 슬롯(미도시)들은 서로 간에 제3방향(16)을 따라 이격되도록 복수 개가 제공된다. 버퍼유닛(220)은 이송프레임(140)과 마주보는 면 및 이송챔버(240)와 마주보는 면이 개방된다.
이송프레임(140)은 로드포트(120)에 안착된 캐리어(130)와 버퍼유닛(220) 간에 기판(W)을 반송한다. 이송프레임(140)에는 인덱스레일(142)과 인덱스로봇(144)이 제공된다. 인덱스레일(142)은 그 길이 방향이 제2방향(14)과 나란하게 제공된다. 인덱스로봇(144)은 인덱스레일(142) 상에 설치되며, 인덱스레일(142)을 따라 제2방향(14)으로 직선 이동된다. 인덱스로봇(144)은 베이스(144a), 몸체(144b), 그리고 인덱스암(144c)을 가진다. 베이스(144a)는 인덱스레일(142)을 따라 이동 가능하도록 설치된다. 몸체(144b)는 베이스(144a)에 결합된다. 몸체(144b)는 베이스(144a) 상에서 제3방향(16)을 따라 이동 가능하도록 제공된다. 또한, 몸체(144b)는 베이스(144a) 상에서 회전 가능하도록 제공된다. 인덱스암(144c)은 몸체(144b)에 결합되고, 몸체(144b)에 대해 전진 및 후진 이동 가능하도록 제공된다. 인덱스암(144c)은 복수 개 제공되어 각각 개별 구동되도록 제공된다. 인덱스암(144c)들은 제3방향(16)을 따라 서로 이격된 상태로 적층되게 배치된다. 인덱스암(144c)들 중 일부는 공정처리모듈(20)에서 캐리어(130)로 기판(W)을 반송할 때 사용되고, 이의 다른 일부는 캐리어(130)에서 공정처리모듈(20)로 기판(W)을 반송할 때 사용될 수 있다. 이는 인덱스로봇(144)이 기판(W)을 반입 및 반출하는 과정에서 공정 처리 전의 기판(W)으로부터 발생된 파티클이 공정 처리 후의 기판(W)에 부착되는 것을 방지할 수 있다.
이송챔버(240)는 버퍼유닛(220)과 공정챔버(260) 간에, 그리고 공정챔버(260)들 간에 기판(W)을 반송한다. 이송챔버(240)에는 가이드레일(242)과 메인로봇(244)이 제공된다. 가이드레일(242)은 그 길이 방향이 제1방향(12)과 나란하도록 배치된다. 메인로봇(244)은 가이드레일(242) 상에 설치되고, 가이드레일(242) 상에서 제1방향(12)을 따라 직선 이동된다. 메인로봇(244)은 베이스(244a), 몸체(244b), 그리고 메인암(244c)을 가진다. 베이스(244a)는 가이드레일(242)을 따라 이동 가능하도록 설치된다. 몸체(244b)는 베이스(244a)에 결합된다. 몸체(244b)는 베이스(244a) 상에서 제3방향(16)을 따라 이동 가능하도록 제공된다. 또한, 몸체(244b)는 베이스(244a) 상에서 회전 가능하도록 제공된다. 메인암(244c)은 몸체(244b)에 결합되고, 이는 몸체(244b)에 대해 전진 및 후진 이동 가능하도록 제공된다. 메인암(244c)은 복수 개 제공되어 각각 개별 구동되도록 제공된다. 메인암(244c)들은 제3방향(16)을 따라 서로 이격된 상태로 적층되게 배치된다.
공정챔버(260) 내에는 기판(W)에 대해 세정 공정을 수행하는 기판처리장치(300)가 제공된다. 기판처리장치(300)는 수행하는 세정 공정의 종류에 따라 상이한 구조를 가질 수 있다. 이와 달리 각각의 공정챔버(260) 내의 기판 처리 장치(300)는 동일한 구조를 가질 수 있다. 선택적으로 공정챔버(260)들은 복수 개의 그룹으로 구분되어, 동일한 그룹에 속하는 공정챔버(260) 내에 기판처리장치(300)들은 서로 동일하고, 서로 상이한 그룹에 속하는 공정챔버(260) 내에 기판처리장치(300)의 구조는 서로 상이하게 제공될 수 있다. 예컨대, 공정챔버(260)가 2개의 그룹으로 나누어지는 경우, 이송챔버(240)의 일측에는 제 1 그룹의 공정챔버(260)들이 제공되고, 이송챔버(240)의 타측에는 제 2 그룹의 공정 챔버(260)들이 제공될 수 있다. 선택적으로 이송챔버(240)의 양측에서 하층에는 제 1 그룹의 공정챔버(260)들이 제공되고, 상층에는 제 2 그룹의 공정챔버(260)들이 제공될 수 있다. 제 1 그룹의 공정챔버(260)와 제 2 그룹의 공정챔버(260)는 각각 사용되는 케미컬의 종류나, 세정 방식의 종류에 따라 구분될 수 있다. 이와 달리, 제 1 그룹의 공정챔버(260)와 제 2 그룹의 공정챔버(260)는 하나의 기판(W)에 대해 순차적으로 공정을 수행하도록 제공될 수 있다. 예컨대, 기판(W)은 제 1 그룹의 공정챔버(260)에서 케미컬처리공정 또는 린스공정이 수행되고, 제 2 그룹의 공정챔버(260)에서 린스공정 또는 건조공정이 수행될 수 있다.
도 2는 도 1의 기판처리장치(300)를 보여주는 단면도이고, 도 3은 도 2의 기판처리장치(300)를 개략적으로 보여주는 평면도이다. 도 2 및 도 3을 참조하면, 기판처리장치(300)는 하우징(320), 스핀헤드(340), 승강유닛(360), 노즐유닛(380), 그리고 홈포트(400)를 가진다. 하우징(320)은 기판처리공정이 수행되는 공간을 가지며, 그 상부는 개방된다. 하우징(320)은 내부회수통(322)과 외부회수통(326)을 가진다. 각각의 회수통(322,326)은 공정에 사용된 처리액 중 서로 상이한 처리액을 회수한다. 내부회수통(322)은 스핀헤드(340)를 감싸는 환형의 링 형상으로 제공되고, 외부회수통(326)은 내부회수통(322)을 감싸는 환형의 링 형상으로 제공된다. 내부회수통(322)의 내측공간(322a) 및 내부회수통(322)과 외부회수통(326)의 사이공간(326a)은 각각 내부회수통(322)과 외부회수통(326)으로 처리액이 유입되는 유입구로서 기능한다. 각각의 회수통(322,326)에는 그 저면 아래 방향으로 수직하게 연장되는 회수라인(322b,326b)이 연결된다. 각각의 회수라인(322b,326b)은 각각의 회수통(322,326)을 통해 유입된 처리액을 배출한다. 배출된 처리액은 외부의 처리액 재생시스템(미도시)을 통해 재사용될 수 있다.
스핀헤드(340)는 공정 진행 중 기판(W)을 지지하고 기판(W)을 회전시킨다. 스핀헤드(340)는 몸체(342), 지지핀(344), 척핀(346), 그리고 지지축(348)을 가진다. 몸체(342)는 상부에서 바라볼 때 대체로 원형으로 제공되는 상부면을 가진다. 몸체(342)의 저면에는 모터(349)에 의해 회전가능한 지지축(348)이 고정결합된다.
지지핀(344)은 복수 개 제공된다. 지지핀(344)은 몸체(342)의 상부면의 가장자리부에 소정 간격으로 이격되게 배치되고 몸체(342)에서 상부로 돌출된다. 지지 핀(344)들은 서로 간에 조합에 의해 전체적으로 환형의 링 형상을 가지도록 배치된다. 지지핀(344)은 몸체(342)의 상부면으로부터 기판(W)이 일정거리 이격되도록 기판(W)의 후면 가장자리를 지지한다.
척핀(346)은 복수 개 제공된다. 척핀(346)은 몸체(342)의 중심에서 지지핀(344)보다 멀리 떨어지게 배치된다. 척핀(346)은 몸체(342)에서 상부로 돌출되도록 제공된다. 척핀(346)은 스핀헤드(340)가 회전될 때 기판(W)이 정 위치에서 측 방향으로 이탈되지 않도록 기판(W)의 측부를 지지한다. 척핀(346)은 몸체(342)의 반경 방향을 따라 대기위치와 지지위치 간에 직선 이동이 가능하도록 제공된다. 대기위치는 지지위치에 비해 몸체(342)의 중심으로부터 멀리 떨어진 위치이다. 기판(W)이 스핀헤드(340)에 로딩 또는 언로딩 시 척핀(346)은 대기위치에 위치되고, 기판(W)에 대해 공정 수행 시 척 핀(346)은 지지위치에 위치된다. 지지위치에서 척핀(346)은 기판(W)의 측부와 접촉된다.
승강유닛(360)은 하우징(320)을 상하방향으로 직선이동시킨다. 하우징(320)이 상하로 이동됨에 따라 스핀헤드(340)에 대한 하우징(320)의 상대 높이가 변경된다. 승강유닛(360)은 브라켓(362), 이동축(364), 그리고 구동기(366)를 가진다. 브라켓(362)은 하우징(320)의 외벽에 고정설치되고, 브라켓(362)에는 구동기(366)에 의해 상하방향으로 이동되는 이동축(364)이 고정결합된다. 기판(W)이 스핀헤드(340)에 놓이거나, 스핀헤드(340)로부터 들어올려 질 때 스핀헤드(340)가 하우징(320)의 상부로 돌출되도록 하우징(320)은 하강된다. 또한, 공정이 진행될 시에는 기판(W)에 공급된 처리액의 종류에 따라 처리액이 기설정된 회수통(360)으로 유입될 수 있도록 하우징(320)의 높이가 조절한다. 선택적으로, 승강유닛(360)은 스핀헤드(340)를 상하 방향으로 이동시킬 수 있다.
노즐유닛(380)은 기판처리공정 시 기판(W)으로 처리액을 공급한다. 노즐유닛(380)은 제1노즐(390a), 제2노즐(390b), 노즐지지대(382), 지지축(386), 그리고 구동기(388)를 가진다.
제1노즐(390a)은 공정위치(a)에서 기판(W)으로 제1처리액과 제2처리액이 혼합된 혼합액을 공급하고, 대기위치(b)에서 후술할 홈포트(400)로 제1처리액과 제2처리액이 혼합된 혼합액을 토출한다. 예컨대 제1처리액은 황산이고, 제2처리액은 과산화수소일 수 있다.
제2노즐(390b)은 공정위치(a)에서 기판(W)으로 탈이온수를 공급하고, 제2노즐(390b)은 대기위치(b)에서 홈포트(400)로 탈이온수를 토출한다.
노즐지지대(382)는 로드형상으로 제공된다. 노즐지지대(382)의 일단 저면에는 제1노즐(390a) 및 제2노즐(390b)이 나란하게 결합된다.
지지축(386)은 로드형상으로 제공된다. 지지축(386)의 길이방향은 상하방향을 따라 제공된다. 지지축(386)의 상단은 노즐지지대(382)의 타단과 수직하게 결합된다.
구동기(388)는 지지축(386)의 하단에 결합된다. 구동기(388)는 지지축(386)을 자기중심축으로 회전 및 승강운동할 수 있다. 이로 인해 노즐지지대(382)는 제1노즐(390a) 및 제2노즐(390b)을 대기위치(b)와 공정위치(a)로 이동시킬 수 있다.
도 4는 도 3의 홈포트(400)를 개략적으로 보여주는 단면도이다. 도 4를 참조하면, 홈포트(400)는 몸체(450), 격판(455), 제1배출라인(410), 역류방지밸브(411), 냉각장치(412), 배기라인(430), 그리고 제2배출라인(420)을 가진다.
몸체(450)는 하우징(320)의 일측에 위치된다. 몸체(450)는 처리액을 수용할 수 있는 공간을 가지고, 그 상부는 개방되도록 제공된다.
격판(455)은 판의 형상으로 제공된다. 격판(455)은 몸체(450) 내에 공간을 제1공간(451)과 제2공간(452)으로 분리한다. 제1공간(451)에는 제1노즐(390a)로부터 토출된 혼합액이 수용되고, 제2공간(452)에는 제2노즐(390b)로부터 토출된 탈이온수가 수용된다.
제1배출라인(410)은 제1공간(451)과 통하도록 몸체(450)의 하부에 연결된다. 제1배출라인(410)은 몸체(450) 내 제1공간(451)에 수용되는 혼합액을 외부로 배출한다.
역류방지밸브(411)는 제1공간(451)으로 제2공간(452)이 역류하는 것을 방지한다. 혼합액은 제1배출라인(410)을 통해 배출되는 동안 퓸(Fume)이 발생된다. 제1배출라인(410) 내에 발생된 퓸(Fume)은 제1배출라인(410)의 상부에 제공된 제1공간(451)으로 역류한다. 역류방지밸브(411)는 제1배출라인(410) 상에 설치된다. 역류방지밸브(411)는 제1노즐(390a) 및 제2노즐(390b)이 공정위치(a)에 위치되면 닫히고, 제1노즐(390a) 및 제2노즐(390b)이 대기위치(b)에 위치되면 열릴 수 있다.
냉각장치(412)는 제1배출라인(410) 상에 설치되고, 상술한 역류방지밸브(411)보다 몸체(450)에서 더 멀리 떨어진 곳에 위치된다. 제1노즐(390a)에서 토출되어 외부로 배출되는 혼합액은 고온의 상태로 배출된다. 고온의 혼합액은 배출되는 중 다른 구조물에 손상을 입힐 수 있다. 이를 방지하기 위해 냉각장치(412)는 고온의 혼합액을 냉각한다.
배기라인(430)은 제1공간(451)과 통하도록 몸체(450)의 상부 측면에 연결된다. 배기라인(430)은 몸체(450) 내 제1공간(451)에서 발생되는 퓸(Fume) 및 제1배출라인(410)에서 발생되어 역류되는 퓸(Fume)을 배출한다.
제2배출라인(420)은 제2공간(452)과 통하도록 몸체(450)의 하부에 연결된다. 제2배출라인(420)은 몸체(450) 내 제2공간(452)에 수용되는 탈이온수를 외부로 배출한다.
도 5는 홈포트(400) 내에서 처리액 및 퓸(Fume)이 이동되는 경로를 간략하게 보여주는 도면이다. 도 5에서 실선은 제1처리액과 제2처리액이 혼합된 혼합액 및 탈이온수이고, 점선은 혼합액에서 발생된 퓸(Fume)이다. 혼합액은 제1노즐(390a)로부터 토출되어 제1공간(451)으로 수용된다. 제1공간(451)에 수용된 혼합액은 제1배출라인(410)을 통해 배출되고, 제1공간(451)에서 발생된 퓸(Fume)은 배기라인(430)을 통해 배출된다. 제1배출라인(410)을 통해 배출되는 동안 혼합액에서 퓸(Fume)이 발생한다. 제1배출라인(410) 내에서 발생된 퓸(Fume)은 제1공간(451)으로 역류하나, 배기라인(430)에 의해 배출된다. 냉각장치(412)는 배출되는 혼합액을 냉각한다. 탈이온수는 제2노즐(390b)로부터 토출되어 제2공간(452)으로 수용된다. 제2공간(452)에 수용된 탈이온수는 제2배출라인(420)을 통해 배출된다.
본 발명의 홈포트(400)는 처리액들을 분리배출한다. 제1노즐(390a)에 잔류된 황산과 과산화수소의 혼합액과 탈이온수의 혼합으로 인해 더 많은 양의 퓸(Fume)이 발생되는 것을 줄일 수 있다.
상술한 바와 같은 구성을 가지는 기판처리장치(300)를 이용하여 기판(W)을 세정하는 과정은 다음과 같다.
공정처리 전의 기판(W)은 풉(FOUP)에 수납되고 풉(FOUP)은 로드포트(120)에 안착된다. 인덱스로봇(144)은 풉(FOUP)에 적재된 기판(W)을 버퍼부(220)로 이송한다. 메인이송로봇(244)은 버퍼부(220)에 적재된 기판(W)을 공정챔버(260)로 이송한다. 공정챔버(260)에 기판(W)은 로딩되고 하우징(320)은 내부회수통(322)의 유입구(322a)가 기판(W)에 대응되도록 높이를 조절한다. 기판(W)을 지지하는 스핀헤드(340)는 자기중심축으로 회전되고 이에 따라 기판(W)은 회전된다. 노즐유닛(380)은 대기위치(b)에서 공정위치(a)로 이동된다. 제1노즐(390a)은 황산(H2SO4) 및 과산화수소(H2O2)의 혼합액을 기판(W)으로 공급하고, 제2노즐(390b)은 탈이온수를 기판(W)으로 공급한다. 공정위치(a)에서 기판(W) 세정이 끝나면 스핀헤드(340)은 회전이 중지되고, 노즐유닛(380)은 공정위치(a)에서 대기위치(b)로 이동된다. 제1노즐(390a)은 몸체(450)의 제1공간(451)과 대응되게 위치되고, 제2노즐(390b)은 몸체(450)의 제2공간(452)과 대응되게 위치된다. 구동기(388)는 제1노즐(390a)의 토출단과 제2노즐(390b)의 토출단 사이에 격판(455)의 일부가 위치되도록 노즐유닛(380)을 하강할 수 있다. 제1노즐(390a)은 몸체(450)의 제1공간(451)으로 황산과 과산화수소의 혼합액을 토출하고, 제2노즐(390b)은 몸체(450)의 제2공간(452)으로 탈이온수를 토출한다. 하우징(320)은 외부회수통(326)의 유입구(326a)가 기판(W)에 대응되도록 높이를 조절한다. 다시 스핀헤드(340)는 회전되고 이에 따라 기판(W)도 회전된다. 이때 상술한 노즐유닛(380)은 대기위치(b)에서 대기되고 이와 다른 노즐유닛(미도시)이 공정위치(a)로 이동되어 상술한 처리액과는 상이한 처리액을 기판(W)으로 토출한다. 이후, 기판(W)은 건조되고, 스핀헤드(340)로부터 언로딩된다. 공정처리 후의 기판(W)은 메인이송로봇(244)에 의해 버퍼부(220)로 이송된다. 인덱스로봇(144)은 버퍼부(220)에 적재된 기판(W)을 풉(FOUP)으로 이송한다.
1 : 기판처리설비 10 : 인덱스모듈
20 : 공정처리모듈 260 :공정챔버
300 : 기판처리장치 320 : 하우징
390a : 제1노즐 390b: 제2노즐
400 : 홈포트 410 : 제1배출라인
420 : 제2배출라인 450 : 몸체
455 : 격판

Claims (2)

  1. 기판처리장치에 있어서,
    기판을 지지하는 스핀헤드와;
    상기 기판으로 제1처리액을 공급하는 제1노즐 및 상기 기판으로 제2처리액을 공급하는 제2노즐을 구비하는 노즐유닛과;
    상기 스핀헤드의 일측에 위치하며 상기 제1노즐 및 상기 제2노즐이 대기하는 홈포트를 포함하되;
    상기 홈포트는
    몸체와;
    상기 몸체 내 영역을 상기 제1노즐이 대기하는 제1공간과 상기 제2노즐이 대기하는 제2공간으로 분리시키는 격판과;
    상기 제1공간과 통하도록 제공되어 상기 제1처리액을 배출하는 제1배출라인과;
    상기 제2공간과 통하도록 제공되어 상기 제2처리액을 배출하는 제2배출라인을 포함하는 것을 특징으로 하는 기판처리장치.
  2. 제1항에 있어서,
    상기 홈포트는
    상기 몸체의 측면에 연결되며 상기 제1공간을 배기하는 배기라인과;
    상기 제1배출라인 상에 설치되며 역류방지밸브를 더 포함하는 것을 특징으로 하는 기판처리장치.
KR1020100085644A 2010-09-01 2010-09-01 기판처리장치 Active KR101408788B1 (ko)

Priority Applications (1)

Application Number Priority Date Filing Date Title
KR1020100085644A KR101408788B1 (ko) 2010-09-01 2010-09-01 기판처리장치

Applications Claiming Priority (1)

Application Number Priority Date Filing Date Title
KR1020100085644A KR101408788B1 (ko) 2010-09-01 2010-09-01 기판처리장치

Publications (2)

Publication Number Publication Date
KR20120023296A true KR20120023296A (ko) 2012-03-13
KR101408788B1 KR101408788B1 (ko) 2014-06-17

Family

ID=46130809

Family Applications (1)

Application Number Title Priority Date Filing Date
KR1020100085644A Active KR101408788B1 (ko) 2010-09-01 2010-09-01 기판처리장치

Country Status (1)

Country Link
KR (1) KR101408788B1 (ko)

Cited By (5)

* Cited by examiner, † Cited by third party
Publication number Priority date Publication date Assignee Title
KR20150078609A (ko) * 2013-12-31 2015-07-08 세메스 주식회사 기판처리장치
KR20150136220A (ko) * 2014-05-26 2015-12-07 세메스 주식회사 기판처리장치 및 방법
KR20150137222A (ko) * 2014-05-28 2015-12-09 세메스 주식회사 기판 처리 장치
US10825699B2 (en) 2017-12-20 2020-11-03 Semes Co., Ltd. Standby port and substrate processing apparatus having the same
US11004702B2 (en) 2015-11-10 2021-05-11 SCREEN Holdings Co., Ltd. Film processing unit and substrate processing apparatus

Family Cites Families (4)

* Cited by examiner, † Cited by third party
Publication number Priority date Publication date Assignee Title
JPH06120132A (ja) * 1992-10-02 1994-04-28 Tokyo Electron Ltd レジスト塗布装置
JP3317855B2 (ja) * 1996-09-02 2002-08-26 東京エレクトロン株式会社 洗浄装置
JP2007258462A (ja) * 2006-03-23 2007-10-04 Dainippon Screen Mfg Co Ltd 基板処理装置および基板処理方法
KR100941075B1 (ko) * 2007-12-27 2010-02-09 세메스 주식회사 처리액 공급 유닛과, 이를 이용한 기판 처리 장치 및 방법

Cited By (6)

* Cited by examiner, † Cited by third party
Publication number Priority date Publication date Assignee Title
KR20150078609A (ko) * 2013-12-31 2015-07-08 세메스 주식회사 기판처리장치
KR20150136220A (ko) * 2014-05-26 2015-12-07 세메스 주식회사 기판처리장치 및 방법
KR20150137222A (ko) * 2014-05-28 2015-12-09 세메스 주식회사 기판 처리 장치
US11004702B2 (en) 2015-11-10 2021-05-11 SCREEN Holdings Co., Ltd. Film processing unit and substrate processing apparatus
US12119242B2 (en) 2015-11-10 2024-10-15 SCREEN Holdings Co., Ltd. Film processing method
US10825699B2 (en) 2017-12-20 2020-11-03 Semes Co., Ltd. Standby port and substrate processing apparatus having the same

Also Published As

Publication number Publication date
KR101408788B1 (ko) 2014-06-17

Similar Documents

Publication Publication Date Title
KR101570168B1 (ko) 기판 처리 장치
KR101329319B1 (ko) 노즐 및 이를 갖는 기판처리장치
KR101491055B1 (ko) 액 공급 유닛, 기판 처리 장치, 그리고 기판 처리 장치를 이용한 기판 처리 방법
KR101408788B1 (ko) 기판처리장치
KR101344930B1 (ko) 기판처리장치
KR102240924B1 (ko) 기판 처리 장치 및 회전 어셈블리
KR20130015638A (ko) 기판처리장치
KR20140112299A (ko) 기판처리장치
KR20130052997A (ko) 버퍼
KR20200078791A (ko) 기판 처리 장치, 그리고 노즐 세정 방법
KR101591960B1 (ko) 기판 처리 장치
KR20160005461A (ko) 기판 처리 장치 및 기판 처리 방법
KR101757811B1 (ko) 기판 세정 방법
KR101570161B1 (ko) 기판 처리 장치
KR20170046490A (ko) 기판 처리 장치 및 방법
KR20130015610A (ko) 기판 처리 장치
KR101979602B1 (ko) 기판 처리 장치 및 방법
US20250187044A1 (en) Apparatus for treating substrate
KR102193031B1 (ko) 기판처리장치 및 방법
KR102347973B1 (ko) 기판 처리 장치 및 기판 처리 방법
KR102331356B1 (ko) 기판 처리 장치, 그리고 노즐 세정 방법
KR102666204B1 (ko) 기판 처리 장치 및 기판 처리 방법
KR100885242B1 (ko) 기판 처리 장치, 및 이를 이용한 기판 처리 방법
KR20130019543A (ko) 기판처리장치
KR101885565B1 (ko) 기판 처리 장치 및 방법

Legal Events

Date Code Title Description
PA0109 Patent application

Patent event code: PA01091R01D

Comment text: Patent Application

Patent event date: 20100901

PG1501 Laying open of application
A201 Request for examination
PA0201 Request for examination

Patent event code: PA02012R01D

Patent event date: 20120629

Comment text: Request for Examination of Application

Patent event code: PA02011R01I

Patent event date: 20100901

Comment text: Patent Application

E902 Notification of reason for refusal
PE0902 Notice of grounds for rejection

Comment text: Notification of reason for refusal

Patent event date: 20130722

Patent event code: PE09021S01D

E90F Notification of reason for final refusal
PE0902 Notice of grounds for rejection

Comment text: Final Notice of Reason for Refusal

Patent event date: 20140319

Patent event code: PE09021S02D

E701 Decision to grant or registration of patent right
PE0701 Decision of registration

Patent event code: PE07011S01D

Comment text: Decision to Grant Registration

Patent event date: 20140528

GRNT Written decision to grant
PR0701 Registration of establishment

Comment text: Registration of Establishment

Patent event date: 20140611

Patent event code: PR07011E01D

PR1002 Payment of registration fee

Payment date: 20140612

End annual number: 3

Start annual number: 1

PG1601 Publication of registration
FPAY Annual fee payment

Payment date: 20180612

Year of fee payment: 5

PR1001 Payment of annual fee

Payment date: 20180612

Start annual number: 5

End annual number: 5

PR1001 Payment of annual fee

Payment date: 20200603

Start annual number: 7

End annual number: 7

PR1001 Payment of annual fee

Payment date: 20210325

Start annual number: 8

End annual number: 8

PR1001 Payment of annual fee

Payment date: 20220525

Start annual number: 9

End annual number: 9