KR20120011383A - 견인차량용 차량 승강장치 - Google Patents
견인차량용 차량 승강장치 Download PDFInfo
- Publication number
- KR20120011383A KR20120011383A KR1020100073119A KR20100073119A KR20120011383A KR 20120011383 A KR20120011383 A KR 20120011383A KR 1020100073119 A KR1020100073119 A KR 1020100073119A KR 20100073119 A KR20100073119 A KR 20100073119A KR 20120011383 A KR20120011383 A KR 20120011383A
- Authority
- KR
- South Korea
- Prior art keywords
- vehicle
- fork
- loading
- tow
- towing
- Prior art date
- Legal status (The legal status is an assumption and is not a legal conclusion. Google has not performed a legal analysis and makes no representation as to the accuracy of the status listed.)
- Abandoned
Links
- RYGMFSIKBFXOCR-UHFFFAOYSA-N Copper Chemical compound [Cu] RYGMFSIKBFXOCR-UHFFFAOYSA-N 0.000 claims abstract description 16
- 229910052802 copper Inorganic materials 0.000 claims abstract description 16
- 239000010949 copper Substances 0.000 claims abstract description 16
- 238000000034 method Methods 0.000 claims description 15
- 230000003028 elevating effect Effects 0.000 description 3
- 206010039203 Road traffic accident Diseases 0.000 description 1
- 230000000694 effects Effects 0.000 description 1
- 230000013011 mating Effects 0.000 description 1
- 230000003014 reinforcing effect Effects 0.000 description 1
Images
Classifications
-
- B—PERFORMING OPERATIONS; TRANSPORTING
- B60—VEHICLES IN GENERAL
- B60P—VEHICLES ADAPTED FOR LOAD TRANSPORTATION OR TO TRANSPORT, TO CARRY, OR TO COMPRISE SPECIAL LOADS OR OBJECTS
- B60P1/00—Vehicles predominantly for transporting loads and modified to facilitate loading, consolidating the load, or unloading
- B60P1/02—Vehicles predominantly for transporting loads and modified to facilitate loading, consolidating the load, or unloading with parallel up-and-down movement of load supporting or containing element
-
- B—PERFORMING OPERATIONS; TRANSPORTING
- B60—VEHICLES IN GENERAL
- B60P—VEHICLES ADAPTED FOR LOAD TRANSPORTATION OR TO TRANSPORT, TO CARRY, OR TO COMPRISE SPECIAL LOADS OR OBJECTS
- B60P1/00—Vehicles predominantly for transporting loads and modified to facilitate loading, consolidating the load, or unloading
- B60P1/04—Vehicles predominantly for transporting loads and modified to facilitate loading, consolidating the load, or unloading with a tipping movement of load-transporting element
- B60P1/16—Vehicles predominantly for transporting loads and modified to facilitate loading, consolidating the load, or unloading with a tipping movement of load-transporting element actuated by fluid-operated mechanisms
-
- B—PERFORMING OPERATIONS; TRANSPORTING
- B60—VEHICLES IN GENERAL
- B60P—VEHICLES ADAPTED FOR LOAD TRANSPORTATION OR TO TRANSPORT, TO CARRY, OR TO COMPRISE SPECIAL LOADS OR OBJECTS
- B60P1/00—Vehicles predominantly for transporting loads and modified to facilitate loading, consolidating the load, or unloading
- B60P1/52—Vehicles predominantly for transporting loads and modified to facilitate loading, consolidating the load, or unloading using rollers in the load-transporting element
-
- B—PERFORMING OPERATIONS; TRANSPORTING
- B60—VEHICLES IN GENERAL
- B60P—VEHICLES ADAPTED FOR LOAD TRANSPORTATION OR TO TRANSPORT, TO CARRY, OR TO COMPRISE SPECIAL LOADS OR OBJECTS
- B60P3/00—Vehicles adapted to transport, to carry or to comprise special loads or objects
- B60P3/12—Vehicles adapted to transport, to carry or to comprise special loads or objects for salvaging damaged vehicles
- B60P3/122—Vehicles adapted to transport, to carry or to comprise special loads or objects for salvaging damaged vehicles by supporting the whole vehicle
-
- B—PERFORMING OPERATIONS; TRANSPORTING
- B60—VEHICLES IN GENERAL
- B60Y—INDEXING SCHEME RELATING TO ASPECTS CROSS-CUTTING VEHICLE TECHNOLOGY
- B60Y2300/00—Purposes or special features of road vehicle drive control systems
- B60Y2300/28—Purposes or special features of road vehicle drive control systems related to towing or towed situations
-
- F—MECHANICAL ENGINEERING; LIGHTING; HEATING; WEAPONS; BLASTING
- F16—ENGINEERING ELEMENTS AND UNITS; GENERAL MEASURES FOR PRODUCING AND MAINTAINING EFFECTIVE FUNCTIONING OF MACHINES OR INSTALLATIONS; THERMAL INSULATION IN GENERAL
- F16H—GEARING
- F16H19/00—Gearings comprising essentially only toothed gears or friction members and not capable of conveying indefinitely-continuing rotary motion
- F16H19/02—Gearings comprising essentially only toothed gears or friction members and not capable of conveying indefinitely-continuing rotary motion for interconverting rotary or oscillating motion and reciprocating motion
- F16H19/04—Gearings comprising essentially only toothed gears or friction members and not capable of conveying indefinitely-continuing rotary motion for interconverting rotary or oscillating motion and reciprocating motion comprising a rack
Landscapes
- Engineering & Computer Science (AREA)
- Transportation (AREA)
- Mechanical Engineering (AREA)
- Health & Medical Sciences (AREA)
- Public Health (AREA)
- Loading Or Unloading Of Vehicles (AREA)
Abstract
본 발명은 견인차량용 차량 승강장치에 관한 것으로서, 종래의 슬라이딩 구동형 적재판이나 이를 구동하기 위한 슬라이딩 및 각도 조절 장치, 체인이나 체인 구동수단 등을 대신하는 간단한 구성으로 피견인차량을 적재할 수 있으므로 전체적인 장치 구성을 간단하게 할 수 있는 견인차량용 차량 적재장치를 제공하는데 그 목적이 있는 것이다. 상기한 목적을 달성하기 위하여, 적재용 사이드 차량의 적재대 위에 설치된 측방이동프레임과; 상기 측방이동프레임의 앞뒤 내측면에 상하방향으로 이동가능하게 장착된 상하이동패널과; 상기 측방이동프레임의 상단에 장착되어, 상기 상하이동패널을 승강시키는 승강용 유압실린더와; 상기 상하이동패널의 하부에 장착되고, 피견인차량의 차체 하측으로 넣어져 상하 이동시 피견인차량을 적재한 상태로 승강시키는 이송포크;를 포함하여 구성되는 것을 특징으로 하는 견인차량용 차량 승강장치가 개시된다.
Description
본 발명은 견인차량용 차량 승강장치에 관한 것으로서, 더욱 상세하게는 견인차량에 피견인차량을 안전하게 적재할 수 있는 견인차량용 차량 승강장치에 관한 것이다.
일반적으로 차량에 고장이 발생하였거나 교통사고 등으로 인해 차량이 파손된 경우 목적지까지 정상적인 운행이 불가능하므로 불가피하게 다른 차량을 이용하여 고장 또는 파손 차량을 운반해야 한다.
이와 같은 비상 상황에서 고장 또는 파손 차량을 이동시키는데 사용하는 차량이 견인차량이며, 견인차량에는 차량(피견인차량)을 견인 가능한 상태로 연결하거나 적재하기 위한 특수 장비들이 탑재된다.
특히 피견인차량을 보다 안전하고 신속하게 연결하거나 적재하고 운반하여야 하므로 견인차량의 특수 장비들은 견인력 및 강성, 작업성 및 안전성 등의 여러 측면을 고려하여 다양한 형태로 개발되어 왔다.
더욱이 차량을 연결하거나 적재, 운반하는 도중 피견인차량의 추가적인 손상이 발생하게 되면 견인자가 차량 훼손에 대해 책임을 갖게 되므로, 견인차량의 특수 장비들은 차량 훼손을 발생시키지 않도록 구성되어야 한다.
견인 방식으로는 피견인차량의 구동륜을 들어서 견인하는 방식이 주로 이용되고 있으나, 이는 차량과 차량 간 신속한 연결은 가능하지만 피견인차량을 지면에서 구르도록 해야 하므로 빠른 속도로 이동시키기가 어렵고, 차량의 추가적인 훼손 위험을 가지고 있다.
이에 반해 또 다른 방식의 견인차량인 세이프티로더는 피견인차량 전체를 적재판에 실어서 운반하는 것으로서, 피견인차량이 지면상에서 직접 구르지 않으므로 추가적인 훼손을 방지하면서 보다 빠르고 안전하게 피견인차량을 이동시킬 수 있다.
통상의 세이프티로더에서는, 적재판이 후방으로 슬라이딩되면서 각도 조절되어 후단이 지면에 닿도록 경사지게 위치되면, 피견인차량이 적재판 위로 이동되고 난 상태로 적재판을 차대 프레임 위의 원래 위치로 전방 슬라이딩시켜, 피견인차량 전체를 차대 프레임 위에 싣게 되며, 피견인차량을 차대 프레임 위 적재판에 적재한 상태로 원하는 장소까지 운반하게 된다.
그러나 상기와 같은 세이프티로더에서는 피견인차량을 소정 높이의 차대 프레임 위에 싣기 위해서 피견인차량을 지면과 차대 프레임 사이에서 이동시킬 수 있는 적재판이 필요하고, 특히 피견인차량의 이동을 위해서 적재판을 슬라이딩 및 각도 조절시키는 수단이 구비되어야 한다.
즉 적재판을 차대 프레임에서 후방으로 슬라이딩시키고 적재판의 후단이 지면에 닿을 수 있도록 적재판의 각도를 조절하는 복잡한 장비를 구비해야 하는 것이고, 필요에 따라서 적재판의 후단부를 지면에 닿을 수 있도록 추가로 슬라이딩시키는 장치가 필요하다.
또한 세이프티로더의 차대 프레임에서 적재판이 후방으로 이동하여 적재판의 후단이 지면에 근접될 때 적재판의 전단부는 차대 프레임의 후단부에 위치하므로 적재판이 큰 경사각으로 경사면을 이루게 되는 바, 지면과 적재판 사이의 각도가 클 수밖에 없다.
따라서 피견인차량을 적재판에 적차할 때와 적재된 피견인차량을 노면으로 하차할 때 피견인차량의 범퍼와 저부가 적재판에 접촉될 수 있고. 특히 근래에는 안정감을 높일 수 있도록 고급차량의 차고가 낮아지는 추세이기 때문에 적재판과의 접촉이 빈번히 발생하게 된다.
이러한 이유에 기인하여 고급차량을 견인할 때 특히 주의를 기울여야 하고, 잘못하면 피견인차량이 파손될 수 있다.
그리고 적재판을 차대 프레임과 지면 사이에서 유압장치가 아닌 체인을 이용하여 슬라이딩시키는 방식의 경우, 체인의 특성상 시간이 경과함에 따라 텐션이 작아질 수밖에 없으므로 적재판이 정상적으로 구동하지 못하고 피견인차량의 파손 및 대형사고를 유발하는 문제점도 있다.
또한 세이프티로더의 차대 프레임에 적재된 피견인차량을 하차하기 위해서 피견인차량과 적재판이 정지상태이기 때문에 이동 중인 적재판을 구동할 때보다 큰 구동력이 필요하고, 적재판에 적재된 피견인차량을 차대 프레임 위로 올릴 때에도 큰 구동력을 필요로 하지만, 체인방식은 큰 구동력을 발생할 수 없기 때문에 피견인차량의 적재와 하차가 어렵거나 무리하게 큰 구동력의 구동장치를 사용해야 하는 문제점이 있다.
아울러 종래의 세이프티로더는 피견인차량을 후방에서 전방으로 종방향 이동시켜 적재하는 방식을 채용함으로써, 세이프티로더를 피견인차량의 전방에 위치시켜야 하고, 따라서 피견인차량의 전방으로 충분한 공간을 확보하고 있어야 한다.
따라서, 본 발명은 상기와 같은 문제점을 해결하기 위하여 발명한 것으로서, 적재를 위한 공간 확보가 용이하고, 종래의 슬라이딩 구동형 적재판이나 이를 구동하기 위한 슬라이딩 및 각도 조절 장치, 체인이나 체인 구동수단 등을 대신하는 간단한 구성으로 피견인차량을 적재할 수 있으므로 전체적인 장치 구성을 간단하게 할 수 있는 견인차량용 차량 승강장치를 제공하는데 그 목적이 있다.
또한 본 발명은 경사지게 슬라이딩 구동되는 적재판의 사용으로 인한 종래의 문제점, 즉 피견인차량을 적재판에 적재할 때와 적재된 피견인차량을 노면으로 하차할 때 피견인차량과 적재판이 접촉되고 그로 인한 차량이 손상될 수 있는 문제점, 그리고 종래의 체인 구동방식이 가지는 체인 구동력의 문제점이 해소될 수 있는 견인차량용 차량 승강장치를 제공하는데 그 목적이 있다.
상기한 목적을 달성하기 위하여, 본 발명은,
적재용 사이드 차량의 적재대 위에 설치된 측방이동프레임과;
상기 측방이동프레임의 앞뒤 내측면에 상하방향으로 이동가능하게 장착된 상하이동패널과;
상기 측방이동프레임의 상단에 장착되어, 상기 상하이동패널을 승강시키는 승강용 유압실린더와;
상기 상하이동패널의 하부에 장착되고, 피견인차량의 차체 하측으로 넣어져 상하 이동시 피견인차량을 적재한 상태로 승강시키는 이송포크;
를 포함하여 구성되는 것을 특징으로 하는 견인차량용 차량 승강장치를 제공한다.
여기서, 상기 측방이동프레임은 적재용 사이드 차량의 적재대 위에 측방향으로 나란하게 설치된 가이드레일을 따라 측방이동가능하게 장착됨으로써, 이송포크에 의해 들어 올려진 피견인차량을 적재대 위로 이송시키줄 수 있다.
상기 이송포크는 상하이동패널의 하부에 수직방향으로 장착된 포크지지대의 하단에 전후방향으로 소정간격을 두고 수평하게 지지되고, 포크지지대 사이에 장착된 전후이동용 실린더에 의해 피견인차량의 타이어의 크기에 맞게 전후방향으로 간격조절됨으로써, 이송포크에 의해 피견인차량을 안전하게 지지하여 승강시킬 수 있다.
또한, 상기 이송포크의 상면에 랙기어가 형성되고, 상기 랙기어와 맞물리게 결합되도록 포크지지대의 하단부에 피니언기어가 내장되고, 상기 피니언기어는 모터로부터 발생된 구동력을 이송포크의 랙기어에 전달하여 이송포크를 측방향으로 전후진시킴으로써, 피견인차량의 차체 하부에 이송포크를 넣어 피견인차량을 승강시킬 수 있다.
이에 따라 본 발명의 견인차량용 차량 승강장치는, 피견인차량 전체를 차대 프레임에 적재하여 운반하는 종래의 세이프티로더 견인 방식을 개선한 것으로서, 피견인차량을 전후로 종방향 이동시켜 적재 또는 하차하는 방식 대신 피견인차량을 그 측방에서 상하로 승강 이동 및 측방향 이동시켜 적재 또는 하차하는 방식을 채용함으로써, 적재를 위한 공간 확보가 용이하고, 종래의 슬라이딩 구동형 적재판이나 이를 구동하기 위한 슬라이딩 및 각도 조절 장치, 체인이나 체인 구동수단 등을 대신하는 간단한 구성으로 피견인차량을 적재할 수 있으므로 전체적인 장치 구성을 간단하게 할 수 있는 이점이 있다.
또한 경사지게 슬라이딩 구동되는 적재판의 사용으로 인한 종래의 문제점, 즉 피견인차량을 적재판에 적재할 때와 적재된 피견인차량을 노면으로 하차할 때 피견인차량과 적재판이 접촉되고 그로 인한 차량이 손상될 수 있는 문제점, 그리고 종래의 체인 구동방식이 가지는 체인 구동력의 문제점이 해소될 수 있다.
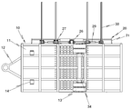
도 1은 본 발명의 일실시예에 따른 견인차량용 차량 적재장치의 사시도
도 2는 도 1의 배면사시도
도 3은 도 1의 저면사시도
도 4는 도 1에서 전후이동롤러, 피니언기어 및 랙기어의 치합상태를 보여주는 사시도
도 5는 도 1의 측면도
도 6은 도 5의 배면도
도 7은 도 5의 정면도
도 8은 도 5의 저면도
도 9는 도 5의 평면도
도 10 내지 도 13은 피견인차량을 사이드 차량에 적재하는 과정을 보여주는 사시도
도 2는 도 1의 배면사시도
도 3은 도 1의 저면사시도
도 4는 도 1에서 전후이동롤러, 피니언기어 및 랙기어의 치합상태를 보여주는 사시도
도 5는 도 1의 측면도
도 6은 도 5의 배면도
도 7은 도 5의 정면도
도 8은 도 5의 저면도
도 9는 도 5의 평면도
도 10 내지 도 13은 피견인차량을 사이드 차량에 적재하는 과정을 보여주는 사시도
이하, 첨부한 도면을 참조하여 본 발명의 바람직한 실시예에 대해 본 발명이 속하는 기술분야에서 통상의 지식을 가진 자가 용이하게 실시할 수 있도록 상세히 설명하기로 한다.
첨부한 도 1은 본 발명의 일실시예에 따른 견인차량용 차량 적재장치의 사시도이고, 도 2는 도 1의 배면사시도이고, 도 3은 도 1의 저면사시도이고, 도 4는 도 1에서 전후이동롤러, 피니언기어 및 랙기어의 치합상태를 보여주는 사시도이다.
본 발명은 견인차량용 차량 적재장치에 관한 것으로서, 피견인차량(35) 전체를 차대 프레임에 적재하여 운반하는 종래의 세이프티로더 견인 방식을 개선한 것으로서, 피견인차량(35)을 전후로 종방향 이동시켜 적재 또는 하차하는 방식 대신 피견인차량(35)을 그 측방에서 상하로 승강 이동 및 측방향 이동시켜 적재 또는 하차하는 방식을 채용한 것이다.
이러한 본 발명은 피견인차량(35)을 그 측방에서 적재하게 되므로 적재를 위한 공간 확보가 용이하고, 종래의 슬라이딩 구동형 적재판이나 이를 구동하기 위한 슬라이딩 및 각도 조절 장치, 체인이나 체인 구동수단 등을 대신하는 간단한 구성으로 피견인차량(35)을 적재할 수 있으므로 전체적인 장치 구성을 간단하게 할 수 있는 이점이 있다.
또한 경사지게 슬라이딩 구동되는 적재판의 사용으로 인한 종래의 문제점, 즉 피견인차량(35)을 적재판에 적재할 때와 적재된 피견인차량(35)을 노면으로 하차할 때 피견인차량(35)과 적재판이 접촉되고 그로 인한 차량이 손상될 수 있는 문제점, 그리고 종래의 체인 구동방식이 가지는 체인 구동력의 문제점이 해소될 수 있다.
본 발명의 견인차량용 차량 적재장치는 견인차량(도시하지 않음)과는 별도로 구비되는 것으로서, 견인차량에 연결하여 피견인차량(35)을 적재할 수 있는 위치까지 운반되는 것이며, 견인차량에 의해 피견인차량(35)의 측방으로 이동된 상태에서 피견인차량(35) 전체를 상승시켜 적재할 수 있도록 구비되는 것이다.
구성을 살펴보면, 본 발명의 차량 적재장치는, 주행바퀴(13)가 구비되고, 견인차량의 후미에 연결되어 상기 견인차량에 의해 원하는 위치로 이동 가능하며, 피견인차량(35)의 측방으로 이동된 상태에서 지면으로부터 들어 올려지는 피견인차량(35) 전체를 적재대(11) 위에 적재한 뒤 이동되는 적재용 사이드 차량(10)과; 상기 적재용 사이드 차량(10)에 설치되어 피견인차량(35)을 상하 및 측방 이동시킬 수 있게 구비되고, 피견인차량(35)을 상하 및 측방 이동시켜 적재용 사이드 차량(10) 측방의 지면과 적재용 사이드 차량(10)의 적재대(11) 사이에서 이동(적재/하차)시키는 승강장치부(20);를 포함하여 구성된다.
여기서 견인차량은 엔진의 구동력으로 자체 주행이 가능한 차량으로서, 본 발명의 차량 적재장치를 후미에 연결한 상태로 피견인차량(35)이 위치한 곳까지 주행하게 된다.
즉 상기 견인차량은 피견인차량(35)을 견인하기 위하여 본 발명의 차량 적재장치를 피견인차량(35)이 위치한 곳까지 이동시켜주는 별도 차량인 것이다.
이에 반해 본 발명의 차량 적재장치는 자체 주행이 불가능한 무동력 차량으로서, 피견인차량(35)의 적재를 위하여 견인차량의 후미에 연결된 상태로 견인차량의 구동력에 의해 피견인차량(35) 위치까지 이동되는 차량이고, 또한 피견인차량(35) 전체를 적재대(11)에 적재한 상태로 견인 목적지까지 이동하게 된다.
특히 본 발명의 차량 적재장치는 견인차량에 의해 피견인차량(35)의 측방 위치로 이동되고, 측방 위치에서 승강장치부(20)가 피견인차량(35)을 들어서 측방으로 이동시킨 뒤 내려놓는 방식으로 적재용 사이드 차량(10)의 적재대(11) 위에 피견인차량(35)을 적재하게 된다.
상기 적재용 사이드 차량(10)의 전단부에는 연결부(12)가 일체로 형성되어, 이 연결부(12)가 견인차량의 후미에 구비된 연결부(12)와 체결될 경우, 견인차량과 본 발명의 차량 적재장치가 일체로 주행될 수 있도록 연결되고, 견인차량의 구동력으로 본 발명의 차량 적재장치가 원하는 위치까지 이동될 수 있게 된다.
상기 적재용 사이드 차량(10)은 피견인차량(35)이 적재되는 부분으로, 전단에 견인차량과의 연결을 위한 연결부(12)가 일체로 형성되는 적재대(11)와; 상기 적재대(11) 하측에 각각 구비되는 주행바퀴(13)를 포함하여 구성된다.
여기서 적재대(11)에는 뒤쪽의 좌우 양측으로 위치되는 2개의 주행바퀴(13)가 구비될 수 있는 바, 적재용 사이드 차량(10)은 2륜 이동방식으로 구성될 수 있다.
물론 주행바퀴(13)의 개수는 다양하게 변경될 수 있으며, 각 위치의 주행바퀴(13)는 충분한 차량의 중량 지지를 위하여 복수개의 바퀴(13)(휠+타이어)가 조합된 형태가 될 수 있다.
상기 각 주행바퀴(13)는 적재대(11)의 후측 하부면에 일체로 설치된 휠브라켓(34)에 회전 가능하도록 장착된다.
또한 상기 적재대(11)에는 하단이 지면에 고정되어 하중을 분산 지지하게 되는 별도의 지지대(14)가 구비될 수 있으며, 상기 지지대(14)는 상하로 길이 연장이 가능하도록 구비되는 것으로서, 이들 지지대(14)는 통상의 특수 차량에서 차량을 지면에 고정하기 위하여 널리 사용되는 것이므로 그 구성에 대해서는 상세한 설명을 생략하기로 한다.
또한 적재대(11)는 하나의 차대 프레임에 장착고정된 상태로 주행시에 일체로 이동되고, 후술하는 승강장치부(20)의 좌우이송롤러(28)를 측방이동가능하게 안내할 수 있도록 적재대(11)의 상면 중간에 가이드레일(16)이 전후방향으로 소정 간격을 두고 장착되는데, 가이드레일(16) 사이의 간격은 좌우이송롤러(28)가 승강장치부(20)의 하단부를 좌우 이동가능하게 지지할수 있는 간격으로 한다.
한편, 상기 승강장치부(20)는 적재대(11)의 상호 대향된 위치에서 각각 측방으로 길게 배치된 가이드레일(16)을 따라 좌우 이동가능하게 장착된 측방이동프레임(21); 상기 측방이동프레임(21)의 내측 양측면을 따라 승강 이동가능하게 상하이동패널(24); 상기 상하이동패널(24)의 하부에 승강지지대(26)를 매개로 상하이동가능하게 장착되고, 피견인차량(35)의 하부를 지지하는 복수의 이송포크(30); 상기 상하이동패널(24)을 승강 이동시키기 위한 승강용 유압 실린더와; 상기 측방이동프레임(21)을 가이드레일(16)을 따라 측방으로 이동시키기 위한 측방 이동용 유압실린더(15);를 포함하여 구성된다.
상기 측방이동프레임(21)은 상단에 전후방향으로 배치된 상부지지바와, 상부지지바의 전후단에 전후방향으로 소정간격을 두고 부착된 측면패널과, 상기 측면패널의 하단을 연결하는 하부패널로 구성된다.
상기 하부패널의 저면에 하부지지바(22)가 부착되고, 하부지지바(22)의 양측단에 측방이동브라켓이 부착되고, 상기 측방이동브라켓의 하단부는 베어링에 의해 가이드레일(16)을 따라 좌우(측방) 이동가능하게 지지된다.
상기 상하이동패널(24)은 측방이동프레임(21)의 측면패널의 양쪽 내측면에 상하이동가능하게 장착되고, 상하이동패널(24)의 저면 중심부에 직하방으로 승강지지대(26)가 장착 고정되고, 상하이동패널(24)의 저면에 승강지지대(26)를 가운데 두고 앞쪽과 뒤쪽에 각각 두개씩 포크지지대(27)가 직하방향으로 장착된다.
상기 포크지지대(27)의 상단부가 전후방향으로 이동가능하게 상하이동패널(24)의 저면에 장착되고, 두개의 포크지지대(27) 사이 그리고, 포크지지대(27)와 승강지지대(26) 사이에 전후이동용 유압실린더(29)가 각각 장착되어, 전후이동용 유압실린더(29)가 전후방향으로 작동하면서 포크지지대(27)의 간격 및 포크지지대(27)와 승강지지대(26)의 간격이 조절된다.
이때, 상기 포크지지대(27)의 상단부는 전후이동롤러(32)에 의해 상하이동패널(24)의 내측 양측면에서 전후방향으로 이동가능하게 지지된다.
상기 전후이동롤러(32)는 상하이동패널(24)의 내측 양측면에 각각 두개씩 전후이동가능하게 장착되고, 이때 두개의 전후이동롤러(32)는 롤러지지브라켓(36)에 의해 포크지지대(27)의 상단 일측면에 힌지결합되어 일체로 작동된다.
상기 포크지지대(27)의 하단부에는 이송포크(30)의 일단부가 관통결합되고, 이송포크(30)의 타단부는 자유단으로 측방향으로 배치되며, 상기 이송포크(30)는 포크지지대(27)에 의해 전후방향으로 이동가능하게 지지됨으로써, 피견인차량(35)의 타이어의 크기 및 타이어의 전후간격에 따라 전후방향으로 간격이 조절된다.
다시말해서, 상기 앞쪽 두개의 이송포크(30)는 피견인차량(35)의 앞쪽 타이어를 지지하고, 뒤쪽 두개의 이송포크(30)는 피견인차량(35)의 뒤쪽 타이어를 지지하고, 앞쪽 두개의 이송포크(30)의 간격과 뒤쪽 두개의 이송포크(30)의 간격은 피견인차량(35)의 타이어를 받쳐줄 수 있도록 타이어의 위치에 맞게 조절된다.
상기 포크지지대(27)의 하단 내측에는 피니언기어(31)와 이를 회전시켜주는 구동모터(미도시)가 장착되어 있고, 이송포크(30)의 상면에는 랙기어(33)가 길이방향을 따라 형성되어 피니언기어(31)와 치합됨으로써, 구동모터가 구동되면 피니언기어(31)가 구동모터로부터 회전력을 전달받아 회전하면서 피니언기어(31)와 랙기어(33)의 치합에 의해 이송포크(30)가 측방향으로 전후진된다.
상기 승강용 유압실린더(25)는 측방이동프레임(21)의 내부에 장착되고, 승강용 유압실린더(25)의 실린더몸체가 측방이동프레임(21)의 상부지지바의 중심부에 직하방으로 장착고정되고, 승강용 유압실린더(25)의 피스톤로드가 상하이동패널(24)의 승강지지대(26)의 하단부와 일체로 작동하도록 결합됨으로써, 상기 승강용 유압실린더(25)가 전후진 작동함에 따라 상하이동패널(24)이 측방이동프레임(21)의 양쪽 측면패널을 따라 상하방향으로 이동하고, 측방이동프레임(21)과 일체로 측방 이동하게 된다.
상기 측방이동용 유압실린더(15)는 적재대(11)의 전측과 후측에 각각 대각선방향으로 배치되고, 측방이동용 유압실린더(15)의 실린더몸체가 적재대(11)의 일측단에 힌지구조로 결합되고, 측방이동용 유압실린더(15)의 피스톤로드가 측방이동프레임(21)의 하단부를 지지하는 하부지지바(22)의 후면에 힌지구조로 결합됨으로써, 상기 측방이동용 유압실린더(15)가 전후진 작동함에 따라 측방이동프레임(21)이 적재대(11)에 설치된 가이드레일(16)를 따라 좌우방향으로 측방이동하게 된다.
이상으로 본 발명의 실시예에 따른 견인차량용 차량 적재장치의 구성에 대하여 상세히 설명하였으며, 이하 작동상태 및 작용효과에 대하여 설명하면 다음과 같다.
도 10 내지 도 13은 피견인차량을 사이드 차량에 적재하는 과정을 보여주는 사시도이다.
우선, 피견인차량(35)을 적재하기 위해 승강장치부(20)의 이송포크(30)를 지면측으로 내린 후, 이송포크(30)를 후진시켜 적재용 사이드 차량(10)의 하부에 배치한 다음, 피견인차량(35)의 측방으로 적재용 사이드 차량(10)을 위치시킨다.
상기 적재용 사이드 차량(10)은 견인차량(도시하지 않음)에 연결된 상태로 견인차량에 의해 이동되며, 이때 예시한 바와 같이 작업자가 견인차량을 운전하여 적재용 사이드 차량(10)을 피견인차량(35)의 우측에 위치시킨다.
물론 피견인차량(35)의 좌측에서 위치 확보가 가능한 경우 적재용 사이드 차량(10)을 피견인차량(35)의 좌측에 위치시킬 수도 있으며, 적재용 사이드 차량(10)은 이동시 주행바퀴(13)에 의해 이동되고, 피견인차량(35)의 측방으로 견인 위치가 정해지면 지지대를 지면에 고정시켜 하중을 분산시킬 수 있도록 한다.
그 다음, 상기 피견인차량(35)의 타이어의 크기 및 타이어의 간격에 맞게 이송포크(30)의 간격을 조절하면서 피견인차량(35)의 타이어를 사이에 두고 타이어의 양측으로 이송포크(30)를 전진 이동시키고, 이송포크(30)를 두개씩 짝을 지어 피견인차량(35)의 앞쪽 타이어 및 뒤쪽 타이어의 하부를 각각 지지하도록 이송포크(30)의 간격을 좁힌다.
이때, 상기 포크지지대(27)가 전후이동용 유압실린더(29)로부터 구동력을 전달받아 전후방향으로 간격조절되고, 포크지지대(27)의 하단부에 장착된 이송포크(30)가 전후방향으로 포크지지대(27)와 함께 전후방향으로 간격조절된다.
그 다음, 상기 승강용 유압실린더(25)를 구동시켜 이송포크(30)에 의해 피견인차량(35)의 타이어의 하단부를 지지하면서, 이송포크(30)에 안착된 피견인차량(35)을 상승시킨다.
이때, 상기 승강용 유압실린더(25)를 후진 작동시키면 피스톤로드가 실린더몸체 내부로 삽입되면서 피스톤로드의 하단부에 결합된 승강지지대(26)가 상방향으로 연동하고, 상기 이송포크(30)가 장착된 상하이동패널(24)이 승강용 유압실린더(25)에 의해 측방이동프레임(21)의 내측 양측면을 따라 상승됨으로써, 이송포크(30)에 안착된 피견인차량(35)이 상승하게 된다.
상기 승강용 유압실린더(25)에 의해 이송포크(30)에 안착된 피견인 차량이 완전히 들어올려지면, 피견인차량(35)의 하단부가 적재대(11)의 좌측면 상에 위치하게 된다.
이어 측방이동용 유압실린더(15)를 구동시켜 피견인 차량을 적재대(11) 위로 이동시킨다.
이때, 상기 측방이동용 유압실린더(15)를 후진 작동시키면 피스톤로드가 실린더몸체 내부로 삽입되면서 피스톤로드의 선단부에 결합된 하부지지바(22)가 베어링에 의해 지지되면서 가이드레일(16)을 따라 우측(적재대(11) 위쪽)으로 당겨진다.
그리고, 측방이동프레임(21)의 하단부가 하부지지바(22)에 의해 지지 및 이동되면서 상하이동패널(24), 포크지지대(27), 이송포크(30) 및 이에 안착된 피견인차량(35)이 측방이동프레임(21)과 함께 전측 및 후측 적재대(11) 위로 이송된다.
상기 피견인차량(35)이 측방이동프레임(21)에 의해 측방향으로 완전히 이동되면, 승강용 유압실린더(25)를 구동시켜 피견인차량(35)을 지지하고 있는 이송포크(30)와 상하이동패널(24)을 측방이동프레임(21)의 내측 양측면을 따라 하강시키며, 이때 피견인차량(35)의 타이어가 적재대(11) 위로 올려지게 되면서 적재용 사이드 차량(10) 위로 피견인차량(35) 전체가 완전히 적재된다.
상기와 같이 적재가 완료된 상태에서 피견인차량(35)의 전륜 및 후륜이 적재대(11) 위에 얹어지며, 이송포크(30)가 좀더 하강하여 피견인차량(35)의 타이어로부터 완전히 분리되면 이송포크(30)의 지지력이 제거되면서 피견인차량(35)은 적재용 사이드 차량(10)의 적재대(11)에 의해서만 지지된 상태가 된다.
이렇게 적재가 완료되면 피견인차량(35)을 적재대(11) 위에 별도의 고정수단에 의해 고정시킨 뒤에 견인차량을 이동시켜 피견인차량(35)을 원하는 목적지로 이동시킬 수 있게 된다.
이상으로 본 발명의 실시예에 대해 상세히 설명하였는 바, 본 발명의 권리범위는 상술한 실시예에 한정되지 않으며, 다음의 특허청구범위에서 정의하고 있는 본 발명의 기본 개념을 이용한 당업자의 여러 변형 및 개량 형태 또한 본 발명의 권리범위에 포함된다.
10 : 적재용 사이드 차량 11 : 적재대
12 : 연결부 13 : 주행바퀴
14 : 지지대 15 : 측방이동용 유압실린더
16 : 가이드레일
20 : 승강장치부 21 : 측방이동프레임
22 : 하부지지바 23 : 보강부재
24 : 상하이동패널 25 : 승강용 유압실린더
26 : 승강지지대 27 : 포크지지대
28 : 좌우이송롤러 29 : 전후이동용 유압실린더
30 : 이송포크 31 : 피니언기어
32 : 전후이동롤러 33 : 고정브라켓
34 : 휠브라켓 35 : 피견인차량
36 : 롤러지지브라켓
12 : 연결부 13 : 주행바퀴
14 : 지지대 15 : 측방이동용 유압실린더
16 : 가이드레일
20 : 승강장치부 21 : 측방이동프레임
22 : 하부지지바 23 : 보강부재
24 : 상하이동패널 25 : 승강용 유압실린더
26 : 승강지지대 27 : 포크지지대
28 : 좌우이송롤러 29 : 전후이동용 유압실린더
30 : 이송포크 31 : 피니언기어
32 : 전후이동롤러 33 : 고정브라켓
34 : 휠브라켓 35 : 피견인차량
36 : 롤러지지브라켓
Claims (4)
- 견인차량용 차량 승강장치에 있어서,
적재용 사이드 차량(10)의 적재대(11) 위에 설치된 측방이동프레임(21)과;
상기 측방이동프레임(21)의 앞뒤 내측면에 상하방향으로 이동가능하게 장착된 상하이동패널(24)과;
상기 측방이동프레임(21)의 상단에 장착되어, 상기 상하이동패널(24)을 승강시키는 승강용 유압실린더(25)와;
상기 상하이동패널(24)의 하부에 장착되고, 피견인차량(35)의 차체 하측으로 넣어져 상하 이동시 피견인차량(35)을 적재한 상태로 승강시키는 이송포크(30);
를 포함하여 구성되는 것을 특징으로 하는 견인차량용 차량 승강장치.
- 청구항 1에 있어서, 상기 적재용 사이드 차량(10)의 적재대(11) 위에 가이드레일(16)이 측방으로 나란하게 설치되고, 상기 측방이동프레임(21)은 가이드레일(16) 위에 세워지게 장착되고, 좌우이송롤러(28)에 의해 가이드레일(16)을 따라 측방 이동 가능하게 지지된 것을 특징으로 하는 견인차량용 차량 승강장치.
- 청구항 1에 있어서, 상기 상하이동패널(24)의 하부에 수직방향으로 장착되고, 상기 이송포크(30)의 일단부를 수평하게 지지하는 복수의 포크지지대(27)과;
상기 포크지지대(27)의 상단부 양측면에 장착되어, 상기 포크지지대(27)를 상하이동패널(24)의 양쪽 내측면을 따라 전후 이동가능하게 지지하는 전후이동롤러(32)와;
상기 포크지지대(27) 사이에 전후방향으로 장착되어, 상기 포크지지대(27)를 전후방향으로 이동시켜 이송포크(30)의 전후간격을 조절하는 전후이동용 유압실린더(29);
를 더 포함하는 것을 특징으로 하는 견인차량용 차량 적재장치.
- 청구항 1에 있어서, 상기 포크지지대(27)의 하단부 내측에 장착되고, 모터로부터 구동력을 받아 회전되는 피니언 기어(31)와;
상기 피니언 기어(31)와 맞물리게 결합되어 이송포크(30)를 측방향으로 이동시키도록 이송포크(30)에 형성된 랙기어(33)를 더 포함하는 것을 특징으로 하는 견인차량용 차량 적재장치.
Priority Applications (1)
| Application Number | Priority Date | Filing Date | Title |
|---|---|---|---|
| KR1020100073119A KR20120011383A (ko) | 2010-07-29 | 2010-07-29 | 견인차량용 차량 승강장치 |
Applications Claiming Priority (1)
| Application Number | Priority Date | Filing Date | Title |
|---|---|---|---|
| KR1020100073119A KR20120011383A (ko) | 2010-07-29 | 2010-07-29 | 견인차량용 차량 승강장치 |
Publications (1)
| Publication Number | Publication Date |
|---|---|
| KR20120011383A true KR20120011383A (ko) | 2012-02-08 |
Family
ID=45835603
Family Applications (1)
| Application Number | Title | Priority Date | Filing Date |
|---|---|---|---|
| KR1020100073119A Abandoned KR20120011383A (ko) | 2010-07-29 | 2010-07-29 | 견인차량용 차량 승강장치 |
Country Status (1)
| Country | Link |
|---|---|
| KR (1) | KR20120011383A (ko) |
Cited By (4)
| Publication number | Priority date | Publication date | Assignee | Title |
|---|---|---|---|---|
| WO2016033921A1 (zh) * | 2014-09-05 | 2016-03-10 | 商庆申 | 自动整体装卸运输车 |
| CN108482234A (zh) * | 2018-03-06 | 2018-09-04 | 武汉理工大学 | 一种侧装式道路清障车 |
| CN109774575A (zh) * | 2019-01-07 | 2019-05-21 | 武汉理工大学 | 一种侧位式清障车 |
| PL446014A1 (pl) * | 2023-09-05 | 2025-03-10 | Przedsiębiorstwo Robót Kolejowych Wrocław Spółka Z Ograniczoną Odpowiedzialnością | Platforma wozidła |
-
2010
- 2010-07-29 KR KR1020100073119A patent/KR20120011383A/ko not_active Abandoned
Cited By (4)
| Publication number | Priority date | Publication date | Assignee | Title |
|---|---|---|---|---|
| WO2016033921A1 (zh) * | 2014-09-05 | 2016-03-10 | 商庆申 | 自动整体装卸运输车 |
| CN108482234A (zh) * | 2018-03-06 | 2018-09-04 | 武汉理工大学 | 一种侧装式道路清障车 |
| CN109774575A (zh) * | 2019-01-07 | 2019-05-21 | 武汉理工大学 | 一种侧位式清障车 |
| PL446014A1 (pl) * | 2023-09-05 | 2025-03-10 | Przedsiębiorstwo Robót Kolejowych Wrocław Spółka Z Ograniczoną Odpowiedzialnością | Platforma wozidła |
Similar Documents
| Publication | Publication Date | Title |
|---|---|---|
| EP2960183B1 (en) | Stacker crane and method for operating same | |
| US5730577A (en) | Motorcycle loading and unloading device | |
| US4795303A (en) | Vehicle transporting apparatus | |
| CA1318709C (en) | Car catcher | |
| CN106894322B (zh) | 铣刨单元的运输装置、运输车辆及运输铣刨单元的方法 | |
| CA2515936A1 (en) | Vehicles and trailers incorporating moveable load carrying platforms | |
| KR102127606B1 (ko) | 컨테이너 적재차량 | |
| KR101592363B1 (ko) | 사다리차용 운반대차 장치 | |
| KR20140094969A (ko) | 철도 레일 하화장비 | |
| US20150375663A1 (en) | Trailer apparatuses | |
| KR20120011383A (ko) | 견인차량용 차량 승강장치 | |
| JP4397716B2 (ja) | 重量物の載置方法及びそのシステム | |
| KR20140003820U (ko) | 파이프 설치용 장치 | |
| KR20120011384A (ko) | 견인차량용 차량 적재장치 | |
| JPH1171098A (ja) | 鉄道車両の持ち上げ装置 | |
| JP5900843B2 (ja) | 車載式昇降装置 | |
| US7513731B2 (en) | Truck bed elevator | |
| JP2020090212A (ja) | 荷物の搬送装置 | |
| KR100884392B1 (ko) | 세이프로더의 피견인차량 탑재장치 | |
| CN120135990B (zh) | 一种牵引车驻车升降机 | |
| CN208008090U (zh) | 一种用于扶梯转运装箱的辅助装置 | |
| JP2003267118A (ja) | 牽引車両の側面リフティング装置 | |
| CN112721965B (zh) | 接载车及接载系统 | |
| CN221092897U (zh) | 一种用于斜坡的自动装车装置 | |
| CN117263085B (zh) | 一种自调式垂直升降装置 |
Legal Events
| Date | Code | Title | Description |
|---|---|---|---|
| A201 | Request for examination | ||
| PA0109 | Patent application |
Patent event code: PA01091R01D Comment text: Patent Application Patent event date: 20100729 |
|
| PA0201 | Request for examination | ||
| PG1501 | Laying open of application | ||
| PE0902 | Notice of grounds for rejection |
Comment text: Notification of reason for refusal Patent event date: 20120215 Patent event code: PE09021S01D |
|
| E701 | Decision to grant or registration of patent right | ||
| PE0701 | Decision of registration |
Patent event code: PE07011S01D Comment text: Decision to Grant Registration Patent event date: 20120928 |
|
| NORF | Unpaid initial registration fee | ||
| PC1904 | Unpaid initial registration fee |