KR20120009132A - 자동차용 스테빌라이저 바의 마운트 부시 - Google Patents

자동차용 스테빌라이저 바의 마운트 부시 Download PDF

Info

Publication number
KR20120009132A
KR20120009132A KR1020100070996A KR20100070996A KR20120009132A KR 20120009132 A KR20120009132 A KR 20120009132A KR 1020100070996 A KR1020100070996 A KR 1020100070996A KR 20100070996 A KR20100070996 A KR 20100070996A KR 20120009132 A KR20120009132 A KR 20120009132A
Authority
KR
South Korea
Prior art keywords
bush
stabilizer bar
sliding bearing
insert
rubber
Prior art date
Legal status (The legal status is an assumption and is not a legal conclusion. Google has not performed a legal analysis and makes no representation as to the accuracy of the status listed.)
Granted
Application number
KR1020100070996A
Other languages
English (en)
Other versions
KR101592349B1 (ko
Inventor
강병구
Original Assignee
현대자동차주식회사
기아자동차주식회사
Priority date (The priority date is an assumption and is not a legal conclusion. Google has not performed a legal analysis and makes no representation as to the accuracy of the date listed.)
Filing date
Publication date
Application filed by 현대자동차주식회사, 기아자동차주식회사 filed Critical 현대자동차주식회사
Priority to KR1020100070996A priority Critical patent/KR101592349B1/ko
Publication of KR20120009132A publication Critical patent/KR20120009132A/ko
Application granted granted Critical
Publication of KR101592349B1 publication Critical patent/KR101592349B1/ko
Active legal-status Critical Current
Anticipated expiration legal-status Critical

Links

Images

Classifications

    • BPERFORMING OPERATIONS; TRANSPORTING
    • B60VEHICLES IN GENERAL
    • B60GVEHICLE SUSPENSION ARRANGEMENTS
    • B60G21/00Interconnection systems for two or more resiliently-suspended wheels, e.g. for stabilising a vehicle body with respect to acceleration, deceleration or centrifugal forces
    • B60G21/02Interconnection systems for two or more resiliently-suspended wheels, e.g. for stabilising a vehicle body with respect to acceleration, deceleration or centrifugal forces permanently interconnected
    • B60G21/04Interconnection systems for two or more resiliently-suspended wheels, e.g. for stabilising a vehicle body with respect to acceleration, deceleration or centrifugal forces permanently interconnected mechanically
    • B60G21/05Interconnection systems for two or more resiliently-suspended wheels, e.g. for stabilising a vehicle body with respect to acceleration, deceleration or centrifugal forces permanently interconnected mechanically between wheels on the same axle but on different sides of the vehicle, i.e. the left and right wheel suspensions being interconnected
    • B60G21/055Stabiliser bars
    • BPERFORMING OPERATIONS; TRANSPORTING
    • B60VEHICLES IN GENERAL
    • B60GVEHICLE SUSPENSION ARRANGEMENTS
    • B60G21/00Interconnection systems for two or more resiliently-suspended wheels, e.g. for stabilising a vehicle body with respect to acceleration, deceleration or centrifugal forces
    • B60G21/02Interconnection systems for two or more resiliently-suspended wheels, e.g. for stabilising a vehicle body with respect to acceleration, deceleration or centrifugal forces permanently interconnected
    • B60G21/04Interconnection systems for two or more resiliently-suspended wheels, e.g. for stabilising a vehicle body with respect to acceleration, deceleration or centrifugal forces permanently interconnected mechanically
    • B60G21/05Interconnection systems for two or more resiliently-suspended wheels, e.g. for stabilising a vehicle body with respect to acceleration, deceleration or centrifugal forces permanently interconnected mechanically between wheels on the same axle but on different sides of the vehicle, i.e. the left and right wheel suspensions being interconnected
    • BPERFORMING OPERATIONS; TRANSPORTING
    • B62LAND VEHICLES FOR TRAVELLING OTHERWISE THAN ON RAILS
    • B62DMOTOR VEHICLES; TRAILERS
    • B62D21/00Understructures, i.e. chassis frame on which a vehicle body may be mounted
    • BPERFORMING OPERATIONS; TRANSPORTING
    • B62LAND VEHICLES FOR TRAVELLING OTHERWISE THAN ON RAILS
    • B62DMOTOR VEHICLES; TRAILERS
    • B62D21/00Understructures, i.e. chassis frame on which a vehicle body may be mounted
    • B62D21/02Understructures, i.e. chassis frame on which a vehicle body may be mounted comprising longitudinally or transversely arranged frame members
    • BPERFORMING OPERATIONS; TRANSPORTING
    • B60VEHICLES IN GENERAL
    • B60GVEHICLE SUSPENSION ARRANGEMENTS
    • B60G2204/00Indexing codes related to suspensions per se or to auxiliary parts
    • B60G2204/10Mounting of suspension elements
    • B60G2204/12Mounting of springs or dampers
    • B60G2204/122Mounting of torsion springs
    • B60G2204/1222Middle mounts of stabiliser on vehicle body or chassis

Landscapes

  • Engineering & Computer Science (AREA)
  • Mechanical Engineering (AREA)
  • Chemical & Material Sciences (AREA)
  • Combustion & Propulsion (AREA)
  • Transportation (AREA)
  • Vehicle Body Suspensions (AREA)
  • Springs (AREA)

Abstract

본 발명의 목적은 미끄럼 베어링 구조를 이용하여 고질적 문제인 소음과 마찰을 저감시켜 자동차의 상품성 및 연비를 증대시키고, 내부로 이물질이 침투하여 미끄럼 베어링의 성능을 저하시키는 것을 방지할 수 있도록 한 자동차용 스테빌리이저 바의 마운트 부시를 제공함에 있다.
이를 위하여 스테빌라이저 바의 고정부위에 직접 사출되는 인서트와; 한 쌍의 좌,우 베어링으로 이루어져 상기 인서트의 외주면에 결합되는 미끄럼 베어링과; 한 쌍의 상,하 고무부재로 이루어져 상기 미끄럼 베어링의 외주측을 감싸는 형태로 결합되며, 양단부에 2차 시일링이 이루어지는 시일링 구조를 갖는 고무부시와; 상기 고무부시를 감싸면서 서브 프레임(차체)에 고정되는 브라켓을 포함하여 이루어지는 자동차용 스테빌라이저 바의 마운트 부시를 제공한다.

Description

자동차용 스테빌라이저 바의 마운트 부시{MOUNT BUSH OF STABILIZER BAR FOR VEHICLE}
본 발명은 자동차의 현가장치에 적용되는 스테빌라이저 바의 마운트 부시에 관한 것으로서, 보다 상세하게는 미끄럼 베어링 구조를 이용하여 고질적 문제인 소음과 마찰을 저감시켜 자동차의 상품성 및 연비를 증대시키고, 내부로 이물질이 침투하여 미끄럼 베어링의 성능을 저하시키는 것을 방지할 수 있도록 한 자동차용 스테빌리이저 바의 마운트 부시에 관한 것이다.
자동차의 독립식 현가장치에 적용되는 스테빌라이저 바는 선회 또는 거친 노면의 주행시 차체의 롤 모션을 억제하여 차체의 평형을 유지시키는 일종의 비틀림 스프링이다.
이러한 스테빌라이저 바의 일반적인 구성을 살펴보면, 도 1에서와 같이, 스테빌라이저 바(2)는 그 양단에 각각 컨트롤 링크(4)(6)를 개재시켜 로워 컨트롤 아암(8)(10) 또는 스트러트 어셈블리(12)(14)에 연결되고, 그 내측의 직선부 양측 부분이 서브 프레임(16)에 마운팅 부시(18)(20)를 개재시켜 고정된다.
상기와 같은 스테빌라이저 바(2)는 차체의 롤링시 발생하는 좌우 휠을 지지하는 보조 스프링 기능을 하면서 좌우 휠이 동위상으로 움직일 때에는 힘을 받지 않고, 역위상으로 움직이는 경우에는 비틀림 탄성력에 의해 좌우 휠의 움직임을 구속하여 차체의 롤 거동을 억제하는 역할을 수행하게 된다.
예컨대, 선회시 선회 외측 휠이 바운드를 하고, 선회 내측 휠이 리바운드를 할 때, 이들 양 휠의 움직임을 같게 하는 작용을 하여 차체의 기울기를 억제하게 되며, 반대로 좌우 휠이 동시에 같은 방향으로 동작될 때에는 작용하지 않게 되는 것이다.
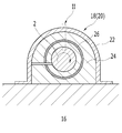
그리고 상기 스테빌라이저 바(2)의 직선부 양측을 서브 프레임(16)에 고정시켜 주는 마운팅 부시(18)(20)는 통상적으로 도 2의 A에 도시된 윤활 부시 타입의 마운트 부시와, 도 2의 B에 도시된 중철 부시 타입의 마운트 부시가 채용되고 있다.
상기 윤활 부시 타입의 마운트 부시는 도 2의 A에서와 같이, 브라켓(22)과 윤활 성분이 첨가된 고무부시(24)로 구성되어 상기 브라켓(22)이 상기 고무부시(24)를 감싸는 형태로 차체 또는 서브 프레임(16)에 고정된다.
또한 상기 고무부시(24)의 중앙부에는 원형 단면을 갖는 스테빌라이저 바(2)가 관통하는 형태로 고정되어 스테빌라이저 바(2)의 거동으로 인한 소음이나 진동을 차단하게 되며, 상기 고무부시(24)는 스테빌라이저 바(2)에 대한 압축력의 크기에 따라 롤 강성 크기에도 큰 영향을 미치게 된다.
그리고 상기 중철 부시 타입의 마운트 부시는 도 2의 B에서와 같이, 상기 윤활 부시 타입의 마운트 부시와 마찬가지로 브라켓(22)과 고무부시(24)로 이루어지되, 상기 고무부시(24)의 내부에 중철 부시(26)를 삽입하여 스테빌리아저 바(2)의 회전시 슬립이 발생되지 않도록 하는 구조로 이루어진다.
그러나 상기 윤활 부시 타입의 마운트 부시는 도 3의 A에서와 같이 스테빌라이저 바의 회전시 초기 대략 2 ~ 3°구간에서 고무부시의 변형이 발생한 후 슬립이 발생된다.
상기와 같이 슬립이 발생된다고 하는 것은 소음 발생을 의미하며, 고무 노화가 진행될수록 소음이 커진다는 문제점을 내포하고 있다.
그리고 중철 부시 타입의 마운트 부시는 도 3의 B에서와 같이 슬립 발생이 없는 구조로서 소음 문제는 해결할 수 있으나, 회전방향 토크가 비례하여 증대되므로 차량의 거동이 과도한 경우 마찰이 증대되어 연비에 불리하다는 문제점을 내포하고 있다.
따라서 본 발명은 상기와 같은 문제점을 해결하기 위하여 발명된 것으로서, 본 발명의 목적은 미끄럼 베어링 구조를 이용하여 고질적 문제인 소음과 마찰을 저감시켜 자동차의 상품성 및 연비를 증대시키고, 내부로 이물질이 침투하여 미끄럼 베어링의 성능을 저하시키는 것을 방지할 수 있도록 한 자동차용 스테빌리이저 바의 마운트 부시에 관한 것이다.
상기 목적을 실현하기 위하여 본 발명은 청구범위 제1항에서와 같이, 스테빌라이저 바(102)의 직선부 양측을 서브 프레임(차체;104) 고정시켜 주는 마운트 부시(100)를 형성함에 있어서,
스테빌라이저 바(102)의 고정부위에 직접 사출 형성되는 인서트(110)와; 좌,우 한쌍의 베어링(121)(122)으로 이루어져 상기 인서트(110)의 외주면에 윤활층을 가지고 결합되는 미끄럼 베어링(120)과; 상,하 고무부재(131)(132)로 이루어져 상기 미끄럼 베어링(120)의 외주측을 감싸는 형태로 결합되며, 양단부에 2차 시일링이 이루어지는 시일링 구조를 갖는 고무부시(130)와; 상기 고무부시(130)를 감싸면서 서브 프레임(차체)에 고정되는 브라켓(140)을 포함하여 이루어지는 자동차용 스테빌라이저 바의 마운트 부시를 제공한다.
상기에서 인서트(110)는 청구범위 제2항에서와 같이, 스테빌라이저 바(102)의 외주면에 일정 길이를 갖고 직접 사출 성형되며, 양단부에 대직경의 플랜지(111)(112)가 형성되고, 중앙에 소정의 둘레턱(113)이 형성되며, 상기 둘레턱(113)과 양 플랜지(111)(112)사이에는 윤활제가 충진될 수 있는 둘레홈(114)이 형성됨을 특징으로 한다.
상기에서 미끄럼 베어링(120)은 청구범위 제3항에서와 같이, 좌,우 한쌍의 베어링(121)(122)으로 이루어지며, 상기 인서트(110)의 둘레턱(113)을 기준으로 양측에 배치되고, 양단부에는 고무부시(130)를 고정시켜 줄 수 있도록 상기 인서트(110)의 플랜지(111)(112) 보다 작은 플랜지(123)(124)가 형성됨을 특징으로 한다.
상기에서 미끄럼 베어링(120)을 형성하는 좌,우 베어링(121)(122)은 청구범위 제4항에서와 같이, 축방향으로 형성되는 일정 형태의 절개부(125)(126)에 의하여 오픈형으로 이루어짐을 특징으로 한다.
상기에서 미끄럼 베어링(120)의 외주측에 배치되는 고무부시(130)는 청구범위 제5항에서와 같이, 상,하 고무부재(131)(132)로 이루어지며, 미끄럼 베어링(120)과 접촉되는 내경부의 안쪽에 내철(133)(134)이 매몰 형성됨을 특징으로 한다.
상기에서 고무부시(130)를 형성하는 상,하 고무부재(131)(132)의 양단부에는 청구범위 제6항에서와 같이, 이물질 투입 및 그리스 누유 방지를 위한 립(Lip;135, 136)이 형성됨을 특징으로 한다.
상기에서 립(135)(136)은 청구범위 제7항에서와 같이, 뿌리부가 단부 보다 두껍게 형성되고, 상기 립(135)(136)의 단부까지 상기 내철(133)(134)을 연장하여 매몰되도록 함을 특징으로 한다.
상기에서 립(135)(136)의 내경부에는 청구범위 제8항에서와 같이, 인서트(110)의 양 플랜지(111)(112) 외측 모서리 부분을 압착할 수 있는 제1 시일링 턱(137)(138)을 형성하고, 양 플랜지(111)(112)의 외주면에 형성된 시일링 홈(115)(116)에 안착될 수 있는 제2 시일링 턱(139)(140)을 형성함을 특징으로 한다.
상기와 같이 구성되는 본 발명에 의하면, 인서트(110)가 스테빌라이저 바(102)에 직접 사출하는 방식으로 제작되는 바, 스테빌라이저 바(102)의 이탈 방지용 클램프 역할을 수행하고, 중앙 둘레턱(113)에 의하여 미끄럼 베어링(120)의 이탈을 방지할 수 있게 된다.
그리고 인서트(110)와 미끄럼 베어링(120) 사이에 윤활제인 그리스가 충전되는 바, 전 거동 구간 마찰을 최소화할 수 있게 되며, 기동 토크 구간의 최소화로 소음 발생을 방지할 수 있게 된다.
또한, 미끄럼 베어링(120)이 한쌍의 좌,우 베어링(121)(122)으로 이루어짐과 동시에 오픈형으로 이루어짐으로써, 공차 관리 및 조립성이 향상된다.
그리고 고무부시(130)의 내경부에 내철(133)(134)이 적용됨으로써, 미끄럼 베어링(120)을 변형없는 형태로 고정시켜주게 되며, 특히 상기 립(135)(136)에 의하여 재1, 2 시일링 턱(137)(138),(139)(140)에 의하여 이물질 침투 및 그리스 누유를 방지할 수 있는 바, 미끄럼 베어링(120)의 성능 저하를 방지할 수 있게 된다.
또한, 내철(133)(134)이 립(135)(136) 부분까지 연장되어 립(135)(136)을 지지하여 주게 되는 바, 차량의 롤 거동시 립(135)(136)의 변형을 최소화할 수 있게 되는 시일링 효과를 높일 수 있게 되는 것이다.
이 도면들은 본 발명의 예시적인 실시예를 설명하는데 참조하기 위한 것으로서, 본 발명의 기술적 사상을 첨부한 도면에 한정해서 해석하여서는 안된다.
도 1은 본 발명의 적용부위를 설명하기 위한 일반적인 독립 현가장치의 일 예를 보인 평면도.
도 2의 A, B는 일반적인 스테빌라이저 바 마운트 부시의 실시예를 보인 단면도.
도 3은 도 2 A, B의 Ⅰ,Ⅱ 부분의 미소 부위 변화 추이를 설명하기 위한 단면도.
도 4는 본 발명에 의한 마운트 부시의 사시도.
도 5는 본 발명에 의한 마운트 부시의 분해 사시도.
도 6은 본 발명에 의한 마운트 부시의 단면도.
도 7은 도 6의 Ⅲ 부분에 대한 확대도이다.
이하, 첨부한 도면을 참고로 하여 본 발명의 실시예에 대하여 본 발명이 속하는 기술 분야에서 통상의 지식을 가진 자가 용이하게 실시할 수 있도록 상세히 설명한다. 그러나 본 발명은 여러 가지 유사한 형태로 구현될 수 있으며 여기에서 설명하는 실시예에 한정되지 않는다.
본 발명을 명확하게 설명하기 위해서 설명과 관계없는 부분은 생략하였으며, 명세서 전체를 통하여 동일 또는 유사한 구성요소에 대해서는 동일한 참조 부호를 부여함을 전제한다.
도 4 내지 도 7은 본 발명에 의한 스테빌라이저 바의 마운트 부시에 대한 일 실시예를 도시한 것으로서, 부호 100은 마운트 부시 전체를 지칭한다.
상기 마운트 부시(100)는 도 4 및 도 5에서와 같이, 인서트(110), 미끄럼 베어링(120), 고무부시(130), 브라켓(150)을 포함하여 이루어진다.
상기에서 인서트(110)는 원통형 부재로서 플라스틱 재질로 이루어지며, 마운트하고자 하는 스테빌라이저 바(102)의 소정 위치 외주연에 직접 사출 형성된다.
그리고 인서트(110)의 양단부에 대직경의 플랜지(111)(112)가 형성되며, 중앙의 외주연에는 소정의 둘레턱(113)이 형성되어 미끄럼 베어링(120)을 지지하는 역할을 수행하게 된다.
또한, 상기 둘레턱(113)과 양 플랜지(111)(112) 사이에는 일정 폭과 일정 깊이를 갖는 둘레홈(114)이 형성되어 윤활제인 그리스가 충전될 수 있도록 하였다.
상기 인서트(110)와 슬립이 발생하며, 클램프 역할을 수행하는 상기 미끄럼 베어링(120)은 테프론 계열의 저마찰 소재{BI-MESH :테프론+동메쉬}로 이루어진다.
상기 테프론 계열의 저마찰 소재는 경량화 및 조립성이 우수하다는 장점이 있고, 높은 내하중과 저 마찰계수, 낮은 열팽창, 열전도성, 성형성, 내화학성이 우수하다는 특징이 있다.
그리고 상기 미끄럼 베어링(120)은 좌,우 한쌍의 베어링(121)(122)으로 이루어지며, 상기 인서트(110)의 둘레턱(113)을 기준으로 양측에 배치되고, 양단부에는 상기 인서트(110)의 플랜지(111)(112) 보다 작은 플랜지(123)(124)가 형성되어 고부무시(130)를 고정시켜 주는 역할을 수행하게 된다.
또한, 상기 미끄럼 베어링(120)을 형성하는 좌,우 베어링(121)(122)은 축방향으로 소정 형태의 절개부(125)(126)에 의하여 오픈형으로 이루어져 상기 인서트(110)와의 조립이 용이하도록 구성된다.
상기 미끄럼 베어링(120)의 외주측에 배치되는 고무부시(130)는 상,하 고무부재(131)(132)로 이루어지며, 내경부 안쪽 즉, 미끄럼 베어링(120)과 접촉되는 상,하 고무부재(131)(132)의 안쪽에는 내철(133)(134)이 매몰 형성되어 미끄럼 베어링(120)을 지지하게 된다.
또한, 상기 고무부시(130)를 형성하는 상,하 고무부재(131)(132)의 양단부측면에는 이물질 침입 및 그리스 누유 방지를 위하여 도 6에서와 같이 립(Lip;135, 136)을 형성하였다.
상기 립(135)(136)을 형성함에 있어서는 립(135)(136)의 단부가 인서트(110)의 양 플랜지(111)(112)의 외경부와 강하게 탄성적으로 밀착이 이루어질 수 있도록 형성된다.
이를 위하여 본 발명에서는 상기 립(135)(136)의 뿌리부를 단부 보다 두껍게 형성하고, 립(135)(136)의 단부까지 상기 내철(133)(134)을 연장하여 매몰되도록 함으로써, 립(135)(136)의 강성을 확보토록 하였다.
또한, 도 7에서와 같이 상기 립(135)(136)의 단부 내경부에는 제1 시일링 턱(137)(138)을 형성하여 인서트(110)의 양 플랜지(111)(112) 외측 모서리 부분을 압착할 수 있도록 하였으며, 상기 양 플랜지(111)(112)의 외주면과 접촉되는 내경부에는 제2 시일링 턱(139)(140)을 형성하여 양 플랜지(111)(112)의 외주면에 형성된 시일링 홈(115)(116)에 안착될 수 있도록 하였다.
이에 따라 상기 제1 시일링 턱(137)(138)이 외부로부터 침투하는 수분 및 이물질을 1차적으로 차단하게 되며, 상기 제2 시일링 턱(139)(140)이 인서트(110) 및 상,하 고무부재(131)(132)를 타고 침투하는 수분 및 이물질을 2차적으로 차단함과 동시에 누유를 방지함으로써, 완전한 시일링 성능을 확보할 수 있도록 하였다.
상기 브라켓(150)은 차체 또는 서브 프레임(104)과 맞닿는 하측 고무부재(106)의 하면을 제외한 전체를 감싸는 형태로 이루어져 차체 또는 서브 프레임에 고정된다.
이때 고무부시(130)의 외측면은 단면에서 볼 때 파형으로 형성하고, 브라켓(150) 또한 대응되는 파형 단면으로 형성함으로써, 고무부시(130)와 브라켓(150)의 고정력을 더욱 견고하게 하였다.
이에 따라 상기와 같이 구성되는 마운트 부시(100)는 도 4 및 도 6과 같은 형태로 스테빌리이저 바(102)를 차체 또는 서브 프레임에 고정시켜 줄 수 있게 되는 것이다.
그러면 인서트(110)가 스테빌라이저 바(102)에 직접 사출하는 방식으로 제작되는 바, 스테빌라이저 바(102)의 이탈 방지용 클램프 역할을 수행하고, 중앙 둘레턱(113)에 의하여 미끄럼 베어링(120)의 이탈을 방지할 수 있게 되는 것이다.
그리고 인서트(110)와 미끄럼 베어링(120) 사이에 윤활제인 그리스가 충전되는 바, 전 거동 구간 마찰을 최소화할 수 있게 되며, 기동 토크 구간의 최소화로 소음 발생을 방지할 수 있게 된다.
또한, 미끄럼 베어링(120)이 한쌍의 좌,우 베어링(121)(122)으로 이루어짐과 동시에 오픈형으로 이루어짐으로써, 공차 관리 및 조립성이 향상된다.
그리고 고무부시(130)의 내경부에 내철(133)(134)이 적용됨으로써, 미끄럼 베어링(120)을 변형없는 형태로 고정시켜주게 되며, 특히 상기 립(135)(136)에 의하여 재1, 2 시일링 턱(137)(138),(139)(140)에 의하여 이물질 침투 및 그리스 누유를 방지할 수 있는 바, 미끄럼 베어링(120)의 성능 저하를 방지할 수 있게 된다.
또한, 내철(133)(134)이 립(135)(136) 부분까지 연장되어 립(135)(136)을 지지하여 주게 되는 바, 차량의 롤 거동시 립(135)(136)의 변형을 최소화할 수 있게 되는 시일링 효과를 높일 수 있게 되는 것이다.
그리고 상기의 구성에 의하여 고무부재의 두께를 축소할 수 있는 바, 고무부재의 노화에 따른 고무부재의 경화 영향도 축소되어 소음 발생을 줄일 수 있게 된다.
이상을 통해 본 발명의 바람직한 실시예에 대하여 설명하였지만, 본 발명은 이에 한정되는 것이 아니고 특허청구범위와 발명의 상세한 설명 및 첨부한 도면의 범위 안에서 여러 가지로 변형하여 실시하는 것이 가능하고 이 또한 본 발명의 범위에 속하는 것은 당연하다.
100...마운트 부시 102...스테빌리이저 바
110...인서트 111,112,123,124...플랜지
113...둘레턱 114...둘레홈
115,116...시일링 홈 120...미끄럼 베어링
121,122...좌,우 베어링 125,126...절개부
130...고무부시 131,132...상,하 고무부재
133,134...내철 135,136...립
137,138...제1 시일링 턱 139,140...제2 시일링 턱

Claims (8)

  1. 스테빌라이저 바(102)의 직선부 양측을 서브 프레임(차체;104) 고정시켜 주는 마운트 부시(100)를 형성함에 있어서,
    스테빌라이저 바(102)의 고정부위에 직접 사출 형성되는 인서트(110)와;
    좌,우 한쌍의 베어링(121)(122)으로 이루어져 상기 인서트(110)의 외주면에 윤활층을 가지고 결합되는 미끄럼 베어링(120)과;
    상,하 고무부재(131)(132)로 이루어져 상기 미끄럼 베어링(120)의 외주측을 감싸는 형태로 결합되며, 양단부에 2차 시일링이 이루어지는 시일링 구조를 갖는 고무부시(130)와;
    상기 고무부시(130)를 감싸면서 서브 프레임(차체)에 고정되는 브라켓(140)을 포함하여 이루어짐을 특징으로 하는 자동차용 스테빌라이저 바의 마운트 부시.
  2. 제1항에 있어서, 인서트(110)는 스테빌라이저 바(102)의 외주면에 일정 길이를 갖고 직접 사출 성형되며, 양단부에 대직경의 플랜지(111)(112)가 형성되고, 중앙에 소정의 둘레턱(113)이 형성되며, 상기 둘레턱(113)과 양 플랜지(111)(112)사이에는 윤활제가 충진될 수 있는 둘레홈(114)이 형성됨을 특징으로 하는 자동차용 스테빌라이저 바의 마운트 부시.
  3. 제1항에 있어서, 미끄럼 베어링(120)은 좌,우 한쌍의 베어링(121)(121)으로 이루어지며, 상기 인서트(110)의 둘레턱(113)을 기준으로 양측에 배치되고, 양단부에는 고무부시(130)를 고정시켜 줄 수 있도록 상기 인서트(110)의 플랜지(111)(112) 보다 작은 플랜지(123)(124)가 형성됨을 특징으로 하는 자동차용 스테빌라이저 바의 마운트 부시.
  4. 제3항에 있어서, 미끄럼 베어링(120)을 형성하는 좌,우 베어링(121)(122)은 축방향으로 형성되는 일정 형태의 절개부(125)(126)에 의하여 오픈형으로 이루어짐을 특징으로 하는 자동차용 스테빌라이저 바의 마운트 부시.
  5. 제1항에 있어서, 고무부시(130)는 상,하 고무부재(131)(132)로 이루어지며, 미끄럼 베어링(120)과 접촉되는 내경부의 안쪽에 내철(133)(134)이 매몰 형성됨을 특징으로 하는 자동차용 스테빌라이저 바의 마운트 부시.
  6. 제5항에 있어서, 고무부시(130)를 형성하는 상,하 고무부재(131)(132)의 양단부에는 이물질 투입 및 그리스 누유 방지를 위한 립(Lip;135, 136)이 형성됨을 특징으로 하는 자동차용 스테빌라이저 바의 마운트 부시.
  7. 제5항 또는 제6항에 있어서, 립(135)(136)은 뿌리부가 단부 보다 두껍게 형성되고, 상기 립(135)(136)의 단부까지 상기 내철(133)(134)을 연장하여 매몰되도록 함을 특징으로 하는 자동차용 스테빌라이저 바의 마운트 부시.
  8. 제2항 또는 제7항에 있어서, 립(135)(136)의 내경부에는 인서트(110)의 양 플랜지(111)(112) 외측 모서리 부분을 압착할 수 있는 제1 시일링 턱(137)(138)을 형성하고, 양 플랜지(111)(112)의 외주면에 형성된 시일링 홈(115)(116)에 안착될 수 있는 제2 시일링 턱(139)(140)을 형성함을 특징으로 하는 자동차용 스테빌리아저 바의 마운트 부시.
KR1020100070996A 2010-07-22 2010-07-22 자동차용 스테빌라이저 바의 마운트 부시 Active KR101592349B1 (ko)

Priority Applications (1)

Application Number Priority Date Filing Date Title
KR1020100070996A KR101592349B1 (ko) 2010-07-22 2010-07-22 자동차용 스테빌라이저 바의 마운트 부시

Applications Claiming Priority (1)

Application Number Priority Date Filing Date Title
KR1020100070996A KR101592349B1 (ko) 2010-07-22 2010-07-22 자동차용 스테빌라이저 바의 마운트 부시

Publications (2)

Publication Number Publication Date
KR20120009132A true KR20120009132A (ko) 2012-02-01
KR101592349B1 KR101592349B1 (ko) 2016-02-11

Family

ID=45834083

Family Applications (1)

Application Number Title Priority Date Filing Date
KR1020100070996A Active KR101592349B1 (ko) 2010-07-22 2010-07-22 자동차용 스테빌라이저 바의 마운트 부시

Country Status (1)

Country Link
KR (1) KR101592349B1 (ko)

Cited By (3)

* Cited by examiner, † Cited by third party
Publication number Priority date Publication date Assignee Title
KR101315678B1 (ko) * 2012-10-16 2013-10-08 대원강업주식회사 차량용 스테빌라이저 바의 마운팅용 부시
KR101454906B1 (ko) * 2013-04-23 2014-11-04 주식회사 일진 토션 바 지지유닛 및 그 제작방법
KR20160076029A (ko) * 2014-12-22 2016-06-30 주식회사 센트랄 부시 및 그 제조 방법

Families Citing this family (1)

* Cited by examiner, † Cited by third party
Publication number Priority date Publication date Assignee Title
KR102213288B1 (ko) 2019-01-26 2021-02-05 장순길 자동차의 스태빌라이저

Citations (4)

* Cited by examiner, † Cited by third party
Publication number Priority date Publication date Assignee Title
KR20050008351A (ko) * 2003-07-15 2005-01-21 현대자동차주식회사 스테빌라이저의 고정장치
US20050286821A1 (en) * 2004-06-28 2005-12-29 Zf Friedrichshafen Ag Annular disk for a sliding bearing
JP2006076410A (ja) * 2004-09-08 2006-03-23 Mitsubishi Fuso Truck & Bus Corp 多層ブッシュを備えた車両のサスペンション構造
JP2010023642A (ja) * 2008-07-18 2010-02-04 Nhk Spring Co Ltd スタビライザー装置

Patent Citations (4)

* Cited by examiner, † Cited by third party
Publication number Priority date Publication date Assignee Title
KR20050008351A (ko) * 2003-07-15 2005-01-21 현대자동차주식회사 스테빌라이저의 고정장치
US20050286821A1 (en) * 2004-06-28 2005-12-29 Zf Friedrichshafen Ag Annular disk for a sliding bearing
JP2006076410A (ja) * 2004-09-08 2006-03-23 Mitsubishi Fuso Truck & Bus Corp 多層ブッシュを備えた車両のサスペンション構造
JP2010023642A (ja) * 2008-07-18 2010-02-04 Nhk Spring Co Ltd スタビライザー装置

Cited By (3)

* Cited by examiner, † Cited by third party
Publication number Priority date Publication date Assignee Title
KR101315678B1 (ko) * 2012-10-16 2013-10-08 대원강업주식회사 차량용 스테빌라이저 바의 마운팅용 부시
KR101454906B1 (ko) * 2013-04-23 2014-11-04 주식회사 일진 토션 바 지지유닛 및 그 제작방법
KR20160076029A (ko) * 2014-12-22 2016-06-30 주식회사 센트랄 부시 및 그 제조 방법

Also Published As

Publication number Publication date
KR101592349B1 (ko) 2016-02-11

Similar Documents

Publication Publication Date Title
KR101550598B1 (ko) 자동차용 스태빌라이저 바의 마운트 부시
KR101542956B1 (ko) 자동차용 스태빌라이저 바의 마운트 부시
US8292312B2 (en) Stabilizer bushing for vehicle
US7273317B2 (en) Thrust sliding bearing
KR101592347B1 (ko) 자동차용 스테빌라이저 바의 마운트 부시
US8434770B2 (en) Transverse link on a motor vehicle
US20150008630A1 (en) Bush
KR20120009132A (ko) 자동차용 스테빌라이저 바의 마운트 부시
KR20110132744A (ko) 자동차용 스테빌라이저 바의 마운트 부시
KR101322426B1 (ko) 자동차용 필로우 볼 부시
KR101791555B1 (ko) 저마찰형 마운팅 부시
WO2011055713A1 (ja) ブッシュ
KR20120015195A (ko) 자동차용 스테빌라이저 바의 마운트 부시
KR20110132743A (ko) 자동차용 스테빌라이저 바의 마운트 부시
RU2562012C2 (ru) Автомобильный буфер сжатия, содержащий группу из по меньшей мере двух установленных уплотнительных колец
KR102771527B1 (ko) 차량용 스테빌라이저바의 부시 장치
KR102663539B1 (ko) 차량용 스테빌라이저의 부시 장치
JP3704422B2 (ja) ステアリングブッシュ
US10227089B2 (en) Front axle of vehicle capable of reducing vibration
RU193193U1 (ru) Сайлентблок
KR20120012207A (ko) 자동차용 스테빌라이저 바의 마운트 부시
KR101795239B1 (ko) 부시 조립체
KR101878040B1 (ko) 마운팅부시 및 그 제조방법
KR102463446B1 (ko) 스테빌라이저 부시
JP2015121295A (ja) トルクロッド

Legal Events

Date Code Title Description
PA0109 Patent application

Patent event code: PA01091R01D

Comment text: Patent Application

Patent event date: 20100722

PG1501 Laying open of application
A201 Request for examination
PA0201 Request for examination

Patent event code: PA02012R01D

Patent event date: 20141013

Comment text: Request for Examination of Application

Patent event code: PA02011R01I

Patent event date: 20100722

Comment text: Patent Application

E902 Notification of reason for refusal
PE0902 Notice of grounds for rejection

Comment text: Notification of reason for refusal

Patent event date: 20150622

Patent event code: PE09021S01D

E701 Decision to grant or registration of patent right
PE0701 Decision of registration

Patent event code: PE07011S01D

Comment text: Decision to Grant Registration

Patent event date: 20151216

GRNT Written decision to grant
PR0701 Registration of establishment

Comment text: Registration of Establishment

Patent event date: 20160201

Patent event code: PR07011E01D

PR1002 Payment of registration fee

Payment date: 20160201

End annual number: 3

Start annual number: 1

PG1601 Publication of registration
FPAY Annual fee payment

Payment date: 20190130

Year of fee payment: 4

PR1001 Payment of annual fee

Payment date: 20190130

Start annual number: 4

End annual number: 4

PR1001 Payment of annual fee

Payment date: 20210127

Start annual number: 6

End annual number: 6

PR1001 Payment of annual fee

Payment date: 20220126

Start annual number: 7

End annual number: 7

PR1001 Payment of annual fee

Payment date: 20231218

Start annual number: 9

End annual number: 9