KR20120004891U - 밀폐식 냄비용 에어 배출밸브 - Google Patents

밀폐식 냄비용 에어 배출밸브 Download PDF

Info

Publication number
KR20120004891U
KR20120004891U KR2020100013515U KR20100013515U KR20120004891U KR 20120004891 U KR20120004891 U KR 20120004891U KR 2020100013515 U KR2020100013515 U KR 2020100013515U KR 20100013515 U KR20100013515 U KR 20100013515U KR 20120004891 U KR20120004891 U KR 20120004891U
Authority
KR
South Korea
Prior art keywords
pot
lid
discharge valve
air discharge
contents
Prior art date
Legal status (The legal status is an assumption and is not a legal conclusion. Google has not performed a legal analysis and makes no representation as to the accuracy of the status listed.)
Ceased
Application number
KR2020100013515U
Other languages
English (en)
Inventor
이원명
Original Assignee
이원명
Priority date (The priority date is an assumption and is not a legal conclusion. Google has not performed a legal analysis and makes no representation as to the accuracy of the date listed.)
Filing date
Publication date
Application filed by 이원명 filed Critical 이원명
Priority to KR2020100013515U priority Critical patent/KR20120004891U/ko
Publication of KR20120004891U publication Critical patent/KR20120004891U/ko
Ceased legal-status Critical Current

Links

Images

Classifications

    • AHUMAN NECESSITIES
    • A47FURNITURE; DOMESTIC ARTICLES OR APPLIANCES; COFFEE MILLS; SPICE MILLS; SUCTION CLEANERS IN GENERAL
    • A47JKITCHEN EQUIPMENT; COFFEE MILLS; SPICE MILLS; APPARATUS FOR MAKING BEVERAGES
    • A47J27/00Cooking-vessels
    • A47J27/08Pressure-cookers; Lids or locking devices specially adapted therefor
    • A47J27/09Safety devices
    • A47J27/092Devices for automatically releasing pressure before opening
    • AHUMAN NECESSITIES
    • A47FURNITURE; DOMESTIC ARTICLES OR APPLIANCES; COFFEE MILLS; SPICE MILLS; SUCTION CLEANERS IN GENERAL
    • A47JKITCHEN EQUIPMENT; COFFEE MILLS; SPICE MILLS; APPARATUS FOR MAKING BEVERAGES
    • A47J27/00Cooking-vessels
    • A47J27/08Pressure-cookers; Lids or locking devices specially adapted therefor
    • AHUMAN NECESSITIES
    • A47FURNITURE; DOMESTIC ARTICLES OR APPLIANCES; COFFEE MILLS; SPICE MILLS; SUCTION CLEANERS IN GENERAL
    • A47JKITCHEN EQUIPMENT; COFFEE MILLS; SPICE MILLS; APPARATUS FOR MAKING BEVERAGES
    • A47J27/00Cooking-vessels
    • A47J27/56Preventing boiling over, e.g. of milk
    • FMECHANICAL ENGINEERING; LIGHTING; HEATING; WEAPONS; BLASTING
    • F16ENGINEERING ELEMENTS AND UNITS; GENERAL MEASURES FOR PRODUCING AND MAINTAINING EFFECTIVE FUNCTIONING OF MACHINES OR INSTALLATIONS; THERMAL INSULATION IN GENERAL
    • F16KVALVES; TAPS; COCKS; ACTUATING-FLOATS; DEVICES FOR VENTING OR AERATING
    • F16K17/00Safety valves; Equalising valves, e.g. pressure relief valves
    • F16K17/02Safety valves; Equalising valves, e.g. pressure relief valves opening on surplus pressure on one side; closing on insufficient pressure on one side
    • F16K17/04Safety valves; Equalising valves, e.g. pressure relief valves opening on surplus pressure on one side; closing on insufficient pressure on one side spring-loaded

Landscapes

  • Engineering & Computer Science (AREA)
  • Food Science & Technology (AREA)
  • General Engineering & Computer Science (AREA)
  • Mechanical Engineering (AREA)
  • Cookers (AREA)

Abstract

본 고안은 냄비뚜껑의 연부에 밀폐용 패킹을 구비함으로써 조리와 저장기능을 겸하도록 구성되는 밀폐식 냄비의 뚜껑에 적용되어 음식물의 조리 시 내부에서 발생되는 압력을 자동적으로 외부로 배출시켜 주기위한 에어 배출밸브에 관한 것으로, 좀 더, 구체적으로는 본인의 선 등록 고안을 개량할 수 있도록 냄비의 뚜껑이 끼워지는 삽지요부의 수직면의 폭을 냄비뚜껑의 두께보다 상대적으로 크게 연장 구성함과 동시에 삽지요부의 수직면에 걸림턱을 두도록 하고 이 걸림턱을 기준으로 상, 하부 삽지홈이 분할 구성되도록 하여 에어 배출밸브의 누름과 당김에 따라 냄비뚜껑의 걸림 위치가 변경되도록 하되 이에 따라 냄비의 내부가 선택적으로 밀폐 또는 개방상태가 되도록 한 것으로, 냄비의 내용물을 가열 조리할 때 내용물이 끓어 넘칠 정도로 냄비내의 압력이 순식간에 높아지더라도 에어 배출밸브를 뽑아 올려 개방상태로 유지시키면 냄비 뚜껑을 열지 않더라도 자동으로 냄비내의 압력을 배출시켜주게 됨으로써 냄비의 가장자리로 내용물이 끓어 넘치는 것을 방지할 수 있도록 한 것이다.

Description

밀폐식 냄비용 에어 배출밸브{the air valve of the sealing type pot}
본 고안은 냄비뚜껑의 연부에 밀폐용 패킹을 구비함으로써 조리와 저장기능을 겸하도록 구성되는 밀폐식 냄비의 뚜껑에 적용되어 음식물의 조리 시 내부에서 발생되는 압력을 자동적으로 외부로 배출시켜 주기위한 에어 배출밸브에 관한 것으로, 좀 더, 구체적으로는 본인의 선 등록 고안을 개량할 수 있도록 냄비의 뚜껑이 끼워지는 삽지요부의 수직면의 폭을 냄비뚜껑의 두께보다 상대적으로 크게 연장 구성함과 동시에 삽지요부의 수직면에 걸림턱을 두도록 하고 이 걸림턱을 기준으로 상, 하부 삽지홈이 분할 구성되도록 하여 에어 배출밸브의 누름과 당김에 따라 냄비뚜껑의 걸림 위치가 변경되도록 하되 이에 따라 냄비의 내부가 선택적으로 밀폐 또는 개방상태가 되도록 한 것으로, 냄비의 내용물을 가열 조리할 때 내용물이 끓어 넘칠 정도로 냄비내의 압력이 순식간에 높아지더라도 에어 배출밸브를 뽑아 올려 개방상태로 유지시키면 냄비 뚜껑을 열지 않더라도 자동으로 냄비내의 압력을 배출시켜주게 됨으로써 냄비의 가장자리로 내용물이 끓어 넘치는 것을 방지할 수 있도록 한 것이다.
통상적으로 냄비의 뚜껑에는 음식물의 가열, 조리 시 냄비내부에서 발생되는 고압을 외부로 자연 배출시켜 뚜껑이 유동되거나 국물이 넘치는 것을 억제하여주기 위하여 소정의 배기 구조를 구비하는 바,
기존에 알려지고 있는 배기구조는 대개 뚜껑의 일부위에 작은 직경의 배기공을 천공하여 에어를 배출토록 하였던 것이나 이는 배기공이 항시 외부와 연통되는 구조이므로 조리가 완료되고 고압이 배출되어 냄비의 내부가 대기압상태로 유지하는 경우에도 외부와 연통되는 상태를 유지하므로 이를 통하여 곤충의유입이 가능한 폐단이 있으며, 직경이 매우 작은 배기공의 내연부에 묻은 이물질의 소제가 까다로워 위생적으로 불결함을 노출시키는 것이며,
전체적인 배기량이 적어 뚜껑의 유동이 초래됨은 물론 뜨거운 고압이 직상방으로 세게 배출되므로 부주의시 피부를 손상시키는 폐단이 있는 것이다.
이와 같은 기존 구조의 문제점을 감안하여 본인의 선등록 고안이 152284호"밀폐식 냄비의 자동에어 배출 밸브구조"를 제안한 바 있으며,
이의 구조는 뚜껑의 결착용구멍에 끼워지기 위하여 합성수지재질의 본체 외주연에 환형으로 요입 구성시킨 삽지홈의 상면에 에어의 배출만 가능하고 유입이 불가능하게 구성되는 역지 플랜지부를 구성함과 동시에 삽지홈의 수직면과 하면에는 뚜껑과 밀착된 상태에서도 냄비내부의 에어가 배출되는 통로를 구성할 수 있도록 다수의 배기용 요입홈을 두며 본체의 상면에는 기압차에 의해수축 및 응출될 수 있는 표시부를 두어 냄비내부의 기압이 대기압보다 작을 때 수축되어 안으로 들어가도록 함으로써 냄비의 밀폐여부를 시각적으로 측정할 수 있도록 한 것이다.
하지만 상기 선 등록구조는 에어 배출 밸브의 위치를 제어하여 냄비 내부를 선택적으로 개방할 수 있는 기능이 없고 단지 냄비 내부의 가열압력이 일정 이상으로 도달하면 역지 플랜지부가 강제적으로 들려지면서 냄비의 내부가 개방되어 압력이 배출되는 구조이어서 수분이 적거나 가열 압력의 발생이 크지 않은 내용물의 경우에는 큰 문제가 없으나 예를 들어, 내용물을 삶거나 끓이는 국물 요리의 경우 내용물이 끓어 넘칠 정도로 냄비 내의 압력이 순식간에 높아질 때 발생된 압력의 전부를 에어 배출 밸브가 배출하기에는 턱없이 부족하여 잔여 압력이 뚜껑의 가장자리를 강제적으로 밀어 올려 틈을 만들고 이 틈새를 통해 압력과 내용물이 배출되는 경우가 허다한 것으로, 냄비와 뚜껑, 및 가열기구의 오염을 초래하고, 제품의 신뢰성을 저하시키는 요인이 있었던 것이었다.
본 고안은 상기와 같은 기존의 장치에서 기인되는 제반 문제점을 해결 보완하기 위하여 안출된 것으로,
본 고안의 목적은 본인의 선 등록 고안을 개량할 수 있도록 에어 배출밸브의 누름과 당김에 따라 냄비뚜껑의 걸림 위치가 변경되도록 하고 이에 따라 냄비의 내부가 선택적으로 밀폐 또는 개방상태가 되도록 한 것으로, 냄비의 내용물을 가열 조리할 때 내용물이 끓어 넘칠 정도로 냄비내의 압력이 순식간에 높아지더라도 에어 배출밸브를 뽑아 올려 개방상태로 유지시키면 신속하고 충분하게 냄비 내의 압력을 배출시켜주게 됨으로써 번거롭게 냄비 뚜껑을 열지 않더라도 냄비의 가장자리로 내용물이 끓어 넘치는 것을 방지할 수 있는 밀폐식 냄비용 에어 배출밸브를 제공함에 있다.
상기와 같은 목적을 달성하기 위하여 본 고안은 냄비의 뚜껑이 끼워지는 삽지요부의 수직면의 폭을 냄비뚜껑의 두께보다 상대적으로 크게 연장 구성함과 동시에 삽지요부의 수직면에 걸림턱을 두도록 하여 이 걸림턱을 기준으로 상, 하부 삽지홈이 분할 구성되도록 함을 특징으로 한다.
이상과 같은 본 고안은 냄비의 내용물을 가열 조리할 때 내용물이 끓어 넘칠 정도로 냄비내의 압력이 순식간에 높아지더라도 에어 배출밸브를 뽑아 올려 개방상태로 유지시키면 충분하고도 신속하게 냄비 내의 압력을 배출시켜주게 됨으로써 냄비 뚜껑을 열지 않더라도 냄비의 가장자리로 내용물이 끓어 넘치는 것을 방지할 수 있게 됨으로써 냄비와 뚜껑 및 가열기구의 오염을 방지하고 제품의 신뢰성을 향상시키는 효과가 있는 것이다.
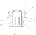
도 1은 본 고안의 구성 예를 보이는 정면 예시도.
도 2는 도 1의 종단면 예시도.
도 3은 도 1의 횡단면 예시도.
도 4는 본 고안의 밸브를 밀폐상태로 위치시킨 상태를 보이는 도면.
도 5는 본 고안의 밸브를 개방상태로 위치시킨 상태를 보이는 도면.
도 1에서 도시한 바와 같이 본 고안의 밀폐식 냄비용 에어 배출밸브(1)는,
상기 밀폐식 냄비용 에어 배출밸브(1)를 뚜껑(C)의 결착용 구멍에 끼워 결합시킬 수 있도록 합성수지재질의 본체(2)의 몸통 외주연에 환형으로 요입 구성되는 삽지요부(3)과, 밀폐식 냄비 내부의 에어 배출 기능만을 갖도록 상기 삽지요부(3)의 상면에 일체로 형성되는 환형의 역지 플랜지부(4)와, 냄비 내부의 에어가 배출되는 통로를 구성할 수 있도록 본체(2)의 내부에 하향으로 개방되는 입구를 갖도록 형성되는 중공부(5) 및 상기 중공부(5)와 연통할 수 있도록 상기 삽지요부(3)의 수직면(3')에 관통 형성되는 다수의 배기용 통공(6)을 포함하는 공지의 구조에 있어서,
상기 삽지요부(3)의 수직면(3') 외주연에 횡으로 걸림턱(10)을 일체로 돌출 구성하여 걸림턱(10)을 기준으로 상, 하부 삽지홈(20)(30)을 분할 구성토록 함을 특징으로 한다.
이와 같이 구성되는 본 고안의 작용을 상세히 설명하면 다음과 같다.
본 고안의 에어 배출밸브(1)는 본체(1)의 하단을 수축시켜 상부 또는 하부 삽지홈(20)(30)중 하나에 뚜껑(C)이 끼워지도록 결합하게 되는 것으로,
본 고안의 재질은 뛰어난 탄성 복원력과 밀착력, 내수, 내열성이 우수한 특성을 갖는 실리콘 수지계통이나 고무계통 등이 주로 이용될 수 있다.
도 4는 본 고안 에어 배출밸브(1)의 상부 삽지홈(20)에 뚜껑(C)이 결합 위치된 상태를 보이는 것으로, 역지 플랜지부(4)는 에어 배출밸브(1)의 자중에 의해 뚜껑(C)의 표면에 밀착되어 있는 상태로서 냄비의 내, 외부로의 공기유통이 차단된 상태로서 외부의 이물질이 냄비의 내부로 유입될 수 없는 상태이다.
이 상태에서 음식물을 조리하기 위하여 냄비를 가열하게 되면 공기의 팽창으로 인하여 냄비의 내부에 고압이 발생하게 되고 이로 인해 고압의 공기는 중공부(5)를 통해 배기용 통공(6)으로 유입되면서 역지 플랜지부(3)를 강제적으로 들춰 올리면서 외부로 배출되는 것이며, 내압이 완전히 배출되면 역지 플랜지부(4)는 에어 배출밸브(1)의 자중에 의해 자동적으로 뚜껑의 표면에 밀착되면서 냄비의 내부를 밀폐하게 되는 것이다.
이와 같이 냄비의 내부에서 발생된 내압이 역지 플랜지부(4)를 변형시키면서 그 틈을 통해 외부로 배출되는 과정은 본인의 선 등록 고안에서도 유사하게 이루어짐은 물론이다.
한편 도 4에서와 같은 에어 배출밸브(1)의 밀폐상태에서 삶거나 끓이는 국물 요리를 함으로써 내용물이 끓어 넘칠 우려가 있는 경우에는 미리 에어 배출밸브(1)의 밀폐상태를 해제시켜 내용물의 넘침을 방지하게 되는 것으로, 이를 위해 먼저 에어 배출밸브(1)를 잡고 위로 당겨주게 되면 당김력에 의해 걸림턱(10)이 변형됨과 동시에 수직면(3')이 수축되면서 걸림턱(10)이 뚜껑(C)의 결착용 구멍을 통과하여 상부로 노출되고 이와 동시에 변형 압력이 없어진 걸림턱(10)과 수직면(3')은 자체적인 탄성력으로 원형 복귀되어 도 5에서와 같이 하부 삽지홈(30)에 뚜껑(C)이 결합 위치하게 된다.
이와 같이 위로 뽑혀진 상태로 유지된 에어 배출밸브(1)는 배기용 통공(6)과 역지 플랜지부(4)가 뚜껑(C)의 외부로 노출되어 냄비의 내부가 외부와 연통되어 개방상태를 유지하고 있는 상태가 되며 이와 같은 도 5의 상태에서는 삶거나 끓이는 국물 요리를 함으로써 내용물이 끓어 넘칠 우려가 있는 경우에도 이미 배기용 통공(6)의 전부가 최대한의 개방상태를 유지하게 됨으로써 충분한 개방공간을 확보할 수 있어 내용물의 가열시 발생되는 많은 량의 고압을 충분하고도 여유있게 배출시키는 것이 가능하여 내용물의 넘침을 방지하게 되는 것이다.
한편 끓어 넘침의 우려가 적거나 내압의 발생이 적은 단순한 조리 방식의 경우 또는 그 외 밀폐상태를 유지할 필요성이 있는 경우에는 에어 배출밸브(1)를 잡고 밑으로 눌러 주게 되면 누름 압력에 의해 걸림턱(10)이 변형됨과 동시에 수직면(3')이 수축되면서 걸림턱(10)이 뚜껑(C)의 결착용 구멍을 통과하여 저부로 노출되고 이와 동시에 변형 압력이 없어진 걸림턱(10)과 수직면(3')은 자체적인 탄성력으로 원형 복귀되어 도 4에서와 같이 상부 삽지홈(20)에 뚜껑(C)이 결합 위치하게 된다.
이상에서는, 본 고안의 일실시 예를 설명하였지만, 본 고안이 속하는 기술 분야에서 통상의 지식을 가진 자가 본 고안의 기술적 사상을 벗어나지 않는 범위 내에서 변경 및 변형한 것도 본 고안의 권리범위에 속함은 당연하다.
1:밀폐식 냄비용 에어 배출밸브 2:본체
3:삽지요부 4:역지 플랜지부
5:중공부 6:배기용 통공
10:걸림턱 20:상부 삽지홈
30:하부 삽지홈

Claims (1)

  1. 상기 밀폐식 냄비용 에어 배출밸브(1)를 뚜껑(C)의 결착용 구멍에 끼워 결합시킬 수 있도록 합성수지재질의 본체(2)의 몸통 외주연에 환형으로 요입 구성되는 삽지요부(3)과, 밀폐식 냄비 내부의 에어 배출 기능만을 갖도록 상기 삽지요부(3)의 상면에 일체로 형성되는 환형의 역지 플랜지부(4)와, 냄비 내부의 에어가 배출되는 통로를 구성할 수 있도록 본체(2)의 내부에 하향으로 개방되는 입구를 갖도록 형성되는 중공부(5) 및 상기 중공부(5)와 연통할 수 있도록 상기 삽지요부(3)의 수직면(3')에 관통 형성되는 다수의 배기용 통공(6)을 포함하는 공지의 구조에 있어서,
    상기 삽지요부(3)의 수직면(3') 외주연에 횡으로 걸림턱(10)을 일체로 돌출 구성하여 이 걸림턱(10)을 기준으로 상, 하부 삽지홈(20)(30)을 분할 구성토록 함을 특징으로 하는 밀폐식 냄비용 에어 배출밸브.
KR2020100013515U 2010-12-27 2010-12-27 밀폐식 냄비용 에어 배출밸브 Ceased KR20120004891U (ko)

Priority Applications (1)

Application Number Priority Date Filing Date Title
KR2020100013515U KR20120004891U (ko) 2010-12-27 2010-12-27 밀폐식 냄비용 에어 배출밸브

Applications Claiming Priority (1)

Application Number Priority Date Filing Date Title
KR2020100013515U KR20120004891U (ko) 2010-12-27 2010-12-27 밀폐식 냄비용 에어 배출밸브

Publications (1)

Publication Number Publication Date
KR20120004891U true KR20120004891U (ko) 2012-07-05

Family

ID=46853010

Family Applications (1)

Application Number Title Priority Date Filing Date
KR2020100013515U Ceased KR20120004891U (ko) 2010-12-27 2010-12-27 밀폐식 냄비용 에어 배출밸브

Country Status (1)

Country Link
KR (1) KR20120004891U (ko)

Cited By (5)

* Cited by examiner, † Cited by third party
Publication number Priority date Publication date Assignee Title
CN111281134A (zh) * 2020-04-02 2020-06-16 小熊电器股份有限公司 提供限压排气的锅盖及微压力锅
CN115163898A (zh) * 2022-07-20 2022-10-11 台州长骁机械厂 防堵塞防脱落排气阀
CN116350088A (zh) * 2021-12-27 2023-06-30 九阳股份有限公司 一种空气炸锅
KR102699738B1 (ko) * 2024-01-25 2024-08-28 주식회사 써니쿡 넘침 방지용 저압 냄비뚜껑
CN118787249A (zh) * 2024-09-13 2024-10-18 宁波方太厨具有限公司 排气结构及烹饪设备

Cited By (6)

* Cited by examiner, † Cited by third party
Publication number Priority date Publication date Assignee Title
CN111281134A (zh) * 2020-04-02 2020-06-16 小熊电器股份有限公司 提供限压排气的锅盖及微压力锅
CN111281134B (zh) * 2020-04-02 2024-05-17 小熊电器股份有限公司 提供限压排气的锅盖及微压力锅
CN116350088A (zh) * 2021-12-27 2023-06-30 九阳股份有限公司 一种空气炸锅
CN115163898A (zh) * 2022-07-20 2022-10-11 台州长骁机械厂 防堵塞防脱落排气阀
KR102699738B1 (ko) * 2024-01-25 2024-08-28 주식회사 써니쿡 넘침 방지용 저압 냄비뚜껑
CN118787249A (zh) * 2024-09-13 2024-10-18 宁波方太厨具有限公司 排气结构及烹饪设备

Similar Documents

Publication Publication Date Title
AU2014319872B2 (en) Pressure cooker
EP2342996B1 (en) Microwave pressure cooker
KR101272819B1 (ko) 음식 용기용 진공 패킹
KR20120004891U (ko) 밀폐식 냄비용 에어 배출밸브
KR101332512B1 (ko) 조리기구용 뚜껑
KR101136091B1 (ko) 넘침방지 조리기구용 뚜껑
KR101993191B1 (ko) 상시 개방이 가능한 진공 용기용 체크밸브
KR101409033B1 (ko) 넘침방지 기능을 갖춘 조리 용기 뚜껑
KR200152284Y1 (ko) 밀폐식 냄비의 자동에어 배출 밸브구조
CN206166615U (zh) 易于泄压的压力密封盖蒂
KR101415804B1 (ko) 진공냄비뚜껑용 체크밸브
US20070228051A1 (en) Membrane for closing containers in general, and a product preservation device comprising said membrane
KR101325784B1 (ko) 진공가능한 밀폐냄비의 패킹결합구조
KR102338728B1 (ko) 진공 냄비
KR101436886B1 (ko) 진공 가능한 냄비의 뚜껑용 패킹
TWI702356B (zh) 真空容器閥
JP5635537B2 (ja) 操作弁および圧力調理器
KR20170111304A (ko) 진공 냄비
KR200443548Y1 (ko) 압력밥솥의 안전장치
KR101795729B1 (ko) 진공 가능한 냄비 뚜껑용 체크밸브 및 이를 이용한 진공 가능한 냄비용 뚜껑
KR20080011738A (ko) 조리 용기용 스팀 벤트 밸브
CN205053766U (zh) 一种壶盖组件及热水壶
KR101482075B1 (ko) 조리용기의 뚜껑
CN214002670U (zh) 一种容器密封盖
CN106943007A (zh) 一种加热水壶上用防烫伤装置

Legal Events

Date Code Title Description
UA0108 Application for utility model registration

St.27 status event code: A-0-1-A10-A12-nap-UA0108

UG1501 Laying open of application

St.27 status event code: A-1-1-Q10-Q12-nap-UG1501

R18-X000 Changes to party contact information recorded

St.27 status event code: A-3-3-R10-R18-oth-X000

A201 Request for examination
UA0201 Request for examination

St.27 status event code: A-1-2-D10-D11-exm-UA0201

E902 Notification of reason for refusal
UE0902 Notice of grounds for rejection

St.27 status event code: A-1-2-D10-D21-exm-UE0902

E902 Notification of reason for refusal
UE0902 Notice of grounds for rejection

St.27 status event code: A-1-2-D10-D21-exm-UE0902

UE0601 Decision on rejection of utility model registration

St.27 status event code: N-2-6-B10-B15-exm-UE0601

P22-X000 Classification modified

St.27 status event code: A-2-2-P10-P22-nap-X000

P22-X000 Classification modified

St.27 status event code: A-2-2-P10-P22-nap-X000

R18-X000 Changes to party contact information recorded

St.27 status event code: A-3-3-R10-R18-oth-X000

R18-X000 Changes to party contact information recorded

St.27 status event code: A-3-3-R10-R18-oth-X000

R18-X000 Changes to party contact information recorded

St.27 status event code: A-3-3-R10-R18-oth-X000