KR20120003286A - 구동형 자바라식 자동컨베이어 - Google Patents

구동형 자바라식 자동컨베이어 Download PDF

Info

Publication number
KR20120003286A
KR20120003286A KR1020100064055A KR20100064055A KR20120003286A KR 20120003286 A KR20120003286 A KR 20120003286A KR 1020100064055 A KR1020100064055 A KR 1020100064055A KR 20100064055 A KR20100064055 A KR 20100064055A KR 20120003286 A KR20120003286 A KR 20120003286A
Authority
KR
South Korea
Prior art keywords
roller
driving
drive
bellows
feed roller
Prior art date
Legal status (The legal status is an assumption and is not a legal conclusion. Google has not performed a legal analysis and makes no representation as to the accuracy of the status listed.)
Granted
Application number
KR1020100064055A
Other languages
English (en)
Other versions
KR101187770B1 (ko
Inventor
임병철
Original Assignee
(주)은성이엔지
Priority date (The priority date is an assumption and is not a legal conclusion. Google has not performed a legal analysis and makes no representation as to the accuracy of the date listed.)
Filing date
Publication date
Application filed by (주)은성이엔지 filed Critical (주)은성이엔지
Priority to KR20100064055A priority Critical patent/KR101187770B1/ko
Publication of KR20120003286A publication Critical patent/KR20120003286A/ko
Application granted granted Critical
Publication of KR101187770B1 publication Critical patent/KR101187770B1/ko
Expired - Fee Related legal-status Critical Current
Anticipated expiration legal-status Critical

Links

Images

Classifications

    • BPERFORMING OPERATIONS; TRANSPORTING
    • B65CONVEYING; PACKING; STORING; HANDLING THIN OR FILAMENTARY MATERIAL
    • B65GTRANSPORT OR STORAGE DEVICES, e.g. CONVEYORS FOR LOADING OR TIPPING, SHOP CONVEYOR SYSTEMS OR PNEUMATIC TUBE CONVEYORS
    • B65G13/00Roller-ways
    • B65G13/02Roller-ways having driven rollers
    • B65G13/06Roller driving means
    • BPERFORMING OPERATIONS; TRANSPORTING
    • B65CONVEYING; PACKING; STORING; HANDLING THIN OR FILAMENTARY MATERIAL
    • B65GTRANSPORT OR STORAGE DEVICES, e.g. CONVEYORS FOR LOADING OR TIPPING, SHOP CONVEYOR SYSTEMS OR PNEUMATIC TUBE CONVEYORS
    • B65G13/00Roller-ways
    • B65G13/11Roller frames
    • B65G13/12Roller frames adjustable
    • BPERFORMING OPERATIONS; TRANSPORTING
    • B65CONVEYING; PACKING; STORING; HANDLING THIN OR FILAMENTARY MATERIAL
    • B65GTRANSPORT OR STORAGE DEVICES, e.g. CONVEYORS FOR LOADING OR TIPPING, SHOP CONVEYOR SYSTEMS OR PNEUMATIC TUBE CONVEYORS
    • B65G15/00Conveyors having endless load-conveying surfaces, i.e. belts and like continuous members, to which tractive effort is transmitted by means other than endless driving elements of similar configuration
    • B65G15/22Conveyors having endless load-conveying surfaces, i.e. belts and like continuous members, to which tractive effort is transmitted by means other than endless driving elements of similar configuration comprising a series of co-operating units
    • B65G15/26Conveyors having endless load-conveying surfaces, i.e. belts and like continuous members, to which tractive effort is transmitted by means other than endless driving elements of similar configuration comprising a series of co-operating units extensible, e.g. telescopic
    • BPERFORMING OPERATIONS; TRANSPORTING
    • B65CONVEYING; PACKING; STORING; HANDLING THIN OR FILAMENTARY MATERIAL
    • B65GTRANSPORT OR STORAGE DEVICES, e.g. CONVEYORS FOR LOADING OR TIPPING, SHOP CONVEYOR SYSTEMS OR PNEUMATIC TUBE CONVEYORS
    • B65G21/00Supporting or protective framework or housings for endless load-carriers or traction elements of belt or chain conveyors
    • B65G21/10Supporting or protective framework or housings for endless load-carriers or traction elements of belt or chain conveyors movable, or having interchangeable or relatively movable parts; Devices for moving framework or parts thereof
    • B65G21/14Supporting or protective framework or housings for endless load-carriers or traction elements of belt or chain conveyors movable, or having interchangeable or relatively movable parts; Devices for moving framework or parts thereof to allow adjustment of length or configuration of load-carrier or traction element
    • BPERFORMING OPERATIONS; TRANSPORTING
    • B65CONVEYING; PACKING; STORING; HANDLING THIN OR FILAMENTARY MATERIAL
    • B65GTRANSPORT OR STORAGE DEVICES, e.g. CONVEYORS FOR LOADING OR TIPPING, SHOP CONVEYOR SYSTEMS OR PNEUMATIC TUBE CONVEYORS
    • B65G23/00Driving gear for endless conveyors; Belt- or chain-tensioning arrangements
    • B65G23/02Belt- or chain-engaging elements
    • B65G23/04Drums, rollers, or wheels
    • B65G23/08Drums, rollers, or wheels with self-contained driving mechanisms, e.g. motors and associated gearing
    • BPERFORMING OPERATIONS; TRANSPORTING
    • B65CONVEYING; PACKING; STORING; HANDLING THIN OR FILAMENTARY MATERIAL
    • B65GTRANSPORT OR STORAGE DEVICES, e.g. CONVEYORS FOR LOADING OR TIPPING, SHOP CONVEYOR SYSTEMS OR PNEUMATIC TUBE CONVEYORS
    • B65G39/00Rollers, e.g. drive rollers, or arrangements thereof incorporated in roller-ways or other types of mechanical conveyors 
    • B65G39/10Arrangements of rollers
    • B65G39/12Arrangements of rollers mounted on framework

Landscapes

  • Engineering & Computer Science (AREA)
  • Mechanical Engineering (AREA)
  • Rollers For Roller Conveyors For Transfer (AREA)

Abstract

본 발명은 원통체 형상으로 이루어져서 수평으로 나란하게 배치된 이송롤러(20)와, 이 이송롤러(20)의 일단부 또는 양단부에 결합되는 구동롤러(30)로 구성된 단위롤러(10); 상기 롤러(10)의 양단부에 구비되며, X자 형상인 링크단위체(41)의 상단 및 하단이 인접된 링크단위체(41)의 상단 및 하단과 각각 힌지결합되어 이루어진 한 쌍의 자바라프레임(40); 상기 롤러(10) 사이사이에 배치되도록 상기 자바라프레임(40)에 결합된 회전축부재(60); 상기 롤러(10)의 일단부 또는 양단부에 구비된 구동롤러(30)와 이 구동롤러(30)의 인접된 양측 회전축부재(60)를 각각 연결하는 복수개의 타이밍벨트(70); 및 상기 구동롤러(30) 또는 회전축부재(60)를 회전시키는 구동모터(80);를 포함하여 구성된 것을 특징으로 하는 구동형 자바라식 자동컨베이어가 제공된다.

Description

구동형 자바라식 자동컨베이어{A foldable auto conveyor}
본 발명은 구동형 자바라식 자동컨베이어에 관한 것으로, 보다 상세하게는 구조가 간단하면서도 자동으로 롤러를 회전시켜서 힘이 들지 않아서 이송작업이 편리하며, 이송물품이 적체되더라도 별도의 조작이나 장치를 구비하지 않고도 이에 의한 과부하가 방지되어 부품의 손상이 방지되는 구동형 자바라식 자동컨베이어에 관한 것이다.
물류창고 등지에서 물품의 상하차 또는 물품의 분류를 위해서 물품을 이송시키는 컨베이어가 사용된다. 이러한 컨베이어는 물품을 운반하는 각 위치간의 거리에 대응되는 길이로 제작되는데, 보관이 불편함은 물론 거리가 변화될 때에는 사용하기가 어려운 문제가 있었다.
이러한 문제점을 극복하고자 자바라식 컨베이어가 개발되었다. 도 1은 이러한 종래 자바라식 컨베이어의 일례를 도시한 것으로, 도시된 바와 같이, 다수의 원통형 롤러(2)가 상하로 지그재그 장착된 자바라프레임(4)을 포함하는데, 이 자바라프레임(4)은 길이조절이 가능하여 보관이 용이할 뿐만 아니라 수평으로 휘어질 수 있어서, 임의의 곡선루트로 컨베이어를 배치할 수 있다. 또한, 자바라프레임(4)의 하단에는 바퀴(6)가 장착되어 원하는 위치로 용이하게 이동시킬 수 있다.
그런데, 이러한 종래 컨베이어는 롤러(2)가 자체적으로 회전되지 않으므로, 작업자가 물품을 롤러(2)들의 상면에서 밀어주어야만 물품을 이송시킬 수 있어서, 작업은 힘이 많이 들고 매우 번거로운 문제가 있었다. 또한, 자바라프레임(4)이 수평으로 많이 휘어져 있는 경우, 작업자가 물품을 밀게 되면 물품이 롤러(2)를 이탈할 수도 있어서 물품이 손상되는 문제도 있다. 이에 따라, 물품을 휘어진 부위 전까지 밀고나서 작업자가 이동하여 물품을 다시 밀어야만 하므로 매우 번거로운 문제가 있다.
본 발명은 전술한 바와 같은 문제점을 해결하기 위한 것으로, 본 발명의 목적은 구조가 간단하면서도 작업자가 물품을 밀지 않아도 자동으로 물품이 이송되어 작업이 매우 편리하며 이송되던 물품이 적체되더라도 이를 위한 별도의 조작이나 장치가 없어도 구동모터에 과부하가 걸리지 않도록 하여 부품의 손상이 방지되는 구동형 자바라식 자동컨베이어를 제공하는 것에 있다.
본 발명의 특징에 따르면, 원통체 형상으로 이루어져서 수평으로 나란하게 배치된 이송롤러(20)와, 이 이송롤러(20)의 일단부 또는 양단부에 결합되는 구동롤러(30)로 구성된 단위롤러(10);
상기 롤러(10)의 양단부에 구비되며, X자 형상인 링크단위체(41)의 상단 및 하단이 인접된 링크단위체(41)의 상단 및 하단과 각각 힌지결합되어 이루어진 한 쌍의 자바라프레임(40);
상기 롤러(10) 사이사이에 배치되도록 상기 자바라프레임(40)에 결합된 회전축부재(60);
상기 롤러(10)의 일단부 또는 양단부에 구비된 구동롤러(30)와 이 구동롤러(30)의 인접된 양측 회전축부재(60)를 각각 연결하는 복수개의 타이밍벨트(70); 및
상기 구동롤러(30) 또는 회전축부재(60)를 회전시키는 구동모터(80);를 포함하여 구성된 것을 특징으로 하는 구동형 자바라식 자동컨베이어가 제공된다.
본 발명의 다른 특징에 따르면, 상기 구동롤러(30)는 이송롤러(20)에 끼움결합되어, 상기 구동모터(80)의 회전력 및 타이밍벨트(70)의 장력에 의해 구동롤러(30)와 마찰되면서 이송롤러(20)가 회전되며, 상기 구동모터(80)에 소정의 과부하가 걸릴 때에는 구동롤러(30)가 이송롤러(20)에서 슬립되는 것을 특징으로 하는 구동형 자바라식 자동컨베이어가 제공된다.
본 발명의 다른 특징에 따르면, 상기 이송롤러(20)의 일단 또는 양단면에는 중공 또는 홈 형태의 끼움공(21)이 형성되고, 상기 구동롤러(30)의 일단에는 상기 끼움공(21)에 끼워지는 끼움부(32)가 형성되며, 상기 구동롤러(30)의 끼움부(32)에는 링체(35)가 끼워지는 것을 특징으로 하는 구동형 자바라식 자동컨베이어가 제공된다.
이상에서와 같이 본 발명에 의하면, 길이방향을 따라 신축되는 자바라프레임(40)이 구비된 컨베이어에서, 이송롤러(20)의 일단 또는 양단에 구동롤러(30)가 결합된 단위롤러(10)에 구동모터(80)의 동력을 전달함으로써, 절첩되어 보관 및 사용이 편리하면서도 작업자가 이송롤러(20)에서 물품을 직접 밀어낼 필요 없이 자동으로 물품을 이송시킬 수 있어서 작업이 편리한 컨베이어를 제공할 수 있다. 한편, 구동롤러(30)에 타이밍벨트(70)를 이용하여 구동력을 전달하도록 구성함으로써, 전체적으로 구조가 간단하면서도 소음이 저감됨은 물론 자바라프레임(40)이 수평으로 휘어지더라도 타이밍벨트(70)의 이탈 및 동력전달력 감소 등이 방지되는 효과가 있다.
그리고, 이송롤러(20)가 구동롤러(30)와의 마찰에 의해 회전되면서도 특정한 경우에 구동롤러(30)가 이송롤러(20)에서 슬립되도록 구성함으로써, 물품이 적체되더라도 별도의 제어장치나 조작 없이도 구동모터(80)의 과부하를 방지할 수 있어서 비용을 절감하면서도 부품이 소손되는 것을 방지할 수 있는 효과가 있다. 또한, 상기 이송롤러(20)에 끼워지는 구동롤러(30)의 일단부에는 링체(35)가 끼워져서, 구동롤러(30)에서 이송롤러(20)로 전달되는 마찰력이 링체(35)를 매개로 어느 정도 감소되므로, 구동모터(80)에 과부하가 걸릴 때 구동롤러(30)가 이송롤러(20)에서 좀 더 효과적으로 슬립됨으로써 구동모터(80)의 손상이 방지되고 구동모터(80)의 정지 및 재가동에 따른 소비전력의 낭비를 방지할 수 있는 효과가 있다.
도 1은 종래 컨베이어의 일례를 도시한 사시도
도 2는 본 발명에 따른 자바라식 자동 컨베이어의 일실시예를 도시한 측면도
도 3은 상기 실시예의 정면도
도 4는 상기 실시예 중 롤러의 분해사시도
도 5는 상기 실시예의 중요부위를 도시한 분해사시도
도 6은 상기 실시예 중 구동모터의 설치위치의 변형례를 도시한 측면도
도 7은 도 6의 일부를 도시한 평면도
상술한 본 발명의 목적, 특징들 및 장점은 다음의 상세한 설명을 통하여 보다 분명해질 것이다. 이하, 본 발명의 바람직한 실시예를 첨부한 도면에 의거하여 설명하면 다음과 같다.
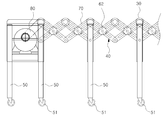
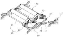
도 2는 본 발명에 따른 자바라식 자동 컨베이어의 바람직한 일실시예를 도시한 측면도이고, 도 3은 상기 실시예의 정면도이며, 도 4는 상기 실시예 중 롤러의 분해 사시도이고, 도 5는 상기 실시예의 중요부위를 도시한 분해사시도이며, 도 6 및 도 7은 구동모터의 설치위치의 변형례를 도시한 측면도 및 평면도이다.
도시된 바와 같이, 본 발명의 일실시예에 따른 구동형 자바라식 자동 컨베이어는 원통체 형상으로 이루어져서 수평으로 나란하게 배치된 이송롤러(20)와, 이 이송롤러(20)의 일단부 또는 양단부에 결합되는 구동롤러(30)로 구성된 단위롤러(10); 상기 단위롤러(10)의 양단부에 구비되며, X자 형상인 링크단위체(41)의 상단 및 하단이 인접된 링크단위체(41)의 상단 및 하단과 각각 힌지결합되어 이루어진 한 쌍의 자바라프레임(40); 상기 구동롤러(30) 사이사이에 배치되도록 상기 자바라식프레임(40)에 결합된 회전축부재(60); 상기 단위롤러(10)의 일단부 또는 양단부에 구비된 구동롤러(30)와 이 구동롤러(30)의 인접된 양측 회전축부재(60)를 각각 연결하는 복수개의 타이밍벨트(70); 및 상기 구동롤러(30) 또는 회전축부재(60)를 회전시키는 구동모터(80);를 포함하여 구성된다.
상기 단위롤러(10)는 이송롤러(20)와 구동롤러(30)로 구성되며, 구동롤러(30)가 단위롤러(10)의 일단부 또는 양단부에 결합된다. 이때, 볼트나 리벳 등의 고정구로 구동롤러(30)가 이송롤러(20)에서 슬립되지 않도록 결합시킬 수 있다. 다만, 본 실시예에서는 구동롤러(30)가 이송롤러(20)에서 슬립될 수 있도록 구성되는 것을 예시하였다. 이송롤러(20)는 원통체 형상이며 일단부면 또는 양단부면에 홈 또는 중공 형태의 끼움공(21)이 형성된다. 또한, 상기 이송롤러(20)의 내주면 중 적어도 끼움공(21)의 내주면은 합성수지재로 이루어진다. 그리고, 상기 구동롤러(30)는 합성수지재로 성형되며, 단관 또는 원통체 형상으로 이루어지고, 일단부에는 상기 이송롤러(20)의 끼움공(21)에 끼워지는 끼움부(32)가 형성된다. 이때, 구동롤러(30)의 외주면에는 원주방향을 따라 걸림턱(34)이 형성되어, 이 걸림턱(34)이 이송롤러(20)의 단부면에 걸려진다.
그리고, 상기 구동롤러(30)는 이송롤러(20)의 일단부 또는 양단부에 결합될 수 있는데, 본 실시예에서는 상기 구동롤러(30)가 이송롤러(20)의 일단부면에 끼워지는 것을 예시하였으며, 이에 따라 구동롤러(30)에는 격벽(31)에 의해 구획된 두 개의 톱니부(33)가 형성된다. 이때, 구동롤러(30)가 이송롤러(20)의 양단부에 결합될 경우에는 구동롤러(30)의 톱니부(33)가 하나만 형성될 수 있을 것이다. 바람직하게는, 구동롤러(30)가 이송롤러(20)의 일단부에 결합되도록 구성함으로써, 부품수를 줄일 수 있어서 보다 조립이 용이하고 조립시간을 단축시킬 수 있다. 한편, 상기 끼움부(32)에는 링체(35)가 끼워지며, 이 링체(35)는 이송롤러(20)의 끼움공(21)의 내주면과 마찰을 통해 구동롤러(30)의 토크를 이송롤러(20)에 전달하게 된다.
상기 자바라프레임(40)은 X자 형상으로 구성된 링크단위체(41)의 상단 및 하단이 인접된 링크단위체(41)의 상단 및 하단에 각각 힌지결합된다. 이에 따라, 도시된 바와 같이, 상하로 복수개의 절첩부(42, 43, 44)가 형성되는데, 편의상 상측에서 하측 순서로 제1, 제2, 제3절첩부(42, 43, 44)로 설명하겠다. 또한, 상기 자바라프레임(40)은 한 쌍이 서로 이격되어 평행하게 배치되며, 길이방향의 양단부에는 자바라프레임(40)을 지면으로부터 이격시키는 지지프레임(50)이 구비되며, 이 지지프레임(50)에는 바퀴(51)가 장착된다. 이 지지프레임(50)은 자바라프레임(40)의 중간부에 간헐적으로 구비되어 자바라프레임(40)을 보다 안정적으로 지지할 수 있다.
그리고, 상기 복수개의 단위롤러(10)는 한 쌍의 자바라프레임(40) 사이에 구비되는데, 자바라프레임(40)의 길이방향을 따라 소정간격 이격되게 나란하게 배치된다. 이때, 상기 단위롤러(10)의 양단은 자바라프레임(40)의 제1절첩부(42)에 회전가능하게 결합되는데, 단위롤러(10)에는 도시안된 앤드캡과 회전축이 구비되어, 회전가능하게 결합된다.
상기 회전축부재(60)는 상기 한 쌍의 자바라프레임(40) 사이에 구비되고, 자바라프레임(40)의 제2절첩부(43)에 회전가능하게 결합된다. 이때, 회전축부재(60)는 양측 자바라프레임(40)의 제2절첩부(42)에 양단이 결합된 지지바(61)와, 이 지지바(61)의 일단부 또는 양단부에 회전가능하게 결합된 회전롤러(62)로 구성된다. 이때, 회전롤러(62)는 상기 구동롤러(30)와 동일한 형상으로 이루어지는데, 본 실시예에서는 구동롤러(30)와 동일하게 두 개의 톱니부(33)가 형성된다.
상기 타이밍벨트(70)는 상기 구동롤러(30)와 인접된 회전롤러(62)를 연결하는데, 구동롤러(30)와 인접된 양측 회전롤러(62)를 두 개의 타이밍벨트(70)가 각각 연결한다. 이는 구동롤러(30)와 회전롤러(62)에 형성된 두 개의 톱니부(33)로 인해서 가능하며, 서로 간섭없이 동력이 전달된다.
상기 구동모터(80)는 최외측단에 구비된 지지프레임(50)에 설치된다. 이 구동모터(80)의 구동축과 구동롤러(30) 또는 회전롤러(62)가 타이밍벨트(70)로 연결되어, 구동모터(80)의 동력이 각 구동롤러(30)에 전달됨으로써 이송롤러(20)가 회전되어 물품을 이송하게 된다. 그리고, 상기 구동모터(80)의 구동력과 타이밍벨트(70)의 장력 및 이송롤러(20)의 자중에 의해 구동롤러(30)의 끼움부(32)가 이송롤러(20)의 끼움공(21) 내주면 일부를 가압함으로써, 구동모터(80)의 구동력이 이송롤러(20)에 전달되게 된다.
한편, 도 6 및 도 7에 도시된 바와 같이, 구동모터(80)가 중간의 구동롤러(30) 또는 회전롤러(62)에 연결 설치될 수도 있는데, 구동모터(80)의 구동축이 회전롤러(62)의 톱니부(33)와 타이밍벨트(70)로 연결되고, 이 회전롤러(62)의 다른 톱니부(33)와 인접된 양측의 구동롤러(30)의 톱니부(33)가 타이밍벨트(70)로 연결된다. 따라서, 구동모터(80)가 최외측단에 구비된 지지프레임(50)들 사이에 구비되어 컨베이어의 부피를 좀 더 줄일 수 있어 보관이 용이할 뿐만 아니라 구동모터(80)의 구동력이 중앙에서 양측으로 전달되므로 전달거리가 좀 더 짧아져서 동력전달이 보다 잘 이루어지게 된다. 한편, 구동모터(80)를 중간의 구동롤러(30) 또는 회전롤러(62)에 연결할 경우, 이 구동모터(80)의 구동축과 타이밍벨트(70)에 의해 연결되는 구동롤러(30) 또는 회전롤러(62)에 톱니부(33)가 하나 더 형성되거나 경우에 따라서는 이송롤러(20)의 반대쪽에 구동롤러(30)가 구비될 수도 있다.
이와 같이 구성된 본 발명 자바라식 자동 컨베이어의 작동과정을 설명하면 다음과 같다.
우선, 물품의 적재장소에서 운반장소까지 컨베이어를 설치하게 되는데, 양측 최외측단에 구비된 지지프레임(50)을 상기 적재장소와 운반장소에 각각 위치되도록 컨베이어를 펼친다. 이때, 자바라프레임(40)이 수평으로 휘어질 수 있다. 이와 같이 컨베이어를 배치시키고 구동모터(80)를 구동시키게 되면, 구동모터(80)의 동력이 타이밍벨트(70)에 의해 각 구동롤러(30)와 회전롤러(62)에 전달된다. 따라서, 구동롤러(30)와 회전롤러(62)를 연결하는 타이밍벨트(70)가 회전되면서 구동롤러(30)에 작용하는 토크가 이송롤러(20)에 전달되어 이송롤러(20)도 회전하게 되며, 이송롤러(20)의 회전을 통해 물품이 이송된다. 본 발명은 탄성을 지닌 타이밍벨트(70)를 이용함으로써, 체인에 비해 조립이 용이하고 소음이 저감되며, 자바라프레임(40)이 수평으로 휘어질 때 체인은 이탈되거나 비틀려져서 동력전달이 잘 이루어지지 않는 반면, 타이밍벨트(70)는 체인에 비해 탄력적이어서 이탈되거나 비틀리더라도 동력전달이 잘 이루어질 수 있다.
한편, 이송롤러(20)를 통해 물품들이 이송될 때, 물품들이 한 곳에 집중되어 적체됨에 따라 이송롤러(20) 및 구동롤러(30)가 회전되지 않는 경우에도 구동모터(80)는 계속적으로 구동되므로 구동모터(80)에 과부하가 걸릴 수 있는데, 본 발명에 따른 컨베이어는 물품이 이송롤러(20)에 적체되어 이송롤러(20)가 회전되지 않게 되면, 구동모터(80)의 구동에 의해 구동롤러(30)가 이송롤러(20)에서 슬립되어 공회전이 이루어지므로, 구동모터(80)에 과부하가 걸리는 것이 방지되는 장점이 있다. 또한, 구동모터(80)를 제어하기 위한 별도의 제어장치가 불필요하여 비용이 절감되며, 과부하가 걸릴 때 작업자가 구동모터(80)의 작동을 정지시켜야 하는 불편함이 없어서 편리하다. 또한, 구동모터(80)의 재가동에 따라 소비전력의 낭비가 방지되는 장점도 있다.
그리고, 상기 구동롤러(30)의 끼움부(32)에 링체(35)가 결합되어 이송롤러(20)의 끼움공(21)에 마찰되므로, 상기 구동모터(80)의 과부하시 구동롤러(30)가 이송롤러(20)에서 보다 효과적으로 슬립되어 상기의 효과가 증진될 것이다. 물론, 상기 링체(35)로 인해 좀 더 슬립이 잘 이루어진다고 하더라도, 구동롤러(30)와 이송롤러(20)의 마찰결합에 의한 토크의 전달력이 극히 감소되는 것은 아니므로, 구동모터(80)의 구동력이 이송롤러(20)에 전달되는 것에는 지장이 없다. 따라서, 물품이 적체되지 않게 이송될 때에는 이송롤러(20)가 원활하게 회전될 수 있다.
이상에서 설명한 본 발명은 전술한 실시예 및 첨부된 도면에 의해 한정되는 것이 아니고, 본 발명의 기술적 사상을 벗어나지 않는 범위 내에서 여러 가지 치환, 변형 및 변경이 가능함은 본 발명이 속하는 기술분야에서 통상의 지식을 가진 자에게 명백할 것이다.

Claims (3)

  1. 원통체 형상으로 이루어져서 수평으로 나란하게 배치된 이송롤러(20)와, 이 이송롤러(20)의 일단부 또는 양단부에 결합되는 구동롤러(30)로 구성된 단위롤러(10);
    상기 롤러(10)의 양단부에 구비되며, X자 형상인 링크단위체(41)의 상단 및 하단이 인접된 링크단위체(41)의 상단 및 하단과 각각 힌지결합되어 이루어진 한 쌍의 자바라프레임(40);
    상기 롤러(10) 사이사이에 배치되도록 상기 자바라프레임(40)에 결합된 회전축부재(60);
    상기 롤러(10)의 일단부 또는 양단부에 구비된 구동롤러(30)와 이 구동롤러(30)의 인접된 양측 회전축부재(60)를 각각 연결하는 복수개의 타이밍벨트(70); 및
    상기 구동롤러(30) 또는 회전축부재(60)를 회전시키는 구동모터(80);를 포함하여 구성된 것을 특징으로 하는 구동형 자바라식 자동컨베이어.

  2. 제1항에 있어서, 상기 구동롤러(30)는 이송롤러(20)에 끼움결합되어, 상기 구동모터(80)의 회전력 및 타이밍벨트(70)의 장력에 의해 구동롤러(30)와 마찰되면서 이송롤러(20)가 회전되며, 상기 구동모터(80)에 소정의 과부하가 걸릴 때에는 구동롤러(30)가 이송롤러(20)에서 슬립되는 것을 특징으로 하는 구동형 자바라식 자동컨베이어.
  3. 제1항 또는 제2항에 있어서, 상기 이송롤러(20)의 일단 또는 양단면에는 중공 또는 홈 형태의 끼움공(21)이 형성되고, 상기 구동롤러(30)의 일단에는 상기 끼움공(21)에 끼워지는 끼움부(32)가 형성되며, 상기 구동롤러(30)의 끼움부(32)에는 링체(35)가 끼워지는 것을 특징으로 하는 구동형 자바라식 자동컨베이어.
KR20100064055A 2010-07-02 2010-07-02 구동형 자바라식 자동컨베이어 Expired - Fee Related KR101187770B1 (ko)

Priority Applications (1)

Application Number Priority Date Filing Date Title
KR20100064055A KR101187770B1 (ko) 2010-07-02 2010-07-02 구동형 자바라식 자동컨베이어

Applications Claiming Priority (1)

Application Number Priority Date Filing Date Title
KR20100064055A KR101187770B1 (ko) 2010-07-02 2010-07-02 구동형 자바라식 자동컨베이어

Publications (2)

Publication Number Publication Date
KR20120003286A true KR20120003286A (ko) 2012-01-10
KR101187770B1 KR101187770B1 (ko) 2012-10-04

Family

ID=45610337

Family Applications (1)

Application Number Title Priority Date Filing Date
KR20100064055A Expired - Fee Related KR101187770B1 (ko) 2010-07-02 2010-07-02 구동형 자바라식 자동컨베이어

Country Status (1)

Country Link
KR (1) KR101187770B1 (ko)

Cited By (9)

* Cited by examiner, † Cited by third party
Publication number Priority date Publication date Assignee Title
KR101465665B1 (ko) * 2012-02-07 2014-12-10 서준 접이식 시스템 구조물 판자
CN110577054A (zh) * 2019-09-19 2019-12-17 泉州开云网络科技服务有限公司 一种物流滚筒传送流水线
CN111348372A (zh) * 2020-04-21 2020-06-30 中铁第四勘察设计院集团有限公司 一种可移动的高铁物流折叠式快速转运系统
CN111824695A (zh) * 2019-04-17 2020-10-27 梅特勒-托利多安全线有限公司 用于输送机系统的驱动辊组件和包括它的输送机系统
CN114803511A (zh) * 2022-05-23 2022-07-29 南通金冠液压设备有限公司 一种用于pp玻纤板生产的转运装置
CN116374483A (zh) * 2023-06-05 2023-07-04 四川皓德斯新材料科技有限公司 一种输送机
CN117068630A (zh) * 2023-09-05 2023-11-17 常州先进制造技术研究所 一种输送距离可调的皮带输送机
CN119240222A (zh) * 2024-11-08 2025-01-03 枣丰大健康科技重庆有限公司 一种用于浓缩果汁生产的移动加工装置
CN120081156A (zh) * 2025-05-07 2025-06-03 山东大金锻造有限公司 一种用于锻件坯料锯切的上料装置

Families Citing this family (3)

* Cited by examiner, † Cited by third party
Publication number Priority date Publication date Assignee Title
KR20160092161A (ko) 2015-01-27 2016-08-04 남희대 곡선형 경로 변환 컨베이어
KR102051977B1 (ko) 2018-06-07 2019-12-03 에이스기계 주식회사 경로 변환 자동 컨베이어
KR102495744B1 (ko) 2021-04-19 2023-02-06 (주)은성컨베이어 자바라식 자동컨베이어

Family Cites Families (2)

* Cited by examiner, † Cited by third party
Publication number Priority date Publication date Assignee Title
JP3821273B2 (ja) 2001-08-28 2006-09-13 株式会社ダイフク 物品搬送設備
KR200358066Y1 (ko) 2004-02-18 2004-08-05 (주)씨아이엔지니어링 컨베이어

Cited By (11)

* Cited by examiner, † Cited by third party
Publication number Priority date Publication date Assignee Title
KR101465665B1 (ko) * 2012-02-07 2014-12-10 서준 접이식 시스템 구조물 판자
CN111824695A (zh) * 2019-04-17 2020-10-27 梅特勒-托利多安全线有限公司 用于输送机系统的驱动辊组件和包括它的输送机系统
CN110577054A (zh) * 2019-09-19 2019-12-17 泉州开云网络科技服务有限公司 一种物流滚筒传送流水线
CN111348372A (zh) * 2020-04-21 2020-06-30 中铁第四勘察设计院集团有限公司 一种可移动的高铁物流折叠式快速转运系统
CN114803511A (zh) * 2022-05-23 2022-07-29 南通金冠液压设备有限公司 一种用于pp玻纤板生产的转运装置
CN114803511B (zh) * 2022-05-23 2024-04-05 南通金冠液压设备有限公司 一种用于pp玻纤板生产的转运装置
CN116374483A (zh) * 2023-06-05 2023-07-04 四川皓德斯新材料科技有限公司 一种输送机
CN116374483B (zh) * 2023-06-05 2023-08-04 四川皓德斯新材料科技有限公司 一种输送机
CN117068630A (zh) * 2023-09-05 2023-11-17 常州先进制造技术研究所 一种输送距离可调的皮带输送机
CN119240222A (zh) * 2024-11-08 2025-01-03 枣丰大健康科技重庆有限公司 一种用于浓缩果汁生产的移动加工装置
CN120081156A (zh) * 2025-05-07 2025-06-03 山东大金锻造有限公司 一种用于锻件坯料锯切的上料装置

Also Published As

Publication number Publication date
KR101187770B1 (ko) 2012-10-04

Similar Documents

Publication Publication Date Title
KR101187770B1 (ko) 구동형 자바라식 자동컨베이어
US6868961B2 (en) Roller conveyor with clutched idler rollers
CA2519861C (en) Multiple drive conveyor system
KR102214089B1 (ko) 컨베이어에 채용되는 볼베어링의 외륜체 제동력 유지용 프릭션 롤러
CN209382786U (zh) 一种防掉落的夹具式运输机
US7114608B2 (en) Directional transition module for use in conjunction with a roller-type conveyor
JPH11334844A (ja) ローラコンベア
JP4217975B2 (ja) 搬送装置
KR101068174B1 (ko) 텔레스코픽 타입 로봇
KR102663223B1 (ko) 롤지 스텝업 자동이송장치
CN207293308U (zh) 一种带格链条输送机
CN209939609U (zh) 电池包输送机构及换电站
KR20160092161A (ko) 곡선형 경로 변환 컨베이어
CN210852993U (zh) 高效散装货物装载机
JP3887379B2 (ja) ぜんまい式ベルトコンベヤ
JP5828696B2 (ja) チエン駆動式搬送装置及び駆動用チエン
KR200395948Y1 (ko) 게이트 컨베이어
CN221916158U (zh) 一种模组带货物转向输送机
JP7552482B2 (ja) 荷搬送装置
KR200190176Y1 (ko) 롤러콘베이어 이송장치
JPH06336331A (ja) ローラコンベアの物品移載装置およびその物品移載方法
KR101782500B1 (ko) 카트 세척기의 카트 이송장치
JPS6011843Y2 (ja) ロ−ラコンベアの搬送ロ−ラ駆動装置
JP4919380B2 (ja) 搬送コンベヤ
CN112693674B (zh) 纸箱整列机构

Legal Events

Date Code Title Description
A201 Request for examination
PA0109 Patent application

St.27 status event code: A-0-1-A10-A12-nap-PA0109

PA0201 Request for examination

St.27 status event code: A-1-2-D10-D11-exm-PA0201

R18-X000 Changes to party contact information recorded

St.27 status event code: A-3-3-R10-R18-oth-X000

PG1501 Laying open of application

St.27 status event code: A-1-1-Q10-Q12-nap-PG1501

D13-X000 Search requested

St.27 status event code: A-1-2-D10-D13-srh-X000

D14-X000 Search report completed

St.27 status event code: A-1-2-D10-D14-srh-X000

PE0902 Notice of grounds for rejection

St.27 status event code: A-1-2-D10-D21-exm-PE0902

E13-X000 Pre-grant limitation requested

St.27 status event code: A-2-3-E10-E13-lim-X000

P11-X000 Amendment of application requested

St.27 status event code: A-2-2-P10-P11-nap-X000

P13-X000 Application amended

St.27 status event code: A-2-2-P10-P13-nap-X000

E701 Decision to grant or registration of patent right
PE0701 Decision of registration

St.27 status event code: A-1-2-D10-D22-exm-PE0701

GRNT Written decision to grant
PR0701 Registration of establishment

St.27 status event code: A-2-4-F10-F11-exm-PR0701

PR1002 Payment of registration fee

St.27 status event code: A-2-2-U10-U11-oth-PR1002

Fee payment year number: 1

PG1601 Publication of registration

St.27 status event code: A-4-4-Q10-Q13-nap-PG1601

FPAY Annual fee payment

Payment date: 20151028

Year of fee payment: 4

PR1001 Payment of annual fee

St.27 status event code: A-4-4-U10-U11-oth-PR1001

Fee payment year number: 4

P22-X000 Classification modified

St.27 status event code: A-4-4-P10-P22-nap-X000

LAPS Lapse due to unpaid annual fee
PC1903 Unpaid annual fee

St.27 status event code: A-4-4-U10-U13-oth-PC1903

Not in force date: 20160927

Payment event data comment text: Termination Category : DEFAULT_OF_REGISTRATION_FEE

R18-X000 Changes to party contact information recorded

St.27 status event code: A-5-5-R10-R18-oth-X000

PC1903 Unpaid annual fee

St.27 status event code: N-4-6-H10-H13-oth-PC1903

Ip right cessation event data comment text: Termination Category : DEFAULT_OF_REGISTRATION_FEE

Not in force date: 20160927

R18-X000 Changes to party contact information recorded

St.27 status event code: A-5-5-R10-R18-oth-X000

R18-X000 Changes to party contact information recorded

St.27 status event code: A-5-5-R10-R18-oth-X000