KR20120001426U - 상하각도조절이 가능한 난간의 가로대 연결장치 - Google Patents
상하각도조절이 가능한 난간의 가로대 연결장치 Download PDFInfo
- Publication number
- KR20120001426U KR20120001426U KR2020100008712U KR20100008712U KR20120001426U KR 20120001426 U KR20120001426 U KR 20120001426U KR 2020100008712 U KR2020100008712 U KR 2020100008712U KR 20100008712 U KR20100008712 U KR 20100008712U KR 20120001426 U KR20120001426 U KR 20120001426U
- Authority
- KR
- South Korea
- Prior art keywords
- mounting
- binding rod
- support
- fastening hole
- cross
- Prior art date
- Legal status (The legal status is an assumption and is not a legal conclusion. Google has not performed a legal analysis and makes no representation as to the accuracy of the status listed.)
- Ceased
Links
- 238000000034 method Methods 0.000 claims 3
- 238000004132 cross linking Methods 0.000 claims 1
- 230000008878 coupling Effects 0.000 abstract description 15
- 238000010168 coupling process Methods 0.000 abstract description 15
- 238000005859 coupling reaction Methods 0.000 abstract description 15
- 238000009434 installation Methods 0.000 abstract description 8
- 238000012986 modification Methods 0.000 description 3
- 230000004048 modification Effects 0.000 description 3
- 239000002131 composite material Substances 0.000 description 2
- 238000006880 cross-coupling reaction Methods 0.000 description 2
- 241001465754 Metazoa Species 0.000 description 1
- 230000003796 beauty Effects 0.000 description 1
- 238000003780 insertion Methods 0.000 description 1
- 230000037431 insertion Effects 0.000 description 1
- 238000004519 manufacturing process Methods 0.000 description 1
- 125000006850 spacer group Chemical group 0.000 description 1
Images
Classifications
-
- E—FIXED CONSTRUCTIONS
- E04—BUILDING
- E04H—BUILDINGS OR LIKE STRUCTURES FOR PARTICULAR PURPOSES; SWIMMING OR SPLASH BATHS OR POOLS; MASTS; FENCING; TENTS OR CANOPIES, IN GENERAL
- E04H17/00—Fencing, e.g. fences, enclosures, corrals
- E04H17/14—Fences constructed of rigid elements, e.g. with additional wire fillings or with posts
- E04H17/1413—Post-and-rail fences, e.g. without vertical cross-members
- E04H17/1447—Details of connections between rails and posts
- E04H17/1448—Adjustable, angled or hinged connections
-
- E—FIXED CONSTRUCTIONS
- E04—BUILDING
- E04H—BUILDINGS OR LIKE STRUCTURES FOR PARTICULAR PURPOSES; SWIMMING OR SPLASH BATHS OR POOLS; MASTS; FENCING; TENTS OR CANOPIES, IN GENERAL
- E04H17/00—Fencing, e.g. fences, enclosures, corrals
- E04H17/006—Caps or covers for posts
-
- E—FIXED CONSTRUCTIONS
- E04—BUILDING
- E04H—BUILDINGS OR LIKE STRUCTURES FOR PARTICULAR PURPOSES; SWIMMING OR SPLASH BATHS OR POOLS; MASTS; FENCING; TENTS OR CANOPIES, IN GENERAL
- E04H17/00—Fencing, e.g. fences, enclosures, corrals
- E04H17/14—Fences constructed of rigid elements, e.g. with additional wire fillings or with posts
- E04H17/1413—Post-and-rail fences, e.g. without vertical cross-members
- E04H17/1447—Details of connections between rails and posts
- E04H17/1465—Details of connections between rails and posts the rails being supported within blind or through holes of the posts
-
- Y—GENERAL TAGGING OF NEW TECHNOLOGICAL DEVELOPMENTS; GENERAL TAGGING OF CROSS-SECTIONAL TECHNOLOGIES SPANNING OVER SEVERAL SECTIONS OF THE IPC; TECHNICAL SUBJECTS COVERED BY FORMER USPC CROSS-REFERENCE ART COLLECTIONS [XRACs] AND DIGESTS
- Y10—TECHNICAL SUBJECTS COVERED BY FORMER USPC
- Y10S—TECHNICAL SUBJECTS COVERED BY FORMER USPC CROSS-REFERENCE ART COLLECTIONS [XRACs] AND DIGESTS
- Y10S256/00—Fences
Landscapes
- Engineering & Computer Science (AREA)
- Architecture (AREA)
- Civil Engineering (AREA)
- Structural Engineering (AREA)
- Steps, Ramps, And Handrails (AREA)
Abstract
본 고안은, 상단에 지주캡이 씌워지는 지주와 지주 사이에 설치되는 가로대를 연결하는 장치에 있어, 지주에는 결착봉체결공과 장착작동공이 동일 수평선상에 교차되도록 형성하고, 상기 지주의 외측에서 각 장착작동공을 통해 가로대장착어셈블리를 삽입 장착하여 가로대를 설치하며, 상기 지주에 형성된 결착봉체결공을 통해 지주의 내측으로 결착봉을 결합하여 상기 각 장착작동공을 통해 삽입되는 가로대장착어셈블리를 억류 장착시키며, 상기 지주의 상단에 지주캡어셈블리를 장착하되 결착봉체결공의 외측으로 돌출되는 결착봉의 양단에 고정브래킷의 단부를 결합하고 결착봉의 양단에 축캡을 결합한 것을 특징으로 하는 상하각도조절이 가능한 난간의 가로대 연결장치이다.
본 고안은, 구조가 간단하여 용이하게 조립 설치할 수 있고, 설치에 따른 조립시간을 단축시켜 작업 능률을 향상시킬 수 있으며, 각 부품의 구조를 단순화하여 용이하게 제조할 수 있다.
본 고안은, 구조가 간단하여 용이하게 조립 설치할 수 있고, 설치에 따른 조립시간을 단축시켜 작업 능률을 향상시킬 수 있으며, 각 부품의 구조를 단순화하여 용이하게 제조할 수 있다.
Description
본 고안은 주로 도로나 산책로 등과 같이 차도와 인도를 구분하기 위하여 인도의 가장자리에 설치되는 난간(휀스)에 있어서 소정의 간격으로 설치되는 지주와 지주 사이를 연결하기 위하여 지주 사이에 설치되는 가로대의 단부를 지주에 장착(연결)시켜 주는 상하각도조절이 가능한 난간의 가로대 연결장치에 관한 것이다.
이를 좀더 상세히 설명하면, 본 고안은, 상단에 지주캡이 씌워지는 지주와 지주 사이에 설치되는 가로대를 연결하는 장치에 있어, 지주에는 결착봉체결공과 장착작동공이 동일 수평선상에 교차되도록 형성하고, 상기 지주의 외측에서 각 장착작동공을 통해 가로대장착어셈블리를 삽입 장착하여 가로대를 설치하며, 상기 지주에 형성된 결착봉체결공을 통해 지주의 내측으로 결착봉을 결합하여 상기 각 장착작동공을 통해 삽입되는 가로대장착어셈블리를 억류 장착시키며, 상기 지주의 상단에 지주캡어셈블리를 장착하되 결착봉체결공의 외측으로 돌출되는 결착봉의 양단에 고정브래킷의 단부를 결합하고 결착봉의 양단에 축캡을 결합한 것을 특징으로 하는 상하각도조절이 가능한 난간의 가로대 연결장치를 제공하려는 것이다.
일반적으로 난간은, 차도와 도로를 구분하고 도로를 보행하는 사람(보행자)을 보호하기 위하여 도로의 가장자리에 설치되거나, 공원을 비롯하여 불특정한 곳에 설치되어 통행을 안내하거나 통행을 제한하거나 통행자(사람) 또는 동식물을 보호하기 위하여 설치되며, 건물의 계단과 베란다 등 다양하게 설치되어 사용된다.
난간은 주지된 바와 같이 주로 차도와 도로를 구분하고 도로를 보행하는 사람(보행자)을 보호하고 안내하기 위하여 도로의 가장자리에 설치되는 것이 보편적이다.
상기와 같이 난간을 설치할 때에는 지주를 일정한(소정의) 간격으로 세워 설치(고정)하고, 설치되는 지주와 지주 사이에는 하나 이상의 가로대를 설치하되, 가로대의 단부를 연결장치(수단)에 의해 지주에 설치하게 된다.
상기와 같이 가로대의 단부를 지주에 설치하기 위한 것(장치)으로서 본 고안과 유사한 장치로서는 국내의 등록특허 제10-802500호와 등록특허 제10-862894호 및 공개특허 공개번호 제10-2009-85188호와 공개특허 공개번호 제10-2009-132161호가 알려져 있다.
등록특허 제10-802500호의 '경사 지면에 시공되는 울타리를 위한 가로대 각도 조절장치'는, 기둥에 고정 브라켓을 결합하고, 가로대에는 가로대 결합링을 결합하며, 고정 브라켓과 가로대 결합링과의 사이에 스위블 커넥터를 결합하되, 상기 스위블 커넥터는 일측이 가로대 결합링에 고정되고 타측이 고정 브라켓에 결합되는 홀더에 의해 지지하도록 된 것이다.
그러나 이는, 기둥에 브라켓을 다수의 볼트에 의해 고정시켜야 하고, 브라켓의 서포팅 아암에 형성된 포켓에는 스위블 컨넥터의 볼을 삽입한 후에 홀더(캡)을 서포팅 아암에 나사 결합하여야 하며, 홀더(캡)의 외측으로 돌출되는 스위블 컨넥터의 볼트에는 가로대 결합링을 다시 나사 결합하여야 하며, 스위블 컨넥터의 볼트에 나사 결합된 가로대 결합링에는 가로대의 선단을 삽입하여 볼트로 고정시켜 하므로, 조립 설치가 까다롭고 복잡하며, 설치시간이 많이 소요되어 작업성이 떨어지며, 부품이 많고 각 부품의 구조가 복잡하여 각 부품을 이용하게 생산할 수 없다.
등록특허 제10-862894호의 '각도조절이 용이한 연결구'는, 세로부재(지주)에 고정볼트부재를 나사 결합하고, 세로부재(지주)에 나사 결합된 고정볼트부재의 볼트머리나사부에는 회전축을 삽입하여 브래킷을 나사 결합시키며, 상기 브래킷의 외측으로 돌출되는 회전축의 볼트부에는 가로부재(가로대)의 선단에 삽입 고정되는 스페이서를 나사 결합하여서 된 것이다.
그러나 이 역시 조립 설치가 까다롭고 복잡하며, 설치시간이 많이 소요되어 작업성이 떨어지며, 부품이 많고 각 부품의 구조가 복잡하고 구성이 난해하여 각 부품을 이용하게 생산할 수 없다.
공개특허 공개번호 제10-2009-85188호의 '난간의 가로대 연결구는, 사각 기둥형으로 형성된 지주의 사면에는 슬라이드홈을 수직으로 형성하고, 지주의 슬라이드홈에는 고정대를 삽입하며, 지주의 외측에서 연결대의 단부에 결합반구가 일체로 형성된 한 쌍의 연결대를 결합반구가 결합되도록 지주의 슬라이드홈에 삽입된 고정대에 고정시키며, 결합되는 연결대의 결합반구의 내부에는 가로대의 선단에 고정된 결합볼을 장전시켜서 된 것이다.
그러나 이는, 사면에는 슬라이드홈이 형성되는 지주를 제조하기가 용이치 못하고, 지주의 슬라이드홈에 삽입되는 고정대가 슬라이드홈을 따라 상하 이동(낙하)하므로 고정대를 고정시키기도 용이치 못하며, 슬라이드홈에 삽입되는 고정대에 한 쌍의 한 쌍의 연결대를 고정시킬 때에 가로대의 선단에 고정된 결합볼을 결합되는 연결대의 결합반구의 내부에 장전시킨 상태에서 고정시켜야 한다.
이 역시 조립 설치가 까다롭고 복잡하며, 설치시간이 많이 소요되어 작업성이 떨어지며, 부품이 많고 각 부품의 구조가 복잡하고 구성이 난해하여 각 부품을 이용하게 생산할 수 없다.
공개특허 공개번호 제10-2009-132161호의 휀스접합 연결구'는, 지주의 외면에는 중공보스의 양측으로 플랜지가 형성된 브라켓을 고정구에 의해 고정하되, 상기 고정구의 중공보스에는 연결로드(볼)에 로드가 형성된 고정축을 삽입하여 고정하며, 중공보스의 관통공을 통해 인출되는 고정축의 로드에는 가로바의 선단에 뚫어진 삽입홈을 삽입하여 측면에서 결합되는 고정핀에 의해 로드와 가로바를 일체로 고정시켜서 된 것이다.
이는 지주의 외면에는 고정축이 끼워지는 브라켓을 고정시켜 하므로 이 역시 조립 설치가 까다롭고 복잡하며, 설치시간이 많이 소요되어 작업성이 떨어지며, 각 부품의 구조(형상 모양)가 복잡하고 난해하여 각 부품을 이용하게 생산할 수 없다.
본 고안은 상기와 같은 문제를 해소할 수 있도록 더욱 개선한 상하각도조절이 가능한 난간의 가로대 연결장치를 제공하려는 것이다.
본 고안은, 상단에 지주캡이 씌워지는 지주와 지주 사이에 설치되는 가로대를 연결하는 장치에 있어, 지주에는 결착봉체결공과 장착작동공이 동일 수평선상에 교차되도록 형성하고, 상기 지주의 외측에서 각 장착작동공을 통해 가로대장착어셈블리를 삽입 장착하여 가로대를 설치하며, 상기 지주에 형성된 결착봉체결공을 통해 지주의 내측으로 결착봉을 결합하여 상기 각 장착작동공을 통해 삽입되는 가로대장착어셈블리를 억류 장착시키며, 상기 지주의 상단에 지주캡어셈블리를 장착하되 결착봉체결공의 외측으로 돌출되는 결착봉의 양단에 고정브래킷의 단부를 결합하고 결착봉의 양단에 축캡을 결합한 것을 특징으로 하는 상하각도조절이 가능한 난간의 가로대 연결장치를 제공하려는데 그 목적이 있다.
본 고안의 다른 목적은, 구조를 간단하게 하여 용이하게 조립할 수 있고, 설치에 따른 조립시간을 단축시켜 작업 능률을 향상시킬 수 있으며, 각 부품의 구조를 단순화하여 용이하게 제조할 수 있도록 된 상하각도조절이 가능한 난간의 가로대 연결장치를 제공하려는데 있다.
본 발명의 상기 및 기타 목적은,
상단에 지주캡이 씌워지는 지주와 지주 사이에 설치되는 가로대를 연결하는 장치에 있어서;
결착봉체결공과 장착작동공이 동일 수평선상에 교차되도록 형성된 지주와;
상기 지주의 외측에서 각 장착작동공을 통해 삽입 장착되어 외측에 가로대가 설치되는 가로대장착어셈블리와;
상기 지주에 형성된 결착봉체결공을 통해 지주의 내측으로 결합되어 상기 각 장착작동공을 통해 삽입되는 가로대장착어셈블리를 억류 장착시키는 결착봉과;
상기 지주의 상단에 장착되고, 결착봉체결공의 외측으로 돌출되는 결착봉의 양단에 고정브래킷의 단부가 결합되며, 결착봉의 양단에 축캡이 결합되는 지주캡어셈블리;를 포함하여 형성한 것을 특징으로 하는 상하각도조절형 가로대 연결장치(10)에 의해 달성된다.
본 고안에 따른 개선한 상하각도조절이 가능한 난간의 가로대 연결장치는, 상단에 지주캡이 씌워지는 지주와 지주 사이에 설치되는 가로대를 연결하는 장치에 있어, 지주에는 결착봉체결공과 장착작동공이 동일 수평선상에 교차되도록 형성하고, 상기 지주의 외측에서 각 장착작동공을 통해 가로대장착어셈블리를 삽입 장착하여 가로대를 설치하며, 상기 지주에 형성된 결착봉체결공을 통해 지주의 내측으로 결착봉을 결합하여 상기 각 장착작동공을 통해 삽입되는 가로대장착어셈블리를 억류 장착시키며, 상기 지주의 상단에 지주캡어셈블리를 장착하되 결착봉체결공의 외측으로 돌출되는 결착봉의 양단에 고정브래킷의 단부를 결합하고 결착봉의 양단에 축캡을 결합한 것을 특징으로 한다.
본 고안은, 구조를 간단하게 하여 용이하게 조립 설치할 수 있고, 설치에 따른 조립시간을 단축시켜 작업 능률을 향상시킬 수 있으며, 각 부품의 구조를 단순화하여 용이하게 제조할 수 있다.
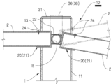
도 1은 본 고안에 따른 상하각도조절이 가능한 난간의 가로대 연결장치를 분해하여 보인 사시도.
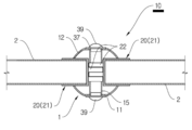
도 2a 및 도 2b는 본 고안에 따른 상하각도조절이 가능한 난간의 가로대 연결장치를 결합하여 설치한 상태로서 가로대를 설치한 상태를 평단면도와 정단면도.
도 3 및 도 4는 본 고안에 따른 상하각도조절이 가능한 난간의 가로대 연결장치를 이용하여 난간을 설치한 상태를 보인 예시도.
도 2a 및 도 2b는 본 고안에 따른 상하각도조절이 가능한 난간의 가로대 연결장치를 결합하여 설치한 상태로서 가로대를 설치한 상태를 평단면도와 정단면도.
도 3 및 도 4는 본 고안에 따른 상하각도조절이 가능한 난간의 가로대 연결장치를 이용하여 난간을 설치한 상태를 보인 예시도.
본 고안의 상기 및 기타 목적과 특징은 첨부된 도면에 의거한 다음의 상세한 설명에 의해 더욱 명확하게 이해할 수 있을 것이다.
첨부된 도면 도 1 내지 도 4는 본 고안에 따른 상하각도조절형 가로대연결장치(10)의 구체적인 실현 예를 보인 것으로서, 도 1은 본 고안에 따른 상하각도조절형 가로대연결장치(10)의 분해 사시도이고, 도 2a 및 도 2b는 본 고안에 따른 상하각도조절형 가로대연결장치(10)의 결합상태를 보인 평단면도와 정단면도이며, 도 3 및 도 4는 본 고안에 따른 상하각도조절형 가로대연결장치(10)를 이용하여 난간을 설치한 상태를 보인 예시도이다.
본 고안에 따른 상하각도조절형 가로대연결장치(10)는, 결착봉체결공(14)과 장착작동공(13)이 동일 수평선상에 교차되게 형성되는 지주(1)와; 상기 지주(1)의 외측에서 각 장착작동공(13)을 통해 삽입되어 선단(내측)이 결착봉체결공(14)을 통해 결합(삽입)되는 결착봉에 의해 장착되고 외측에 가로대(2)가 설치되는 가로대장착어셈블리(20)와; 상기 지주(1)에 형성된 결착봉체결공(14)을 통해 지주(1)의 내측으로 결합(삽입)되어 상기 장착작동공(13)을 통해 삽입되는 가로대장착어셈블리(20)의 선단(내측)을 억류 장착시키는 결착봉(15)과; 상기 지주(1)의 상단에 장착되고, 결착봉체결공(14)의 외측으로 돌출되는 결착봉(15)의 양단에 고정브래킷의 측판(37)이 결합된 후에 축캡(39)이 결합되는 지주캡어셈블리(30);로 크게 분할하여 형성하였다.
결착봉체결공(14)과 장착작동공(13)이 동일 수평선상에 교차되게 형성되는 지주(1)는 다음과 같이 형성하였다.
지주(1)는 도시된 바와 같이 만곡면(11)과 평판면(12)이 교차되는 복합형으로 형성하거나, 구체적으로 도시하지 아니하였으나 원통형으로 형성하거나 또는 사각 기둥형으로 형성할 수 있다.
지주(1)에는 동일 수평선상에서 장착작동공(13)과 결착체결봉(14)을 서로 교차되게 즉 'ㅏ'형 또는 '+'형으로 형성한다.
상기 장착작동공(13)과 결착체결봉(14)을 'ㅏ'형으로 형성할 때에는, 한 쌍의 결착봉체결공(14)을 동일선상에 형성하여 결착봉(15)을 결합(장착)할 수 있도록 하고, 이들 중간에 하나의 장착작동공(13)을 형성하여 상기 결착봉(15)에 하나의 가로대장착어셈블리(20)를 결착하여 하나의 가로대(2)를 일측 방향으로 설치할 수 있도록 하는 것으로, 이러한 구성은 난간의 양단에 설치되는 지주(1)로서 사용된다.
또 장착작동공(13)과 결착체결봉(14)을 '+'형으로 형성할 때에는, 한 쌍의 결착봉체결공(14)을 동일선상에 형성하여 결착봉(15)을 결합(장착)할 수 있도록 하고, 이들과의 동일 수평선상에서 한 쌍의 장착작동공(13)을 상기 결착봉체결공(14)과 교차되게 형성하여 상기 결착봉(15)에 한 쌍의 가로대장착어셈블리(20)를 양측으로 결착하여 한 쌍의 가로대(2)를 양측 방향으로 설치할 수 있도록 하는 것으로, 이러한 구성은 난간의 중간에 설치되는 지주(1)로서 사용된다.
상기 지주(1)의 외측에서 각 장착작동공(13)을 통해 삽입되어 선단(내측)이 결착봉체결공(14)을 통해 결합(삽입)되는 결착봉에 의해 장착되고 외측에 가로대(2)가 설치되는 가로대장착어셈블리(20)는 다음과 같이 형성하였다.
가로대(2)의 선단이 삽입 장착되는 가로대장착관(21)은 일단을 폐쇄형으로 하고 타단을 개방형으로 형성하되, 도면에 예시된 바와 같이 원통형으로 형성하여 원통형으로 형성되는 가로대(2)를 삽입시킬 수 있도록 하거나, 구체적으로 도시하지 아니하였으나 다각형 또는 만곡면과 평판면이 교차되거나 반복적으로 형성되는 만곡평판복합형으로 형성하여 역시 동일한 다각형 또는 만곡평판복합형으로 형성되는 가로대(2)을 선단을 삽입하여 장착할 수 있도록 하였다.
상기 가로대장착관(21)에서 폐쇄된 면에는 하나 이상의 결속링(22)을 형성하였고, 결속링(22)에는 지주(1)의 결착봉체결공(14)을 통해 결합되는 결착봉(15)을 삽입(체결)시킬 수 있도록 하였다.
상기 지주(1)에 형성된 결착봉체결공(14)을 통해 지주(1)의 내측으로 결합(삽입)되어 상기 장착작동공(13)을 통해 삽입되는 가로대장착어셈블리(20)의 선단(내측)을 억류 장착시키는 결착봉(15)은 원기둥형으로 형성하여 차후에 구체적으로 설명되는 가로대장착어셈블리(20)의 상하 각도(원활하게 상하 회전하여)를 조정할 수 있도록 하였고, 결착봉(15)의 양단이 결착봉체결공(14)의 외측으로 노출될 수 있도록 충분한 길이로 형성하였다.
상기 지주(1)의 상단에 장착되고, 결착봉체결공(14)의 외측으로 돌출되는 결착봉(15)의 양단에 고정브래킷의 측판(37)이 결합된 후에 축캡(39)이 결합되는 지주캡어셈블리(30)는 다음과 같이 형성하였다.
지주(1)의 상단에 결합시킬 수 있도록 지주캡(31)을 형성하였고, 상기 지주캡(31)의 외측에는 상판(36)의 양단에 측판(37)이 나란하게 형성되고 각 측판(37)의 하단부에 체결공(38)이 뚫어진 고정브래킷(35)을 일체로 형성하거나 별도로 형성하여 결합시킬 수 있도록 하였다.
상기 각 측판(37)의 하단부에 뚫어진 체결공(38)을 통해 노출되거나 끼워지는 결착봉(15)의 양단에는 축캡(39)을 각각 결합하여, 측판(37)이 결착봉(15)의 양단에서 이탈되지 않도록 하고, 결착봉(15)의 단부가 외부로 노출되지 않도록 하여 미관을 미려하게 할 수 있도록 하였다.
이하, 상기와 같이 형성된 본 고안에 따른 상하각도조절형 가로대연결장치(10)의 사용 상태 즉, 본 고안에 따른 상하각도조절형 가로대연결장치(10)를 이용하여 난간을 설치한 상태를 설명한다.
본 고안에 따른 상하각도조절형 가로대연결장치(10)를 이용하여 난간을 설치하기 위해서는 도 3 및 도 4에 예시된 바와 같이, 지주(1)를 소정의 간격으로 세워 설치하여야 한다.
상기와 같이 주지(1)를 소정의 간격으로 세워 설치하되 각 지주(1)는 장착작동공(13)이 서로 마주보도록 설치한다.
상기와 같이 주지(1)를 소정의 간격으로 세워 설치한 상태에서 지주(1)의 각 장착작동공(13)에는 외측에서 내측으로 가로대장착에셈블리(20)를 삽입시키되 가로대장착에셈블리(20)의 결속링(22)을 먼저 삽입하되, 지주(1)의 양측에 형성된 각 장착작동공(13)에 가로대장착에셈블리(20)를 삽입시킬 때에는 각 가로대장착에셈블리(20)의 결속링(22)을 서로 엇갈리게 끼워 중첩시켜 준다.
상기와 같이 지주(1)의 양측에 형성된 각 장착작동공(13)에 가로대장착에셈블리(20)를 삽입시킨 상태에서 일측 결착봉체결공(14)에는 결착봉(15)을 결합시키되 지주(1)의 내부에서 결속링(22)에 끼워(통과시켜) 준 후에, 타측 결착봉체결공(14) 까지 결합시켜 준다.
상기와 같이 결착봉체결공(14)에 결착봉(15)을 결합시켜 지주(1)에 형성된 각 장착작동공(13)에 결합(삽입)된 가로대장착에셈블리(20)의 결속링(22)을 억류시킨 상태에서, 지주(1)의 상단에 지주캡어셈블리(30)를 장착하거나 장착작동공(13)의 외측으로 노출된 가로대장착에셈블리(20)의 가로대장착관(21)에는 가로대(2)를 장착한다.
상기와 같이, 장착작동공(13)의 외측으로 노출되는 가로대장착에셈블리(20)의 가로대장착관(21)에는 가로대(2)를 삽입하여 장착하고자 할 때에는 다음과 같이 실시한다.
장착작동공(13)의 외측으로 노출되는 가로대장착에셈블리(20)의 가로대장착관(21)에 가로대(2)의 단부를 삽입하여 결합시킨 상태에서 가로대장착관(21)의 측면에 형성된 고정공(23)을 통해 고정볼트(24)를 나사 결합하여 가로대장착관(21)에 삽입(결합)된 가로대(2)의 단부를 억류시켜 준다.
또 지주(1)의 상단에 지주캡어셈블리(30)를 장착하고자 할 때에는 다음과 같이 실시한다.
상기 지주(1)의 상단에 지주캡어셈블리(30)의 지주캡(31)을 씌워 결합시키되, 고정브래킷(35)에 형성된 측판(37)이 결착봉체결공(14)을 향하도록 결합시키며, 각 측판(37)의 체결공(38)을 결착봉체결공(14)과 일치시킨다.
상기와 같이 결착봉체결공(14)과 일치되는 각 측판(37)의 체결공(38)을 도 2a에 예시된 바와 같이 결착봉체결공(14)에 결합된(끼워진) 결착봉(15)의 양단에 축캡(39)을 결합시켜(끼워) 준다.
상기와 같이 실시하여 지주(1)에 장착된 가로대장착어셈블리(20)에 가로대(2)를 장착하거나, 지주(1)의 상단에 지주캡어셈블리(30)를 장착하여 줌으로서 본 고안에 따른 상하각도조절형 가로대연결장치(10)를 이용한 난간의 설치를 완료하게 된다.
상기와 같이 본 고안에 따른 상하각도조절형 가로대연결장치(10)를 이용하여 설치되는 난간은 도 2b에 예시된 바와 같이 결착봉(15)에 장착되는 가로대장착어셈블리(20)와 상기 가로대장착어셈블리(20)에 장착되는 가로대(2)를 상하로 회전시켜 가로대장착어셈블리(20)와 가로대(2)의 상하 각도를 용이하게 조정하면서 설치할 수 있게 된다.
본 고안은 기재된 구체적인 예에 대하여만 상세히 설명하였지만 본 고안의 기술사상범위 내에서 다양하게 변형 및 수정할 수 있음은 당업자에 있어서 당연하고 명백한 것이며, 이러한 변형 및 수정이 실용신안등록청구범위에 속함은 당연한 것이다.
1: 지주 2: 가로대
10: 상하각도조절형 가로대연결장치 11: 만곡면
12: 평판면 13: 장착작동공
14: 체결공 15: 결착봉
20: 가로대장착어셈블리 21: 가로대장착관
22: 결속링 30: 지주캡어셈블리
31: 지주캡 35: 고정브래킷
10: 상하각도조절형 가로대연결장치 11: 만곡면
12: 평판면 13: 장착작동공
14: 체결공 15: 결착봉
20: 가로대장착어셈블리 21: 가로대장착관
22: 결속링 30: 지주캡어셈블리
31: 지주캡 35: 고정브래킷
Claims (7)
- 상단에 지주캡이 씌워지는 지주와 지주 사이에 설치되는 가로대를 연결하는 장치에 있어서;
결착봉체결공과 장착작동공이 동일 수평선상에 교차되도록 형성된 지주와;
상기 지주의 외측에서 각 장착작동공을 통해 삽입 장착되어 외측에 가로대가 설치되는 가로대장착어셈블리와;
상기 지주에 형성된 결착봉체결공을 통해 지주의 내측으로 결합되어 상기 각 장착작동공을 통해 삽입되는 가로대장착어셈블리를 억류 장착시키는 결착봉과;
상기 지주의 상단에 장착되고, 결착봉체결공의 외측으로 돌출되는 결착봉의 양단에 고정브래킷의 단부가 결합되며, 결착봉의 양단에 축캡이 결합되는 지주캡어셈블리;를 포함하여 형성한 것을 특징으로 하는 각도조절이 가능한 난간의 가로대 연결장치. - 청구항 1에 있어서, 결착봉체결공과 장착작동공이 동일 수평선상에 교차되도록 형성된 지주는;
원통형 관, 사각형 관, 만곡면과 평판면이 교차되게 형성된 만곡평판교차형 관 중에서 어느 하나인 것;을 특징으로 하는 각도조절이 가능한 난간의 가로대 연결장치. - 청구항 1에 있어서, 지주의 동일 수평선상에 교차되도록 형성되는 결착봉체결공과 장착작동공은;
지주의 동일 수평선상에서 한 쌍의 장착작동공을 형성하고, 이들 장착작동공과 동일 수평선상에서 하나 결착봉체결공을 교차되게 형성하여 'ㅏ'형으로 형성한 것;을 특징으로 하는 각도조절이 가능한 난간의 가로대 연결장치. - 청구항 1에 있어서, 지주의 동일 수평선상에 교차되도록 형성되는 결착봉체결공과 장착작동공은;
지주의 동일 수평선상에서 한 쌍의 장착작동공을 형성하고, 이들 장착작동공과 동일 수평선상에서 한 쌍의 결착체결봉을 서로 교차되게 형성하여 '+'형으로 형성한 것;을 특징으로 하는 각도조절이 가능한 난간의 가로대 연결장치. - 청구항 1에 있어서, 상기 지주의 외측에서 각 장착작동공을 통해 삽입되어 선단(내측)이 결착봉에 의해 장착되고 외측에 가로대가 설치되는 가로대장착어셈블리는;
가로대장착관은 일단을 폐쇄형으로 하고 타단을 개방형으로 형성한 것과;
상기 가로대장착관의 폐쇄 면에는 결착봉을 삽입(체결)시킬 수 있도록 하나 이상의 결속링을 형성한 것;을 특징으로 하는 각도조절이 가능한 난간의 가로대 연결장치. - 청구항 1에 있어서, 지주의 상단에 장착되고, 결착봉체결공의 외측으로 돌출되는 결착봉의 양단에 결합는 지주캡어셈블리는;
지주의 상단에 결합시킬 수 있도록 지주캡에 있어서;
상기 지주캡의 외측에는, 지주캡의 상면에 접속되는 상판의 양단에 측판을 나란하게 형성하고 각 측판의 하단부에 체결공이 뚫어진 고정브래킷을 결합 형성한 것;을 특징으로 하는 각도조절이 가능한 난간의 가로대 연결장치. - 청구항 1에 있어서, 지주캡의 외측에 결합 형성되는 고정브래킷은;
상기 지주캡과 고정브래킷을 일체로 형성한 것과;
상기 지주캡의 외측에 별도로 형성된 고정브래킷을 결합하여 형성한 것;중에서 어느 하나인 것을 특징으로 하는 각도조절이 가능한 난간의 가로대 연결장치.
Priority Applications (1)
| Application Number | Priority Date | Filing Date | Title |
|---|---|---|---|
| KR2020100008712U KR20120001426U (ko) | 2010-08-20 | 2010-08-20 | 상하각도조절이 가능한 난간의 가로대 연결장치 |
Applications Claiming Priority (1)
| Application Number | Priority Date | Filing Date | Title |
|---|---|---|---|
| KR2020100008712U KR20120001426U (ko) | 2010-08-20 | 2010-08-20 | 상하각도조절이 가능한 난간의 가로대 연결장치 |
Publications (1)
| Publication Number | Publication Date |
|---|---|
| KR20120001426U true KR20120001426U (ko) | 2012-02-29 |
Family
ID=45939600
Family Applications (1)
| Application Number | Title | Priority Date | Filing Date |
|---|---|---|---|
| KR2020100008712U Ceased KR20120001426U (ko) | 2010-08-20 | 2010-08-20 | 상하각도조절이 가능한 난간의 가로대 연결장치 |
Country Status (1)
| Country | Link |
|---|---|
| KR (1) | KR20120001426U (ko) |
Cited By (3)
| Publication number | Priority date | Publication date | Assignee | Title |
|---|---|---|---|---|
| KR101582480B1 (ko) * | 2015-04-30 | 2016-01-05 | 주식회사 경신화이바 | 배관용 지지대 |
| KR20160069152A (ko) * | 2014-12-08 | 2016-06-16 | 주식회사 대일휀스 | 난간용 지주와 이를 이용한 난간의 가로대 결합장치 |
| CN110387814A (zh) * | 2019-07-24 | 2019-10-29 | 温州众新建设有限公司 | 一种市政桥梁护栏及其施工方法 |
-
2010
- 2010-08-20 KR KR2020100008712U patent/KR20120001426U/ko not_active Ceased
Cited By (3)
| Publication number | Priority date | Publication date | Assignee | Title |
|---|---|---|---|---|
| KR20160069152A (ko) * | 2014-12-08 | 2016-06-16 | 주식회사 대일휀스 | 난간용 지주와 이를 이용한 난간의 가로대 결합장치 |
| KR101582480B1 (ko) * | 2015-04-30 | 2016-01-05 | 주식회사 경신화이바 | 배관용 지지대 |
| CN110387814A (zh) * | 2019-07-24 | 2019-10-29 | 温州众新建设有限公司 | 一种市政桥梁护栏及其施工方法 |
Similar Documents
| Publication | Publication Date | Title |
|---|---|---|
| KR101028334B1 (ko) | 각도조절이 가능한 난간의 가로대 연결장치 | |
| KR101429116B1 (ko) | 휀스용 연결조립체 | |
| KR100802500B1 (ko) | 경사 지면에 시공되는 울타리를 위한 가로대 각도 조절장치 | |
| KR20090085188A (ko) | 난간의 가로대 연결구 | |
| KR101199429B1 (ko) | 설치각도와 경사각도가 조절되는 난간 | |
| US20120261634A1 (en) | T-post bracket attachment system | |
| US20110198553A1 (en) | Wedge Post Base System | |
| KR101423317B1 (ko) | 각도조절이 가능한 난간 | |
| KR101448706B1 (ko) | 가로대의 각도 조절 및 설치가 용이한 휀스 | |
| KR101348920B1 (ko) | 각도조절이 용이한 난간 및 휀스용 연결구 | |
| KR200484993Y1 (ko) | 지주와 난간 사이의 이격 거리를 조절/결합시키기 위한 휀스용 연결조립체 | |
| KR20120001426U (ko) | 상하각도조절이 가능한 난간의 가로대 연결장치 | |
| KR102135147B1 (ko) | 지주대 내부에서 난간살대의 경사도를 조절하는 안전난간 | |
| KR102070711B1 (ko) | 각도 조절이 가능한 펜스의 가로대 고정구 | |
| KR20090082550A (ko) | 각도조절이 자유로운 난간 | |
| KR101178814B1 (ko) | 지역의 경사도에 따라 각도를 조절할 수 있는 난간 또는 펜스 | |
| KR102156673B1 (ko) | 목재 펜스용 하이브리드 브래킷 | |
| KR101299082B1 (ko) | 각도조절형 펜스 | |
| KR102092902B1 (ko) | 견고성을 갖도록 형성한 조립형 기능성 휀스 | |
| KR200490347Y1 (ko) | 난간 연결구 | |
| KR100931957B1 (ko) | 조립식 펜스 | |
| KR102534010B1 (ko) | 목재지주 하부체 고정용이성과 흔들림 및 소음 발생 방지성이 개선된 축광기능을 갖는 목재 펜스 | |
| CN214996697U (zh) | 一种新型建筑施工护栏 | |
| KR102151075B1 (ko) | 난간부와 발판부를 모듈화한 출렁다리 | |
| KR20110106997A (ko) | 펜스용 연결구 각도 조절장치 |
Legal Events
| Date | Code | Title | Description |
|---|---|---|---|
| A201 | Request for examination | ||
| UA0108 | Application for utility model registration |
Comment text: Application for Utility Model Registration Patent event code: UA01011R08D Patent event date: 20100820 |
|
| UA0201 | Request for examination | ||
| UG1501 | Laying open of application | ||
| E902 | Notification of reason for refusal | ||
| UE0902 | Notice of grounds for rejection |
Comment text: Notification of reason for refusal Patent event code: UE09021S01D Patent event date: 20120620 |
|
| E601 | Decision to refuse application | ||
| UE0601 | Decision on rejection of utility model registration |
Comment text: Decision to Refuse Application Patent event code: UE06011S01D Patent event date: 20120905 |