KR20120000238U - 순제거기용 덩굴유도편 - Google Patents

순제거기용 덩굴유도편 Download PDF

Info

Publication number
KR20120000238U
KR20120000238U KR2020100006987U KR20100006987U KR20120000238U KR 20120000238 U KR20120000238 U KR 20120000238U KR 2020100006987 U KR2020100006987 U KR 2020100006987U KR 20100006987 U KR20100006987 U KR 20100006987U KR 20120000238 U KR20120000238 U KR 20120000238U
Authority
KR
South Korea
Prior art keywords
vine
vinyl
rotary blade
guide piece
net
Prior art date
Legal status (The legal status is an assumption and is not a legal conclusion. Google has not performed a legal analysis and makes no representation as to the accuracy of the status listed.)
Granted
Application number
KR2020100006987U
Other languages
English (en)
Other versions
KR200460268Y1 (ko
Inventor
이시환
Original Assignee
이시환
Priority date (The priority date is an assumption and is not a legal conclusion. Google has not performed a legal analysis and makes no representation as to the accuracy of the date listed.)
Filing date
Publication date
Application filed by 이시환 filed Critical 이시환
Priority to KR2020100006987U priority Critical patent/KR200460268Y1/ko
Publication of KR20120000238U publication Critical patent/KR20120000238U/ko
Application granted granted Critical
Publication of KR200460268Y1 publication Critical patent/KR200460268Y1/ko
Anticipated expiration legal-status Critical
Expired - Fee Related legal-status Critical Current

Links

Images

Classifications

    • AHUMAN NECESSITIES
    • A01AGRICULTURE; FORESTRY; ANIMAL HUSBANDRY; HUNTING; TRAPPING; FISHING
    • A01DHARVESTING; MOWING
    • A01D34/00Mowers; Mowing apparatus of harvesters
    • A01D34/835Mowers; Mowing apparatus of harvesters specially adapted for particular purposes
    • A01D34/84Mowers; Mowing apparatus of harvesters specially adapted for particular purposes for edges of lawns or fields, e.g. for mowing close to trees or walls
    • AHUMAN NECESSITIES
    • A01AGRICULTURE; FORESTRY; ANIMAL HUSBANDRY; HUNTING; TRAPPING; FISHING
    • A01DHARVESTING; MOWING
    • A01D34/00Mowers; Mowing apparatus of harvesters
    • A01D34/01Mowers; Mowing apparatus of harvesters characterised by features relating to the type of cutting apparatus
    • A01D34/412Mowers; Mowing apparatus of harvesters characterised by features relating to the type of cutting apparatus having rotating cutters
    • A01D34/42Mowers; Mowing apparatus of harvesters characterised by features relating to the type of cutting apparatus having rotating cutters having cutters rotating about a horizontal axis, e.g. cutting-cylinders
    • A01D34/62Other details
    • AHUMAN NECESSITIES
    • A01AGRICULTURE; FORESTRY; ANIMAL HUSBANDRY; HUNTING; TRAPPING; FISHING
    • A01DHARVESTING; MOWING
    • A01D34/00Mowers; Mowing apparatus of harvesters
    • A01D34/01Mowers; Mowing apparatus of harvesters characterised by features relating to the type of cutting apparatus
    • A01D34/412Mowers; Mowing apparatus of harvesters characterised by features relating to the type of cutting apparatus having rotating cutters
    • A01D34/63Mowers; Mowing apparatus of harvesters characterised by features relating to the type of cutting apparatus having rotating cutters having cutters rotating about a vertical axis
    • A01D34/67Mowers; Mowing apparatus of harvesters characterised by features relating to the type of cutting apparatus having rotating cutters having cutters rotating about a vertical axis hand-guided by a walking operator
    • A01D34/68Mowers; Mowing apparatus of harvesters characterised by features relating to the type of cutting apparatus having rotating cutters having cutters rotating about a vertical axis hand-guided by a walking operator with motor driven cutters or wheels
    • AHUMAN NECESSITIES
    • A01AGRICULTURE; FORESTRY; ANIMAL HUSBANDRY; HUNTING; TRAPPING; FISHING
    • A01DHARVESTING; MOWING
    • A01D34/00Mowers; Mowing apparatus of harvesters
    • A01D34/01Mowers; Mowing apparatus of harvesters characterised by features relating to the type of cutting apparatus
    • A01D34/412Mowers; Mowing apparatus of harvesters characterised by features relating to the type of cutting apparatus having rotating cutters
    • A01D34/63Mowers; Mowing apparatus of harvesters characterised by features relating to the type of cutting apparatus having rotating cutters having cutters rotating about a vertical axis
    • A01D34/76Driving mechanisms for the cutters
    • A01D34/78Driving mechanisms for the cutters electric

Landscapes

  • Life Sciences & Earth Sciences (AREA)
  • Environmental Sciences (AREA)
  • Supports For Plants (AREA)
  • Catching Or Destruction (AREA)

Abstract

본 고안은 순제거기용 덩굴유도편에 관한 것으로서, 순제거기에 앞 부분은 뾰족하고 뒷부분으로 갈수록 점차 넓어지며 등 부분은 활모양으로 형성하여 비닐에 잘 미끄러지게 비닐접촉부를 형성하고,
덩굴유도편은 회전칼날(500)과 비닐 사이의 거리를 일정하게 유지하여 회전칼날에 의해 비닐이 절단되는 것을 막고, 배부분은 덩굴안내부를 형성하여 절단될 덩굴을 회전칼날의 회전반경 안으로 안내하며,
회전칼날이 덩굴을 자를 때 덩굴을 받쳐주어 잘 잘릴 수 있게 하며, 목 부분에는 모터삽입부 삽입홈과 체결구가 형성된 덩굴유도편을 체결한 구성이며,
덩굴유도편의 비닐접촉부를 비닐에 닿게 하여 순제거기를 작동시키고 전진하게 되면 덩굴유도편이 비닐과 회전칼날의 거리를 일정하게 유지함으로 회전칼날에 의해 비닐이 잘리는 것을 막고,
고랑으로 내려온 덩굴들이 덩굴유도편의 덩굴안내부를 타고 회전칼날의 회전반경 안으로 안내되어 절단되므로 작업속도가 빠르며 작업자가 몸을 굽히거나 쪼그려 앉지 않아도 되기 때문에 몸에 피로가 적으므로 작업능률이 향상되는 효과가 있다.

Description

순제거기용 덩굴유도편{vine induction plate for sprout extract}
본 고안은 순제거기용 덩굴유도편 관한 것으로서, 발아율 향상, 생육촉진, 잡초발생억제 등의 목적으로 비닐멀칭 재배를 하는 호박, 수박, 참외 등과 같은 덩굴식물의 덩굴이 고랑으로 내려오면 고랑으로 내려온 덩굴을 잘라 주는 순제거기용 덩굴유도편에 관한 것이다.
일반적으로 이랑에는 발아율 향상, 생육촉진, 잡초발생억제 등의 목적으로 비닐멀칭을 하여 농작물을 심고 고랑은 농약을 살포 및 농작물 관리 배수와 수확물 운반의 통로로 사용된다.
그러나 덩굴식물의 종류에 따라 호박, 수박은 아들순에서 참외는 손자순에서 좋은 열매를 수확할 수 있기 때문에 순지르기를 하게 되며, 순지르기를 하고나면 세력이 더 왕성하게 되어 고랑으로 덩굴이 내려와 통행에 방해가 될 뿐 아니라 작업자가 덩굴을 밟아 상처가 생기면 상처로 병균이 침투하여 농작물이 말라 죽거나 병에 걸리는 문제점이 있었다.
그래서 고랑으로 내려온 덩굴을 작업자가 고랑에 쪼그려 앉아 가위나 낫으로 하나하나 잘라줘야 하기 때문에 작업속도가 느리며 몸이 빨리 피곤해지는 문제점이 있었다.
본 발명은 상기한 종래 기술의 문제점을 해결하기 위하여 안출된 것으로서, 고랑으로 내려온 덩굴을 깔끔하게 절단하여 덩굴을 발로 밟아 발생하는 세균감염을 예방하고, 쪼그려 앉지 않고 서서 걸어가며 덩굴제거 작업을 하므로 작업속도와 작업능률이 향상되는 순제거기용 덩굴유도편을 제공하는데 목적이 있다.
상기한 과제를 해결하기 위한 순제거기용 덩굴유도편은 덩굴유도편의 앞 부분을 뾰족하게 하고 뒷부분으로 갈수록 점차 넓어지며 등 부분은 활모양으로 형성된 비닐접촉부를 형성하고 배부분은 덩굴안내부를 형성되며, 목 부분에는 모터삽입부 삽입홈과 체결구가 형성된 것을 특징으로 한다.
본 고안에 의한 순제거기용 덩굴유도편은 덩굴유도편의 비닐접촉부를 비닐에 닿게 하여 순제거기를 작동시키고 전진하게 되면 덩굴유도편이 비닐과 회전칼날의 거리를 일정하게 유지함으로 회전칼날에 의해 비닐이 잘리는 것을 막고,
고랑으로 내려온 덩굴들이 덩굴유도편의 덩굴안내부를 타고 회전칼날의 회전반경 안으로 안내되어 회전칼날이 덩굴을 자를 때 덩굴을 받쳐주어 절단면이 깔끔하게 잘리며, 작업속도가 빠르며 작업자가 몸을 굽히거나 쪼그려 앉지 않아도 되기 때문에 몸에 피로가 적으므로 작업능률이 향상되는 효과가 있다.
도 1은 본 고안의 순제거기용 덩굴유도편 사시도.
도 2는 본 고안의 순제거기용 덩굴유도편 주요부 분해사시도.
도 3은 본 고안의 순제거기용 덩굴유도편의 덩굴유도 모습을 나타낸 정면도.
도 4는 본 고안의 순제거기용 덩굴유도편의 덩굴유도 모습을 나타낸 우측면도.
도 5는 본 고안의 순제거기용 덩굴유도편이 사용되는 덩굴식물 예시도.
도 6은 본 고안의 순제거기용 덩굴유도편을 순제거기에 장착한 사용예시도.
작업대(200) 중심부로 배터리(100)와 연결되는 전선이 내장되고 상부 끝단에는 배터리(100)의 전원을 통제하는 전원스위치가 장치된 손잡이(210)를 장착하고, 작업대(200) 타측에는 체결돌편(220)을 형성하여 모터삽입부(300)의 체결돌편(310)과 연결되며,
모터삽입부(300) 상부로 모터를 삽입하고 모터회전축에 연결축을 삽입하여 무두렌치볼트로 고정하고 모터삽입부 하부 체결판(320)에 안전커버(400)를 볼트(410)와 너트(420)로 고정하며, 모터의 연결축이 외부로 돌출되어 회전칼날(500)을 끼워 고정너트(510)로 고정하는 순제거기에 있어서,
앞 부분은 뾰족하고 뒷부분으로 갈수록 점차 넓어지며 등 부분은 활모양으로 형성하여 비닐(700)에 잘 미끄러지게 비닐접촉부(610)를 형성하고,
덩굴유도편(600)은 회전칼날(500)과 비닐(700) 사이의 거리를 일정하게 유지하여 회전칼날에 의해 비닐(700)이 절단되는 것을 막고, 배부분은 덩굴안내부(620)를 형성하여 절단될 덩굴(800)을 회전칼날(500)의 회전반경 안으로 안내하며,
회전칼날(500)이 덩굴을 자를 때 덩굴(800)을 받쳐주어 잘 잘릴 수 있게 하며, 목 부분에는 모터삽입부 삽입홈(630)과 체결구(640)가 형성된 덩굴유도편(600)을 체결한 구성이다.
이하 본 발명의 첨부된 도면을 참조하여 상세하게 설명하면 다음과 같다.
도 1은 본 고안의 순제거기용 덩굴유도편 사시도이고, 도 2는 본 고안의 순제거기용 덩굴유도편 주요부 분해사시도로서 모터삽입부 체결판(320) 하부에는 안전커버(400)를 체결하고 상부에는 덩굴유도편(600)이 장착되는 것을 나타낸 것이다.
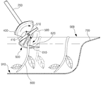
도 3은 본 고안의 순제거기용 덩굴유도편의 덩굴유도 모습을 나타낸 정면이고, 도 4는 본 고안의 순제거기용 덩굴유도편의 덩굴유도 모습을 나타낸 우측면도로서 비닐멀칭된 이랑(900)의 측면에 순제거기의 모터삽입부(300)가 이랑(900)을 향하고 회전칼날(500)이 고랑(910)쪽으로 향하게 하여, 덩굴유도편(600)의 비닐접촉부(610)를 비닐(700)에 닿게 하여 순제거기를 작동시키고 전진하게 되면 고랑(910)으로 내려온 덩굴(800)이 덩굴유도편의 덩굴안내부를 타고 올라가 회전칼날(500)에 의하여 절단된다.
도 5는 본 고안의 순제거기용 덩굴유도편이 사용되는 덩굴식물 예시도로서, 수박은 보통 잎이 4장 정도 나오면 어미덩굴(810)(원줄기)를 자르는 순지르기를 하고 아들덩굴(820)(곁가지) 중에서도 세력이 좋은 2줄기를 키운 후 다시 꽃은 세력이 좋은 마디(보통 15절-20절 부근)의 꽃에서 수박을 키우게 되는데 이때 순들이 고랑으로 내려오게 되는 것을 나타낸 것이다.
도 6은 본 고안의 순제거기용 덩굴유도편을 순제거기에 장착한 사용예시도로서 작업자가 허리를 굽히지 않고 덩굴제거를 할 수 있는 것을 나타낸 것이다.
100 : 배터리 200 : 작업대
210 : 손잡이 220 : 체결돌편
300 : 모터삽입부 310 : 체결돌편
320 : 체결판 400 : 안전커버
410 : 볼트 420 : 너트
500 : 회전칼날 600 : 덩굴유도편
610 : 비닐접촉부 620 : 덩굴안내부
630 : 모터삽입부 삽입홈 640 : 체결구
700 : 비닐 800 : 덩굴
810 : 어미덩굴 820 : 아들덩굴
900 : 이랑 910 : 고랑

Claims (1)

  1. 작업대(200) 중심부로 배터리(100)와 연결되는 전선이 내장되고 상부 끝단에는 배터리(100)의 전원을 통제하는 전원스위치가 장치된 손잡이(210)를 장착하고, 작업대(200) 타측에는 체결돌편(220)을 형성하여 모터삽입부(300)의 체결돌편(310)과 연결되며,
    모터삽입부(300) 상부로 모터를 삽입하고 모터회전축에 연결축을 삽입하여 무두렌치볼트로 고정하고 모터삽입부 하부 체결판(320)에 안전커버(400)를 볼트(410)와 너트(420)로 고정하며, 모터의 연결축이 외부로 돌출되어 회전칼날(500)을 끼워 고정너트(510)로 고정하는 순제거기에 있어서,
    덩굴유도편(600)은 앞 부분은 뾰족하고 뒷부분으로 갈수록 점차 넓어지며 등 부분은 활모양으로 형성된 비닐접촉부(610)를 형성하고 배부분은 덩굴안내부(620)를 형성되며 목 부분에는 모터삽입부 삽입홈(630)과 체결구(640)가 형성된 순제거기용 덩굴유도편.
KR2020100006987U 2010-07-01 2010-07-01 순제거기용 덩굴유도편 Expired - Fee Related KR200460268Y1 (ko)

Priority Applications (1)

Application Number Priority Date Filing Date Title
KR2020100006987U KR200460268Y1 (ko) 2010-07-01 2010-07-01 순제거기용 덩굴유도편

Applications Claiming Priority (1)

Application Number Priority Date Filing Date Title
KR2020100006987U KR200460268Y1 (ko) 2010-07-01 2010-07-01 순제거기용 덩굴유도편

Publications (2)

Publication Number Publication Date
KR20120000238U true KR20120000238U (ko) 2012-01-09
KR200460268Y1 KR200460268Y1 (ko) 2012-05-10

Family

ID=46608052

Family Applications (1)

Application Number Title Priority Date Filing Date
KR2020100006987U Expired - Fee Related KR200460268Y1 (ko) 2010-07-01 2010-07-01 순제거기용 덩굴유도편

Country Status (1)

Country Link
KR (1) KR200460268Y1 (ko)

Families Citing this family (2)

* Cited by examiner, † Cited by third party
Publication number Priority date Publication date Assignee Title
KR200470369Y1 (ko) 2013-07-02 2013-12-11 이충락 작물 순 절단기의 절단안내 및 비닐보호용 가이드
KR102150688B1 (ko) 2019-09-10 2020-09-01 이신근 작물 순제거기

Family Cites Families (3)

* Cited by examiner, † Cited by third party
Publication number Priority date Publication date Assignee Title
JPH056734Y2 (ko) * 1988-11-14 1993-02-22
KR20090041301A (ko) * 2007-10-23 2009-04-28 이시환 농작물 순 제거기
KR20100002933U (ko) * 2008-09-04 2010-03-12 이시환 농작물 순제거기의 커터날 고정장치

Also Published As

Publication number Publication date
KR200460268Y1 (ko) 2012-05-10

Similar Documents

Publication Publication Date Title
USD605004S1 (en) Palm trimmer
EP2404490A3 (en) Agricultural weeding machine
KR200460268Y1 (ko) 순제거기용 덩굴유도편
KR20100109650A (ko) 다기능이 구비된 원예용 전지가위
CN204860230U (zh) 果树环剥刀
CN204948859U (zh) 一种便捷式修枝剪
JP2000024340A (ja) 剪定鋏の鞘
KR20180000192U (ko) 제초 및 전지용 칼
CN109429679A (zh) 一种具备新型机头的背负式割草机
CN105009960A (zh) 一种树木专用修枝剪
CN211267798U (zh) 瓜类理蔓器
CN203968675U (zh) 一种手持式剑麻收割器
Mohite et al. Technical aspects of multipurpose weed cutter or power weeder
RU112581U1 (ru) Пропольник ручной
CN220088035U (zh) 可调节式手持修剪装置
CN214593014U (zh) 一种果树园艺的整形修剪装置
CN205596670U (zh) 便携式植株修剪机
CN209594277U (zh) 一种具备新型机头的背负式割草机
CN208624109U (zh) 一种设置有保护刀柄的防割伤采收刀
CN208597364U (zh) 一种新型多功能园林果树用修枝剪
CN215122340U (zh) 一种苗木培育用修剪装置
CN213153021U (zh) 一种手持式绿篱修剪机
CN207911563U (zh) 一种园林树木防倾倒支架
CN212650128U (zh) 一种城市绿化工程用的修剪装置
CN210928704U (zh) 一种苗木嫁接、修整多用便持刀

Legal Events

Date Code Title Description
A201 Request for examination
UA0108 Application for utility model registration

St.27 status event code: A-0-1-A10-A12-nap-UA0108

UA0201 Request for examination

St.27 status event code: A-1-2-D10-D11-exm-UA0201

UG1501 Laying open of application

St.27 status event code: A-1-1-Q10-Q12-nap-UG1501

E701 Decision to grant or registration of patent right
UE0701 Decision of registration

St.27 status event code: A-1-2-D10-D22-exm-UE0701

REGI Registration of establishment
UR0701 Registration of establishment

St.27 status event code: A-2-4-F10-F11-exm-UR0701

UR1002 Payment of registration fee

St.27 status event code: A-2-2-U10-U11-oth-UR1002

Fee payment year number: 1

UG1601 Publication of registration

St.27 status event code: A-4-4-Q10-Q13-nap-UG1601

FPAY Annual fee payment

Payment date: 20150214

Year of fee payment: 4

UR1001 Payment of annual fee

St.27 status event code: A-4-4-U10-U11-oth-UR1001

Fee payment year number: 4

FPAY Annual fee payment

Payment date: 20161027

Year of fee payment: 5

UR1001 Payment of annual fee

St.27 status event code: A-4-4-U10-U11-oth-UR1001

Fee payment year number: 5

FPAY Annual fee payment

Payment date: 20170417

Year of fee payment: 6

UR1001 Payment of annual fee

St.27 status event code: A-4-4-U10-U11-oth-UR1001

Fee payment year number: 6

P22-X000 Classification modified

St.27 status event code: A-4-4-P10-P22-nap-X000

FPAY Annual fee payment

Payment date: 20180403

Year of fee payment: 7

UR1001 Payment of annual fee

St.27 status event code: A-4-4-U10-U11-oth-UR1001

Fee payment year number: 7

R18-X000 Changes to party contact information recorded

St.27 status event code: A-5-5-R10-R18-oth-X000

FPAY Annual fee payment

Payment date: 20190305

Year of fee payment: 8

UR1001 Payment of annual fee

St.27 status event code: A-4-4-U10-U11-oth-UR1001

Fee payment year number: 8

UC1903 Unpaid annual fee

St.27 status event code: A-4-4-U10-U13-oth-UC1903

Not in force date: 20200504

Payment event data comment text: Termination Category : DEFAULT_OF_REGISTRATION_FEE

UC1903 Unpaid annual fee

St.27 status event code: N-4-6-H10-H13-oth-UC1903

Ip right cessation event data comment text: Termination Category : DEFAULT_OF_REGISTRATION_FEE

Not in force date: 20200504