KR20110090385A - LED lighting device with block assembly structure - Google Patents

LED lighting device with block assembly structure Download PDF

Info

Publication number
KR20110090385A
KR20110090385A KR1020100010122A KR20100010122A KR20110090385A KR 20110090385 A KR20110090385 A KR 20110090385A KR 1020100010122 A KR1020100010122 A KR 1020100010122A KR 20100010122 A KR20100010122 A KR 20100010122A KR 20110090385 A KR20110090385 A KR 20110090385A
Authority
KR
South Korea
Prior art keywords
led
light source
led lighting
housing plate
plate
Prior art date
Legal status (The legal status is an assumption and is not a legal conclusion. Google has not performed a legal analysis and makes no representation as to the accuracy of the status listed.)
Granted
Application number
KR1020100010122A
Other languages
Korean (ko)
Other versions
KR101106273B1 (en
Inventor
이재영
정상동
윤태기
Original Assignee
주식회사 아모럭스
Priority date (The priority date is an assumption and is not a legal conclusion. Google has not performed a legal analysis and makes no representation as to the accuracy of the date listed.)
Filing date
Publication date
Application filed by 주식회사 아모럭스 filed Critical 주식회사 아모럭스
Priority to KR1020100010122A priority Critical patent/KR101106273B1/en
Priority to PCT/KR2011/000649 priority patent/WO2011096686A2/en
Publication of KR20110090385A publication Critical patent/KR20110090385A/en
Application granted granted Critical
Publication of KR101106273B1 publication Critical patent/KR101106273B1/en
Expired - Fee Related legal-status Critical Current
Anticipated expiration legal-status Critical

Links

Images

Classifications

    • FMECHANICAL ENGINEERING; LIGHTING; HEATING; WEAPONS; BLASTING
    • F21LIGHTING
    • F21SNON-PORTABLE LIGHTING DEVICES; SYSTEMS THEREOF; VEHICLE LIGHTING DEVICES SPECIALLY ADAPTED FOR VEHICLE EXTERIORS
    • F21S2/00Systems of lighting devices, not provided for in main groups F21S4/00 - F21S10/00 or F21S19/00, e.g. of modular construction
    • F21S2/005Systems of lighting devices, not provided for in main groups F21S4/00 - F21S10/00 or F21S19/00, e.g. of modular construction of modular construction
    • FMECHANICAL ENGINEERING; LIGHTING; HEATING; WEAPONS; BLASTING
    • F21LIGHTING
    • F21VFUNCTIONAL FEATURES OR DETAILS OF LIGHTING DEVICES OR SYSTEMS THEREOF; STRUCTURAL COMBINATIONS OF LIGHTING DEVICES WITH OTHER ARTICLES, NOT OTHERWISE PROVIDED FOR
    • F21V29/00Protecting lighting devices from thermal damage; Cooling or heating arrangements specially adapted for lighting devices or systems
    • F21V29/50Cooling arrangements
    • F21V29/502Cooling arrangements characterised by the adaptation for cooling of specific components
    • F21V29/507Cooling arrangements characterised by the adaptation for cooling of specific components of means for protecting lighting devices from damage, e.g. housings
    • FMECHANICAL ENGINEERING; LIGHTING; HEATING; WEAPONS; BLASTING
    • F21LIGHTING
    • F21WINDEXING SCHEME ASSOCIATED WITH SUBCLASSES F21K, F21L, F21S and F21V, RELATING TO USES OR APPLICATIONS OF LIGHTING DEVICES OR SYSTEMS
    • F21W2131/00Use or application of lighting devices or systems not provided for in codes F21W2102/00-F21W2121/00
    • F21W2131/10Outdoor lighting
    • F21W2131/103Outdoor lighting of streets or roads
    • FMECHANICAL ENGINEERING; LIGHTING; HEATING; WEAPONS; BLASTING
    • F21LIGHTING
    • F21YINDEXING SCHEME ASSOCIATED WITH SUBCLASSES F21K, F21L, F21S and F21V, RELATING TO THE FORM OR THE KIND OF THE LIGHT SOURCES OR OF THE COLOUR OF THE LIGHT EMITTED
    • F21Y2105/00Planar light sources
    • F21Y2105/10Planar light sources comprising a two-dimensional array of point-like light-generating elements
    • FMECHANICAL ENGINEERING; LIGHTING; HEATING; WEAPONS; BLASTING
    • F21LIGHTING
    • F21YINDEXING SCHEME ASSOCIATED WITH SUBCLASSES F21K, F21L, F21S and F21V, RELATING TO THE FORM OR THE KIND OF THE LIGHT SOURCES OR OF THE COLOUR OF THE LIGHT EMITTED
    • F21Y2107/00Light sources with three-dimensionally disposed light-generating elements
    • F21Y2107/10Light sources with three-dimensionally disposed light-generating elements on concave supports or substrates, e.g. on the inner side of bowl-shaped supports
    • FMECHANICAL ENGINEERING; LIGHTING; HEATING; WEAPONS; BLASTING
    • F21LIGHTING
    • F21YINDEXING SCHEME ASSOCIATED WITH SUBCLASSES F21K, F21L, F21S and F21V, RELATING TO THE FORM OR THE KIND OF THE LIGHT SOURCES OR OF THE COLOUR OF THE LIGHT EMITTED
    • F21Y2115/00Light-generating elements of semiconductor light sources
    • F21Y2115/10Light-emitting diodes [LED]

Landscapes

  • Engineering & Computer Science (AREA)
  • General Engineering & Computer Science (AREA)
  • Non-Portable Lighting Devices Or Systems Thereof (AREA)
  • Arrangement Of Elements, Cooling, Sealing, Or The Like Of Lighting Devices (AREA)
  • Securing Globes, Refractors, Reflectors Or The Like (AREA)

Abstract

본 발명은 다양한 배광특성을 얻을 수 있도록 설계 가능한 것은 물론, 제작이 용이한 블록 조립 구조를 갖는 LED 조명장치에 관한 것이다.
본 발명은 다각형의 판형상으로 이루어지는 하우징 플레이트; 및 각각의 상단부가 상기 하우징 플레이트의 다각형의 각 측면에 착탈가능하게 결합되어 통형상을 이루며, 내측면에 실장되는 다수의 LED모듈이 미리 설정된 배광곡선에 따라 서로 다른 조사각도로 배광이 이루어지도록 설정되며, 적어도 일부는 배향방향이 하우징의 중심축으로부터 벗어난 방향으로 설정되는 다수의 광원블록;을 포함한다.
The present invention relates to an LED lighting device having a block assembly structure that can be designed as well as easy to manufacture a variety of light distribution characteristics.
The present invention is a housing plate consisting of a polygonal plate shape; And each upper end is detachably coupled to each side of the polygon of the housing plate to form a tubular shape, and a plurality of LED modules mounted on the inner side are configured to distribute light at different irradiation angles according to a predetermined light distribution curve. And at least a part of the plurality of light source blocks in which an orientation direction is set in a direction away from the central axis of the housing.

Description

블록 조립 구조를 갖는 LED 조명장치{LED Lighting Apparatus Having Block Assembly Structure}LED lighting device having a block assembly structure {LED Lighting Apparatus Having Block Assembly Structure}

본 발명은 LED 조명장치에 관한 것으로, 특히 LED를 포함하는 다수의 광원블록을 간편하게 하우징 플레이트에 조립하여 다양한 배광곡선을 갖도록 설계 및 변경이 용이하고, 광원 블록별로 분리 가능하여 유지보수가 용이하게 이루어질 수 있는 블록 조립 구조를 갖는 LED 조명장치에 관한 것이다.The present invention relates to an LED lighting device, and in particular, a plurality of light source blocks including LEDs can be easily assembled and assembled to a housing plate to have various light distribution curves, and can be easily separated and separated by light source blocks, thereby making maintenance easy. It relates to an LED lighting device having a block assembly structure that can be.

일반적으로, 도로 조명 시 주로 사용되는 배광은 제1 배광타입 내지 제4 배광 타입의 배광곡선(light distribution curve)을 사용하고 있으며, 가로등은 도로에 설치 시 상기 배광곡선을 가지는 배광을 통해 도로면을 효율적으로 조명할 수 있도록 설계된다. 이러한 가로등은 벌브형 램프를 사용하는 경우 램프 하우징 내측면에 구비되는 반사판의 반사각도를 조절하여 배광을 한다.In general, the light distribution mainly used for road lighting uses a light distribution curve of the first light distribution type to the fourth light distribution type, and when installed on a road, a street light is used to distribute the road surface through the light distribution having the light distribution curve. It is designed for efficient lighting. When the street lamp uses a bulb-type lamp, light distribution is controlled by adjusting the reflection angle of the reflector provided on the inner surface of the lamp housing.

최근에는 전력 소모량이 적고 고휘도로 발광하는 고휘도 LED(Light Emitting Diode)를 채용하는 가로등이 개발되고 있다. 이와 같은 고휘도 LED는 강한 직진성을 가짐에 따라 넓은 지역을 조사할 수 있도록 LED칩을 패키징할 때 1차 렌즈에 부가하여 LED칩에서 발광되는 빛을 다양한 조사범위로 분산시키는 12°렌즈, 25°렌즈, 30°렌즈 및 40°렌즈 등의 2차 렌즈를 포함한다. 이와 같이 가로등은 수개의 고휘도 LED모듈로 제작하고 다수의 LED모듈을 이용하여 가로등 및 보안등에 적용하고 있다.Recently, street lamps employing high-brightness LEDs (Light Emitting Diodes), which consume little power and emit light with high brightness, have been developed. These high-brightness LEDs have a strong straightness, and in addition to the primary lens when packaging the LED chip to irradiate a large area, 12 ° lens, 25 ° lens to disperse the light emitted from the LED chip in various irradiation range And secondary lenses such as 30 ° and 40 ° lenses. In this way, the street lamp is made of several high-brightness LED modules and is applied to street lamps and security lamps using a plurality of LED modules.

한편, 상기 LED조명장치는 국내공개특허 제2009-78712호 및 국내공개특허 제2009-43215호에 각각 개시되어 있다.On the other hand, the LED lighting device is disclosed in Korean Patent Publication No. 2009-78712 and Korean Patent Publication No. 2009-43215, respectively.

국내공개특허 제2009-78712호에 개시된 LED조명장치는 서로 상이한 경사각을 갖도록 설정된 다수의 경사블록부재 각각에 다수의 LED모듈이 실장되어 원하는 배광곡선을 쉽게 설계할 수 있는 구조를 가지고 있다. 상기 LED 조명장치는 원형의 상부 플레이트 외주를 따라 측면부가 일체로 형성되어 대략 보울(bawl) 형상의 하우징부재가 구비되며, 하우징 부재의 내부 측, 상부 플레이트 하측 및 측면부 내측에 각각 다수의 LED모듈을 장착한 구성이 개시되어 있다.The LED lighting device disclosed in Korean Patent Publication No. 2009-78712 has a structure in which a plurality of LED modules are mounted on each of a plurality of inclined block members set to have different inclination angles so as to easily design a desired light distribution curve. The LED lighting device is formed along the outer periphery of the circular top plate integrally formed with a housing member having a bowl shape, and a plurality of LED modules are respectively provided on the inner side, the lower side of the upper plate, and the inner side of the housing member. The attached structure is disclosed.

상기 LED조명장치는 서로 상이한 경사각을 갖도록 설정된 다수의 경사블록부재 각각에 다수의 LED모듈이 실장되어 원하는 배광곡선을 쉽게 설계할 수 있는 구조를 가지고 있다.The LED lighting device has a structure in which a plurality of LED modules are mounted on each of a plurality of inclined block members set to have different inclination angles so as to easily design a desired light distribution curve.

그런데, 이러한 종래기술은 대형의 하우징 부재를 제작하는 데에 따른 기술적인 어려움이 따르며 아울러 하우징 부재 내부에 장착되는 다수의 LED모듈로 다수의 전력공극용 배선 및 제어신호용 배선이 수작업으로 연결됨에 따라 내부가 복잡하기 때문에 생산성을 저하시키는 요인을 안고 있었다.However, such a conventional technology is accompanied by technical difficulties in manufacturing a large housing member, and as a plurality of LED modules mounted inside the housing member, a plurality of power gap wiring and control signal wiring are manually connected. Has a factor of lowering productivity because of its complexity.

또한, 조명장치가 설치되는 장소, 지역(지자체), 국가에 따라 배광곡선의 종류에 따라 다수의 LED모듈이 실장되는 예를 들어, 12개의 경사블록부재 세트를 다양한 조합으로 구비하는 것이 요구되며 이에 따른 다이캐스팅 금형 제작비가 상승하는 문제점이 있었다.In addition, it is required to provide a set of 12 inclined block members in various combinations, for example, in which a plurality of LED modules are mounted according to the type of light distribution curve according to the place, region (local government), and country where the lighting device is installed. There was a problem that the die casting mold manufacturing costs increase.

더욱이, 하나의 경사블록부재에 다수의 LED가 실장되는 금속PCB의 나사 조립과 하우징부재에 대한 다수의 경사블록부재의 나사 조립으로 인해 조립자동화가 어렵고, 고장난 경사블록 부재의 교체를 위해 글래스커버, 경사블록 및 상판 PCB를 해체하기 위해 10개 이상의 나사 분리작업이 요구되므로 유지보수가 용이하지 못한 문제점이 있었다.Furthermore, the screw assembly of the metal PCB in which a plurality of LEDs are mounted on one inclined block member and the screw assembly of the plurality of inclined block members to the housing member are difficult to automate the assembly, and the glass cover, There was a problem in that maintenance was not easy because more than 10 screws were removed to dismantle the inclined block and the upper plate PCB.

아울러 하나의 경사블록부재에 조립되는 LED 실장 금속PCB는 각각 3개의 LED가 실장되어 있으며 이 3개의 LED는 모두 1방향을 향하도록 패키징되어 있기 때문에 단일 광원으로 인식되었다. 따라서 실장되는 LED들의 조사방향이 효과적으로 분산되지 못하므로 균제도의 극대화를 도모하지 못하는 문제가 있었다.In addition, the LED-mounted metal PCB assembled to one inclined block member has three LEDs, and each of these three LEDs is packaged to face one direction, so it was recognized as a single light source. Therefore, there is a problem in that the direction of irradiation of the mounted LEDs is not effectively distributed, so the maximization of the uniformity is not attained.

더욱이, 상기 종래기술은 경사블록부재의 LED 장착면이 미리 설정된 각도로 제작되며, 이에 따라 일정 개수의 LED가 단일 광원으로 노면을 규칙적으로 조명하게 되므로, 운전자 및 보행자에게 직접 조사되는 광량이 많기 때문에 심한 눈부심을 겪는 문제가 있었다.In addition, the prior art is that the LED mounting surface of the inclined block member is manufactured at a predetermined angle, so that a predetermined number of LEDs regularly illuminate the road surface with a single light source, so that the amount of light directly irradiated directly to the driver and pedestrians There was a problem of severe glare.

또한 상기 국내공개특허 제2009-43215호에 개시된 조명장치도 상술한 국내공개특허 제2009-78712호와 동일하거나 유사한 문제점을 안고 있다.In addition, the lighting device disclosed in the Korean Patent Publication No. 2009-43215 also has the same or similar problems as the aforementioned Korean Patent Publication No. 2009-78712.

더욱이, 복수의 LED에서 발산하는 열을 효율적으로 발산시키기 어렵기 때문에, 열에 의해 발광 효율이 저하될 뿐만 아니라, 부품의 손상이 발생되는 등의 문제점이 있었다.Moreover, since it is difficult to efficiently dissipate heat emitted from a plurality of LEDs, there is a problem that not only the light emission efficiency is lowered by heat, but also damage to components occurs.

또한, 종래의 LED를 사용한 가로등이나 통상의 가로등은 하우징 내에 설치되는 램프를 보호하기 위해 투명한 보호커버를 사용하였다. 그런데 이러한 보호커버는 주로 하우징의 외부 측으로 돌출되는 콘케이브 타입(concave type)으로 이루어짐에 따라 하우징과 보호커버를 결합한 상태에서는 가로등이 상하로 돌출된 형상이 되며 전체적으로 부피가 커지기 때문에 보관 및 운반이 용이하지 못한 문제가 있었다.In addition, a streetlight or a conventional streetlight using a conventional LED used a transparent protective cover to protect the lamp installed in the housing. However, the protective cover is mainly composed of a concave type (concave type) protruding to the outer side of the housing, the street lamp is protruded up and down in a state in which the housing and the protective cover is combined, the overall volume is large, so easy to store and transport There was a problem that was not.

KR10-2009-43215AKR10-2009-43215A KR10-2009-78712AKR10-2009-78712A

따라서, 본 발명은 상기와 같은 문제점을 해결하기 위하여 안출된 것으로, 그 목적은 다양한 배광특성을 갖도록 조사각도와 밝기가 서로 상이한 다수의 광원블록을 하우징 플레이트에 블록 조립가능하므로 설계 변경이 용이하게 이루어질 수 있는 블록 조립 구조를 갖는 LED 조명장치를 제공하는 데 있다.Accordingly, the present invention has been made to solve the above problems, the object of which is that the design can be easily changed because a plurality of light source blocks different from the irradiation angle and brightness can be assembled to the housing plate to have various light distribution characteristics It is to provide an LED lighting device having a block assembly structure that can be.

본 발명의 다른 목적은 다수의 LED 모듈을 포함하는 다수의 광원블록을 각각 점광원으로 이용하여 원하는 배광 타입을 구현하도록 조사각도와 밝기가 서로 상이한 광원블록을 선택적으로 하우징 플레이트에 조립하여 원하는 배광 타입의 특성을 구현할 수 있는 블록 조립 구조를 갖는 LED 조명장치를 제공하는 데 있다.Another object of the present invention is to use a plurality of light source blocks including a plurality of LED modules as a point light source, respectively, to implement a desired light distribution type to selectively assemble a light source block having different irradiation angles and brightness to a housing plate to a desired light distribution type. It is to provide an LED lighting device having a block assembly structure that can implement the characteristics of.

본 발명의 또 다른 목적은 다수의 LED 모듈이 실장된 다수의 광원블록을 하우징 플레이트에 조립 성형하여 원하는 조사각도를 이룰 수 있으며, 각각의 광원블록을 개별적으로 분리 가능하므로 용이하게 유지 보수할 수 있는 블록 조립 구조를 갖는 LED 조명장치를 제공하는 데 있다.Still another object of the present invention is to achieve a desired irradiation angle by assembling a plurality of light source blocks mounted with a plurality of LED modules to a housing plate, and can be easily maintained because each light source block can be separately separated. It is to provide an LED lighting device having a block assembly structure.

본 발명의 다른 목적은 하우징 플레이트에 각각 LED 모듈을 실장한 다수개의 광원블록을 전방향에 조립하여 조립성이 우수하며, 계면을 최소화하여 LED로부터 방열핀까지의 열전달효율이 우수하여 방열효과를 극대화할 수 있는 블록 조립 구조를 갖는 LED 조명장치를 제공하는 데 있다.Another object of the present invention is to assemble a plurality of light source blocks each mounting a LED module on the housing plate in all directions to assemble excellent, to minimize the interface to maximize the heat dissipation effect by excellent heat transfer efficiency from the LED to the radiating fins It is to provide an LED lighting device having a block assembly structure that can be.

상기 목적을 달성하기 위해, 본 발명의 일 양태에 따르면, 다각형의 판형상으로 이루어지는 하우징 플레이트; 및 각각의 상단부가 상기 하우징 플레이트의 다각형의 각 측면에 착탈가능하게 결합되어 통형상을 이루며, 내측면에 실장되는 다수의 LED모듈이 미리 설정된 배광곡선에 따라 서로 다른 조사각도로 배광이 이루어지도록 설정되며, 적어도 일부는 배향방향이 하우징의 중심축으로부터 벗어난 방향으로 설정되는 다수의 광원블록;을 포함하는 것을 특징으로 하는 LED 조명장치를 제공한다.In order to achieve the above object, according to an aspect of the present invention, a housing plate made of a polygonal plate shape; And each upper end is detachably coupled to each side of the polygon of the housing plate to form a tubular shape, and a plurality of LED modules mounted on the inner side are configured to distribute light at different irradiation angles according to a predetermined light distribution curve. And at least a part of the plurality of light source blocks in which an orientation direction is set in a direction deviating from the central axis of the housing.

상기 다수의 광원블록 각각은 판형상의 몸체와, 상기 몸체의 내측면에 돌출되어 일체로 형성되며 내측면에 적어도 하나의 경사면을 갖는 각도조절부와, 상기 각도조절부의 경사면에 실장되는 다수의 LED모듈과, 상기 몸체의 상단으로부터 절곡되어 연장되며 상기 하우징 플레이트에 결합되는 조립부와. 상기 다수의 LED모듈과 각도조절부를 커버링하는 커버를 포함한다. Each of the plurality of light source blocks has a plate-shaped body, an angle adjusting unit which is integrally formed by protruding from an inner surface of the body and has at least one inclined surface on the inner surface, and a plurality of LED modules mounted on the inclined surface of the angle adjusting unit. And an assembly part that is bent and extended from an upper end of the body and coupled to the housing plate. It includes a cover for covering the plurality of LED module and the angle adjuster.

상기 몸체의 외측면에 돌출되어 방열이 이루어지는 다수의 방열핀을 더 포함한다. It further includes a plurality of heat dissipation fins protruding from the outer surface of the body to radiate heat.

상기 조립부는 몸체와의 사이에 90도이상의 경사각을 갖도록 설정된다. The assembly portion is set to have an inclination angle of 90 degrees or more between the body and the body.

상기 각도조절부는 내측면에 서로 다른 배향 방향을 갖는 다단 경사면을 갖는다. The angle adjusting unit has a multi-stage inclined surface having different orientation directions on the inner surface.

상기 판형상의 몸체는 상측으로부터 하측으로 갈수록 폭이 넓어지는 것을 특징으로 한다. The plate-shaped body is characterized in that the width becomes wider from the upper side to the lower side.

상기 하우징 플레이트의 상부면에 지주로부터 연장된 연결부가 결합된다. A connecting portion extending from the support is coupled to the upper surface of the housing plate.

상기 하우징 플레이트의 하부면에 간격을 두고 장착되며, 상기 광원블록에 형성된 컨넥터에 의해 연결되어 상기 LED모듈에 전원을 인가하기 위한 전원장치용 인쇄회로기판을 더 포함하며, 상기 연결부를 통하여 외부전원이 인가되는 것을 특징으로 한다. It is mounted on the lower surface of the housing plate at intervals, and is connected by a connector formed in the light source block further comprises a printed circuit board for a power supply for applying power to the LED module, the external power through the connection portion It is characterized by being applied.

상기한 바와 같이, 본 발명에 있어서는, 각 블록마다 LED 모듈을 구비한 블록 구조의 다수의 광원블록을 하우징 플레이트에 조립하므로 조립, 분리, 설계 변경이 용이하고, 다수의 광원블록에 다양한 각도를 제공하는 각도조절부를 일체로 형성함과 동시에 하우징 플레이트의 전방향에 서로 다른 조사각을 갖고 조립됨에 의해 원하는 배광타입의 조명장치를 구현할 수 있는 이점이 있다.As described above, in the present invention, since a plurality of light source blocks having a block structure having an LED module for each block are assembled to a housing plate, assembly, separation, and design change are easy, and various angles are provided to a plurality of light source blocks. By forming the angle control unit integrally and at the same time as having a different irradiation angle in the front direction of the housing plate there is an advantage that can implement the desired light distribution type lighting device.

또한, 하우징 플레이트의 전방향에 방열핀이 일체로 형성된 다수의 광원블록을 조립하여 계면을 최소화할 수 있어 LED로부터 방열핀까지의 열전달이 우수하여 방열효과를 더욱 증대시킬 수 있다. In addition, by assembling a plurality of light source blocks formed integrally with the radiating fins in the front direction of the housing plate to minimize the interface, the heat transfer from the LED to the radiating fins can be excellent to further increase the heat radiating effect.

또한, 본 발명은 다수의 LED를 방열핀과 각도조절부가 일체로 형성되고, 내측면에 다수의 LED모듈이 실장된 다수의 광원블록을 형성하여 하우징 플레이트에 간편하게 조립하므로 LED의 유지 및 보수 시 분리 및 교체가 용이한 효과를 제공한다. In addition, the present invention is a plurality of LEDs are formed integrally with the heat radiation fin and the angle control unit, and formed a plurality of light source blocks mounted with a plurality of LED modules on the inner side to easily assemble to the housing plate to separate and maintain the LED during maintenance and repair Provides an easy replacement effect.

더욱이, 다수의 광원블록을 하우징 플레이트에 결합시킬 때, 광원블록에 LED구동용 전원을 인가하는 수컨넥터가 인쇄회로기판(PCB)에 설치된 암컨넥터에 바로 결합되는 구조를 채용하여, 다수의 배선을 결선하고 조립 연결하는 공정을 생략하여 조립생산성을 높일 수 있다. Furthermore, when the plurality of light source blocks are coupled to the housing plate, a male connector that applies power for driving the LED to the light source block is directly coupled to the female connector installed on the printed circuit board (PCB), thereby providing a plurality of wirings. Assembly productivity can be improved by omitting the process of connecting and assembling.

도 1은 본 발명의 일 실시예에 따른 LED 조명장치를 나타내는 사시도,
도 2는 본 발명의 일 실시예에 따른 LED 조명장치를 나타내는 분해사시도,
도 3은 본 발명의 일 실시예에 따른 LED 조명장치를 나타내는 저면도,
도 4는 본 발명의 일 실시예에 따른 LED 조명장치를 나타내는 평면도,
도 5는 본 발명의 일실시예에 따른 LED 조명장치의 하우징 플레이트와 광원블록을 설명하기 위한 사시도,
도 6은 도 4에 표시된 Ⅵ-Ⅴ선을 따라 나타내는 단면도,
도 7 및 도 8은 광원블록을 나타내는 분해사시도 및 사시도,
도 9는 배광 타입별 배광곡선을 나타낸 도면이다.
1 is a perspective view showing an LED lighting apparatus according to an embodiment of the present invention,
2 is an exploded perspective view showing an LED lighting apparatus according to an embodiment of the present invention,
3 is a bottom view showing the LED lighting apparatus according to an embodiment of the present invention,
4 is a plan view showing an LED lighting apparatus according to an embodiment of the present invention,
5 is a perspective view for explaining the housing plate and the light source block of the LED lighting apparatus according to an embodiment of the present invention;
6 is a cross-sectional view taken along line VI-V shown in FIG. 4;
7 and 8 are an exploded perspective view and a perspective view showing a light source block,
9 is a diagram illustrating a light distribution curve for each light distribution type.

이하, 첨부된 도면들을 참고하여 본 발명의 일 실시예에 따른 블록 조립 구조를 갖는 LED 조명장치의 구성을 설명한다.Hereinafter, with reference to the accompanying drawings will be described the configuration of the LED lighting device having a block assembly structure according to an embodiment of the present invention.

본 실시예에서는 블록 조립 구조를 갖는 LED 조명장치(100)가 가로등에 적용된 것을 예를 들어 설명한다. 그러나 본 발명의 LED 조명장치(100)는 가로등 뿐 아니라, 실내외 주차장, 실내조명, 터널 등의 조명에도 적용 가능하다.In this embodiment, the LED lighting device 100 having a block assembly structure will be described by way of example. However, the LED lighting device 100 of the present invention is applicable not only to street lamps, but also to lighting of indoor and outdoor parking lots, indoor lighting, tunnels, and the like.

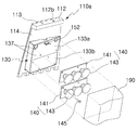
도 1을 참고하면, LED 조명장치(100)는 지주(10)의 상단 일측에 연장된 연결부(111)에 의해 고정 설치될 수 있다. LED 조명장치(100)는 예를 들어, 12각형의 판형상인 하우징 플레이트(110)의 12개의 단부를 따라 다수의 방열핀(113)이 상하방향으로 연장되어 배열된다. Referring to FIG. 1, the LED lighting device 100 may be fixedly installed by the connection part 111 extending to one side of the upper end of the support 10. In the LED lighting device 100, for example, a plurality of heat dissipation fins 113 are arranged along the 12 ends of the housing plate 110 in the shape of a pentagonal plate extending in the vertical direction.

하우징 플레이트(110)는 열전달 및 강성을 고려하여 열전도성이 우수한 금속, 예를 들어, 알루미늄 또는 알루미늄 합금으로 이루어지며, 압출 또는 다이캐스팅 방식으로 제작될 수 있다. The housing plate 110 is made of a metal having excellent thermal conductivity, for example, aluminum or an aluminum alloy in consideration of heat transfer and rigidity, and may be manufactured by extrusion or die casting.

하우징 플레이트(110)는 상측으로 지주(10)로부터 연장된 연결부(111)가 결합되며, 연결부(111)는 하우징 플레이트(110) 내부로부터 인출된 소정의 전원배선 등이 통과하도록 내부에 중공부를 갖는 파이프로 이루어지는 것이 바람직하다. 상기 연결부(111)는 LED 조명장치(100)가 적용되는 분야에 따라 다양하게 변형될 수 있다.The housing plate 110 is coupled to the connecting portion 111 extending from the support 10 to the upper side, the connecting portion 111 has a hollow portion therein so that predetermined power wiring drawn out from the inside of the housing plate 110 passes. It is preferably made of pipes. The connection part 111 may be variously modified depending on the field in which the LED lighting device 100 is applied.

도 2의 분해사시도를 참고하면, 상기 LED 조명장치(100)는 12각형 판형상의 하우징 플레이트(110)와, 각각 각도조절부(130)에 실장된 LED모듈(140)을 일체로 배치한 12개의 광원블록(110a,110b,...,110l)과, 전원장치를 형성하는 인쇄회로기판(이하, PCB라 함)(150)과, 보호커버(190)를 포함한다. Referring to the exploded perspective view of FIG. 2, the LED lighting device 100 includes 12 housing plates 110 having a pentagonal plate shape and 12 LED modules 140 mounted integrally with the angle adjusting unit 130. And a light source block (110a, 110b, ..., 110l), a printed circuit board (hereinafter referred to as a PCB) 150 to form a power supply device, and a protective cover 190.

여기서, 하우징 플레이트(110)의 12개의 단부에 조립되는 12개의 광원블록(110a,110b,...,110l)은 그 내부면에 서로 다른 경사면을 갖는 각도조절부(130)에 다수의 LED 모듈(140)이 실장되며, 외부면에 방열핀(113)이 형성되어 있다. Here, the twelve light source blocks 110a, 110b,... 110l assembled at the twelve ends of the housing plate 110 may include a plurality of LED modules in the angle adjusting unit 130 having different inclined surfaces on the inner surface thereof. 140 is mounted, the heat radiation fins 113 are formed on the outer surface.

또한, 하우징 플레이트(11)의 12개의 단부에는 광원블록(110a,110b,...,110l)을 각각 조립하기 위한 두 개의 결합홀(112a)이 인접하게 형성된다.In addition, two coupling holes 112a for assembling the light source blocks 110a, 110b,..., 110l are formed adjacent to the 12 ends of the housing plate 11, respectively.

12개의 광원블록(110a,110b,...,110l)은 각각 판형상의 몸체(114)를 구비하며, 상기 하우징 플레이트(110)의 결합홀(112a)에 대응하여 조립하기 위해 몸체(114)의 상부로부터 절곡되어 각각의 조립부(112)가 연장 형성되며, 각 조립부(112)에는 상기 결합홀(112a)에 대응하는 두 개의 결합홀(112b)을 형성한다. 또한, 각 광원블록(110a,110b,...,110l)은 몸체(114)의 내측 및 외측에 각도조절부(130)와 방열핀(113)을 일체로 형성함에 따라 LED 모듈(140)로부터 방열핀(113)까지의 계면을 최소화하여 방열핀(113)에 LED(143)로부터의 열이 직접 전달되므로 방열효과를 극대화할 수 있다. The twelve light source blocks 110a, 110b,..., 110l each have a plate-shaped body 114, and each of the body 114 is assembled to correspond to the coupling hole 112a of the housing plate 110. Each assembly portion 112 is bent from the top to form an extension, and each assembly portion 112 forms two coupling holes 112b corresponding to the coupling holes 112a. In addition, each light source block (110a, 110b, ..., 110l) is a heat radiation fin from the LED module 140 by integrally forming the angle adjusting unit 130 and the heat radiation fin 113 on the inside and outside of the body 114 By minimizing the interface to 113, heat is directly transferred from the LED 143 to the heat radiation fins 113, thereby maximizing the heat radiation effect.

도 3 및 도 4를 참고하면, 하우징 플레이트(110)는 12각형의 12개의 단부에 인접하게 형성된 결합홀(112a)에 광원블록(110a,110b,...,110l) 각각에 형성된 결합홀(112b)이 연통되도록 배치하고, 12개의 단부 모두에 광원블록(110a,110b,...,110l)을 조립 완료한다. 그러면, 하우징 플레이트(110)의 상부로부터 하부로 갈수록 직경이 증가하는 조명장치(100)가 되며 이는 판형상의 몸체(114)가 상측으로부터 하측으로 갈수록 폭이 넓어지는 것에 기인한다. Referring to FIGS. 3 and 4, the housing plate 110 includes coupling holes formed in each of the light source blocks 110a, 110b,..., 110l in the coupling holes 112a formed adjacent to the 12 end portions of the octagon. 112b) is arranged in communication with each other, and the light source blocks 110a, 110b, ..., 110l are assembled at all 12 ends. Then, the diameter of the lighting device 100 increases from the top to the bottom of the housing plate 110, which is due to the wider width of the plate-shaped body 114 from the upper side to the lower side.

이를 위해 상기 조립부(112)는 몸체(114)로부터 절곡된 각도가 90도 이상으로 설정되는 것이 바람직하다. 또한, 조립부(112)의 절곡각도는 90도 이상으로 설정되는 것이 등기구의 배광곡선 설계에 유리하다. 그러나, 본 발명은 12개의 광원블록(110a,110b,...,110l)이 상부와 하부의 직경이 동일한 구조로 조립되는 것도 물론 가능하다. To this end, the assembly portion 112 is preferably set at an angle of more than 90 degrees bent from the body 114. In addition, the bending angle of the assembling unit 112 is set to 90 degrees or more, it is advantageous for the light distribution curve design of the luminaire. However, in the present invention, the twelve light source blocks 110a, 110b,.

이러한 하우징 플레이트(110)와 광원블록(110a,110b,...,110l)의 조립과정에 대해 하기의 도 5를 참고하여 상세히 설명하기로 한다. The assembly process of the housing plate 110 and the light source blocks 110a, 110b, ..., 110l will be described in detail with reference to FIG. 5 below.

도 2 및 도 3에 보면, 하우징 플레이트(110)는 11개의 광원블록(110a,110b,...,110k)들이 11개의 단부에 조립되어 있고, 나머지 한 개의 단부에 조립공간(100a)에는 광원블록이 조립되지 않은 상태를 보여준다. 2 and 3, the housing plate 110 has eleven light source blocks 110a, 110b,..., 110k assembled at eleven ends, and at one end thereof, a light source is installed in the assembly space 100a. The block is not assembled.

상기 광원블록(110a,110b,...,110k)은 서로 유사한 구조를 가지며 광원블록(110a,110b,...,110k)의 각 각도조절부(130)의 배향방향(X1-X5)은 하우징의 중심축(102)으로부터 벗어난 방향으로 설정된다. 이때, 광원블록(110a,110b,...,110k)의 각 각도조절부(130)는 LED모듈(140)이 실장되는 외측면과 몸체(114) 사이의 경사각(α)에 따라 조사영역의 크기가 결정될 수 있다. The light source blocks (110a, 110b, ..., 110k) have a similar structure to each other and the orientation direction (X1-X5) of each angle control unit 130 of the light source blocks (110a, 110b, ..., 110k) It is set in the direction away from the central axis 102 of the housing. At this time, each angle control unit 130 of the light source blocks (110a, 110b, ..., 110k) of the irradiation area according to the inclination angle (α) between the outer surface and the body 114 on which the LED module 140 is mounted. The size can be determined.

도 3의 각 각도조절부(130)의 배향방향(X1-X5)은 모두 하우징의 중심축(102)으로부터 벗어난 방향으로 설정되어 있지만, 구현하고자 하는 조명기구의 배광곡선에 따라 이들 중 일부는 중심축(102)을 향하도록 설정될 수 있다. 이를 위해 각각의 각도조절부(130)의 경사각(α)을 서로 다르게 조절하여 배치 가능하다. Orientation direction (X1-X5) of each angle adjuster 130 of Figure 3 are all set in the direction away from the central axis 102 of the housing, some of them in accordance with the light distribution curve of the luminaire to be implemented It may be set to face axis 102. To this end, it is possible to adjust the inclination angle (α) of each angle adjusting unit 130 to be differently arranged.

이하 설명의 배광타입들은 도 9를 참고한다. Light distribution types described below refer to FIG. 9.

예를 들어, 제4 배광타입의 조명기구를 구현하고자 하는 경우는 연결부(111)로부터 연장된 기준선(101)을 중심으로 좌우측의 대부분의 각도조절부(130)가 전방을 향하도록 배향방향(X1, X2, X3, X4, X5)이 설정되며, 정사각형상을 이루는 제5배광타입의 조명기구를 구현할 때는 모든 각도조절부(130)의 배향방향(X1, X2, X3, X4, X5)이 중심축(102)을 향하도록 설정된다. For example, in order to implement the fourth light distribution type lighting device, the orientation direction X1 is provided such that most of the angle adjusting parts 130 on the left and right sides forward with respect to the reference line 101 extending from the connection part 111. , X2, X3, X4, X5) are set, the orientation direction (X1, X2, X3, X4, X5) of all the angle adjuster 130 is the center when implementing the fifth light distribution type lighting fixture to form a square shape Set to face axis 102.

한편, 상기 각각의 각도조절부(130)는 구현하고자 하는 조명기구의 배광곡선에 따라 LED 모듈(140)이 장착되는 적어도 하나의 경사면(133a, 133b : 도 7참조)을 갖는 다단구조로 이루어져 있다. On the other hand, each of the angle adjuster 130 is composed of a multi-stage structure having at least one inclined surface (133a, 133b: see Fig. 7) on which the LED module 140 is mounted according to the light distribution curve of the luminaire to be implemented. .

예를 들어, 제3 또는 제4 배광타입을 구현하고자 하는 경우 전방에 위치한 조립공간(100a)은 후방을 향하고 있으므로 조립공간(100a)에 마지막으로 각도조절부(130)가 삽입될 경우, 1단의 경사면을 구비하고, 조립공간과 마주보는 각도조절부(130a)는 전방을 향하고 있으므로 3단의 경사면을 구비하여 각각 LED 모듈(140)이 장착되도록 설계될 수 있다. For example, in order to implement the third or fourth light distribution type, since the assembly space 100a located at the front faces the rear side, when the angle adjusting unit 130 is finally inserted into the assembly space 100a, the first stage is provided. Since the inclined surface of the, and the angle control unit 130a facing the assembly space is facing forward can be designed to be equipped with LED modules 140, respectively having three inclined surfaces.

또한, 후방 각도조절부(130a)의 좌우측에 위치된 각도조절부에는 적어도 2단의 경사면(133a, 133b)을 구비하여 LED 모듈(140)이 설치되고, 전방 조립공간(100a)의 좌우측에 위치된 각도조절부(130)에는 1단의 경사면이 배치되어 1개의 LED 모듈(140)이 장착되거나, 또는 LED 모듈(140)이 설치되지 않을 수 있다. In addition, the angle adjuster positioned at the left and right sides of the rear angle adjuster 130a is provided with at least two inclined surfaces 133a and 133b, and the LED module 140 is installed and positioned at the left and right sides of the front assembly space 100a. The slope of the first stage is disposed on the angle adjuster 130, one LED module 140 may be mounted, or the LED module 140 may not be installed.

상기한 바와 같이 본 발명의 LED 조명장치에서는 다수의 LED모듈(140)이 설치되는 다수의 각도조절부(130)를 하우징 플레이트(110)의 12개의 단부에 블록 조립하고 다수의 각도조절부(130)에 장착되며 서로 다른 조사각과 밝기로 설정되는 다수의 LED모듈(140)에 의해 다양한 배광곡선을 가질 수 있다. As described above, in the LED lighting apparatus of the present invention, a plurality of angle adjusting units 130 in which a plurality of LED modules 140 are installed are assembled into blocks at 12 ends of the housing plate 110, and a plurality of angle adjusting units 130 are installed. ) And may have various light distribution curves by the plurality of LED modules 140 set to different irradiation angles and brightness.

도 4를 보면, 하우징 플레이트(110) 외측에는 12면의 방열핀(113)이 방사상으로 돌출 형성된다. Referring to FIG. 4, the radiating fins 113 of 12 surfaces protrude radially outside the housing plate 110.

하우징 플레이트(110)는 도 1과 같이 상부면이 12각형의 판형상을 이루므로 수평방향 단면도는 12각형으로 이루어지나, 방열핀(113) 또는 하우징 플레이트(110)의 형상을 변경함에 의해 단면 형상이 원형, 타원형(oval type), 정사각형, 직사각형 또는 12각형 이외의 다각형으로 이루어질 수도 있다.Since the housing plate 110 has a 12-sided plate-shaped upper surface as shown in FIG. 1, the horizontal cross-sectional view has a 12-sided shape, but the cross-sectional shape is changed by changing the shape of the heat dissipation fin 113 or the housing plate 110. It may also consist of polygons other than round, oval, square, rectangular or decagonal.

도 5를 참고하면, 하우징 플레이트(110)는 12각형의 판형상으로 12개의 단부에 광원블록(110a,110b,...,110l) 각각의 조립부(112)를 배치하여 두 개의 결합홀(112a,112b)을 연통시켜 결합피스(112c)에 의해 각각의 광원블록(110a,110b,...,110l)이 조립되어 하부로 연장된다. Referring to FIG. 5, the housing plate 110 has an octagonal plate shape and arranges the assembly portions 112 of the light source blocks 110a, 110b,. The light source blocks 110a, 110b,..., 110l are assembled by the coupling pieces 112c so as to communicate with 112a and 112b and extend downward.

따라서, 다수의 광원블록(110a,110b,...,110l)은 조립부(112)의 결합홀(112b)과 하우징 플레이트(110)의 결합홀(112a)에 결합피스(112c)가 체결됨으로써 하우징 플레이트(110)에 조립된다. 즉, 광원블록(110a)의 결합홀(112b)은 하우징 플레이트(110)의 결합홀(112a)과 동일 직경으로 두 개의 결합홀(112a, 112b)에 결합피스(112c)가 체결되어 조립 완료된다.Accordingly, the plurality of light source blocks 110a, 110b,..., 110l are coupled to the coupling hole 112b of the assembly part 112 and the coupling hole 112a of the housing plate 110 by fastening the coupling piece 112c. It is assembled to the housing plate 110. That is, the coupling hole 112b of the light source block 110a has the same diameter as the coupling hole 112a of the housing plate 110, and the coupling pieces 112c are fastened to the two coupling holes 112a and 112b to complete the assembly. .

여기서, 광원블록(110a)은 각도조절부(130)의 상부로 금속기판(141)에 실장된 다수의 LED(143)로 된 LED 모듈(140)을 포함하며, 그 LED 모듈(140)을 보호하기 위한 개별커버(190)를 구비한다. 한편, 광원블록(110a)의 LED모듈(140)이 설치된 이면에는 방열핀(113)이 형성된다. Here, the light source block 110a includes an LED module 140 made of a plurality of LEDs 143 mounted on the metal substrate 141 to the upper portion of the angle adjusting unit 130, and protects the LED module 140. An individual cover 190 is provided for the purpose. On the other hand, the heat radiation fin 113 is formed on the rear surface of the LED module 140 of the light source block (110a) is installed.

또한, 광원블록(110a)은 PCB(150)와 금속 기판(141)을 컨넥팅하기 위한 수컨넥터(152)를 구비하며, 수컨넥터(152)는 하우징플레이트(110)에 조립 시에 PCB(150)의 암컨넥터(미도시)에 연결된다. 수컨넥터(152)의 양 옆에 도면부호가 미도시된 두 개의 홀은 배선처리를 위한 것이다. In addition, the light source block 110a includes a male connector 152 for connecting the PCB 150 and the metal substrate 141, and the male connector 152 is assembled to the housing plate 110 when the PCB 150 is mounted. Is connected to the female connector (not shown). Two holes not shown at both sides of the male connector 152 are for wiring.

도 7은 하우징 플레이트(110)에 조립되는 광원블록(110a)의 분해사시도이고, 도 8은 조립된 광원블록(110a)의 사시도이다. 7 is an exploded perspective view of the light source block 110a assembled to the housing plate 110, and FIG. 8 is a perspective view of the assembled light source block 110a.

도 7 및 도 8을 참고하면, 광원블록(110a)은 다수의 방열핀(113)이 외부로 형성되고, 몸체(114)의 내측에는 다수의 각도조절부(130)와 다수의 LED 모듈(140)을 포함한다. 방열핀(113)의 상부로는 절곡되어 연장된 조립부(112)를 갖으며, 조립부(112)에는 두 개의 결합홀(112b)을 형성한다. 여기서, 광원블록(110a)에 일체로 형성된 각도조절부(130)는 내측면에 적어도 하나 또는 서로 다른 경사각을 갖는 다단 경사면(133a, 133b)을 갖는다. 7 and 8, the light source block 110a has a plurality of heat dissipation fins 113 formed outside, and a plurality of angle adjusting units 130 and a plurality of LED modules 140 inside the body 114. It includes. The upper portion of the heat dissipation fins 113 is bent and has an extended assembly portion 112, and the assembly portion 112 forms two coupling holes 112b. Here, the angle adjustment unit 130 formed integrally with the light source block 110a has a multi-stage inclined surface (133a, 133b) having at least one or different inclination angle on the inner surface.

상기 각도조절부(130)는 전방에 실장되는 LED 모듈(140)의 수에 따라 대략 직사각형 또는 정사각형의 형상을 갖는 육면체로 이루어질 수 있다. The angle adjuster 130 may be formed of a hexahedron having a substantially rectangular or square shape according to the number of LED modules 140 mounted in front.

상기 각도조절부(130)의 전방에는 LED 조명장치(100)로부터 원하는 배광 특성으로 조명이 이루어지도록 다수의 LED 모듈(140)을 소정 각도로 설치하기 위한 다단 경사면(133a,133b)이 형성된다. 이 경우 다단 경사면(133a,133b)은 적어도 1개 또는 그 이상으로 이루어진다.In front of the angle adjusting unit 130 is formed a multi-stage inclined surface (133a, 133b) for installing a plurality of LED module 140 at a predetermined angle so that the illumination is made with the desired light distribution characteristics from the LED lighting device 100. In this case, the multi-stage inclined surfaces 133a and 133b are made of at least one or more.

여기서, 다수의 LED 모듈(140)은 대략 직사각형상의 금속 기판(metal PCB)(141)과, 금속 기판(141)의 외표면에 실장된 다수의 LED(143)를 구비한다. 금속 기판(141)은 열 전도성이 우수한 소재(예를 들어, 알루미늄, 구리, 철 또는 이들의 합금)의 판재로 이루어지는 것이 바람직하며, 소정의 고정피스(145)를 통해 각도조절부(130)의 경사면(133a,133b)에 각각 고정된다. Here, the plurality of LED modules 140 includes a substantially rectangular metal PCB 141 and a plurality of LEDs 143 mounted on an outer surface of the metal substrate 141. The metal substrate 141 may be made of a plate material having excellent thermal conductivity (for example, aluminum, copper, iron, or an alloy thereof), and the angle adjusting part 130 may be formed through a predetermined fixing piece 145. It is fixed to the inclined surfaces 133a and 133b, respectively.

이 경우, 금속 기판(141)은 고정피스(145)가 관통하는 관통구멍(147)이 형성되고, 경사면(133a,133b)에는 고정피스(145)가 체결되는 체결구멍(137)이 각각 형성된다. 이후, LED 모듈(140)을 보호하기 위한 개별커버(190)가 체결된다. In this case, the metal substrate 141 has a through hole 147 through which the fixing piece 145 passes, and fastening holes 137 through which the fixing piece 145 is fastened are formed in the inclined surfaces 133a and 133b, respectively. . Then, the individual cover 190 is fastened to protect the LED module 140.

상기 각도조절부(130)는 하우징 플레이트(110)와 동일한 금속재, 바람직하게는 열전달 및 강성을 고려하여 열전도성이 우수한 금속, 예를 들어, 알루미늄 또는 알루미늄 합금으로 이루어지며, 압출 또는 다이캐스팅 방식으로 제작될 수 있다. The angle adjuster 130 is made of the same metal material as the housing plate 110, preferably a metal having excellent thermal conductivity, for example, aluminum or an aluminum alloy in consideration of heat transfer and rigidity, and manufactured by extrusion or die casting. Can be.

도 2 및 도 6을 참고하면, 하우징 플레이트(110)는 하부면(118)에 소정의 전자부품(155)이 실장되어 전원장치를 형성하는 인쇄회로기판(PCB)(150)을 고정하기 위한 다수의 고정돌기(117)가 형성되고, 고정돌기(117)에는 고정피스(153)가 체결되는 체결홈(117a)이 각각 형성된다. 이 경우 PCB(150)는 다수의 고정돌기(117)에 대응하는 위치에 각각 다수의 관통구멍(151)이 형성되며, 다수의 고정피스(153)를 통해 다수의 고정돌기(117)에 고정된다. 이때 다수의 고정돌기(117)는 다수의 LED모듈(140)에서 발생하여 하우징 플레이트(110)로 전달되는 고온의 열에 의해 PCB(150) 패턴이 훼손되거나 PCB(150)에 실장된 전자부품(155)이 오작동을 일으키지 않도록 PCB(150)와 하우징 플레이트(110)의 하부면(118) 사이에 소정 간격을 두도록 스페이서 역할을 한다.2 and 6, the housing plate 110 includes a plurality of housings for fixing a printed circuit board (PCB) 150 on which a predetermined electronic component 155 is mounted on a lower surface 118 to form a power supply device. The fixing protrusion 117 is formed, the fixing protrusion 117 is formed with a fastening groove 117a to which the fixing piece 153 is fastened, respectively. In this case, the PCB 150 has a plurality of through holes 151 formed at positions corresponding to the plurality of fixing protrusions 117, respectively, and is fixed to the plurality of fixing protrusions 117 through the plurality of fixing pieces 153. . At this time, the plurality of fixing protrusions 117 are generated from the plurality of LED modules 140 and the PCB 150 pattern is damaged by the high temperature heat transmitted to the housing plate 110 or the electronic component 155 mounted on the PCB 150. ) Serves as a spacer so as to have a predetermined distance between the PCB 150 and the lower surface 118 of the housing plate 110 so as not to cause a malfunction.

한편, PCB(150)는 FR4와 같은 양면기판을 사용할 수 있으며, SMPS(스위칭 모드 파워 서플라이) 방식의 전원회로와 정전류/정전압 회로 등이 구비된다. 또한 PCB(150)는 LED 조명장치(100)의 색상을 구현하기 위해 다수의 LED가 조합될 때, 쿨(cool)/화이트(white) 및 웜(warm)/화이트(white) 이외에 주황색을 발현할 수 있도록 PCB(150) 하면에 앰버(amber) LED(미 도시)를 하우징 플레이트(110)의 수용홈 측면에 설치되는 다수의 LED 모듈(140)과 조합하여 설치할 수 있다. Meanwhile, the PCB 150 may use a double-sided board such as FR4, and is provided with a power supply circuit and a constant current / constant voltage circuit of a SMPS (switching mode power supply) method. In addition, the PCB 150 may express orange in addition to cool / white and warm / white when a plurality of LEDs are combined to realize the color of the LED lighting device 100. An amber LED (not shown) may be installed on the bottom surface of the PCB 150 in combination with a plurality of LED modules 140 installed at the side of the receiving groove of the housing plate 110.

상기한 본 발명의 일 실시예에 따른 LED 조명장치(100)는 하우징 플레이트(110) 내측에 LED 모듈(140)이 설치된 다양한 각도조절부(130)의 조합형태를 변형시켜서 다양한 배광 타입, 예를 들어, 제2 내지 제5 배광 타입을 구현할 수 있어 다양한 용도의 조명장치를 설계할 때 설계 자유도가 높게 된다.LED lighting device 100 according to an embodiment of the present invention described above by modifying the combination of the various angle adjustment unit 130 is installed in the LED module 140 inside the housing plate 110, various light distribution type, for example For example, the second to fifth light distribution types may be implemented, and thus design freedom is increased when designing a lighting device for various uses.

또한, 다수의 LED 모듈(140)이 실장된 다수의 광원블록을 하우징 플레이트(110)의 12면에 조립 성형하여, 각각의 광원블록(110a,110b,...,110l)을 개별적으로 분리 가능하므로 용이하게 유지 보수할 수 있으며, 하우징 플레이트(110)에 각각 LED 모듈(140)을 실장한 광원블록(110a,110b,...,110l)을 조립하여 조립성이 우수하며, 계면을 최소화하여 LED로부터 방열핀까지의 열전달효율이 우수하여 방열효과를 극대화할 수 있다. In addition, a plurality of light source blocks on which the plurality of LED modules 140 are mounted may be assembled to 12 surfaces of the housing plate 110 to individually separate the light source blocks 110a, 110b,..., 110l. Therefore, it can be easily maintained, and the assembly of the light source blocks (110a, 110b, ..., 110l) mounted with the LED module 140 on the housing plate 110, respectively, excellent assemblability, by minimizing the interface Excellent heat transfer efficiency from LED to heat sink fins can maximize heat radiation effect.

이상과 같이, 본 발명은 비록 한정된 실시예와 도면에 의해 설명되었으나, 본 발명은 이것에 의해 한정되지 않으며, 본 발명이 속하는 기술 분야에서 통상의 지식을 가진 자에 의해 본 발명의 기술 사상과 아래에 기재될 특허청구범위의 균등범위 내에서 다양한 수정 및 변형이 가능함은 물론이다.As described above, although the present invention has been described by way of limited embodiments and drawings, the present invention is not limited thereto, and the technical idea of the present invention and the following by those skilled in the art to which the present invention pertains. Various modifications and variations are possible, of course, within the scope of equivalents of the claims to be described.

본 발명의 조명장치는 다양한 배광 타입의 도로 조명용 가로등, 실내등, 주차장용 등에 적용된다.The lighting apparatus of the present invention is applied to various light distribution type road lighting street lights, indoor lights, parking lots, and the like.

100 : LED 조명장치 110 : 하우징 플레이트
110a,110b,...,110l : 광원블록 111 : 연결부
112 : 조립부 112a, 112b : 결합홀
112c : 결합피스 113 : 방열핀
117 : 고정돌기 130 : 각도조절부
133a,133b : 경사면 150 : PCB
152 : 수컨넥터 140 : LED 모듈
141 : 금속 기판 143 : LED
190 : 개별커버
100: LED lighting device 110: housing plate
110a, 110b, ..., 110l: Light source block 111: Connection part
112: assembly portion 112a, 112b: coupling hole
112c: bonding piece 113: heat dissipation fin
117: fixing protrusion 130: angle adjustment unit
133a, 133b: slope 150: PCB
152: male connector 140: LED module
141: metal substrate 143: LED
190: individual cover

Claims (8)

다각형의 판형상으로 이루어지는 하우징 플레이트; 및
각각의 상단부가 상기 하우징 플레이트의 다각형의 각 측면에 착탈가능하게 결합되어 통형상을 이루며, 내측면에 실장되는 다수의 LED모듈이 미리 설정된 배광곡선에 따라 서로 다른 조사각도로 배광이 이루어지도록 설정되며, 적어도 일부는 배향방향이 하우징의 중심축으로부터 벗어난 방향으로 설정되는 다수의 광원블록;을 포함하는 것을 특징으로 하는 LED 조명장치.
A housing plate having a polygonal plate shape; And
Each upper end is detachably coupled to each side of the polygon of the housing plate to form a tubular shape, and a plurality of LED modules mounted on the inner side are set to distribute light at different irradiation angles according to a predetermined light distribution curve. And at least a portion of the plurality of light source blocks in which an orientation direction is set in a direction deviating from the central axis of the housing.
제1항에 있어서, 상기 다수의 광원블록 각각은
판형상의 몸체와,
상기 몸체의 내측면에 돌출되어 일체로 형성되며 내측면에 적어도 하나의 경사면을 갖는 각도조절부와,
상기 각도조절부의 경사면에 실장되는 다수의 LED모듈과,
상기 몸체의 상단으로부터 절곡되어 연장되며 상기 하우징 플레이트에 결합되는 조립부와.
상기 다수의 LED모듈과 각도조절부를 커버링하는 커버를 포함하는 것을 특징으로 하는 LED 조명장치.
The method of claim 1, wherein each of the plurality of light source blocks
Plate-shaped body,
An angle adjusting unit which protrudes on an inner surface of the body and is integrally formed and has at least one inclined surface on an inner surface thereof;
A plurality of LED modules mounted on the inclined surface of the angle adjusting unit;
An assembly part bent and extended from an upper end of the body and coupled to the housing plate.
LED lighting device comprising a cover for covering the plurality of LED modules and the angle adjuster.
제2항에 있어서, 상기 몸체의 외측면에 돌출되어 방열이 이루어지는 다수의 방열핀을 더 포함하는 것을 특징으로 하는 LED 조명장치.The LED lighting apparatus of claim 2, further comprising a plurality of heat dissipation fins protruding from the outer surface of the body to dissipate heat. 제2항에 있어서, 상기 조립부는 몸체와의 사이에 90도 이상의 경사각을 갖도록 설정되는 것을 특징으로 하는 LED 조명장치.The LED lighting apparatus of claim 2, wherein the assembly unit is set to have an inclination angle of 90 degrees or more between the body and the body. 제2항에 있어서, 상기 각도조절부는 내측면에 서로 다른 배향 방향을 갖는 다단 경사면을 갖는 것을 특징으로 하는 LED 조명장치.The LED lighting apparatus of claim 2, wherein the angle adjusting part has a multi-stage inclined surface having different orientation directions on an inner surface thereof. 제2항에 있어서, 상기 판형상의 몸체는 상측으로부터 하측으로 갈수록 폭이 넓어지는 것을 특징으로 하는 LED 조명장치.The LED illuminating device according to claim 2, wherein the plate-shaped body is wider from an upper side to a lower side. 제1항에 있어서, 상기 하우징 플레이트의 상부면에 지주로부터 연장된 연결부가 결합되는 것을 특징으로 하는 LED 조명장치.The LED lighting device of claim 1, wherein a connection part extending from a support is coupled to an upper surface of the housing plate. 제7항에 있어서, 상기 하우징 플레이트의 하부면에 간격을 두고 장착되며, 상기 광원블록에 형성된 컨넥터에 의해 연결되어 상기 LED모듈에 전원을 인가하기 위한 전원장치용 인쇄회로기판을 더 포함하며, 상기 연결부를 통하여 외부전원이 인가되는 것을 특징으로 하는 LED 조명장치.The method of claim 7, further comprising a printed circuit board for the power supply device which is mounted at intervals on the lower surface of the housing plate, is connected by a connector formed in the light source block for applying power to the LED module. LED lighting apparatus characterized in that the external power is applied through the connection.
KR1020100010122A 2010-02-03 2010-02-03 LED lighting device with block assembly structure Expired - Fee Related KR101106273B1 (en)

Priority Applications (2)

Application Number Priority Date Filing Date Title
KR1020100010122A KR101106273B1 (en) 2010-02-03 2010-02-03 LED lighting device with block assembly structure
PCT/KR2011/000649 WO2011096686A2 (en) 2010-02-03 2011-01-31 Led lighting device having a block assembly structure

Applications Claiming Priority (1)

Application Number Priority Date Filing Date Title
KR1020100010122A KR101106273B1 (en) 2010-02-03 2010-02-03 LED lighting device with block assembly structure

Publications (2)

Publication Number Publication Date
KR20110090385A true KR20110090385A (en) 2011-08-10
KR101106273B1 KR101106273B1 (en) 2012-01-18

Family

ID=44355934

Family Applications (1)

Application Number Title Priority Date Filing Date
KR1020100010122A Expired - Fee Related KR101106273B1 (en) 2010-02-03 2010-02-03 LED lighting device with block assembly structure

Country Status (2)

Country Link
KR (1) KR101106273B1 (en)
WO (1) WO2011096686A2 (en)

Cited By (5)

* Cited by examiner, † Cited by third party
Publication number Priority date Publication date Assignee Title
WO2014011665A1 (en) * 2012-07-09 2014-01-16 Evolucia Lighting, Inc. Light unit with light output pattern synthesized from multiple light sources and modular refractors
WO2014209055A1 (en) * 2013-06-28 2014-12-31 서울반도체 주식회사 Lighting apparatus
KR20150009439A (en) * 2013-06-28 2015-01-26 서울반도체 주식회사 Lightting device
US9470371B2 (en) 2008-07-02 2016-10-18 Evolucia, Inc. Light unit with light output pattern synthesized from multiple light sources
KR20230076566A (en) * 2021-11-24 2023-05-31 김욱 Lighting device and machine vision system including the same

Families Citing this family (4)

* Cited by examiner, † Cited by third party
Publication number Priority date Publication date Assignee Title
DE102012018823A1 (en) * 2012-09-25 2014-03-27 Elspro Verwaltungs Gmbh Device for ambient lighting
KR20160122561A (en) 2015-04-14 2016-10-24 기린정밀공업 (주) A led lighting apparatus
KR101695262B1 (en) 2015-04-14 2017-01-11 기린정밀공업 (주) A led lighting apparatus
EP4610552A1 (en) * 2024-03-01 2025-09-03 ZG Lighting France S.A.S Kit for providing a luminaire and a luminaire

Family Cites Families (5)

* Cited by examiner, † Cited by third party
Publication number Priority date Publication date Assignee Title
US5920643A (en) * 1997-05-16 1999-07-06 Northeast Robotics Llc Flexible lighting element circuit and method of manufacturing the same
KR100949148B1 (en) * 2007-06-28 2010-03-25 이진화 Adhesive and manufacturing method using garlic
KR20090004575U (en) * 2007-11-09 2009-05-13 (주)코데스 LED lighting
KR100999161B1 (en) * 2008-01-15 2010-12-07 주식회사 아모럭스 Lighting device using light emitting diode
KR100978208B1 (en) * 2008-03-10 2010-08-25 민병현 Prefabricated LED Lighting

Cited By (6)

* Cited by examiner, † Cited by third party
Publication number Priority date Publication date Assignee Title
US9470371B2 (en) 2008-07-02 2016-10-18 Evolucia, Inc. Light unit with light output pattern synthesized from multiple light sources
WO2014011665A1 (en) * 2012-07-09 2014-01-16 Evolucia Lighting, Inc. Light unit with light output pattern synthesized from multiple light sources and modular refractors
WO2014209055A1 (en) * 2013-06-28 2014-12-31 서울반도체 주식회사 Lighting apparatus
KR20150009439A (en) * 2013-06-28 2015-01-26 서울반도체 주식회사 Lightting device
US9447928B2 (en) 2013-06-28 2016-09-20 Seoul Semiconductor Co., Ltd. Lighting device
KR20230076566A (en) * 2021-11-24 2023-05-31 김욱 Lighting device and machine vision system including the same

Also Published As

Publication number Publication date
WO2011096686A2 (en) 2011-08-11
WO2011096686A3 (en) 2011-12-15
KR101106273B1 (en) 2012-01-18

Similar Documents

Publication Publication Date Title
KR101123077B1 (en) LED Lighting Apparatus Having Block Assembly Structure
KR101106273B1 (en) LED lighting device with block assembly structure
US8888314B2 (en) Lighting apparatus using light emitting diodes
US8287152B2 (en) Lighting apparatus using light emitting diode
KR100998247B1 (en) Lighting device using light emitting diode
US20100309664A1 (en) Led lamp
JP5668175B2 (en) LED lighting device capable of arbitrary light distribution
CN103097811A (en) Solid state outdoor overhead lamp assembly
CN103827580A (en) LED luminaire
CN102644866A (en) LED (Light-Emitting Diode) lamp bulb with good heat radiation
KR101034482B1 (en) Luminaire
KR101256865B1 (en) Led lamp for lighting
KR20120049576A (en) Street lamp unit for lighting road
CN101650015B (en) Light-emitting diode lamp
WO2011022945A1 (en) Led modular light-source and high-power led lamp combined by the same
KR20130123574A (en) Led street-lamp having a multi layer radiant heat structure
KR20120037803A (en) Led light capable of easily detaching and attaching
KR101019624B1 (en) Luminaires Using Light Emitting Diodes
KR101740651B1 (en) Marine lantern using modular LED lighting
KR20110097586A (en) LED street light with heat dissipation
KR101052686B1 (en) Infinitely extended LED lamps with individual adjustable angles and manufacturing method
KR101075881B1 (en) LED lighting system
TWI353430B (en)
KR101049834B1 (en) LED lighting device with LED glare and LED lighting device for easy glare prevention and light distribution control
KR101582993B1 (en) high-efficiency led lamp with heat pipe and heat-radiation liquid of heat and lamp appliances

Legal Events

Date Code Title Description
A201 Request for examination
PA0109 Patent application

St.27 status event code: A-0-1-A10-A12-nap-PA0109

PA0201 Request for examination

St.27 status event code: A-1-2-D10-D11-exm-PA0201

R18-X000 Changes to party contact information recorded

St.27 status event code: A-3-3-R10-R18-oth-X000

E902 Notification of reason for refusal
PE0902 Notice of grounds for rejection

St.27 status event code: A-1-2-D10-D21-exm-PE0902

PG1501 Laying open of application

St.27 status event code: A-1-1-Q10-Q12-nap-PG1501

T11-X000 Administrative time limit extension requested

St.27 status event code: U-3-3-T10-T11-oth-X000

E13-X000 Pre-grant limitation requested

St.27 status event code: A-2-3-E10-E13-lim-X000

P11-X000 Amendment of application requested

St.27 status event code: A-2-2-P10-P11-nap-X000

P13-X000 Application amended

St.27 status event code: A-2-2-P10-P13-nap-X000

E701 Decision to grant or registration of patent right
PE0701 Decision of registration

St.27 status event code: A-1-2-D10-D22-exm-PE0701

GRNT Written decision to grant
PR0701 Registration of establishment

St.27 status event code: A-2-4-F10-F11-exm-PR0701

PR1002 Payment of registration fee

St.27 status event code: A-2-2-U10-U11-oth-PR1002

Fee payment year number: 1

PG1601 Publication of registration

St.27 status event code: A-4-4-Q10-Q13-nap-PG1601

PN2301 Change of applicant

St.27 status event code: A-5-5-R10-R11-asn-PN2301

PN2301 Change of applicant

St.27 status event code: A-5-5-R10-R14-asn-PN2301

PN2301 Change of applicant

St.27 status event code: A-5-5-R10-R13-asn-PN2301

St.27 status event code: A-5-5-R10-R11-asn-PN2301

PR1001 Payment of annual fee

St.27 status event code: A-4-4-U10-U11-oth-PR1001

Fee payment year number: 4

FPAY Annual fee payment

Payment date: 20160104

Year of fee payment: 5

PR1001 Payment of annual fee

St.27 status event code: A-4-4-U10-U11-oth-PR1001

Fee payment year number: 5

FPAY Annual fee payment

Payment date: 20170102

Year of fee payment: 6

PR1001 Payment of annual fee

St.27 status event code: A-4-4-U10-U11-oth-PR1001

Fee payment year number: 6

FPAY Annual fee payment

Payment date: 20171213

Year of fee payment: 7

PR1001 Payment of annual fee

St.27 status event code: A-4-4-U10-U11-oth-PR1001

Fee payment year number: 7

FPAY Annual fee payment

Payment date: 20181213

Year of fee payment: 8

PR1001 Payment of annual fee

St.27 status event code: A-4-4-U10-U11-oth-PR1001

Fee payment year number: 8

FPAY Annual fee payment

Payment date: 20191216

Year of fee payment: 9

PR1001 Payment of annual fee

St.27 status event code: A-4-4-U10-U11-oth-PR1001

Fee payment year number: 9

PR1001 Payment of annual fee

St.27 status event code: A-4-4-U10-U11-oth-PR1001

Fee payment year number: 10

PR1001 Payment of annual fee

St.27 status event code: A-4-4-U10-U11-oth-PR1001

Fee payment year number: 11

PR1001 Payment of annual fee

St.27 status event code: A-4-4-U10-U11-oth-PR1001

Fee payment year number: 12

PR1001 Payment of annual fee

St.27 status event code: A-4-4-U10-U11-oth-PR1001

Fee payment year number: 13

PC1903 Unpaid annual fee

St.27 status event code: A-4-4-U10-U13-oth-PC1903

Not in force date: 20250110

Payment event data comment text: Termination Category : DEFAULT_OF_REGISTRATION_FEE

PC1903 Unpaid annual fee

St.27 status event code: N-4-6-H10-H13-oth-PC1903

Ip right cessation event data comment text: Termination Category : DEFAULT_OF_REGISTRATION_FEE

Not in force date: 20250110