KR20110084618A - Air purifier with humidifying function using water with UV lamp - Google Patents

Air purifier with humidifying function using water with UV lamp Download PDF

Info

Publication number
KR20110084618A
KR20110084618A KR1020100004266A KR20100004266A KR20110084618A KR 20110084618 A KR20110084618 A KR 20110084618A KR 1020100004266 A KR1020100004266 A KR 1020100004266A KR 20100004266 A KR20100004266 A KR 20100004266A KR 20110084618 A KR20110084618 A KR 20110084618A
Authority
KR
South Korea
Prior art keywords
water
tank
silver
air
disk set
Prior art date
Legal status (The legal status is an assumption and is not a legal conclusion. Google has not performed a legal analysis and makes no representation as to the accuracy of the status listed.)
Ceased
Application number
KR1020100004266A
Other languages
Korean (ko)
Inventor
홍기복
Original Assignee
홍기복
Priority date (The priority date is an assumption and is not a legal conclusion. Google has not performed a legal analysis and makes no representation as to the accuracy of the date listed.)
Filing date
Publication date
Application filed by 홍기복 filed Critical 홍기복
Priority to KR1020100004266A priority Critical patent/KR20110084618A/en
Publication of KR20110084618A publication Critical patent/KR20110084618A/en
Ceased legal-status Critical Current

Links

Images

Classifications

    • CCHEMISTRY; METALLURGY
    • C02TREATMENT OF WATER, WASTE WATER, SEWAGE, OR SLUDGE
    • C02FTREATMENT OF WATER, WASTE WATER, SEWAGE, OR SLUDGE
    • C02F1/00Treatment of water, waste water, or sewage
    • C02F1/30Treatment of water, waste water, or sewage by irradiation
    • C02F1/32Treatment of water, waste water, or sewage by irradiation with ultraviolet light
    • FMECHANICAL ENGINEERING; LIGHTING; HEATING; WEAPONS; BLASTING
    • F24HEATING; RANGES; VENTILATING
    • F24FAIR-CONDITIONING; AIR-HUMIDIFICATION; VENTILATION; USE OF AIR CURRENTS FOR SCREENING
    • F24F3/00Air-conditioning systems in which conditioned primary air is supplied from one or more central stations to distributing units in the rooms or spaces where it may receive secondary treatment; Apparatus specially designed for such systems
    • F24F3/12Air-conditioning systems in which conditioned primary air is supplied from one or more central stations to distributing units in the rooms or spaces where it may receive secondary treatment; Apparatus specially designed for such systems characterised by the treatment of the air otherwise than by heating and cooling
    • F24F3/14Air-conditioning systems in which conditioned primary air is supplied from one or more central stations to distributing units in the rooms or spaces where it may receive secondary treatment; Apparatus specially designed for such systems characterised by the treatment of the air otherwise than by heating and cooling by humidification; by dehumidification
    • FMECHANICAL ENGINEERING; LIGHTING; HEATING; WEAPONS; BLASTING
    • F24HEATING; RANGES; VENTILATING
    • F24FAIR-CONDITIONING; AIR-HUMIDIFICATION; VENTILATION; USE OF AIR CURRENTS FOR SCREENING
    • F24F3/00Air-conditioning systems in which conditioned primary air is supplied from one or more central stations to distributing units in the rooms or spaces where it may receive secondary treatment; Apparatus specially designed for such systems
    • F24F3/12Air-conditioning systems in which conditioned primary air is supplied from one or more central stations to distributing units in the rooms or spaces where it may receive secondary treatment; Apparatus specially designed for such systems characterised by the treatment of the air otherwise than by heating and cooling
    • F24F3/16Air-conditioning systems in which conditioned primary air is supplied from one or more central stations to distributing units in the rooms or spaces where it may receive secondary treatment; Apparatus specially designed for such systems characterised by the treatment of the air otherwise than by heating and cooling by purification, e.g. by filtering; by sterilisation; by ozonisation
    • CCHEMISTRY; METALLURGY
    • C02TREATMENT OF WATER, WASTE WATER, SEWAGE, OR SLUDGE
    • C02FTREATMENT OF WATER, WASTE WATER, SEWAGE, OR SLUDGE
    • C02F2201/00Apparatus for treatment of water, waste water or sewage
    • C02F2201/32Details relating to UV-irradiation devices
    • FMECHANICAL ENGINEERING; LIGHTING; HEATING; WEAPONS; BLASTING
    • F24HEATING; RANGES; VENTILATING
    • F24FAIR-CONDITIONING; AIR-HUMIDIFICATION; VENTILATION; USE OF AIR CURRENTS FOR SCREENING
    • F24F6/00Air-humidification, e.g. cooling by humidification
    • F24F2006/008Air-humidifier with water reservoir

Landscapes

  • Engineering & Computer Science (AREA)
  • Chemical & Material Sciences (AREA)
  • General Engineering & Computer Science (AREA)
  • Mechanical Engineering (AREA)
  • Combustion & Propulsion (AREA)
  • Hydrology & Water Resources (AREA)
  • Water Supply & Treatment (AREA)
  • Environmental & Geological Engineering (AREA)
  • Organic Chemistry (AREA)
  • Health & Medical Sciences (AREA)
  • Life Sciences & Earth Sciences (AREA)
  • Toxicology (AREA)
  • Air Humidification (AREA)

Abstract

본 발명은 종래의 가습공기정화기의 문제점과 미비점을 개선한 것으로서,
사용되는 물의 항균 처리방법, 공기의 정화방법, 수조의 구조를 통상의 종래의 것과는 확연히 달리하여 가습,공기정화의 기능과 사용중 불편함, 안전성을 개선한 것이다.
좀더 자세히 설명하면,
어느 한 부분 면에 공기흡입구가 형성되고 전(前)기 흡입구와 다른 면에 배출구가 마련된 통 형상의 상부와, 하부에는 디스크 세트가 내장된 수조로 구성된 통상의 가습공기정화기에 있어서,
1. 항균 처리방법은, 수조 내에 소독약을 타는 종래의 것에 반하여 본 발명의 구성은 수조의 내(內)면과 디스크 세트의 여러 부위에 은(銀)과 동(銅) 금속을 결합하여 디스크 세트가 회전할 때 은(銀)과 동(銅)도 함께 물속에서 회전되게 구성, 은(銀)과 동(動) 이온이 물에 녹아 나오게 함으로서,은과 동의 항균력에 의하여 수조내의 물의 부패가 억제되게 하였다.
또한 사용하는 물이 부패되는 것을 이중으로 방지하기 위하여 통 형상의 상부본체(1)에 자외선 살균램프를 설치 하였다 .
자외선 램프의 살균력을 이용한 물을 사용하는 가습 공기 정화기는 종래에는 없었다.
2. 공기의 정화방법은, 공기 배출구에는 음이온 발생기를 설치하여 음이온을 팬으로 불어냄으로서 매연감소,공기정화, 항균, 탈취기능을 보강, 개선하였다.
3. 수조의 구조 변경은, 청소를 할 때에는 통상적으로 수조와 디스크 세트 모두를 세제를 탄 물에 담가두었다 샤워기로 닦아내야 하는데 종래의 가습공기정화기는 디스크 세트가 수조 위로 돌출되어 있기 때문에 수조와 디스크 세트를 분리하여 각각 별도로 청소하고 다시 조립해야하는 번거로움이 있는 것에 반하여,
본 발명은 종래의 것과는 반대로 디스크 세트의 높이를 수조의 높이보다 낮게 구성하여 수조에 물을 채우면 디스크 세트 전체가 물에 잠기게 되므로 수조와 디스크 세트를 분리하지 않고 수조에 세제를 풀어 한번에 간편하게 청소할 수 있게 개선하였다.
종래의 가습공기정화기는 상기와 같이 디스크 세트의 중심축이 수조의 상단에 구성된 것에 반하여 본 발명은 수조의 중심 이하에 구성함으로,가동시 물의 높이도 종래의 것보다 낮아지게 되므로 수조의 무게 중심도 종전 것보다 훨씬 밑으로 내려와 안전성이 개선되었다.
The present invention improves the problems and deficiencies of the conventional humidifier air purifier,
The antibacterial treatment method of the water used, the air purification method, and the structure of the water tank are significantly different from those of the conventional ones, thereby improving the functions of humidification, air purification, inconvenience in use, and safety.
In more detail,
In a conventional humidifying air purifier composed of a tubular upper part having an air inlet formed on one side surface and an outlet formed on the other side of the former inlet, and a water tank in which a disk set is built in the lower part,
1. The antimicrobial treatment method is a conventional method of burning disinfectant in a tank, while the constitution of the present invention combines silver and copper metals to various parts of the inner surface of the tank and the disk set, thereby providing a disk set. When silver rotates, silver and copper are also rotated in the water, allowing silver and copper ions to dissolve in water, thereby inhibiting water decay in the tank by silver and copper antibacterial activity. It was made.
In addition , UV sterilization lamps were installed in the upper body (1) of the tubular shape in order to prevent the water used to decay twice .
There is no conventional humidifying air purifier using water using the sterilizing power of the ultraviolet lamp.
2. The air purification method is equipped with an anion generator at the air outlet to blow out negative ions to the fan to reinforce and improve soot reduction, air purification, antibacterial and deodorization.
3. In order to change the structure of the bath, it is usually necessary to soak both the bath and the disc set in detergent-washed water and wipe it with a shower when cleaning. Conventional humidified air purifiers use the bath and disc set because the disc set protrudes above the bath. In contrast to the hassle of removing, cleaning and reassembling each one separately,
According to the present invention, when the height of the disk set is lower than the height of the tank, and the water is filled in the tank, the entire disk set is submerged, so that the detergent can be easily cleaned at a time without separating the tank and the disk set. To improve it.
Conventional humidified air purifier is the center axis of the disk set as described above, the present invention is configured below the center of the tank, the water center during the operation is also lower than the conventional one, so the center of gravity of the tank It is much lower than before, improving safety.

Description

자외선 램프가 부착된 물을 사용하는 가습기능을 겸한 공기정화기{An aircleaner combined with humidifier which is used water and ultraviolet lamp} An aircleaner combined with humidifier which is used water and ultraviolet lamp}

증발 가습 기능을 겸한 물을 사용하는 통상적인 가습공기정화기에 있어서,         In a typical humidifying air purifier using water that also serves as an evaporative humidification function,

종래의 문제점과 미비점을 개선한 것으로서,As an improvement of the conventional problem and deficiency,

사용되는 물의 항균 처리방법,공기의 정화방법,수조의 구조를 종래의 것과 는 확연히 달리하여 그 기능과 사용중 불편함,안전성을 개선한 것이다.   The antibacterial treatment method of water used, air purification method, and water tank structure are significantly different from the conventional ones, which improves its function, inconvenience in use, and safety.

일반적으로 공기정화기는 필터식이 주종을 이루고 있으나 본 발명은 물을 사용하는 가습 기능을 겸한 공기정화기에 관한 것으로서 종래에 한국,유럽등에 여러종류가 있었으나(종래에 제시된가습,공기정화기:대한민국 특허 10080947),In general, the air purifier is predominantly filter type, but the present invention relates to an air purifier that combines a humidification function using water, but there have been various types in Korea and Europe in the past (humidification and air purifiers proposed in the past: Korean Patent 10080947). ,

1.물에 소독약을 첨가하거나 소독제를 수시로 갈아주어야 하는 번거로움과.관리비용 발생등 문제점이 있었다.1. There were problems such as the hassle of adding disinfectant to water or changing disinfectant from time to time and incurring maintenance cost.

즉,본 발명은 디스크 세트와 수조의 내부 면에는 은(銀)과 동(銅)금속을,디스크 중심축과 중심축 걸대에는 인체에 무해한 은(銀)을 결합 하여 반 영구적으로 항균기능을 유지케 함으로서, 종래의 사용중 불편함,경제성을 개선하였다.That is, the present invention combines silver and copper metal on the inner surface of the disk set and the tank, and silver (harmless) harmless to the human body on the disk central axis and the central axis holder to maintain the antibacterial function permanently. By improving the discomfort and economy of the conventional use.

특히 디스크세트에 은(211)이나 동금속(212)을 부착시키면 디스크 세트가 회전할때 물과의 마찰로 인하여 미세한 은과 동이온이 물에 녹아나와 섞이게 됨으로 그 효과는 수조의 내부 벽면에만 부착한 것보다 월등 하리라 생각되며 디스크 세트에 은과 동금속을 부착 구성된 증발 가습공기 정화기는 종래에는 없었다.In particular, when silver (211) or copper metal (212) is attached to the disk set, the fine silver and copper ions are dissolved in the water and mixed due to friction with water when the disk set is rotated, so the effect is only attached to the inner wall of the tank. There is no conventional evaporative humidification air purifier that consists of silver and copper metal attached to a disk set.

또한 사용하는 물이        Also use water 부패되는Corrupt 것을 이중으로 방지하기 위하여 통 형상의 상부본체(1)에 자외선 살균램프를  UV sterilization lamp is placed on the tubular upper body (1) to prevent double 설치 하였다Was installed ..

종래에 자외선 램프의 살균력을 이용한 가습기 (대한민국특허:10-0634300-0000,10-0529592-0000),공기정화기(대한민국특허: 10-0626193-0000)는 여러가지 있었으나 이는 물의 입자가 굵은 분무식 가습기이거,건식필터를 사용하는 건식 공기정화기로서, Conventional humidifiers (Korea Patent: 10-0634300-0000, 10-0529592-0000) and air purifiers (Korea Patent: 10-0626193-0000) using sterilizing power of UV lamps were various, but this is a spray humidifier with a thick particle of water. B) As a dry air purifier using a dry filter,

1).자외선 1) .UV LEDLED 램프를 사용하고 2).가습 방법이 증발식이며 가습기능과 공기정화 기능이 동시에  2) .The humidification method is evaporative and humidification function and air purifying function 작용되는Functioning 본 발명과 같은 구성의 가습,공기정화기는 종례에는 없었다. Humidification and air purifiers of the same configuration as the present invention was not in the case.

3)특히 최근에 개발 상용화된 수명이 길고(약 5년)전력 사용량에서 아주 저렴한 3) Long life (about 5 years), especially recently developed and commercialized LEDLED 자외선 램프를 부착시킨 물을 사용하는 가습기를 겸한 공기 정화기는 종례에는 없었다.  There were no air purifiers in combination with humidifiers using water with ultraviolet lamps.

2.종래의 물만을 사용하는 공기정화기는 탈취, 매연까지의 제거에는 한계가 있었으며,2. Air purifiers using only conventional water had limitations to deodorization and removal of soot.

종래에 음이온 발생기구를 수조에 넣거나(한국특허: 0319599) 토르마린등에 물을 통과 시켜( 한국특허: 0529738) 음이온이 섞인 물을 분무할 때 음이온도 함께 분무 되게 한 가습기는 있었으나 이는 음이온이 물에 섞인 후 물과 함께 분무 되는 것으로서 매연제거나 탈취등 그 효능면에서는 음이온 발생봉이 공기중에 직접 노출되는 것보다는 현저히 떨어진다고 생각되는바,       Conventionally, there was a humidifier in which an anion generator was placed in a tank (Korea Patent: 0319599) or water was passed through tourmaline (Korea Patent: 0529738) to spray an anion with anion. After being sprayed with water, it is thought that the negative ion generating rod is significantly lower than the direct exposure to the air in terms of efficacy such as soot or deodorization.

본 발명은 음이온 발생봉을 공기 직접 중에 노출시킨 것으로서,        The present invention is to expose the negative ion generating rod in the air directly,

음이온 발생기가 매연제거,탈취에 효과가 있다는 것은 과거에 각종실험에 의하여 인지된 사실이며,현재 상품화 되어 시중에서 판매되고 있는 제품도 많이 있으므로 더 이상의 설명은 생략 하였다.       The fact that the negative ion generator is effective in the removal and deodorization of smoke is a fact recognized by various experiments in the past, and many products are now commercialized and sold on the market.

음이온은 증발된 보이지 않는 수증기와 함께 공기 중에 섞이게 되고,실내에는 자연에 가까운 신선한 공기가 공급될 것이다.        Negative ions will be mixed in the air with evaporated invisible water vapor, and the room will be supplied with fresh natural air.

상기와 같이 그 효능 면에서 확연히 개선됐다고 생각된다.       As mentioned above, it is thought that the improvement was obvious.

본 발명은 음이온 발생장치를 하여 보이지 않는 수증기와 함께 음이온이 팬에 의하여 공기 중에 배출되고 매연까지 소멸(제거)되는 것으로서,According to the present invention, the negative ion is discharged into the air by a fan and disappears (soot) to soot with an invisible water vapor using a negative ion generator.

본 발명과 같이 물을 사용한 증발 가습기능을 겸한 공기정화기에 응용한 예는 종래에는 없었다.  As in the present invention, there is no example of applying the air purifier with the evaporative humidification function using water.

3.통상적으로 10 일이상 사용하면 공기 중에서 흡입된 먼지 등 불순물이 디스크 세트와 수조에 들러붙어 청소를 하여 주어야 하는데,        3.Usually, after 10 days of use, impurities such as dust sucked in the air should stick to the disk set and the water tank for cleaning.

통상적으로 종래의 물을 이용한 가습 공기정화기는 디스크 세트의 중심축이 수조의 상단에 올려놓는 타입으로 디스크 세트의 상부가 수조의 위로 돌출되어 있기 때문에 청소할 때 수조의 물에 디스크 세트를 완전히 잠기게 할수 없는 구조로서,       In general, a humidifying air purifier using water is a type in which the central axis of the disc set is placed on the top of the tank, and the top of the disc set protrudes above the tank so that the disc set can be completely immersed in the tank water when cleaning. As no structure,

청소할 때에는 수조와 디스크 세트를 분리하여 각각 별도의 용기에 세제를 풀어 일정시간 담가 두었다가 꺼내어 샤워기 등으로 닦아 낸후 다시 조립해야 하는 이중의 불편함이 있을 뿐만 아니라,When cleaning, as well as a box of the double inconvenience of releasing the detergent tank and container, remove the disk set by each separate time schedule Soak removed must be re-assembled naenhu wipe with a shower, etc.

디스크가 수조 위로 돌출되어 있기 때문에 가동시에 디스크가 물에 잠기게 하기 위하여는 수조에 물을 거의 가득 채워야 하며, 때문에 약간의 충격에도 물이 수조 밖으로 넘치거나 쓰러질 수가 있으므로 안전성에도 문제가 있었다. Since the disk protrudes above the tank, the tank must be almost filled with water in order for the disk to be submerged during operation, and there is a safety problem because the water may overflow or fall out of the tank even with a slight impact .

특히 수조가 어린 아이등 외부 충격에 의하여 쓰러졌을 경우에는 물은 폭넓게 퍼지게되며, 물에는 전기가 통함으로 감전 사고의 위험성이 있었다 In particular, when the tank is collapsed by an external impact such as a young child, the water spreads widely. There is a risk of electric shock due to the electricity passing through the water .

본 발명은 종래의 상기 미비점을 개선하기 위하여 공기 배출구의 높이를 종래의 것보다 높은 곳에 구성하고, 종래의 것과는 반대로 수조의 높이를 디스크 세트보다 높게 구성하였다.
In the present invention, the height of the air outlet is configured to be higher than that of the conventional one, and the height of the water tank is higher than that of the disk set in order to improve the above-mentioned shortcomings.

* 청소할 때 수조에 가득 물을 채우면 디스크세트 전체가 물에 잠길 수 있게 되므로 디스크 세트와 수조를 분리하지 않고 한번에 쉽게 청소 할 수 있게 하였 다.수조의 높이를 디스크 세트가 물에 잠길 수 있는 위치까지 높인 아이디어는 간단한것 같지만 그 효능면 에서는 종래의 것보다 편리하고 안전성, 기능이 개선된 진보된 것이라 생각된다.* When the tank is filled with water, the entire disk set can be submerged so that it can be easily cleaned at once without separating the disk set and the tank. The idea seems to be simple, but in terms of its efficacy, it is considered to be an advanced one, which is more convenient, safer and more functional than the conventional one.

수조의 높이를 디스크 세트가 물에 잠길 수 있는 위치까지 높인 물을 이용한 증발 가습, 공기정화기는 종래에는 없었다.        There is no conventional evaporative humidification and air purifier using water in which the height of the water tank is raised to a position where the disk set can be submerged.

결론적으로 In conclusion

1.종래의 가습공기정화기와 같이 항균을 위하여 사용하는 물에 소독약을 첨가하거나 소독제를 수시로 사용하지 않고, 1.Do not add disinfectant or use disinfectant to water used for antibacterial like conventional humidifier air purifier,

본 발명은 은이나 동금속을,자외선램프를 사용하여 항균기능을 반영구적으로 용이하게 하였으며, The present invention facilitates semi-permanent antimicrobial function using silver or copper metal, UV lamp ,

2.음이온 발생기를 사용하여 탈취,매연제거등 공기정화기능을 확연히 보강 하였고,2. By using negative ion generator, air purifying functions such as deodorization and smoke removal are reinforcing.

3.수조의 구조를 개선하여 청소하기를 편리하게 하였고,안전성을 개선하였3. Improved the structure of the water tank, making it easier to clean and improved safety.

다.All.

종래에 상기와 같이 문제점이 개선된 가습공기정화기는 없었다.In the prior art, there was no humidifier air purifier with the above-described problems.

본 발명은 상기 문제를 해결하기 위하여 안출된 것으로서, The present invention has been made to solve the above problems,

그 목적은 The purpose is

1.가습정화기에 항균을 위하여 사용하는 물에 소독약을 첨가하거나 소독제를 수시로 사용하지 않아도 항균이 용이하며, 1.Even antimicrobial is easy without adding disinfectant to water used for antibacterial to humidifier or use disinfectant frequently,

2.탈취,매연제거까지 공기정화가 용이하고,2.Easy to purify air until deodorization, soot removal,

3.청소하기가 편리하고,안전성이 개선된 가습공기정화기를 제공하는데 목적이 있다.3. The purpose is to provide a humidified air purifier that is easy to clean and has improved safety.

상기 목적을 달성하기 위하여 본 발명은        The present invention to achieve the above object

1.수조 속 물의 세균번식을 억제하기 위하여 1.In order to suppress bacterial growth of water in the tank

디스크 세트와 수조의 내부 면에는 은(銀)과 동(銅)금속을,디스크 중심축과 중심축 걸대에는 인체에 무해한 은(銀)을 결합 하여 반 영구적으로 항균기능을 유지케 함으로서, 종래의 가습공기정화기의 소독약품을 수시로 사용해야 하는 불편함을 개선하였다.By combining silver and copper metal on the inner surface of the disk set and the tank, and silver (harmless) harmless to the human body on the disk central axis and the central axis holder, the antibacterial function is maintained permanently. The inconvenience of having to use the disinfectant of the humidifier air purifier is improved.

좀더 자세히 설명하면 수조 속 물의 세균번식을 억제하기 위하여 In more detail, to suppress the bacterial growth of the water in the tank

디스크 면에 은(銀)(99.9%)을 도금하거나 은박을 부착하여 은으로 코팅하고 그 위에 놋쇠망(동 78% 주석 22%)을 부착하여 은이 보호되게 하였다.Silver (99.9%) was plated on the face of the disk or coated with silver foil and coated with silver, and a brass screen (22% copper 78% tin) was attached on it to protect the silver.

놋쇠망을 부착한 이유는 놋쇠망 사이로 물은 유통되므로 은의 효과는 그대로 유지하면서 구리의 효과도 동시에 유지시키기 위함이다.  The reason for attaching the brass net is to maintain the effect of copper while maintaining the silver effect as water is distributed between the brass nets.

작동시 디스크 세트가 물속에서 회전할 때 디스크에 부착된 은(銀)과 놋쇠망(동과 주석의 합금)은 계속되는 물과의 마찰로 은과 동 이온이 발생하여 물에 섞이게 되며 중심축과 걸대에 결합한 은(銀)은 회전할 때 상호 마찰로 인하여 은 이온(미세한 은가루)이 발생, 물에 흘러 나와 수조 속의 물에 골고루 퍼지게 된다.In operation, when the disk set rotates in the water, the silver and brass nets (alloys of copper and tin) attached to the disk are mixed with water by the generation of silver and copper ions due to subsequent friction with water. When combined with silver, silver ions (fine silver powder) are generated due to mutual friction when they rotate, flowing out of the water and evenly spreading in the water in the tank.

당업자가 실행하는 과정에서 본 발명품에 사용되는 놋쇠망 대신 얇은놋쇠판으로 대체 하여 사용할 수도 있을 것이다. In the course of practice by those skilled in the art may be used in place of the thin brass plate instead of the brass net used in the present invention.

또한 놋쇠를 사용하는 이유는 놋쇠 성분 중 동(銅)의 항균 효과 때문이므로놋쇠가 아닌 동판이나 동망으로 대체 하여 사용할 수도 있을 것이다.In addition, the reason for using the brass is because of the antibacterial effect of the copper (중) of the brass components may be used to replace the copper plate or copper rather than brass.

수조의 내면에도 일부에는 은박이나 붙이거나 은 도금으로 코팅 하였고,다른면에는 얇은놋쇠판,동판을 붙이나 구리 도금으로 코팅 하여 항균력을 보강 하였다.
Some of the inner surface of the tank was coated with silver foil or silver plating, and the other side was coated with a thin brass plate, copper plate or copper plating to reinforce antibacterial activity.

은(銀)은 650여 종류의 세균 살균기능이 있다고 알려져 있을 뿐만 아니라 인체 내 호르몬 기능의 균형을 유지하는데도 유익하다고 알려져 있으며 인체에 유독성이 있다는 학계의 보고는 아직 없었다.       Silver (銀) is known to have more than 650 kinds of bactericidal function, and is also known to be beneficial in maintaining the balance of hormonal function in the human body.

종래에 은(銀)의 항균력이 인정된 제품은 많이 출시된바 있으며 그 중에 예를 들면 은(銀) 도금 물탱크를 사용한 "항균기능을 갖는 냉온수 공급 기기"가 (한국특허 등록번호: 1004540440000)(2004.10.13)한국특허에 등록된바 있듯이 은의 항균력은 종래에 여러 가지 과학적 실험으로 입증된 공지 사항이므로 더는 자세한 설명은 생략하였다.Conventionally, silver products have been recognized for their antimicrobial activity, and among them, for example, a " cold and hot water supply device having an antibacterial function " using a silver plated water tank (Korea Patent Registration No .: 1004540440000) (2004.10.13) As registered in the Korean patent, the antimicrobial activity of silver is a publicly known matter that has been proved by various scientific experiments in the prior art, and thus detailed description thereof has been omitted.

우리 조상의 천년 지혜인 놋그릇에 포함되어 있는 동(銅)의 항균력은 경기도 보건환경 연구원의 연구 논문"구리를 이용한 비브리오 사멸효과"(발간등록번호: 71-6410578-000021-01 2008.03 .)에 의하면 30 Cm X 30 Cm 크기의 놋쇠(구리 78% 주석 22%)를 생선횟집 수족관에 24 시간 적용 한 결과 비브리오균등 병원성균이 99.9% 사멸된 것이 입증되었다는 연구 결과가 있다.       The antimicrobial activity of copper contained in the brass bowl, the millennial wisdom of our ancestors, is based on the research paper of the Gyeonggi-do Institute of Health and Environment "Vibrio killing effect using copper" (published registration number: 71-6410578-000021-01 2008.03.). Twenty-four hours of 30 Cm X 30 Cm brass (22% copper, 78% tin) was found to have killed 99.9% of pathogenic bacteria, including Vibrio bacteria, in a fish aquarium.

또한, 구리의 안전성에 대하여 상기 연구 결과에 의하면(별첨 파일 참고)      In addition, the results of the above studies on the safety of copper (see appendix)

구리의 인체 섭취 경로는 호흡기로 되는 것이 아니라 음식이나 음료수로 인체에 섭취되는 것으로서 구리가 인체에 축적될 염려는 전혀 없다.      The route of human ingestion of copper is not to be a respiratory organ but is to be ingested by the human body as food or drink.

WHO(1993년)의 구리에 대한 수질 권고치는 2mg/L 이며,      WHO (1993) recommended a water quality of 2 mg / L for copper,

한국인의 1일 구리의 섭취 허용량은 30mg 이므로 구리에 대한 섭취 부족으로 오히려 구리의 섭취를 권고해야 바람직하다는 연구 결과이다.       The daily allowance of copper for Koreans is 30mg. Therefore, the intake of copper should be recommended due to the lack of intake of copper.

결론적으로 본 발명품에 구리를 사용함으로 인체에 구리가 축적되어 해가 될 염려는 전혀 없다.       In conclusion, the use of copper in the present invention, there is no fear that copper will accumulate in the human body and cause harm.

또한 사용하는 물이       Also use water 부패되는Corrupt 것을 이중으로 방지하기 위하여 통 형상의 상부본체(1)에 자외선 살균램프를 추가로  UV sterilization lamp is additionally added to the tubular upper body 1 to prevent this from happening. 설치 하였다Was installed ..

자외선 램프의 살균력을 이용한 물을 사용하는 가습 공기 정화기는 종래에는 없었다. There is no conventional humidifying air purifier using water using the sterilizing power of the ultraviolet lamp.

2.탈취,매연제거등 공기정화 기능을 보강하기 위하여.      2. To reinforce air purifying function such as deodorization and smoke removal.

공기 배출구에는 시중에서 기 개발되어 판매되고 있는 음이온 발생기(2,000,000-3,000,000/1CC/30Cm이내/무오존)를 설치하였다. The air outlet was equipped with an anion generator (2,000,000-3,000,000 / 1CC / 30cm or less / no ozone) commercially developed and sold in the market.

본 발명은 음이온이 팬에 의하여 공기 중에 직접 멀리 퍼지게 함으로서 그 효능 면에서 확연히 개선됐다고 생각된다.      It is contemplated that the present invention is significantly improved in terms of efficacy by allowing the anion to spread directly in the air by the fan.

음이온은 증발된 보이지 않는 수증기와 함께 공기 중에 섞이게 되고, 실내에는 자연에 가까운 신선한 공기가 공급될 것이다.       Negative ions will be mixed in the air with evaporated invisible water vapor, and the room will be supplied with fresh natural air.

3. 수조의 청소,안전성 문제를 해결하기 위하여.        3. To solve the problem of cleaning and safety of the tank.

공기 배출구의 높이를 종래의 것보다 높은 곳에 구성하고, 종래의 것과는 반대로 수조의 높이를 디스크 세트보다 높게 구성함으로서,        By constructing the height of the air outlet higher than the conventional, and by constitution of the height of the water tank higher than the disk set, as opposed to the conventional

청소할 때 수조에 가득 물을 채우면 디스크세트 전체가 물에 잠길 수 있게 되며, 디스크 세트와 수조를 분리하지 않고도 한번에 쉽게 청소 할 수 있게 하였 다.      When the tank is filled with water, the entire disk set can be submerged and can be easily cleaned at once without removing the disk set and the tank.

가동시에는 수조 높이에 2/5 - 1/5 정도만 물을 채우고도 충분히 가동되게 함으로서 종래의 것보다 무게의 중심을 아래로 내려오게 하여 안전성을 개선하였      During operation, the tank height is lowered than the conventional one by filling the tank height with only 2/5-1/5 of water to improve safety.

다.All.

종래의 구성은 디스크 세트에 닿은 공기가 바로 공기배출구로 나갈 수 있게 하기 위하여 공기 배출구의 높이와 디스크 세트의 상부의 높이를 맞추어 공기의 흐름에 저항을 주지 않게 하기 위한 것 같으나,      The conventional configuration seems to prevent the flow of air by matching the height of the air outlet with the height of the top of the disk set so that the air reaching the disk set can go directly to the air outlet.

공기의 흐름은 유동성이 높고 팬에 의하여 강제로 배출되기 때문에 공기 배출구가 얼마간 높아졌다 해도 공기의 배출에는 전혀 지장을 주지는 않을 뿐만 아니라 오히려 디스크 판에 공기를 이중으로 부딪치게 하면 공기와의 마찰면적이 넓어지게되며, 가습의 기능과 공기정화의 기능도 증가 될 것이라 생각된다.        Since the flow of air is highly fluid and is forced out by the fan, even if the air outlet is somewhat high, it does not interfere with the discharge of air at all, but if the air hits the disk plate in double, the friction area with the air is wide. It is thought that the function of humidification and air purification will be increased.

결론적으로 수조의 높이를 디스크 세트가 물에 잠길 수 있는 위치까지 높힌 아이디어는 간단 한것 같지만 그 효능면 에서는 종래의 것보다 청소하는데 확실히 편리하고, 안전성이 개선된 진보된 것이라 생각된다.        In conclusion, the idea of raising the height of the tank to the position where the disk set can be submerged seems simple, but in terms of its effectiveness, it is clearly convenient to clean than the conventional one, and improved safety.

상기와 같이 본 발명을 종래의 가습, 공기정화기의 문제점과 미비점의 개선을 위하여 적용하게 되면     As described above, when the present invention is applied to improve the problems and deficiencies of the conventional humidification, air purifier

1. 항균을 위하여 은(銀)과 동(銅)을,자외선램프를 사용함으로 번거로움 해소, 경제적이며 반 영구적이다.1. Use silver and copper and anti- ultraviolet lamp for antibacterial.

2. 음이온 발생장치로 인하여 매연제거,탈취, 항균, 공기정화의 기능을 보강하였으며 자연바람에 가까운 신선한 공기를 공급할 수 있다.      2. The negative ion generator enhances the functions of fumes removal, deodorization, antibacterial and air purification, and can supply fresh air close to the natural wind.

3. 청소할 때 디스크를 수조의 물에 잠겨놓은 상태에서 한번에 청소할 수 있어 간편하고,감전,누전사고 등 안전성도 개선되었다.      3. When cleaning, the disk can be cleaned at a time while submerged in the water of the tank.

본 발명은 종래의 소비자의 사용하기 불편한 점과 문제점, 미비한 기능을 최대한 개선한 구성으로서, 실용화 된다면 소비자의 선호도가 높으리라 사료된다.      The present invention is a configuration that improved the inconvenience and problems, inconvenient function of the conventional consumer as much as possible, it is considered that the consumer's preference is high if practical.

도 1은 상부본체와 하부수조의 분리 정면 단면도
도 2는 상부본체와 하부수조의 분리 측면 단면도
도 3은 디스크 세트 분리도
도 4는 톱니링 분리도
도 5는 종래의 가습 공기 정화기와 본 발명품과의 하부수조의 비교도
도 6은 디스크 코팅 참고도이고,
도 7은 스위치 측면도
도 8은 속도 조절스위치
도 9는 동력전달링 평면도
도 10은 동력전달링 고정핀 평면도
도 11은 동력전달링 고정핀 입면도
1 is an exploded front cross-sectional view of the upper body and the lower tank
2 is a side cross-sectional view of the upper body and the lower tank separated
3 is a disk set separation diagram
4 is a tooth ring separation view
Figure 5 is a comparison of the lower water tank between the conventional humidifying air purifier and the present invention
6 is a disk coating reference figure,
7 is a switch side view
8 is a speed control switch
9 is a power transmission ring plan view
10 is a plan view of the power transmission ring fixing pin
11 is an elevation view of a power transmission ring fixing pin

본 발명은 증발 가습 기능을 겸한 물을 이용하는 공기 정화기에 있어서, 사용되는 물의 항균방법, 공기의 정화방법, 청소방법과 안전성의 개선에 관한 것이 다.     The present invention relates to an antibacterial method for water, a method for purifying air, a cleaning method and an improvement in safety in an air purifier using water having a function of evaporative humidification.

종래의 불완전한 기능과 소비자의 불편한 점을 보완한 구성으로 사용하기 편리하고 실용적인 제품을 창출 하는데 목적이 있다.     The purpose is to create a product that is convenient and practical to use in a configuration that complements the conventional incomplete function and the inconvenience of the consumer.

본 발명의 가습공기 정화기의 구성과 기능을 좀더 자세히 설명하면,      Referring to the configuration and function of the humidifier air purifier of the present invention in more detail,

여러 개의 구멍이 뚫린 경질의 합성수지로 구성된 디스크 세트를 수조에 걸고 물을 디스크 세트가 2/5 정도 잠기게 채운 다음 전원을 공급하면, If you hang a disk set made of hard plastic with several holes in the tank, fill the disk set with 2/5 of the water, and then supply power.

디스크세트는 팬모타의 중심축에서 전달된 동력으로 회전하게 되며,이때 팬은 자연히 바람을 불어 내게된다.The disc set rotates with the power transmitted from the central axis of the fan motor, and the fan naturally blows air.

1. 물에 잠겼던 디스크(202)판이 회전하여 위로 올라오면서 디스크 면에 묻은 물은 팬의 바람에 의하여 증발되고 실내는 습도를 유지하게 된다.1. As the disk 202 submerged in the water rotates and rises upward, the water on the disk surface is evaporated by the wind of the fan and the room maintains humidity.

2. 공기 중에 석여 있는 먼지 등 불순물은 물 위로 노출된 젖어 있는 디스크 세트(210)에 들러붙게 되며, 디스크 세트는 계속 회전하면서 물속에 잠겼다 나오는구동을 계속하게 된다.       2. Impurities such as dust deposited in the air will stick to the wet disk set 210 exposed to the water, and the disk set will continue to drive while immersed in the water while rotating continuously.

이때 불순물은 수조에 저장된 물에 떨어지는 구동이 계속 반복되므로 공기의 정화기능이 가능하게 된다.       At this time, since the impurity is repeatedly driven to the water stored in the tank is possible to purify the air.

물 보충은 물이 수조 높이의 1/5까지 내려갈때에 상부 본체를 덮개 열듯이 열고 물을 용기로 떠다 부으면 되는 간단한 구성이다.      Water replenishment is a simple configuration that opens the upper body like a lid when water drops to 1/5 of the tank height and pours water into the container.

본 발명은 수조 속 물의 세균번식을 억제하기 위하여 The present invention to suppress the bacterial growth of the water in the tank

디스크(202) 면에 은(銀)박(211)(99.9%)이나 은도금으로 은을 코팅하였으며, 디스크세트를 청소할때 은이 회손되는 것을 방지하기 위하여 그 위에 놋쇠(동 78% 주석 22%)로 구성된 놋쇠망(212)을 부착하여 은을 보호 하였다. The surface of the disk 202 was coated with silver foil 211 (99.9%) or silver plating, and brass (22% copper 78% tin) on it to prevent the silver from being damaged when cleaning the disk set. A brass screen 212 constructed was attached to protect the silver.

놋쇠 망을 부착한 이유는 놋쇠망 사이로 물은 유통되므로 은의 효과는 그대로 유지하면서 구리의 효과도 동시에 유지 시키기 위함이다.  The reason for attaching the brass net is to maintain the effect of copper while maintaining the silver effect as water is distributed between the brass nets.

특히 디스크세트에 은(211)이나 동금속(212)을 부착시키면 디스크 세트가 회전할때 물과의 마찰로 인하여 미세한 은과 동이온이 물에 녹아나와 섞이게 됨으로 그 효과는 수조의 내부 벽면에만 부착한 것보다 월등 하리라 생각되며 디스크 세트에 은과 동금속을 부착 구성된 증발 가습공기 정화기는 종래에는 없었다.In particular, when silver (211) or copper metal (212) is attached to the disk set, the fine silver and copper ions are dissolved in the water and mixed due to friction with water when the disk set is rotated, so the effect is only attached to the inner wall of the tank. There is no conventional evaporative humidification air purifier that consists of silver and copper metal attached to a disk set.

디스크세트(210)는 여러 개의 디스크(202) 판으로 구성되어 있으므로 당업자가 실행하는 과정에서 상기와 같이 은 코팅 위에 놋쇠 망을 부착하지 않고 별도의 새로운 각각의 디스크 판에 은과 놋쇠로 코팅(도금이나, 얇은 판 부착)할 수도 있을 것이다.The disk set 210 is composed of a plurality of disk 202 plates, and thus, a plate of silver and brass is coated on each new disk plate without attaching a brass net on the silver coating as described above. Or a thin plate).

디스크세트(210)가 물속에서 회전할 때 디스크(202)에 부착된 은(銀)박(211)과 놋쇠망(212)은 계속되는 물과의 마찰로 은과 구리이온이 발생하여 물에 섞이게 된다. When the disk set 210 rotates in the water, the silver foil 211 and the brass net 212 attached to the disk 202 generate silver and copper ions due to friction with water, and mix with water. .

디스크 중심축(204)과 중심축 걸대(203)에 결합한 은(銀)은 회전으로 인한 상호 마찰로 인하여 미세한 은가루인 은이온이 발생하여 물에 흘러 나와 수조 속의 물에 골고루 퍼지게 된다.Silver (한) coupled to the disk central axis 204 and the central axis stem 203 is generated by the mutual friction due to the rotation of the fine silver powder ions to flow out of the water evenly spread in the water in the tank.

수조의 일내면에는 은박이나 은도금으로 코팅하였으며, 다른 일면에는 얇은 놋쇠판으로 코팅하여 항균력을 보강 하였다.One side of the tank was coated with silver foil or silver plating, and the other side was coated with a thin brass plate to reinforce antibacterial activity.

상기 디스크및 수조의 내면에 놋쇠를 사용하는 이유는 놋쇠 성분 중 동(銅)의 항균 효과 때문이므로 당업자가 실행하는 과정에서 본 발명품에 사용되는 놋쇠를 놋쇠망 대신 놋쇠판으로 혹은 놋쇠가 아닌 동판이나 동망으로 대체, 택일하여 사용할 수도 있을 것이다.The reason for using the brass on the inner surface of the disk and the tank is because of the antimicrobial effect of the copper component of the brass components in the process performed by those skilled in the art the brass used in the present invention instead of a brass net or a copper plate or a non-brass It may be replaced with an alternative network or alternatively used.

상기와 같이 수조의 내면에 은이나 동을 코팅할 수도 있겠지만 당업자가 실행하는 과정에서 수조의 내부에 은판, 놋쇠판,동판,동망을 일정크기로 절단하여(구조물로)넣어(바닥이나 측면에 부착)은이나 동의 항균 효과를 얻을 수도 있을 것이다.As described above, silver or copper may be coated on the inner surface of the tank, but in the process performed by those skilled in the art, a silver plate, a brass plate, a copper plate, and a copper wire are cut into a certain size (as a structure) (attached to the floor or side). The antimicrobial effect of silver or copper may be obtained.

종래에 은(銀)의 항균력이 인정된 제품은 출시된바 많으며 그 중에 예를 들면 은(銀)도금 물탱크를 사용한 "항균기능을 갖는 냉온수 공급 기기"가 (한국특허 등록번호: 1004540440000)(2004.10.13) 한국특허에 등록된바 있듯이 은의 항균력은 종래에 여러 가지 과학적 실험으로 입증된 공지 사항이므로 더 이상의 자세한 설명은 생략하였다.Conventionally, silver products have been recognized for their antimicrobial activity, and among them, for example, " hot and cold water supply device having antibacterial function " using silver-plated water tanks (Korea Patent Registration No .: 1004540440000) ( 2004.10.13) As it is registered in the Korean patent, the antimicrobial activity of silver is a publicly known matter that has been proved by various scientific experiments in the prior art, and thus, further description thereof is omitted.

우리 조상의 천년 지혜인 놋그릇에 포함되어 있는 동(銅)의 항균력 역시       The antibacterial activity of the copper contained in the brass bowl, our millennial wisdom,

경기도 보건환경 연구원의 연구 논문 "구리를 이용한 비브리오 사멸효과"(발간등록번호: 71-6410578-000021-01 2008.03 )에 의하면 30 Cm X 30 Cm 크기의 놋쇠(구리 78% 주석 22%)를 생선횟집 수족관에 24 시간 적용 한 결과 비브리오균등 병원성균이 99.9% 사멸된 것이 입증되었다.According to a research paper by the Institute of Health and Environment, Gyeonggi-do, "Briber killing effect using copper" (published registration number: 71-6410578-000021-01 2008.03), 30 cm x 30 cm of brass (78% copper, 22% tin) Application to the aquarium for 24 hours proved that 99.9% of vibriopathogenic bacteria were killed.

상기 연구 결과 논문에 의하면      According to the research paper

구리의 인체 섭취는 호흡기로 되는 것이 아니라 음식이나 음료수로 인체에 섭취되는 것이므로 구리가 인체에 축적될 염려는 전혀 없다.      The human body's intake of copper does not become a respiratory organ, but is consumed by the human body as food or drink, so there is no fear that copper will accumulate in the human body.

WHO의 1993년 구리에 대한 수질 권고치는 2mg/L 이며,      WHO's 1993 water quality recommendation for copper is 2 mg / L,

한국인의 1일 구리의 섭취 허용량은 30mg 이므로 구리에 대한 섭취 부족으로 오히려 구리의 섭취를 권고해야 바람직 하다는 연구 결과이다.       Since the daily intake of copper is 30mg for Koreans, the intake of copper should be recommended due to the lack of intake of copper.

결론적으로 본 발명품에 구리를 사용함으로 인체에 구리가 축적되어 해가 될 염려는 전혀 없다.In conclusion, the use of copper in the present invention, there is no fear that copper will accumulate in the human body and cause harm.

동의 항균 효과에 대하여는 국가 기관인 경기도청의 연구결과로 입증된 사항이므로 당 업자가 별도로 입증할 필요는 없다고 생각되기 때문에 생략 하였다.The antimicrobial effect of copper has been omitted since it is not necessary to prove it separately because it was proved by the research result of Gyeonggi Provincial Office.

본 가습공기 정화기는 정화된 공기가 호흡기를 통하여 인체에      This humidifier purifier cleans the air through the respiratory system 흡입되는Inhaled 것이므로 사용되는 물의 무균 형태유지는 아주 중요하다고 생각되기 때문에 As it is thought that maintaining sterile form of water used is very important 물이 부패되Water decays The 것을 이중으로 방지하기 위하여 통 형상의 상부본체(1)에 자외선 살균램프를 추가로  UV sterilization lamp is additionally added to the tubular upper body 1 to prevent this from happening. 설치 하였다Was installed . .

탈취,매연제거, 공기정화, 항균기능을 보강하기 위하여 시중에서 판매되는 음이온 발생기(19)(2,000,000-3,000,000/1CC/30Cm이내/무오존)를 설치하였다. A commercially available anion generator (19) (within 2,000,000-3,000,000 / 1CC / 30Cm / no ozone) was installed to reinforce deodorization, soot removal, air purification, and antibacterial function.

종래에 음이온 발생기구를 수조에 넣거나(한국특허: 0319599) 토르마린등에 물을 통과 시켜( 한국특허: 0529738) 음이온이 섞인 물을 분무할 때 음이온도 함께 분무 되게 한 가습기는 있었으나 이는 음이온이 물에 섞인 후 물과 함께 분무 되는 것으로서 매연제거나 탈취등 그 효능면에서는 음이온 발생봉이 공기중에 직접 노출되는 것보다는 현저히 떨어진다고 생각되는바,      Conventionally, there was a humidifier in which an anion generator was placed in a tank (Korea Patent: 0319599) or water was passed through tourmaline (Korea Patent: 0529738) to spray an anion with anion. After being sprayed with water, it is thought that the negative ion generating rod is significantly lower than the direct exposure to the air in terms of efficacy such as soot or deodorization.

본 발명은 음이온 발생봉(19A)을 공기 직접 중에 노출시킨 것으로서,        The present invention is to expose the negative ion generating rod (19A) in the air directly,

음이온 발생기가 매연제거,탈취에 효과가 있다는 것은 과거에 각종실험에 의하여 인지된 사실이며,현재 상품화 되어 시중에서 판매되고 있는 제품도 많이 있으므로 더 이상의 설명은 생략 하였다.       The fact that the negative ion generator is effective in the removal and deodorization of smoke is a fact recognized by various experiments in the past, and many products are now commercialized and sold on the market.

음이온의 발생으로 실내에는 자연에 가까운 신선한 공기가 공급되게 될 것이다.The generation of negative ions will provide indoor fresh air.

통상적으로 10 일 이상 사용하면 공기 중에서 흡입된 먼지 등 불순물이 디스크 세트와 수조에 들러붙어 청소를 하여 주어야 하는데,      In general, if it is used for more than 10 days, impurities such as dust sucked in the air should stick to the disk set and the water tank for cleaning.

종래의 물을 이용한 가습,공기정화기 수조(702)는 수조의 높이가 디스크 세트의 높이보다 낮아 디스크 세트의 상부가 수조의 위로 돌출되어 있기 때문에 청소할 때 수조의 물에 디스크 세트를 완전히 잠기게 할 수 없는 구조로 되어 있다.      In the conventional water humidification and air purifier tank 702, the height of the tank is lower than the height of the disk set, so that the top of the disk set protrudes above the tank so that the disk set can be completely immersed in the water of the tank when cleaning. It is made without a structure.

청소할 때에는 수조와 디스크 세트를 각각 분리하여 디스크 세트는 별도의 용기에 세제를 풀어 일정시간 담가 두었다가 꺼내어 샤워기 등으로 닦아 내야 하고 수조 역시 물을 채우고 세제를 풀어 일정시간 경과 시킨 후 샤워기 등으로 닦아내고, 다시 조립해야 하는 이중의 불편함이 있었다.When cleaning, separate the water tank and the disk set separately, and dissolve the disk set in a separate container and soak it for a certain period of time, and then take it out and wipe it off with a shower, etc. There was a double inconvenience of having to assemble.

디스크가 수조 위로 돌출되어 있기 때문에 가동시에 디스크가 물에 잠기게 하기 위하여는 수조에 물을 거의 가득 채워야 하며, 때문에 약간의 충격에도 물이 수조 밖으로 넘치거나 수조가 쓰러질 염려가 있었다.전원스위치(701)역시 종래의 것은 상부몸체와 하부수조가 맞닿는 부분에 설치되어 있기 때문에 외부 충격에 수조의 물이 출렁거리면 누전,감전등 안전성에도 문제가 있었다. Since the disc protrudes above the tank, the tank must be almost full to allow the disc to submerge during operation, and even a slight shock could cause the water to spill out of the tank or the tank may collapse. Also, in the conventional case, since the upper body and the lower tank are in contact with each other , there is a problem in safety, such as a short circuit and an electric shock, when water in the tank swells due to an external impact .

특히 수조가 어린이등 외부 충격에 의하여 쓰러졌을 경우에는 물은 폭넓게 퍼지며 물에는 전기가 통함으로 감전 사고의 위험성이 있었다.(대한민국 특허 10080947)In particular, when the tank is collapsed by an external impact such as a child, the water spreads widely and there is a risk of electric shock due to the electricity passing through the water . (Korean Patent 10080947)

본 발명은 종래의 상기와 같은 문제점과 미비점을 개선하기 위하여       The present invention to improve the above problems and deficiencies of the prior art

1.공기 배출구의 높이를 종래의 것보다 높은 곳에 구성하고,       1.Configure the height of the air outlet higher than the conventional one,

2.종래의 것과는 반대로 수조의 높이를 디스크 세트보다 높게 구성하였으며,       2. Contrary to the conventional one, the height of the tank is higher than that of the disk set.

3.전원스위치(10)역시 외부 충격에 수조의 물이 출렁거려도 물이 닿지 않게 하기 위하여 종래의 것보다 높은 곳에 구성하여 안전성을 개선 하였다.      3. The power switch 10 also improves the safety by constructing a place higher than the conventional one so that the water does not touch even when the water of the tank rumbles against external impact.

종래의 발명은 디스크 세트에 닿은 공기가 바로 공기 배출구로 나갈 수 있게 하기 위하여 공기 배출구의 높이와 디스크 세트의 상부의 높이를 맞추어 공기의 흐름에 저항을 주지 않게 하기 위한 것 같으나,       The conventional invention seems to prevent the flow of air by adjusting the height of the air outlet and the height of the top of the disk set so that the air reaching the disk set can go directly to the air outlet.

공기의 흐름은 유동성이 높고 팬에 의하여 강제로 배출되기 때문에 공기 배출구가 얼마간 높아졌다 해도 공기의 배출에는 전혀 지장을 주지는 않을 뿐만 아니라 오히려 디스크 판에 공기를 이중으로 부딪치게 하면 공기와의 마찰면적이 넓어지게 되며, 가습의 기능과 공기정화의 기능도 증가 될 것이라 생각된다.      Since the flow of air is highly fluid and is forced out by the fan, even if the air outlet is somewhat high, it does not interfere with the discharge of air at all, but if the air hits the disk plate in double, the friction area with the air is wide. It is thought that the function of humidification and air purification will be increased.

(제5도 참조)(See Figure 5)

본 발명의 실시예를 첨부 도면에 의하여 상세히 설명하면 다음과 같다.        An embodiment of the present invention will be described in detail with reference to the accompanying drawings.

도 1은 본 발명에 따른 가습 공기정화기의 도1은 상부본체와 하부수조의 분리 정면 단면도이며, 도 2는 상부본체와 하부수조의 분리 측면 단면도이고, 도 3은 디스크 세트 분리도이며, 도 4는 톱니링 분리도이고, 도 5는 종래의 가습 공기 정화기와 본 발명품과의 하부수조의 비교도이며, 도 6은 디스크 코팅 참고도이고, 도7은 스위치 측면도이며,도 8은 속도 조절스위치이며, 도 9는 동력전달링 평면도 이고, 도 10은 동력전달링 고정핀 평면도이며,도 11은 동력전달링 고정핀 입면도 이다.         1 is a front cross-sectional view of the upper body and the lower tank of the humidifying air purifier according to the present invention, Figure 2 is a side cross-sectional view of the upper body and the lower tank, Figure 3 is a disk set separation, Figure 4 is 5 is a tooth ring separation view, FIG. 5 is a comparison diagram of a conventional humidifying air purifier and a lower tank of the present invention, FIG. 6 is a disk coating reference diagram, FIG. 7 is a side view of a switch, and FIG. 8 is a speed control switch. 9 is a plan view of the power transmission ring, Figure 10 is a plan view of the power transmission ring fixing pin, Figure 11 is an elevation view of the power transmission ring fixing pin.

본 발명의 구성은 도1 에서 도 11 에 도시된 바와 같이 본 가습,공기정화기는 기계장치가 내장된 통형상의 상부본체와 하부는 디스크 세트가 내장된 수조로 구성되어 있으며,        The configuration of the present invention, as shown in Figures 1 to 11, the humidification, air purifier is composed of a tubular upper body and a lower portion of the tank with a built-in mechanical device is built,

도1은 상부본체와 하부수조의 분리 정면 단면도로서,      1 is an exploded front cross-sectional view of the upper body and the lower tank,

상부본체(1)에는 모타(6),팬(8),속도조절스위치(4),마이크로전원스위치(10),음이온발생기(19), 동력전달과 감속을 위한 웜기어세트(23)로 구성되어 있다.       The upper body (1) is composed of a motor (6), fan (8), speed control switch (4), micro power switch (10), negative ion generator (19), worm gear set (23) for power transmission and deceleration have.

상부본체(1)를 하부수조(207)위에 올려 놓으면 시소타입의 스위치작동바       Put the upper body (1) on the lower tank (207) when the seesaw type switch operating bar

(13)가 스위치작동돌기(201)에 밀려 마이크로 전원스위치(10)의 스위치(504)를 압박하여 전원이 공급된다.13 is pushed by the switch actuating protrusion 201 to press the switch 504 of the micro power switch 10 to supply power.

종래의 물을 사용하는 가습공기정화기는 물을 사용하는 특성 때문에 감전의 위험성이 있었으나,      Conventional humidifying air purifiers that use water have a risk of electric shock due to the nature of using water.

본 발명은 외부 충격으로 물이 넘치거나 본체가 넘어졌을 경우 물로 인한 감전을 방지하기 위하여 마이크로 전원스위치(10)의 위치를 통상의 종래 가습,공기정화기와 같이 상부몸체의 하부(701)에 구성하지 않고 시소 타입의 스위치작동바(13)를 사용하여 상부몸체의 중간부분까지 끌어 올려 안전성을 확보하였다.      The present invention does not configure the position of the micro power switch 10 in the lower part 701 of the upper body like a conventional conventional humidification, air purifier to prevent electric shock due to water when water overflows or the body falls due to external impact. By using the seesaw type switch operation bar 13 to ensure the safety by pulling up to the middle of the upper body.

전원단자(602)를 통하여 공급된 전원은 1단자(601), 2단자(603)가 구성된 속도 조절이 가능한 시소 타입의 속도조절스위치(4)를 거처 모타에 전원을 공급하게 되며, 팬이 돌아 공기가 흡입 ,배출 된다.      The power supplied through the power supply terminal 602 supplies power to the motor through the speed control switch 4 of the seesaw type, in which the first terminal 601 and the second terminal 603 are configured. Air is sucked in and out.

팬에 의하여 상면에 구성된 공기흡입구(2)를 통하여 흡입된 공기는 측4 면에 구성된 공기 배출구(5)를 통하여 배출됨으로 본 발명의 기능이 발효된다.      The air sucked in through the air inlet 2 configured on the upper surface by the fan is discharged through the air outlet 5 configured on the side 4 surface so that the function of the present invention is fermented.

1단과 2단의 속도 조절은 모타의 코일 회수에 의하여 작동되는 통상적인 공지된 기술이므로 자세한 설명은 생략하였다.      Speed control of the first and second stages is a conventional well-known technique operated by the number of coils of the motor, so detailed description thereof is omitted.

모타의 사프트의 끝에는 동력 전달을 위하여 경질의 합성수지로된 앙카(9)를 끼우며, 웜기어세트(23)를 구동하게 하기 위하여 앙카(9)와 웜기어(12)사이에 연질의 합성수지로 구성된 동력 전달링(11)을 삽입하고 링고정핀 1(20)과 링고정핀2 (21)으로 압착,삽입하여 동력전달링(11)을 고정시켰다.       At the end of the shaft of the motor, an anchor (9) made of hard synthetic resin is inserted for power transmission, and a power transmission composed of soft synthetic resin is provided between the anchor (9) and the worm gear (12) to drive the worm gear set (23). The ring 11 was inserted, and the power transmission ring 11 was fixed by pressing and inserting the ring fixing pin 1 (20) and the ring fixing pin 2 (21).

앙카(9)와 웜기아(12)에는 링고정핀1(20)과 링고정핀2(21)를 끼우게 하기 위하여 요홈을 각각 2개씩 구성하였다.       Anchors (9) and worm gears (12) were composed of two grooves, respectively, to fit the ring fixing pin 1 (20) and ring fixing pin 2 (21).

모타의 진동을 흡수하기 위하여 동력전달링(11)은 연질의 합성수지로 구성하였으며 웜기어세트,링고정핀1,2 는 경질의 합성수지로 구성 하였다.      In order to absorb the vibration of the motor, the power transmission ring 11 is composed of soft synthetic resin, and the worm gear set and ring fixing pins 1 and 2 are composed of hard synthetic resin.

동력전달링(11)의 삽입구(801)(802)에 링고정핀 1(20)의 돌출부위(901)(902)를 끼워 넣어 동력전달링(11)을 앙카(9)에 고정하였으며, 반대편 역시 링고정핀 2(21)를 웜기어(12)의 요홈에 압착,끼어 넣어 고정시켰다.     The power transmission ring 11 is fixed to the anchor 9 by inserting the protrusions 901 and 902 of the ring fixing pin 1 (20) into the insertion holes 801 and 802 of the power transmission ring 11, and the opposite side. Also, the ring fixing pins 2 (21) were pressed into the grooves of the worm gear 12 and clamped in place.

링고정핀의 돌출부위(901)(902)는 나선형의 톱날처럼 구성하여 한번 삽입되면 잘 빠지지 않게 하였다.     The protruding portions 901 and 902 of the ring fixing pin are configured like a spiral saw blade so that they do not fall out once inserted.

웜기어(12)에 전달된 모타의 동력은 톱니 4(17)에 연결되면서 감속,톱니 2(15)와 톱니 3(16)을 통하여 디스크세트(210)에 연결되어 있는 톱니링(209)을 구동시켜 디스크세트(210)전체가 회전 되게 하였다.The power of the motor transmitted to the worm gear 12 is connected to the tooth 4 (17) while driving the gear ring 209 connected to the disk set 210 through the gear 2 (15) and the tooth 3 (16). The entire disk set 210 is rotated.

톱니 1(17)와 톱니 4(14)는 중심축에 고정된 한 몸체이며,톱니 2(15)와 톱니 3(16)역시 한 몸체로서 같이 회전한다.Cogs 1 (17) and cogs 4 (14) are one body fixed to the central axis, and cogs 2 (15) and cogs 3 (16) also rotate together as one body.

웜기어에 의하여 구동되는 구조는 종래에 기개발된 통상적인 기어 변속장치로서 더 이상의 자세한 설명은 생략하였다.The structure driven by the worm gear is a conventional gear transmission previously developed in the prior art, and further description thereof has been omitted.

본 발명은 공기배출구 좌측이나 우측에 음이온 발생기(19)를 부착하였으며, 음이온 발생봉(19A)은 공기 배출구 밖으로 조금 노출시켜 팬의 바람에 의하여 음이온이 멀리 퍼지게 하였다.In the present invention, the negative ion generator 19 is attached to the left or right side of the air outlet, and the negative ion generating rod 19A is slightly exposed outside the air outlet to allow the negative ions to spread far away by the wind of the fan.

팬개구부(7)는 상단에 모타 고정대(3)를 함께 구성하여 나사로 모타를 고정할수 있게 하였다. The fan opening portion 7 was formed with a motor holder (3) at the top to enable the motor to be fixed with screws.

안착대(206)는 상부 4면 을 내측 방향으로 30-40도 정도 기울여 상부 몸체(1)을 올려 놓을 때 하부수조(207)와 쉽게,정확하게 결합 되도록 하였다. The seating table 206 is inclined about 30-40 degrees in the upper four directions so that the upper body 1 is easily and accurately combined with the lower tank 207 when the upper body 1 is placed thereon.

전원공급선(24)은 원형선으로 구성하며, 상부전선배출구(18)에 2/3 끼울수있게 "ㄷ"형 전선홀다(18A)에 끼워 고정시켰으며,상부몸체(1)를 하부 수조위에 올려 놓을때 원형의 전원공급선(24) 1/3 정도를 하향 후방으로 돌출 시킴으로서 하부수조의 하부전선배출구(213)에 잘 결합되게 하였다.The power supply line 24 is composed of a circular line, and is fixed to the "c" type wire holder 18A so that it can be inserted into the upper wire outlet 18 by 2/3. The upper body 1 is placed on the lower tank. When placed, the 1/3 round power supply line 24 is projected downward backward to be coupled to the lower wire outlet 213 of the lower tank.

하부전선배출구(213)는 상부전선배출구(18)보다 조금 넓게 구성하여 상부 본체(1)를 올려 놓을때 쉽게 결합되게 하였으며,안착대(206)와 함께 상부몸체와 하부수조(207)가 쉽고도 정확하게 결합되게 하였다.The lower wire outlet 213 is configured to be slightly wider than the upper wire outlet 18 so that it is easily coupled when the upper body 1 is placed thereon, and the upper body and the lower tank 207 together with the seating stand 206 are easy to use. It was to be combined correctly.

도 2는 상부본체와 하부수조의 분리 측면 단면도로서,2 is a cross-sectional side view of the upper body and the lower tank separated;

본 발명은 사용하는 물의 부패를 The present invention is to decay the water used 막기위하여To prevent 통형상의Tubular 상부본체(1)에 자외선 UV in the upper body (1)

램프A(309) 자외선램프B(310)를 설치하여 자외선의 살균력에 의하여 수조내의 물의 부패가 억제되게 하였다. Lamp A (309) The ultraviolet lamp B (310) was installed to suppress the decay of water in the tank by the sterilizing power of ultraviolet light.

본 발명에 사용되는 자외선 램프는 최근에 개발되어 상용화 되어 있는 수명이 길고 점등시 안정기가 필요하지 않은 LED 자외선 램프(250-300 nm 1.5-3.5 V 3-4 W)를 사용하였으며, The ultraviolet lamp used in the present invention used a LED ultraviolet lamp (250-300 nm 1.5-3.5 V 3-4 W) which has been developed recently and commercialized long life and do not require a ballast when lighting ,

당업자가 실행하는 과정에서 자외선 램프의 숫자는 살균 성능의 결과에 따라 가감 할 수도 있을 것이다The number of UV lamps in the process performed by those skilled in the art may add or subtract depending on the results of the sterilization performance.

상기와 같이 자외선 램프를 설치하면 자외선램프의 빛이 밑으로 When the ultraviolet lamp is installed as above, the light of the ultraviolet lamp 비춰지며Reflected 하부수조에 담겨있는 물에 통과하게 되고 이때 물속에 섞여있는  Passing through the water in the lower tank 각종균은Various germs 살균  Sterilization 될것이다Will be . .

하부수조(207)에 담겨 있는 물은 디스크세트(210)의 회전에 의하여 The water contained in the lower tank 207 is rotated by the disk set 210. 계속적으로Continue 섞이게 되므로 자외선램프가 하부 수조의 일부분에만 비춘다 해도 살균효과에는 지장이 없을 것이다. Because of the mixing, even if the UV lamp shines only on a part of the lower tank, the sterilization effect will not be affected.

하부수조(207)의 4면 상단에는 내측으로 30-40도 정도 경사지게 안착대(206)를 구성하여 상부본체(1)와 결합 할 때에는 상부본체(1)를 하부수조(207)위에 뚜껑덮듯이 올려놓으면 자동 결합되게 하였다.      The upper surface of the lower tank 207 is formed inclined about 30-40 degrees inwardly to form a seating stand 206 to cover the upper body (1) on the lower tank 207 when combined with the upper body (1) When put up, it was automatically combined.

디스크세트(210)와 하부수조(207)와의 결합은 디스크세트(210)를 위에서 아래로 넣으면,디스크중심축(204)양 끝이 수조의 좌우 양면에 "∨" 자형 으로 돌출구성된 중심축걸대홈(303)에 걸리게 하였다.When the disk set 210 and the lower tank 207 are combined, the disk set 210 is inserted from the top to the bottom, and the disk center shaft 204 is formed at both ends of the center shaft protrudingly formed in a "∨" shape on both sides of the tank. (303).

중심축걸대(203)는 평철모양의 은판을 "∪" 형으로 구성하며, The central shaft rest 203 is composed of a flat iron-like silver plate "∪" type,

수조의 좌,우측면과 함께 사출되어 구성된 중심축걸대홈(303)에 수조의 내부에서 외부방향으로 압착,끼워 넣어 고정 시킬수 있게 하였다. Compressed with the left and right sides of the tank was configured to be fixed by inserting the center shaft gutter groove 303 in the tank in the outer direction.

디스크중심축(204)의 끝에는 은으로 구성된 링(205)을 박아 나사로 고정시켰다. At the end of the disk center shaft 204, a ring 205 made of silver was driven and screwed.

가동시에는 중심축걸대(203)와 은으로 구성된 링(205)과 서로의 마찰로 인하여 은의 미세한 가루입자인 은이온이 발생하게 되며, 발생된 은 이온은 물을 보충 할 때 물에 의하여 씻기고, 물에 잠기게 되고, 수조의 물에 섞이게 되어 항균 효과가 발생하게 된다.디스크의 표면은 은(211)으로 도금하거나 얇은 은박(211)을 붙이고 그 위에 놋쇠망(212)을 나사로 부착하여 은을 보호 하였다 During operation, silver ions, which are fine powder particles of silver, are generated due to friction between the center shaft rest 203 and the ring 205 composed of silver, and the generated silver ions are washed by water when replenishing water, The surface of the disk is plated with silver (211) or a thin silver foil (211) is attached to it, and a brass net (212) is screwed on it. Protected

수조의 물 보충은 물의 높이가 최저수위(302)까지 내려오면 본 가습공기정화기를 물 있는 곳까지 옮길 필요없이 상부본체(1)만 뚜껑 열듯이 들어 옆에 내려놓고 물을 용기로 떠와 하부수조(207)의 최고수위(301)까지 물을 부으면 되는 간단한 구조이며, 상부본체를 올려 놓으면 마이크로전원스위치(201)에 의하여 전원이 자동으로 연결된다.When the water level of the tank is lowered to the lowest water level (302), the humidifier air purifier does not need to be moved to the place where the water is located. It is a simple structure that pours water up to the highest water level 301 of 207, and when the upper body is placed, the power is automatically connected by the micro power switch 201.

도 3은 디스크세트 분리도로서,3 is a disk set separation view,

디스크중심축(204)끝 부분에 은성분의 링(205)을 끼우고 나사1(301A)로 고정시킨 후(나사의 머리부분이 돌출되지않게 깊게),디스크(202)를 끼워넣고,톱니링      Insert the silver ring 205 at the end of the disk center shaft 204 and fix it with the screw 1 (301A) (deep so that the head of the screw does not protrude), and then insert the disk 202 into the tooth ring.

(209)을 끼워넣으며,다시 디스크(202)를 반대로 끼워넣어 디스크의 지지핀(307)이 톱니링의 지지핀삽입구(401)에 삽입되어 톱니링이 미끄러지지않게 하였으며,마감으로 은으로 구성된 링(205)을 끼워 압착하며 나사2(302A)로 링(205)을 고정시켰다.(209), the disk 202 is inserted again and the support pin 307 of the disc is inserted into the support pin insertion hole 401 of the tooth ring so that the tooth ring does not slip, and the ring made of silver 205) was pressed and the ring 205 was fixed with screw 2 (302A).

지지핀(307)은 디스크 사이의 간격을 일정하게 유지시켜 주는 역할도 한다.     The support pin 307 also serves to maintain a constant gap between the disks.

도 4는 톱니링 분리도로서,     4 is a tooth ring separation view,

톱니링은(209) 디스크세트(210)를 결합할때 디스크판의 지지핀(305)이 좌우에서 톱니링(209)의 지지핀삽입구(401)에 삽입 되므로 자연히 결합되게 하였다.     When the tooth ring 209 is coupled to the disk set 210, the support pin 305 of the disk plate is inserted into the support pin insertion hole 401 of the tooth ring 209 from left and right, so that it is naturally coupled.

도 5는 종래의 가습 공기 정화기와 본 발명품과의 하부수조의 비교도로서,     Figure 5 is a comparison of the lower water tank between the conventional humidifying air purifier and the present invention,

전술한 바와 같이 종래의 가습공기정화기(702)는 수조의 상단이 디스크세트(704)의 상단보다 낮아 디스크세트(704)의 상부가 수조의 위로 돌출되어 있기 때문에 청소할 때 수조의 물에 디스크세트(704)를 완전히 잠기게 할 수 없는 구조로 되어 있어 청소하기 불편한 반면에,     As described above, the conventional humidifying air purifier 702 has a disk set in the water of the tank when cleaning because the upper end of the tank is lower than the upper end of the disk set 704 because the upper part of the disk set 704 protrudes above the tank. 704) is inconvenient to clean due to the structure that cannot be locked completely,

본 발명품(705)은 그 반대로 디스크세트(210)의 상단이 수조(207)의 높이보다 낮게 구성되어, 디스크세트를 물에 완전히 잠기게 할수 있기 때문에 한번에 청소 할수가 있음으로 종래의 것보다 훨씬 편하다.     In contrast, the present invention 705 is made much lower than the conventional one because the upper end of the disk set 210 is configured to be lower than the height of the water tank 207 so that the disk set can be completely submerged in water. .

종래의 전원스위치(701)역시 상부몸체와 하부수조가 맞닿는 부분에 설치되어 있기때문에 외부 충격에 수조의 물이 출렁거리면 누전,감전등 안전성에도 문제가 있었으나 본 발명은 전원스위치(10)를 상부로 이전하여 안전성을 보강하였다.     Conventional power switch 701 is also installed in the upper body and the lower tank in contact with the water because the water in the tank to the external impact, there is a problem in safety, such as short circuit, electric shock, etc. The present invention has the power switch 10 to the top Transfer to enhance safety.

특히 수조가 어린이등 외부 충격에 의하여 쓸어졌을 경우에는 물은 폭넓게 퍼지며 물에는 전기가 통함으로 감전 사고의 위험성이 있었다.(대한민국 특허 10080947)      In particular, when the tank is swept away by an external impact such as a child, the water spreads widely and there is a risk of electric shock due to the electricity passing through the water. (Korean Patent 10080947)

도 6은 디스크 참고도로서,      6 is a disc reference diagram,

디스크의 구성은 경질의 얇은 합성수지 판으로 구성하여 사출로 제작하며,무광으로 하여 회전시 물이 잘 묻어 올라오게 하였다.       The disk is composed of hard thin synthetic resin plates and produced by injection.

수막구(304)를 구성하여 디스크가 회전하면서 올라올때 표면장력 현상에 의하여 수막구에 수막이 생기게 하였고, 팬의 바람에 의하여 수막이 터지면서 디스크에 물이 묻어 흘러내리면서 디스크에 물이 오래묻어 있게 함으로 본 발명의 기능을 배가 시켰다.     When the disk is rotated up to form the water film port 304, the water film is formed on the water film by the surface tension phenomenon. It has doubled the function of the present invention.

상부에서 공급된 공기는 통풍구(305)를 통하여 좌우로 퍼져 배출구로 배출되게 하였다.       Air supplied from the upper side was spread from side to side through the vent 305 to be discharged to the outlet.

디스크의 중앙에는 한곳에 걸림돌기(308)가 구성된 중심축삽입구(306)를 구성하였으며,디스크중심축(204)에는 반대로 요홈을 구성하여 디스크중심축(204)이 삽입되어 디스크세트가 회전할때 미끄러지지 않게 하였다.      In the center of the disk was formed a central shaft insertion hole 306 consisting of a locking projection 308 in one place, and the disk center shaft 204 is formed in the groove to the contrary, the disk center shaft 204 is inserted to slide when the disk set is rotated It was not.

디스크(202)와 거의 같은 모양으로 얇은 은박(211)과 놋쇠망(212)으로 구성하며, 디스크에 은박(211)과 놋쇠망(212)을 차례로 나사로 압착하여 붙였다.      It is composed of a thin silver foil 211 and a brass net 212 in a shape substantially the same as the disk 202, and the silver foil 211 and the brass net 212 are sequentially pressed onto the disc with screws.

디스크의 숫자는 본 발명의 용량에 따라 십 여개에서 수 십개까지 구성될수 있으며,상기 은판과 놋쇠망의 구성은 1-5 개의 디스크에 구성하면 충분 할 것이다.      The number of disks may be comprised from ten to tens depending on the capacity of the present invention, and the configuration of the silver plate and the brass net may be sufficient for 1-5 disks.

또한 디스크의 숫자는 수 십개로 구성되므로        Also, the number of disks consists of dozens

당업자가 실행하는 과정에서 작업과정을 쉽게 하기 위하여 각각의 디스크에 따로따로 은도금이나 동도금을 혹은 얇은 은판(은박)이나 동판(동박)을 실리콘이나 열처리하거나 접착재등으로 붙여, 코팅 할 수도 있을 것이다.       In order to facilitate the operation in the course of practice by those skilled in the art, each disk may be separately coated with silver plating or copper plating, or a thin silver plate (silver foil) or copper plate (copper foil) by silicon or heat treatment or adhesive material.

도7은 스위치 측면도로서,    7 is a switch side view;

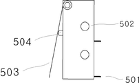
상부본체(1)를 하부수조(207)위에 올려 놓을때 스위치작동돌기(201)에 의하여 스위치작동바(13)의 하단부가 전면으로 당겨지면서 스텐레스스틸로 구성된 스위칭부(503)를 스위치(504)방향으로 밀리면서 수위치가 작동되어 단자에 공급된 전원이 공급되게 구성 되어있다.    When the upper body 1 is placed on the lower water tank 207, the lower end of the switch operation bar 13 is pulled to the front by the switch operation protrusion 201 to switch the switch 503 made of stainless steel. Pushing in the direction, the male position is operated so that the power supplied to the terminal is supplied.

도 8은 속도 조절스위치로서,      8 is a speed control switch,

전원단자(602)를 통하여 공급된 전원은 1단자(601)와 2단자(603)로 구성된 속도 조절이 가능한 시소 타입의 속도조절스위치(4)를 거처 모타에 전원을 공급하게 되며, 팬이 돌아 공기가 흡입 ,배출 된다.      The power supplied through the power terminal 602 supplies power to the motor via the speed control switch 4 of the seesaw type, which is capable of adjusting speed consisting of the first terminal 601 and the second terminal 603, and the fan is turned. Air is sucked in and out.

1단과 2단의 속도 조절은 모타의 코일 회수에 의하여 작동되는 통상적인 공지된 기술이므로 자세한 설명은 생략하였다.      Speed control of the first and second stages is a conventional well-known technique operated by the number of coils of the motor, so detailed description thereof is omitted.

도 9는 동력전달링 평면도 로서,       9 is a plan view of the power transmission ring,

재질은 탄력이있는 연질의 합성수지로 구성하며, 웜기어(12)와 앙카(9)를 연결하기 위하여 상단과 하단 2곳에 원형판(803)을 구성하며 그곳에 고정핀 삽입구      The material is composed of soft synthetic resin with elasticity. In order to connect the worm gear 12 and the anchor 9, a circular plate 803 is formed at the top and bottom two places, and a fixing pin insertion hole therein.

1(801)과 정핀삽입구2(802)를 구성하였다.1 (801) and positive pin inlet 2 (802) was configured.

도 10은 동력전달링 고정핀 평면도로서,      10 is a plan view of the power transmission ring fixing pin,

재질은 경질의 합성수지로 구성하며, 웜기어(12)와 앙카(9)를 연결하기 위하여 구성된 원형판(803)의 삽입구(801)(802)에 압착, 동력이 전달,구동되게 하였다.     The material is made of a hard synthetic resin, and pressed, power is transmitted and driven to the insertion holes 801 and 802 of the circular plate 803 configured to connect the worm gear 12 and the anchor 9.

도 11은 동력전달링 고정핀 입면도로서.       11 is an elevation view of a power transmission ring pin.

링고정핀의 돌출부1(901) 돌출부2((902)는 나선형의 톱날처럼 구성하여 압착하여 한번 삽입되면 잘 빠지지 않게 하였다.      Protrusions 1 (901) protruding portion 2 (902) of the ring fixing pin is configured as a saw blade of the spiral so as not to fall off once inserted by pressing.

본 발명의 전기 배선의 구성은 간단하며 통상적인 공지된 사항이므로 배선도는 생략하 였다.      Since the configuration of the electrical wiring of the present invention is simple and common known matter, the wiring diagram is omitted.

1.상부 본체 2.공기흡입구 3.모타고정대 4.속도조절스위치 5.공기 배출구 6.모타 7.팬 개구부 8.팬 9.앙카 10.마이크로전원스위치 11.동력전달링 12.웜기어 13.스위치작동바 14.톱니 1 15.톱니 2 16.톱니 3 17.톱니 4 18,상부전선배출구 18A.전선홀다 19.음이온 발생기 19A. 음이온 발생봉 20.링고정핀1 21.링고정핀 2 22.웜기어박스 23.웜기어셋트 24.전선
201.스위치작동돌기 202.디스크 203.중심축걸대 204.디스크중심축 205.링 206.안착대 207. 하부수조 208.코팅 209.톱니링 210.디스크세트
211.은박 212.놋쇠망 213.하부전선배출구 301.최고 수위 302. 최하수위
301A.나사1 302A.나사2 303. 중심축 걸대홈 304. 수막구 305. 동풍구 306. 중심축 삽입구
307. 지지핀 308. 걸림돌기 309.자외선램프A 310.좌외선램프B 502.고정구 503.스위칭부 504.스위치 601.1단자 602.전원단자 603.2단자 701. 전원스위치 702.종래의가습공기정화기 703.공기 흐름표 704.종래의디스크세트
705 본발명 품 801.고정핀삽입구 1 802.고정핀삽입구 2 803. 원형판
901.돌출부 1 902.돌출부 2
1.Upper body 2.Air intake 3.Motor fixture 4.Speed control switch 5.Air outlet 6.Motor 7.Fan opening 8.Fan 9.Anchor 10.Micro power switch 11.Power transmission ring 12.Warm gear 13.Switch Operation bar 14.Tooth 1 15.Tooth 2 16.Tooth 3 17.Tooth 4 18, Upper wire outlet 18A.Wire hold 19.Anion generator 19A. Negative ion generating rod 20.Ring lock pin 1 21.Ring lock pin 2 22.Worm gear box 23.Worm gear set 24.Wire
201.Switch action projection 202.Disc 203.Center shaft 204.Disc center shaft 205.Ring 206.Seat stand 207.Lower water tank 208.Coating 209.Tooth ring 210.Disc set
211.Foil 212.Brass network 213.Submarine outlet 301.Highest level 302.Low level
301A.Screw 1 302A.Screw 2 303.Central Shaft Groove 304.Hermetic Groove 305.Dongpung-gu 306.Central Shaft Insertion Port
307. Support pin 308. Locking projection 309. Ultraviolet lamp A 310. Left outer lamp B 502. Fixture 503. Switching section 504. Switch 601.1 Terminal 602. Power terminal 603.2 Terminal 701. Power switch 702. Conventional humidification air purifier 703. Airflow Table 704. Conventional Disc Sets
705 Invented product 801. Locking pin insert 1 802. Locking pin insert 2 803. Round plate
901.Protrusion 1 902.Protrusion 2

Claims (1)

물을 사용하는 가습 기능을 겸한 통상의 공기정화기에 있어서,
사용하는 물이 부패되는 것을 방지하기 위하여 상부에 자외선 살균램프를 설치한 것을 특징으로 하는 자외선 램프가 부착된 물을 사용하는 가습기능을 겸한 공기정화기.
In a normal air purifier that also serves as a humidification function using water,
An air purifier with a humidification function that uses water with an ultraviolet lamp, characterized in that an ultraviolet germicidal lamp is installed on the top to prevent the water from being rotted.
KR1020100004266A 2010-01-18 2010-01-18 Air purifier with humidifying function using water with UV lamp Ceased KR20110084618A (en)

Priority Applications (1)

Application Number Priority Date Filing Date Title
KR1020100004266A KR20110084618A (en) 2010-01-18 2010-01-18 Air purifier with humidifying function using water with UV lamp

Applications Claiming Priority (1)

Application Number Priority Date Filing Date Title
KR1020100004266A KR20110084618A (en) 2010-01-18 2010-01-18 Air purifier with humidifying function using water with UV lamp

Publications (1)

Publication Number Publication Date
KR20110084618A true KR20110084618A (en) 2011-07-26

Family

ID=44921676

Family Applications (1)

Application Number Title Priority Date Filing Date
KR1020100004266A Ceased KR20110084618A (en) 2010-01-18 2010-01-18 Air purifier with humidifying function using water with UV lamp

Country Status (1)

Country Link
KR (1) KR20110084618A (en)

Cited By (2)

* Cited by examiner, † Cited by third party
Publication number Priority date Publication date Assignee Title
KR101433083B1 (en) * 2012-11-05 2014-08-22 주식회사 위닉스 Disk of humidifying air cleaner
CN109357338A (en) * 2018-10-26 2019-02-19 杭州强港实业有限公司 A kind of portable air purifier

Cited By (2)

* Cited by examiner, † Cited by third party
Publication number Priority date Publication date Assignee Title
KR101433083B1 (en) * 2012-11-05 2014-08-22 주식회사 위닉스 Disk of humidifying air cleaner
CN109357338A (en) * 2018-10-26 2019-02-19 杭州强港实业有限公司 A kind of portable air purifier

Similar Documents

Publication Publication Date Title
US20080190374A1 (en) Water dispenser for pets
KR101515153B1 (en) A airwasher of sterilized water having transparent window
KR100719788B1 (en) Combined air purifier combined with water washing and adsorption filtration
AU2006279989A1 (en) Air purifier
CN115127179B (en) Fully effective air purification device that quickly sterilizes and removes odors
CN102459098A (en) Water filter-pitcher
WO2006127577A2 (en) Ozone generator
KR20140093019A (en) Humidifier, sterilizing water maker, air purifier and water purifier
TW200938780A (en) Humidifier, air cleaner, and electrolyzed water unit
KR20110084618A (en) Air purifier with humidifying function using water with UV lamp
JP2011158104A (en) Humidifier
JPS61141918A (en) Deodorizing apparatus
JP2004093108A (en) Humidifier
KR20100037221A (en) A water-used aircleaner combined with humidifier
CN211093622U (en) An electronically controlled disinfection and drying toothbrush placing box
JP7228140B2 (en) Spatial sterilization and purification device
US20050211612A1 (en) Water suction purification device
JP2004009040A (en) Vaporizer with lighting
KR20100115079A (en) Humidifier
JP2021176463A (en) Space sterilization device
CN2233532Y (en) Indoor air cleaner
CN2892087Y (en) Waterproof sterilization, deodorization air purifier
KR200144129Y1 (en) Device for air filtering and humidity using aquarium
CN204813403U (en) Water dispenser with function of disinfecting
KR20120057152A (en) Radical sterilization humidifier

Legal Events

Date Code Title Description
A201 Request for examination
PA0109 Patent application

Patent event code: PA01091R01D

Comment text: Patent Application

Patent event date: 20100118

PA0201 Request for examination
E902 Notification of reason for refusal
PE0902 Notice of grounds for rejection

Comment text: Notification of reason for refusal

Patent event date: 20110629

Patent event code: PE09021S01D

PG1501 Laying open of application
E601 Decision to refuse application
PE0601 Decision on rejection of patent

Patent event date: 20110930

Comment text: Decision to Refuse Application

Patent event code: PE06012S01D

Patent event date: 20110720

Comment text: Notification of reason for refusal

Patent event code: PE06011S01I

Patent event date: 20110629

Comment text: Notification of reason for refusal

Patent event code: PE06011S01I

E601 Decision to refuse application
PE0601 Decision on rejection of patent

Patent event date: 20111025

Comment text: Decision to Refuse Application

Patent event code: PE06012S01D

Patent event date: 20110720

Comment text: Notification of reason for refusal

Patent event code: PE06011S01I

Patent event date: 20110629

Comment text: Notification of reason for refusal

Patent event code: PE06011S01I