KR20110007366U - A case for mobile communication terminal - Google Patents

A case for mobile communication terminal Download PDF

Info

Publication number
KR20110007366U
KR20110007366U KR2020100000526U KR20100000526U KR20110007366U KR 20110007366 U KR20110007366 U KR 20110007366U KR 2020100000526 U KR2020100000526 U KR 2020100000526U KR 20100000526 U KR20100000526 U KR 20100000526U KR 20110007366 U KR20110007366 U KR 20110007366U
Authority
KR
South Korea
Prior art keywords
cover
mirror
communication device
call
portable communication
Prior art date
Legal status (The legal status is an assumption and is not a legal conclusion. Google has not performed a legal analysis and makes no representation as to the accuracy of the status listed.)
Abandoned
Application number
KR2020100000526U
Other languages
Korean (ko)
Inventor
윤 호 김
Original Assignee
윤 호 김
Priority date (The priority date is an assumption and is not a legal conclusion. Google has not performed a legal analysis and makes no representation as to the accuracy of the date listed.)
Filing date
Publication date
Application filed by 윤 호 김 filed Critical 윤 호 김
Priority to KR2020100000526U priority Critical patent/KR20110007366U/en
Publication of KR20110007366U publication Critical patent/KR20110007366U/en
Abandoned legal-status Critical Current

Links

Images

Classifications

    • AHUMAN NECESSITIES
    • A45HAND OR TRAVELLING ARTICLES
    • A45CPURSES; LUGGAGE; HAND CARRIED BAGS
    • A45C11/00Receptacles for purposes not provided for in groups A45C1/00-A45C9/00
    • AHUMAN NECESSITIES
    • A45HAND OR TRAVELLING ARTICLES
    • A45CPURSES; LUGGAGE; HAND CARRIED BAGS
    • A45C11/00Receptacles for purposes not provided for in groups A45C1/00-A45C9/00
    • A45C11/002Receptacles for purposes not provided for in groups A45C1/00-A45C9/00 for storing portable handheld communication devices, e.g. pagers or smart phones
    • AHUMAN NECESSITIES
    • A45HAND OR TRAVELLING ARTICLES
    • A45CPURSES; LUGGAGE; HAND CARRIED BAGS
    • A45C13/00Details; Accessories
    • A45C13/10Arrangement of fasteners
    • A45C13/1069Arrangement of fasteners magnetic
    • AHUMAN NECESSITIES
    • A45HAND OR TRAVELLING ARTICLES
    • A45FTRAVELLING OR CAMP EQUIPMENT: SACKS OR PACKS CARRIED ON THE BODY
    • A45F5/00Holders or carriers for hand articles; Holders or carriers for use while travelling or camping
    • A45F5/1516Holders or carriers for portable handheld communication devices, e.g. pagers or smart phones
    • AHUMAN NECESSITIES
    • A45HAND OR TRAVELLING ARTICLES
    • A45CPURSES; LUGGAGE; HAND CARRIED BAGS
    • A45C2200/00Details not otherwise provided for in A45C
    • A45C2200/10Transparent walls

Landscapes

  • Telephone Set Structure (AREA)

Abstract

본 고안에 따른 덮개 개방 없이 통화가 용이한 휴대용 통신기기 보호케이스휴대용 통신기기 보호케이스는,
휴대용통신기기수납부와 덮개부가 지지부에 의해 일체로 형성되고, 휴대용통신기기수납부의 내면에 통신기기수납틀이 고정되는 휴대용 통신기기 보호케이스에 있어서,
상기 덮개부의 상단부와 하단부의 중앙에 통화(송수화)를 할 수 있도록 통화공(송화공 및 수화공)을 뚫어 주고, 상기 덮개부의 중앙에는 걸려오는 전화번호를 확인할 수 있도록 투시공(또는 투시창)을 형성하며, 상기 송화공의 양측에는 전화가 걸려 왔을 때에 덮개부를 개방하지 않고 조작버튼부(통화조작버튼과 종료조작버튼)을 조작(눌러)하여 통화를 실시할 수 있도록 조작버튼부(통화조작버튼과 종료조작버튼)을 각각 형성한 것이다.
본 고안은, 휴대용통신기기수납부의 내면에 고정된 통신기기수납틀의 전면을 개폐하는 덮개부의 상단부와 하단부의 중앙에 뚫어진 통화공(송화공 및 스화공)을 통해 통화(송수화)를 할 수 있고, 상기 덮개부의 중앙에 형성된 투시공(또는 투시창)을 통해 걸려오는 전화번호를 확인할 수 있으며, 전화가 걸려 왔을 때에 상기 송화공의 양측에 각각 형성된 조작버튼부(통화조작버튼과 종료조작버튼)을 조작하여 덮개부를 개방하지 않고 통화를 실시할 수 있으며, 전화를 걸어 통화를 할 때에는 덮개부를 개방하여 버튼을 조작하고 덮개부를 닫은 상태에서 통화를 할 수 있으며, 상기와 같이 통화를 실시할 때에 덮개부를 늘어뜨리지 않고 너덜거리는(흔들리는) 현상을 배제하여 통화자의 이미지(미관)를 해치지 않게 된다.
또 본 고안은, 덮개부의 외면에 부착되던 거울을 덮개부의 내면에 선택적으로 설치하여 줌으로서 휴대용 통신기기 보호케이스의 외관을 심플하게 유지시키고, 필요에 따라 덮개부를 개방하여 거울을 사용할 수 있고, 상기 덮개부의 내면에 설치되는 거울은 유리거울을 배제하고 부드러운 합성수지(아크릴, PC 등) 된 거울을 설치하여 휴대전화기의 화면에 스크랩과 같은 손상이 발생하는 것과 옷(주머니)이나 가방을 손상시키고 손을 다치거나 하는 등의 안전사고가 발생하는 것을 방지할 수 있다.
Portable communication device protective case easy communication without opening the cover according to the present invention
In the portable communication device protective case is formed integrally by the portable communication device storage unit and the cover portion, the communication device storage frame is fixed to the inner surface of the portable communication device storage unit,
Drill holes (caller and receiver) to make a call (handset) in the center of the upper part and the lower part of the cover part, and see-through hole (or see-through window) to check the incoming phone number in the center of the cover part Operation button part (call operation) so that both sides of the talker can make a call by operating (pressing) an operation button part (call operation button and end operation button) without opening a cover part when a call is received; Button and end operation button).
The present invention is to make a call (handset) through a communication hole (scissors and shoe) drilled in the center of the upper end and the lower end of the cover opening and closing the front of the communication device storage frame fixed to the inner surface of the portable communication device storage unit Can, and check the incoming phone number through the see-through hole (or see-through window) formed in the center of the cover, the operation button unit (call operation button and end operation button respectively formed on both sides of the talker when a call is received) You can make a call without opening the cover by operating), and when making a phone call, you can open the cover to operate the button and make a call while the cover is closed. It does not hurt the image of the caller by eliminating the tattering without shaking the cover.
In addition, the present invention, by simply installing a mirror attached to the outer surface of the cover portion selectively on the inner surface of the cover portion to keep the appearance of the portable communication device protective case simple, open the cover portion as necessary to use the mirror, The mirror installed on the inner side of the cover removes glass mirrors and installs a mirror made of soft synthetic resin (acrylic, PC, etc.), which causes scratches such as scrap on the screen of the mobile phone, damages clothes or bags, and Safety accidents such as injuries can be prevented.

Description

덮개 개방 없이 통화가 용이한 휴대용 통신기기보호케이스{A CASE FOR MOBILE COMMUNICATION TERMINAL}Portable communication device protection case for easy communication without opening the cover {A CASE FOR MOBILE COMMUNICATION TERMINAL}

본 고안은 슬림 타입으로 형성된 각종 이동통신단말기(이하 "휴대용 통신기기"라 칭함)가 수납되는 수납틀의 전면을 개폐하도록 덮개가 구비된 휴대용 통신기기에 있어서, 덮개를 개방하지 않고도 통화를 실시할 수 있도록 된 덮개 개방 없이 통화가 용이한 휴대용 통신기기보호케이스에 관한 것이다.The present invention is a portable communication device equipped with a cover to open and close the front of the storage frame in which various mobile communication terminals (hereinafter referred to as "portable communication devices") formed in a slim type, can be used to make a call without opening the cover. The present invention relates to a portable communication device protective case that is easy to talk without opening the cover.

이를 좀 더 상세히 설명하면, In more detail,

휴대용통신기기수납부와 덮개부가 지지부에 의해 일체로 형성되고, 휴대용통신기기수납부의 내면에 통신기기수납틀이 고정되며, 휴대용통신기기수납부에 고정된 통신기기수납틀의 전면을 덮개부에 의해 개폐할 수 있도록 된 휴대용 통신기기에 있어서, The portable communication device storage unit and the cover unit are integrally formed by the support unit, the communication device storage frame is fixed to the inner surface of the mobile communication device storage unit, and the front side of the communication device storage frame fixed to the portable communication device storage unit In a portable communication device that can be opened and closed by

상기 덮개부의 상단부와 하단부이 중앙에 통화공(송화공 및 스화공)을 뚫어 통화(송수화)를 할 수 있도록 하고, 상기 덮개부의 중앙에는 투시공(또는 투시창)을 형성하여 화면에 디스플레이되는 전화번호를 덮개부의 개방 없이 확인할 수 있도록 하며, 상기 송화공의 양측에는 조작버튼부(통화조작버튼과 종료조작버튼)을 각각 형성하여 전화가 걸려 왔을 때에 덮개부를 개방하지 않고 조작버튼부(통화조작버튼과 종료조작버튼)을 조작(눌러)하여 통화를 실시할 수 있도록 된 덮개 개방 없이 통화가 용이한 휴대용 통신기기보호케이스를 제공하려는 것이다.
The upper part and the lower part of the cover part allow to make a call (handling) by making a call hole (single ball and shoe ball) in the center, and forming a see-through hole (or see-through window) in the center of the cover part to display a phone number. It is possible to confirm without opening the cover portion, and on each side of the caller is provided with operation button portions (call operation button and end operation button) respectively, when the call is received without opening the cover portion operation button portion (call operation button and It is intended to provide a portable communication device protective case that is easy to talk without opening the cover to make a call by operating the (end button).

통상적으로 휴대폰ㆍPDA(Personal Digital Assistant)ㆍ휴대용PC(Personal Computer)와 같이 슬림 타입으로 형성된 이동통신단말기는 장소와 시간에 거의 구애받지 않고 수신 및 네트워크 접속에 따른 무선통신에 의해 각종 컴퓨터 업무를 수행할 수 있도록 된 첨단 통신기기들이다.In general, a mobile communication terminal formed of a slim type such as a mobile phone, a personal digital assistant (PDA), and a personal computer (PC) performs various computer tasks by wireless communication according to reception and network connection regardless of place and time. These are advanced communication devices.

근자에는 게임이나 동영상 등의 각종 멀티미디어 기능을 실행할 수 있도록 된 단말기에는 LCD(Liquid Crystal Display)의 탑재되고, 부피를 줄일 수 있도록 된 LCD가 탑재된 단말기가 주목을 받고 있다.In recent years, LCDs (Liquid Crystal Display) are mounted in terminals capable of executing various multimedia functions such as games and videos, and terminals equipped with LCDs capable of reducing volume are attracting attention.

한편, 상기와 같은 단말기는 각종 전자부품이 내장되어 있으므로 외부에서 가해지는 충격에 의해 부품이 파손되거나 오작동이 발생하게 되고, LCD 및 버튼 등이 외부로 노출되어 있으므로 휴대시에 각종 이물질 등에 의해 오염되게 된다.On the other hand, the terminal as described above, since various electronic components are built in, parts are damaged or malfunction due to external shocks, and the LCD and buttons are exposed to the outside, so that the terminal is contaminated by various foreign materials. do.

상기와 같은 문제를 해소할 수 있도록 하기 위하여 단말기를 보호하고 안전하게 사용 및 휴대할 수 있도록 된 케이스는 단말기를 수납하여 보관하는 포켓형으로 되어 있으므로 단말기를 효율적으로 관리 및 사용할 수 없고, 단말기가 슬라이드형으로 형성된 경우에는 단말기를 용이하게 관리 및 사용할 수 없게 된다.In order to solve the above problems, the case which protects the terminal and can be used and carried safely is a pocket type to store and store the terminal so that the terminal cannot be efficiently managed and used, and the terminal is slide-type. If formed, the terminal cannot be easily managed and used.

특히, 슬라이드형 단말기는 본체부의 상면에는 슬라이드 방식에 의해 개폐하도록 된 덮개부가 구비되어 있으므로, 상기 슬라이드형 단말기를 포켓형 케이스에 수납하게 되면 슬라이드형 단말기를 포켓에서 완전히 인출하지 않으면 덮개부를 본체부에서 슬라이딩하여 오픈시킬 수 없게 되어 사용에 많은 불편이 있고, 사용 후에는 슬라이드형 단말기를 포켓에 다시 수납시켜 주어야 하는 번거로움이 있다.Particularly, since the slide type terminal includes a cover part configured to be opened and closed by a slide method on the upper surface of the main body part, when the slide type terminal is accommodated in the pocket type case, the cover part is slid from the main body part unless the slide type terminal is completely removed from the pocket. There is a lot of inconvenience in use because it can not be opened, there is a hassle to have to store the slide-type terminal again in the pocket after use.

상기와 같은 폐단을 다소나마 해소하고 본 고안에 따른 휴대용 통신기기보호케이스와 유사한 것으로서는, 국내의 특허등록 제10-448670호의 "이동통신단말기용 케이스"와 특허등록 제10-800742호의 "휴대단말기와 착탈 가능한 외장형 케이스"와 실용신안등록 제20-435616호의 "슬림형 휴대폰 케이스"가 알려져 있다.Somewhat similar to the above discontinuity and similar to the portable communication device protection case according to the present invention, the "mobile communication terminal case" of Korean Patent Registration No. 10-448670 and the "Mobile Terminal" of Patent Registration No. 10-800742 And a detachable external case "and a" slim mobile phone case "of Utility Model Registration No. 20-435616.

특허등록 제10-448670호의 "이동통신단말기용 케이스"는, 단말기가 장착되는 등판의 하단에 플립형 커버를 일체로 형성하고, 상기 플립형 커버에 의해 단말기의 앞면을 커버하도록 된 이동통신단말기용 케이스를 제공하되, 상기 등판의 앞면에는 단말기 본체부의 양 측면을 각각 고정 및 해제하는 고정부재를 구비하며, 등판의 상단에 자석을 매설하고 플립형 커버의 선단에는 고정쇠가 고정된 고정끈(고정편)을 연결 형성하여 고정쇠를 자석에 착탈할 수 있도록 된 것이다.Patent No. 10-448670, "Mobile communication terminal case", the mobile communication terminal case is formed to integrally form a flip cover on the bottom of the back plate on which the terminal is mounted, and to cover the front surface of the terminal by the flip cover. Provided, but the front of the back is provided with a fixing member for fixing and releasing both sides of the terminal body portion, respectively, embedded a magnet on the top of the back and the fixing strap (fixing piece) is fixed to the front end of the flip cover Formed to be able to attach and detach the fasteners to the magnet.

특허등록 제10-800742호의 "휴대단말기와 착탈 가능한 외장형 케이스"는, 휴대단말기를 착탈할 수 있도록 된 외장형 케이스를 제공하되, 외장형케이스의 일면에 수납틀을 형성하여 휴대단말기를 착탈(수납 인출) 할 수 있도록 하고, 외장형케이스에는 커버를 형성하여 수납틀의 전면을 개폐하도록 된 것이다.Patent No. 10-800742, "External case detachable with a mobile terminal," provides an external case that can be detached from the mobile terminal, but forms a storage frame on one side of the external case to remove the mobile terminal (withdrawal storage) It is possible to, and the outer case is to form a cover to open and close the front of the storage frame.

실용신안등록 제20-435616호의 "슬림형"는, 휴대폰이 장착되는 등판과 휴대폰의 전면을 개폐하는 개폐커버(플립형 커버)를 일체로 형성하여 커버를 형성하고, 등판의 전면에는 휴대폰을 착탈할 수 있도록 된 케이스본체를 설치한 휴대폰 케이스를 제공하되, 상기 등판의 전면에 설치되는 케이스본체는 휴대폰 수용홈이 형성된 몸체의 상면과 양 측면에는 이탈방지턱과 이탈방지돌기를 각각 형성하고, 이탈방지턱에 삽입홈을 형성하여 자성체를 삽입 설치하며, 개폐커버(플립형 커버)의 선단부에는 철판을 내삽하며, 상기 케이스본체의 배면에는 커버를 볼트스크루를 이용한 고정부재에 의해 억류시키도록 된 것이다.Utility Model Registration No. 20-435616, "Slim Type", forms a cover by integrally forming a back cover on which a mobile phone is mounted and an opening / closing cover (flip type cover) that opens and closes the front of the mobile phone, and the mobile phone can be detached from the front of the back. Providing a mobile phone case having a case body installed so that the case body is installed on the front of the back plate formed on the top and both sides of the body formed with a mobile phone receiving groove formed on the separation prevention jaw and separation prevention projections, respectively, and inserted into the separation prevention jaw The magnetic body is inserted and installed to form a groove, and an iron plate is inserted into the front end of the opening / closing cover (flip-type cover), and the cover is held on the rear surface of the case body by a fixing member using a bolt screw.

상기와 같이 형성된 종래의 휴대폰 케이스들은 등판(외장형 케이스)의 전면에 설치된 케이스본체를 개폐하는 커버(개폐커버ㆍ플립형 커버)에는, 발신자투시공이 형성되어 있지 않으므로 외부에서 전화가 걸려 왔을 때에 커버(개폐커버ㆍ플립형 커버)를 개방하지 않고는 발신자의 전화번호를 이를 확인할 수 없고, 통화공(송화공 및 수화공)이 형성되어 있지 않으며, 전화가 걸려 왔을 때에 조작버튼(통화조작버튼과 종료조작버튼)을 조작할 수 있는 기능이 구비되어 있지 않으므로, 전화가 걸려 왔을 때에 커버(개폐커버ㆍ플립형 커버)를 개방하지 않고는 통화를 실시할 수 없는 문제가 있다.Conventional mobile phone cases formed as described above have a cover (opening / closing cover / flip type cover) for opening and closing the case body installed on the front of the back plate (exterior type case), so that no caller see-through hole is formed and the cover is made when a call is received from outside. The telephone number of the caller cannot be confirmed without opening / closing the cover, the flip cover, and the call hole (the talker and the caller) is not formed, and when a call is received, the operation button (call button and end operation) Since a function capable of operating a button is not provided, there is a problem that a call cannot be made without opening a cover (opening / closing cover / flip cover) when a call is received.

상기와 같이 전화가 걸려 왔을 때에 커버(개폐커버ㆍ플립형 커버)를 개방한 상태에서 통화를 실시하여야 하므로 커버(개폐커버ㆍ플립형 커버)가 길게 늘어뜨려져 너덜거리는(흔들리는) 현상이 발생하므로 미관상 좋지 않고, 통화자의 이미지(외관)를 떨어뜨리게 되는 폐단도 있다.When the call is received as above, the call must be made with the cover open (opening / closing cover), so the cover (opening / closing cover / flip cover) is stretched for a long time. In other words, there is a closure that drops the caller's image.

또한 종래의 휴대폰 케이스들은 커버(개폐커버ㆍ플립형 커버)의 외면에 거울이 부착된 것도 알려져 있으나, 이는 휴대폰케이스의 외관을 복잡 및 조잡하게 하고, 그로 인해 제품의 품질 및 이미지(인식)가 떨어지며, 주로 유리로 된 거울을 부착하였으므로 쉽게 파손되어 옷(주머니)이나 가방을 손상시키고 손을 다치거나 하는 등의 안전사고도 발생한다.
In addition, the conventional mobile phone cases are also known that the mirror attached to the outer surface of the cover (opening cover / flip-type cover), which makes the appearance and complexity of the mobile phone case, thereby reducing the quality and image (recognition) of the product, Since a glass mirror is attached, it is easily broken, causing accidents such as damaging clothes or bags and injuring hands.

본 고안은 슬림 타입으로 형성된 각종 이동통신단말기(이하 "휴대용 통신기기"라 칭함)가 수납되는 수납틀의 전면을 개폐하도록 덮개가 구비된 휴대용 통신기기에 있어서, 덮개를 개방하지 않고도 통화를 실시할 수 있도록 된 덮개 개방 없이 통화가 용이한 휴대용 통신기기 보호케이스휴대용 통신기기보호케이스를 제공하려는 것이다.The present invention is a portable communication device equipped with a cover to open and close the front of the storage frame in which various mobile communication terminals (hereinafter referred to as "portable communication devices") formed in a slim type, can be used to make a call without opening the cover. It is to provide a portable communication device protection case that can be easily communicated without opening the cover.

본 고안은, 휴대용통신기기수납부와 덮개부가 지지부에 의해 일체로 형성되고, 휴대용통신기기수납부의 내면에 통신기기수납틀이 고정되며, 휴대용통신기기수납부에 고정된 통신기기수납틀의 전면을 덮개부에 의해 개폐할 수 있도록 된 휴대용 통신기기보호케이스에 있어서, The present invention, the portable communication device storage unit and the cover portion is integrally formed by the support portion, the communication device storage frame is fixed to the inner surface of the portable communication device storage unit, the front of the communication device storage frame fixed to the portable communication device storage unit In the portable communication device protective case that can be opened and closed by the cover portion,

상기 덮개부의 상단부와 하단부의 중앙에 통화(송수화)를 할 수 있도록 통화공(송화공 및 수화공)을 뚫어 주고, 상기 덮개부의 중앙에는 걸려오는 전화번호를 확인할 수 있도록 투시공(또는 투시창)을 형성하며, 상기 송화공의 양측에는 전화가 걸려 왔을 때에 덮개부를 개방하지 않고 조작버튼부(통화조작버튼과 종료조작버튼)을 조작(눌러)하여 통화를 실시할 수 있도록 조작버튼부(통화조작버튼과 종료조작버튼)을 각각 형성하여서 된 덮개 개방 없이 통화가 용이한 휴대용 통신기기보호케이스를 제공하려는데 그 목적이 있다.Drill holes (caller and receiver) to make a call (handset) in the center of the upper part and the lower part of the cover part, and see-through hole (or see-through window) to check the incoming phone number in the center of the cover part Operation button part (call operation) so that both sides of the talker can make a call by operating (pressing) an operation button part (call operation button and end operation button) without opening a cover part when a call is received; The purpose of the present invention is to provide a portable communication device protective case that is easy to talk without opening a cover formed by forming a button and an end operation button).

본 고안의 다른 목적은, 휴대용통신기기수납부의 내면에 고정된 통신기기수납틀의 전면을 개폐하는 덮개부의 상단부와 하단부의 중앙에 뚫어진 통화공(송화공 및 스화공)을 통해 통화(송수화)를 할 수 있고, 상기 덮개부의 중앙에 형성된 투시공(또는 투시창)을 통해 걸려오는 전화번호를 확인할 수 있으며, 상기 송화공의 양측에 각각 형성된 조작버튼부(통화조작버튼과 종료조작버튼)을 조작하여 전화가 걸려 왔을 때에 덮개부를 개방하지 않고 조작버튼부(통화조작버튼과 종료조작버튼)을 조작(눌러)하여 통화를 실시할 수 있도록 된 덮개 개방 없이 통화가 용이한 휴대용 통신기기보호케이스를 제공하려는데 있다.Another object of the present invention is a call (handset) through a call hole (a talker and a shoemaker) drilled in the center of an upper end and a lower part of a cover part which opens and closes the front of a communication device storage frame fixed to an inner surface of a portable communication device storage part. ), And can check the phone number received through the see-through hole (or see-through window) formed in the center of the cover portion, the operation button unit (call operation button and end operation button) formed on both sides of the talker A portable communication device protective case that is easy to talk without opening the cover that allows you to make a call by operating (pressing) the operation button part (call operation button and end operation button) without opening the cover when a call is received. I'm trying to provide.

본 고안의 또 다른 목적은, 외부에서 전화가 걸려 왔을 때에 덮개부를 개방하지 않고 간단한 조작에 의해 통화를 용이하게 실시할 수 있고, 통화를 실시할 때에 덮개부를 늘어뜨리지 않고 너덜거리는(흔들리는) 현상을 배제하여 통화자의 미관(외관)을 해치지 않으면서 통화를 실시할 수 있도록 된 덮개 개방 없이 통화가 용이한 휴대용 통신기기보호케이스를 제공하려는데 있다.Another object of the present invention is to make it possible to make a call easily by simple operation without opening the cover part when a call is made from the outside, and to make a phone call without shaking the cover part when making a call. It is to provide a portable communication device protection case that is easy to talk without opening the cover that allows the call without ruining the appearance (exterior) of the caller.

본 고안의 또 다른 목적은, 덮개부의 외면에 부착되던 거울을 덮개부의 내면에 선택적으로 설치하여 줌으로서 휴대용 통신기기 보호케이스의 외관을 심플하게 유지시키고, 필요에 따라 덮개부를 개방하여 거울을 사용할 수 있도록 된 덮개 개방 없이 통화가 용이한 휴대용 통신기기보호케이스를 제공하려는데 있다.Still another object of the present invention is to selectively install a mirror attached to the outer surface of the cover part on the inner surface of the cover part to keep the appearance of the portable communication device protection case simple, and to use the mirror by opening the cover part as necessary. It is to provide a portable communication device protection case that can be easily called without opening the cover.

본 고안의 또 다른 목적은, 상기 덮개부의 내면에 설치되는 거울은 유리거울을 배제하고 부드러운 합성수지(아크릴, PC 등) 된 거울을 설치하여 휴대전화기의 화면에 스크랩과 같은 손상이 발생하는 것과 옷(주머니)이나 가방을 손상시키고 손을 다치거나 하는 등의 안전사고가 발생하는 것을 방지할 수 있도록 된 덮개 개방 없이 통화가 용이한 휴대용 통신기기보호케이스를 제공하려는데 있다.
Still another object of the present invention is that the mirror installed on the inner surface of the cover part removes glass mirrors and installs a mirror made of soft synthetic resin (acrylic, PC, etc.) to cause damage such as scrap on the screen of the mobile phone and clothes ( The present invention aims to provide a portable communication device protective case that is easy to talk without opening a cover to prevent a safety accident such as damaging a pocket) or a bag, or injuring a hand.

본 고안의 상기 및 기타 목적은, The above and other objects,

휴대용통신기기수납부와 덮개부가 지지부에 의해 일체로 형성되고, 휴대용통신기기수납부의 내면에 통신기기수납틀이 고정되며, 휴대용통신기기수납부에 고정된 통신기기수납틀의 전면을 덮개부에 의해 개폐할 수 있도록 된 휴대용 통신기기 보호케이스에 있어서, The portable communication device storage unit and the cover unit are integrally formed by the support unit, the communication device storage frame is fixed to the inner surface of the mobile communication device storage unit, and the front side of the communication device storage frame fixed to the portable communication device storage unit In the portable communication device protective case that can be opened and closed by

상기 덮개부의 상단부와 하단부의 중앙에 통화(송수화)를 할 수 있도록 통화공(송화공 및 수화공)을 뚫어 준 것과;A hole for making a call (handset) in the center of the upper and lower ends of the cover part to make a call;

상기 송화공의 양측에는 통화조작버튼과 종료조작버튼을 조작(눌러)할 수 있도록 조작버튼부(통화조작부과 종료조작부)을 각각 형성한 것;을 특징으로 하는 휴대용 통신기기보호케이스(1)에 의해 달성된다.
On both sides of the talker, an operation button unit (call operation unit and end operation unit) is formed respectively to operate (press) the call operation button and the end operation button; characterized in that the portable communication device protective case (1) Is achieved.

본 고안에 따른 덮개 개방 없이 통화가 용이한 휴대용 통신기기보호케이스는, Portable communication device protective case is easy to talk without opening the cover according to the present invention,

휴대용통신기기수납부와 덮개부가 지지부에 의해 일체로 형성되고, 휴대용통신기기수납부의 내면에 통신기기수납틀이 고정되며, 휴대용통신기기수납부에 고정된 통신기기수납틀의 전면을 덮개부에 의해 개폐할 수 있도록 된 휴대용 통신기기 보호케이스에 있어서, The portable communication device storage unit and the cover unit are integrally formed by the support unit, the communication device storage frame is fixed to the inner surface of the mobile communication device storage unit, and the front side of the communication device storage frame fixed to the portable communication device storage unit In the portable communication device protective case that can be opened and closed by

상기 덮개부의 상단부와 하단부의 중앙에 통화(송수화)를 할 수 있도록 통화공(송화공 및 수화공)을 뚫어 주고, 상기 덮개부의 중앙에는 걸려오는 전화번호를 확인할 수 있도록 투시공(또는 투시창)을 형성하며, 상기 송화공의 양측에는 전화가 걸려 왔을 때에 덮개부를 개방하지 않고 조작버튼부(통화조작버튼과 종료조작버튼)을 조작(눌러)하여 통화를 실시할 수 있도록 조작버튼부(통화조작버튼과 종료조작버튼)을 각각 형성한 것이다.Drill holes (caller and receiver) to make a call (handset) in the center of the upper part and the lower part of the cover part, and see-through hole (or see-through window) to check the incoming phone number in the center of the cover part Operation button part (call operation) so that both sides of the talker can make a call by operating (pressing) an operation button part (call operation button and end operation button) without opening a cover part when a call is received; Button and end operation button).

본 고안은, 휴대용통신기기수납부의 내면에 고정된 통신기기수납틀의 전면을 개폐하는 덮개부의 상단부와 하단부의 중앙에 뚫어진 통화공(송화공 및 스화공)을 통해 통화(송수화)를 할 수 있고, 상기 덮개부의 중앙에 형성된 투시공(또는 투시창)을 통해 걸려오는 전화번호를 확인할 수 있으며, 상기 송화공의 양측에 각각 형성된 조작버튼부(통화조작버튼과 종료조작버튼)을 조작하여 전화가 걸려 왔을 때에 덮개부를 개방하지 않고 조작버튼부(통화조작버튼과 종료조작버튼)을 조작(눌러)하여 통화를 실시할 수 있다.The present invention is to make a call (handset) through a communication hole (scissors and shoe) drilled in the center of the upper end and the lower end of the cover opening and closing the front of the communication device storage frame fixed to the inner surface of the portable communication device storage unit Can, and check the phone number coming through the see-through hole (or see-through window) formed in the center of the cover portion, the phone by operating the operation button portion (call operation button and end operation button) respectively formed on both sides of the talker When a call is received, a call can be made by operating (pressing) an operation button portion (call operation button and end operation button) without opening the cover portion.

또 본 고안은, 외부에서 전화가 걸려 왔을 때에 덮개부를 개방하지 않고 간단한 조작에 의해 통화를 용이하게 할 수 있고, 전화를 걸어 통화를 할 때에는 덮개부를 개방하여 버튼을 조작하고 덮개부를 닫은 상태에서 통화를 할 수 있으며, 상기와 같이 통화를 실시할 때에 덮개부를 늘어뜨리지 않고 너덜거리는(흔들리는) 현상을 배제하여 통화자의 미관(외관)을 해치지 않으면서 통화를 실시할 수 있다.In addition, the present invention can facilitate a call by a simple operation without opening the cover when a call is received from the outside, and when making a phone call, the cover is opened to operate a button and the cover is closed. When making a call as described above, the call can be carried out without harming the appearance (exterior) of the caller by excluding the snarling (shaking) phenomenon without sagging the cover.

또 본 고안은, 덮개부의 외면에 부착되던 거울을 덮개부의 내면에 선택적으로 설치하여 줌으로서 휴대용 통신기기 보호케이스의 외관을 심플하게 유지시키고, 필요에 따라 덮개부를 개방하여 거울을 사용할 수 있고, 상기 덮개부의 내면에 설치되는 거울은 유리거울을 배제하고 부드러운 합성수지(아크릴, PC 등) 된 거울을 설치하여 휴대전화기의 화면에 스크랩과 같은 손상이 발생하는 것과 옷(주머니)이나 가방을 손상시키고 손을 다치거나 하는 등의 안전사고가 발생하는 것을 방지할 수 있다.
In addition, the present invention, by simply installing a mirror attached to the outer surface of the cover portion selectively on the inner surface of the cover portion to keep the appearance of the portable communication device protective case simple, open the cover portion as necessary to use the mirror, The mirror installed on the inner side of the cover removes glass mirrors and installs a mirror made of soft synthetic resin (acrylic, PC, etc.), which causes scratches such as scrap on the screen of the mobile phone, damages clothes or bags, and Safety accidents such as injuries can be prevented.

도 1a 및 도 1b는 본 고안에 따른 덮개 개방 없이 통화가 용이한 휴대용 통신기기보호케이스를 보인 사시도.
도 2a 및 도 2b는 본 고안에 따른 덮개 개방 없이 통화가 용이한 휴대용 통신기기보호케이스의 다른 실시 예를 보인 사시도.
도 3a 및 도 3b는 본 고안에 따른 덮개 개방 없이 통화가 용이한 휴대용 통신기기 보호케이스의 또 다른 실시 예를 보인 사시도.
도 4a 및 도 4b는 본 고안에 따른 덮개 개방 없이 통화가 용이한 휴대용 통신기기보호케이스에서 버튼조작부를 발췌하여 보인 분해 및 결합 단면도.
도 5a 및 도 5b는 본 고안에 따른 덮개 개방 없이 통화가 용이한 휴대용 통신기기보호케이스에서 발신자표시공 및 발신자표시창을 발췌하여 보인 단면도.
도 6a 내지 도 6d는 본 고안에 따른 덮개 개방 없이 통화가 용이한 휴대용 통신기기보호케이스에서 거울의 각기 다른 설치상태를 보인 단면도.
1a and 1b is a perspective view showing a portable communication device protective case easy to talk without opening the cover according to the present invention.
Figure 2a and Figure 2b is a perspective view showing another embodiment of a portable communication device protective case easy to talk without opening the cover according to the present invention.
Figure 3a and Figure 3b is a perspective view showing another embodiment of a portable communication device protective case easy to talk without opening the cover according to the present invention.
Figure 4a and Figure 4b is an exploded and combined cross-sectional view showing an extract of the button control unit in a portable communication device protective case easy to talk without opening the cover according to the present invention.
5a and 5b is a cross-sectional view taken from the caller display hole and the caller display window in a portable communication device protective case easy to talk without opening the cover according to the present invention.
6a to 6d are cross-sectional views showing different installation states of the mirror in a portable communication device protective case easy to talk without opening the cover according to the present invention.

본 고안의 상기 및 기타 목적과 특징은 첨부된 도면에 의거한 다음의 상세한 설며에 의해 더욱 명확하게 이해할 수 있을 것이다.The above and other objects and features of the present invention will be more clearly understood by the following detailed description based on the accompanying drawings.

첨부된 도면 도 1a 내지 도 6d는 본 고안에 따른 휴대용통신기기 보호케이스(1)의 구체적인 실현 예를 보인 것이다.1A to 6D show a concrete implementation of the portable communication device protection case 1 according to the present invention.

도 1a 및 도 1bㆍ도 2a 및 도 2bㆍ도 3a 및 도 3b는 본 고안에 따른 휴대용 통신기기보호케이스(1)의 각기 다른 실시 예를 보인 사시도이고, 도 4a 및 도 4b는 본 고안에 따른 휴대용 통신기기보호케이스(1)에서 버튼조작부(40)를 발췌하여 보인 분해 및 결합 단면도이며, 도 5a 및 도 5b는 본 고안에 따른 휴대용 통신기기보호케이스(1)에서 발신자표시공(36) 및 발신자표시창(37)을 발췌하여 보인 단면도이며, 도 6a 내지 도 6d는 본 고안에 따른 휴대용 통신기기보호케이스(1)에서 거울(50)의 각기 다른 설치상태를 보인 단면도이다.
1A and 1B, 2A and 2B, 3A and 3B are perspective views showing different embodiments of the portable communication device protection case 1 according to the present invention, and FIGS. 4A and 4B are according to the present invention. Figure 5a and 5b is an exploded and combined cross-sectional view taken by the button control unit 40 in the portable communication device protection case 1, Figures 5a and 5b is a caller display hole 36 and in the portable communication device protection case 1 according to the present invention 6A through 6D are cross-sectional views illustrating different installation states of the mirror 50 in the portable communication device protection case 1 according to the present invention.

도 1a 및 도 1b와 도 3a에 예시된 본 고안에 따른 휴대용 통신기기보호케이스(1)는 다음과 같이 형성하였다.The portable communication device protection case 1 according to the present invention illustrated in FIGS. 1A and 1B and 3A is formed as follows.

직사각형상으로 된 커버(10)에서 중앙에 형성되는 지지부(4)를 기준으로 일측에는 통신기기수납틀(20)을 접착하여 휴대용통신기기수납부(2)를 형성하였고, 다른 타측은 덮개틀(30)이 구비된 덮개부(3)를 형성하였으며, 덮개부(3)의 외측 단부에는 착탈편(15)을 형성하였다.Based on the support part 4 formed at the center of the cover 10 made of a rectangular shape, one side of the communication device housing 20 was bonded to form a portable communication device storage unit 2, and the other side of the cover frame ( 30 is provided with a cover portion 3, and the detachable piece 15 is formed at the outer end of the cover portion (3).

상기 커버(10)를 형성하는 내측커버(11)와 외측커버(12)는 가죽, 합성수지, 직물류 중 어느 하나로 형성하였다.The inner cover 11 and the outer cover 12 forming the cover 10 is formed of any one of leather, synthetic resin, and fabrics.

상기 커버(10)는, 내측커버(11)와 외측커버(12)를 직사각형상으로 재단하여 형성하되, 차후에 구체적으로 설명되는 통신기기수납틀(20)의 길이와 덮개틀(30)의 길이 및 일정한 높이를 유지할 수 있는 정도로 지지부(4)를 형성할 수 있을 정도의 길이를 더한 전체 길이와, 통신기기수납틀(20)과 덮개틀(30)을 밀접하게 접착할 수 있을 정도의 폭을 갖는 직사각형상으로 형성하였다.The cover 10 is formed by cutting the inner cover 11 and the outer cover 12 in a rectangular shape, the length of the communication device storage frame 20 and the length of the cover frame 30 will be described later in detail and The overall length plus the length enough to form the support 4 to maintain a constant height, and the width enough to closely bond the communication device storage frame 20 and the cover frame 30 It was formed in a rectangular shape.

상기와 같이 재단되는 내측커버(11)와 외측커버(12)는 접착제ㆍ양면접착테이프와 같은 접착수단(또는 부착수단: 접착수단으로 통칭함)에 의해 접착하여 일체로 형성하되, 휴대용통신기기수납부(2)는 상기와 같이 일체로 접착된 내측커버(11)와 외측커버(12)를 접착수단(또는 부착수단: 접착수단으로 통칭함)에 의해 통신기기수납틀(20)의 밑면에 접착하여 일체로 형성하였다.The inner cover 11 and the outer cover 12, which are cut as described above, are integrally formed by bonding by an adhesive means (or an attachment means: commonly referred to as an adhesive means) such as an adhesive or a double-sided adhesive tape. The soldering part 2 adheres the inner cover 11 and the outer cover 12 which are integrally bonded as described above to the underside of the communication device storage frame 20 by an adhesive means (or attachment means: collectively referred to as an adhesive means). It was formed integrally.

상기와 같이 접착수단에 의해 내측커버(11)와 외측커버(12)가 일체로 접착된 커버(10)에서 커버(10)의 일측에 접착되는 휴대용통신기기수납부(2)의 통신기기수납틀(20)은, 장방형(직사각형)으로 된 받침판(21)의 가장자리에 지지테(24)를 일체로 형성하여 내부에는 상측으로 개방되는 통신기기수납실(22)을 형성하되, 상기 전면과 배면을 형성하는 지지테(24)에서 중앙에는 선단이 내측으로 절곡된 기기억류편(25)을 대향되게 형성하였고, 상기 양 측면을 형성하는 지지테(24)에는 작동단자노출요부(24-1)를 형성하여 통신기기의 양 측면에 형성된 작동단자가 외부로 노출되도록 하였으며, 전면의 기기억류편(25)에는 금속편(28)을 매설하였다.The communication device storage frame of the portable communication device storage unit 2 is bonded to one side of the cover 10 in the cover 10 in which the inner cover 11 and the outer cover 12 are integrally bonded by the bonding means as described above. 20, the support frame 24 is integrally formed at the edge of the rectangular (rectangular) support plate 21 to form a communication device storage chamber 22 that is open upwards, the front and rear In the support frame 24 to be formed to form a device retaining piece 25, the tip of which is bent inwardly at the center thereof, and the support frame 24 forming the both sides of the operation terminal exposure recess 24-1 Formed to expose the operating terminal formed on both sides of the communication device to the outside, the metal piece 28 is embedded in the front device detaining piece (25).

상기 통신기기수납틀(20)은, 수납되는 휴대용통신기기의 종류에 따라 크기 및 모양을 다양하게 형성할 수 있다.The communication device storage frame 20 may be formed in various sizes and shapes according to the type of portable communication device accommodated therein.

상기와 같이 접착수단에 의해 내측커버(11)와 외측커버(12)가 일체로 접착된 커버(10)의 지지부(4)에서 지지부(4)의 타측에 형성된 덮개부(3)에는 덮개틀(30)접착수단에 의해 일체로 접착하였다.In the cover part 3 formed on the other side of the support part 4 from the support part 4 of the cover 10 to which the inner cover 11 and the outer cover 12 are integrally bonded by the adhesive means as described above, the cover frame ( 30) It was bonded together by the bonding means.

또 덮개부(3)의 외측에 형성되는 착탈부(5)는, 상기 덮개틀(30)의 외측으로 돌출되어 접착되는 상측착탈편(16)과 하측착탈편(17)과의 사이에는 영구자석(18)을 매설하여 형성하였다.In addition, the detachable part 5 formed on the outer side of the cover part 3 has a permanent magnet between the upper detachable piece 16 and the lower detachable piece 17 which protrude outwardly and are bonded to the cover frame 30. (18) was embedded.

상기와 같이 형성된 덮개부(3)에서 상단과 하단의 중앙부에는 다수의 통화공(31) 즉, 송화공(32)과 수화공(33)을 뚫어 덮개부(3)를 개방하지 않은 상태에서 휴대용통신기기수납부(2)의 통신기기수납틀(20)에 수납된 휴대폰과 같은 통신기기(구체적으로 도시하지 아니함)에서 발생하는 음성(수신음)을 듣고 사용자의 말이 통신기기(구체적으로 도시하지 아니함)에 전달되도록 하였다.In the cover portion 3 formed as described above, the central portion of the upper and lower ends of the plurality of call holes 31, that is, the drill hole 32 and the receiver hole 33, so as not to open the cover portion (3) The user's words are heard when the user hears a voice (receiving sound) generated by a communication device (not specifically shown) such as a mobile phone housed in the communication device storage frame 20 of the communication device storage unit 2. To be delivered).

또 상기 덮개부(3)에서 통화공(31) 즉, 송화공(32)의 양측에는 버튼조작부(40)로서 통화버튼조작부(41)와 종료버튼조작부(42)를 각각 형성하여 통신기기수납틀(20)에 수납된 통신기기(구체적으로 도시하지 아니함)의 통화버튼과 종료버튼을 눌러 조작할 수 있도록 하였다.In addition, the cover part 3 is formed on both sides of the call hole 31, that is, the talker 32, as a button operation part 40, a call button operation part 41 and an end button operation part 42, respectively. The call button and the end button of the communication device (not specifically shown) housed in 20 can be operated by pressing.

상기, 도 1a 및 도 1b와 도 3a에 예시된 바와 같이 형성된 본 고안에 따른 휴대용 통신기기보호케이스(1)에서 통화공(31)과 버튼조작부(40)가 형성된 덮개부(3)에는, 통신기기(구체적으로 도시하지 아니함)의 표시창에 디스플레이되는 발신자의 번호를 덮개부(3)를 개방하지 않고 식별할(볼) 수 있도록 도 1a 및 도 1b에 예시된 바와 같이 발신자표시공(36) 또는 발신자표시창(37)을 형성하거나, 도 3a에 예시된 바와 같이 덮개부(3)의 내면에 거울(50)을 부착하였다.
In the portable communication device protective case 1 according to the present invention formed as illustrated in FIG. 1A and FIG. 1B and FIG. 3A, the cover part 3 in which the communication hole 31 and the button manipulation unit 40 are formed is provided. The caller indication hole 36 or as illustrated in FIGS. 1A and 1B to identify (see) the caller's number displayed on the display of the device (not specifically shown) without opening the lid 3. The caller display window 37 was formed or a mirror 50 was attached to the inner surface of the cover part 3 as illustrated in FIG. 3A.

도 2a 및 도 2b와 도 3b에 예시된 본 고안에 따른 휴대용 통신기기보호케이스(1)는 다음과 같이 형성하였다.The portable communication device protection case 1 according to the present invention illustrated in FIGS. 2a and 2b and 3b was formed as follows.

직사각형상으로 된 커버(10)에서 중앙에 형성되는 지지부(4)를 기준으로 일측에는 통신기기수납틀(20)을 접착하여 휴대용통신기기수납부(2)를 형성하였고, 다른 타측은 덮개틀(30)이 구비된 덮개부(3)를 형성하였으며, 덮개부(3)의 외측 단부에는 착탈편(15)을 형성하였다.Based on the support part 4 formed at the center of the cover 10 made of a rectangular shape, one side of the communication device housing 20 was bonded to form a portable communication device storage unit 2, and the other side of the cover frame ( 30 is provided with a cover portion 3, and the detachable piece 15 is formed at the outer end of the cover portion (3).

상기 커버(10)를 형성하는 내측커버(11)와 외측커버(12)는 가죽, 합성수지, 직물류 중 어느 하나로 형성하였다.The inner cover 11 and the outer cover 12 forming the cover 10 is formed of any one of leather, synthetic resin, and fabrics.

상기 커버(10)는, 내측커버(11)와 외측커버(12)를 직사각형상으로 재단하여 형성하되, 차후에 구체적으로 설명되는 통신기기수납틀(20)의 길이와 덮개틀(30)의 길이 및 일정한 높이를 유지할 수 있는 정도로 지지부(4)를 형성할 수 있을 정도의 길이를 더한 전체 길이와, 통신기기수납틀(20)과 덮개틀(30)을 밀접하게 접착할 수 있을 정도의 폭을 갖는 직사각형상으로 형성하였다.The cover 10 is formed by cutting the inner cover 11 and the outer cover 12 in a rectangular shape, the length of the communication device storage frame 20 and the length of the cover frame 30 will be described later in detail and The overall length plus the length enough to form the support 4 to maintain a constant height, and the width enough to closely bond the communication device storage frame 20 and the cover frame 30 It was formed in a rectangular shape.

상기와 같이 재단되는 내측커버(11)와 외측커버(12)는 내부에 내부심재를 유입시킨 상태에서 가장자리를 접착제ㆍ양면접착테이프와 같은 접착수단(또는 부착수단: 접착수단으로 통칭함)에 의해 접착하고 가장자리를 봉재하여 일체로 형성하였고, 휴대용통신기기수납부(2)는 접착수단(또는 부착수단: 접착수단으로 통칭함)에 의해 통신기기수납틀(20)의 밑면에 접착하여 일체로 형성하였다.The inner cover 11 and the outer cover 12, which are cut as described above, are formed by an adhesive means (or an attachment means: collectively referred to as an adhesive means), such as an adhesive or a double-sided adhesive tape, with the inner core material introduced therein. Bonding and sealing the edges are formed integrally, the portable communication device storage unit 2 is formed integrally by bonding to the bottom surface of the communication device storage frame 20 by an adhesive means (or attachment means: commonly referred to as an adhesive means). It was.

상기와 같이 접착수단에 의해 내측커버(11)와 외측커버(12)가 일체로 접착된 커버(10)에서 커버(10)의 일측에 접착되는 휴대용통신기기수납부(2)의 통신기기수납틀(20)은, 도 1a 및 도 1b와 도 3a에서 전술한 본 고안에 따른 휴대용 통신기기보호케이스(1)의 통신기기수납틀(20)과 동일하게 형성하였으므로 보다 구체적인 설명은 생략한다.The communication device storage frame of the portable communication device storage unit 2 is bonded to one side of the cover 10 in the cover 10 in which the inner cover 11 and the outer cover 12 are integrally bonded by the bonding means as described above. 20 is formed in the same manner as the communication device storage frame 20 of the portable communication device protection case 1 according to the present invention described above in FIGS. 1A, 1B, and 3A, and thus a detailed description thereof will be omitted.

상기 통신기기수납틀(20)은 수납되는 휴대용통신기기의 종류에 따라 크기 및 모양을 다양하게 형성할 수 있다.The communication device storage frame 20 may have various sizes and shapes according to the type of portable communication device accommodated therein.

덮개부(3)의 외측에 형성되는 착탈부(5)는, 상기 덮개틀(30)의 외측으로 돌출되어 접착되는 상측착탈편(16)과 하측착탈편(17)과의 사이에는 영구자석(18)을 매설하여 형성하였다.The detachable part 5 formed on the outer side of the cover part 3 has a permanent magnet between the upper detachable piece 16 and the lower detachable piece 17 which protrude outwardly and are bonded to the cover frame 30. 18) was embedded by embedding.

상기와 같이 형성된 덮개부(3)에서 상단과 하단의 중앙부에는 다수의 통화공(31) 즉, 송화공(32)과 수화공(33)을 뚫어 덮개부(3)를 개방하지 않은 상태에서 휴대용통신기기수납부(2)의 통신기기수납틀(20)에 수납된 휴대폰과 같은 통신기기(구체적으로 도시하지 아니함)에서 발생하는 음성(수신음)을 듣고 사용자의 말이 통신기기(구체적으로 도시하지 아니함)에 전달되도록 하였고, 상기 통화공(31) 즉, 송화공(32)의 양측에는 버튼조작부(40)로서 통화버튼조작부(41)와 종료버튼조작부(42)를 각각 형성하여 통신기기수납틀(20)에 수납된 통신기기(구체적으로 도시하지 아니함)의 통화버튼과 종료버튼을 눌러 조작할 수 있도록 하였다.In the cover portion 3 formed as described above, the central portion of the upper and lower ends of the plurality of call holes 31, that is, the drill hole 32 and the receiver hole 33, so as not to open the cover portion (3) The user's words are heard when the user hears a voice (receiving sound) generated by a communication device (not specifically shown) such as a mobile phone housed in the communication device storage frame 20 of the communication device storage unit 2. And the call button control unit 41 and the end button control unit 42 as the button control unit 40 on both sides of the call hole 31, that is, the caller 32, respectively. 20) it is possible to press the call button and the end button of the communication device (not specifically shown) accommodated in the operation.

상기, 도 2a 및 도 2b와 도 3b에 예시된 바와 같이 형성된 본 고안에 따른 휴대용 통신기기보호케이스(1)에서 통화공(31)과 버튼조작부(40)가 형성된 덮개부(3)에는, 통신기기(구체적으로 도시하지 아니함)의 표시창에 디스플레이되는 발신자의 번호를 덮개부(3)를 개방하지 않고 식별할(볼) 수 있도록 도 2a 및 도 2b에 예시된 바와 같이 발신자표시공(36) 또는 발신자표시창(37)을 형성하거나, 도 3b에 예시된 바와 같이 덮개부(3)의 내면에 거울(50)을 부착하였다.
In the portable communication device protection case 1 according to the present invention formed as illustrated in FIGS. 2A and 2B and 3B, the cover part 3 in which the communication hole 31 and the button manipulation unit 40 are formed is provided. The caller indication hole 36 or as illustrated in FIGS. 2A and 2B to identify (view) the caller's number displayed on the display of the device (not specifically shown) without opening the lid 3. The caller display window 37 was formed or a mirror 50 was attached to the inner surface of the cover part 3 as illustrated in FIG. 3B.

상기(도 1a 및 도 1b와 도 3aㆍ도 2a 및 도 2b와 도 3b)와 같이 형성된 본 고안에 따른 휴대용 통신기기보호케이스(1)에서 버튼조작부(40: 통화버튼조작부(41)ㆍ종료버튼조작부(42))는 도 4a 및 도 4b에 예시된 바와 같이 형성하였다.In the portable communication device protective case 1 according to the present invention formed as described above (Fig. 1A and Fig. 1B and Fig. 3A, Fig. 2A and Fig. 2B and Fig. 3B), the button operation unit 40: call button operation unit 41 and end button The operation part 42 was formed as illustrated in FIGS. 4A and 4B.

내부심재(34)에 터치패드작동공간(34-1)을 장방형(정사각형ㆍ직사각형) 또는 원형으로 뚫어 주고, 상기 터치패드작동공간(34-1)의 내부에는 터치패드작동공간(34-1)의 내면 보다 크기가 작은 터치패드(35)를 유입시키며, 터치패드(35)가 터치패드작동공간(34-1)의 내부에 유입된 내부심재(34)의 상면과 밑면에 내측커버(11)와 외측커버(12)를 접착제(34-2)에 의해 일체로 접착하였다.The touch pad operating space 34-1 is formed in a rectangular shape (square / rectangular) or circular to the inner core 34, and the touch pad operating space 34-1 is formed inside the touch pad operating space 34-1. The touch pad 35 having a smaller size than the inner surface thereof is introduced, and the inner cover 11 is disposed on the top and bottom surfaces of the inner core material 34 introduced into the touch pad operating space 34-1. And the outer cover 12 were integrally bonded with an adhesive 34-2.

상기와 같이 터치패드작동공간(34-1)의 내부에 터치패드(35)를 유입시킨 상태에서 내부심재(34)의 상면과 밑면에 내측커버(11)와 외측커버(12)를 접착제(34-2)에 의해 일체로 접착하게 되면, 외측커버(12)에서 터치패드(35)의 상면을 눌러 주게 되면 터치패드(35)는 눌러 주는 힘에 의해 하향하게 되고, 하향하는 터치패드(35)가 내측커버(11)를 다시 눌러 주게 되며, 하향하는 터치패드(35)에 의해 눌러지는 내측커버(11)가 통신기기(구체적으로 도시하지 아니함)의 통화버튼 또는 종료버튼을 눌러 주게 된다.As described above, the inner cover 11 and the outer cover 12 are glued to the upper and lower surfaces of the inner core 34 while the touch pad 35 is introduced into the touch pad operating space 34-1. When the adhesive is integrally adhered by -2), when the upper surface of the touch pad 35 is pressed by the outer cover 12, the touch pad 35 is downward by the pressing force, and the touch pad 35 downwards. Presses the inner cover 11 again, and the inner cover 11 pressed by the downward touch pad 35 presses a call button or an end button of a communication device (not specifically shown).

상기 터치패드(35)로서는 경질의 합성수지ㆍ경질의 후지ㆍ알루미늄과 같은 비철금속물질 등을 들 수 있다.
Examples of the touch pad 35 include hard synthetic resins, hard Fuji, and nonferrous metal materials such as aluminum.

상기(도 1a 및 도 1b와 도 3aㆍ도 2a 및 도 2b와 도 3b)와 같이 형성된 본 고안에 따른 휴대용 통신기기보호케이스(1)에서 발신자표시공(36)은 도 5a에 예시된 바와 같이, 내부심재(34)와 내측커버(11) 및 외측커버(12)에 발신자의 번호를 확인할 수 있을 정도의 크기로 된 발신자표시공(36)을 각각 뚫어 주었고, 상기 내부심재(34)와 내측커버(11) 및 외측커버(12)는 발신자표시공(36)을 일치시킨 상태에서 접착제(34-2)로 접착하여 형성하였다.In the portable communication device protective case 1 according to the present invention formed as described above (FIGS. 1A and 1B and 3A and 2A and 2B and 3B), the caller display hole 36 is illustrated in FIG. 5A. And, the inner core 34 and the inner cover 11 and the outer cover 12 and the size of the sender indicator hole 36 to the extent that can confirm the caller's number, respectively, the inner core 34 and the inner The cover 11 and the outer cover 12 were formed by adhering with an adhesive 34-2 in a state in which the caller indicator hole 36 was matched.

또 본 고안에 따른 휴대용 통신기기보호케이스(1)에서 발신자표시창(37)은 도 5b에 예시된 바와 같이, 내부심재(34)와 내측커버(11) 및 외측커버(12)에 발신자의 번호를 확인할 수 있을 정도의 크기로 된 발신자표시공(36)을 각각 뚫어 주었고, 상기 발신자표시공(36)의 상면과 밑면 또는 상하 양면에는 투시창(37)을 접착하였으며, 상기 발신자표시공(36)의 상면과 밑면 또는 상하 양면에 투시창(37)이 접착된 내부심재(34)의 상면과 밑면에 내측커버(11) 및 외측커버(12)를 접착제(34-2)로 접착하여 형성하였다.
In addition, the caller display window 37 in the portable communication device protective case 1 according to the present invention is the number of the caller to the inner core 34, the inner cover 11 and the outer cover 12, as illustrated in FIG. Perforated caller indicator hole 36 of the size enough to be confirmed, respectively, and attached to the viewing window 37 on the top and bottom or top and bottom both sides of the caller indicator hole 36, of the caller indicator hole 36 The inner cover 11 and the outer cover 12 were attached to the upper and lower surfaces of the inner core material 34 to which the viewing window 37 was adhered to the upper and lower surfaces or both upper and lower surfaces, by using an adhesive 34-2.

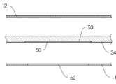
도 6a 내지 도 6d는 덮개부(3)의 내면에 거울(50)을 부착한 본 고안에 따른 휴대용 통신기기보호케이스(1)를 보인 예시도이다.6A to 6D are exemplary views illustrating a portable communication device protective case 1 according to the present invention, in which a mirror 50 is attached to an inner surface of the cover part 3.

도 6a에 예시된 거울(50)의 설치 구성은, 내부심재(34)의 내면에 거울안치요홈(53)을 형성하여 거울(50)을 접착하고, 거울안치요홈(53)에 거울(50)이 접착된 내부심재(34)의 상면과 밑면에 내측커버(11) 및 외측커버(12)를 접착제(34-2)에 의해 일체로 접착하되, 내측커버(11)에는 절삭공(52)을 형성하여 거울(50)이 외부로 노출되도록 하였다.In the installation configuration of the mirror 50 illustrated in FIG. 6A, the mirror 50 is formed on the inner surface of the inner core 34 by adhering the mirror 50 to the mirror 50, and the mirror 50 is attached to the mirror 50. The inner cover 11 and the outer cover 12 are integrally bonded to the upper and lower surfaces of the bonded inner core 34 by an adhesive 34-2, and the cutting holes 52 are attached to the inner cover 11. It was formed so that the mirror 50 is exposed to the outside.

도 6b에 예시된 거울(50)의 설치 구성은, 내부심재(34)의 내면에 거울틀안치요홈(54)을 형성하였고, 상기 거울틀안치요홈(54)의 내부에는 거울안치홈이 형성된 거울틀(51)을 접착 고정시키며, 거울틀안치요홈(54)의 접착되는 거울틀(51)의 거울안치홈에는 거울(50)을 접착하며, 거울틀안치요홈(54)에 거울틀(51)이 접착된 내부심재(34)의 상면과 밑면에 내측커버(11) 및 외측커버(12)를 접착제(34-2)에 의해 일체로 접착하되, 내측커버(11)에는 절삭공(52)을 형성하여 거울(50)이 외부로 노출되도록 하였다.In the installation configuration of the mirror 50 illustrated in FIG. 6B, the mirror frame anchoring groove 54 is formed on the inner surface of the inner core 34, and the mirror frame groove is formed inside the mirror frame anchoring groove 54. Adhesion and fixation of the frame 51, the mirror 50 of the mirror frame 51 of the mirror frame anchor groove 54 is bonded to the mirror 50, the mirror frame 51 to the mirror frame anchor groove 54 The inner cover 11 and the outer cover 12 are integrally bonded to the upper and lower surfaces of the bonded inner core 34 by an adhesive 34-2, and the cutting holes 52 are attached to the inner cover 11. It was formed so that the mirror 50 is exposed to the outside.

도 6c에 예시된 거울(50)의 설치 구성은, 내부심재(34)에 거울틀수납실(55)을 형성하였고, 상기 거울틀수납실(55)의 내부에는 거울안치홈이 형성된 거울틀(51)을 수납시키며, 거울틀(51)에 거울안치홈에 거울을 접착 고정하며, 거울틀수납실(55)에 거울틀(51)이 수납된 내부심재(34)의 상면과 밑면에 내측커버(11) 및 외측커버(12)를 접착제(34-2)에 의해 일체로 접착하되, 내측커버(11)에는 절삭공(52)을 형성하여 거울(50)이 외부로 노출되도록 하였다.In the installation configuration of the mirror 50 illustrated in FIG. 6C, a mirror frame storage chamber 55 is formed in the inner core 34, and a mirror frame having a mirror set groove is formed in the mirror frame storage chamber 55. 51 is housed in the mirror frame 51, the mirror is fixed to the mirror set groove in the mirror frame, the inner cover on the top and bottom of the inner core member 34, the mirror frame 51 is accommodated in the mirror frame storage chamber (55) (11) and the outer cover 12 are integrally bonded with an adhesive 34-2, but the cutting hole 52 is formed in the inner cover 11 so that the mirror 50 is exposed to the outside.

도 6d에 예시된 거울(50)의 설치 구성은, 내부심재(34)에 거울틀수납실(55)을 형성하였고, 상기 거울틀수납실(55)의 내부에는 거울안치홈이 형성된 거울틀(51)을 수납시키며, 거울틀(51)에 거울안치홈에 거울을 접착 고정하며, 상기 거울틀수납실(55)에 거울틀(51)이 수납된 내부심재(34)의 상면에 보조덧판(56)을 접착하였으며, 상기 보조덧판(56)과 내부심재(34)의 밑면에는 내측커버(11) 및 외측커버(12)를 접착제(34-2)에 의해 일체로 접착하되, 내측커버(11)에는 절삭공(52)을 형성하여 거울(50)이 외부로 노출되도록 하였다.In the installation configuration of the mirror 50 illustrated in FIG. 6D, a mirror frame storage chamber 55 is formed in the inner core 34, and a mirror frame having a mirror set groove is formed in the mirror frame storage chamber 55. 51 is accommodated, the mirror frame 51 to the mirror set groove in the mirror fixing groove, and the auxiliary cover plate on the upper surface of the inner core member 34 in which the mirror frame 51 is accommodated in the mirror frame storage room 55 ( 56, and the inner cover 11 and the outer cover 12 are integrally bonded to each other by the adhesive 34-2 on the bottom of the subsidiary plate 56 and the inner core 34, and the inner cover 11 ), A cutting hole 52 is formed to expose the mirror 50 to the outside.

특히, 거울(50)이 직접 접착 고정되거나 또는 거울(50)이 구비된 거울틀(51)이 접착되는 내부심재(34)는 통상적으로 사용되는 합지를 비롯하여 합성수지로 형성된 것을 들 수 있고, 바람직하게는 합성수지로 형성하여 구부러지거나 접혀지지 않게 하는 것이며, 상기 내부심재(34)를 도 3a에 예시된 바와 같이 특허출원 제10-2009-102752호로 특허 출원된 휴대용통신기기보호케이스에 구비되는 덮개틀(30)로 형성하여도 무방하다.In particular, the inner core material 34 to which the mirror 50 is directly adhesively fixed or to which the mirror frame 51 provided with the mirror 50 is bonded may be one formed of synthetic resin, including a commonly used paper. Is formed by a synthetic resin so that it is not bent or folded, the inner frame 34 is provided with a cover frame provided in the portable communication device protective case patent application as patent application No. 10-2009-102752 as illustrated in Figure 3a ( 30) may be formed.

상기 거울(50)은 외부에서 충격이 가해지더라도 파손되지 않도록 합성수지(아크릴ㆍPC 등)로 형성하는 것이 바람직하고, 거울틀(51)은 거울(50)이 구부러지게 되면 영상이 일그러지게 되므로 이를 방지할 수 있도록 하기 위하여 금속재(철판ㆍ스테인리스판)ㆍ경질 합성수지로 형성하여 거울(50)이 구겨지거나 접혀지는 것과 같이 손상되는 것을 방지할 수 있도록 하였다.
The mirror 50 is preferably formed of synthetic resin (acrylic, PC, etc.) so as not to be damaged even when an impact is applied from the outside, and the mirror frame 51 prevents the image because the image is distorted when the mirror 50 is bent. In order to be able to do so, it was formed of a metal material (iron plate, stainless steel plate) and hard synthetic resin to prevent the mirror 50 from being damaged such as being wrinkled or folded.

이하 상기와 같이 형성된 본 고안에 따른 휴대용통신기기 보호케이스(1)의 사용 상태를 설명한다.Hereinafter, the state of use of the portable communication device protection case 1 according to the present invention formed as described above.

도 1a 내지 도 6d에 예시된 본 고안에 따른 휴대용통신기기 보호케이스(1)에서 통신기기수납틀(20)의 통신기기수납실(22)에는 휴대용통신기기(구체적으로 도시하지 아니함)를 안치(수납)하면, 휴대용통신기기(구체적으로 도시하지 아니함)의 본체에서 하부 본체는 지지테(24)의 내부에 수납되고 상부본체는 상측으로 노출된 상태를 유지하며, 전면과 후면에 형성된 기기억류편(25)은 휴대용통신기기의 상면과 배면의 중앙부를 억류한 상태를 유지하게 된다.In the portable communication device protection case 1 according to the present invention illustrated in FIGS. 1A to 6D, a portable communication device (not specifically shown) is placed in the communication device storage room 22 of the communication device storage frame 20 ( Storage), the lower main body of the main body of the portable communication device (not specifically shown) is accommodated inside the support frame 24 and the upper main body remains exposed to the upper side, and the device holding pieces formed on the front and rear Numeral 25 maintains the state of detaining the central portion of the upper surface and the rear surface of the portable communication device.

특히, 상기와 같이 통신기기수납틀(20)의 통신기기수납실(22)에는 휴대용통신기기를 안치(수납)하게 되면 휴대용통신기기의 측면에 구비된 조작단자가 각 작동단자노출부(24-1)를 통해 외부로 노출된 상태를 유지하게 된다.In particular, when the portable communication device is placed (stored) in the communication device storage room 22 of the communication device storage frame 20 as described above, the operation terminal provided on the side of the portable communication device has a respective operation terminal exposure unit 24-. Through 1) it is kept exposed to the outside.

상기와 같이 상기와 같이 통신기기수납틀(20)의 통신기기수납실(22)에는 휴대용통신기기를 안치(수납)한 상태에서 덮개부(3)를 휴대용통신기기수납부(2)의 상측으로 덮어주게 되면 내측커버(11)가 통신기기수납틀(20)의 기기억류편(25)에 얹혀진 상태를 유지하여 수납된 휴대용통신기기의 상면을 보호하게 되다.As described above, the cover unit 3 is moved to the upper side of the portable communication device storage unit 2 while the portable communication device is placed in the communication device storage room 22 of the communication device storage frame 20 as described above. Covering the inner cover 11 to protect the upper surface of the portable communication device accommodated by maintaining the state placed on the device detention piece 25 of the communication device storage frame 20.

덮개부(3)를 휴대용통신기기수납부(2)의 상측으로 덮어준 상태에서 착탈편(15)을 외부로 노출된 기기억류편(25)의 외측으로 덮어주면 착탈편(15)의 영구자석(18)과 기기억류편(25)의 금속편(28)이 서로 접착된 상태를 유지하게 된다.When the cover part 3 is covered with the portable communication device storage part 2 above, the detachable piece 15 is covered with the outside of the device detaining piece 25 exposed to the outside to permanent magnets of the detachable piece 15. 18 and the metal pieces 28 of the device holding piece 25 are kept in a bonded state with each other.

상기와 같이 덮개부(3)를 휴대용통신기기수납부(2)의 상측으로 덮어 주고 착탈편(15)을 외부로 노출된 기기억류편(25)의 외측으로 덮어 영구자석(18)과 금속편(28)을 접착시킨 상태에서 휴대용통신기기가 수납(인치)된 본 고안에 따른 휴대용통신기기 보호케이스(1)를 휴대하게 된다.The cover 3 is covered with the upper side of the portable communication device storage unit 2 as described above, and the detachable piece 15 is covered with the outside of the device detention piece 25 exposed to the outside, and the permanent magnet 18 and the metal piece ( 28 to carry a portable communication device protective case 1 according to the present invention in which the portable communication device is accommodated (inch) in a state of being bonded.

상기와 같이 휴대용통신기기가 수납(인치)된 본 고안에 따른 휴대용통신기기 보호케이스(1)를 휴대한 상태에서 전화가 걸려 오면, 수신자는 덮개부(3)를 개방하지 않은 상태에서 통화버튼조작부(41)를 조작하여(눌러) 휴대용통신기기(휴대전화기)의 통화버튼을 ON시키고, 휴대용통신기기(휴대전화기)의 통화버튼을 ON시킨 상태에서 휴대용통신기기 보호케이스(1)를 귀에 대고 통화를 실시한다.When a call is received while carrying the portable communication device protective case 1 according to the present invention, the portable communication device is stored (inch) as described above, the receiver does not open the cover 3, the call button control unit (41) operation (press) to turn on the call button of the portable communication device (mobile phone), and with the call button of the portable communication device (mobile phone) ON, hold the mobile communication device protective case 1 with the ear. Is carried out.

휴대용통신기기(휴대전화기)에서 발생하는 발신자의 목소리가 수화공(33)을 통해 덮개부(3)의 외부로 송출되므로 덮개부(3)를 개방시키지 않은 상태에서 휴대용통신기기(휴대전화기)에서 발생하는 발신자의 목소리를 들을 수 있고, 수신자가 하는 목소리는 송화공(32)을 통해 휴대용통신기기(휴대전화기)로 전달되므로 수신자가 소리는 발신자에게 전달되며, 따라서 본 고안에 따른 휴대용통신기기 보호케이스(1)에 설치되는 휴대용통신기기(휴대전화기)는 덮개부(3)를 개방하지 않고도 통화를 실시할 수 있으며, 통화를 완료한 후에는 종료버튼조작부(42)를 조작하여(눌러) 휴대용통신기기(휴대전화기)를 OFF시킨다.The voice of the caller generated from the portable communication device (mobile phone) is transmitted to the outside of the cover part 3 through the receiver 30, so that the portable communication device (mobile phone) is not opened without the cover part 3 being opened. The voice of the caller can be heard, and the voice of the receiver is transmitted to the portable communication device (mobile phone) through the caller 32, so that the receiver transmits the sound to the caller, thus protecting the portable communication device according to the present invention. The portable communication device (mobile phone) installed in the case 1 can make a call without opening the cover 3, and after completing the call, the portable communication device (mobile phone) can be operated by pressing (pressing) the end button operation part 42. Turn off the communication device (mobile phone).

특히, 상기와 같이 본 고안에 따른 휴대용통신기기 보호케이스(1)에서 도 1a 내지 도 2b에 예시된 바와 같이, 덮개부(3)에 발신자표시공(36) 또는 발신자표시창(37)이 형성되어 있는 경우에는, 전화가 걸려 왔을 때에 휴대용통신기기(휴대전화기)의 디스플레이창에 표시되는 전화번호를 발신자표시공(36) 또는 발신자표시창(37)을 통해 확인할 수 있으며, 따라서 디스플레이창에 표시되는 전화번호를 발신자표시공(36) 또는 발신자표시창(37)을 통해 확인하면서 통화 여부를 판단할 수 있다.In particular, as shown in Figure 1a to 2b in the portable communication device protective case 1 according to the present invention as described above, the caller display hole 36 or the caller display window 37 is formed in the cover (3) If there is a call, the telephone number displayed on the display window of the portable communication device (mobile phone) can be confirmed through the caller display hole 36 or the caller display window 37, and thus the call displayed on the display window. While checking the number through the caller display hole 36 or the caller display window 37 can determine whether the call.

또 도 3a 및 도 3b에 예시된 바와 같이 덮개부(3)의 내면에 거울(50)이 설치되어 있는 경우에는 통상적으로 전화가 걸려 왔을 때에는 덮개부(3)를 개방하지 않은 상태에서 통화버튼조작부(41)를 조작하여(눌러) 통화를 실행하고, 통화를 하지않고 미용 용으로 사용하고자 할 때에는 덮개부(3)를 개방하여 거울(50)이 외부로 노출되도록 하며, 외부로 노출된 거울(50)을 사용하여 미용을 실행한다.In addition, as illustrated in FIGS. 3A and 3B, when the mirror 50 is installed on the inner surface of the cover part 3, the call button control part is not opened when the cover part 3 is normally opened when a telephone call is made. Manipulate (press) 41 to make a call and open the cover part 3 so that the mirror 50 is exposed to the outside when the user wants to use it for cosmetic use without making a call. Run cosmetology using 50).

또한 도 1a 내지 도 6d에 예시된 본 고안에 따른 휴대용통신기기 보호케이스(1)에서 통신기기수납틀(20)에 안치된 휴대용통신기기(구체적으로 도시하지 아니함)를 사용하고자 할 때에는, 덮개부(3)를 개방한 상태에서 휴대용통신기기(구체적으로 도시하지 아니함)를 버튼을 조작하고, 버튼의 조작이 완료되면 덮개부(3)를 덮어 주며, 상기와 같이 덮개부(3)를 덮어 준 상태에서 통화를 실행하며, 통화를 완료한 후에는 종료버튼조작부(42)를 조작하여(눌러) 휴대용통신기기(휴대전화기)를 OFF시킨다.In addition, when using the portable communication device (not specifically shown) placed in the communication device storage frame 20 in the portable communication device protective case 1 according to the present invention illustrated in Figure 1a to 6d, the cover portion (3) operate the button on the portable communication device (not specifically shown) in the open state, and when the operation of the button is completed, cover the cover (3), cover the cover (3) as described above The call is executed in the state, and after the call is completed, the end button control section 42 is operated (press) to turn off the portable communication device (mobile phone).

휴대용통신기기의 사용을 완료한 후에는 덮개부(3)가 휴대용통신기기수납부(2)의 상측으로 덮어진 상태 그대로 휴대용통신기기가 수납(인치)된 본 고안에 따른 휴대용통신기기 보호케이스(1)를 휴대하면 된다.After completing the use of the portable communication device, the portable communication device protective case according to the present invention in which the portable communication device is stored (inch) as the cover part 3 is covered with the upper side of the portable communication device storage unit 2 ( You can carry 1).

본 고안은 기재된 구체적인 실시 예에 대하여서만 상세히 설명하였지만 본 고안의 기술사상범위 내에서 다양하게 변형 및 수정할 수 있음은 당업자에게 있어 당연한 것이며, 이러한 변형 및 수정은 첨부된 실용신안등록청구범위에 속함은 당연하다 할 것이다.Although the present invention has been described in detail only with respect to the specific embodiments described, it will be obvious to those skilled in the art that various modifications and changes can be made within the technical scope of the present invention, and such modifications and modifications belong to the appended claims for utility model registration. It will be natural.

1: 휴대용 통신기기 보호케이스 2: 휴대용통신기기수납부
3: 덮개부 4: 지지부 5: 착탈부
10: 커버 11: 내측커버 12: 외측커버
15: 착탈편 20: 통신기기수납틀 21: 받침판
22: 통신기기수납실 24: 지지테 25: 기기억류편
30: 덮개틀 31: 통화공 36: 발신자표시공
37: 발신자표시창 40: 버튼조작부 41: 통화버튼조작부
42: 종료버튼조작부 50: 거울 51: 거울틀
1: Portable communication device protection case 2: Portable communication device storage
3: cover part 4: support part 5: detachable part
10: cover 11: inner cover 12: outer cover
15: Detachable piece 20: Communication device storage frame 21: Support plate
22: communication equipment storage room 24: support frame 25: device detention
30: cover frame 31: call ball 36: caller indicator ball
37: caller display window 40: button control unit 41: call button control unit
42: end button control unit 50: mirror 51: mirror frame

Claims (12)

휴대용통신기기수납부와 덮개부가 지지부에 의해 일체로 형성되고, 휴대용통신기기수납부의 내면에 통신기기수납틀이 고정되며, 휴대용통신기기수납부에 고정된 통신기기수납틀의 전면을 덮개부에 의해 개폐할 수 있도록 된 휴대용 통신기기 보호케이스에 있어서,
상기 덮개부의 상단부와 하단부의 중앙에 통화(송수화)를 할 수 있도록 통화공(송화공 및 수화공)을 뚫어 준 것과;
상기 송화공의 양측에는 통화조작버튼과 종료조작버튼을 조작(눌러)할 수 있도록 조작버튼부(통화조작부과 종료조작부)을 각각 형성한 것;을 특징으로 하는 덮개 개방 없이 통화가 용이한 휴대용 통신기기 보호케이스.
The portable communication device storage unit and the cover unit are integrally formed by the support unit, the communication device storage frame is fixed to the inner surface of the mobile communication device storage unit, and the front side of the communication device storage frame fixed to the portable communication device storage unit In the portable communication device protective case that can be opened and closed by
A hole for making a call (handset) in the center of the upper and lower ends of the cover part to make a call;
On both sides of the talker, an operation button unit (call operation unit and end operation unit) is formed to operate (press) the call operation button and the end operation button, respectively; characterized in that the portable communication easy to open the cover without opening Device protective case.
청구항 1에 있어서, 덮개부의 중앙부에는 발신자표시공 또는 발신자표시창을 형성한 것;을 특징으로 하는 덮개 개방 없이 통화가 용이한 휴대용 통신기기 보호케이스.The protective case of claim 1, wherein a caller display hole or a caller display window is formed at a central portion of the cover unit. 청구항 1에 있어서, 덮개부의 내면에는 거울을 설치한 것;을 특징으로 하는 덮개 개방 없이 통화가 용이한 휴대용 통신기기 보호케이스.The case of claim 1, wherein a cover is provided on the inner surface of the cover; portable communication device protective case that is easy to talk without opening the cover. 청구항 1에 있어서, 덮개부에서 통화공(송화공)의 양측에 형성되는 버튼조작부(통화버튼조작부ㆍ종료버튼조작부)는;
내부심재에 터치패드작동공간을 뚫어 준 것과;
상기 터치패드작동공간의 내부에는 터치패드작동공간의 내면 보다 크기가 작은 터치패드를 유입시킨 것과;
상기 터치패드가 터치패드작동공간의 내부에 유입된 내부심재의 상면과 밑면에 내측커버와 외측커버를 일체로 접착한 것;을 특징으로 하는 덮개 개방 없이 통화가 용이한 휴대용 통신기기 보호케이스.
The button operating portion (call button operation portion, end button operation portion) formed on both sides of the call hole (caller) in the cover portion;
The touch pad operating space is drilled into the inner core;
A touch pad having a smaller size than an inner surface of the touch pad operating space is introduced into the touch pad operating space;
And a touch pad integrally bonding an inner cover and an outer cover to the upper and lower surfaces of the inner core material introduced into the touch pad operating space, wherein the communication pad is easy to communicate without opening the cover.
청구항 2에 있어서, 덮개부의 중앙부에 형성되는 발신자표시공은;
내부심재와 내측커버 및 외측커버에 발신자의 번호를 확인할 수 있을 정도의 크기로 된 발신자표시공을 각각 뚫어 준 것과;
상기 내부심재와 내측커버 및 외측커버는 발신자표시공을 일치시킨 상태에서 일체로 접착하여 형성한 것;을 특징으로 하는 덮개 개방 없이 통화가 용이한 휴대용 통신기기 보호케이스.
The method of claim 2, wherein the caller display hole formed in the center of the cover portion;
The inner core and the inner cover and the outer cover, respectively, the size of the caller indicator hole to the extent that can confirm the caller's number;
The inner core material and the inner cover and the outer cover is formed by bonding integrally in a state in which the caller indication hole is matched; Portable communication device protection case easy to open a cover, characterized in that.
청구항 2에 있어서, 덮개부의 중앙부에 형성되는 발신자표시창은;
내부심재와 내측커버 및 외측커버에 발신자의 번호를 확인할 수 있을 정도의 크기로 된 발신자표시공을 각각 뚫어 준 것과;
상기 발신자표시공의 상면과 밑면 또는 상하 양면에는 투시창을 접착한 것과;
상기 발신자표시공의 상면과 밑면 또는 상하 양면에 투시창이 접착된 내부심재의 상면과 밑면에 내측커버 및 외측커버를 접착하여 형성한 것;을 특징으로 하는 덮개 개방 없이 통화가 용이한 휴대용 통신기기 보호케이스.
The caller display window of claim 2, wherein the caller display window is formed at the center of the cover part;
The inner core and the inner cover and the outer cover, respectively, the size of the caller indicator hole to the extent that can confirm the caller's number;
Attaching a viewing window to upper and lower surfaces or upper and lower surfaces of the caller display hole;
It is formed by adhering the inner cover and the outer cover on the upper and lower surfaces of the inner core material to which the viewing window is attached to the upper and lower surfaces or the upper and lower surfaces of the caller display hole; case.
청구항 3에 있어서, 덮개부의 내면에 설치되는 거울은;
내부심재의 내면에 거울안치요홈을 형성하여 거울을 접착한 것과;
상기 거울안치요홈에 거울이 접착된 내부심재의 상면과 밑면에 내측커버 및 외측커버를 일체로 접착하되, 내측커버에는 거울이 외부로 노출되도록 절삭공을 형성한 것;을 특징으로 하는 덮개 개방 없이 통화가 용이한 휴대용 통신기기 보호케이스.
The method of claim 3, wherein the mirror is provided on the inner surface of the cover portion;
Bonding a mirror by forming a mirror anchoring groove on an inner surface of the inner core material;
The inner cover and the outer cover is integrally bonded to the upper and lower surfaces of the inner core material the mirror is bonded to the mirror anchor groove, the inner cover is formed with a cutting hole so that the mirror is exposed to the outside; without opening the cover, characterized in that Portable communication device protective case for easy call.
청구항 3에 있어서, 덮개부의 내면에 설치되는 거울은;
내부심재의 내면에 거울틀안치요홈을 형성한 것과;
상기 거울틀안치요홈의 내부에는 거울안치홈이 형성된 거울틀을 접착 고정한 것과;
상기 거울틀안치요홈에 접착되는 거울틀의 거울안치홈에는 거울을 접착한 것과;
상기 거울틀안치요홈에 거울틀이 접착된 내부심재의 상면과 밑면에 내측커버 및 외측커버를 일체로 접착하되, 내측커버에는 거울이 외부로 노출되도록 절삭공을 형성한 것;을 특징으로 하는 덮개 개방 없이 통화가 용이한 휴대용 통신기기 보호케이스.
The method of claim 3, wherein the mirror is provided on the inner surface of the cover portion;
Forming a mirror frame recess in the inner surface of the inner core;
Adhesively fixing the mirror frame in which the mirror set groove is formed in the mirror frame set groove;
Attaching a mirror to the mirror set groove of the mirror frame adhered to the mirror frame set groove;
An inner cover and an outer cover are integrally adhered to the upper and lower surfaces of the inner core material to which the mirror frame is attached to the mirror frame anchor groove, and the inner cover is formed with a cutting hole so that the mirror is exposed to the outside; Portable communication device case for easy communication without opening.
청구항 3에 있어서, 덮개부의 내면에 설치되는 거울은;
내부심재에 거울틀수납실을 형성한 것과;
상기 거울틀수납실의 내부에는 거울안치홈이 형성된 거울틀을 수납시킨 것과;
상기 거울틀의 거울안치홈에 거울을 접착 고정한 것과;
상기 거울틀수납실에 거울틀이 수납된 내부심재의 상면과 밑면에 내측커버 및 외측커버를 일체로 접착하되, 내측커버에는 거울이 외부로 노출되도록 절삭공을 형성한 것;을 특징으로 하는 덮개 개방 없이 통화가 용이한 휴대용 통신기기 보호케이스.
The method of claim 3, wherein the mirror is provided on the inner surface of the cover portion;
Forming a mirror frame chamber in the inner core;
A mirror frame in which a mirror set groove is formed in the mirror frame storage chamber;
Adhesively fixing the mirror to the mirror set groove of the mirror frame;
An inner cover and an outer cover are integrally bonded to the upper and lower surfaces of the inner core material in which the mirror frame is accommodated in the mirror frame storage chamber, and the inner cover is formed with a cutting hole so that the mirror is exposed to the outside. Portable communication device protective case for easy communication without opening.
청구항 3에 있어서, 덮개부의 내면에 설치되는 거울은;
내부심재에 거울틀수납실을 형성한 것과;
상기 거울틀수납실의 내부에는 거울안치홈이 형성된 거울틀을 수납시킨 것과;
상기 거울틀의 거울안치홈에 거울을 접착 고정한 것과;
상기 거울틀수납실에 거울틀이 수납된 내부심재의 상면에 보조덧판을 접착한 것과;
상기 보조덧판과 내부심재의 밑면에 내측커버 및 외측커버를 일체로 접착하되, 내측커버에는 거울이 외부로 노출되도록 절삭공을 형성한 것;을 특징으로 하는 덮개 개방 없이 통화가 용이한 휴대용 통신기기 보호케이스.
The method of claim 3, wherein the mirror is provided on the inner surface of the cover portion;
Forming a mirror frame chamber in the inner core;
A mirror frame in which a mirror set groove is formed in the mirror frame storage chamber;
Adhesively fixing the mirror to the mirror set groove of the mirror frame;
Bonding an auxiliary pad to the upper surface of the inner core material in which the mirror frame is accommodated in the mirror frame storage room;
The inner cover and the outer cover is integrally bonded to the bottom of the auxiliary plate and the inner core, the inner cover to form a cutting hole so that the mirror is exposed to the outside; Easy to communicate without a cover open portable communication device Protective case.
청구항 3과 청구항 7 내지 청구항 10항 중에서 어느 한 항에 있어서, 덮개부의 내면에 설치되는 거울은;
아크릴ㆍPC 중에서 어느 하나로 형성된 것;을 특징으로 하는 덮개 개방 없이 통화가 용이한 휴대용 통신기기 보호케이스.
The mirror according to any one of claims 3 and 7 to 10, wherein the mirror is provided on an inner surface of the cover part;
Portable communication device protective case easy to talk without opening the cover, characterized in that formed of any one of acrylic and PC.
청구항 3에 있어서, 덮개부의 내면에 설치되는 거울틀은;
철판ㆍ스테인리스판ㆍ경질 합성수지 중에서 어느 하나로 형성된 것;을 특징으로 하는 덮개 개방 없이 통화가 용이한 휴대용 통신기기 보호케이스.
The method according to claim 3, The mirror frame is installed on the inner surface of the cover portion;
A protective case for a portable communication device that can be easily communicated without opening a cover, characterized in that it is formed of any one of iron plate, stainless steel plate, and hard synthetic resin.
KR2020100000526U 2010-01-18 2010-01-18 A case for mobile communication terminal Abandoned KR20110007366U (en)

Priority Applications (1)

Application Number Priority Date Filing Date Title
KR2020100000526U KR20110007366U (en) 2010-01-18 2010-01-18 A case for mobile communication terminal

Applications Claiming Priority (1)

Application Number Priority Date Filing Date Title
KR2020100000526U KR20110007366U (en) 2010-01-18 2010-01-18 A case for mobile communication terminal

Publications (1)

Publication Number Publication Date
KR20110007366U true KR20110007366U (en) 2011-07-26

Family

ID=45597772

Family Applications (1)

Application Number Title Priority Date Filing Date
KR2020100000526U Abandoned KR20110007366U (en) 2010-01-18 2010-01-18 A case for mobile communication terminal

Country Status (1)

Country Link
KR (1) KR20110007366U (en)

Cited By (15)

* Cited by examiner, † Cited by third party
Publication number Priority date Publication date Assignee Title
KR101246026B1 (en) * 2012-10-24 2013-03-26 이휘경 Protection case of smart phone
KR200468105Y1 (en) * 2012-05-25 2013-07-23 엔엠텍코리아 주식회사 Portable terminal case
KR200468042Y1 (en) * 2012-04-23 2013-07-24 여인건 Case for protecting mobile terminal equipment
KR101327369B1 (en) * 2012-06-08 2013-11-08 김남철 Protecting cover with drawing type supporter for mobile phone
KR20130136885A (en) * 2012-06-05 2013-12-13 김정훈 Phone case with handset jack
WO2014010796A1 (en) * 2012-07-13 2014-01-16 주식회사 다스텍 Protective case for mobile electronic device
CN103637529A (en) * 2013-11-18 2014-03-19 联想(北京)有限公司 Electronic device protective sleeve, information processing method and electron device
US20140128131A1 (en) * 2012-11-02 2014-05-08 Newvit Co., Ltd. Protection cover for mobile device
KR101421899B1 (en) * 2013-07-12 2014-07-23 안병운 Manufacture method of flip cover and flip cover for cellular phone terminal
KR200473788Y1 (en) * 2013-06-18 2014-07-31 주식회사 솔로젠 Smartphone protection case with call termination
KR20140137069A (en) * 2013-05-21 2014-12-02 주식회사 한림포스텍 Case for mobile terminal, which has reinforced antibacterial effect, and mehtodd for manufacturing the same
KR101468989B1 (en) * 2013-05-14 2014-12-05 주식회사 스킨플레이어 Case for Portable Device
KR101474982B1 (en) * 2013-07-05 2014-12-23 엔엠텍코리아 주식회사 Method and Product of Mobile device Case with View Window
KR101492479B1 (en) * 2013-04-22 2015-02-11 김재성 Flip type case for portable electronic device
CN104703502A (en) * 2013-08-02 2015-06-10 尹南云 Flip cover plate for mobile terminal

Cited By (17)

* Cited by examiner, † Cited by third party
Publication number Priority date Publication date Assignee Title
KR200468042Y1 (en) * 2012-04-23 2013-07-24 여인건 Case for protecting mobile terminal equipment
KR200468105Y1 (en) * 2012-05-25 2013-07-23 엔엠텍코리아 주식회사 Portable terminal case
KR20130136885A (en) * 2012-06-05 2013-12-13 김정훈 Phone case with handset jack
KR101327369B1 (en) * 2012-06-08 2013-11-08 김남철 Protecting cover with drawing type supporter for mobile phone
WO2014010796A1 (en) * 2012-07-13 2014-01-16 주식회사 다스텍 Protective case for mobile electronic device
KR101246026B1 (en) * 2012-10-24 2013-03-26 이휘경 Protection case of smart phone
CN103812974A (en) * 2012-11-02 2014-05-21 纽比特手机配件有限公司 Protection cover for mobile device
US20140128131A1 (en) * 2012-11-02 2014-05-08 Newvit Co., Ltd. Protection cover for mobile device
KR101492479B1 (en) * 2013-04-22 2015-02-11 김재성 Flip type case for portable electronic device
KR101468989B1 (en) * 2013-05-14 2014-12-05 주식회사 스킨플레이어 Case for Portable Device
KR20140137069A (en) * 2013-05-21 2014-12-02 주식회사 한림포스텍 Case for mobile terminal, which has reinforced antibacterial effect, and mehtodd for manufacturing the same
KR200473788Y1 (en) * 2013-06-18 2014-07-31 주식회사 솔로젠 Smartphone protection case with call termination
KR101474982B1 (en) * 2013-07-05 2014-12-23 엔엠텍코리아 주식회사 Method and Product of Mobile device Case with View Window
KR101421899B1 (en) * 2013-07-12 2014-07-23 안병운 Manufacture method of flip cover and flip cover for cellular phone terminal
CN104703502A (en) * 2013-08-02 2015-06-10 尹南云 Flip cover plate for mobile terminal
CN104703502B (en) * 2013-08-02 2017-07-21 尹南云 Mobile terminal cover sheet
CN103637529A (en) * 2013-11-18 2014-03-19 联想(北京)有限公司 Electronic device protective sleeve, information processing method and electron device

Similar Documents

Publication Publication Date Title
KR20110007366U (en) A case for mobile communication terminal
KR101394285B1 (en) Connecting device opening and shutting front cover of portable electronic device and case thereof
KR101001752B1 (en) Protective device for smartphone
US20100116387A1 (en) Protective secondary enclosure apparatus with modular face protective options for handheld devices
KR20110045972A (en) Portable communication device protection case
KR101422194B1 (en) Protection Case for Mobile Terminal
KR20090001546U (en) Detachable Handheld Terminal Case
KR101390793B1 (en) Mobile phone protective case
KR101146442B1 (en) Cover of a portable device
KR200465844Y1 (en) wallet type case for mobile phone
US20150303967A1 (en) Housing-protecting case for portable electronic device
KR20140074413A (en) Cell Phone Case
KR200481246Y1 (en) Sliding type phone case
KR200491657Y1 (en) Exchangeable Cell Phone Case
KR101422169B1 (en) Case for Portable Device
KR20130000449U (en) Case for portable terminal
KR200462364Y1 (en) Case for mobile terminal having adhesive-gelpad
KR20130087954A (en) The cellular phone case
JP2923257B2 (en) Mobile phone protective cover
JP3135110U (en) Cases for portable information terminals, etc.
KR200476114Y1 (en) Mobile device supporter
JP3055046U (en) Wireless telephone protector
KR100466167B1 (en) safety case for polder or slider type mobile phone
CN214281447U (en) Cell-phone shell with embedded cell phone stand just adopts three-layer composite material
KR200467722Y1 (en) Case for portable terminal

Legal Events

Date Code Title Description
A201 Request for examination
UA0108 Application for utility model registration

Comment text: Application for Utility Model Registration

Patent event code: UA01011R08D

Patent event date: 20100118

UA0201 Request for examination
UG1501 Laying open of application
E902 Notification of reason for refusal
UE0902 Notice of grounds for rejection

Comment text: Notification of reason for refusal

Patent event code: UE09021S01D

Patent event date: 20110819

E701 Decision to grant or registration of patent right
UE0701 Decision of registration

Patent event date: 20120308

Comment text: Decision to Grant Registration

Patent event code: UE07011S01D

NORF Unpaid initial registration fee
UC1904 Unpaid initial registration fee