KR20100033033A - 다기능 배관연결구 - Google Patents

다기능 배관연결구 Download PDF

Info

Publication number
KR20100033033A
KR20100033033A KR1020080091990A KR20080091990A KR20100033033A KR 20100033033 A KR20100033033 A KR 20100033033A KR 1020080091990 A KR1020080091990 A KR 1020080091990A KR 20080091990 A KR20080091990 A KR 20080091990A KR 20100033033 A KR20100033033 A KR 20100033033A
Authority
KR
South Korea
Prior art keywords
pipe
main body
port
elbow
sealing
Prior art date
Legal status (The legal status is an assumption and is not a legal conclusion. Google has not performed a legal analysis and makes no representation as to the accuracy of the status listed.)
Ceased
Application number
KR1020080091990A
Other languages
English (en)
Inventor
김영수
이재일
최백규
최용제
Original Assignee
현대산업개발 주식회사
두리화학 주식회사
Priority date (The priority date is an assumption and is not a legal conclusion. Google has not performed a legal analysis and makes no representation as to the accuracy of the date listed.)
Filing date
Publication date
Application filed by 현대산업개발 주식회사, 두리화학 주식회사 filed Critical 현대산업개발 주식회사
Priority to KR1020080091990A priority Critical patent/KR20100033033A/ko
Publication of KR20100033033A publication Critical patent/KR20100033033A/ko
Ceased legal-status Critical Current

Links

Images

Classifications

    • EFIXED CONSTRUCTIONS
    • E03WATER SUPPLY; SEWERAGE
    • E03CDOMESTIC PLUMBING INSTALLATIONS FOR FRESH WATER OR WASTE WATER; SINKS
    • E03C1/00Domestic plumbing installations for fresh water or waste water; Sinks
    • E03C1/12Plumbing installations for waste water; Basins or fountains connected thereto; Sinks
    • E03C1/122Pipe-line systems for waste water in building
    • FMECHANICAL ENGINEERING; LIGHTING; HEATING; WEAPONS; BLASTING
    • F16ENGINEERING ELEMENTS AND UNITS; GENERAL MEASURES FOR PRODUCING AND MAINTAINING EFFECTIVE FUNCTIONING OF MACHINES OR INSTALLATIONS; THERMAL INSULATION IN GENERAL
    • F16LPIPES; JOINTS OR FITTINGS FOR PIPES; SUPPORTS FOR PIPES, CABLES OR PROTECTIVE TUBING; MEANS FOR THERMAL INSULATION IN GENERAL
    • F16L5/00Devices for use where pipes, cables or protective tubing pass through walls or partitions
    • F16L5/02Sealing
    • YGENERAL TAGGING OF NEW TECHNOLOGICAL DEVELOPMENTS; GENERAL TAGGING OF CROSS-SECTIONAL TECHNOLOGIES SPANNING OVER SEVERAL SECTIONS OF THE IPC; TECHNICAL SUBJECTS COVERED BY FORMER USPC CROSS-REFERENCE ART COLLECTIONS [XRACs] AND DIGESTS
    • Y10TECHNICAL SUBJECTS COVERED BY FORMER USPC
    • Y10STECHNICAL SUBJECTS COVERED BY FORMER USPC CROSS-REFERENCE ART COLLECTIONS [XRACs] AND DIGESTS
    • Y10S285/00Pipe joints or couplings

Landscapes

  • Engineering & Computer Science (AREA)
  • Structural Engineering (AREA)
  • Environmental & Geological Engineering (AREA)
  • Health & Medical Sciences (AREA)
  • Life Sciences & Earth Sciences (AREA)
  • Hydrology & Water Resources (AREA)
  • Public Health (AREA)
  • Water Supply & Treatment (AREA)
  • Branch Pipes, Bends, And The Like (AREA)

Abstract

본 발명에 따른 다기능 배관연결구는 하방으로 메인포트를 형성하며, 상방으로는 분기된 형태의 다수개 서브포트를 형성하는 본체와, 상기 본체의 각 서브포트에 회전가능하게 연결되는 엘보관과, 상기 본체의 메인포트를 선택적으로 밀폐할 수 있는 밀폐수단을 포함하여 이루어진다.
이와 같은 본 발명에 따른 다기능 배관연결구는, 본체의 메인포트 및 엘보관에 연결되는 배관구성에 따라 봉수트랩이나 분기관 내지는 집수관으로 활용될 수 있기 때문에 욕실 배수설비와 같이 복잡한 배관계통의 구성에 많은 도움이 된다는 이점이 있다.

Description

다기능 배관연결구{pipe connector for multi-purpose}
본 발명은 욕실 등의 배수관에 결합되어 봉수트랩으로 사용 가능할 뿐만 아니라 다수개의 배관을 통합 또는 분기하기 위한 분기관으로도 사용될 수 있는 다기능 배관연결구에 관한 것이다.
일반적으로 욕실에는 세면대, 욕조, 변기 등이 설치되어 있기 때문에 이를 위한 각각의 급, 배수배관 또한 갖추어져 있는데, 특히 욕실 바닥과 세면대 및 욕조에서 배출되는 오수는 하나의 하수관으로 통합 연결되어 배출되도록 구성되는 것이 일반적이다.
따라서, 종래에는 각기 다른 위치에 배치되는 욕실바닥의 하수구와, 세면대 및 욕조의 배수구를 특정위치의 하수관으로 연결하기 위하여 다수개의 직관 및 곡선연결관을 사용하였기 때문에, 이에 따라 욕실에서의 배관구성이 복잡하게 이루어진다는 문제점이 있었다.
상기와 같은 문제점을 해결하기 위한 것으로서, 각도조절 가능한 복수개의 엘보관을 포함하여 이루어짐으로써 다양한 각도에서 타배관과 연결될 수 있으며, 이 같은 특성상 봉수트랩 내지는 집수관 및 분기관 등 다양한 용도로 사용될 수 있는 다기능 배관연결구의 제공을 목적으로 한다.
상기와 같은 목적을 달성하기 위해 제공되는 본 발명에 따른 다기능 배관연결구는, 하방으로 메인포트를 형성하며, 상방으로는 분기된 형태의 다수개 서브포트를 형성하는 본체와, 상기 본체의 각 서브포트에 회전가능하게 연결되는 엘보관과, 상기 본체의 메인포트를 선택적으로 밀폐할 수 있는 밀폐수단을 포함하여 이루어진다.
상기 서브포트의 외주면 둘레에는 바깥쪽으로 돌출된 형태의 걸림테두리가 구비되고, 상기 엘보관에는 상기 걸림테두리에 걸리며, 걸림테두리를 따라 이동될 수 있는 걸림턱이 형성됨으로써, 상기 걸림턱과 상기 걸림테두리의 결합구조에 의해 상기 엘보관이 서브포트에 회전가능하게 결합된다.
상기 걸림테두리의 가장자리는 위에서 아래로 가면서 바깥쪽으로 돌출되어 경사진 형태로 이루어지며, 상기 걸림턱은 상기 걸림테두리를 감싸도록 절곡된 구조로서 그 선단이 상기 걸림테두리와 반대로 경사진 형태로 이루어진다.
상기 밀폐수단은 본체의 메인포트와 나사결합방식으로 분리 가능하게 결합되는 밀폐캡과, 상기 메인포트의 내부에 끼움장착되어 밀폐캡의 밀폐기능을 보조하는 패킹원반으로 구성된다.
상기 패킹원반은 중심부와, 중심부보다 두껍고 하방으로 만곡된 형태의 테두리부, 상기 테두리부의 외주면 둘레에서 바깥쪽으로 돌출된 형태로서 상하 이격된 다수개의 밀착립부를 포함하여 이루어진다.
상기 밀폐캡에는 상기 메인포트에 장착된 상태에서 패킹원반을 받치는 링형태의 받침턱부가 구성된다.
상기 패킹원반의 중심에는 하방으로 돌출된 형태의 고정돌기가 구비되고, 상기 밀폐캡에는 상기 고정돌기가 끼워지는 돌기홈이 형성된다.
본 발명의 다기능 배관연결구는 각도조절 가능한 복수개의 엘보관을 포함하여 이루어짐으로써 다양한 각도에서 타배관과 연결될 수 있으며, 봉수트랩 내지는 집수관 및 분기관 등 다양한 용도로 사용될 수 있기 때문에 욕실 배수설비와 같이 복잡한 배관계통의 구성에 많은 도움이 된다는 이점이 있다.
이하, 본 발명의 실시를 위한 구체적인 내용을 첨부된 도 1부터 도 7까지 참조로 하여 상세하게 설명한다.
도 1과 도 2에 나타난 것과 같이 본 발명에 따른 다기능 배관연결구(10)는, 하방으로 메인포트(111)를 형성하며, 상방으로는 분기된 형태의 다수개 서브포트(112)를 형성하는 본체(11)와, 상기 본체(11)의 각 서브포트(112)에 회전가능하게 연결되는 엘보관(12)을 포함하여 이루어진다.
상기 본체(11)는 대략 ‘U’형태로 이루어지며, 상기 엘보관(12)은 하단이 서브포트(112)에 수직으로 삽입되고, 상단이 절곡되어 수평을 향하는 구조로 이루어진다.
상기 서브포트(112)의 외주면 둘레에는 바깥쪽으로 돌출된 형태의 걸림테두리(113)가 구비되고, 상기 엘보관(12)의 하단 외주면에는 상기 걸림테두리(113)에 걸리며 걸림테두리(113)를 따라 이동될 수 있는 걸림턱(121)이 형성된다.
상기 걸림테두리(113)의 가장자리는 위에서 아래로 가면서 바깥쪽으로 돌출되어 경사진 형태로 이루어지며, 상기 걸림턱(121)은 상기 걸림테두리(113)를 감싸도록 절곡된 구조로서, 그 선단이 상기 걸림테두리(113)와 반대로 경사진 형태로 이루어진다.(도 3 참조)
상기 엘보관(12)은 그 일단이 일정폭만큼 본체(11)의 서브포트(112)에 삽입되며, 걸림턱(121)이 걸림테두리(113)에 걸리는 방식으로 장착되는데, 엘보관(12)의 일단이 서브포트(112)에 삽입되는 과정에서는 걸림테두리(113)와 걸림턱(121)의 테이퍼 구조상 걸림턱(121)이 걸림테두리(113)를 부드럽게 타고 넘어가게 된다.
걸림턱(121)이 걸림테두리(113)를 타고 넘어간 다음에는 걸림턱(121)의 절곡된 선단이 걸림테두리(113) 안쪽으로 견고하게 걸리게 된다.
더불어, 서브포트(112)와 이에 삽입되는 엘보관(12)과의 사이에는 수밀기능을 강화하기 위한 패킹링(13)이 개재된다.
그리고, 상기 엘보관(12)의 반대쪽 선단에는 타배관(20)과의 연결을 위한 연결캡(16) 등이 나사결합 등의 방식으로 결합 될 수 있다.
상기 엘보관(12)은 서브포트(112)에 장착된 상태에서, 걸림테두리(113)와 걸림턱(121)의 결합구조상 서브포트(112)로부터의 이탈이 방지됨과 동시에 자유롭게 회동될 수 있게 된다.
또한, 본 발명에 따른 다기능 배관연결구(10)는 상기 본체(11)의 메인포트(111)를 선택적으로 밀폐할 수 있는 밀폐수단을 포함하여 이루어진다.
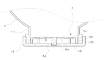
상기 밀폐수단은 도 4에 나타난 것과 같이 메인포트(111)와 나사결합방식으로 분리 가능하게 결합되는 밀폐캡(14)과, 상기 메인포트(111)의 내부에 끼움장착되어 본체(11)로 유입된 오수와 상기 밀폐캡(14)이 접하지 않도록 하는 패킹원반(15)을 포함하여 이루어진다.
상기 패킹원반(15)은 중심부(151)와, 중심부(151)보다 두껍고 하방으로 만곡된 형태의 테두리부(152)와, 상기 테두리부(152)의 외주면 둘레에서 바깥쪽으로 돌출된 형태로서 상하 이격된 다수개의 밀착립부(153)와, 그 중심에서 하방으로 돌출형성된 고정돌기(154)를 포함하여 이루어진다.
그리고, 상기 밀폐캡(14)에는 상기 메인포트(111)에 장착된 상태에서 패킹원반(15)을 받치도록 구성된 링형태의 받침턱부(141) 및, 상기 고정돌기(154)가 끼워지는 돌기홈(14a)이 형성되어 있다.
따라서, 도 5에 나타난 것과 같이 상기 패킹원반(15)은 상기 메인포트(111)에 삽입된 상태에서 상기 각 밀착립부(153)가 메인포트(111)의 내면과 밀착되고, 밀폐캡(14)의 받침턱부(141)에 의해 지지되고, 고정돌기(154)가 상기 돌기홈(14a)에 끼워지는 구조로 장착된다.
상술한 바와 같이 구성된 본 발명에 따른 다기능 배관연결구는 본체의 형상과 각 포트의 분기구조상, 용도에 따라 봉수트랩 내지는 집수관 또는 분기관으로 사용가능한데, 각 용도별 사용방법에 대하여 설명하면 다음과 같다.
먼저, 본 발명에 따른 다기능 배관연결구를 봉수트랩으로 사용하는 경우에는, 도 6a에 나타난 것과 같이 상기 본체(11)의 메인포트(111)에 패킹원반(15) 및 밀폐캡(14)을 장착하여 메인포트(111)를 밀폐하고, 일측 엘보관(12)에는 유입배관(20)을 연결하고, 타측 엘보관(12')에 배출배관(21)을 연결하게 된다.
이와 같이 양측 엘보관(12)(12')을 모두 구비하고 각 엘보관(12)(12')에 유입배관(20) 및 배출배관(21)을 연결하면 전체적으로 유트랩(U-trap) 구조를 이루게 된다.
여기서, 상기 유입배관(20)은 세면대나 욕조 등의 배출구와 이어지며, 배출배관(21)은 하수관과 이어지도록 구성되는데, 엘보관(12)(12')의 회동이 가능한 만큼, 각 배관의 연결구성에 있어서 각 엘보관(12)(12')의 각도를 조절하여 각 배관과 연결이 용이하도록 위치를 조절 할 수 있다.
이와 같은 이른바 봉수트랩 상태에서는 상기 유입배관(20)을 통해 유입된 오 수가 일측 엘보관(12)을 통해 본체(11)로 유입되며, 본체(11)로 유입된 오수는 타측 엘보관(12')을 거쳐서 배출배관(21)을 통해 하수관 측으로 배출됨으로써 오수의 배출작용이 이루어진다.
그리고, 오수의 배출이 중단되어도, 본체(11)내에 일정량의 오수가 담겨진 봉수상태를 유지하게 되며, 하수관으로부터 역류되어 유입되는 악취가스 등이 본체(11)에 담겨진 봉수에 의해 차단된다.
여기서, 본체(11)의 메인포트(111) 내에 장착된 패킹원반(15)은 전술한 바와 같이 중심부(151)의 가장자리에 형성된 각 밀착립부(153)가 메인포트(111)의 내주면에 밀착됨과 동시에 받침턱부(141)에 의해 받쳐짐으로써 밀폐캡(14)과 이격된 상태를 유지하게 되며, 고정돌기(154)가 밀폐캡(14)의 돌기홈(14a)에 끼워지게 된다.
따라서, 상기 패킹원반(15)은 그 장착상태가 매우 견고하게 유지되며, 테두리부(152)의 형태상 상방에서 내리누르는 수압에 대해 강한 버팀력을 발휘함으로써 메인포트(111)에 대한 수밀작용을 안정적으로 수행하게 된다.
더불어, 봉수작용이 오랜동안 지속되어 본체(11)내에 다량의 침전물이 쌓여짐으로써 봉수깊이가 낮아지는 등의 현상이 발생하는 경우에는, 상기 밀폐캡(14)과 패킹원반(15)을 메인포트(111)에서 분리하여 메인포트(111)를 개방하고, 개방된 메인포트(111)를 통해 본체(11)에 쌓인 침전물을 배출시킴으로써 안정적인 봉수작용이 유지되도록 할 수 있다.
한편, 본 발명에 따른 배관연결구를 봉수트랩으로 활용함에 있어서, 도 6b에 나타난 것과 같이 일측 엘보관을 제거하고 본체(11)의 일측 서브포트(112)에 직접 유입배관(20)을 수직으로 연결하게 되면, 이른바 피트랩(P-trap)의 구성이 될 수 도 있다.
이어서, 본 발명에 따른 다기능 배관연결구를 집수관으로 사용하는 경우에는, 도 7에 나타난 것과 같이 상기 본체(11)의 메인포트(111)에 배출배관(21)을 연결하고, 각 엘보관(12)(12')에 유입배관(20)(20)을 연결함으로써 각 유입배관(20)(20)을 통해 유입된 액체가 본체(11)에서 합치되어 배출배관(21)으로 유동되도록 하게 된다.
분기관으로 사용하는 경우에는 집수관으로 사용시와 반대로 메인포트에 유입배관을 연결하고. 각 엘보관에 배출배관을 연결함으로써 배출배관을 통해 본체로 유입된 액체가 서브포트를 통해 분기되어 배출되도록 하게 된다.
도 1은 본 발명에 따른 다기능 배관연결구를 나타낸 사시도이다.
도 2는 본 발명에 따른 다기능 배관연결구를 나타낸 분해사시도이다.
도 3은 본 발명에 따른 다기능 배관연결구 본체와 엘보관의 연결구조를 나타낸 구조도이다.
도 4는 본 발명에 따른 다기능 배관연결구의 패킹원반과 밀폐캡의 구조를 나타낸 사시도이다.
도 5는 본 발명에 따른 다기능 배관연결구의 패킹원반과 밀폐캡의 장착구조를 나타낸 단면도이다.
도 6a, 6b는 본 발명에 따른 다기능 배관연결구를 봉수트랩으로 사용하는 경우의 상태도이다.
도 7은 본 발명에 따른 다기능 배관연결구를 분기관 내지는 집수관으로 사용하는 경우의 상태도이다.
<도면의 주요부분에 대한 상세한 설명>
10: 배관연결구 11: 본체
111: 메인포트 112: 서브포트
113: 걸림테두리 12: 엘보관
121: 걸림턱 14: 밀폐캡
141: 받침턱부 14a: 돌기홈
15: 패킹원반 151: 중심부
152: 테두리부 153: 밀착립부
154: 고정돌기

Claims (7)

  1. 하방으로 메인포트를 형성하며, 상방으로는 분기된 형태의 다수개 서브포트를 형성하는 본체와,
    상기 본체의 각 서브포트에 회전가능하게 연결되는 엘보관과,
    상기 본체의 메인포트를 선택적으로 밀폐할 수 있는 밀폐수단
    을 포함하여 이루어짐으로써
    상기 본체의 메인포트를 밀폐수단으로 차단한 상태에서, 일측 엘보관에 유입배관을 연결하고, 타측 엘보관에 배출배관을 연결함으로써 유입배관과 배출배관 사이의 봉수트랩으로 사용가능함과 동시에
    상기 본체의 메인포트에 유입배관을 연결하고 양측 엘보관에 배출배관을 연결함으로써 상기 각 유입배관에서 상기 배출배관으로 이어지는 분기관, 내지는 상기 메인포트에 배출배관을 연결하고 양측 엘보관에 유입배관을 연결하여 상기 각 유입배관에서 상기 배출배관으로 이어지는 집수관으로 사용가능한
    다기능 배관연결구.
  2. 제1항에 있어서,
    상기 서브포트의 외주면 둘레에는 바깥쪽으로 돌출된 형태의 걸림테두리가 구비되고,
    상기 엘보관에는 상기 걸림테두리에 걸리며, 걸림테두리를 따라 이동될 수 있는 걸림턱이 형성됨으로써,
    상기 걸림턱과 상기 걸림테두리의 결합구조에 의해 상기 엘보관이 서브포트에 회전가능하게 결합되는 것
    을 특징으로 하는 다기능 배관연결구.
  3. 제2항에 있어서,
    상기 걸림테두리의 가장자리는
    위에서 아래로 가면서 바깥쪽으로 돌출되어 경사진 형태로 이루어지며,
    상기 걸림턱은
    상기 걸림테두리를 감싸도록 절곡된 구조로서, 그 선단이 상기 걸림테두리와 반대로 경사진 형태로 이루어짐으로써
    엘보관의 장착시 상기 걸림턱이 걸림테두리를 부드럽게 타고 넘어가서 결합되도록 하는 것
    을 특징으로 하는 다기능 배관연결구.
  4. 제1항에 있어서,
    상기 밀폐수단은
    본체의 메인포트와 나사결합방식으로 분리 가능하게 결합되는 밀폐캡과,
    상기 메인포트의 내부에 끼움장착되어 밀폐캡의 밀폐기능을 보조하는 패킹원반
    으로 이루어지는 다기능 배관연결구.
  5. 제4항에 있어서,
    상기 패킹원반은
    중심부와,
    상기 중심부의 외주면 둘레에서 형성되며 중심부보다 두껍고 하방으로 만곡된 형태의 테두리부,
    상기 테두리부에서 바깥쪽으로 돌출된 형태로서 상하 이격된 다수개의 밀착립부
    를 포함하여 이루어지는 다기능 배관연결구.
  6. 제4항에 있어서,
    상기 밀폐캡에는
    상기 메인포트에 장착된 상태에서 패킹원반을 받치는 링형태의 받침턱부가 구성된 것
    을 특징으로 하는 다기능 배관연결구.
  7. 제6항에 있어서,
    상기 패킹원반의 중심에는 하방으로 돌출된 형태의 고정돌기가 구비되고,
    상기 밀폐캡에는 상기 고정돌기가 끼워지는 돌기홈이 형성된 것
    을 특징으로 하는 다기능 배관연결구.
KR1020080091990A 2008-09-19 2008-09-19 다기능 배관연결구 Ceased KR20100033033A (ko)

Priority Applications (1)

Application Number Priority Date Filing Date Title
KR1020080091990A KR20100033033A (ko) 2008-09-19 2008-09-19 다기능 배관연결구

Applications Claiming Priority (1)

Application Number Priority Date Filing Date Title
KR1020080091990A KR20100033033A (ko) 2008-09-19 2008-09-19 다기능 배관연결구

Publications (1)

Publication Number Publication Date
KR20100033033A true KR20100033033A (ko) 2010-03-29

Family

ID=42182061

Family Applications (1)

Application Number Title Priority Date Filing Date
KR1020080091990A Ceased KR20100033033A (ko) 2008-09-19 2008-09-19 다기능 배관연결구

Country Status (1)

Country Link
KR (1) KR20100033033A (ko)

Cited By (3)

* Cited by examiner, † Cited by third party
Publication number Priority date Publication date Assignee Title
KR101107407B1 (ko) * 2010-06-24 2012-01-19 장명석 배수트랩
KR101705126B1 (ko) * 2015-12-16 2017-02-10 정진헌 집수 배수장치
KR102267896B1 (ko) * 2020-10-19 2021-06-23 성산코리아 주식회사 회전 및 높이 조절이 가능한 세면기의 트랩배관

Cited By (3)

* Cited by examiner, † Cited by third party
Publication number Priority date Publication date Assignee Title
KR101107407B1 (ko) * 2010-06-24 2012-01-19 장명석 배수트랩
KR101705126B1 (ko) * 2015-12-16 2017-02-10 정진헌 집수 배수장치
KR102267896B1 (ko) * 2020-10-19 2021-06-23 성산코리아 주식회사 회전 및 높이 조절이 가능한 세면기의 트랩배관

Similar Documents

Publication Publication Date Title
RU2632216C2 (ru) Ватерклозет
US20090173396A1 (en) One piece plumbing vent, drain pipe
WO2016185375A1 (en) Sink drain with integrated trap and removable lower cover
JP4729082B2 (ja) 公共桝用逆流防止装置及び公共桝
KR20100033033A (ko) 다기능 배관연결구
KR101674159B1 (ko) 욕조 배수장치
JP3946079B2 (ja) 排水トラップ
JP5151498B2 (ja) 浴室排水装置
KR101130162B1 (ko) 습식 싱크대 배수전의 건식 배수장치
JP6194507B2 (ja) 封水式排水トラップ
CN208996161U (zh) 马桶的环向防水结构
JP3569317B2 (ja) トラップ付き排水装置
JP2009249902A (ja) 槽体と槽体の排水器
JP2002242254A (ja) 排水トラップ
KR200292726Y1 (ko) 세면기의 배수트랩
CN110485518A (zh) 一种厨房垃圾处理器的三通排水管件
CN221798611U (zh) 带有限位螺栓槽接口的水封三通管件
CN208578107U (zh) 一种双排水口式节水水槽结构
JP2011094304A (ja) 排水トラップ装置
JP7249495B2 (ja) 目皿部材を備えた排水継手
JP2009167591A (ja) 排水トラップ
CN215166219U (zh) 一种基于水封结构的防臭下水器
CN215715795U (zh) 一种双水槽排水管组件
CN215166198U (zh) 一种水槽排水管组件
JP4795786B2 (ja) トラップ付き排水桝

Legal Events

Date Code Title Description
A201 Request for examination
PA0109 Patent application

Patent event code: PA01091R01D

Comment text: Patent Application

Patent event date: 20080919

PA0201 Request for examination
E902 Notification of reason for refusal
PE0902 Notice of grounds for rejection

Comment text: Notification of reason for refusal

Patent event date: 20100217

Patent event code: PE09021S01D

PG1501 Laying open of application
E601 Decision to refuse application
PE0601 Decision on rejection of patent

Patent event date: 20100817

Comment text: Decision to Refuse Application

Patent event code: PE06012S01D

Patent event date: 20100217

Comment text: Notification of reason for refusal

Patent event code: PE06011S01I