KR20090070602A - 처리액 공급 유닛과, 이를 이용한 기판 처리 장치 및 방법 - Google Patents
처리액 공급 유닛과, 이를 이용한 기판 처리 장치 및 방법 Download PDFInfo
- Publication number
- KR20090070602A KR20090070602A KR1020070138664A KR20070138664A KR20090070602A KR 20090070602 A KR20090070602 A KR 20090070602A KR 1020070138664 A KR1020070138664 A KR 1020070138664A KR 20070138664 A KR20070138664 A KR 20070138664A KR 20090070602 A KR20090070602 A KR 20090070602A
- Authority
- KR
- South Korea
- Prior art keywords
- organic solvent
- nozzle
- nozzles
- temperature control
- photoresist
- Prior art date
- Legal status (The legal status is an assumption and is not a legal conclusion. Google has not performed a legal analysis and makes no representation as to the accuracy of the status listed.)
- Granted
Links
Images
Classifications
-
- H—ELECTRICITY
- H01—ELECTRIC ELEMENTS
- H01L—SEMICONDUCTOR DEVICES NOT COVERED BY CLASS H10
- H01L21/00—Processes or apparatus adapted for the manufacture or treatment of semiconductor or solid state devices or of parts thereof
- H01L21/02—Manufacture or treatment of semiconductor devices or of parts thereof
- H01L21/02002—Preparing wafers
-
- G—PHYSICS
- G03—PHOTOGRAPHY; CINEMATOGRAPHY; ANALOGOUS TECHNIQUES USING WAVES OTHER THAN OPTICAL WAVES; ELECTROGRAPHY; HOLOGRAPHY
- G03F—PHOTOMECHANICAL PRODUCTION OF TEXTURED OR PATTERNED SURFACES, e.g. FOR PRINTING, FOR PROCESSING OF SEMICONDUCTOR DEVICES; MATERIALS THEREFOR; ORIGINALS THEREFOR; APPARATUS SPECIALLY ADAPTED THEREFOR
- G03F7/00—Photomechanical, e.g. photolithographic, production of textured or patterned surfaces, e.g. printing surfaces; Materials therefor, e.g. comprising photoresists; Apparatus specially adapted therefor
- G03F7/16—Coating processes; Apparatus therefor
- G03F7/162—Coating on a rotating support, e.g. using a whirler or a spinner
-
- G—PHYSICS
- G03—PHOTOGRAPHY; CINEMATOGRAPHY; ANALOGOUS TECHNIQUES USING WAVES OTHER THAN OPTICAL WAVES; ELECTROGRAPHY; HOLOGRAPHY
- G03F—PHOTOMECHANICAL PRODUCTION OF TEXTURED OR PATTERNED SURFACES, e.g. FOR PRINTING, FOR PROCESSING OF SEMICONDUCTOR DEVICES; MATERIALS THEREFOR; ORIGINALS THEREFOR; APPARATUS SPECIALLY ADAPTED THEREFOR
- G03F7/00—Photomechanical, e.g. photolithographic, production of textured or patterned surfaces, e.g. printing surfaces; Materials therefor, e.g. comprising photoresists; Apparatus specially adapted therefor
- G03F7/20—Exposure; Apparatus therefor
- G03F7/2041—Exposure; Apparatus therefor in the presence of a fluid, e.g. immersion; using fluid cooling means
-
- H—ELECTRICITY
- H01—ELECTRIC ELEMENTS
- H01L—SEMICONDUCTOR DEVICES NOT COVERED BY CLASS H10
- H01L21/00—Processes or apparatus adapted for the manufacture or treatment of semiconductor or solid state devices or of parts thereof
- H01L21/02—Manufacture or treatment of semiconductor devices or of parts thereof
- H01L21/027—Making masks on semiconductor bodies for further photolithographic processing not provided for in group H01L21/18 or H01L21/34
- H01L21/0271—Making masks on semiconductor bodies for further photolithographic processing not provided for in group H01L21/18 or H01L21/34 comprising organic layers
- H01L21/0273—Making masks on semiconductor bodies for further photolithographic processing not provided for in group H01L21/18 or H01L21/34 comprising organic layers characterised by the treatment of photoresist layers
- H01L21/0274—Photolithographic processes
-
- H—ELECTRICITY
- H01—ELECTRIC ELEMENTS
- H01L—SEMICONDUCTOR DEVICES NOT COVERED BY CLASS H10
- H01L21/00—Processes or apparatus adapted for the manufacture or treatment of semiconductor or solid state devices or of parts thereof
- H01L21/67—Apparatus specially adapted for handling semiconductor or electric solid state devices during manufacture or treatment thereof; Apparatus specially adapted for handling wafers during manufacture or treatment of semiconductor or electric solid state devices or components ; Apparatus not specifically provided for elsewhere
- H01L21/67005—Apparatus not specifically provided for elsewhere
- H01L21/67011—Apparatus for manufacture or treatment
- H01L21/6715—Apparatus for applying a liquid, a resin, an ink or the like
-
- H—ELECTRICITY
- H01—ELECTRIC ELEMENTS
- H01L—SEMICONDUCTOR DEVICES NOT COVERED BY CLASS H10
- H01L21/00—Processes or apparatus adapted for the manufacture or treatment of semiconductor or solid state devices or of parts thereof
- H01L21/67—Apparatus specially adapted for handling semiconductor or electric solid state devices during manufacture or treatment thereof; Apparatus specially adapted for handling wafers during manufacture or treatment of semiconductor or electric solid state devices or components ; Apparatus not specifically provided for elsewhere
- H01L21/67005—Apparatus not specifically provided for elsewhere
- H01L21/67242—Apparatus for monitoring, sorting or marking
- H01L21/67248—Temperature monitoring
Landscapes
- Engineering & Computer Science (AREA)
- Physics & Mathematics (AREA)
- General Physics & Mathematics (AREA)
- Condensed Matter Physics & Semiconductors (AREA)
- Manufacturing & Machinery (AREA)
- Computer Hardware Design (AREA)
- Microelectronics & Electronic Packaging (AREA)
- Power Engineering (AREA)
- Exposure Of Semiconductors, Excluding Electron Or Ion Beam Exposure (AREA)
Abstract
Description
Claims (29)
- 처리액을 토출하는 복수 개의 노즐들과;상기 복수 개의 노즐들이 장착되고, 상기 노즐들에 처리액을 공급하는 처리액 배관들이 내장된 노즐 암과;상기 노즐 암 내로 온도 조절 유체를 공급하여 상기 처리액 배관들을 통해 흐르는 처리액의 온도를 조절하는 온도 조절 부재를 포함하는 것을 특징으로 하는 처리액 공급 유닛.
- 제 1 항에 있어서,상기 온도 조절 부재는,상기 노즐 암의 몸체의 내벽과 상기 처리액 배관들 사이의 공간과 통하도록 제공되는 온도 조절 유체 배출관과;상기 몸체의 내벽과 상기 처리액 배관들 사이의 공간으로 상기 온도 조절 유체를 공급하는 온도 조절 유체 공급 라인과;상기 온도 조절 유체 배출관과 연결되는 온도 조절 유체 배출 라인을 포함하는 것을 특징으로 하는 처리액 공급 유닛.
- 제 1 항에 있어서,상기 온도 조절 부재는,상기 노즐 암 내에 상기 처리액 배관들을 감싸도록 제공되는 온도 조절 유체 공급관과;상기 노즐 암 내에 상기 온도 조절 유체 공급관을 감싸고 이와 통하도록 제공되는 온도 조절 유체 배출관과;상기 온도 조절 유체 공급관과 연결되는 온도 조절 유체 공급 라인과;상기 온도 조절 유체 배출관과 연결되는 온도 조절 유체 배출 라인을 포함하는 것을 특징으로 하는 처리액 공급 유닛.
- 제 2 항에 있어서,상기 복수 개의 노즐들은 감광액을 토출하는 감광액 노즐들을 포함하고,상기 처리액 배관들은 상기 감광액 노즐들로 감광액을 공급하는 감광액 배관들을 포함하는 것을 특징으로 하는 처리액 공급 유닛.
- 제 4 항에 있어서,상기 복수 개의 노즐들은 프리웨트(Pre-wet) 공정을 위한 유기 용제를 토출하는 유기 용제 노즐을 더 포함하고,상기 처리액 배관들은 상기 유기 용제 노즐로 유기 용제를 공급하는 유기 용제 배관을 더 포함하는 것을 특징으로 하는 처리액 공급 유닛.
- 제 5 항에 있어서,상기 처리액 공급 유닛은,유기 용제 공급원과 상기 유기 용제 배관을 연결하는 유기 용제 공급 라인과;상기 유기 용제 공급 라인 상에 설치되며, 상기 유기 용제 노즐에 음압을 작용시키는 흡입 부재를 더 포함하는 것을 특징으로 하는 처리액 공급 유닛.
- 제 2 항 또는 제 3 항에 있어서,상기 복수 개의 노즐들은,감광액을 토출하는 감광액 노즐들과;프리웨트(Pre-wet) 공정을 위한 유기 용제를 토출하는 유기 용제 노즐을 포함하는 것을 특징으로 하는 처리액 공급 유닛.
- 기판을 지지하는 기판 지지 부재와;상기 기판에 감광액을 토출하는 복수 개의 감광액 노즐들이 장착된 노즐 암과; 그리고상기 기판 지지 부재의 측부에 배치되며, 상기 노즐 암에 장착된 상기 복수 개의 노즐들이 공정 진행을 위해 대기하는 대기 포트를 포함하되,상기 대기 포트는,상부가 개방되고, 상기 복수 개의 노즐들이 수용되는 공간을 제공하는 하우징과; 그리고상기 하우징에 수용된 상기 복수 개의 감광액 노즐들에 일 대 일로 대응하도록 제공되며, 대응하는 상기 감광액 노즐들 중 선택된 감광액 노즐의 선단으로 유기 용제를 제공하는 유기 용제 공급 부재들을 포함하는 것을 특징으로 하는 기판 처리 장치.
- 제 8 항에 있어서,상기 온도 조절 부재는,상기 노즐 암의 몸체의 내벽과 상기 처리액 배관들 사이의 공간과 통하도록 제공되는 온도 조절 유체 배출관과;상기 몸체의 내벽과 상기 처리액 배관들 사이의 공간으로 상기 온도 조절 유체를 공급하는 온도 조절 유체 공급 라인과;상기 온도 조절 유체 배출관과 연결되는 온도 조절 유체 배출 라인을 포함하는 것을 특징으로 하는 기판 처리 장치.
- 제 8 항에 있어서,상기 복수 개의 노즐들은 감광액을 토출하는 감광액 노즐들을 포함하고,상기 처리액 배관들은 상기 감광액 노즐들로 감광액을 공급하는 감광액 배관들을 포함하는 것을 특징으로 하는 기판 처리 장치.
- 제 10 항에 있어서,상기 복수 개의 노즐들은 프리웨트(Pre-wet) 공정을 위한 유기 용제를 토출하는 유기 용제 노즐을 더 포함하고,상기 처리액 배관들은 상기 유기 용제 노즐로 유기 용제를 공급하는 유기 용제 배관을 더 포함하는 것을 특징으로 하는 기판 처리 장치.
- 제 11 항에 있어서,상기 기판 처리 장치는,유기 용제 공급원과 상기 유기 용제 배관을 연결하는 유기 용제 공급 라인과;상기 유기 용제 공급 라인 상에 설치되며, 상기 유기 용제 노즐에 음압을 작용시키는 흡입 부재를 더 포함하는 것을 특징으로 하는 기판 처리 장치.
- 제 8 항에 있어서,상기 복수 개의 노즐들은,감광액을 토출하는 감광액 노즐들과;프리웨트(Pre-wet) 공정을 위한 유기 용제를 토출하는 유기 용제 노즐을 포함하는 것을 특징으로 하는 기판 처리 장치.
- 제 10 항에 있어서,상기 하우징에는 상기 복수 개의 감광액 노즐들이 전부 수용되는 오목한 형 상의 노즐 수용 공간이 형성되고,상기 유기 용제 공급 부재들은 상기 감광액 노즐들의 선단으로 직접, 그리고 독립적으로 유기 용제를 공급하는 유기 용제 공급 유로들을 가지는 것을 특징으로 하는 기판 처리 장치.
- 제 14 항에 있어서,상기 하우징에는 상기 복수 개의 감광액 노즐들이 개별적으로 수용되는 오목한 형상의 다수의 노즐 수용 공간들이 형성되고,상기 유기 용제 공급 부재들은 상기 노즐 수용 공간들 각각으로 독립적으로 유기 용제를 공급하는 유기 용제 공급 유로들을 가지는 것을 특징으로 하는 기판 처리 장치.
- 제 15 항에 있어서,상기 하우징에는 상기 노즐 수용 공간들 내에 저장된 유기 용제를 배출하는 배출 라인이 형성되는 것을 특징으로 하는 기판 처리 장치.
- 제 13 항에 있어서,상기 기판 처리 장치는 상기 노즐 암에 착하며, 프리웨트(Pre-wet) 공정을 위한 유기 용제를 토출하는 유기 용제 노즐을 더 포함하고,상기 하우징에는 상기 복수 개의 감광액 노즐들 및 상기 유기 용제 노즐이 개별적으로 수용되는 오목한 형상의 다수의 노즐 수용 공간들이 형성되고,상기 유기 용제 공급 부재들은 상기 복수 개의 감광액 노즐들이 수용되는 상기 노즐 수용 공간들 각각으로 독립적으로 유기 용제를 공급하는 유기 용제 공급 유로들을 가지는 것을 특징으로 하는 기판 처리 장치.
- 제 13 항에 있어서,상기 대기 포트의 일 측에 각각 배치되며, 그리고 상기 노즐 암들에 장착된 상기 노즐들이 보관되는 공간을 제공하는 보관 포트를 더 포함하는 것을 특징으로 하는 기판 처리 장치.
- 제 18 항에 있어서,상기 노즐 암은 복수 개가 제공되고,상기 대기 포트, 그리고 상기 보관 포트는 각각의 상기 노즐 암에 대응되도록 복수 개가 제공되는 것을 특징으로 하는 기판 처리 장치.
- 제 18 항에 있어서,상기 보관 포트는,상부가 개방되고, 상기 노즐들이 수용되는 오목한 형상의 노즐 수용 공간이 형성된 하우징과;상기 노즐 수용 공간으로 유기 용제를 공급하는 유기 용제 공급 부재;를 포 함하는 것을 특징으로 하는 기판 처리 장치.
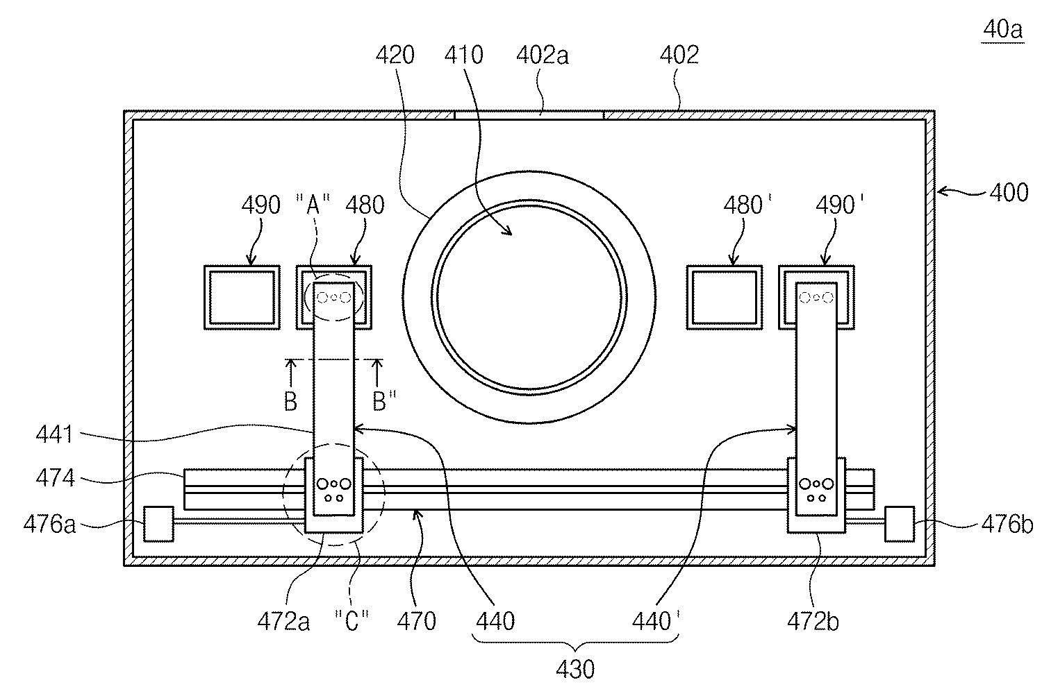
- 제 19 항에 있어서,상기 대기 포트와 상기 보관 포트는 쌍을 이루며, 상기 기판 지지 부재의 양측에 각각 한 쌍의 상기 대기 포트와 상기 보관 포트가 일렬로 나란하게 배열되고,상기 노즐 암들은 상기 대기 포트들 및 상기 보관 포트들의 배열 방향에 수직하게 상기 기판 지지 부재의 양측에 각각 제공되는 것을 특징으로 하는 기판 처리 장치.
- 제 21 항에 있어서,상기 노즐 암들에 제공된 노즐들이 상기 기판 지지 부재 상의 공정 위치, 상기 대기 포트에 제공된 공정 대기 위치, 또는 상기 보관 포트에 제공된 보관 위치에 위치하도록 상기 노즐 암들을 이동시키는 구동 부재를 더 포함하되,상기 구동 부재는,상기 노즐 암들을 각각 지지하는 노즐 암 지지 부재들과;상기 노즐 암 지지 부재들을 상기 대기 포트들과 상기 보관 포트들의 배열 방향에 평행한 방향으로 직선 왕복 운동시키는 구동기들과;상기 노즐 암 지지 부재들의 직선 운동을 안내하는 가이드 부재를 포함하는 것을 특징으로 하는 기판 처리 장치.
- 기판을 처리하는 방법에 있어서,복수 개의 감광액 노즐들이 장착된 노즐 암을 이용하여 기판에 감광액을 공급하기 위한 위치와 대기 포트 사이를 반복 이동하면서 감광액을 공급하되, 상기 대기 포트에서 상기 복수 개의 감광액 노즐들 중 공정에 사용되지 않는 감광액 노즐에는 유기용제가 공급되고, 공정에 사용되고 있는 감광액 노즐에는 유기용제가 공급되지 않는 상태에서 상기 복수 개의 감광액 노즐들이 대기하는 것을 특징으로 하는 기판 처리 방법.
- 제 23 항에 있어서,상기 대기 포트에서 상기 감광액 노즐들의 대기는,상기 대기 포트에 복수의 수용 공간을 제공하고, 상기 공정에 사용되고 있는 감광액 노즐은 유기용제가 저장되지 않은 수용 공간에서 대기하고, 상기 공정에 사용되고 있지 않은 감광액 노즐은 유기용제가 저장된 수용 공간 내에서 대기함으로써 이루어지는 것을 특징으로 하는 기판 처리 방법.
- 제 23 항에 있어서,상기 대기 포트에서 상기 감광액 노즐들의 대기는,상기 대기 포트에서 상기 감광액 노즐들 중 상기 공정에 사용되고 있지 않은 감광액 노즐로 유기용제를 분사하고, 상기 공정에 사용되고 있는 감광액 노즐로는 유기용제의 분사가 이루어지지 않은 상태에서 이루어지는 것을 특징으로 하는 기판 처리 방법.
- 제 23 항에 있어서,상기 노즐 암을 복수 개 제공하고, 공정에 사용되고 있지 않는 노즐 암은 유기용제 분위기로 유지되고 있는 보관 포트에서 보관되는 것을 특징으로 하는 기판 처리 방법.
- 제 23 항에 있어서,상기 노즐 암에는 상기 감광액 노즐로 감광액을 공급하는 복수의 감광액 배관들을 제공하고, 상기 감광액 배관을 흐르는 감광액의 온도를 설정 온도로 유지하는 온도 조절 유체를 상기 노즐 암으로 공급하되, 동일한 유로를 흐르는 상기 온도 조절 유체에 의해 상기 감광액 배관들 내 감광액의 온도 조절이 가능하도록 제공되는 것을 특징으로 하는 기판 처리 방법.
- 제 27 항에 있어서,상기 온도 조절 유체는,상기 노즐 암의 몸체의 내벽과 상기 감광액 배관들 사이의 공간을 통해 공급된 후 상기 노즐 암 내부에 제공된 온도 조절 유체 배출관을 통해 배출되는 것을 특징으로 하는 기판 처리 방법.
- 제 27 항에 있어서,상기 노즐 암에는 프리웨트(Pre-wet) 공정을 위한 유기 용제를 토출하는 유기 용제 노즐이 더 장착되고, 상기 노즐 암 내에는 상기 유기 용제 노즐로 유기 용제를 공급하는 유기 용제 배관이 더 제공되며, 상기 유기 용제 배관을 흐르는 유기 용제는 상기 동일한 유로를 통해 흐르는 온도 조절 유체에 의해 설정 온도로 유지되는 것을 특징으로 하는 기판 처리 방법.
Priority Applications (6)
| Application Number | Priority Date | Filing Date | Title |
|---|---|---|---|
| KR1020070138664A KR100941075B1 (ko) | 2007-12-27 | 2007-12-27 | 처리액 공급 유닛과, 이를 이용한 기판 처리 장치 및 방법 |
| CNA2008101723055A CN101470353A (zh) | 2007-12-27 | 2008-10-31 | 化学品液供应装置及使用该装置的基底处理装置和方法 |
| CN201210421238.2A CN102945816B (zh) | 2007-12-27 | 2008-10-31 | 基底处理装置和方法 |
| JP2008281897A JP4784944B2 (ja) | 2007-12-27 | 2008-10-31 | 処理液供給ユニットと、これを用いた基板処理装置及び方法 |
| US12/289,752 US8739729B2 (en) | 2007-12-27 | 2008-11-03 | Chemical liquid supply unit, and substrate treating apparatus and method using the same |
| TW097142564A TWI377095B (en) | 2007-12-27 | 2008-11-04 | Chemical liquid supply unit, and substrate treating apparatus and method using the same |
Applications Claiming Priority (1)
| Application Number | Priority Date | Filing Date | Title |
|---|---|---|---|
| KR1020070138664A KR100941075B1 (ko) | 2007-12-27 | 2007-12-27 | 처리액 공급 유닛과, 이를 이용한 기판 처리 장치 및 방법 |
Publications (2)
| Publication Number | Publication Date |
|---|---|
| KR20090070602A true KR20090070602A (ko) | 2009-07-01 |
| KR100941075B1 KR100941075B1 (ko) | 2010-02-09 |
Family
ID=40798791
Family Applications (1)
| Application Number | Title | Priority Date | Filing Date |
|---|---|---|---|
| KR1020070138664A Expired - Fee Related KR100941075B1 (ko) | 2007-12-27 | 2007-12-27 | 처리액 공급 유닛과, 이를 이용한 기판 처리 장치 및 방법 |
Country Status (5)
| Country | Link |
|---|---|
| US (1) | US8739729B2 (ko) |
| JP (1) | JP4784944B2 (ko) |
| KR (1) | KR100941075B1 (ko) |
| CN (2) | CN102945816B (ko) |
| TW (1) | TWI377095B (ko) |
Cited By (12)
| Publication number | Priority date | Publication date | Assignee | Title |
|---|---|---|---|---|
| KR101408788B1 (ko) * | 2010-09-01 | 2014-06-17 | 세메스 주식회사 | 기판처리장치 |
| KR20150137222A (ko) * | 2014-05-28 | 2015-12-09 | 세메스 주식회사 | 기판 처리 장치 |
| KR20160149351A (ko) | 2015-06-17 | 2016-12-28 | 세메스 주식회사 | 기판 처리 방법 및 장치 |
| KR20160149352A (ko) | 2015-06-17 | 2016-12-28 | 세메스 주식회사 | 기판 처리 방법 및 장치 |
| KR20160149353A (ko) | 2015-06-17 | 2016-12-28 | 세메스 주식회사 | 기판 처리 방법 및 장치 |
| KR20170024212A (ko) | 2015-08-24 | 2017-03-07 | 세메스 주식회사 | 기판 처리 장치 및 방법 |
| KR20170026821A (ko) * | 2015-08-28 | 2017-03-09 | 세메스 주식회사 | 기판 처리 장치 및 기판 처리 방법 |
| KR20170033563A (ko) * | 2015-09-17 | 2017-03-27 | 세메스 주식회사 | 기판 처리 장치 |
| KR20190070541A (ko) * | 2017-12-13 | 2019-06-21 | 세메스 주식회사 | 액적 도포 장치 및 액적 도포 방법 |
| KR20190120516A (ko) * | 2018-04-16 | 2019-10-24 | 세메스 주식회사 | 기판 처리 방법 및 기판 처리 장치 |
| KR20200017026A (ko) | 2018-08-08 | 2020-02-18 | 세메스 주식회사 | 액 공급 유닛, 기판 처리 장치, 그리고 기판 처리 방법 |
| KR20200017027A (ko) | 2018-08-08 | 2020-02-18 | 세메스 주식회사 | 기판 처리 장치 및 방법 |
Families Citing this family (17)
| Publication number | Priority date | Publication date | Assignee | Title |
|---|---|---|---|---|
| KR101874901B1 (ko) * | 2011-12-07 | 2018-07-06 | 삼성전자주식회사 | 기판 건조 장치 및 방법 |
| JP5783971B2 (ja) * | 2012-08-10 | 2015-09-24 | 株式会社東芝 | 塗布装置および塗布方法 |
| KR102037921B1 (ko) * | 2012-10-22 | 2019-11-26 | 세메스 주식회사 | 기판처리장치 및 방법 |
| US10395915B2 (en) | 2013-02-28 | 2019-08-27 | Semes Co., Ltd. | Nozzle assembly, substrate treatment apparatus including the nozzle assembly, and method of treating substrate using the assembly |
| KR101460272B1 (ko) * | 2013-02-28 | 2014-11-13 | 세메스 주식회사 | 노즐 어셈블리 및 이를 포함하는 기판 처리 장치, 그리고 이를 이용한 기판 처리 방법 |
| JP6077437B2 (ja) * | 2013-05-31 | 2017-02-08 | 東京エレクトロン株式会社 | 基板処理装置およびノズル洗浄方法 |
| DE102013018554A1 (de) * | 2013-11-06 | 2015-05-07 | Dürr Systems GmbH | Applikationsanlage zur Applikation eines Beschichtungsmittels |
| JP6352824B2 (ja) * | 2015-01-23 | 2018-07-04 | 東芝メモリ株式会社 | 基板処理装置、制御プログラムおよび制御方法 |
| NL2014597B1 (en) * | 2015-04-08 | 2017-01-20 | Suss Microtec Lithography Gmbh | Method and device for applying a coating to a substrate. |
| JP6737436B2 (ja) * | 2015-11-10 | 2020-08-12 | 株式会社Screenホールディングス | 膜処理ユニットおよび基板処理装置 |
| JP6473409B2 (ja) * | 2015-11-10 | 2019-02-20 | 株式会社Screenホールディングス | ノズル待機装置および基板処理装置 |
| TWI633939B (zh) * | 2016-02-26 | 2018-09-01 | 弘塑科技股份有限公司 | 製程液體供給方法及裝置 |
| KR101909188B1 (ko) * | 2016-06-24 | 2018-10-18 | 세메스 주식회사 | 기판 처리 장치 및 방법 |
| US11131931B2 (en) * | 2018-06-29 | 2021-09-28 | Taiwan Semiconductor Manufacturing Co., Ltd. | Fluidic leakage handling for semiconductor apparatus |
| CN111739823A (zh) * | 2020-06-29 | 2020-10-02 | 中国科学院微电子研究所 | 光刻胶涂布喷嘴及具有其的光刻胶涂布设备 |
| US11798800B2 (en) * | 2021-06-25 | 2023-10-24 | Taiwan Semiconductor Manufacturing Company, Ltd. | Method and apparatus for solvent recycling |
| KR102629496B1 (ko) * | 2021-12-24 | 2024-01-29 | 세메스 주식회사 | 홈 포트 및 기판 처리 장치 |
Family Cites Families (20)
| Publication number | Priority date | Publication date | Assignee | Title |
|---|---|---|---|---|
| JPS63301520A (ja) * | 1987-05-30 | 1988-12-08 | Nec Corp | フォトレジスト塗布装置 |
| US5002008A (en) * | 1988-05-27 | 1991-03-26 | Tokyo Electron Limited | Coating apparatus and method for applying a liquid to a semiconductor wafer, including selecting a nozzle in a stand-by state |
| JP3327642B2 (ja) | 1993-09-21 | 2002-09-24 | シャープ株式会社 | 仮名漢字交じり変換装置 |
| JP3227642B2 (ja) * | 1995-10-13 | 2001-11-12 | 東京エレクトロン株式会社 | 塗布装置 |
| US5849084A (en) * | 1996-06-21 | 1998-12-15 | Micron Technology, Inc. | Spin coating dispense arm assembly |
| US5938847A (en) * | 1996-09-03 | 1999-08-17 | Tokyo Electron Limited | Method and apparatus for coating a film on an object being processed |
| JP3717264B2 (ja) * | 1997-03-12 | 2005-11-16 | 大日本スクリーン製造株式会社 | 基板処理装置 |
| SG71809A1 (en) * | 1997-07-03 | 2000-04-18 | Tokyo Electron Ltd | Solution treatment apparatus |
| US6170494B1 (en) * | 1999-11-12 | 2001-01-09 | Advanced Micro Devices, Inc. | Method for automatically cleaning resist nozzle |
| KR100517547B1 (ko) * | 2001-06-27 | 2005-09-28 | 삼성전자주식회사 | 포토레지스트 도포 장비 및 이 장비를 사용한포토레지스트 도포 방법 |
| JP3872667B2 (ja) * | 2001-08-27 | 2007-01-24 | 東京エレクトロン株式会社 | 基板処理装置及びその方法 |
| US6878401B2 (en) * | 2001-09-27 | 2005-04-12 | Tokyo Electron Limited | Substrate processing method |
| JP3993496B2 (ja) * | 2001-09-27 | 2007-10-17 | 東京エレクトロン株式会社 | 基板の処理方法および塗布処理装置 |
| US7094440B2 (en) * | 2002-01-22 | 2006-08-22 | Tokyo Electron Limited | Substrate treatment method and substrate treatment apparatus |
| US6770424B2 (en) * | 2002-12-16 | 2004-08-03 | Asml Holding N.V. | Wafer track apparatus and methods for dispensing fluids with rotatable dispense arms |
| JP4216238B2 (ja) * | 2004-09-24 | 2009-01-28 | 東京エレクトロン株式会社 | 塗布処理装置及び塗布処理方法 |
| KR100611060B1 (ko) * | 2004-12-07 | 2006-08-09 | 삼성전자주식회사 | 기판 상으로 용액을 공급하기 위한 장치 |
| JP4606234B2 (ja) * | 2005-04-15 | 2011-01-05 | 東京エレクトロン株式会社 | 液処理方法及び液処理装置 |
| JP4582654B2 (ja) * | 2006-05-23 | 2010-11-17 | 東京エレクトロン株式会社 | ノズル洗浄装置、ノズル洗浄方法、ノズル洗浄プログラム、及びそのプログラムを記録したコンピュータ読み取り可能な記録媒体 |
| JP4803591B2 (ja) * | 2006-06-01 | 2011-10-26 | 東京エレクトロン株式会社 | 溶剤供給方法 |
-
2007
- 2007-12-27 KR KR1020070138664A patent/KR100941075B1/ko not_active Expired - Fee Related
-
2008
- 2008-10-31 CN CN201210421238.2A patent/CN102945816B/zh active Active
- 2008-10-31 CN CNA2008101723055A patent/CN101470353A/zh active Pending
- 2008-10-31 JP JP2008281897A patent/JP4784944B2/ja active Active
- 2008-11-03 US US12/289,752 patent/US8739729B2/en active Active
- 2008-11-04 TW TW097142564A patent/TWI377095B/zh not_active IP Right Cessation
Cited By (12)
| Publication number | Priority date | Publication date | Assignee | Title |
|---|---|---|---|---|
| KR101408788B1 (ko) * | 2010-09-01 | 2014-06-17 | 세메스 주식회사 | 기판처리장치 |
| KR20150137222A (ko) * | 2014-05-28 | 2015-12-09 | 세메스 주식회사 | 기판 처리 장치 |
| KR20160149351A (ko) | 2015-06-17 | 2016-12-28 | 세메스 주식회사 | 기판 처리 방법 및 장치 |
| KR20160149352A (ko) | 2015-06-17 | 2016-12-28 | 세메스 주식회사 | 기판 처리 방법 및 장치 |
| KR20160149353A (ko) | 2015-06-17 | 2016-12-28 | 세메스 주식회사 | 기판 처리 방법 및 장치 |
| KR20170024212A (ko) | 2015-08-24 | 2017-03-07 | 세메스 주식회사 | 기판 처리 장치 및 방법 |
| KR20170026821A (ko) * | 2015-08-28 | 2017-03-09 | 세메스 주식회사 | 기판 처리 장치 및 기판 처리 방법 |
| KR20170033563A (ko) * | 2015-09-17 | 2017-03-27 | 세메스 주식회사 | 기판 처리 장치 |
| KR20190070541A (ko) * | 2017-12-13 | 2019-06-21 | 세메스 주식회사 | 액적 도포 장치 및 액적 도포 방법 |
| KR20190120516A (ko) * | 2018-04-16 | 2019-10-24 | 세메스 주식회사 | 기판 처리 방법 및 기판 처리 장치 |
| KR20200017026A (ko) | 2018-08-08 | 2020-02-18 | 세메스 주식회사 | 액 공급 유닛, 기판 처리 장치, 그리고 기판 처리 방법 |
| KR20200017027A (ko) | 2018-08-08 | 2020-02-18 | 세메스 주식회사 | 기판 처리 장치 및 방법 |
Also Published As
| Publication number | Publication date |
|---|---|
| TWI377095B (en) | 2012-11-21 |
| US20090169758A1 (en) | 2009-07-02 |
| JP2009158924A (ja) | 2009-07-16 |
| US8739729B2 (en) | 2014-06-03 |
| KR100941075B1 (ko) | 2010-02-09 |
| JP4784944B2 (ja) | 2011-10-05 |
| CN102945816B (zh) | 2015-10-14 |
| TW200930466A (en) | 2009-07-16 |
| CN102945816A (zh) | 2013-02-27 |
| CN101470353A (zh) | 2009-07-01 |
Similar Documents
| Publication | Publication Date | Title |
|---|---|---|
| KR100941075B1 (ko) | 처리액 공급 유닛과, 이를 이용한 기판 처리 장치 및 방법 | |
| KR101036592B1 (ko) | 처리액 공급 유닛과, 이를 이용한 기판 처리 장치 | |
| CN108803257B (zh) | 液体供应单元、基板处理装置以及基板处理方法 | |
| US7838801B2 (en) | Heating apparatus, heating method, coating apparatus, and storage medium | |
| CN100336173C (zh) | 基板处理装置 | |
| US7661894B2 (en) | Coating and developing apparatus, and coating and developing method | |
| US6258167B1 (en) | Process liquid film forming apparatus | |
| JP2003324049A5 (ko) | ||
| US20100093183A1 (en) | Unit for supplying chemical liquid and apparatus and method for treating substrate using the same | |
| CN109285798B (zh) | 基板处理设备及基板处理方法 | |
| KR20210034337A (ko) | 기판 반송 로봇 | |
| KR20210054104A (ko) | 기판 처리 장치 및 방법 | |
| KR102279718B1 (ko) | 기판 처리 장치 | |
| KR20200017027A (ko) | 기판 처리 장치 및 방법 | |
| KR20200022624A (ko) | 기판 처리 장치 및 기판 처리 방법 | |
| KR20170024211A (ko) | 기판 지지 유닛, 기판 처리 장치, 그리고 기판 처리 방법 | |
| JP3688976B2 (ja) | 処理液吐出装置 | |
| US20090023297A1 (en) | Method and apparatus for hmds treatment of substrate edges | |
| KR20210054647A (ko) | 기판 처리 장치 및 방법 | |
| US20240184208A1 (en) | Substrate processing apparatus and substrate processing method | |
| KR102765220B1 (ko) | 기판 처리 장치 및 방법 | |
| KR102298086B1 (ko) | 가스 공급 유닛 및 방법, 그리고 기판 처리 장치 및 방법 | |
| TW202544890A (zh) | 基板處理系統及基板處理方法 | |
| JP3571563B2 (ja) | 基板処理装置 | |
| KR20200017026A (ko) | 액 공급 유닛, 기판 처리 장치, 그리고 기판 처리 방법 |
Legal Events
| Date | Code | Title | Description |
|---|---|---|---|
| A201 | Request for examination | ||
| PA0109 | Patent application |
St.27 status event code: A-0-1-A10-A12-nap-PA0109 |
|
| PA0201 | Request for examination |
St.27 status event code: A-1-2-D10-D11-exm-PA0201 |
|
| R18-X000 | Changes to party contact information recorded |
St.27 status event code: A-3-3-R10-R18-oth-X000 |
|
| R18-X000 | Changes to party contact information recorded |
St.27 status event code: A-3-3-R10-R18-oth-X000 |
|
| D13-X000 | Search requested |
St.27 status event code: A-1-2-D10-D13-srh-X000 |
|
| D14-X000 | Search report completed |
St.27 status event code: A-1-2-D10-D14-srh-X000 |
|
| E902 | Notification of reason for refusal | ||
| PE0902 | Notice of grounds for rejection |
St.27 status event code: A-1-2-D10-D21-exm-PE0902 |
|
| PG1501 | Laying open of application |
St.27 status event code: A-1-1-Q10-Q12-nap-PG1501 |
|
| T11-X000 | Administrative time limit extension requested |
St.27 status event code: U-3-3-T10-T11-oth-X000 |
|
| T11-X000 | Administrative time limit extension requested |
St.27 status event code: U-3-3-T10-T11-oth-X000 |
|
| E13-X000 | Pre-grant limitation requested |
St.27 status event code: A-2-3-E10-E13-lim-X000 |
|
| P11-X000 | Amendment of application requested |
St.27 status event code: A-2-2-P10-P11-nap-X000 |
|
| P13-X000 | Application amended |
St.27 status event code: A-2-2-P10-P13-nap-X000 |
|
| R18-X000 | Changes to party contact information recorded |
St.27 status event code: A-3-3-R10-R18-oth-X000 |
|
| E701 | Decision to grant or registration of patent right | ||
| PE0701 | Decision of registration |
St.27 status event code: A-1-2-D10-D22-exm-PE0701 |
|
| GRNT | Written decision to grant | ||
| PR0701 | Registration of establishment |
St.27 status event code: A-2-4-F10-F11-exm-PR0701 |
|
| PR1002 | Payment of registration fee |
St.27 status event code: A-2-2-U10-U11-oth-PR1002 Fee payment year number: 1 |
|
| PG1601 | Publication of registration |
St.27 status event code: A-4-4-Q10-Q13-nap-PG1601 |
|
| PN2301 | Change of applicant |
St.27 status event code: A-5-5-R10-R13-asn-PN2301 St.27 status event code: A-5-5-R10-R11-asn-PN2301 |
|
| FPAY | Annual fee payment |
Payment date: 20130204 Year of fee payment: 4 |
|
| PR1001 | Payment of annual fee |
St.27 status event code: A-4-4-U10-U11-oth-PR1001 Fee payment year number: 4 |
|
| R18-X000 | Changes to party contact information recorded |
St.27 status event code: A-5-5-R10-R18-oth-X000 |
|
| FPAY | Annual fee payment |
Payment date: 20140203 Year of fee payment: 5 |
|
| PR1001 | Payment of annual fee |
St.27 status event code: A-4-4-U10-U11-oth-PR1001 Fee payment year number: 5 |
|
| FPAY | Annual fee payment |
Payment date: 20150203 Year of fee payment: 6 |
|
| PR1001 | Payment of annual fee |
St.27 status event code: A-4-4-U10-U11-oth-PR1001 Fee payment year number: 6 |
|
| LAPS | Lapse due to unpaid annual fee | ||
| PC1903 | Unpaid annual fee |
St.27 status event code: A-4-4-U10-U13-oth-PC1903 Not in force date: 20160202 Payment event data comment text: Termination Category : DEFAULT_OF_REGISTRATION_FEE |
|
| PC1903 | Unpaid annual fee |
St.27 status event code: N-4-6-H10-H13-oth-PC1903 Ip right cessation event data comment text: Termination Category : DEFAULT_OF_REGISTRATION_FEE Not in force date: 20160202 |
|
| PN2301 | Change of applicant |
St.27 status event code: A-5-5-R10-R13-asn-PN2301 St.27 status event code: A-5-5-R10-R11-asn-PN2301 |
|
| R18-X000 | Changes to party contact information recorded |
St.27 status event code: A-5-5-R10-R18-oth-X000 |
|
| PN2301 | Change of applicant |
St.27 status event code: A-5-5-R10-R13-asn-PN2301 St.27 status event code: A-5-5-R10-R11-asn-PN2301 |
