KR20090020082A - 사면안정용 텐션 소일네일 및 이를 이용한 콘크리트블록의시공방법 - Google Patents

사면안정용 텐션 소일네일 및 이를 이용한 콘크리트블록의시공방법 Download PDF

Info

Publication number
KR20090020082A
KR20090020082A KR1020070084513A KR20070084513A KR20090020082A KR 20090020082 A KR20090020082 A KR 20090020082A KR 1020070084513 A KR1020070084513 A KR 1020070084513A KR 20070084513 A KR20070084513 A KR 20070084513A KR 20090020082 A KR20090020082 A KR 20090020082A
Authority
KR
South Korea
Prior art keywords
tension
nail
steel wire
concrete block
concrete
Prior art date
Legal status (The legal status is an assumption and is not a legal conclusion. Google has not performed a legal analysis and makes no representation as to the accuracy of the status listed.)
Ceased
Application number
KR1020070084513A
Other languages
English (en)
Inventor
박주석
이준근
Original Assignee
(주) 공인건설
주식회사 피아이에이
Priority date (The priority date is an assumption and is not a legal conclusion. Google has not performed a legal analysis and makes no representation as to the accuracy of the date listed.)
Filing date
Publication date
Application filed by (주) 공인건설, 주식회사 피아이에이 filed Critical (주) 공인건설
Priority to KR1020070084513A priority Critical patent/KR20090020082A/ko
Publication of KR20090020082A publication Critical patent/KR20090020082A/ko
Ceased legal-status Critical Current

Links

Images

Classifications

    • EFIXED CONSTRUCTIONS
    • E02HYDRAULIC ENGINEERING; FOUNDATIONS; SOIL SHIFTING
    • E02BHYDRAULIC ENGINEERING
    • E02B3/00Engineering works in connection with control or use of streams, rivers, coasts, or other marine sites; Sealings or joints for engineering works in general
    • E02B3/04Structures or apparatus for, or methods of, protecting banks, coasts, or harbours
    • E02B3/12Revetment of banks, dams, watercourses, or the like, e.g. the sea-floor
    • EFIXED CONSTRUCTIONS
    • E02HYDRAULIC ENGINEERING; FOUNDATIONS; SOIL SHIFTING
    • E02DFOUNDATIONS; EXCAVATIONS; EMBANKMENTS; UNDERGROUND OR UNDERWATER STRUCTURES
    • E02D17/00Excavations; Bordering of excavations; Making embankments
    • E02D17/20Securing of slopes or inclines
    • EFIXED CONSTRUCTIONS
    • E02HYDRAULIC ENGINEERING; FOUNDATIONS; SOIL SHIFTING
    • E02DFOUNDATIONS; EXCAVATIONS; EMBANKMENTS; UNDERGROUND OR UNDERWATER STRUCTURES
    • E02D29/00Independent underground or underwater structures; Retaining walls
    • E02D29/02Retaining or protecting walls
    • E02D29/0225Retaining or protecting walls comprising retention means in the backfill
    • E02D29/0233Retaining or protecting walls comprising retention means in the backfill the retention means being anchors
    • EFIXED CONSTRUCTIONS
    • E02HYDRAULIC ENGINEERING; FOUNDATIONS; SOIL SHIFTING
    • E02DFOUNDATIONS; EXCAVATIONS; EMBANKMENTS; UNDERGROUND OR UNDERWATER STRUCTURES
    • E02D3/00Improving or preserving soil or rock, e.g. preserving permafrost soil
    • E02D3/12Consolidating by placing solidifying or pore-filling substances in the soil
    • EFIXED CONSTRUCTIONS
    • E02HYDRAULIC ENGINEERING; FOUNDATIONS; SOIL SHIFTING
    • E02DFOUNDATIONS; EXCAVATIONS; EMBANKMENTS; UNDERGROUND OR UNDERWATER STRUCTURES
    • E02D2600/00Miscellaneous
    • E02D2600/30Miscellaneous comprising anchoring details
    • EFIXED CONSTRUCTIONS
    • E02HYDRAULIC ENGINEERING; FOUNDATIONS; SOIL SHIFTING
    • E02DFOUNDATIONS; EXCAVATIONS; EMBANKMENTS; UNDERGROUND OR UNDERWATER STRUCTURES
    • E02D2600/00Miscellaneous
    • E02D2600/40Miscellaneous comprising stabilising elements

Landscapes

  • Engineering & Computer Science (AREA)
  • General Engineering & Computer Science (AREA)
  • Structural Engineering (AREA)
  • Mining & Mineral Resources (AREA)
  • Life Sciences & Earth Sciences (AREA)
  • Civil Engineering (AREA)
  • Environmental & Geological Engineering (AREA)
  • General Life Sciences & Earth Sciences (AREA)
  • Paleontology (AREA)
  • Soil Sciences (AREA)
  • Agronomy & Crop Science (AREA)
  • Ocean & Marine Engineering (AREA)
  • Mechanical Engineering (AREA)
  • Pit Excavations, Shoring, Fill Or Stabilisation Of Slopes (AREA)

Abstract

본 발명은 사면안정용 텐션 소일네일 및 이를 이용한 콘크리트블록의 시공방법에 관한 것으로서, 네일(보강재)의 한쪽끝단엔 하부고정부재가 고정되고 다른 한쪽끝단엔 전면지압판재가 아이너트에 의해 체결 설치되되 전면지압판재에서 하부고정부재에 이르기까지 텐션을 부여하기 위해 연결 설치된 강선을 포함하며, 상기 네일(보강재)의 끝단에 인장재가 연결되되 상기 인장재의 한쪽끝단은 네일과 아이너트로 체결되고 다른 한쪽끝단은 적층된 콘크리트블록상의 블록결속용 바에다 걸 수 있는 걸고리를 갖는 턴버클이 마련됨을 특징으로 한다.
따라서 본 발명은 절취사면이 기존의 단순한 소일네일에 비해 보다 강력하게 텐션 소일네일로 지반보강이 이뤄지며, 이로 인하여 텐션 소일네일의 간격을 넓힐 수 있어 그 시공개수를 줄이면서 적층한 콘크리트블록을 확실하게 고정하여 무너짐을 방지할 수 있는 것이다.
사면안정, 텐션 소일네일, 강선, 콘크리트블록, 턴버클

Description

사면안정용 텐션 소일네일 및 이를 이용한 콘크리트블록의 시공방법{TENSION SOIL NAIL FOR SLOPE STABILITY AND CONSTRUCTION METHOD OF PRECAST CONCRETE BLOCK USING THE SAME}
본 발명은 사면안정용 텐션 소일네일 및 이를 이용한 콘크리트블록의 시공방법에 관한 것으로서, 더욱 상세하게는, 콘크리트블록을 시공하고자 하는 형상대로 마련한 절취사면에 텐션 소일네일을 시공하고, 기초콘크리트 위에 콘크리트블록을 적층하되 상기 콘크리트블록들을 텐션 소일네일과 강선으로 연결설치한 후 절취사면과 콘크리트블록 사이에 토사를 채워 넣고 다진 다음, 강선을 긴장시켜 텐션을 부여한 상태로 고정함으로써 콘크리트블록이 다짐된 토사를 더욱 가압하는 토류벽 역할로 더욱 강력한 지반보강을 꾀하고 이로 인하여 적층한 콘크리트블록의 확실하게 고정하여 무너짐을 방지할 수 있는 사면안정용 텐션 소일네일 및 이를 이용한 콘크리트블록의 시공방법에 관한 것이다.
통상, 주택가나 대단위 아파트단지가 경사지에 시공된 경우에는 그 주변을 좋은 환경으로 꾸미기 위하여 절취사면에 자연석(기암괴석 포함), 4변이 가로 44㎝, 세로 39㎝, 높이 22㎝ 정도인 장방형의 콘크리트블록이나 4변이 1~1.5m인 콘크리트패널 등을 이용하여 쌓고 이들의 무너짐을 방지하도록 고정시키고 그 배면에 토사나 콘크리트 등을 채우는 뒷채움 작업으로 마무리하고 있다.
상기한 시공방법에서 콘크리트블록의 시공은 기존의 소일네일에다가 콘크리트블록을 결합 고정시키는 방법, 다시 말해서, 소정각도로 절취하여 깎아낸 절취사면에 네일(보강재)을 이용하여 지반보강을 하면서 네일의 끝단과 콘크리트블록을 고정시키는 방법으로 구축하고 있다.
상기와 같이 네일(보강재)을 이용하여 콘크리트블록을 구축하는 시공 방법이 대한민국 특허 제10-0372821호에 개시되어 있는데, 그 특징은 절취사면을 보강하는 방법에 있어서, a) 상단부로부터 일정한 깊이만큼 절취한 후 그 절취된 사면에 로커로 네일링하고, b) 절토부위의 최 하측에 사면에서 일정한 거리를 두고 최하부측 윤곽을 따라 터파기를 한 후 그 곳에 기초콘크리트를 포설하고, c) 상기 기초콘크리트 위에 블록을 쌓아 올리되 매 일정한 간격마다 관통홀에 보강판이 삽착된 블록을 배설하여 상기 로커를 상기 블록의 관통홀으로 관통시켜 블록의 전면에서 상기 보강판과 로커를 너트로 지지시키고, d) 이후 상기의 과정을 반복하여 원하는 높이의 구조물을 사면 둘레에 형성함으로써 절취사면을 안정화시키는 것이었다.
상기와 같은 구성으로 된 특허에 있어서는, 로커의 네일링을 위한 천공홀이 수평으로 천공되어있어 상기 천공홀에 시멘트밀크나 시멘트몰탈을 주입시 흘러나오기 쉽고 이로 인하여 천공홀 내부에 공간 없이 채움이 어려운바 제대로의 구근이 형성된 네일링을 확보할 수 없었으며, 결국 절취사면에 대하여 확보하고자하는 설계치대로의 지반보강효과를 얻을 수 없다는 문제점이 있었다.
따라서 이러한 문제점을 해결하기 위한 대책으로 그라우트주입방식을 가압형으로 채택하여야 하는 등의 방안이 강구되어야 했고 이로 인한 시공의 어려움과 시공비가 증대되기 쉽다는 문제점이 있었다.
또한 적층된 블록 중에서 일정간격마다 로커가 관통된 블록을 배치하고 그 전면에 보강판과 로커를 너트로 고정시키는 것이어서 로커가 관통된 블록만이 지지되는 것 일뿐 그 이외의 다수 블록들은 자중에 의해 단순 적층된 것이며, 이로 인하여 약간의 빗물이라든가 장기간동안 점차로 지반의 침하가 발생되면 블록이 쉽게 붕괴될 가능성을 내포하고 있다.
본 발명은 상기와 같은 종래의 제반 문제점을 해결하기 위해 연구 개발한 것으로서, 그 목적은, 절취사면에 하향경사지게 텐션 소일네일을 시공하고 절취사면의 전방에 블록결속용 바를 이용하여 서로 결속되도록 콘크리트블록을 적층 시공한 다음, 상기 절취사면과 콘크리트블록 사이의 공간에 토사 등의 채움재를 채워 다진 후 상기 텐션 소일네일 끝단의 아이너트로부터 연장된 강선을 콘크리트블록의 블록결속용 바에 연결하고 긴장시켜 텐션을 부여함으로써 절취사면이 기존의 단순한 소일네일에 비해 보다 강력하게 텐션 소일네일로 지반보강이 이뤄지며, 이로 인하여 텐션 소일네일의 간격을 넓힐 수 있어 그 시공개수를 줄이면서 적층한 콘크리트블록을 확실하게 고정하여 무너짐을 방지할 수 있도록 하는 사면안정용 텐션 소일네일을 이용한 콘크리트블록의 시공방법을 제공하는데 있다.
특히, 본 발명은 절취사면과 콘크리트블록 사이에 토사를 채워 넣고 다진 후 텐션 소일네일 끝단의 아이너트에서 적층 콘크리트블록을 횡단하여 설치된 블록결속용 바에 이르기까지 턴버클을 갖는 와이어 또는 강선을 연결하고 강선의 턴버클을 이용하여 긴장시켜 텐션을 부여함으로써 콘크리트블록이 다짐된 토사를 더욱 가압하는 토류벽 역할을 하여 더욱 강력한 지반보강이 이뤄지도록 하는 사면안정용 텐션 소일네일 및 이를 이용한 콘크리트블록의 시공방법을 제공하는데 있다.
상기와 같은 목적을 달성하기 위한 본 발명에 따른 사면안정용 텐션 소일네일은 네일(보강재)의 한쪽끝단엔 하부고정부재가 고정되고 다른 한쪽끝단엔 전면지압판재가 아이너트에 의해 체결·고정시키되 전면지압판재에서 하부고정부재에 이르기까지 텐션을 부여하기 위해 연결 설치된 강선을 포함하며, 상기 네일(보강재)의 끝단에 와이어나 강선인 인장재가 연결되되 상기 인장재의 한쪽끝단은 네일(보강재)의 아이너트에 체결되고 다른 한쪽끝단은 적층된 콘크리트블록상의 블록결속용 바에다 걸 수 있는 걸고리를 갖는 턴버클이 마련됨을 특징으로 한다.
본 발명의 사면안정용 텐션 소일네일에 있어서, 상기 인장재는 콘크리트블록에 설치된 블록결속용 바의 여러 곳에다 분산시켜 걸 수 있도록 하나의 아이너트에 2개 이상을 연결하여 사용하여도 무방하다.
본 발명의 사면안정용 텐션 소일네일에 있어서, 상기 강선은 전면지압판재로부터 하부고정부재를 통해 다시 전면지압판재로 되돌아오기까지 하나의 강선으로 끊어짐 없이 연장됨이 바람직하다.
본 발명의 사면안정용 텐션 소일네일에 있어서, 상기 하부고정부재는 파이프 끝단외면과 체결을 위한 암나사가 형성되고 파이프의 외측으로 강선이 관통되도록 강선관통공이 형성되면서 중앙에 그라우팅재주입공이 형성된 캡형으로 마련됨이 바람직하다.
또한 본 발명의 사면안정용 텐션 소일네일에 있어서, 상기 전면지압판재는 파이프 및 강선이 관통되는 장방형홀로 형성함이 바람직하다. 상기 전면지압판재에다가 전면지압판재와 접하여 설치되어 파이프의 외측에 강선이 설치되는 웨지홀을 갖는 정착몸체와, 이 정착몸체의 웨지홀에 삽입되어 강선을 파지하는 웨지를 더 부가한 상부고정부재가 마련된다.
그리고 본 발명에 따른 사면안정용 텐션 소일네일을 이용한 콘크리트블록의 시공방법은, 콘크리트블록을 시공하고자 하는 형상대로 절취사면을 마련하는 제1단계, 상기 절취사면에 소정간격으로 다수의 네일 설치용 천공홀을 하향경사지게 천공하는 제2단계, 상기 네일 설치용 천공홀에 텐션 소일네일을 삽입하여 시멘트몰탈이나 시멘트밀크를 주입 양생시킨 후 상기 네일 설치용 천공홀 입구의 텐션 소일네일에 전면지압판재를 시공하는 제3단계, 상기 절취사면 하단에 시공한 기초콘크리트 위에 콘크리트블록을 적층하되 서로 이웃하여 적층되는 콘크리트블록들을 블록결속용 바로 결속시키면서 복수의 층으로 콘크리트블록을 적층하는 제4단계, 상기 절취사면과 콘크리트블록 사이의 공간에 시멘트몰탈이나 토사 등의 채움재를 채워 다지는 제5단계, 상기 텐션 소일네일 끝단에 와이어 한쪽끝단의 아이너트를 체결하고 다른 한쪽끝단의 걸고리를 콘크리트블록 상부의 블록결속용 바에 걸은 후 턴버클을 이용하여 와이어 또는 강선인 인장재를 긴장시키는 제6단계로 되는 것을 특징으로 한다.
본 발명의 사면안정용 텐션 소일네일을 이용한 콘크리트블록의 시공방법에 있어서, 상기 텐션 소일네일을 시공하는 제3단계에서 전면지압판재로부터 하부고정부재를 거쳐 다시 전면지압판재로 되돌아와 전면지압판재에서 1가닥의 강선 양단을 고정시키거나, 전면지압판재에서 하부고정부재에 이르기까지 각각 1가닥의 강선 양쪽끝단을 고정시키는 킴이 바람직하다.
이상에서 설명한 바와 같이, 본 발명에 따른 텐션 소일네일을 이용한 콘크리트블록의 시공방법은, 콘크리트블록을 시공하고자 하는 형상대로 절취사면을 마련한 후 이 절취사면에 하향경사지게 텐션 소일네일을 시공하고, 기초콘크리트 위에서 블록결속용 바에 의해 서로 결속되도록 콘크리트블록을 적층 시공한 다음, 절취사면과 콘크리트블록 사이의 공간에 토사 등의 채움재를 채워다진 후, 상기 텐션 소일네일 끝단의 아이너트로부터 연장된 강선을 콘크리트블록의 블록결속용 바에 연결하고 긴장시켜 텐션을 부여함으로써 절취사면이 기존의 단순한 소일네일에 비해 보다 강력하게 텐션 소일네일로 지반보강이 이뤄지며, 이로 인하여 텐션 소일네일의 간격을 넓힐 수 있어 그 시공개수를 줄이면서 적층한 콘크리트블록을 확실하게 고정하여 무너짐을 방지할 수 있는 효과를 갖는다.
특히, 본 발명은 절취사면과 콘크리트블록 사이에 토사를 채워 넣고 다진 후 텐션 소일네일 끝단의 아이너트에서 적층 콘크리트블록을 횡단하여 설치된 블록결속용 바에 이르기까지 턴버클을 갖는 와이어 또는 강선을 체결·고정하고 강선의 턴버클을 이용하여 긴장시켜 텐션을 부여함으로써 콘크리트블록이 다짐된 토사를 더욱 가압하는 토류벽 역할을 하여 더욱 강력한 지반보강이 이뤄지는 효과를 갖는다.
이하, 본 발명의 사면안정용 텐션 소일네일 및 이를 이용한 콘크리트블록 시공방법에 대하여 상세하게 설명하고자 한다.
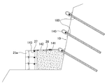
도 1은 본 발명에 따른 콘크리트블록의 시공방법에 사용되는 일실시예의 사면안정용 텐션 소일네일을 나타낸 분해사시도이고, 도 2는 도 1의 사면안정용 텐션 소일네일을 이용하여 콘크리트블록을 시공한 상태의 횡단면도이다.
도면에 나타낸 바와 같이, 본 발명의 사면안정용 텐션 소일네일(100)은 보강재인 네일이 파이프(110)로 마련되어 있으며, 상기 파이프(110)의 한쪽끝단엔 하부고정부재(120)가 체결 고정되어있고 다른 한쪽끝단엔 전면지압판재(131)가 아이너트(140)에 의해 지지되어있다.
강선(150)은 상기 전면지압판재(131)로부터 하부고정부재(120)에 이르기까지 텐션을 부여하여 고정시키기 위한 것이며, 상기 강선(150)은 양단부분을 제외한 전체에 걸쳐 외피(151)가 씌워지되 이 외피(151)는 강선(150)에 텐션을 부여하기 위해 신장하거나 끼움이 용이하도록 강선(150)이 그 길이방향으로의 유동을 허용할 수 있어야 한다.
상기 하부고정부재(120)는 파이프(110) 끝단외면과 체결을 위한 암나사(121)가 형성되고 파이프(110)의 외측으로 강선(150)이 안내되도록 강선관통공(122)이 형성되면서 중앙에 그라우팅재주입공(123)이 형성된 캡형으로 마련되어 있다.
상기 전면지압판재(131)는 파이프(110) 및 강선(150)이 관통되도록 각각 원형홀(132,133)을 마련한 판재이다.
상부고정부재(170)는 상기 전면지압판재(131)에다가 전면지압판재(131)와 접 하여 설치되어 파이프(110)의 외측에 강선(150)이 설치되는 웨지홀(174)을 갖는 정착몸체(173)와, 이 정착몸체(173)의 웨지홀(174)에 삽입되어 강선(150)을 파지하는 웨지(175)로 구성된다.
상기 파이프(110)는 강관으로 마련함이 바람직하나 비철금속관이나 섬유강화플라스틱(FRP: fiber reinforced plastics)파이프 등으로 마련할 수도 있다. 상기 보강재인 네일이 파이프로 마련된 경우에 대해서만 도시하고 설명하였으나 강봉이나 이형강봉(철근) 등으로 마련할 수 있으며, 이렇게 보강재를 이형강봉으로 선택하여 시공하는 경우에는 전면지압판재로부터 하부고정부재에 이르기까지 그라우트호스를 마련하여야 한다.
상기 전면지압판재(131)와 하부고정부재(120) 사이의 파이프(110)에는 파이프(110) 외측에 강선(150)이 설치되는 경우 강선(150)을 지지하는 복수개의 간격유지부재(165)가 설치되어 있다.
그리고 상기 강선(150)은 첨부도면과 같이 전면지압판재(131)로부터 하부고정부재(120)를 거쳐 전면지압판재(131)로 되돌아오는 1가닥으로 된 강선(150) 양단을 고정시키는 것으로만 도시하고 설명하였으나, 2가닥의 강선을 이용하되 한쪽끝단은 하부고정부재에서 정착하고 이로부터 전면지압판재에서 강선의 다른 한쪽끝단을 고정시킬 수 있음은 당연하다 할 것이다.
상기 파이프(110)의 끝단에 체결된 아이너트(140)에는 하나의 와이어나 강선인 인장재(141)가 연결되어 있으며, 상기 인장재(141)의 끝단에는 적층된 콘크리트블록(25a)상의 블록결속용 바(27)에다 걸 수 있는 걸고리(143)를 갖는 턴버클(142) 이 마련되어 있다.
상기 인장재(141)는 아이너트(140)에 하나만을 연결한 것으로만 도시하고 설명하였으나 콘크리트블록(25a)에 설치된 블록결속용 바(27)의 여러 곳에다 분산시켜 걸 수 있도록 하나의 아이너트(140)에 2개 이상의 인장재(141)를 연결하여 사용할 수도 있다.
상기 콘크리트블록(25)은 도 3a 및 도 3b에 나타낸 바와 같이, 정면은 넓고 배면은 좁은 형상으로서 표준형과 마감형으로 구분된다. 상기 표준형 콘크리트블록(25a)은 대략 그 가로 × 세로 × 높이가 39㎝ × 44㎝ × 22㎝정도로서 중앙이 비어 있으며, 상면에 결속용 바(27)가 안착되는 바설치홈(251)이 세로방향으로 길게 형성되어 있으며, 상하로 적층되는 표준형 콘크리트블록(25a)들을 안착시키기 위한 결합핀(253)을 갖는 커넥터(252)가 돌출되어 있고 바닥에는 상면의 결합핀(253)을 수용하는 형상의 결합핀홈(254)이 형성되어 있다.
상기 마감형 콘크리트블록(25b)은 상기 표준형 콘크리트블록을 덮는 장방형이면서 그 높이가 10㎝인 납작한 판재형상이고 그 저면에는 상기 콘크리트블록들의 상면에 형성된 결합핀(252)을 수용하는 결합핀홈(254)이 형성되어 있다.
상기와 같이 구성된 본 발명에 따른 사면안정용 텐션 소일네일을 이용하여 콘크리트블록의 구축 과정에 대하여 상세하게 설명하여 본다.
먼저, 도 4a와 같이 지반에 콘크리트블록을 시공하고자 하는 형상대로 절취사면(10)을 마련하되, 굴착장비의 하나인 포크 레인(21) 등을 이용하여 대략 1.5~3M 정도의 높이까지 깎아낸다. 이렇게 얻은 지반의 절취사면(10)에 도 4b와 같 이 천공장비인 천공기(22)를 이용하여 하향경사지게 네일 설치용 천공홀(12)을 천공하고, 이어서 도 4c와 같이 상기 절취사면(10)의 네일 설치용 천공홀(12)에 사면안정용 텐션 소일네일(100)을 삽입 시공까지 완료한다.
상기에서 사면안정용 텐션 소일네일(100)을 시공하는 과정은, 도 4c와 같이, 절취사면(10)의 네일 설치용 천공홀(12)에 파이프(110)를 삽입하되, 사면안정용 텐션 소일네일(100)에서 전면지압판재(131)를 갖지 않는 상태에서 하부고정부재(120)가 지중으로 삽입되도록 한 후, 파이프(110)의 끝단에 그라우트호스를 연결하고 상기 그라우트호스를 통하여 파이프(110)내면으로 시멘트밀크나 시멘트몰탈인 그라우팅재를 주입하여 양생시킨다. 이때, 사면안정용 텐션 소일네일(100)의 강선(150)은 부식을 방지하기 위하여 외피가 씌워져 있는 것이 바람직하다.
이후에 네일 설치용 천공홀(12)의 입구부분에서 사면안정용 텐션 소일네일(100)의 파이프(110)와 강선(150)이 전면지압판재(131)의 원형홀(132,133)을 관통하여 돌출되게 설치한 다음, 상기 파이프(110) 끝단에 아이너트(140)를 가체결하고, 강선(150)의 끝단에 정착몸체(173)와 웨지(175)로 된 상부고정부재(170)를 가설한다.
상기 강선(150)의 끝단부분에 인장기구(도시되지 않음)를 설치하여 소정의 인장력으로 강선(150)을 인장함으로써 강선(150)에 소정의 텐션을 부여한 상태로 정착시킨 후, 강선(150)으로부터 인장기구를 제거하고 상부고정부재(170)로부터 연장된 강선(150)을 절단하여 마무리한다.
이후에는 도 4d와 같이, 절취사면(10) 하단의 바닥에 선택적으로 기초콘크리 트(도시하지 않음)를 구축한 다음, 상기 기초콘크리트 위에 표준형 콘크리트블록(25a)들을 2~4층으로 배열 적층하되, 상기 표준형 콘크리트블록(25a)은 서로 이웃하는 콘크리트블록(25a)들이 상하좌우로 연결되어 결속됨이 바람직하다.
상기 콘크리트블록(25a)의 결속과정은 표준형 콘크리트블록들(25a)을 횡(수평)방향으로 연속하여 배열한 후, 상기 표준형 콘크리트블록(25a) 상면의 바설치홈(252)에 결속용 바(27)를 올려놓아 표준형 콘크리트블록(25a)들이 유동되지 않도록 결속시킨 다음, 상기 표준형 콘크리트블록들 위에 또 다른 표준형 콘크리트블록(25a)들을 지그재그로 적층시키되 콘크리트블록의 상하면에 형성된 커넥터(252)의 결합핀(253)과 결합핀홈(254)이 맞물리도록 시공한다.
이후에 도 4e와 같이 상기 절취사면(10)과 콘크리트블록(25) 사이의 공간에 채움재(28)인 콘크리트나 토사 등을 채워 넣고 다진다.
이렇게 채움재(28)를 채워 다진 후에는 상기 파이프(110) 끝단의 아이너트(140)에 인장재인 와이어(또는 강선)(141)를 연결하고, 상기 와이어(또는 강선)의 다른 한쪽끝단에 설치된 턴버클(142)의 걸고리(143)를 콘크리트블록(25a)을 횡단하여 설치되어 있는 블록결속용 바(27)에 연결한 다음, 턴버클(142)을 회전시켜 인장재인 와이어(141)를 긴장시켜 텐션을 부여한다.
상기와 같이, 인장재인 와이어(141)에 부여된 텐션으로 인해 표준형 콘크리트블록(25a)이 다짐된 토사 등의 채움재(28)를 가압하므로 토류벽으로서의 역할을 충분히 하고, 이로 인하여 더욱 강력한 지반보강이 이뤄짐은 물론 적층한 콘크리트 블록(25a)의 확실한 고정으로 시공된 콘크리트블록의 무너짐을 방지할 수 있다.
이와 같이 텐션 소일네일(100)을 이루는 강선(150)에 텐션을 부여함으로써 네일로 지반보강을 행하는 기존의 소일 네일 효과와, 이에 더하여 네일과 그라우팅재에 텐션을 부여함으로 인한 어스앵커효과를 얻을 수 있으며, 이로 인하여 보다 확실하고 강력한 지반보강이 이뤄지게 된다.
상기와 같이 표준형 콘크리트블록의 축조과정, 표준형 콘크리트블록(25a)을 적층하는 공정부터 채움재(28)인 콘크리트나 토사 등을 채워 넣는 공정에 이르기까지 수회 반복하여 소정높이까지 시공한 다음, 상기 표준형 콘크리트블록(25a) 위에 마감형 콘크리트블록(25b)을 적층 시공하여 마무리함으로써 콘크리트블록의 옹벽을 얻는다.
본 발명은 주택가나 대단위 아파트단지의 경사면보강은 물론 도로변 등의 절취사면의 지반보강으로 절취사면안정이 필요한 웅벽, 측벽의 시공 산업분야에 유용하게 이용할 수 있다.
도 1은 본 발명에 따른 콘크리트블록의 시공방법에 사용되는 일실시예의 사면안정용 텐션 소일네일을 나타낸 분해사시도,
도 2는 도 1의 사면안정용 텐션 소일네일을 이용하여 콘크리트블록을 시공한 상태의 횡단면도,
도 3a는 본 발명에 적용되는 콘크리트블록을 발췌하여 나타낸 사시도,
도 3b는 본 발명에서 표준형 콘크리트블록이 적층된 일부를 발췌하여 나타낸 사시도,
도 4a 내지 도 4f는 본 발명의 사면안정용 텐션 소일네일을 적용하여 콘크리트블록의 구축과정을 나타낸 공정도이다.
<도면의 주요부분에 대한 부호의 설명>
25: 콘크리트블록 28: 채움재 100: 텐션 소일네일
110: 파이프 120: 하부고정부재 121: 암나사
122: 강선관통공 123: 그라우팅재주입공
131: 전면지압판재 132,133: 원형홀 140: 아이너트
150: 강선 160: 간격유지부재 170: 상부고정부재
173: 정착몸체 174: 웨지홀 175: 웨지
251: 바설치홈 252: 커넥터 253: 결합핀
254: 결합핀홈

Claims (7)

  1. 네일(보강재)의 한쪽끝단엔 하부고정부재가 고정되고 다른 한쪽끝단엔 전면지압판재가 아이너트에 의해 체결 설치되되 전면지압판재에서 하부고정부재에 이르기까지 텐션을 부여하기 위해 연결 설치된 강선을 포함하며,
    상기 네일(보강재)의 끝단에 인장재가 연결되되 상기 인장재의 한쪽끝단은 네일 끝단의 아이너트와 체결·고정되고 다른 한쪽끝단은 적층된 콘크리트블록상의 블록결속용 바에다 걸 수 있는 걸고리를 갖는 턴버클이 마련됨을 특징으로 하는 사면안정용 텐션 소일네일.
  2. 제1항에 있어서,
    상기 인장재는 콘크리트블록에 설치된 블록결속용 바의 여러 곳에다 분산시켜 걸 수 있도록 하나의 아이너트에 2개 이상을 연결 설치한 것을 특징으로 하는 사면안정용 텐션 소일네일.
  3. 제1항 또는 제2항에 있어서,
    상기 인장재는 와이어, 강선 중의 어느 하나인 것을 특징으로 하는 사면안정용 텐션 소일네일.
  4. 제1항에 있어서,
    상기 강선은 전면지압판재에서 하부고정부재를 통해 다시 전면지압판재로 되돌아오기까지 하나의 강선으로 끊어짐 없이 연장됨을 특징으로 하는 사면안정용 텐션 소일네일.
  5. 제1항에 있어서,
    상기 강선은 전면지압판재와 하부고정부재에서 강선의 양쪽끝단이 각각 고정되는 2개로 되는 것을 특징으로 하는 사면안정용 텐션 소일네일.
  6. 제1항에 있어서,
    상기 하부고정부재는 파이프 끝단외면과 체결을 위한 암나사가 형성되고 파이프의 외측으로 강선이 관통되도록 강선관통공이 형성되면서 중앙에 그라우팅재주입공이 형성된 캡형으로 마련됨을 특징으로 하는 사면안정용 텐션 소일네일.
  7. 콘크리트블록을 시공하고자 하는 형상대로 절취사면을 마련하는 제1단계, 상 기 절취사면에 소정간격으로 다수의 네일 설치용 천공홀을 하향경사지게 천공하는 제2단계, 상기 네일 설치용 천공홀에 텐션 소일네일을 삽입하여 시멘트몰탈이나 시멘트밀크를 주입 양생시킨 후 상기 네일 설치용 천공홀 입구의 텐션 소일네일에 전면지압판재를 시공하고 강선에 텐션을 부여하는 제3단계, 상기 절취사면 하단에 시공한 기초콘크리트 위에 콘크리트블록을 적층하되 서로 이웃하여 적층되는 콘크리트블록들을 블록결속용 바로 결속시키면서 복수의 층으로 콘크리트블록을 적층하는 제4단계, 상기 절취사면과 콘크리트블록 사이의 공간에 시멘트몰탈이나 토사 등의 채움재를 채워 다지는 제5단계; 상기 텐션 소일네일 끝단의 아이너트에 와이어 한쪽끝단을 체결·고정하고 다른 한쪽끝단의 걸고리를 콘크리트블록 상부의 블록결속용 바에 걸은 후 턴버클을 이용하여 와이어를 긴장시키는 제6단계로 되는 것을 특징으로 하는 사면안정용 텐션 소일네일을 이용한 콘크리트블록의 시공방법.
KR1020070084513A 2007-08-22 2007-08-22 사면안정용 텐션 소일네일 및 이를 이용한 콘크리트블록의시공방법 Ceased KR20090020082A (ko)

Priority Applications (1)

Application Number Priority Date Filing Date Title
KR1020070084513A KR20090020082A (ko) 2007-08-22 2007-08-22 사면안정용 텐션 소일네일 및 이를 이용한 콘크리트블록의시공방법

Applications Claiming Priority (1)

Application Number Priority Date Filing Date Title
KR1020070084513A KR20090020082A (ko) 2007-08-22 2007-08-22 사면안정용 텐션 소일네일 및 이를 이용한 콘크리트블록의시공방법

Publications (1)

Publication Number Publication Date
KR20090020082A true KR20090020082A (ko) 2009-02-26

Family

ID=40687600

Family Applications (1)

Application Number Title Priority Date Filing Date
KR1020070084513A Ceased KR20090020082A (ko) 2007-08-22 2007-08-22 사면안정용 텐션 소일네일 및 이를 이용한 콘크리트블록의시공방법

Country Status (1)

Country Link
KR (1) KR20090020082A (ko)

Cited By (5)

* Cited by examiner, † Cited by third party
Publication number Priority date Publication date Assignee Title
KR101010366B1 (ko) * 2010-04-05 2011-01-25 (주)루펜큐 옹벽 구조물 및 그 시공방법
KR101463231B1 (ko) * 2014-06-26 2014-11-21 주식회사동림이엔지 보강토 옹벽 블록의 고정 장치
KR20160089972A (ko) 2015-01-21 2016-07-29 부경대학교 산학협력단 친환경 토석류 피해저감 구조물용 고정체 및 이의 설치방법
KR101694526B1 (ko) * 2016-08-29 2017-01-10 더베스트테크 주식회사 블록을 이용한 옹벽
KR102759221B1 (ko) * 2024-10-15 2025-01-23 라파이엔씨 주식회사 절토부 및 성토부용 옹벽블록 시공방법

Cited By (6)

* Cited by examiner, † Cited by third party
Publication number Priority date Publication date Assignee Title
KR101010366B1 (ko) * 2010-04-05 2011-01-25 (주)루펜큐 옹벽 구조물 및 그 시공방법
WO2011126267A3 (ko) * 2010-04-05 2011-12-29 (주)루펜큐 옹벽 구조물 및 그 시공방법
KR101463231B1 (ko) * 2014-06-26 2014-11-21 주식회사동림이엔지 보강토 옹벽 블록의 고정 장치
KR20160089972A (ko) 2015-01-21 2016-07-29 부경대학교 산학협력단 친환경 토석류 피해저감 구조물용 고정체 및 이의 설치방법
KR101694526B1 (ko) * 2016-08-29 2017-01-10 더베스트테크 주식회사 블록을 이용한 옹벽
KR102759221B1 (ko) * 2024-10-15 2025-01-23 라파이엔씨 주식회사 절토부 및 성토부용 옹벽블록 시공방법

Similar Documents

Publication Publication Date Title
US4834584A (en) Dual swiggle reinforcement system
US8684633B2 (en) Modular block connecting techniques
KR101072527B1 (ko) 강연선 지중앵커를 이용한 옹벽 구조물
US7114887B1 (en) Modular block anchoring techniques
KR101103142B1 (ko) 옹벽구조체 및 그 시공방법
KR101206344B1 (ko) 프리캐스트 옹벽패널 및 그 시공방법
JPH08218401A (ja) もたれ式擁壁用ブロック及び同ブロックを使用したもたれ式擁壁の築造法
KR101126666B1 (ko) 수직배수 유도형 네일옹벽
US7390146B2 (en) Modular block structures
KR20090020082A (ko) 사면안정용 텐션 소일네일 및 이를 이용한 콘크리트블록의시공방법
KR101077949B1 (ko) 보강토 옹벽블록 및 그 시공 방법
KR100583294B1 (ko) 블록조립식 보강토옹벽 패널과 그 시공방법 및 패널지지용 보강재
KR101696854B1 (ko) 프리캐스트 콘크리트 e블럭 옹벽의 다양한 조립 시공방법
KR100770250B1 (ko) 옹벽 시공방법 및 그에 따른 옹벽 구조물
KR101822412B1 (ko) 적층이 가능한 배면보강 판넬옹벽 및 배면보강 판넬옹벽 시공방법
KR101015619B1 (ko) 보강토 옹벽의 시공에 사용하는 조절가능한 고정기구
KR100818504B1 (ko) 텐션 소일네일 및 이를 이용한 콘크리트패널의 시공방법
KR102185956B1 (ko) 옹벽의 체결 장치
KR100626718B1 (ko) 보강토 옹벽 및 그 설치방법
KR101328027B1 (ko) 절토부 옹벽 및 사면보호를 위한 구조
JP5830068B2 (ja) 法面補強工法
JP2000314143A (ja) 擁壁施工方法及び擁壁装置
KR102613053B1 (ko) 견고한 합성거동 및 효율적인 시공효율을 발휘하는 phc 벽체와 rc 벽체의 합벽 및 그 시공방법
KR100647071B1 (ko) 옹벽용 블록 시공방법
KR20110105205A (ko) 옹벽 구조 및 그의 시공방법

Legal Events

Date Code Title Description
A201 Request for examination
PA0109 Patent application

Patent event code: PA01091R01D

Comment text: Patent Application

Patent event date: 20070822

PA0201 Request for examination
E902 Notification of reason for refusal
PE0902 Notice of grounds for rejection

Comment text: Notification of reason for refusal

Patent event date: 20081211

Patent event code: PE09021S01D

PG1501 Laying open of application
E601 Decision to refuse application
PE0601 Decision on rejection of patent

Patent event date: 20090806

Comment text: Decision to Refuse Application

Patent event code: PE06012S01D

Patent event date: 20081211

Comment text: Notification of reason for refusal

Patent event code: PE06011S01I