KR20070074730A - How to Provide Counseling Services Using Short Message Service - Google Patents

How to Provide Counseling Services Using Short Message Service Download PDF

Info

Publication number
KR20070074730A
KR20070074730A KR1020060002655A KR20060002655A KR20070074730A KR 20070074730 A KR20070074730 A KR 20070074730A KR 1020060002655 A KR1020060002655 A KR 1020060002655A KR 20060002655 A KR20060002655 A KR 20060002655A KR 20070074730 A KR20070074730 A KR 20070074730A
Authority
KR
South Korea
Prior art keywords
consultation
call center
short message
request message
sms
Prior art date
Legal status (The legal status is an assumption and is not a legal conclusion. Google has not performed a legal analysis and makes no representation as to the accuracy of the status listed.)
Ceased
Application number
KR1020060002655A
Other languages
Korean (ko)
Inventor
김주일
최정임
Original Assignee
주식회사 엘지데이콤
Priority date (The priority date is an assumption and is not a legal conclusion. Google has not performed a legal analysis and makes no representation as to the accuracy of the date listed.)
Filing date
Publication date
Application filed by 주식회사 엘지데이콤 filed Critical 주식회사 엘지데이콤
Priority to KR1020060002655A priority Critical patent/KR20070074730A/en
Publication of KR20070074730A publication Critical patent/KR20070074730A/en
Ceased legal-status Critical Current

Links

Images

Classifications

    • HELECTRICITY
    • H04ELECTRIC COMMUNICATION TECHNIQUE
    • H04WWIRELESS COMMUNICATION NETWORKS
    • H04W4/00Services specially adapted for wireless communication networks; Facilities therefor
    • H04W4/12Messaging; Mailboxes; Announcements
    • H04W4/14Short messaging services, e.g. short message services [SMS] or unstructured supplementary service data [USSD]
    • GPHYSICS
    • G06COMPUTING OR CALCULATING; COUNTING
    • G06QINFORMATION AND COMMUNICATION TECHNOLOGY [ICT] SPECIALLY ADAPTED FOR ADMINISTRATIVE, COMMERCIAL, FINANCIAL, MANAGERIAL OR SUPERVISORY PURPOSES; SYSTEMS OR METHODS SPECIALLY ADAPTED FOR ADMINISTRATIVE, COMMERCIAL, FINANCIAL, MANAGERIAL OR SUPERVISORY PURPOSES, NOT OTHERWISE PROVIDED FOR
    • G06Q50/00Information and communication technology [ICT] specially adapted for implementation of business processes of specific business sectors, e.g. utilities or tourism
    • G06Q50/50Business processes related to the communications industry

Landscapes

  • Business, Economics & Management (AREA)
  • Engineering & Computer Science (AREA)
  • Marketing (AREA)
  • Primary Health Care (AREA)
  • Health & Medical Sciences (AREA)
  • Economics (AREA)
  • General Health & Medical Sciences (AREA)
  • Human Resources & Organizations (AREA)
  • Computer Networks & Wireless Communication (AREA)
  • Signal Processing (AREA)
  • Strategic Management (AREA)
  • Tourism & Hospitality (AREA)
  • Physics & Mathematics (AREA)
  • General Business, Economics & Management (AREA)
  • General Physics & Mathematics (AREA)
  • Theoretical Computer Science (AREA)
  • Telephonic Communication Services (AREA)

Abstract

본 발명은 단문메시지 서비스를 이용한 상담서비스 제공방법에 관한 것으로, 콜센터의 상담원과 연결하고자 하는 사용자로부터 전송된 SMS(Short Message Service)의 단문 메시지를 기초로 기 저장된 사용자 정보를 팝업(pop up)시켜 상담원에게 표시함으로써, 상담원과의 연결을 시도하는 사용자의 편의를 도모할 수 있으며, 단문 메시지를 통한 상담 서비스를 제공할 수 있다. 나아가, 콜센터로 접속되는 대량의 호를 전화서비스보다 용이하게 수용할 수 있는 효과도 있다. The present invention relates to a method of providing a counseling service using a short message service, and pops up previously stored user information based on a short message of a short message service (SMS) sent from a user who wants to connect with an agent of a call center. By displaying to the counselor, the user's convenience of attempting to connect with the counselor can be facilitated, and a counseling service can be provided through a short message. In addition, there is an effect that can easily accommodate a large number of calls to the call center than the telephone service.

Description

단문메시지 서비스를 이용한 상담서비스 제공방법{Method of providing consulting service by Short Message Service}Method of providing consulting service using short message service {Method of providing consulting service by Short Message Service}

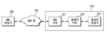
도 1은 본 발명에 따른 SMS를 이용한 상담서비스 제공시스템의 구성도, 그리고1 is a configuration diagram of a consultation service providing system using SMS according to the present invention; and

도 2는 본 발명에 따른 단문메시지 서비스를 이용한 상담서비스 제공방법의 설명에 제공되는 흐름도이다.2 is a flowchart provided to explain a method of providing a consultation service using a short message service according to the present invention.

<도면의 주요부의 설명><Description of Main Parts in Drawings>

101: SMS 망 103: SMS 단말기101: SMS network 103: SMS terminal

105: SMS 서버 107: 콜센터 서버105: SMS server 107: call center server

109: 콜센터 단말기109: call center terminal

본 발명은, 콜센터의 상담원과 연결하고자 하는 사용자로부터 전송된 SMS(Short Message Service)의 단문 메시지를 기초로 기 저장된 사용자 정보를 팝업(pop up)시켜 상담원에게 표시함으로써, 상담원과의 연결을 시도하는 사용자의 편의를 도모할 수 있는, 단문메시지 서비스를 이용한 상담서비스 제공방법에 관한 것이다. The present invention, based on a short message of the SMS (Short Message Service) sent from the user who wants to connect to the agent of the call center pops up user information and displays it to the agent, attempting to connect to the agent It relates to a counseling service providing method using a short message service that can facilitate the user's convenience.

최근에 전화 서비스를 이용하여 사용자에게 특정의 상담 서비스를 제공하는 이른바 '콜센터(Call center)'가 다양하게 존재한다. Recently, there have been various so-called 'call centers' that provide specific counseling services to users using telephone services.

이러한 콜센터를 이용하는 사용자는 콜센터의 대표 전화번호로 전화를 걸어, 상담원과 통화하게 된다. 콜센터로 많은 사용자가 전화를 하게 될 경우, 콜센터의 전화회선 용량을 초과하거나 상담원 부족 등의 원인으로 인하여, 상담원과의 연결은 다소 지연되게 된다. 따라서, 사용자는 장시간 대기하게 되거나, 일정시간 이후에 다시 전화를 걸어 통화를 시도하게 된다. The user using the call center calls the representative phone number of the call center and talks to a counselor. When many users call to the call center, the connection with the counselor is delayed somewhat due to the excess of the telephone line capacity of the call center or the lack of counselors. Therefore, the user waits for a long time or tries to make a phone call after a certain time.

본 발명의 목적은, 콜센터의 상담원과 연결하고자 하는 사용자로부터 전송된 SMS(Short Message Service)의 단문 메시지를 기초로 기 저장된 사용자 정보를 팝업(pop up)시켜 상담원에게 표시함으로써, 상담원과의 연결을 시도하는 사용자의 편의를 도모할 수 있는, 단문메시지 서비스를 이용한 상담서비스 제공방법을 제공함에 있다.An object of the present invention is to pop up user information previously displayed on the basis of a short message of SMS (Short Message Service) transmitted from a user who wants to connect with an agent of a call center, and display the information to an agent, thereby connecting to an agent. It is to provide a counseling service providing method using a short message service that can facilitate the convenience of the user to attempt.

상기 목적을 달성하기 위해 본 발명에 따라, SMS 망을 통해 적어도 하나의 SMS 단말기와 접속된, 상담서비스 제공시스템의 단문메시지 서비스를 이용한 상담서비스 제공방법은, 상기 SMS 망을 통해 소정의 상담요청 메시지를 수신하는 단계, 상기 상담요청 메시지의 발신자 정보를 기초로, 기 저장된 상기 발신자의 고객정보를 조회하는 단계, 조회된 상기 고객정보를 표시하는 단계 및 상기 상담요청 메시지에 대응하여 작성된 단문 메시지를 상기 발신자 전화번호로 전송하는 단계를 포함한다.In order to achieve the above object, in accordance with the present invention, a method of providing a counseling service using a short message service of a counseling service providing system connected to at least one SMS terminal through an SMS network includes a predetermined counseling request message through the SMS network. Receiving, based on the caller information of the consultation request message, querying the previously stored customer information of the caller, displaying the retrieved customer information and the short message written in response to the consultation request message Sending to the caller's phone number.

여기서, 상기 고객정보를 표시하는 단계는, 상기 상담요청 메시지를 수신한 순서에 따라, 이전에 도착한 상담요청 메시지에 대응하는 상담이 완료되었는지 판단받는 단계 및 상기 판단결과, 이전에 도착한 상담요청 메시지에 대응하는 상담이 완료된 경우, 상기 조회된 고객정보를 표시하는 단계를 포함할 수 있다.The displaying of the customer information may include determining whether a consultation corresponding to a previously arrived consultation request message is completed according to the order in which the consultation request message is received, and as a result of the determination, the previously arrived consultation request message. When the corresponding consultation is completed, the method may include displaying the inquired customer information.

또한, 상기 발신자 전화번호로 전송하는 단계는, 상기 판단결과, 이전에 도착한 상담요청 메시지에 대응하는 상담이 완료된 경우, 상기 상담요청 메시지에 대응하여 상기 발신자에게 전송될 단문 메시지의 작성을 위한 창을 표시하는 단계를 더 포함할 수 있다.In addition, the step of transmitting to the caller's phone number, when the determination is completed, the consultation corresponding to the previously arrived consultation request message, a window for creating a short message to be sent to the caller in response to the consultation request message The method may further include displaying.

나아가, 본 발명의 단문메시지 서비스를 이용한 상담서비스 제공방법은 상기 상담요청 메시지에 대응하여 상기 발신자 전화번호로 전화를 거는 단계를 더 포함할 수 있다.Furthermore, the method of providing a consultation service using the short message service of the present invention may further include calling the caller's phone number in response to the consultation request message.

이하에서는, 도면을 참조하여 본 발명을 상세히 설명한다.Hereinafter, the present invention will be described in detail with reference to the drawings.

도 1은 본 발명에 따른 SMS를 이용한 상담서비스 제공시스템의 구성도이다. 1 is a block diagram of a consultation service providing system using SMS according to the present invention.

도 1을 참조하면, 본 발명의 상담서비스 제공시스템(110)은 SMS(Short Message Service) 망(101)을 통해 적어도 하나의 SMS 단말기(103)와 연결될 수 있다.Referring to FIG. 1, the consultation service providing system 110 of the present invention may be connected to at least one SMS terminal 103 through an SMS (Short Message Service) network 101.

SMS 망(101)은 유선 또는 무선 네트워크로서, 일반 공중망(PSTN: Public Switched Telephone Network), 이동전화망, 인터넷(Internet)을 포함한다. SMS 망(101)에는 적어도 하나의 SMS 단말기(103)와 상담서비스 제공시스템(110)이 접속될 수 있다. SMS 망(101)은 SMS를 위한 시스템(미도시)을 포함하고 있으며, 도 1에는 이러한 SMS를 위한 시스템을 생략하였다. 이에 따라, SMS 망(101)은 SMS 단말기(103)가 소정의 착신번호로 전송하는 메시지를 수신하여 해당 착신번호로 메시지를 전송할 수 있다. The SMS network 101 is a wired or wireless network, and includes a public switched telephone network (PSTN), a mobile telephone network, and the Internet. At least one SMS terminal 103 and a consultation service providing system 110 may be connected to the SMS network 101. The SMS network 101 includes a system (not shown) for SMS, and the system for such SMS is omitted in FIG. Accordingly, the SMS network 101 may receive a message transmitted by the SMS terminal 103 to a predetermined called number and transmit the message to the called number.

SMS 단말기(103)는 단문 메시지의 형식으로 작성되고 상담을 요청하는 정보를 포함하는 소정의 상담요청 메시지를 SMS 망(101)을 통해 상담서비스 제공시스템(110)으로 전송할 수 있다. 이경우, 착신번호는 상담서비스 제공시스템(110)에 포함된 SMS 서버의 전화번호가 될 것이다. The SMS terminal 103 may transmit a predetermined consultation request message to the consultation service providing system 110 through the SMS network 101, which is written in the form of a short message and includes information for requesting consultation. In this case, the called number will be the telephone number of the SMS server included in the consultation service providing system 110.

상담서비스 제공시스템(110)은, SMS 서버(111), 콜센터 서버(113) 및 콜센터 단말기(115)를 포함하는 콜센터 시스템이다. 상담서비스 제공시스템(110)은 사용자로부터 SMS에 의한 단문 메시지 형태의 상담요청을 수신하고, SMS를 통한 단문 메시지로 상담을 진행할 수 있다. The consultation service providing system 110 is a call center system including an SMS server 111, a call center server 113, and a call center terminal 115. The consultation service providing system 110 may receive a consultation request in the form of a short message by the SMS from the user, and proceed with the consultation in the short message through the SMS.

SMS 서버(111)는, 콜센터에 위치하며 통상 하나의 대표 전화번호를 가지며, SMS 망(101)을 통해 전송되는 단문 메시지를 수신할 수 있다. SMS 서버(111)는, SMS 망(101)에 연결된 SMS 단말기(103)로부터 상담요청 메시지를 수신하면, 콜센터 서버(113)로 전송한다. SMS 서버(111)는 콜센터 서버(113)와 SMS 망(101)을 연결한다. The SMS server 111, which is located in a call center and usually has one representative telephone number, may receive a short message transmitted through the SMS network 101. When the SMS server 111 receives the consultation request message from the SMS terminal 103 connected to the SMS network 101, the SMS server 111 transmits the message to the call center server 113. The SMS server 111 connects the call center server 113 and the SMS network 101.

SMS 서버(111)는 콜센터 서버(113)로부터 소정의 단문 메시지를 수신하면, 수신한 단문 메시지를 전송요청된 착신번호로 SMS 망(101)을 통해 전송한다. When the SMS server 111 receives a predetermined short message from the call center server 113, the SMS server 111 transmits the received short message to the called party number through the SMS network 101.

콜센터 서버(113)는 SMS 서버(111)에 연결되어, SMS 서버(111)로부터 수신되는 단문 메세지에 포함된 발신자 정보를 기초로, 고객정보를 조회한다. The call center server 113 is connected to the SMS server 111 and inquires customer information based on caller information included in a short message received from the SMS server 111.

고객정보는 기존에 콜센터를 이용한 적이 있는 사용자의 정보를 말하는 것으로, 콜센터 서버(113)에 의해 별도로 관리된다. 콜센터 서버(113)는 고객정보를 위한 데이터 베이스를 포함할 수 있다.Customer information refers to information of a user who has previously used a call center, and is separately managed by the call center server 113. The call center server 113 may include a database for customer information.

콜센터 서버(113)는, 적어도 하나의 콜센터 단말기(115)가 연결될 수 있으며, 검색된 고객정보를 콜센터 단말기(115)로 전송한다. 콜센터 단말기(115)가 복수 개일 경우, 콜센터 서버(113)는 소정의 방법으로 선택된 콜센터 단말기(115)로 고객정보를 전송한다. The call center server 113 may be connected to at least one call center terminal 115 and transmits the retrieved customer information to the call center terminal 115. When there are a plurality of call center terminals 115, the call center server 113 transmits customer information to the selected call center terminal 115 by a predetermined method.

콜센터 서버(113)는 콜센터 단말기(115)로부터 소정의 단문 메시지를 수신하면, 수신한 단문 메시지를 전송요청된 착신번호와 함께 SMS 서버(111)로 전송한다. When the call center server 113 receives a predetermined short message from the call center terminal 115, the call center server 113 transmits the received short message to the SMS server 111 together with the requested called number.

콜센터 서버(113)는 콜센터 단말기(115)로부터 새로운 사용자의 고객정보나 기 저장된 사용자의 새로운 고객정보를 수신하고, 고객정보를 생성하거나 갱신할 수 있다.The call center server 113 may receive customer information of a new user or new customer information of a previously stored user from the call center terminal 115 and generate or update customer information.

콜센터 단말기(115)는 콜센터 서버(113)로부터 소정의 고객정보를 수신하여 표시장치(미도시)를 통해 표시한다. 콜센터 단말기(115)는 고객정보를 표시함에 있어, 팝업 방식에 의해 표시하는 것이 바람직하다. 통상 콜센터 단말기(115)는 콜센터의 상담원용 단말기일 수 있다. The call center terminal 115 receives predetermined customer information from the call center server 113 and displays it through a display device (not shown). When the call center terminal 115 displays customer information, it is preferable to display the call center terminal 115 in a pop-up manner. In general, the call center terminal 115 may be a counselor terminal of a call center.

콜센터 단말기(115)는 단문 메시지를 생성할 수 있으며, 생성한 단문 메시지를 콜센터 서버(113)로 전송함으로써, 상담원으로 하여금 SMS에 의한 상담 서비스를 가능하게 한다. 이에 따라, 사용자가 전화상담보다 단문 메시지에 의한 상담을 원할 경우, 단문 메시지를 주고 받으며 상담 서비스를 제공할 수 있다. The call center terminal 115 may generate a short message and transmits the generated short message to the call center server 113, thereby enabling the counselor to provide a counseling service by SMS. Accordingly, when the user wants to consult by short message rather than telephone consultation, the user may exchange a short message and provide a consultation service.

실시 예에 따라, 콜센터 단말기(115)는 소정의 프로세서에 의해 이전의 상담요청자와 상담이 완료됨을 상담원으로부터 입력받은 경우, 다음 순위로 상담요청된 사용자로부터 수신한 상담요청 메시지와 해당 사용자의 고객정보를 표시할 수 있으며, 고객정보 표시 후에 해당 사용자에게 전송할 단문 메시지를 생성하기 위한 창(window)를 상담원에게 표시할 수 있다.According to an embodiment, when the call center terminal 115 receives an input from a counselor that a consultation with a previous counselor is completed by a predetermined processor, the call center terminal 115 receives a counseling request message received from a counselor who has been counseled in a next order and customer information of the user. It can be displayed, and a window for generating a short message to be sent to the user after displaying the customer information can be displayed to the agent.

또한, 콜센터의 상담원은 콜센터 단말기(115)에 표시된 고객정보를 기초로 해당 사용자에게 전화를 걸어 상담을 진행할 수 있다. In addition, the counselor of the call center may call the user based on the customer information displayed on the call center terminal 115 to proceed with the consultation.

콜센터 단말기(115)는 상담원으로부터 고객에 대한 정보를 입력받아, 콜센터 서버(113)로 전송할 수 있으며, 이에 따라 고객정보가 새로이 생성되거나 기 저장된 고객정보가 갱신될 수 있다.The call center terminal 115 may receive information about a customer from a counselor and transmit the information about the customer to the call center server 113, whereby customer information may be newly generated or previously stored customer information may be updated.

도 2는 본 발명에 따른 단문메시지 서비스를 이용한 상담서비스 제공방법의 설명에 제공되는 흐름도이다. 이하 도 1 및 도 2를 참조하여, 본 발명의 단문 메시지 서비스를 이용한 사용자 정보 표시방법을 설명한다. 2 is a flowchart provided to explain a method of providing a consultation service using a short message service according to the present invention. Hereinafter, a method of displaying user information using a short message service of the present invention will be described with reference to FIGS. 1 and 2.

SMS 단말기(103)는 사용자로부터 소정의 정보를 입력받아 상담요청 메시지를 생성하고(S201), 콜센터의 전화번호를 착신번호로 하여 SMS 망(101)을 통해, 콜센터로 생성한 상담요청 메시지를 전송한다. SMS 망(101)을 통해 전송된 상담요청 메시지는 SMS 서버(111)로 전송된다(S203). The SMS terminal 103 receives the predetermined information from the user, generates a consultation request message (S201), and transmits the consultation request message to the call center through the SMS network 101 using the telephone number of the call center as the called number. do. The consultation request message transmitted through the SMS network 101 is transmitted to the SMS server 111 (S203).

SMS 서버(111)는, 수신한 상담요청 메시지의 착신번호를 기초로, 콜센터 서버(113)로 상담요청 메시지를 전송한다(S205).The SMS server 111 transmits a consultation request message to the call center server 113 based on the received number of the received consultation request message (S205).

콜센터 서버(113)는 수신한 상담요청 메시지의 발신자 정보를 기초로, 고객정보를 조회한다. 이경우, 발신자 정보는 통상 발신자 전화번호가 해당할 수 있다. 해당 사용자가 고객정보 데이터 베이스에 기 등록된 사용자인 경우, 콜센터 서버(113)는 고객정보를 추출할 수 있다(S207).The call center server 113 inquires the customer information based on the caller information of the received consultation request message. In this case, the caller information may generally correspond to the caller's telephone number. If the corresponding user is a user registered in the customer information database, the call center server 113 may extract customer information (S207).

콜센터 서버(113)는 추출한 고객정보를 상담요청 메시지와 함께 콜센터 단말기(115)로 전송한다(S209). The call center server 113 transmits the extracted customer information to the call center terminal 115 together with the consultation request message (S209).

콜센터 단말기(115)는 콜센터 서버(113)로부터 고객정보 및 상담요청 메시지를 수신하여 저장하고, 이전에 도착한 상담요청 메시지에 대한 상담이 완료되었는지 판단한다. 이를 위해, 콜센터 단말기(115)는 상담원으로부터 상담완료 정보가 입력되었는지 확인할 수 있다. 그 밖에도 콜센터 단말기(115)는 고객정보 및 상담요청 메시지를 수신하면, 다양한 상담 프로세서에 따라, 표시할 순서를 판단할 수 있다(S211). The call center terminal 115 receives and stores the customer information and the consultation request message from the call center server 113, and determines whether the consultation on the previously arrived consultation request message is completed. To this end, the call center terminal 115 may check whether the consultation completion information is input from the counselor. In addition, when the call center terminal 115 receives the customer information and the consultation request message, the call center terminal 115 may determine the display order according to various consultation processors (S211).

콜센터 단말기(115)는 이전에 도착한 상담요청 메시지에 대한 상담이 완료된 경우, 다음 순위의 고객정보를 상담원에게 팝업의 형태로 표시한다(S213). When the call center terminal 115 completes the consultation about the previously received consultation request message, the call center terminal 115 displays the customer information of the next rank in the form of a popup to the counselor (S213).

콜센터의 상담원은, 수신된 상담 요청 메세지를 확인하고 팝업된 고객정보를 기초로, 사용자와 SMS에 의한 단문 메세지를 주고받으며 상담기능을 수행한다. 상담원이 콜센터 단말기(115)를 이용해 작성한 단문 메시지는 콜센터 서버(113), SMS 서버(111)를 통해 사용자의 SMS 단말기(103)로 전송된다. 필요시 콜센터의 상담원은 전화통화를 통해 상담기능을 수행할 수 있다(S215).The counselor of the call center checks the received consultation request message and performs a consultation function by exchanging a short message by SMS with the user based on the popped up customer information. The short message created by the counselor using the call center terminal 115 is transmitted to the user's SMS terminal 103 through the call center server 113 and the SMS server 111. If necessary, the counselor of the call center may perform a consultation function through a telephone call (S215).

이상의 방법에 의하여, 본 발명에 따른 단문메시지 서비스를 이용한 상담서비스 제공방법이 수행된다. By the above method, a counseling service providing method using a short message service according to the present invention is performed.

본 발명은 방법, 디바이스 및 시스템으로 구현될 수 있다. 또한 본 발명이 컴퓨터 소프트웨어로 구현될 때는, 본 발명의 구성요소는 필요한 동작의 수행에 필요한 코드 세그먼트(code segment)로 대치될 수 있다. 프로그램이나 코드 세그먼트는 마이크로프로세서에 의해 처리될 수 있는 매체에 저장될 수 있으며, 전송매체나 통신 네트워크를 통하여 운반 파형(carrier waves)와 결합된 컴퓨터 데이터로서 전송될 수 있다.The invention can be implemented in methods, devices and systems. In addition, when the present invention is implemented in computer software, the components of the present invention may be replaced with code segments necessary for performing necessary operations. The program or code segment may be stored on a medium that can be processed by a microprocessor and transmitted as computer data coupled with carrier waves via a transmission medium or communication network.

마이크로프로세서에 의해 처리될 수 있는 매체는 전자회로, 반도체 메모리 소자, 롬(ROM), 플래시 메모리, EEPROM, 플로피 디스크, 광학적 디스크, 하드 디스크, 광섬유, 무선 네트워크 등과 같이 정보를 전달하고 저장할 수 있는 것을 포함한다. 또한, 컴퓨터 데이터는 전기적 네트워크 채널, 광섬유, 전자기장, 무선 네트워크 등을 통해 전송될 수 있는 데이터를 포함한다. Media that can be processed by a microprocessor include those capable of transmitting and storing information such as electronic circuits, semiconductor memory devices, ROMs, flash memories, EEPROMs, floppy disks, optical disks, hard disks, optical fibers, wireless networks, and the like. Include. Computer data also includes data that can be transmitted over electrical network channels, optical fibers, electromagnetic fields, wireless networks, and the like.

또한, 이상에서는 본 발명의 바람직한 실시 예에 대하여 도시하고 설명하였지만, 본 발명은 상술한 특정의 실시 예에 한정되지 아니하며, 청구범위에서 청구하는 본 발명의 요지를 벗어남이 없이 당해 발명이 속하는 기술분야에서 통상의 지식을 가진자에 의해 다양한 변형실시가 가능한 것은 물론이고, 이러한 변형실시들은 본 발명의 기술적 사상이나 전망으로부터 개별적으로 이해되어서는 안 될 것이다.In addition, although the preferred embodiment of the present invention has been shown and described above, the present invention is not limited to the above-described specific embodiment, the technical field to which the invention belongs without departing from the spirit of the invention claimed in the claims. Of course, various modifications can be made by those skilled in the art, and these modifications should not be individually understood from the technical spirit or the prospect of the present invention.

이상 설명한 바와 같이, SMS 문자메세지를 보낼수 있는 단말기를 소지한 모든 사용자는, 기존에 전화통화를 통해 서비스를 받던 상담기능을 SMS 망을 통한 단문 메세지를 송수신함으로써 동일한 서비스를 받을 수 있다.As described above, all users who have a terminal capable of sending SMS text messages can receive the same service by sending and receiving a short message through the SMS network to a counseling function that was previously serviced through a telephone call.

본 발명의 상담서비스 제공시스템은 발신자 정보를 기초로 조회된 고객 정보를 상담원에게 제공함으로써 원활한 서비스의 제공이 가능하게 한다.The consultation service providing system of the present invention enables a smooth service to be provided by providing customer information inquired on the basis of caller information to a counselor.

또한, 홈쇼핑 시스템, 은행 또는 증권의 콜센터와 같이 대량의 호가 발생되는 시스템에 적용될 경우, 전화 접속의 폭주로 인해 발생하는 사용자의 불평을 줄일 수 있으며, 대량 호를 보다 용이하게 수용할 수 있다.In addition, when applied to a system that generates a large number of calls, such as a home shopping system, a bank or a call center of securities, it is possible to reduce user complaints caused by congestion of the telephone connection, and to easily receive a large number of calls.

Claims (4)

SMS 망을 통해 적어도 하나의 SMS 단말기와 접속된, 상담서비스 제공시스템의 단문메시지 서비스를 이용한 상담서비스 제공방법에 있어서,In the counseling service providing method using a short message service of the counseling service providing system connected to at least one SMS terminal via an SMS network, 상기 SMS 망을 통해 소정의 상담요청 메시지를 수신하는 단계;Receiving a predetermined consultation request message through the SMS network; 상기 상담요청 메시지의 발신자 정보를 기초로, 기 저장된 상기 발신자의 고객정보를 조회하는 단계; Retrieving previously stored customer information of the caller based on the caller information of the consultation request message; 조회된 상기 고객정보를 표시하는 단계; 및Displaying the inquired customer information; And 상기 상담요청 메시지에 대응하여 작성된 단문 메시지를 상기 발신자 전화번호로 전송하는 단계;를 포함하는 것을 특징으로 하는 단문메시지 서비스를 이용한 상담서비스 제공방법.And transmitting a short message written in response to the counseling request message to the caller's telephone number. 제 1항에 있어서,The method of claim 1, 상기 고객정보를 표시하는 단계는, Displaying the customer information, 상기 상담요청 메시지를 수신한 순서에 따라, 이전에 도착한 상담요청 메시지에 대응하는 상담이 완료되었는지 판단받는 단계; 및Receiving whether the consultation corresponding to the previously received consultation request message is completed according to the order in which the consultation request message is received; And 상기 판단결과, 이전에 도착한 상담요청 메시지에 대응하는 상담이 완료된 경우, 상기 조회된 고객정보를 표시하는 단계;를 포함하는 것을 특징으로 하는 단문메시지 서비스를 이용한 상담서비스 제공방법.And when the consultation corresponding to the previously arrived counseling request message is completed, displaying the inquired customer information. The counseling service providing method of claim 1, further comprising displaying the inquiring customer information. 제 2항에 있어서,The method of claim 2, 상기 발신자 전화번호로 전송하는 단계는,The step of transmitting to the caller's phone number, 상기 판단결과, 이전에 도착한 상담요청 메시지에 대응하는 상담이 완료된 경우, 상기 상담요청 메시지에 대응하여 상기 발신자에게 전송될 단문 메시지의 작성을 위한 창을 표시하는 단계;를 더 포함하는 것을 특징으로 하는 단문메시지 서비스를 이용한 상담서비스 제공방법.And displaying a window for creating a short message to be transmitted to the caller in response to the consultation request message when the consultation corresponding to the previously arrived consultation request message is completed. How to provide counseling service using short message service. 제 1항에 있어서,The method of claim 1, 상기 상담요청 메시지에 대응하여 상기 발신자 전화번호로 전화를 거는 단계;를 더 포함하는 것을 특징으로 하는 단문메시지 서비스를 이용한 상담서비스 제공방법. And calling the caller's telephone number in response to the consultation request message.
KR1020060002655A 2006-01-10 2006-01-10 How to Provide Counseling Services Using Short Message Service Ceased KR20070074730A (en)

Priority Applications (1)

Application Number Priority Date Filing Date Title
KR1020060002655A KR20070074730A (en) 2006-01-10 2006-01-10 How to Provide Counseling Services Using Short Message Service

Applications Claiming Priority (1)

Application Number Priority Date Filing Date Title
KR1020060002655A KR20070074730A (en) 2006-01-10 2006-01-10 How to Provide Counseling Services Using Short Message Service

Publications (1)

Publication Number Publication Date
KR20070074730A true KR20070074730A (en) 2007-07-18

Family

ID=38499986

Family Applications (1)

Application Number Title Priority Date Filing Date
KR1020060002655A Ceased KR20070074730A (en) 2006-01-10 2006-01-10 How to Provide Counseling Services Using Short Message Service

Country Status (1)

Country Link
KR (1) KR20070074730A (en)

Cited By (1)

* Cited by examiner, † Cited by third party
Publication number Priority date Publication date Assignee Title
KR20140078052A (en) * 2012-12-14 2014-06-25 한솔인티큐브 주식회사 Messaging client center and service method

Cited By (1)

* Cited by examiner, † Cited by third party
Publication number Priority date Publication date Assignee Title
KR20140078052A (en) * 2012-12-14 2014-06-25 한솔인티큐브 주식회사 Messaging client center and service method

Similar Documents

Publication Publication Date Title
US8265609B2 (en) System, method and computer program product for providing customer service on a mobile device
CN109152094B (en) Wireless network connection method for terminal
US20090022301A1 (en) Mobile services
CN104854852B (en) Method and apparatus for determining language for the speech-to-text transcription of telephone relation
CN111010527B (en) Method and related device for establishing video call through short message link
CN103250402A (en) Voice-screen ARS service system, method for providing same, and computer-eadable recording medium
CN103051670A (en) Multi-modal customer care system
CN108810123B (en) Method and device for activating mobile cellular network service
KR101410464B1 (en) Call center service system and method for counseling customer connected by using mobile
KR20200143194A (en) System and method for connecting a counseling call
US20140177579A1 (en) Systems and Methods for Establishing a Telecommunications Bridge Between a User Device and a Node
US8320891B1 (en) Text messages for services
KR20040063436A (en) Avata service method to make gestures and apparatus therefor
CN109448210A (en) Interaction queuing system and method
KR101774216B1 (en) System for guiding member information using call connecting service based on virtual number and method for guiding member information thereof
KR20070074730A (en) How to Provide Counseling Services Using Short Message Service
KR101524024B1 (en) Method for providing message service by application after a call
KR101740611B1 (en) Communication terminal for multi-number service and method for displaying separately information in the communication terminal
JP2014220725A (en) Telephone system and connection control method
KR20170024174A (en) Viewing ars apparatus and system and method of the same
JP7685908B2 (en) Notification management device, notification management method, and program
CN112468479B (en) Remote assistance method of contact center and CTI (computer telephony integration) assembly
KR101531309B1 (en) Method for providing service by application after a call
KR102340954B1 (en) Apparatus and method for transmitting message
KR20090083697A (en) Advertising information provision method using text message and system

Legal Events

Date Code Title Description
A201 Request for examination
PA0109 Patent application

Patent event code: PA01091R01D

Comment text: Patent Application

Patent event date: 20060110

PA0201 Request for examination
E902 Notification of reason for refusal
PE0902 Notice of grounds for rejection

Comment text: Notification of reason for refusal

Patent event date: 20070430

Patent event code: PE09021S01D

PG1501 Laying open of application
E601 Decision to refuse application
PE0601 Decision on rejection of patent

Patent event date: 20071029

Comment text: Decision to Refuse Application

Patent event code: PE06012S01D

Patent event date: 20070430

Comment text: Notification of reason for refusal

Patent event code: PE06011S01I