KR200486392Y1 - 기능성 의류 - Google Patents

기능성 의류 Download PDF

Info

Publication number
KR200486392Y1
KR200486392Y1 KR2020180000363U KR20180000363U KR200486392Y1 KR 200486392 Y1 KR200486392 Y1 KR 200486392Y1 KR 2020180000363 U KR2020180000363 U KR 2020180000363U KR 20180000363 U KR20180000363 U KR 20180000363U KR 200486392 Y1 KR200486392 Y1 KR 200486392Y1
Authority
KR
South Korea
Prior art keywords
wearer
garment
hole
blood circulation
auxiliary
Prior art date
Legal status (The legal status is an assumption and is not a legal conclusion. Google has not performed a legal analysis and makes no representation as to the accuracy of the status listed.)
Expired - Fee Related
Application number
KR2020180000363U
Other languages
English (en)
Inventor
채호철
Original Assignee
채호철
Priority date (The priority date is an assumption and is not a legal conclusion. Google has not performed a legal analysis and makes no representation as to the accuracy of the date listed.)
Filing date
Publication date
Application filed by 채호철 filed Critical 채호철
Priority to KR2020180000363U priority Critical patent/KR200486392Y1/ko
Application granted granted Critical
Publication of KR200486392Y1 publication Critical patent/KR200486392Y1/ko
Expired - Fee Related legal-status Critical Current
Anticipated expiration legal-status Critical

Links

Images

Classifications

    • AHUMAN NECESSITIES
    • A61MEDICAL OR VETERINARY SCIENCE; HYGIENE
    • A61HPHYSICAL THERAPY APPARATUS, e.g. DEVICES FOR LOCATING OR STIMULATING REFLEX POINTS IN THE BODY; ARTIFICIAL RESPIRATION; MASSAGE; BATHING DEVICES FOR SPECIAL THERAPEUTIC OR HYGIENIC PURPOSES OR SPECIFIC PARTS OF THE BODY
    • A61H39/00Devices for locating or stimulating specific reflex points of the body for physical therapy, e.g. acupuncture
    • A61H39/04Devices for pressing such points, e.g. Shiatsu or Acupressure
    • AHUMAN NECESSITIES
    • A61MEDICAL OR VETERINARY SCIENCE; HYGIENE
    • A61NELECTROTHERAPY; MAGNETOTHERAPY; RADIATION THERAPY; ULTRASOUND THERAPY
    • A61N2/00Magnetotherapy
    • A61N2/06Magnetotherapy using magnetic fields produced by permanent magnets
    • AHUMAN NECESSITIES
    • A41WEARING APPAREL
    • A41DOUTERWEAR; PROTECTIVE GARMENTS; ACCESSORIES
    • A41D2400/00Functions or special features of garments
    • A41D2400/32Therapeutic use
    • AHUMAN NECESSITIES
    • A61MEDICAL OR VETERINARY SCIENCE; HYGIENE
    • A61HPHYSICAL THERAPY APPARATUS, e.g. DEVICES FOR LOCATING OR STIMULATING REFLEX POINTS IN THE BODY; ARTIFICIAL RESPIRATION; MASSAGE; BATHING DEVICES FOR SPECIAL THERAPEUTIC OR HYGIENIC PURPOSES OR SPECIFIC PARTS OF THE BODY
    • A61H2201/00Characteristics of apparatus not provided for in the preceding codes
    • A61H2201/16Physical interface with patient
    • A61H2201/1602Physical interface with patient kind of interface, e.g. head rest, knee support or lumbar support
    • A61H2201/165Wearable interfaces
    • AHUMAN NECESSITIES
    • A61MEDICAL OR VETERINARY SCIENCE; HYGIENE
    • A61NELECTROTHERAPY; MAGNETOTHERAPY; RADIATION THERAPY; ULTRASOUND THERAPY
    • A61N5/00Radiation therapy
    • A61N5/06Radiation therapy using light
    • A61N2005/0658Radiation therapy using light characterised by the wavelength of light used
    • A61N2005/0659Radiation therapy using light characterised by the wavelength of light used infrared
    • A61N2005/066Radiation therapy using light characterised by the wavelength of light used infrared far infrared

Landscapes

  • Health & Medical Sciences (AREA)
  • Veterinary Medicine (AREA)
  • Public Health (AREA)
  • Rehabilitation Therapy (AREA)
  • General Health & Medical Sciences (AREA)
  • Life Sciences & Earth Sciences (AREA)
  • Animal Behavior & Ethology (AREA)
  • Physical Education & Sports Medicine (AREA)
  • Epidemiology (AREA)
  • Pain & Pain Management (AREA)
  • Engineering & Computer Science (AREA)
  • Biomedical Technology (AREA)
  • Nuclear Medicine, Radiotherapy & Molecular Imaging (AREA)
  • Radiology & Medical Imaging (AREA)
  • Professional, Industrial, Or Sporting Protective Garments (AREA)

Abstract

본 고안은 착용자의 신체를 타이트하게 조이는 원단을 사용한 의류부재 내부에 혈액순환체를 구비하며, 상기 혈액순환체는 착용자의 신체 혈자리에 각각 구비될 수 있도록 하여 착용자의 신체 전체에 혈액순환을 촉진시킬 수 있는 기능성 의류에 관한 것으로, 더욱 상세하게는 착용자의 신체를 타이트(tight)하게 조여 착용할 수 있는 상의나 하의에 관통공이 형성된 의류부재와, 상기 의류부재 내부에 구비되되 상기 관통공을 통해 외부로 노출되며, 혈액순환을 촉진하고자 하는 혈액순환체가 신체와 직접 또는 간접적으로 접촉하는 착용부재 및 상기 의류부재를 가압할 수 있도록 상기 착용부재와 결합하여 상기 착용부재를 고정하는 고정부재를 포함하되, 상기 관통공은 신체의 혈자리(blood aperture)에 맞게 다수 형성된 것을 특징으로 한다.

Description

기능성 의류{FUNCTIONAL CLOTHING PRODUCT}
본 고안은 착용자의 신체를 타이트하게 조이는 원단을 사용한 의류부재 내부에 혈액순환체를 구비하며, 상기 혈액순환체는 착용자의 신체 혈자리에 각각 구비될 수 있도록 하여 착용자의 신체 전체에 혈액순환을 촉진시킬 수 있는 기능성 의류에 관한 것이다.
일반적으로 의류는 착용자의 체온을 보온하거나 가리기 위해 착용되는 것으로, 그 종류는 크게 상의와 하의로 나뉘게 된다.
일 예로, 의류 중 하나인 셔츠(도 1 참조)는 양팔을 끼워 상반신에 착용하여 체온을 유지시키고 피부를 보호해 주는 역할을 하는 옷으로, 통상 칼라가 구비되고 단추로 양쪽을 체워 입도록 되어 있다.
한편, 사람의 몸에는 기가 흘러다니고 있고 그 기가 돌아다니는 길이 있는데, 그것을 경락이라고 하며, 인체의 전역은 경락이라고 하는 기의 도로망으로 연결되어 있어 생명의 에너지를 공급받고 있다.
경락에는 혈이라고 하는 작은 구멍이 있는데, 바로 이 혈이 기가 머물렀다가 나가곤 하는 곳으로 몸 바깥의 기와 몸안의 기가 만나는 곳이 바로 여기다.
몸이 좋지 않은 사람은 기가 혈자리에서 빠져나가지 못하고 정체되어 있거나 몸밖의 기운과 소통되지 않고 있는 것으로 이곳을 눌러 주어 풀어 줄 수 있는 것이다.
여기서, 인체의 상반신에는 명치 등과 같이 중요한 혈들이 위치하고 있는데, 종래의 셔츠는 단순히 체온을 유지시키거나 피부를 보호하는 역할을 할 뿐이었다.
따라서, 최근 들어 편안함은 물론이고 건강에 도움을 줄 수 있는 기능성까지 강조되고 있는 추세에 부합하지 못하는 문제점이 있었다.
이러한 문제점을 해결하기 위해 도 1에 도시한 종래기술로 국내등록실용신안 제20-0224700호가 개시되어 있으며, 그 구성을 간략하게 살펴보면, 칼라부(10)와 체결부(20) 및 소매부(30)가 구비되고, 상기 칼라부(10)나 체결부(20) 및 소매부(30)에는 패드주머니(11,21,31)가 각각 구비되며, 상기 각각의 패드주머니(11,21,31)에는 바이오세라믹 소재로 된 원단에 소정간격으로 복수개의 자석(40)이 고정부착된 자석패드(50)가 탈착가능하게 삽입된 구조로 되어, 자기와 원적외선에 의해 혈액순환을 촉진시켜 상반신은 물론, 인체에 신진대사를 증진시킴으로써 건강회복과 성인병 예방에 탁월한 효능을 발휘할 수 있도록 되어 있다.
그러나, 이러한 종래기술은 실질적으로 혈액순환을 촉진하기 위한 자석패드가 착용자의 신체와 근접하지 못해 실용적이지 못할 뿐만 아니라, 어느 특정 부위(목부위, 명치부, 소매부)의 혈자리에 한하여 혈액순환을 촉진할 수 있게 구비되어 있다는 문제점이 있었다.
0001. 대한민국 등록실용신안 제20-0224700호
본 고안은 상술한 문제점을 해결하기 위해 제안된 것으로, 착용자의 신체 전반에 걸쳐 최대한 밀착되게 자석 패드를 밀착시켜 전체적인 혈액순환의 효과를 증대시킬 수 있도록 하고자 하는데 그 목적이 있다.
상술한 기술적 과제를 해결하기 위해 본 고안에 따른 기능성 의류는 착용자의 신체를 타이트(tight)하게 조여 착용할 수 있는 상의나 하의에 관통공이 형성된 의류부재와, 상기 의류부재 내부에 구비되되 상기 관통공을 통해 외부로 노출되며, 혈액순환을 촉진하고자 하는 혈액순환체가 신체와 직접 또는 간접적으로 접촉하는 착용부재 및 상기 의류부재를 가압할 수 있도록 상기 착용부재와 결합하여 상기 착용부재를 고정하는 고정부재를 포함하되, 상기 관통공은 신체의 혈자리(blood aperture)에 맞게 다수 형성된 것을 특징으로 한다.
또한 상기 의류부재는 보조관통공을 더 포함하되, 상기 보조관통공은 상기 관통공을 중심으로 소정영역 이내에 방사상으로 또는 상기 관통공을 중심으로 동심원을 갖도록 다수 형성된 것이 바람직하다.
또한 상기 의류부재는 식별수단을 더 포함하되, 상기 식별수단은 상기 관통공 또는 상기 보조관통공에 문자, 숫자, 기호 중 어느 하나로 표기되는 것이 바람직하다.
또한 상기 착용부재는 하부에 상기 의류부재 내부에 구비되되 상기 혈액순환체가 분리가능하게 삽입되는 삽입홈이 형성되며, 상부에는 상기 관통공을 통해 외부로 노출되어 상기 고정부재와 분리가능하게 결합하는 돌기부가 돌출형성되며, 상기 고정부재는 판 형상으로 이루어지되 상기 돌기부가 관통삽입되는 끼움공이 천공형성되며, 하면이 상기 의류부재를 가압할 수 있도록 구비되는 가압체, 하부가 상기 가압체 끝단에 끼움 결합하는 캡을 포함하는 것이 바람직하다.
본 고안에 따르면, 종래와는 차별적으로 상의나 하의 중 어느 하나로 이루어진 의류부재를 착용자의 신체에 밀착될 수 있는 타이트한 원단으로 사용하되 해당 의류부재 내부에 혈액순환체가 착용자의 신체와 직접 또는 간접적으로 접촉할 수 있도록 구비하며, 혈자리 전체에 걸쳐 의류부재에 혈액순환체가 구비될 수 있도록 함으로써, 착용자의 전체적인 혈액순환이 용이하게 이루어질 수 있는 효과가 있다.
도 1은 종래의 자석 내장식 셔츠를 나타낸 도면.
도 2는 본 고안에 따른 기능성 의류를 나타낸 도면.
도 3은 본 고안에 따른 기능성 의류에 대한 의류부재의 관통공을 나타낸 확대도.
도 4는 도 3에 대한 보조관통공과 식별수단을 나타낸 도면.
도 5는 본 고안에 따른 기능성 의류의 착용부재와 고정부재를 나타낸 도면.
도 6 및 도 7은 본 고안에 따른 기능성 의류에 대한 의류부재에 착용부재와 고정부재 간의 결합을 나타낸 도면.
이하, 첨부된 도면을 참조하여 본 고안인 기능성 의류에 대하여 상세히 설명하도록 한다. 설명에 앞서, 본 고안에서의 의류부재(110)는 착용자에 의해 상의나 하의로 착용가능한 통상의 의류(내의 포함)를 의미하는 것으로, 그 기능이나 구조에 관한 설명은 본 고안의 요지를 명확하게 하기 위해 생략하기로 하며, 하기에는 의류부재(110) 중 상의를 통하여 본 고안을 설명한다는 점에 유의한다.
먼저, 도 2 및 도 5에 도시한 바와 같이, 본 고안에 따른 기능성 의류(100)는 크게 의류부재(110), 착용부재(120) 및 고정부재(130)의 구성을 포함한다.
더욱 상세하게 설명하면, 상기 의류부재(110)는 도 2 내지 도 5에 도시한 바와 같이, 착용한 이후에 착용자의 신체에 타이트(tight)하게 조여질 수 있는 신축성 있는 원단으로 사용하여 후술하는 혈액순환체(127)에 의해 혈액순환을 촉진시킬 수 있도록 한다.
이때, 의류부재(110)는 착용자의 혈자리(blood aperture)와 대응하는 위치에 관통공(111)이 형성되되 후술하는 착용부재(120)가 해당 관통공(111)을 통해 돌기부(125)가 외부로 노출되어 고정부재(130)와 결합할 수 있도록 하는 것이 바람직하다(도 7 참조).
아울러 의류부재(110)에는 관통공(111)을 중심으로 방사상으로 또는 동심원을 이루는 또 다른 보조관통공(113)이 천공형성되어 해당 보조관통공(113)에 또 다른 착용부재(120)와 고정부재(130)가 서로 결합하여 착용자의 신체조건이나 혈액순환 하고자 하는 범위를 더욱 넓혀 사용할 수 있도록 한다.
이때, 관통공(111) 및 보조관통공(113)의 지름(D1)은 1 ~ 2mm 이내의 지름을 갖도록 천공형성되어 착용부재(120)가 구비되지 않은 경우에 해당 관통공(111)이나 보조관통공(113)이 쉽게 식별되지 않도록 하는 것이 바람직하다.
즉, 본 고안에서의 의류부재(110)에 형성된 관통공(111)의 위치는 동일한 사이즈의 의류부재(110)라 할지라도 그 신체조건(비만 정도, 골격의 크기, 골격의 크기 등)에 따라 혈자리의 위치가 서로 다를 수 있어 상기 관통공(111)을 중심으로 소정범위 내에 또 다른 보조관통공(113)을 형성하고, 해당 보조관통공(113)에 구비된 고정부재(130) 내의 혈액순환체(127)에 의해 혈액순환의 효과를 상승할 수 있게 되는 것이다.
물론, 필요에 따라 혈액순환체(127)의 크기를 조절하여 혈액순환의 범위를 넓히는 것도 가능하나 이 경우에 해당 혈액순환체(127)이 구비된 의류부재(110)를 세탁시에(특히, 탈수 시에) 그 회전력에 의해 세탁기나 혈액순환체(127) 자체가 파손될 소지가 있으며, 상기 의류부재(110)의 원단 성질에 의해 착용한 후, 옷맵시가 살지 않아 미감이 떨어지는 문제점이 발생할 수 있기에 크기가 작은 혈액순환체(127)을 다수 활용하여 혈액순환의 기능과 미감의 효과는 높이되 충격에 의한 파손의 경우도 방지하는 장점을 동시에 취할 수 있는 것이다.
아울러 관통공(111) 및 보조관통공(113)은 의류부재(110)의 외면에서 내면까지 이어지게 관통형성될 수 있으나 바람직하게는 해당 의류부재(110)의 외면에서만 식별되되 그 내면은 식별이 불가능하도록 하여 후술하는 착용부재(120)와 고정부재(130)가 분리된 이후에도 그 지름의 크기(1~2mm)가 작아 겉옷으로 사용가능하게 하여 혈액순환체(127)이 착용자의 신체에 직/간접적으로 접촉하여 사용될 수 있도록 한다.
이때, 의류부재(110) 외부에서 관통공(111)이나 보조관통공(113)을 통해 식별되는 상기 의류부재(110) 내면은 상기 의류부재(110) 외면의 색상과 동일하게 형성하여 일정거리 이내로 해당 의류부재(110)에 접근하지 않은 이상 관통공(111)이나 보조관통공(113)이 식별되지 못하도록 하는 것이 바람직하다.
나아가 관통공(111)이나 보조관통공(113)에는 적어도 하나 이상의 절개라인(117)이 형성되어 의류부재(110)와 고정부재(130) 간의 분리/결합이 용이하도록 할 수 있다.
한편, 본 고안의 의류부재(110)는 관통공(111)이나 보조관통공(113)이 형성된 위치의 혈자리를 착용자가 식별할 수 있는 식별수단(115)이 더 형성될 수 있으며, 상기 식별수단(115)은 문자, 번호, 기호 등으로 표시된다.
아울러 본 고안인 기능성 의류(100)를 판매하는 판매자는 의류부재(110)에 표시된 식별수단(115)의 정확한 혈자리의 명칭은 물론, 해당 혈자리의 혈액순환을 통해 건강 정도가 향상될 수 있는 효과 등이 확인될 수 있는 인쇄물이나 책자 등의 건강정보(미도시)를 함께 제공하여 착용자의 선택에 의해 원하는 혈자리 부분에만 혈액순환이 이루어지도록 할 수 있다.
이때, 보조관통공(113)을 표시하는 식별수단(115)은 상기 보조관통공(113)과 인과관계에 있는 관통공(111)의 범주에 속한다는 것을 확인할 수 있도록 표시하는 것이 바람직하다.
일 예로, 어깨의 혈액순환을 촉진하고자 하는 착용자가 식별수단(115)으로 47번 이라 기재된 관통공(111)의 혈자리에 혈액순환체(127)을 구비하여 사용하는 경우, 해당 47번 혈자리와 연관관계가 있는 혈자리인 보조관통공(113)인 것을 식별하기 용이하도록 식별수단(115)으로 47-n번으로 다수 표기함으로써, 그 혈액순환의 범위를 확장시켜 사용하도록 하거나 착용자의 신체조건에 따라 적절히 상기 혈액순환체(127)을 구비하여 사용할 수 있도록 하는 것이다.
이를 위해 보조관통공(113)의 형성범위(D2)는 관통공(111)을 중심으로 반경 3 ~ 5mm 이내에 형성될 수 있도록 한다.
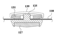
그리고, 상기 착용부재(120)는 도 5 내지 도 7에 도시한 바와 같이, 의류부재(110)에 혈액순환체(127)을 구비하기 위한 구성이다.
예컨대 착용부재(120) 하부에는 판 형상의 혈액순환체(127)이 끼움 결합하는 삽입홈(121)이 형성되며, 그 상부에는 후술하는 고정부재(130)와 끼움 결합하기 위한 돌기부(125)가 상방으로 돌출형성된다.
이때, 삽입홈(121)의 하부에는 혈액순환체(127)이 삽입된 이후에 이탈의 경우를 방지할 수 있도록 턱부(123)가 형성되며, 상기 혈액순환체(127)는 고형화된 게르마늄(germanium), 희토류(稀土類), 티타늄(Titanium), 실버(銀) 및 자석 중 적어도 어느 하나인 것이 바람직하다.
아울러 혈액순환체(127)을 제외한 착용부재(120)와 후술하는 고정부재(130)는 습기 등에 의해 부식되지 않는 플라스틱 등의 재질이 사용되며, 돌기부(125)가 의류부재(110) 외부로 노출될 수 있게 관통공(111)이나 보조관통공(113)을 통해 상기 의류부재(110) 내부로 삽입되어 구비될 수 있도록 한다.
나아가 착용부재(120)는 투명재질로 형성되어 후술하는 고정부재(130)를 분리한 이후에 상기 착용부재(120)를 의류부재(110)에서 분리하지 않고도 삽입홈(121)에 혈액순환체(127)의 구비 여부를 판단할 수 있도록 한다.
더 나아가 혈액순환체(127)의 하단 즉, 신체와 근접한 위치에 해당하는 면은 해당 신체 방향과 더욱 근접하게 돌출형성되어 혈액순환 촉진에 더욱 용이하도록 한다.
그리고, 상기 고정부재(130)는 관통공(111)이나 보조관통공(113)에 구비된 착용부재(120)와 서로 끼움 결합하여 상기 착용부재(120)가 의류부재(110)에 고정될 수 있도록 하기 위한 구성으로 가압체(131) 및 캡(139)의 구성을 포함한다.
예컨대 가압체(131)는 전체적으로 판 형상을 갖도록 형성되되 그 중앙부에는 돌기부(125)가 관통삽입되는 끼움공(133)이 형성되어 상기 돌기부(125)와 끼움 결합한다.
이때, 돌기부(125)와 끼움 결합하는 가압체(131)의 하면은 의류부재(110) 외면을 가압할 수 있도록 끼움 결합하여 착용부재(120)가 관통공(111)이나 보조관통공(113)은 물론, 상기 관통공(111)이나 보조관통공(113)에 형성된 절개라인(117)을 따라 원하지 않게 이동하는 것을 방지하는 것이 바람직하다.
아울러 가압체(131)는 끼움공(133)과 이어지게 방사상으로 절개형성된 다수의 탄력라인(135)이 형성되어 돌기부(125)가 상기 끼움공(133)에 관통삽입시 상기 끼움공(133)의 끝단이 파손되는 것을 방지할 수 있도록 한다.
나아가 가압체(131) 끝단은 상방으로 절곡 형성된 플랜지(137)를 형성하여 캡(139)과 결합의 용이성을 갖도록 한다.
또한 캡(139)은 전체적으로 판 형상으로 이루어지되 그 하부가 돌기부(125)와 끼움 결합한 가압체(131)의 플랜지(137)와 분리가능하게 결합한다.
이때, 캡(139) 상면에는 의류부재(110)의 브랜드가 음각이나 양각으로 형성되거나 인쇄물로 프린팅되어 사용될 수 있다.
한편, 본 고안에서의 고정부재(130)는 가압체(131)와 캡(139)이 서로 분리/결합하도록 서술되어 있으나 필요에 따라 상기 가압체(131)와 캡(139)이 일체형으로 형성되어 의류부재(110)를 가압할 수 있게 착용부재(120)와 끼움 결합하는 것도 가능하다.
이와 같은 구성으로 이루어진 본 고안에 따른 기능성 의류(100)는 종래와는 차별적으로 상의나 하의 중 어느 하나로 이루어진 의류부재(110)를 착용자의 신체에 밀착될 수 있는 타이트한 원단으로 사용하되 해당 의류부재(110) 내부에 혈액순환체(127)가 착용자의 신체와 직접 또는 간접적으로 접촉할 수 있도록 구비하며, 혈자리 전체에 걸쳐 의류부재(110)에 혈액순환체(127)가 구비될 수 있도록 함으로써, 착용자의 전체적인 혈액순환이 용이하게 이루어질 수 있는 효과를 갖게 된다.
이상과 같이 본 고안에서는 구체적인 구성 요소 등과 같은 특정 사항들과 한정된 실시예 및 도면에 의해 설명되었으나 이는 본 고안의 보다 전반적인 이해를 돕기 위해서 제공된 것일 뿐, 본 고안은 상기의 실시예에 한정되는 것은 아니며, 본 고안이 속하는 분야에서 통상적인 지식을 가진 자라면 이러한 기재로부터 다양한 수정 및 변형이 가능하다.
따라서, 본 고안의 사상은 설명된 실시예에 국한되어 정해져서는 아니 되며, 후술하는 청구범위뿐 아니라 이 청구범위와 균등하거나 등가적변형이 있는 모든 것들은 본 고안 사상의 범주에 속한다고 할 것이다.
100: 본 고안에 따른 기능성 의류
110: 의류부재 111: 관통공
113: 보조관통공 115: 식별수단
117: 절개라인 120: 착용부재
121: 삽입홈 123: 턱부
125: 돌기부 127; 혈액순환체
130: 고정부재 131: 가압체
133: 끼움공 135: 탄력라인
137: 플랜지 139: 캡

Claims (4)

  1. 착용자의 신체를 타이트(tight)하게 조여 착용할 수 있는 상의나 하의에 관통공(111)이 형성된 의류부재(110);
    상기 의류부재(110) 내부에 구비되되 상기 관통공(111)을 통해 외부로 노출되며, 혈액순환을 촉진하고자 하는 혈액순환체(127)가 신체와 직접 또는 간접적으로 접촉하는 착용부재(120); 및
    상기 의류부재(110)를 가압할 수 있도록 상기 착용부재(120)와 결합하여 상기 착용부재(120)를 고정하는 고정부재(130);를 포함하되,
    상기 관통공(111)은 신체의 혈자리(blood aperture)에 맞게 다수 형성되고,
    상기 의류부재(110)에 형성되며, 상기 관통공(111)을 중심으로 소정영역 이내에 방사상으로 또는 상기 관통공(111)을 중심으로 동심원을 갖도록 다수 형성되어 있는 보조관통공(113); 및
    상기 의류부재(110)에 표기되며, 상기 관통공(111) 및 보조관통공(113)을 각각 표식하도록 문자, 숫자, 기호 중 어느 하나 이상으로 표기되는 식별수단(115);을 더 포함하되, 상기 식별수단(115)은 착용자에게 제공되는 메뉴얼에서 혈자리를 설명하기 위해 제공하는 식별수단과 일치하며,
    상기 착용부재(120)는 하부에 상기 의류부재(110) 내부에 구비되되 상기 혈액순환체(127)가 분리가능하게 삽입되는 삽입홈(121)이 형성되며, 상부에는 상기 관통공(111)을 통해 외부로 노출되어 상기 고정부재(130)와 분리가능하게 결합하는 돌기부(125)가 돌출 형성되고,
    상기 고정부재(130)는 판 형상으로 이루어지되 상기 돌기부(125)가 관통삽입되는 끼움공(133)이 천공형성되며, 하면이 상기 의류부재(110)를 가압할 수 있도록 구비되는 가압체(131), 하부가 상기 가압체(131) 끝단에 끼움 결합하는 캡(139)을 포함하는 것을 특징으로 하는 기능성 의류.
  2. 삭제
  3. 삭제
  4. 삭제
KR2020180000363U 2018-01-24 2018-01-24 기능성 의류 Expired - Fee Related KR200486392Y1 (ko)

Priority Applications (1)

Application Number Priority Date Filing Date Title
KR2020180000363U KR200486392Y1 (ko) 2018-01-24 2018-01-24 기능성 의류

Applications Claiming Priority (1)

Application Number Priority Date Filing Date Title
KR2020180000363U KR200486392Y1 (ko) 2018-01-24 2018-01-24 기능성 의류

Publications (1)

Publication Number Publication Date
KR200486392Y1 true KR200486392Y1 (ko) 2018-05-14

Family

ID=62166284

Family Applications (1)

Application Number Title Priority Date Filing Date
KR2020180000363U Expired - Fee Related KR200486392Y1 (ko) 2018-01-24 2018-01-24 기능성 의류

Country Status (1)

Country Link
KR (1) KR200486392Y1 (ko)

Citations (12)

* Cited by examiner, † Cited by third party
Publication number Priority date Publication date Assignee Title
KR970060336U (ko) * 1996-05-17 1997-12-10 정유선 자석이 부착된 상측내의
KR200180242Y1 (ko) * 1999-06-02 2000-05-01 김규태 건강 지압 내의
KR200224700Y1 (ko) 2000-11-24 2001-05-15 박동영 자석내장식 셔츠
KR200243605Y1 (ko) * 2001-05-08 2001-10-12 박동영 바이오 실버믹 의류
KR200287361Y1 (ko) * 2002-05-28 2002-08-30 김신 지압용 양말
KR200288323Y1 (ko) * 2002-05-28 2002-09-11 김신 지압용 장갑
KR100361421B1 (ko) * 2000-02-02 2002-11-22 전병학 맛사지 및 지압용 의류
CN102078660A (zh) * 2011-03-01 2011-06-01 姚建明 一种保健内裤
KR20110006721U (ko) * 2009-12-29 2011-07-06 이민국 기능성 의류
KR200461859Y1 (ko) * 2012-03-29 2012-08-10 (주)마스터피스 지압기능을 갖는 다기능 보정속옷
KR20130005043U (ko) * 2012-02-15 2013-08-23 김복수 착탈식 경혈 지압구
KR20170045706A (ko) * 2015-10-19 2017-04-27 주식회사 싸이프레스게르마늄 인체밀착요소, 인체용 패치 및 그를 가지는 착용부재

Patent Citations (12)

* Cited by examiner, † Cited by third party
Publication number Priority date Publication date Assignee Title
KR970060336U (ko) * 1996-05-17 1997-12-10 정유선 자석이 부착된 상측내의
KR200180242Y1 (ko) * 1999-06-02 2000-05-01 김규태 건강 지압 내의
KR100361421B1 (ko) * 2000-02-02 2002-11-22 전병학 맛사지 및 지압용 의류
KR200224700Y1 (ko) 2000-11-24 2001-05-15 박동영 자석내장식 셔츠
KR200243605Y1 (ko) * 2001-05-08 2001-10-12 박동영 바이오 실버믹 의류
KR200287361Y1 (ko) * 2002-05-28 2002-08-30 김신 지압용 양말
KR200288323Y1 (ko) * 2002-05-28 2002-09-11 김신 지압용 장갑
KR20110006721U (ko) * 2009-12-29 2011-07-06 이민국 기능성 의류
CN102078660A (zh) * 2011-03-01 2011-06-01 姚建明 一种保健内裤
KR20130005043U (ko) * 2012-02-15 2013-08-23 김복수 착탈식 경혈 지압구
KR200461859Y1 (ko) * 2012-03-29 2012-08-10 (주)마스터피스 지압기능을 갖는 다기능 보정속옷
KR20170045706A (ko) * 2015-10-19 2017-04-27 주식회사 싸이프레스게르마늄 인체밀착요소, 인체용 패치 및 그를 가지는 착용부재

Similar Documents

Publication Publication Date Title
KR101162155B1 (ko) 시야가림 방지용 모자
BRPI0517179B1 (pt) Device for joining clothing items, such as intimate parts, stockings, gloves and other of the gender and type textile type constituted by a game of units
KR101369122B1 (ko) 병원 환자용 환자정보 인식용 표식밴드
KR200486392Y1 (ko) 기능성 의류
US20050223600A1 (en) Apparatus and method to correctly orient garments
WO2009082049A1 (en) Underpants for men
CA3042763A1 (fr) Head protection hood with integrated frame
JP2006510810A (ja) 授乳母体用保護ディスク
KR200430682Y1 (ko) 기능성 팬티
KR20090053241A (ko) 옷깃과 소매의 교체가 가능한 윗옷
JP3211225U (ja) ストッキング
KR200396213Y1 (ko) 칼라 및 커프스 분리형 와이셔츠
KR20170002786U (ko) 안경테의 코받침 결합구조
CN222813246U (zh) 用于服饰产品的盲文水洗标
KR200407391Y1 (ko) 의복부착용 스티커
KR20150043779A (ko) 여성용 셔츠
CN208873490U (zh) 一种医学影像护理装置
KR100570629B1 (ko) 발가락 건강보조구
CN221636100U (zh) 一种可防止换戴的改进型母婴腕带
KR200252476Y1 (ko) 다기능 브래지어
ES1121080U (es) Dispositivo para posicionar el cuello de camisas
KR200474269Y1 (ko) 안대
KR20030000361A (ko) 탈·부착이 가능한 다리를 구비한 동물 마네킨
KR200375815Y1 (ko) 군번줄
KR20110003456U (ko) 자극 지점 표시 의류

Legal Events

Date Code Title Description
UA0108 Application for utility model registration

St.27 status event code: A-0-1-A10-A12-nap-UA0108

UA0201 Request for examination

St.27 status event code: A-1-2-D10-D11-exm-UA0201

UA0301 Request for accelerated examination

St.27 status event code: A-1-2-D10-D17-exm-UA0301

St.27 status event code: A-1-2-D10-D16-exm-UA0301

UE0902 Notice of grounds for rejection

St.27 status event code: A-1-2-D10-D21-exm-UE0902

E13-X000 Pre-grant limitation requested

St.27 status event code: A-2-3-E10-E13-lim-X000

P11-X000 Amendment of application requested

St.27 status event code: A-2-2-P10-P11-nap-X000

P13-X000 Application amended

St.27 status event code: A-2-2-P10-P13-nap-X000

E701 Decision to grant or registration of patent right
UE0701 Decision of registration

St.27 status event code: A-1-2-D10-D22-exm-UE0701

REGI Registration of establishment
UR0701 Registration of establishment

St.27 status event code: A-2-4-F10-F11-exm-UR0701

UR1002 Payment of registration fee

St.27 status event code: A-2-2-U10-U11-oth-UR1002

Fee payment year number: 1

UG1601 Publication of registration

St.27 status event code: A-4-4-Q10-Q13-nap-UG1601

R18-X000 Changes to party contact information recorded

St.27 status event code: A-5-5-R10-R18-oth-X000

UR1001 Payment of annual fee

St.27 status event code: A-4-4-U10-U11-oth-UR1001

Fee payment year number: 4

UR1001 Payment of annual fee

St.27 status event code: A-4-4-U10-U11-oth-UR1001

Fee payment year number: 5

UR1001 Payment of annual fee

St.27 status event code: A-4-4-U10-U11-oth-UR1001

Fee payment year number: 6

UC1903 Unpaid annual fee

St.27 status event code: A-4-4-U10-U13-oth-UC1903

Not in force date: 20240505

Payment event data comment text: Termination Category : DEFAULT_OF_REGISTRATION_FEE

UC1903 Unpaid annual fee

St.27 status event code: N-4-6-H10-H13-oth-UC1903

Ip right cessation event data comment text: Termination Category : DEFAULT_OF_REGISTRATION_FEE

Not in force date: 20240505