KR200446329Y1 - Uchannel connector for hanger - Google Patents

Uchannel connector for hanger Download PDF

Info

Publication number
KR200446329Y1
KR200446329Y1 KR2020070018486U KR20070018486U KR200446329Y1 KR 200446329 Y1 KR200446329 Y1 KR 200446329Y1 KR 2020070018486 U KR2020070018486 U KR 2020070018486U KR 20070018486 U KR20070018486 U KR 20070018486U KR 200446329 Y1 KR200446329 Y1 KR 200446329Y1
Authority
KR
South Korea
Prior art keywords
channel
hanger
connector
present
channels
Prior art date
Legal status (The legal status is an assumption and is not a legal conclusion. Google has not performed a legal analysis and makes no representation as to the accuracy of the status listed.)
Expired - Lifetime
Application number
KR2020070018486U
Other languages
Korean (ko)
Other versions
KR20090004127U (en
Inventor
김병길
Original Assignee
주식회사 태화이엔지
Priority date (The priority date is an assumption and is not a legal conclusion. Google has not performed a legal analysis and makes no representation as to the accuracy of the date listed.)
Filing date
Publication date
Application filed by 주식회사 태화이엔지 filed Critical 주식회사 태화이엔지
Priority to KR2020070018486U priority Critical patent/KR200446329Y1/en
Publication of KR20090004127U publication Critical patent/KR20090004127U/en
Application granted granted Critical
Publication of KR200446329Y1 publication Critical patent/KR200446329Y1/en
Anticipated expiration legal-status Critical
Expired - Lifetime legal-status Critical Current

Links

Images

Classifications

    • HELECTRICITY
    • H02GENERATION; CONVERSION OR DISTRIBUTION OF ELECTRIC POWER
    • H02GINSTALLATION OF ELECTRIC CABLES OR LINES, OR OF COMBINED OPTICAL AND ELECTRIC CABLES OR LINES
    • H02G3/00Installations of electric cables or lines or protective tubing therefor in or on buildings, equivalent structures or vehicles
    • H02G3/02Details
    • H02G3/06Joints for connecting lengths of protective tubing or channels, to each other or to casings, e.g. to distribution boxes; Ensuring electrical continuity in the joint
    • H02G3/0608Joints for connecting non cylindrical conduits, e.g. channels
    • HELECTRICITY
    • H02GENERATION; CONVERSION OR DISTRIBUTION OF ELECTRIC POWER
    • H02GINSTALLATION OF ELECTRIC CABLES OR LINES, OR OF COMBINED OPTICAL AND ELECTRIC CABLES OR LINES
    • H02G3/00Installations of electric cables or lines or protective tubing therefor in or on buildings, equivalent structures or vehicles
    • H02G3/02Details
    • H02G3/04Protective tubing or conduits, e.g. cable ladders or cable troughs
    • H02G3/0406Details thereof
    • HELECTRICITY
    • H02GENERATION; CONVERSION OR DISTRIBUTION OF ELECTRIC POWER
    • H02GINSTALLATION OF ELECTRIC CABLES OR LINES, OR OF COMBINED OPTICAL AND ELECTRIC CABLES OR LINES
    • H02G3/00Installations of electric cables or lines or protective tubing therefor in or on buildings, equivalent structures or vehicles
    • H02G3/02Details
    • H02G3/04Protective tubing or conduits, e.g. cable ladders or cable troughs
    • H02G3/0437Channels
    • HELECTRICITY
    • H02GENERATION; CONVERSION OR DISTRIBUTION OF ELECTRIC POWER
    • H02GINSTALLATION OF ELECTRIC CABLES OR LINES, OR OF COMBINED OPTICAL AND ELECTRIC CABLES OR LINES
    • H02G3/00Installations of electric cables or lines or protective tubing therefor in or on buildings, equivalent structures or vehicles
    • H02G3/30Installations of cables or lines on walls, floors or ceilings

Landscapes

  • Engineering & Computer Science (AREA)
  • Architecture (AREA)
  • Civil Engineering (AREA)
  • Structural Engineering (AREA)
  • Suspension Of Electric Lines Or Cables (AREA)

Abstract

본 고안은 행거용 U채널의 제조과정에서 발생된 U채널의 절단변형으로 변형단부를 수용하므로서 연속 연결되는 U채널의 직선도가 유지되는 행거용 U채널 연결구에 관한 것으로, The present invention relates to a U-channel connector for a hanger that maintains the straightness of the U-channel connected continuously by accommodating the deformation ends by cutting deformation of the U-channel generated in the manufacturing process of the U-channel for the hanger,

수직면(12)의 상연부(12a)에 이탈방지용 걸림돌조(14)를 형성한 행거용 U채널 연결구에 있어서, 양측에서 삽입되는 U채널(1)(1')들의 삽입위치를 잡아주기 위하여 중점"나"을 형성하고, 동시에 U채널(1)(1')들의 절단시 발생된 상연부(1a)(1a')와,홈부(1b)(1'b)의 양단 변형단부"가"가 넣어지는 요입부(15)를 형성한 것으로, In the U-channel connector for a hanger, in which an anti-separation locking protrusion 14 is formed on the upper edge portion 12a of the vertical surface 12, the center point for holding the insertion positions of the U channels 1, 1 'inserted at both sides. The upper edge portions 1a and 1a 'formed at the time of cutting the U-channels 1 and 1' and the deformed ends at both ends of the groove portions 1b and 1'b are formed. In forming the recessed part 15 to be put in,

연속 연결되는 U채널(1)(1')들의 연결부로 인한 직선상태를 일정하게 유지하도록 하는 U채널 연결수단을 제공한다.It provides a U channel connecting means for maintaining a constant state of the straight line due to the connection of the U channel (1) (1 ') that is connected continuously.

행거, U형채널,연결구 Hanger, U-channel, End Connection

Description

행거용 U채널 연결구{Joiner for use of hanging U type channel}Joiner for use of hanging U type channel}

본 고안은 행거용 U채널 연결구에 관한 것으로 특히, 행거용 U채널의 절단 제조과정에서 발생된 채널의 변형단부로 인하여 행거용 U채널을 다수 연결할 경우 발생되는 직선도를 방해하지 않고 연속 연결이 가능한 행거용 U채널 연결구에 관한 것이다. The present invention relates to a U-channel connector for a hanger, and in particular, due to the deformation end of the channel generated during the cutting process of the U-channel for the hanger, continuous connection is possible without disturbing the linearity generated when connecting a plurality of U-channels for the hanger. A U channel connector for a hanger.

일반적으로 행거용 U채널는 바닥이 없는 양측 수직면사이에 걸쳐 렁을 연결하는 타입과,양측 수직면사이에 바닥을 형성한 U형 타입등이 통용되고 있다. In general, a U-channel for a hanger is commonly used to connect a rung between two vertical surfaces without a bottom, and a U-type with a bottom formed between two vertical surfaces.

전술한 행거용 U채널의 경우 길이방향으로 길게 연결하여 시공하는 경우 등록실용신안제20-0209024호의 케이블 지지용 트레이의 연결구와 같이 행거용 U채널의 측면이나 바닥면측에 볼트공을 형성하여 볼팅으로 고정하여 연결하거나 ㄷ자형의 연결봉등의 여러가지 연결수단이 사용되고 있다. In the case of the above-described hanger U-channel, when the construction is connected in the longitudinal direction, bolting is formed on the side or bottom side of the U-channel for the hanger, such as the connector of the cable support tray of the Utility Model Registration No. 20-0209024. Various connecting means such as fixed connection or U-shaped connecting rod are used.

첨부 도면중 도 1a는 일반적인 행거용 U채널을 절단하는 가장 일반적인 절단금형의 예를 나타낸다. 이 도면상 절단날이 적용된 금형에서 절단날은 경사져 절단이 이루어진다. In the accompanying drawings, Fig. 1A shows an example of the most common cutting mold for cutting a general hanger U channel. In this drawing, the cutting blade is inclined and cut in the mold to which the cutting blade is applied.

이와 같은 절단을 통하여 발생되는 문제점은 첨부 도면 도 1b에서 도시하는 바와 같이 행거용 U채널(1)(1')의 개방부의 양측 수직면이 절단 초기에 가해진 가압력으로 개방단부의 상연부가 내측으로 휘어지거나 구부러진 변형단부"가"를 발생한다. 이것은 종래 실용신안공개공보 1998-5603호로 알려진 연결구와 같다. 이 경우 가운데를 두고 대향하여 걸림돌조가 형성되어 있으나, 이 연결구의 경우 가운데를 톱니 높이(A)만큼의 요부는 형성하고는 있으나, 전술한 바와 같이 변형단부"가"를 수용하여 U채널들의 직선도를 유지하기에는 불충분한 문제점이 있었다. The problem caused by such cutting is that the vertical edges of the open end of the open end of the U-channel (1) (1 ') of the opening of the hanger U-channel (1) (1') are bent inwardly due to the pressing force applied at the beginning of cutting, as shown in FIG. The curved deformed end "generates". This is the same as the connector known in the prior art Utility Model Publication No. 1998-5603. In this case, the locking projection is formed to face the center, but in the case of this connector, the recess is formed at the center by the tooth height (A). There was an insufficient problem to maintain.

따라서 U채널들의 변형단부"가"를 수용함에 충분한 연결수단이 필요로 되었다.Thus, there is a need for sufficient connection means to accommodate the "end" of the U-channels.

본 고안은 이러한 종래의 행거용 U채널들이 갖는 연결구의 한계를 극복하여 다수 연결되는 U채널의 변형단부를 수용함에 충분한 수단을 마련한 연결구를 제공하여 U채널 연결구를 이용한 U채널의 연속 연결상태가 직선도를 정확하게 유지하는 연결수단을 제공하고자 하는 데에 그 목적이 있다.The present invention overcomes the limitations of the connector of the conventional U-channel hanger, and provides a connector provided with sufficient means for accommodating the deformed ends of the U-channel connected to a plurality of U-channels. It is an object of the present invention to provide a connecting means for accurately maintaining the drawing.

상기한 목적을 달성하기 위한 본 고안의 행거용 U채널 연결구는, Hanger U-channel connector of the present invention for achieving the above object,

양측에서 삽입되는 U채널들의 삽입위치를 잡아주기 위하여 중점"나"를 형성하고, 동시에 U채널들의 절단시 발생된 상연부와,홈부의 양단 변형단부"가"를 수용하는 요입부를 형성하여, 연속 연결되는 U채널들의 연결부로 인한 직선상태를 일정하게 유지하도록 하는 데에 그 특징이 있다.In order to hold the insertion position of the U-channels to be inserted at both sides, it forms a midpoint "I", and at the same time forms the upper edge portion generated at the cutting of the U-channels, and a recessed portion for accommodating the "deformation ends" at both ends of the groove, Its characteristic is to keep the linear state constant due to the connection of the U-channels to be connected.

상기한 목적을 달성하기 위한 본 고안의 행거용 U채널 연결구의 상기 요입부는 상기 걸림돌조의 높이보다 깊게 요입깊이를 형성함이 바람직하다.In order to achieve the above object, the concave portion of the hanger U channel connector of the present invention is preferably formed to have a concave depth deeper than the height of the locking projection.

전술한 바와 같이 본 고안은 종래의 행거용 U채널 혹은 그 연결수단들이 갖는 연결구조의 한계를 극복하여 보다 간단한 구조로서 장거리 연결시의 케이블의 직선도를 유지하는 연결수단을 제공하는 것으로 제작시 그 단부가 절단 변형된 행거용 U채널들의 긴 연결상태가 휘어짐이 없이 직선도를 유지하는 효과를 갖는다.As described above, the present invention overcomes the limitation of the connection structure of the conventional U-channel or the connecting means of the conventional hanger, and provides a connection means for maintaining the straightness of the cable at a long distance as a simpler structure. The long connection state of the U-channels for the hangers whose end is cut and deformed has the effect of maintaining the straightness without bending.

이하, 본 고안의 바람직한 실시예를 첨부 도면에 의거 구체적으로 설명하면 다음과 같다.Hereinafter, preferred embodiments of the present invention will be described in detail with reference to the accompanying drawings.

첨부 도면중 도 2a는 본 고안 행거용 U채널 연결구의 제1실시예의 사시도이고, 도 2b는 본 고안 행거용 U채널 연결구의 제2실시예의 사시도이고, 도 2c는 본 고안 행거용 U채널 연결구의 제3실시예의 사시도이다. 2A is a perspective view of a first embodiment of the U-channel connector for a hanger of the present invention, FIG. 2B is a perspective view of a second embodiment of the U-channel connector for a hanger of the present invention, and FIG. A perspective view of a third embodiment.

상기 도면들에서 도시하는 본 고안 행거용 U채널 연결구(10)는,U-channel connector 10 for the subject innovation shown in the drawings,

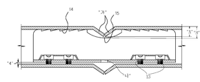
바닥면(11)과, 양측 수직면(12)을 형성하여 상부를 개방하되 길이 방향으로 길게 연장된 U형 단면의 본체(10)를 이루고, 이 수직면(12)의 각 상연부(12a)에 이탈방지용 걸림돌조(14)를 형성하여서 된다.A bottom surface 11 and two vertical surfaces 12 are formed to form a main body 10 having a U-shaped cross section extending open in the longitudinal direction, and separated from each upper edge portion 12a of the vertical surface 12. It is sufficient to form the preventing projections 14.

또한, 상기 연결구(10)의 상기 수직면(12)의 상연부(12a)는 그 중심에 요입부(15)를 형성하여서 된다. 이 요입부(15)는 U형채널(1)(1')들의 변형단부"가"를 수용함에 충분한 공간을 형성하여서 된다. 이것은 U형채널(1)(1')의 변형단부"가"가 연결구(10)에 의하여 삽입되더라도 직선도를 유지함에 적당한 공간이어야 한다. Moreover, the upper edge part 12a of the said vertical surface 12 of the said connector 10 should form the recessed part 15 in the center. The concave inlet 15 should form a space sufficient to accommodate the "deformed end" of the U-shaped channels 1, 1 '. This should be a space suitable for maintaining the straightness even if the "modified end" of the U-shaped channel 1 (1 ') is inserted by the connector 10.

즉, 양측에서 삽입되는 U채널(1)(1')들의 삽입 거리를 잡아줌과 아울러 동시에 U채널(1)(1')들의 절단시 발생된 상연부(1a)(1a')와,홈부(1b)(1'b)의 양단 변형단부"가"가 넣어지는 요입부(15)를 형성하므로 연속 연결되는 U채널(1)(1')들의 연결부로 인한 직선상태를 일정하게 유지하도록 하게 되는 것이다. That is, the upper edge portion (1a) (1a ') and the groove portion generated when cutting the U-channel (1) (1') at the same time while holding the insertion distance of the U channel (1) (1 ') inserted from both sides (1b) Both ends of the deformation end of "1'b" form the recessed part 15 into which "" is inserted, so that the straight state due to the connection part of the U channels 1, 1 'connected continuously is kept constant. Will be.

특히, 상기 요입부(15)는 상기 변형단부"가"의 깊이(A)보다 깊게 요입깊이"B"를 형성함이 바람직하다.In particular, it is preferable that the recessed part 15 forms the recessed depth “B” deeper than the depth A of the “deformable end”.

한편, 상기 걸림돌조(14)는 요입부(15)를 중심으로 양측에서 서로 반대방향으로 경사지게 형성하며, 이렇게 서로 반대방향으로 경사진 걸림돌기(14)로 인하여 행거용 U채널(1)(1') 상연부(1a)(1'a)의 홈부(1b)(1'b)내에서 걸림이 이루어져 연결구(10)가 이탈됨이 방지된다.On the other hand, the locking projection 14 is formed to be inclined in opposite directions from both sides about the recessed portion 15, and thus the U-channel (1) (1) for the hanger due to the locking projections 14 inclined in opposite directions to each other ') Is engaged in the grooves 1b and 1'b of the upper edge portions 1a and 1'a to prevent the connector 10 from being separated.

또한, 연결구(10)는 상기 바닥면(11)에 나사공(13)을 형성하고, 이 나사공(13)에 볼트(30)로서 볼팅함에 의하여 상기 연결구(10)가 U형채널(1)(1')의 바닥측에서 상방으로 소정 높이"4"로 상승하여 본체(10)의 상연부(12a)가 행거용 U채널(1)(1') 상연부(1a)(1'a) 내측 홈부(1b)(1'b)에 밀착되도록 하므로서 연결구(10)가 강하게 U형채널(1)(1')사이를 연결하게 된다.In addition, the connector 10 forms a screw hole 13 in the bottom surface 11 and bolts the bolt hole 13 to the screw hole 13 so that the connector 10 is U-shaped channel (1). The upper edge portion 12a of the main body 10 moves upward from the bottom side of the bottom portion 1 'to the predetermined height " 4 " so that the upper edge portion 1a and 1'a of the U channel 1 for the hanger 1'1'. The connector 10 is strongly connected between the U-shaped channels 1 and 1 'by being in close contact with the inner grooves 1b and 1'b.

한편, 본 고안 U형채널 연결구(10)는 바닥면(11)의 나사공(13)에 일치하도록 관공(21)을 적어도 하나 이상 형성한 커버부재(20)를 더 구비함이 바람직하다.On the other hand, the subject U-shaped channel connector 10 is preferably further provided with a cover member 20 formed with at least one orifice 21 to match the screw hole 13 of the bottom surface (11).

이 커버부재(20)는 관공(21)이 형성된 상부(20a)는 좁고 바닥면(11)에 밀착 지지되는 하부(20b)는 광폭으로 하여 상부와 하부에 걸쳐 경사진 측벽(20c)을 형성하여서 된다. The cover member 20 forms a sidewall 20c inclined over the upper and lower portions of the lower portion 20b having a narrow upper portion and the lower portion 20b that is tightly supported on the bottom surface 11. do.

따라서 상기 관공(21)을 관통한 볼트(30)는 나사공(13)에 나사맞춤되어 하방으로 내려가므로서 연결구 본체(10)가 U채널(1)(1')에서 들어올려져 본체(10)를 행거용 U채널(1)(1')의 홈부(1b)(1'b)에 밀착되게 함과 아울러 볼트(30)의 헤드부(31)가 커버되도록 하면서 행거용 U채널(1)(1')내 돌출을 방지되게 하여서 된다. Therefore, the bolt 30 penetrating through the hole 21 is screwed down to the screw hole 13 and the connector body 10 is lifted from the U-channel (1) (1 ') while being lowered down the main body 10 In close contact with the groove portions 1b and 1'b of the U channel 1 and 1 'for the hanger, and the head 31 of the bolt 30 to be covered, 1 ') to prevent the protrusion.

상기 시공예의 도면과 단면도들에서 도시하는 바와 같이 연결구(10)는 바닥면(11)과, 양측 수직면(12)을 형성하여 상부를 개방하되 길이 방향으로 길게 연장된 U형 단면의 연결구(10)로서, 상기 수직면(12)에는 요입부(15)만을 형성하되, 상기 바닥면(11)에 나사공(13)을 형성하고, 이 나사공(13)에 볼트(30)로서 볼팅함에 의하여 상기 본체(10)가 행거용 U채널(1)(1') 상연부 홈부(1b)(1'b)에 밀착되는 구조이다.As shown in the drawings and cross-sectional views of the construction example, the connector 10 forms a bottom surface 11 and both vertical surfaces 12 to open the upper portion, but has a U-shaped cross section extending in the longitudinal direction 10. In this case, only the concave inlet portion 15 is formed on the vertical surface 12, and a screw hole 13 is formed in the bottom surface 11, and the main body is bolted to the screw hole 13 as a bolt 30. The structure 10 is in close contact with the groove portions 1b and 1'b of the upper edge portion of the hanger U-channel 1 and 1 '.

상기 연결구(10) 역시 나사공(13)에 일치하도록 관공(21)을 적어도 하나 이상 형성한 커버부재(20)를 더 구비함이 바람직하며, 커버부재(20)는 관공(21)이 형성된 상부(20a)는 좁고 바닥면(11)에 밀착지지되는 하부(20b)는 광폭으로 하여 상부와 하부에 걸쳐 경사진 측벽(20c)을 형성하여서 된다.Preferably, the connector 10 further includes a cover member 20 having at least one tube hole 21 formed to correspond to the screw hole 13, and the cover member 20 has an upper portion formed with the tube hole 21. 20a is narrow and the lower part 20b which adheres closely to the bottom surface 11 is made wide, and the side wall 20c inclined over the upper part and the lower part is formed.

첨부 도면중 도 3은 본 고안 U채널 연결구의 시공예를 나타내는 일실시예의 사시도이고, 도 4a는 본 고안 행거용 U채널 연결구의 제1실시예의 단면도이고, 도 4b는 본 고안 행거용 U채널 연결구의 제2실시예의 단면도이고, 도 4c는 본 고안 행거용 U채널 연결구의 제3실시예의 단면도이고 도 5는 본 고안 행거용 연결구의 타 방향의 단면도이고, 도 6은 본 고안 행거용 연결구에 적용된 커버부재의 발췌사시도이다. 3 is a perspective view of an embodiment showing a construction example of the U-channel connector of the present invention, Figure 4a is a cross-sectional view of the first embodiment of the U-channel connector for the present invention hanger, Figure 4b is a U-channel connector for the invention hanger 4C is a cross-sectional view of a third embodiment of a U-channel connector for a hanger of the present invention, FIG. 5 is a cross-sectional view of another direction of the connector for a hanger of the present invention, and FIG. 6 is applied to a connector for a hanger of the present invention. Excerpt perspective view of a cover member.

상기 도면들에 따르는 본 고안 U채널 연결구의 작용은 도 3에서 도시하는 바와 같이 양측 U채널(1)(1')의 단부를 두고 그 사이에 연결구(10)를 개재함에 있어서 연결구(10)의 요입부(15)의 대략 절반 위치에서 바닥면(11)측에 중점"나"를 형성하여 양측에서 삽입된 U채널(1)(1')의 삽입길이를 정해주도록 하며,도 4a 내지 도 4c에서 도시하는 바와 같이 상기 바닥면(11)에 형성된 나사공(13)에 커버부재(20)를 위치시킨 뒤 관공(21)을 관통한 볼트(30)로서 나사공(13)에 나사맞춤되어 하방으로 내려가도록 하므로서 연결구 본체(10)가 U채널(1)(1')바닥에서 들어올려져 본체(10)를 행거용 U채널(1)(1')의 홈부(1b)(1'b)에 밀착되게 하여서 된다. The action of the inventive U-channel connector according to the above figures is shown in FIG. 3, with the end of both U-channels 1, 1 ′ interposed therebetween and with the connector 10 interposed therebetween. A midpoint "I" is formed at the bottom surface 11 side at approximately half of the concave inlet portion 15 to determine the insertion length of the U channel 1, 1 'inserted at both sides, and FIGS. 4A to 4C. As shown in FIG. 2, the cover member 20 is positioned in the screw hole 13 formed in the bottom surface 11, and then screwed into the screw hole 13 as a bolt 30 penetrating through the hole 21. The connector body 10 is lifted from the bottom of the U channel (1) (1 ') so that the connector body (10) is lowered to the groove (1b) (1'b) of the U channel (1) (1') for the hanger. It should be in close contact.

도 1a 내지 도 1b는 종래 행거용 U채널 연결구의 절단 상태와 이로 인하여 발생되는 문제점을 설명하는 도면이고, 도 2a는 본 고안 행거용 U채널 연결구의 제1실시예의 사시도이고, 도 2b는 본 고안 행거용 U채널 연결구의 제2실시예의 사시도이고, 도 2c는 본 고안 행거용 U채널 연결구의 제3실시예의 사시도이고, 도 3은 본 고안 U채널 연결구의 시공예를 나타내는 일실시예의 사시도이고, 도 4a는 본 고안 행거용 U채널 연결구의 제1실시예의 단면도이고, 도 4b는 본 고안 행거용 U채널 연결구의 제2실시예의 단면도이고, 도 4c는 본 고안 행거용 U채널 연결구의 제3실시예의 단면도이고, 도 5는 본 고안 행거용 연결구의 타방향의 단면도이고, 도 6은 본 고안 행거용 연결구에 적용된 커버부재의 발췌사시도이다. 1A to 1B are views illustrating a state of cutting and a problem caused by the conventional U-channel connector for a hanger, FIG. 2A is a perspective view of a first embodiment of the U-channel connector for a hanger of the present invention, and FIG. 2B is a present invention 2 is a perspective view of a second embodiment of the U-channel connector for a hanger, Figure 2c is a perspective view of a third embodiment of the U-channel connector for the present invention, Figure 3 is a perspective view of an embodiment showing a construction example of the U-channel connector for the present invention, 4A is a cross-sectional view of the first embodiment of the U-channel connector for the present invention hanger, FIG. 4B is a cross-sectional view of the second embodiment of the U-channel connector for the present invention hanger, and FIG. 4C is a third embodiment of the U-channel connector for the present invention hanger 5 is a cross-sectional view of the other direction of the connector for the hanger of the present invention, Figure 6 is an exploded perspective view of the cover member applied to the connector for the hanger of the present invention.

Claims (2)

수직면(12)의 상연부(12a)에 이탈방지용 걸림돌조(14)를 형성한 행거용 U채널 연결구에 있어서,In the U-channel connector for a hanger in which the locking projections 14 for preventing the separation are formed on the upper edge portion 12a of the vertical surface 12, 양측에서 삽입되는 U채널(1)(1')들의 삽입위치를 잡아주기 위하여 중점"나"을 형성하고, 동시에 U채널(1)(1')들의 절단시 발생된 상연부(1a)(1a')와,홈부(1b)(1'b)의 양단 변형단부"가"가 넣어지는 요입부(15)를 형성하여,In order to hold the insertion position of the U channel 1 (1 ') inserted at both sides, a middle point "I" is formed, and at the same time, the upper edges 1a (1a) generated when cutting the U channel 1 (1'). And the concave inlet portion 15 into which the both ends of the deformable ends " of the grooves 1b and 1'b " 연속 연결되는 U채널(1)(1')들의 연결부로 인한 직선상태를 일정하게 유지하도록 하는 것을 특징으로 하는 행거용 U채널 연결구.The U-channel connector for a hanger, characterized in that to maintain a constant state of the straight line due to the connection of the U channel (1) (1 ') that is connected continuously. 제1항에 있어서,The method of claim 1, 상기 요입부(15)는 상기 걸림돌조(14)의 높이(A)보다 깊게 요입깊이(B)를 형성하는 것을 특징으로 하는 행거용 U채널 연결구.The concave inlet portion 15 is a U-channel connector for a hanger, characterized in that to form a concave depth (B) deeper than the height (A) of the locking projection (14).
KR2020070018486U 2007-10-29 2007-11-16 Uchannel connector for hanger Expired - Lifetime KR200446329Y1 (en)

Priority Applications (1)

Application Number Priority Date Filing Date Title
KR2020070018486U KR200446329Y1 (en) 2007-10-29 2007-11-16 Uchannel connector for hanger

Applications Claiming Priority (2)

Application Number Priority Date Filing Date Title
KR1020070108735 2007-10-29
KR2020070018486U KR200446329Y1 (en) 2007-10-29 2007-11-16 Uchannel connector for hanger

Publications (2)

Publication Number Publication Date
KR20090004127U KR20090004127U (en) 2009-05-06
KR200446329Y1 true KR200446329Y1 (en) 2009-10-20

Family

ID=41289792

Family Applications (1)

Application Number Title Priority Date Filing Date
KR2020070018486U Expired - Lifetime KR200446329Y1 (en) 2007-10-29 2007-11-16 Uchannel connector for hanger

Country Status (1)

Country Link
KR (1) KR200446329Y1 (en)

Families Citing this family (2)

* Cited by examiner, † Cited by third party
Publication number Priority date Publication date Assignee Title
KR200486162Y1 (en) * 2016-04-05 2018-04-09 최한진 Raceway connector and Raceway connecting structure
KR102447403B1 (en) * 2020-06-30 2022-09-26 김승호 Structural improvement raceway joiner

Citations (4)

* Cited by examiner, † Cited by third party
Publication number Priority date Publication date Assignee Title
KR0139154Y1 (en) * 1996-06-21 1999-05-15 이상배 Cable duct connector
JP2002112425A (en) * 2000-09-29 2002-04-12 Burest Kogyo Kenkyusho Co Ltd Jointing method for cable rack, cable rack and metal joint fitting
KR200303366Y1 (en) * 2002-10-26 2003-02-06 김병길 Connecting structure for cable tray
KR200354666Y1 (en) * 2004-03-19 2004-06-30 금아금속공업(주) A joiner for raceway

Patent Citations (4)

* Cited by examiner, † Cited by third party
Publication number Priority date Publication date Assignee Title
KR0139154Y1 (en) * 1996-06-21 1999-05-15 이상배 Cable duct connector
JP2002112425A (en) * 2000-09-29 2002-04-12 Burest Kogyo Kenkyusho Co Ltd Jointing method for cable rack, cable rack and metal joint fitting
KR200303366Y1 (en) * 2002-10-26 2003-02-06 김병길 Connecting structure for cable tray
KR200354666Y1 (en) * 2004-03-19 2004-06-30 금아금속공업(주) A joiner for raceway

Also Published As

Publication number Publication date
KR20090004127U (en) 2009-05-06

Similar Documents

Publication Publication Date Title
US6247869B1 (en) Tubing connector
US7908816B2 (en) Device for connecting building boards, especially floor panels
USD1007286S1 (en) Cable hanger
USD1008006S1 (en) Cable hanger
USD1008007S1 (en) Cable hanger
US7384025B2 (en) Screw hiding device for combining lateral tubes with upright tubes
USD1008004S1 (en) Cable hanger
USD1007284S1 (en) Cable hanger
ES2601231T3 (en) Clip connection
US10655661B2 (en) Connector for connecting profiled-section elements
EP3377720B1 (en) Joint for the angular connection of hollow profile members and method using such joint
USD1007285S1 (en) Cable hanger
KR200446329Y1 (en) Uchannel connector for hanger
JP2009527711A (en) Linear bearing guide rail
KR101266615B1 (en) Assembly of cable tray
US9387828B2 (en) Adapter for windshield wiper assembly
JP2003235971A (en) Tube opening and closing clamp
JPH0433290Y2 (en)
US6216891B1 (en) Frame to receive a part to be carried
RU24896U1 (en) CABLE TRAY OF LADDER TYPE (OPTIONS) AND SYSTEM FOR LAYING CABLE LINES (OPTIONS)
RU237436U1 (en) Profile for mounting a suspended ceiling
JP5469139B2 (en) Lip groove shape connecting device
KR200234874Y1 (en) Edge clamp
JPS6319505Y2 (en)
JPH10159397A (en) Joining structure of lattice frame and lattice

Legal Events

Date Code Title Description
A201 Request for examination
UA0108 Application for utility model registration

Comment text: Application for Utility Model Registration

Patent event code: UA01011R08D

Patent event date: 20071116

UA0201 Request for examination
UG1501 Laying open of application
E902 Notification of reason for refusal
UE0902 Notice of grounds for rejection

Comment text: Notification of reason for refusal

Patent event code: UE09021S01D

Patent event date: 20090616

E701 Decision to grant or registration of patent right
UE0701 Decision of registration

Patent event date: 20091009

Comment text: Decision to Grant Registration

Patent event code: UE07011S01D

REGI Registration of establishment
UR0701 Registration of establishment

Patent event date: 20091012

Patent event code: UR07011E01D

Comment text: Registration of Establishment

UR1002 Payment of registration fee

Start annual number: 1

End annual number: 3

Payment date: 20091013

UG1601 Publication of registration
FPAY Annual fee payment

Payment date: 20121011

Year of fee payment: 4

UR1001 Payment of annual fee

Payment date: 20121011

Start annual number: 4

End annual number: 4

FPAY Annual fee payment

Payment date: 20131010

Year of fee payment: 5

UR1001 Payment of annual fee

Payment date: 20131010

Start annual number: 5

End annual number: 5

FPAY Annual fee payment

Payment date: 20141007

Year of fee payment: 6

UR1001 Payment of annual fee

Payment date: 20141007

Start annual number: 6

End annual number: 6

UR1001 Payment of annual fee

Payment date: 20151006

Start annual number: 7

End annual number: 7

FPAY Annual fee payment

Payment date: 20161222

Year of fee payment: 8

UR1001 Payment of annual fee

Payment date: 20161222

Start annual number: 8

End annual number: 8

FPAY Annual fee payment

Payment date: 20171116

Year of fee payment: 9

UR1001 Payment of annual fee

Payment date: 20171116

Start annual number: 9

End annual number: 9

EXPY Expiration of term
UC1801 Expiration of term

Termination category: Expiration of duration

Termination date: 20180516