KR200422933Y1 - 이중관을 이용한 가압식 네일링 장치 - Google Patents

이중관을 이용한 가압식 네일링 장치 Download PDF

Info

Publication number
KR200422933Y1
KR200422933Y1 KR2020060011429U KR20060011429U KR200422933Y1 KR 200422933 Y1 KR200422933 Y1 KR 200422933Y1 KR 2020060011429 U KR2020060011429 U KR 2020060011429U KR 20060011429 U KR20060011429 U KR 20060011429U KR 200422933 Y1 KR200422933 Y1 KR 200422933Y1
Authority
KR
South Korea
Prior art keywords
ground
packer
outer casing
reinforcing rod
grouting
Prior art date
Legal status (The legal status is an assumption and is not a legal conclusion. Google has not performed a legal analysis and makes no representation as to the accuracy of the status listed.)
Ceased
Application number
KR2020060011429U
Other languages
English (en)
Inventor
윤남식
Original Assignee
(주)지성이씨에스
Priority date (The priority date is an assumption and is not a legal conclusion. Google has not performed a legal analysis and makes no representation as to the accuracy of the date listed.)
Filing date
Publication date
Application filed by (주)지성이씨에스 filed Critical (주)지성이씨에스
Priority to KR2020060011429U priority Critical patent/KR200422933Y1/ko
Application granted granted Critical
Publication of KR200422933Y1 publication Critical patent/KR200422933Y1/ko
Anticipated expiration legal-status Critical
Ceased legal-status Critical Current

Links

Images

Classifications

    • EFIXED CONSTRUCTIONS
    • E02HYDRAULIC ENGINEERING; FOUNDATIONS; SOIL SHIFTING
    • E02DFOUNDATIONS; EXCAVATIONS; EMBANKMENTS; UNDERGROUND OR UNDERWATER STRUCTURES
    • E02D17/00Excavations; Bordering of excavations; Making embankments
    • E02D17/20Securing of slopes or inclines
    • EFIXED CONSTRUCTIONS
    • E02HYDRAULIC ENGINEERING; FOUNDATIONS; SOIL SHIFTING
    • E02DFOUNDATIONS; EXCAVATIONS; EMBANKMENTS; UNDERGROUND OR UNDERWATER STRUCTURES
    • E02D5/00Bulkheads, piles, or other structural elements specially adapted to foundation engineering
    • E02D5/74Means for anchoring structural elements or bulkheads
    • E02D5/80Ground anchors
    • E02D5/805Ground anchors with deformable anchoring members
    • EFIXED CONSTRUCTIONS
    • E02HYDRAULIC ENGINEERING; FOUNDATIONS; SOIL SHIFTING
    • E02DFOUNDATIONS; EXCAVATIONS; EMBANKMENTS; UNDERGROUND OR UNDERWATER STRUCTURES
    • E02D5/00Bulkheads, piles, or other structural elements specially adapted to foundation engineering
    • E02D5/74Means for anchoring structural elements or bulkheads
    • E02D5/80Ground anchors
    • E02D5/808Ground anchors anchored by using exclusively a bonding material
    • EFIXED CONSTRUCTIONS
    • E02HYDRAULIC ENGINEERING; FOUNDATIONS; SOIL SHIFTING
    • E02DFOUNDATIONS; EXCAVATIONS; EMBANKMENTS; UNDERGROUND OR UNDERWATER STRUCTURES
    • E02D2600/00Miscellaneous
    • E02D2600/30Miscellaneous comprising anchoring details

Landscapes

  • Engineering & Computer Science (AREA)
  • Structural Engineering (AREA)
  • Mining & Mineral Resources (AREA)
  • Life Sciences & Earth Sciences (AREA)
  • General Life Sciences & Earth Sciences (AREA)
  • Paleontology (AREA)
  • Civil Engineering (AREA)
  • General Engineering & Computer Science (AREA)
  • Consolidation Of Soil By Introduction Of Solidifying Substances Into Soil (AREA)

Abstract

본 고안은 이중관을 이용한 가압식 네일링 장치에 관한 것으로서, 외부 케이싱에 의하여 절개지나 사면에 형성되는 천공홀의 지반을 붕괴되지 않도록 견고하게 지지하고, 가압 그라우팅이 가능하도록 함으로써, 보강지반의 마찰력 증대를 통한 인발저항력을 증대하여 지반의 보강효과를 극대화할 수 있도록 하고, 특히 패커를 인출하여 재사용할 수 있도록 하는 것을 목적으로 한다.
본 고안의 네일링 장치는, 천공홀(12)에 삽입되어 지반을 지지하는 외부케이싱(30)과; 상기 외부케이싱의 내부에 삽입되고, 입구에 그라우팅 주입구(41)가 설치되는 내부케이싱(40)과; 상기 내부케이싱을 관통하여 천공홀에 삽입되는 보강봉(50)과; 상기 내부케이싱과 상기 외부케이싱 사이에 지지되는 팽창패커(60)와; 상기 팽창패커를 선택적으로 팽창시키는 충전호스(70)와; 그리고, 상기 보강봉의 둘레로 끼워져, 보강봉과 천공 사이의 공간을 균일하게 유지하는 적어도 하나의 스페이서(80);를 포함하여 이루어진다.
네일링, 네일러, 패커, 그라우팅, 이중관, 케이싱, 가압식.

Description

이중관을 이용한 가압식 네일링 장치{SOIL NAILING DEVICE USING DOUBLE CASINGS}
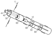
도 1은 본 고안에 따른 이중관을 이용한 가압식 네일링 장치에 의하여 절개지를 그라우팅 시공한 상태를 나타내는 단면도이다.
도 2는 본 고안에 따른 이중관을 이용한 가압식 네일링 장치에 의하여 사면을 그라우팅 시공한 상태를 나타내는 사시도이다.
도 3a 내지 도 3e는 본 고안에 따른 이중관을 이용한 가압식 네일링 방법을 나타내는 공정도이다.
<도면의 주요 부분에 대한 부호의 설명>
10 : 절개지, 11 : 사면,
12 : 천공홀, 20 : 충전물질,
30 : 외부케이싱, 40 : 내부케이싱,
41 : 그라우팅 주입구, 50 : 보강봉,
60 : 패커, 70 : 충전호스,
80 : 스페이서.
본 고안은 이중관을 이용한 가압식 네일링(SOIL NAILING) 장치에 관한 것으로서, 특히 외부 케이싱에 의하여 절개지나 사면에 형성되는 천공홀의 지반을 붕괴되지 않도록 견고하게 지지하고, 가압 그라우팅이 가능하도록 함으로써, 보강지반의 마찰력 증대를 통한 인발저항력을 증대하여 지반의 보강효과를 극대화할 수 있는 이중관을 이용한 가압식 네일링 장치에 관한 것이다.
예컨대, 토목공사 등으로 형성되는 절개지나 사면은 지반으로 침투된 물의 수압 등에 의하여 붕괴될 우려가 있으므로, 보강공사나 흙막이 가시설 공사 등이 수행되어야 하는데, 이러한 지반보강공법의 한 예로, 네일링 공법이 널리 사용되고 있다.
네일링 공법은, 절개지나 사면 등의 대상 지반에 천공홀을 만들고, 그 천공홀에 보강재를 삽입한 후, 상기 천공홀에 무압 또는 소정의 압력으로 시멘트 밀크와 같은 충전물질을 주입하여 그라우팅을 실시함으로써, 보강된 영역의 토괴가 일체화된 옹벽과 같이 거동되도록 하여, 보강된 대상 지반의 안정을 유지하는 것을 기본적인 설계개념으로 하고 있다.
이러한 네일링 공법에 의하면, 보강봉의 삽입과 그라우팅을 실시한 보강 지반이 아칭현상(Soil arching : 주변지반은 변화가 없는데 일부 국소지반이 변형을하게 된다면 그 변형하는 지반에 인접된 부분도 변형하려는 특성, 즉 파괴부분의 토압이 인접부의 안정된 지반의 토압으로 변화하는 효과)을 유발시켜, 발생토압을 현저히 감소시킨다는 거동적 특성이 나타난다. 그러므로, 네일링 공법에 있어서, 일체화를 위한 그라우팅의 효과는 매우 중요한 요소이다.
종래 네일링 공법의 한 예로 중력식 네일링 공법이 제안되었는데, 이러한 중력식 네일링 공법에 의하면, 중력식으로 그라우팅을 실시하기 때문에, 지반보강 효과가 명확하지 않아 지반보강체에 구조적으로 결함이 유발될 우려가 있다. 또한, 충전물질의 지반침투 및 수축현상을 보완하기 위하여, 적어도 3회 이상 수회 반복하여 그라우팅 공정을 실시하여야 하므로, 지반 보강공사가 번거롭고 공정이 길어져서 시공성이 저하된다.
한편, 충전물질을 가압하여 주입하는 가압 그라우팅 공법을 수행하는 가압식 네일링 장치와 공법의 일 예가 한국 등록특허 제366156호에 개시되어 있다. 이 기술에 따르면, 속이 비어 있고 외주면에 다수의 분사공이 형성된 보강봉(보강 파이프)를 천공홀에 삽입하되, 이 천공홀의 입구를 영구적으로 밀폐하도록, 보강 파이프의 선단부 둘레로, 우레탄과 같은 패킹물질을 주입하여 천공홀 내주면에 지지되는 패커를 지지시킨 다음, 상기 파이프의 중공부를 통해 충전물질을 가압 주입하는 방식으로 그라우팅을 실시하도록 되어 있다.
그런데, 상기 선행기술에 있어서는, 반드시 그라우팅을 하기 위해 중공의 파이프를 사용하여야 할 뿐만 아니라 파이프 외부면에 장착되는 패킹소재가 지중에 영구 존치되는 것이기에 일반적으로 천공홀의 개수가 결코 적지 않음을 고려할 때 대단히 비경제적이며 또한 천공홀 입구 주위에 삽입되는 패팅부재는 그 팽창외면이 천공홀 내면에 직접 맞닿는 것이기 때문에 천공홀 내주면의 평활도가 떨어질 경우 팽창패커의 천공홀 밀폐가 기밀하지 않아 결국 그라우팅 소재의 천공홀 내부로의 가압주입압력을 높일 수 없게 된다. 이는 특히 주위에 보강대상지반의 균열부에 대한 충전불량이 발생할 수 있으며, 천공홀의 지반을 지지하는 효과가 취약하기 때문에, 시공품질에 대하여 명확한 보강효과를 기대할 수 없는 단점이 있고, 부직포에 우레탄 등을 주입하여 이루어진 패커를 회수할 수 없기 때문에, 지반오염을 야기할 수 있는 문제점이 있다.
본 고안은 상기한 종래 문제점을 고려하여 이루어진 것으로서, 외부 케이싱에 의하여 절개지나 사면에 형성되는 천공홀의 지반을 붕괴되지 않도록 견고하게 지지하고, 가압 그라우팅이 가능하도록 함으로써, 보강지반의 마찰력 증대를 통한 인발저항력을 증대하여 지반의 보강효과를 극대화할 수 있도록 하는 것을 목적으로 한다.
본 고안의 다른 목적은 패커를 인출하여 재사용할 수 있도록 하는 것이다.
상기 목적을 달성하기 위하여, 본 고안에 따른 이중관을 이용한 가압식 네일링 장치는, 절개지나 사면에 형성되는 천공홀에 삽입되어 지반을 지지하는 외부케이싱과; 상기 외부케이싱의 내부에 삽입되고, 입구에 그라우팅 주입구가 설치되는 내부케이싱과; 상기 내부케이싱을 관통하여 천공홀에 삽입되는 보강봉과; 상기 내부케이싱과 외부케이싱 사이에 지지되는 팽창패커와; 상기 팽창패커를 선택적으로 팽창시키는 충전호스와; 그리고, 상기 보강봉의 둘레로 끼워져, 보강봉과 천공홀 사이의 간격을 균일하게 유지하기 위한 적어도 하나의 스페이서를 포함하여 이루어 지는 것을 특징으로 한다.
본 고안의 특징 및 이점들은 첨부도면에 의거한 다음의 상세한 설명으로 더욱 명백해질 것이다. 이에 앞서, 본 명세서 및 청구범위에 사용된 용어나 단어는 고안자가 그 자신의 고안을 가장 최선의 방법으로 설명하기 위해 용어의 개념을 적절하게 정의할 수 있다는 원칙에 입각하여 본 고안의 기술적 사상에 부합하는 의미와 개념으로 해석되어야만 한다.
도 1에는 본 고안에 따른 이중관을 이용한 가압식 네일링 장치에 의하여 절개지가 그라우팅된 예가 도시되어 있고, 도 2에는 사면이 그라우팅된 예가 도시되어 있다.
도 1 및 도 2에 도시된 바와 같이, 본 고안의 네일링 장치는, 외부케이싱(30)과, 내부케이싱(40)과, 보강봉(50)과, 패커(60)와, 충전호스(70)와, 그리고 적어도 하나의 스페이서(80)를 포함하여 이루어진다.
상기 외부케이싱(30)은, 도 1에 도시된 바와 같은 절개지(10)나 도 2에 도시된 바와 같은 사면(11)에 형성되는 천공홀(12)에 일정한 깊이까지 삽입되어 천공홀(12)의 지반을 지지하는 것으로서, 그 상단부는 천공홀(12)의 밖으로 돌출되도록 천공홀(12)에 삽입된다.
상기 내부케이싱(40)은 상기 천공홀(12)에 시멘트 밀크와 같은 충전물질(20)을 주입하여 그라우팅할 수 있도록 상기 외부케이싱(30)에 대하여 바람직하게는 동심상(同心狀)으로 삽입되는 것으로서, 그 입구에 그라우팅 주입구(41)가 설치되어 있으며, 상기 그라우팅 주입구(41)는 상기 외부케이싱(30)의 밖으로 인출되어야 한 다.
상기 보강봉(50)은 네일링에 의해 그라우팅된 충전물질(20)을 보강하기 위한 역학적 보강재로서, 천공홀의 천공이후 외부케이싱이 설치된 다음에 스페이서와 함께 삽입된다. 즉, 보강봉(50)을 천공홀에 삽입할 때에는 그 보강봉 외주면에 길이방향으로 소정의 간격을 두어 스페이서(80)가 장착된 상태로 하여 이 스페이서들과 함께 천공홀(12)의 바닥 끝까지 삽입된다.
상기 패커(60)는 상기 외부케이싱(30)과 상기 내부케이싱(40) 사이의 공간을 막아 상기 내부케이싱(40)을 지지하는 한편 그 패킹 하부로만 시멘트액이 충전되고 패킹상부로는 시멘트액이 올라오지 못하도록 차단하는 기능을 하는 요소로서, 예컨대, 고무 등의 소재로 이루어질 수 있고, 그 상단 및 하단이 결속재(61) 등에 의해 상기 내부케이싱(40)의 외주에 기밀되게 결속되어 지지된다. 즉, 상기 패커(60)는 작동적으로 상기 내부케이싱(40)의 둘레로 부풀어 오를 수 있게 설치된다.
상기 충전호스(70)는 상기 팽창패커(60)에 패킹물질, 예컨대 물이나 공기 또는 오일 등을 주입하여 상기 패커(60)를 선택적으로 팽창시키기 위한 것으로서, 그 하단이 상기 외부케이싱(30)을 통해 상기 패커(60)의 내부로 삽입고정되어 있다. 상기 충전호스(70)의 입구도 상기 외부케이싱(30) 밖으로 인출된다.
그러나 본 고안에서 팽창패커(60)는 물이나 공기와 같은 유체의 충전에 의해 팽창되는 것이 아니라 스크류의 조임에 의해 가압되어 팽창되는 소위 기계식 팽창패커로 구성될 수도 있으며 이 경우 전술한 충전호스는 불필요하고 이에 대신하여 기계식 가압기구, 예컨대 패커의 상하단을 대향하는 방향으로 가압할 경우 그 패커 의 축방향 길이가 줄어듦에 따라 상대적으로 원주방향 둘레가 늘어나도록 하여 그 패커의 늘어난 원주방향 외주면이 외관의 내주면에 압접되도록 하는 스크류형 가압기구(미도시)가 사용될 수 있다
한편, 스페이서(80)는 상기 보강봉(50)의 둘레로 끼워져, 보강봉이 천공홀의 중심에 위치하도록 함으로써 시멘트액 중에 매립경화되었을 때 시멘트 경화체의 압축응력과 함께 필요충분한 인장응력 및 전단응력을 갖도록 하기 위한 요소이다. 이 스페이서는 그 원주방향으로 다수의 틈새가 형성됨으로서 충전되는 시멘트 액이 이 틈새를 통하여 스페이서 하부의 공간으로 압입되어 들어갈 수 있는 기능을 한다. 이로써 상기 스페이서(80)는, 상기 보강봉(50)이 천공홀(12)의 중심축선상에 놓이도록 하는 동시에, 충전물질 관통로로 기능하며, 시멘트액 경화이후에는 보강봉(50)과 그라우팅된 충전물질(20)에 대하여 보강하는 기능을 하게 된다.
다음에, 상기한 바와 같이 구성된 본 고안에 따른 이중관을 이용한 가압식 네일링 장치에 의하여 그라우팅하는 방법을 도 3a 내지 도 3e를 참조하면서 설명한다.
우선, 도 3a에 도시된 바와 같이, 보강하고자 하는 절개지(10)나 사면(11)에 형성된 천공홀(12)을 형성한다.
다음에, 도 3b에 도시된 바와 같이, 상기 천공홀(12)의 지반을 지지하도록 상기 천공홀(12)에 외부케이싱(30)을 삽입한다.
다음에, 도 3c에 도시된 바와 같이, 외주에 길이방향 소정간격으로 장착된 스페이서를 갖는 보강봉(50)을 그 하단이 천공홀 바닥에 닿도록 천공홀에 삽입한 다.
이어서, 도 3d에 도시한 바와 같이, 입구에 그라우팅 주입구(41)가 달린 내부케이싱(40)의 외주에 패커(60)가 설치되고 충전호스(70)의 하단이 상기 패커(60)에 삽입되어 이루어진 내부케이싱 패커 조립체를, 그 내부케이싱의 내부로 상기 보강봉(50)이 삽입되도록 하여 상기 외부케이싱(30)에 삽입한다.
이러한 상태에서, 도 3e에 도시한 바와 같이, 상기 충전호스(70)를 통해 예컨대, 물이나 공기와 같은 패킹물질을 상기 패커(60)에 주입하여 또는 기계식 스크류 기구를 통해 상기 패커(60)를 팽창시킴으로써, 상기 조립체를 외부케이싱 내주면에 밀착 지지시킨다.
다음에, 도 3f에 도시된 바와 같이, 상기 그라우팅 주입구(41)를 통해 상기 천공홀(12)에 시멘트 밀크와 같은 충전물질(20)을 가압충전하여 상기 천공홀(12)을 그라우팅한다. 이러한 그라우팅에 의해 상기 천공홀(12)의 지반이 충전물질(20) 및 보강봉(50)과 함께 일체화되어 보강될 수 있다.
천공홀에 대한 이러한 시멘트 주입공정이 완료되면 팽창패커로부터 주입된 패커 팽창물질(물 또는 공기 등)을 제거하거나 여 팽창패커를 수축시킴으로써 외주 케이싱에 대한 지지를 해제하고 내부케이싱과 함께 천공홀로부터 빼낸다.
이어서 상기 외부케이싱(30)을 천공홀(12)로부터 인발한다.
상기한 바와 같이 구성된 본 고안에 따른 이중관을 이용한 가압식 네일링 장치에 의하면, 충전물질(20)을 가압충전하여 그라우팅함으로써, 느슨한 지반을 확실 하게 다질 수 있고, 보강대상지반의 균열부에 대한 충전효과가 양호하며, 보강봉(50)의 인발저항력이 증대되므로, 절개지(10)나 사면(11)의 보강효과를 종래에 비하여 현저하게 높일 수 있다.
또한, 그라우팅을 완료한 이후에, 보강봉(50) 및 스페이서(80)를 제외한 모든 구성요소들을 외부로 인출할 수 있고, 인출된 구성요소들을 재활용할 수 있으므로, 경제적임과 아울러, 지반오염을 방지할 수 있다.

Claims (2)

  1. 절개지나 사면에 형성되는 천공홀에 삽입되어 지반을 지지하는 외부케이싱과;
    상기 외부케이싱의 내부에 삽입되고, 입구에 그라우팅 주입구가 설치되는 내부케이싱과;
    상기 내부케이싱을 관통하여 천공홀에 삽입되는 보강봉과;
    상기 내부케이싱과 외부케이싱 사이에 지지되는 팽창패커와;
    상기 팽창패커를 선택적으로 팽창시키는 팽창기구와; 그리고,
    상기 보강봉의 둘레로 끼워져, 보강봉과 천공홀 사이의 간격을 균일하게 유지하기 위한 적어도 하나의 스페이서를 포함하여 이루어지는 것을 특징으로 하는 이중관을 이용한 가압식 네일링 장치.
  2. 제1항에 있어서,
    상기 스페이서는 원주방향 등간격으로 시멘트 주입통로용 틈이 형성되어 있는 것을 특징으로 하는 이중관을 이용한 가압식 네일링 장치.
KR2020060011429U 2006-04-27 2006-04-27 이중관을 이용한 가압식 네일링 장치 Ceased KR200422933Y1 (ko)

Priority Applications (1)

Application Number Priority Date Filing Date Title
KR2020060011429U KR200422933Y1 (ko) 2006-04-27 2006-04-27 이중관을 이용한 가압식 네일링 장치

Applications Claiming Priority (1)

Application Number Priority Date Filing Date Title
KR2020060011429U KR200422933Y1 (ko) 2006-04-27 2006-04-27 이중관을 이용한 가압식 네일링 장치

Related Parent Applications (1)

Application Number Title Priority Date Filing Date
KR1020060038296A Division KR100778608B1 (ko) 2006-04-27 2006-04-27 이중관을 이용한 가압식 네일링 장치 및 방법

Publications (1)

Publication Number Publication Date
KR200422933Y1 true KR200422933Y1 (ko) 2006-08-02

Family

ID=41771559

Family Applications (1)

Application Number Title Priority Date Filing Date
KR2020060011429U Ceased KR200422933Y1 (ko) 2006-04-27 2006-04-27 이중관을 이용한 가압식 네일링 장치

Country Status (1)

Country Link
KR (1) KR200422933Y1 (ko)

Cited By (3)

* Cited by examiner, † Cited by third party
Publication number Priority date Publication date Assignee Title
KR100850295B1 (ko) * 2007-03-28 2008-08-04 김용기 가압패커 및 가압식 쏘일네일링공법
KR100935176B1 (ko) * 2009-05-25 2010-01-06 주식회사 홍익기술단 도로사면 보호용 친환경 식생구조물 및 이의 시공방법
KR20200030176A (ko) 2018-09-12 2020-03-20 육대주건설주식회사 압력식 쏘일 네일링장치

Cited By (3)

* Cited by examiner, † Cited by third party
Publication number Priority date Publication date Assignee Title
KR100850295B1 (ko) * 2007-03-28 2008-08-04 김용기 가압패커 및 가압식 쏘일네일링공법
KR100935176B1 (ko) * 2009-05-25 2010-01-06 주식회사 홍익기술단 도로사면 보호용 친환경 식생구조물 및 이의 시공방법
KR20200030176A (ko) 2018-09-12 2020-03-20 육대주건설주식회사 압력식 쏘일 네일링장치

Similar Documents

Publication Publication Date Title
KR100888585B1 (ko) 다단 가압식 그라우팅장치 및 이를 이용한 다단 가압식그라우팅공법
KR101070072B1 (ko) 이중 팩커를 이용한 강관 다단 동시그라우팅 장치와 이의 시공방법
KR100859872B1 (ko) 굴곡형 정착 패커를 갖는 앵커체 시공방법
KR101544139B1 (ko) 압력 그라우팅에 의한 토사 정착형 마이크로파일 및 이의 시공방법
KR101018867B1 (ko) 가압 그라우팅을 위한 재사용 패커
KR100937237B1 (ko) 복합 쏘일네일링 지반보강장치 및 이를 이용한 복합 쏘일네일링공법
KR100850295B1 (ko) 가압패커 및 가압식 쏘일네일링공법
KR100753655B1 (ko) 다층팩커를 이용한 다단그라우팅장치 및 그 시공방법
KR101236765B1 (ko) 말뚝이나 인장부재의 지지력 확대를 위해 천공확장부에 접합채움재를 타설하는 방법 및 그 장치
KR100778608B1 (ko) 이중관을 이용한 가압식 네일링 장치 및 방법
KR20020009300A (ko) 복합형 패커를 사용한 어스앙카 및 이를 이용한 어스앙카 시공공법
KR200422933Y1 (ko) 이중관을 이용한 가압식 네일링 장치
KR100576789B1 (ko) 케이싱과 고무튜브형 패커를 이용한 다단그라우팅장치 및그 시공방법
KR101488721B1 (ko) 지중 앵커파일의 구근확장방법 및 상기 방법에 사용되는 구근확장장치
KR102176457B1 (ko) 소일 네일 장치 및 이를 이용한 소일네일링 공법
KR102011365B1 (ko) 소일 네일용 제거식 팩커모듈 및 이를 이용한 압력 그라우팅 시공방법 및 압력 그라우팅 콘크리트 패널 시공방법
KR20080107618A (ko) 패커장치 및 이를 이용한 소일 네일링 시공방법
KR101029547B1 (ko) 동시 다단 지반강화제 주입장치
KR102192677B1 (ko) 변위 커플링을 구비한 내구성 및 팽창성이 향상된 패커
JP4336169B2 (ja) ロックボルトの施工方法
JP4244215B2 (ja) パイプ式ロックボルト及びパイプ式ロックボルト施工方法
KR101175521B1 (ko) 가압식 쏘일 네일링장치 및 공법
JP4414898B2 (ja) 止水性を確認可能な遮水材の継手部の施工方法
CN108474192A (zh) 在用于压低地面斜坡的压板侧具有固定装置的锚固器及其安装方法
KR200331999Y1 (ko) 케이싱과 고무튜브형 패커를 이용한 다단그라우팅장치

Legal Events

Date Code Title Description
U107 Dual application of utility model
UA0107 Dual application for utility model registration

Comment text: Dual Application of Utility Model Registration

Patent event date: 20060427

Patent event code: UA01011R07D

REGI Registration of establishment
UR0701 Registration of establishment

Patent event date: 20060726

Patent event code: UR07011E01D

Comment text: Registration of Establishment

UR1002 Payment of registration fee

Start annual number: 1

End annual number: 1

Payment date: 20060428

UG1601 Publication of registration
FPAY Annual fee payment

Payment date: 20070607

Year of fee payment: 3

UR1001 Payment of annual fee

Payment date: 20070607

Start annual number: 2

End annual number: 3

EXTG Ip right invalidated
UC2102 Extinguishment