KR200406764Y1 - 일체형 스크린 및 원통형 모래제거기 - Google Patents

일체형 스크린 및 원통형 모래제거기 Download PDF

Info

Publication number
KR200406764Y1
KR200406764Y1 KR2020050027940U KR20050027940U KR200406764Y1 KR 200406764 Y1 KR200406764 Y1 KR 200406764Y1 KR 2020050027940 U KR2020050027940 U KR 2020050027940U KR 20050027940 U KR20050027940 U KR 20050027940U KR 200406764 Y1 KR200406764 Y1 KR 200406764Y1
Authority
KR
South Korea
Prior art keywords
tank
sand
sewage
contaminants
drum screen
Prior art date
Legal status (The legal status is an assumption and is not a legal conclusion. Google has not performed a legal analysis and makes no representation as to the accuracy of the status listed.)
Ceased
Application number
KR2020050027940U
Other languages
English (en)
Inventor
김양수
Original Assignee
주식회사 청우이엔이
Priority date (The priority date is an assumption and is not a legal conclusion. Google has not performed a legal analysis and makes no representation as to the accuracy of the date listed.)
Filing date
Publication date
Application filed by 주식회사 청우이엔이 filed Critical 주식회사 청우이엔이
Priority to KR2020050027940U priority Critical patent/KR200406764Y1/ko
Application granted granted Critical
Publication of KR200406764Y1 publication Critical patent/KR200406764Y1/ko
Anticipated expiration legal-status Critical
Ceased legal-status Critical Current

Links

Images

Classifications

    • BPERFORMING OPERATIONS; TRANSPORTING
    • B01PHYSICAL OR CHEMICAL PROCESSES OR APPARATUS IN GENERAL
    • B01DSEPARATION
    • B01D21/00Separation of suspended solid particles from liquids by sedimentation
    • B01D21/26Separation of sediment aided by centrifugal force or centripetal force
    • B01D21/265Separation of sediment aided by centrifugal force or centripetal force by using a vortex inducer or vortex guide, e.g. coil
    • BPERFORMING OPERATIONS; TRANSPORTING
    • B01PHYSICAL OR CHEMICAL PROCESSES OR APPARATUS IN GENERAL
    • B01DSEPARATION
    • B01D21/00Separation of suspended solid particles from liquids by sedimentation
    • B01D21/24Feed or discharge mechanisms for settling tanks
    • B01D21/245Discharge mechanisms for the sediments
    • B01D21/2461Positive-displacement pumps; Screw feeders; Trough conveyors

Landscapes

  • Chemical & Material Sciences (AREA)
  • Chemical Kinetics & Catalysis (AREA)
  • Filtration Of Liquid (AREA)
  • Separation Of Solids By Using Liquids Or Pneumatic Power (AREA)

Abstract

본 고안은 하수 및 오.폐수의 협잡물처리기에서 그릴 모양의 드럼 스크린이 폐수로 유입되는 협잡물을 분리하는 스크린부, 협잡물을 이송하는 이송부, 이송된 협잡물을 압축하는 압축부로 구성되는 협잡물처리기에 있어서, 협잡물과 모래가 같이 유입되는 하수 및 오.폐수가 그릴 모양의 드럼 스크린을 통과하면서 크기가 상당한 협잡물은 드럼 스크린에서 여과되어 처리되며 드럼 스크린을 통과한 모래는 원통형 탱크를 통과하게 되고 이때 공기를 분사시켜 와류를 형성하여 모래의 침전을 보다 효과적으로 할 수 있게 하며, 동시에 공기 분사에 의해 오염된 모래를 세척하면서 탱크의 저부에 형성된 스크류콘베어에 모이게 하고 이송함으로서 깨끗한 모래로 처리할 수 있는 모래제거기를 제공하고자 하는 것이다.

Description

일체형 스크린 및 원통형 모래제거기{Screen and Cylindrical Grit Separator}
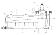
도 1은 본 고안의 전체도
도 2는 본 고안의 측면도
도 3은 본 고안의 상세도
도 4는 본 고안의 탱크의 단면도
* 도면의 주요 부분에 대한 부호의 설명*
11 : 탱크 12 : 챔버
13 : 공기공급관 14 : 분사구
15 : 드럼 스크린 16 : 스크류(a,b,c)
17 : 압축관 18 : 이송관(a,b)
19 : 유입관 21 : 배출관
22 : 오버플로워관 23 : 수용함
24 : 홈 25 : 모래
본 고안은 오수 및 폐수의 협잡물처리장치의 원통형 탱크에 관한 것으로, 상세하게는 협잡물과 모래를 포함하는 오수가 수용함에 유입되어 협잡물은 드럼 스크린에서 걸러지고 모래는 드럼 스크린을 통과하여 원통형 탱크로 유입되어 탱크의 길이에 걸처 이동하면서 탱크 내벽에 노출된 다수개의 분사구에서 공기가 분출되어 오수를 와류시켜 오수의 수평 흐름을 둔화시키고 원통형 탱크 내벽을 따라 오수가 회류하고 비중이 큰 모래는 탱크 내벽에 부딪혀 하중에 의해 하강하여 쳄버에 모이며 오수가 와류되는 과정에서 공기 분사에 의해 모래에 씌워진 오물이 세척되도록 구성된 원통형 모래제거기에 관한 것이다.
종래의 협잡물처리장치는 협잡물이 처리된 후 오수 중 모래를 제거하기 위해큰 침전탱크가 필요하였고 이로 인해 설치가 어렵고 장비가격 및 토목 구조에 소요되는 비용이 상승하는 문제점이 있다.
본 고안은 오. 폐수 처리장치의 입수부에서 협잡물을 걸러내는 드럼 스크린과 연계하여 원통형 내벽에 길이에 걸쳐 다수개의 공기 분사구를 형성하고 탱크 저부에는 별도의 챔버를 부착하여 일체형으로 형성하고 탱크의 내부와 챔버의 내부가 그 길이에 걸처 연결이 되도록 형성한 후, 상기 챔버 내부에 모래를 이송할 수 있는 스크류컨베이어를 설치하고 모래를 포함하는 오수가 드럼 스크린을 통과하여 탱크에 수용되면 분사구에서 공기가 분사되어 오수가 와류를 일으키게 하므로서 오수는 탱크에서 상당한 시간을 체류하고 침전 효과가 높아져 작은 크기의 모래까지 침전시켜 처리할 수 있으며 체류하는 동안 공기 분사에 의해 모래를 제거하는 장치를 제공하는데 그 목적이 있다.
오수가 최대한 탱크에 오래 체류하여 더 많은 모래가 침전할 수 있도록 하기 위해 오수의 배출 위치를 오수의 유입 방향에서 원 거리에 위치케 하고 탱크의 윗 부분에 위치하며 오수의 수용함에 설치된 오버플로워(overflower)관과 연결되도록 한다.
드럼 스크린과 이송관이 설치되는 수용함은 협잡물이 압축되어 물이 배출될 때 그 물을 수용할 수 있도록 구성하며 수용함에 유입되는 오수가 갑자기 많아지면 오버플로워 (overflower)관에 의해 많아진 정도의 오수가 배출되도록 한다.
분사구의 공기 분사량은 오수의 오염 정도에 따라 분사량을 조절할 수 있도록 하고 조절 밸브는 탱크 밖에 설치하여 작동이 용이하도록 한다.
오수의 수용함(23)과 탱크(11)는 일체형으로 형성되어 도 1에 도시된 것과 같이 오수함(23) 일부가 탱크(11)에 포함되는 구조이다.
본 고안은 협잡물을 포함하는 오수를 수용함(23)과 수용함(23)에 거치 고정되어 협잡물을 걸러 내는 드럼 스크린(15)과 드럼 스크린(15)과 일체형으로 형성되고 드럼 스크린(15) 내의 협잡물을 이송하고 탈수하는 이송관(18a)과 이송된 협잡물을 압착하고 탈수시키는 압축관(17)으로 구성되는 모래제거기에 있어서, 수용함(23)과 연계되고 수용함과 일체형으로 형성된 탱크(11)가 수용함(23)의 오수를 수용하고 배출시키는 과정에서 탱크(11) 벽에 형성된 다수개의 분사구(13)에서 고압으로 분사되는 공기에 의해 오수에 포함되는 모래(25)를 최대한 많은 양이 침전되도록 하고 동시에 세척시킬 수 있도록 구성된 것이다.
오수를 수용하며 드럼 스크린(15)이 수용되는 오수함(23)과, 유입되는 오수가 많아지면 많아진 것 만큼 퇴출시키는 오버플로워관(22)과, 오수함(23)에서 드럼스크린(15)으로 걸러지고 배출되는 오수를 수용하는 탱크(11)와, 탱크(11)에 공기를 분사하는 분사구(14)를 포함하는 공기 공급관(13)과, 모래(25)가 침전되어 쌓이는 모래(25)를 한 방향으로 이송시키는 스크류콘베어(16a)를 포함하는 챔버(12)로 구성된다.
도 1은 본 고안에 의한 협잡물처리장치의 전체를 도시하기 위한 것이고, 도 2는 본 고안에 의한 협잡물처리장치의 구조를 도시하기 위한 것이며, 도 3은 본 고안에 의한 탱크의 구조를 상세히 도시한 것이다.
본 고안은 이송관(18a)의 하부에 장착된 드럼 스크린(15)과, 드럼 스크린(15)에 집적된 협잡물을 이송시키는 콘베어 스크류(16b)가 내재된 이송관(18a)과, 이송되는 협잡물을 압축 탈수하여 케이크화시키는 압축관(17)으로 구성되어 협잡물을 처리하는 종래의 장치를 개선한 것이다.
도 1에 도시된 것과 같이 드럼 스크린(15)과 이송관(18a)의 일부를 수용하고 수로로부터 유입되는 오수를 수용하는 수용함(23)이 구성된다.
상기 수용함(23) 상부에는 수로에서 유입되는 오수의 량이 많을 때, 오수를 퇴출할 수 있는 오버플로워관(22)이 형성된다.
오. 폐수는 유입관(19)을 통하여 수용함(23)에 유입된다.
수용함(23)의 오. 폐수는 수용함(23)에서 직접 탱크(11)에 유입된다.
상기 수용함(23)에서 탱크(11)로 유입되는 오수는 드럼 스크린(15)에서 협잡물이 걸러진 오수이다.
상기 탱크(11)는 원통형으로 형성하되 모래를 침전시킬 수 있는 최소의 길이를 갖도록 구성된다.
탱크(11)가 원형인 것은 탱크(11) 내벽이 곡면이 되게 함으로서 오수의 와류 형성을 쉽게 하고 곡면에 쌓이는 모래(25)가 곡면인 내벽을 타고 서서히 하강하도록 한 구성이다.
탱크(11)에는 오수배출관(21)이 형성되고 오버플로워관(22)과 연결된다. 도 3에 도시된 것과 같이 탱크(11) 양 벽에는 분사구(14)이 배치되고 송풍기와 연결된공기공급관(13)으로부터 공기를 공급받아 분사하도록 구성된다.
탱크(11) 하부에는 탱크(11)의 길이에 걸쳐 개방되어 소정의 폭으로 홈(24)이 형성되며 홈(24) 아래에는 그 내부가 홈(24)과 연결되는 챔버(12)가 형성된다.
상기 챔버(12) 내부에는 그 길이에 걸처 스크류콘베어(16a)가 설치되고 모래(25)를 이송할수 있도록 구성된다.
본 고안을 실시 예로 설명한다.
본 고안은 종래에 사용되는 협잡물처리장치에서 처리하는 경우 협잡물을 처리하는 과정에서 드럼 스크린(15)을 통과하는 오수 중 모래(25)를 충분하게 침전하기 위해 큰 탱크가 필요한 문제점이 있고, 수거되는 모래(25)가 오물이 접착된 상태이기 때문에 재사용하기 위해 다시 세척하는 곤란함이 있으며, 세척을 하게 되면 또다시 오수가 발생하는 문제점을 개선하기 위해 오수에서 협잡물과 모래(25)를 분하여 처리할 때 충분한 모래(25)의 수거와 세척을 동시에 이룰 수 있는 장치를 제공하는 것이다.
협잡물과 모래(25)를 포함하는 오수가 수로에서 수용함(23)에 수용되면 드럼스크린(15)의 스크레파(도시되지않음)가 작동하여 드럼 스크린(15) 내경에 부착되는 협잡물을 이송관(18a)의 하부에 모아주면 이송관(18a)의 스크류콘베어(16b)가 회전하여 협잡물을 압축관(17)으로 이송하게 되고 압축관(17)에서 압축 탈수된 협잡물은 케이크화되어 배출된다.
상기와 같은 과정에서 협잡물이 걸러진 오수는 원통형 탱크(11)에 유입된다. 수로의 오수 유입량이 많아지게 되면 오수가 수용함(23)을 넘치지 않도록 수용함(23)의 상부에 오버플로워관(22)을 설치하여 오수가 수용함(23)을 넘치지 않도록 한다.
상기 수용함(23)의 드럼 스크린(15)은 수용함(23)의 내벽에 밀착되는 구조이므로 드럼 스크린(15)을 통과하는 오수의 협잡물은 드럼 스크린(15)에서 차단되므로 탱크(11)로 유입되는 오수에는 협잡물은 포함되지 않는다.
탱크(11)의 위치는 탱크(11)에 유입되는 오수는 탱크(11) 체적의 80%정도에서 배출되도록 구성하는 것이 바람직하다.
탱크(11)에 오수가 채워지면 공기공급관(13)으로 유입되는 공기가 분사구(14)를 이용하여 고압으로 분사하게 된다. 탱크(11)에 수용되는 오수의 량에 따라 분사량(14)을 조절할 수 있고 오수의 오염 정도에 따라 분사구(14) 이용을 조절할 수 있다.
상기와 같이 탱크(11)에 공기 분사를 하는 일차적 이유는, 탱크(11)에 유입되는 오수는 수로의 유속과 같을 것이므로 탱크(11)의 와류를 형성하여 유속을 둔화켜 모래 침전을 보다 효율적으로 하기 위한 것이고, 이차적 이유는 모래(25)의 세척을 위한 것이다.
탱크(11)에 설치된 공기 분사구(14)는 탱크(11)의 내벽 아래 부분에 설치되고 상 방향으로 분사하도록 구성되어 있으므로, 탱크(11)에 유입되는 오수가 공기 분사에 의해 흐름이 둔화되면 오수가 탱크(11)에서 체류시간이 길어지게 되고 모래(25)의 침전 시간이 짧아지게 된다.
모래(25)의 침하는 탱크(11)의 1/2 아래 내면에 걸처 쌓이게 되며 윗 부분에 쌓인 모래(25)는 서서히 탱크(11)의 내면을 따라 하강하게 되고 하강하는 모래(25)는 공기 분사에 의해 오수와 같이 와류하면서 계속하여 공기 분사에 세척하게 된다.
와류되면서 세척되는 모래(25)가 탱크(11)의 하부에 쌓이게 되면 홈(24)을 통하여 챔버(12)에 모이게 된다.
챔버(12)에 모인 모래(25)는 스크류콘베어(16a)에 의해 이송관(18b) 방향으로 이송되고 이송관(18b)하부에 모인 모래(25)는 경사형으로 설치된 스크류콘베어(16c)에 의해 이송되어 배출된다.
모래(25)가 걸러진 탱크(11)에 수용된 오수는 배출관(21)을 통하여 배출되고 상기 배출관(21)은 오버플로워관(22)과 연결되어 배출되도록 구성된다.
본 고안에 의한 모래제거기는 오수 중의 모래를 원통형 탱크에서 공기를 이용하여 와류를 발생시켜 분리하므로 탱크의 크기를 최소화할 수 있고 또한 모래를 동시에 세척하므로 세척하는 별도의 과정을 생략할 수 있고, 모래를 세척하는 과정에 의한 장소를 생략하여 설치되는 것이므로 장치가 간단하여 협소한 장소에서도 설치할 수 있으므로 설치 장소의 선택이 용이하므로 설치 비용, 설치의 간편, 작업의 간편 등으로 산업성을 제고 할 수 있다.

Claims (3)

  1. 수로의 오수가 유입되어 수용되는 수용함과 수용함의 오수 중에 위치하여 오수의 협잡물을 걸러내는 드럼 스크린과 드럼 스크린에서 모아진 협잡물을 이송하는 이송관과 이송관에서 이송된 협잡물을 압착 탈수하여 물이 배출되도록 하고 케이크화하여 압축관으로 구성된 협잡물 처리장치에 있어서, 수용함에서 유입되는 오. 폐수를 수용하며 수용된 오수에 포함된 모래가 와류에 의해 효율적으로 침전되도록 한 원통형 탱크와, 탱크에 쌓인 모래가 배출되도록 탱크 하부 길이에 걸처 형성된 홈과, 홈과 연계하여 홈으로 유입되는 모래를 수용하도록 탱크의 길이에 걸처 탱크와 일체형으로 형성된 챔버로 구성되는 것을 특징으로 하는 일체형 스크린 및 원통형 모래제거기.
  2. 제1항에 있어서, 탱크의 외벽에는 탱크의 길이를 따라 공기 공급관이 형성되고 탱크의 내벽에는 그 길이에 걸처 공기 공급관과 연계하여 다수개의 분사구가 형성되어 고압으로 물을 분사하여 유입되는 오수를 와류시키고 배출되는 속도를 둔화시켜 모래를 효율적으로 침전, 세척하도록 구성되는 것을 특징으로 하는 일체형 스크린 및 원통형 모래제거기.
  3. 제1항에 있어서, 챔버에는 그 길이에 걸처 스크류콘베어가 설치되어 홈으로 유입되는 모래를 이송할 수 있도록 구성되는 것을 특징으로 하는 일체형 스크린 및 원통형 모래제거기.
KR2020050027940U 2005-09-29 2005-09-29 일체형 스크린 및 원통형 모래제거기 Ceased KR200406764Y1 (ko)

Priority Applications (1)

Application Number Priority Date Filing Date Title
KR2020050027940U KR200406764Y1 (ko) 2005-09-29 2005-09-29 일체형 스크린 및 원통형 모래제거기

Applications Claiming Priority (1)

Application Number Priority Date Filing Date Title
KR2020050027940U KR200406764Y1 (ko) 2005-09-29 2005-09-29 일체형 스크린 및 원통형 모래제거기

Publications (1)

Publication Number Publication Date
KR200406764Y1 true KR200406764Y1 (ko) 2006-01-24

Family

ID=49295869

Family Applications (1)

Application Number Title Priority Date Filing Date
KR2020050027940U Ceased KR200406764Y1 (ko) 2005-09-29 2005-09-29 일체형 스크린 및 원통형 모래제거기

Country Status (1)

Country Link
KR (1) KR200406764Y1 (ko)

Cited By (5)

* Cited by examiner, † Cited by third party
Publication number Priority date Publication date Assignee Title
KR100957124B1 (ko) * 2010-01-19 2010-05-13 덕 용 김 슬러지 처리장치
KR100988641B1 (ko) * 2009-11-23 2010-10-18 이동명 상,하수 및 폐수의 종합 전처리장치
KR101559140B1 (ko) * 2015-02-11 2015-10-13 주식회사 가온텍 소규모 수처리공정의 전처리설비
CN115745145A (zh) * 2022-12-05 2023-03-07 山东省农业科学院 一种用于养殖污水快速发酵还田装置
CN117547877A (zh) * 2024-01-06 2024-02-13 文水大有实业有限公司 一种消毒剂生产用提纯装置

Cited By (6)

* Cited by examiner, † Cited by third party
Publication number Priority date Publication date Assignee Title
KR100988641B1 (ko) * 2009-11-23 2010-10-18 이동명 상,하수 및 폐수의 종합 전처리장치
KR100957124B1 (ko) * 2010-01-19 2010-05-13 덕 용 김 슬러지 처리장치
KR101559140B1 (ko) * 2015-02-11 2015-10-13 주식회사 가온텍 소규모 수처리공정의 전처리설비
CN115745145A (zh) * 2022-12-05 2023-03-07 山东省农业科学院 一种用于养殖污水快速发酵还田装置
CN117547877A (zh) * 2024-01-06 2024-02-13 文水大有实业有限公司 一种消毒剂生产用提纯装置
CN117547877B (zh) * 2024-01-06 2024-03-22 文水大有实业有限公司 一种消毒剂生产用提纯装置

Similar Documents

Publication Publication Date Title
KR101214553B1 (ko) 합류식 하수 월류수 처리시스템
KR101656493B1 (ko) 이송펌프를 사용하지 않는 에너지 절감형 협잡물 처리기
KR100212298B1 (ko) 오폐수 정화처리장치
KR200406764Y1 (ko) 일체형 스크린 및 원통형 모래제거기
KR100874477B1 (ko) 수처리용 침전조
KR100593293B1 (ko) 폐수의 슬러지 분리장치
KR100380225B1 (ko) 싸이클론식 연속여과기의 자동 역세 장치
KR101603743B1 (ko) 모래 여과재에 의한 수처리 여과장치
KR100518805B1 (ko) 분뇨 및 축산폐수용 협잡물 종합처리기
KR20030059010A (ko) 침사분리기
KR101052546B1 (ko) 측구용 초기우수 처리장치
KR100979530B1 (ko) 하수 처리 장치
JP2005238055A (ja) 夾雑物分離用除塵装置
KR101777997B1 (ko) 장방형 폭기 침사 및 유분 제거 시스템
KR100783024B1 (ko) 원통형의 메쉬스크린과 헬리컬바를 이용한 고액분리장치
KR200337122Y1 (ko) 상,하수 및 폐수 등의 종합 전처리 장치
KR100797564B1 (ko) 진공흡입식 스컴제거장치
RU2232618C1 (ru) Фильтрующее устройство
KR102499493B1 (ko) 오수처리시설용 스크린 탱크
KR200346465Y1 (ko) 하수내 침사및 협잡물 처리를 위한 일체형 스크린 장치
KR100998074B1 (ko) 슬러지, 유분, 협잡물 및 토사 종합처리장치
KR101237412B1 (ko) 상향류 여과장치의 필터 세척장치
KR100429422B1 (ko) 원심 혼합 모래 여과기
KR100754247B1 (ko) 협잡물 종합처리기
KR101748232B1 (ko) 사이클론을 이용한 슬러지 제거 장치

Legal Events

Date Code Title Description
UA0108 Application for utility model registration

Comment text: Application for Utility Model Registration

Patent event code: UA01011R08D

Patent event date: 20050929

REGI Registration of establishment
UR0701 Registration of establishment

Patent event date: 20060116

Patent event code: UR07011E01D

Comment text: Registration of Establishment

UR1002 Payment of registration fee

Start annual number: 1

End annual number: 1

Payment date: 20050929

UG1601 Publication of registration
T201 Request for technology evaluation of utility model
UT0201 Request for technical evaluation

Patent event date: 20060202

Comment text: Request for Technology Evaluation of Utility Model

Patent event code: UT02011R01D

EXTG Ip right invalidated
T601 Decision to invalidate utility model after technical evaluation
UC2102 Extinguishment
UT0601 Decision on revocation of utility model registration

Comment text: Notice of Reason for Refusal during Technology Evaluation

Patent event date: 20060529

Patent event code: UT06011S01I