KR102797453B1 - 연결부 비노출 구조의 커튼월 프레임 및 이를 구비하는 커튼월 외장 시스템 - Google Patents

연결부 비노출 구조의 커튼월 프레임 및 이를 구비하는 커튼월 외장 시스템 Download PDF

Info

Publication number
KR102797453B1
KR102797453B1 KR1020230038610A KR20230038610A KR102797453B1 KR 102797453 B1 KR102797453 B1 KR 102797453B1 KR 1020230038610 A KR1020230038610 A KR 1020230038610A KR 20230038610 A KR20230038610 A KR 20230038610A KR 102797453 B1 KR102797453 B1 KR 102797453B1
Authority
KR
South Korea
Prior art keywords
curtain wall
vertical member
frame
vertical
building
Prior art date
Legal status (The legal status is an assumption and is not a legal conclusion. Google has not performed a legal analysis and makes no representation as to the accuracy of the status listed.)
Active
Application number
KR1020230038610A
Other languages
English (en)
Other versions
KR20240143388A (ko
Inventor
문동욱
Original Assignee
현대건설(주)
Priority date (The priority date is an assumption and is not a legal conclusion. Google has not performed a legal analysis and makes no representation as to the accuracy of the date listed.)
Filing date
Publication date
Application filed by 현대건설(주) filed Critical 현대건설(주)
Priority to KR1020230038610A priority Critical patent/KR102797453B1/ko
Publication of KR20240143388A publication Critical patent/KR20240143388A/ko
Application granted granted Critical
Publication of KR102797453B1 publication Critical patent/KR102797453B1/ko
Active legal-status Critical Current
Anticipated expiration legal-status Critical

Links

Images

Classifications

    • EFIXED CONSTRUCTIONS
    • E04BUILDING
    • E04BGENERAL BUILDING CONSTRUCTIONS; WALLS, e.g. PARTITIONS; ROOFS; FLOORS; CEILINGS; INSULATION OR OTHER PROTECTION OF BUILDINGS
    • E04B2/00Walls, e.g. partitions, for buildings; Wall construction with regard to insulation; Connections specially adapted to walls
    • E04B2/88Curtain walls
    • E04B2/96Curtain walls comprising panels attached to the structure through mullions or transoms
    • EFIXED CONSTRUCTIONS
    • E04BUILDING
    • E04BGENERAL BUILDING CONSTRUCTIONS; WALLS, e.g. PARTITIONS; ROOFS; FLOORS; CEILINGS; INSULATION OR OTHER PROTECTION OF BUILDINGS
    • E04B1/00Constructions in general; Structures which are not restricted either to walls, e.g. partitions, or floors or ceilings or roofs
    • E04B1/62Insulation or other protection; Elements or use of specified material therefor
    • E04B1/66Sealings
    • E04B1/68Sealings of joints, e.g. expansion joints

Landscapes

  • Engineering & Computer Science (AREA)
  • Architecture (AREA)
  • Physics & Mathematics (AREA)
  • Electromagnetism (AREA)
  • Civil Engineering (AREA)
  • Structural Engineering (AREA)
  • Load-Bearing And Curtain Walls (AREA)

Abstract

본 발명의 일 측면에 따르면, 커튼월 외장 시스템에서 외장 패널을 지지하는 프레임으로서, 건물의 높이방향을 따라서 연장되는 수직 프레임 유닛; 및 상기 건물의 둘레방향을 따라서 연장되고 상기 수직 프레임 유닛의 양측에 각각 연결되는 두 개의 수평 부재들을 포함하며, 상기 수직 프레임 유닛은 상기 높이방향을 따라서 연장되는 상부 수직 부재와, 상기 높이 방향을 따라서 연장되고 상기 상부 수직 부재의 아래에 배치되는 하부 수직 부재와, 상기 상부 수직 부재와 상기 하부 수직 부재의 사이의 간극에 형성되는 탄성 밀봉재를 구비하며, 상기 수평 부재의 일단은 상기 수직 프레임 유닛의 측면에서 상기 탄성 밀봉재를 덮도록 위치하는 커튼월 프레임이 제공된다.

Description

연결부 비노출 구조의 커튼월 프레임 및 이를 구비하는 커튼월 외장 시스템 {CURTAIN WALL FRAME WITH NON-EXPOSED CONNECTING SECTION AND CURTAIN WALL HAVING THE SAME}
본 발명은 커튼월 외장 시스템에 관한 것으로서, 더욱 상세하게는 커튼월 외장 시스템의 프레임에 관한 것이다.
일반적으로 건물의 주구조체인 기둥과 보의 골조만으로 건물에 가해지는 수직하중과 바람이나 지진 등에 의한 수평하중을 지지하는 구조에서 벽체는 단순히 공간을 칸막이하는 구실만 하기 때문에 이때의 벽체를 커튼월(curtain wall)이라 한다.
커튼월 외장 시스템은 알루미늄이나 스틸 바를 통해 뼈대를 이루도록 제작된 프레임(frame)에 유리와 같은 비교적 경량의 외장 패널을 설치하는 방식을 통해 건출물 외벽에 골조 벽체가 배제된 비내력벽체(Non-bearing wall)을 형성하도록 시공하게 된다.
일반적으로 커튼월 외장 시스템의 프레임은 건물의 높이방향을 따라서 연장되는 수직 프레임 유닛들과, 건물의 둘레방향을 따라서 연장되면서 이웃한 두 수직 프레임 유닛들을 연결하는 수평 부재들을 구비한다. 하나의 수직 프레임 유닛은 건물의 높이에 대응하여 복수 개의 수직 부재들이 연결되어서 형성된다.
등록특허 제10-2026581호에는 커튼월 프레임의 두 수직 부재에 슬리브를 삽입하여 연결하는 구성이 기재되어 있다. 하지만, 이러한 종래의 수직 부재 연결 구조에서는 연결부가 그대로 외부로 노출되어서 미관을 해친다.
등록특허 제10-2155752호에는 커튼월 프레임의 수직 부재에 별도의 지지 수단인 키커(kicker)를 설치하여 풍압 등에 의한 하중을 분배시켜서 구조적 안전성을 향상시킨 구성이 기재되어 있다.
대한민국 등록특허공보 등록번호 제10-2026581호 (2019.10.01) 대한민국 등록특허공보 등록번호 제10-2155752호 (2020.09.14)
본 발명의 목적은 두 수직 부재가 연결되는 부분의 노출을 방지하여 미관을 향상시킨 커튼월 프레임 및 이를 구비하는 커튼월 외장 시스템을 제공하는 것이다.
본 발명의 다른 목적은 별도의 지지 수단 없이도 풍압 등에 의한 하중을 분배시켜서 구조적 안전성을 향상시킨 커튼월 외장 시스템을 제공하는 것이다.
상술한 본 발명의 목적을 달성하기 위하여 본 발명의 일 측면에 따르면, 커튼월 외장 시스템에서 외장 패널을 지지하는 프레임으로서, 건물의 높이방향을 따라서 연장되는 수직 프레임 유닛; 및 상기 건물의 둘레방향을 따라서 연장되고 상기 수직 프레임 유닛의 양측에 각각 연결되는 두 개의 수평 부재들을 포함하며, 상기 수직 프레임 유닛은 상기 높이방향을 따라서 연장되는 상부 수직 부재와, 상기 높이 방향을 따라서 연장되고 상기 상부 수직 부재의 아래에 배치되는 하부 수직 부재와, 상기 상부 수직 부재와 상기 하부 수직 부재의 사이의 간극에 형성되는 탄성 밀봉재를 구비하며, 상기 수평 부재의 일단은 상기 수직 프레임 유닛의 측면에서 상기 탄성 밀봉재를 덮도록 위치하는 커튼월 프레임이 제공된다.
상술한 본 발명의 목적을 달성하기 위하여 본 발명의 다른 측면에 따르면, 커튼월 프레임; 및 상기 커튼월 프레임에 설치되는 복수 개의 외장 패널들을 포함하며, 상기 커?z월 프레임은 건물의 높이방향을 따라서 연장되는 수직 프레임 유닛과, 건물의 둘레방향을 따라서 연장되고 상기 수직 프레임 유닛의 양측에 각각 연결되는 두 개의 수평 부재들을 구비하며, 상기 수직 프레임 유닛은 상기 높이방향을 따라서 연장되는 상부 수직 부재와, 상기 높이 방향을 따라서 연장되고 상기 상부 수직 부재의 아래에 배치되는 하부 수직 부재와, 상기 상부 수직 부재와 상기 하부 수직 부재의 사이의 간극에 형성되는 탄성 밀봉재를 구비하며, 상기 수평 부재의 일단은 상기 수직 프레임 유닛의 측면에서 상기 탄성 밀봉재를 덮도록 위치하는 커튼월 외장 시스템이 제공된다.
상술한 본 발명의 목적을 달성하기 위하여 본 발명의 또 다른 측면에 따르면, 커튼월 프레임; 상기 커튼월 프레임을 상기 건물에 결합하는 프레임 결합구; 및 상기 커튼월 프레임에 설치되는 복수 개의 외장 패널들을 포함하며, 상기 커튼월 프레임은 건물의 높이방향을 따라서 연장되는 수직 프레임 유닛과, 건물의 둘레방향을 따라서 연장되고 상기 수직 프레임 유닛의 양측에 각각 연결되는 두 개의 수평 부재들을 구비하며, 상기 수직 프레임 유닛은 상기 높이방향을 따라서 연장되는 상부 수직 부재와, 상기 높이 방향을 따라서 연장되고 상기 상부 수직 부재의 아래에 배치되는 하부 수직 부재와, 상기 상부 수직 부재와 상기 하부 수직 부재에 삽입되어서 상기 상부 수직 부재와 상기 하부 수직 부재를 연결하는 구조 슬리브를 구비하며, 상기 프레임 결합구는 상기 하부 수직 부재를 건물의 슬래브에 결합시키며, 상기 상부 수직 부재와 상기 하부 수직 부재의 연결부는 상기 하부 수직 부재와 상기 프레임 결합구가 결합되는 지점보다 높게 위치하여 상기 슬래브의 위에 배치되는 커튼월 외장 시스템이 제공된다.
본 발명에 의하면 앞서서 기재한 본 발명의 목적을 모두 달성할 수 있다. 구체적으로, 커튼월 프레임의 수평 부재가 상부 수직 부재와 하부 수직 부재의 연결부를 덮도록 위치하고, 나머지 부분이 커버 부재에 의해 덮이므로, 상부 수직 부재와 하부 수직 부재의 연결부가 노출되는 것을 방지되어서 미관이 향상된다.
또한, 커튼월 프레임의 상부 수직 부재와 하부 수직 부재에 구조 슬리브가 삽입되어서 연결되고, 상기 상부 수직 부재와 상기 하부 수직 부재의 연결부는 상기 하부 수직 부재가 건물의 슬래브에 결합되는 지점보다 높게 위치하여 연속보의 구조를 형성함으로써, 풍압과 같은 하중에 의해 수직 부재에 발생하는 모멘트가 분배되어서 구조 안전성이 향상된다.
도 1 및 도 2는 각각 본 발명의 일 실시예에 따른 커튼월 외장 시스템이 건물에 설치된 상태를 개략적으로 보여주는 건물 기준 정면도 및 측면도이다.
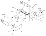
도 3 내지 도 6은 도 1에 도시된 커튼월 외장 시스템에서 프레임의 두 수직 부재들이 연결되는 'A' 부분을 상세하게 도시한 도면이다.
도 7은 도 3에 도시된 구성에서 프레임의 분해도이다.
도 8은 도 3에 도시된 구성에서 프레임의 두 수직 부재들이 연결되기 전의 구성에 대한 분해도이다.
이하, 도면을 참조하여 본 발명의 실시예의 구성 및 작용을 상세히 설명한다.
도 1 및 도 2에는 본 발명의 일 실시예에 따른 커튼월 외장 시스템이 건물에 설치된 상태가 각각 정면도 및 측면도로서 개략적으로 도시되어 있다. 도 1 및 도 2를 참조하면, 본 발명의 일 실시예에 따른 커튼월 외장 시스템(100)은 커튼월 프레임(110)과, 커튼월 프레임(110)을 건물의 슬래브(slab)(S)들에 결합하는 복수 개의 프레임 결합구(180)들과, 커튼월 프레임(110)에 설치되는 복수 개의 외장 패널(190)들을 포함한다.
커튼월 프레임(110)은 건물의 슬래브(S)들에 복수 개의 프레임 결합구(180)들에 의해 고정된다. 커튼월 프레임(110)의 전면(건물의 외측면)에 복수 개의 외장 패널(190)이 결합되어서 설치된다. 커튼월 프레임(110)은 건물의 둘레방향을 따라서 이격되어서 배치되는 복수 개의 수직 프레임 유닛(115)들과, 건물의 높이방향을 따라서 이격되어서 배치되는 복수 개의 수평 부재(150)들을 구비한다.
복수 개의 수직 프레임 유닛(115)들은 건물의 둘레방향을 따라서 이격되어서 배치된다. 복수 개의 수직 프레임 유닛(115)들 각각은 건물의 높이방향을 따라서 길게 연장된다. 수직 프레임 유닛(115)의 전체 길이는 건물의 높이에 대응한다. 복수 개의 수직 프레임 유닛(115)들 중 건물의 둘레방향 상에서 이웃하는 두 개의 수직 프레임 유닛들은 복수 개의 수평 부재(150)들과 연결된다. 도 1 내지 도 8을 참조하면, 수직 프레임 유닛(115)은 높이방향을 따라서 차례대로 연속적으로 배치되는 복수 개의 수직 부재(120)들과, 복수 개의 수직 부재(120)들 중 이웃한 두 개의 수직 부재들을 연결하는 구조 슬리브(sleeve)(130)와, 복수 개의 수직 부재(120)들 중 이웃한 두 개의 수직 부재들 사이에 형성되는 간극을 채우는 탄성 밀봉재(140)를 구비한다.
복수 개의 수직 부재(120)들은 건물의 높이방향을 따라서 차례대로 연속적으로 배치된다. 복수 개의 수직 부재(120)들 각각은 건물의 높이방향을 따라서 길게 연장된다. 수직 부재(120)는 건물의 슬래브(S)들 중 이웃하는 두 슬래브들 사이의 높이(즉, 건물 한층의 높이)에 대응하는 길이를 갖는다. 수직 부재(120)는 프레임 결합구(180)에 의해 건물의 슬래브(S)에 결합되어서 고정된다. 연결되는 두 수직 부재(120)들의 연결 부분(B)은 연결되는 두 수직 부재(120)들 중 아래에 위치하는 수직 부재가 프레임 결합구(180)와 결합되는 지점보다 높게 위치한다. 수직 부재(120)에서 결합구(180)에 결합되는 지점으로부터 위로 연장되는 부분의 길이인 상방 연장 길이(L1)은 결합구(180)에 결합되는 지점으로부터 아래로 연장되는 부분의 길이인 하방 연장 길이(L2)보다 짧게 형성된다. 본 실시예에서 상방 연장 길이(L1)는 수직 부재(130)의 전체 길이(L)의 5 ~ 30%인 것으로 설명한다.
수직 부재(120)는 건물의 높이방향을 따라서 연장되는 중공의 사각 막대 형상이다. 복수 개의 수직 부재(120)들 중 이웃하는 두 개의 수직 부재들에 구조 슬리브(140)가 삽입된다. 이웃하는 두 개의 수직 부재(120)들 중 위에 위치하는 수직 부재인 상부 수직 부재에 구조 슬리브(130)가 결합되어서 고정되고, 이웃하는 두 개의 수직 부재(120)들 중 아래에 위치하는 수직 부재인 하부 수직 부재에 구조 슬리브(130)가 삽입된 상태에서 슬라이드 이동이 가능하다.
구조 슬리브(130)는 복수 개의 수직 부재(120)들 중 이웃한 두 개의 수직 부재들에 삽입된다. 구조 슬리브(130)는 높이방향을 따라서 연장되도록 배치되는 중공의 사각 막대 형상으로서, 구조 슬리브(130)의 상부와 하부는 이웃한 두 개의 수직 부재(120)들 중 위에 위치하는 수직 부재의 내부와 아래에 위치하는 수직 부재의 내부에 각각 삽입된다. 구조 슬리브(130)의 양단은 수직 부재(120) 내부로의 삽입이 용이하도록 각각 길이방향에 대해 경사지게 형성된다. 구조 슬리브(130)는 삽입되는 두 수직 부재(120)들 중 위에 위치하는 수직 부재에는 나사 결합으로 고정되고, 아래에 위치하는 수직 부재에는 고정되지 않아서 상대 이동이 가능하다.
탄성 밀봉재(140)는 탄성을 갖는 밀봉재로서, 복수 개의 수직 부재(120)들 중 이웃한 두 개의 수직 부재들 사이에 형성되는 간극을 채우면서, 구조 슬리브(130)의 바깥을 둘레방향을 따라서 띠 형태로 에워싼다. 탄성 밀봉재(140)는 이웃하는 두 개의 수직 부재(120)들 사이를 밀봉시키면서, 기온 변화 등에 따른 수직 부재(120)의 수축 및 팽창에 대응한다. 탄성 밀봉재(140)로는 통상적인 밀봉재(sealant)가 사용될 수 있다.
복수 개의 수평 부재(150)들은 건물의 높이방향 및 둘레방향을 따라서 배치된다. 수평 부재(150)는 건물의 둘레방향을 따라서 연장되는 중공의 사각 막대 형상이다. 수평 부재(150)는 건물의 둘레방향 상에서 이웃하는 두 수직 프레임 유닛(120)들을 연결한다. 건물의 둘레방향 상에서 이웃하는 두 수직 프레임 유닛(120)들 사이에서 복수 개의 수평 부재(150)들이 건물의 높이방향을 따라서 차례대로 이격되어서 배치된다. 수평 부재(150)의 양단은 수직 프레임 유닛(120)의 평평한 측면과 연결된다. 건물의 둘레방향 상에서 이웃하는 두 수직 프레임 유닛(120)들과 건물의 높이방향 상에서 이웃하는 두 수평 부재(150)들에 의해 형성되는 사각의 영역에 대응하여 하나의 외장 패널(190)이 설치된다.
본 실시예에서 복수 개의 수평 부재(150)들 중 수직 프레임 유닛(120)에서 두 수직 부재(120)들의 연결 부분(B)에 연결되는 두 개의 수평 부재를 특히 연결부 수평 부재(150a)라 한다. 연결부 수평 부재(150a)에서 수직 프레임 유닛(120)의 일측에 연결되는 일단은 탄성 밀봉재(140)를 덮도록 위치한다. 연결부 수평 부재(150a)는 이웃하는 두 수직 부재(120)들 중 위에 위치하는 수직 부재에만 고정되도록 결합된다. 연결부 수평 부재(150a)의 일단이 이웃하는 두 수직 부재(120)들 중 위에 위치하는 수직 부재와는 밀착하고, 아래에 위치하는 수직 부재 및 탄성 밀봉재(140)와는 이격된다. 이를 위하여, 연결부 수평 부재(150)의 일단에서 탄성 밀봉재(140) 및 이웃하는 두 수직 부재(120)들 중 아래에 위치하는 수직 부재와 대향하는 부분은 아래로 가면서 이격 거리가 증가하도록 경사진 경사부(152)를 형성한다. 연결부 수평 부재(150a)의 일단에 형성되는 경사부(152)와 탄성 밀봉재(140) 및 수직 부재(120)의 사이에 틈(154)이 형성된다. 그에 따라, 연결부 수평 부재(150a)의 수축 및 팽창에 따른 간섭이 해소된다. 틈(154)은 추가 탄성 밀봉재(156)에 의해 밀봉된다. 연결부 수평 부재(150a)는 이웃하는 두 수직 부재(120)들 중 위에 위치하는 수직 부재에 결합되는 지지 부재(160)에 결합된다.
지지 부재(160)는 이웃하는 두 수직 부재(120)들 중 위에 위치하는 수직 부재의 양측면에 각각 결합된다. 지지 부재(160)는 수직 부재(120)의 측면에 밀착하면서 나사 결합되는 기초부(162)와, 기초부(162)의 건물 내측 단부와 건물 외측 단부 각각으로부터 돌출되어서 형성되는 두 날개부(164)들을 구비한다. 지지 부재(160)는 기초부(162)가 수직 부재(120)에 나사 결합되어서 수직 부재(120)에 고정된다. 기초부(162)를 수직 부재(120)에 나사 결합시키는 것은 수직 부재(120)에 구조 슬리브(130)를 결합시키는 나사못(166)이다. 즉, 나사못(166)에 의해 지지 부재(160)와 구조 슬리브(130)가 이웃하는 두 수직 부재(120)들 중 위에 위치하는 수직 부재에 결합되어서 고정된다. 날개부(164)는 연결부 수평 부재(150a)의 내부에 삽입된다. 날개부(164)가 연결부 수평 부재(150a)의 내부에 삽입된 상태에서 나사못(168)에 의해 날개부(164)와 연결부 수평 부재(150a)가 결합된다.
지지 부재(160)의 기초부(162)에는 밀봉재 차단판(169)이 나사못에 의해 결합된다. 밀봉재 차단판(169)은 연결부 수평 부재(150a)의 내부에서 경사부(152)에 대응하는 부분에 배치되어서 추가 탄성 밀봉재(156)가 형성되는 과정에서 연결부 수평 부재(150a)의 내부로 유입되는 것을 막는다.
연결부 수평 부재(150a)에는 내부 덮개 구조(170)가 결합된다. 내부 덮개 구조(170)는 이웃하는 두 수직 부재(120)들의 연결 부분(B)을 건물 내측면에서 덮어서, 탄성 밀봉재(140)를 건물 내측면에서 노출시키지 않는다. 내부 덮개 구조(170)는 연결부 수평 부재(150a)에 결합되는 클립 부재(172)와, 클립 부재(172)에 결합되는 덮개 부재(174)를 구비한다.
클립 부재(172)는 연결부 수평 부재(150a)에 나사 결합된다. 클립 부재(172)를 연결부 수평 부재(150a)에 나사 결합시키는 것은 연결부 수평 부재(150a)를 지지 부재(160)에 결합시키는 나사못(168)이다. 즉, 나사못(168)에 의해 클립 부재(172)와 연결부 수평 부재(150a)가 함께 지지 부재(160)에 결합되어서 고정된다. 클립 부재(172)에 덮개 부재(174)가 결합된다.
덮개 부재(174)는 클립 부재(172)에 결합되어서 건물 내측면에서 탄성 밀봉재(140)를 덮는다. 덮개 부재(174)에 의해 건물 내측면에서 탄성 밀봉재(140)가 노출되지 않는다. 덮개 부재(174)는 탄성 변형 방식으로 클립 부재(172)에 끼워져서 결합된다. 본 실시예에서는 연속되어서 연결되는 두 개의 덮개 부재(174)가 탄성 밀봉재(140)를 덮는 것으로 설명하지만, 이와는 달리 하나의 덮개 부재가 탄성 밀봉재(140)를 덮을 수 있으며, 이 또한 본 발명의 범위에 속하는 것이다. 덮개 부재(174)와 두 개의 연결부 수평 부재(150a)에 의해 탄성 밀봉재(140)의 노출이 방지되어서, 미관이 개선된다.
프레임 결합구(180)는 수직 부재(120)를 건물의 슬래브(S)에 결합하여 고정시킨다. 두 수직 부재(120)들이 연결되는 연결부(B)는 두 수직 부재(120)들 중 아래에 위치하는 하부 수직 부재가 프레임 결합구(180)와 결합되는 지점보다 높게 위치하여 슬래브(S)의 위에 배치된다. 이는 수직 부재(120)를 연속보의 구조 형태로 형성한다. 도 2에의 우측에는 풍압 등의 외부 하중에 의한 수직 부재(120)에서의 굽힘 모멘트 선도가 도시되어 있다. 도 2에 도시된 굽힘 모멘트 선도를 통해 확인되는 바와 같이, 수직 부재(120)에서 정모멘트와 부모멘트가 적절히 분배되어서 구조적 안전성이 향상된다.
복수 개의 외장 패널(190)들 각각은 건물의 둘레방향 상에서 이웃하는 두 수직 프레임 유닛(120)들과 건물의 높이방향 상에서 이웃하는 두 수평 부재(150)들에 의해 형성되는 사각의 영역에 대응하여 설치된다. 외장 패널(190)은 커튼월 외장 시스템에서 통상적으로 사용되는 유리 패널일 수 있다.
이상 실시예를 통해 본 발명을 설명하였으나, 본 발명은 이에 제한되는 것은 아니다. 상기 실시예는 본 발명의 취지 및 범위를 벗어나지 않고 수정되거나 변경될 수 있으며, 본 기술분야의 통상의 기술자는 이러한 수정과 변경도 본 발명에 속하는 것임을 알 수 있을 것이다.
100: 커튼월 외장 시스템 110: 커튼월 프레임
115: 수직 프레임 유닛 120: 수직 부재
130: 구조 슬리브 140: 탄성 밀봉재
150: 수평 부재 156: 추가 탄성 밀봉재
160: 지지 부재 162: 기초부
164: 날개부 172: 클립 부재
174: 덮개 부재 180: 프레임 결합구
190: 외장 패널

Claims (14)

  1. 커튼월 외장 시스템에서 외장 패널을 지지하는 프레임으로서,
    건물의 높이방향을 따라서 연장되는 수직 프레임 유닛; 및
    상기 건물의 둘레방향을 따라서 연장되고 상기 수직 프레임 유닛의 양측에 각각 연결되는 두 개의 수평 부재들을 포함하며,
    상기 수직 프레임 유닛은 상기 높이방향을 따라서 연장되는 상부 수직 부재와, 상기 높이 방향을 따라서 연장되고 상기 상부 수직 부재의 아래에 배치되는 하부 수직 부재와, 상기 상부 수직 부재와 상기 하부 수직 부재의 사이의 간극에 형성되는 탄성 밀봉재를 구비하며,
    상기 수평 부재의 일단은 상기 수직 프레임 유닛의 측면에서 상기 탄성 밀봉재를 덮도록 위치하며,
    상기 수평 부재는 상기 상부 수직 부재와 상기 하부 수직 부재 중 상기 상부 수직 부재에만 결합되어서 고정되는,
    커튼월 프레임.
  2. 청구항 1에 있어서,
    상기 수직 프레임 유닛은 상기 상부 수직 부재와 상기 하부 수직 부재에 삽입되는 구조 슬리브를 더 구비하며,
    상기 구조 슬리브는 상기 상부 수직 부재와 상기 하부 수직 부재 중 상기 상부 수직 부재에만 결합되어서 고정되는,
    커튼월 프레임.
  3. 청구항 2에 있어서,
    상기 탄성 밀봉재는 상기 구조 슬리브의 둘레를 에워싸도록 형성되는,
    커튼월 프레임.
  4. 삭제
  5. 청구항 1에 있어서,
    상기 상부 수직 부재의 측면에 결합되는 기초부와, 상기 기초부로부터 돌출되고 상기 수평 부재와 결합되는 날개부를 구비하는 지지 부재를 더 포함하는,
    커튼월 프레임.
  6. 청구항 1에 있어서,
    수평 부재의 일단부에서 상기 상부 수직 부재와 연결되는 부분은 상기 상부 수직 부재의 측면과 밀착하며, 상기 탄성 밀봉재를 덮는 부분은 상기 탄성 밀봉재로부터 이격되어서 틈을 형성하는,
    커튼월 프레임.
  7. 청구항 6에 있어서,
    상기 틈에 형성되는 추가 탄성 밀봉재를 더 포함하는,
    커튼월 프레임.
  8. 청구항 6에 있어서,
    상기 수평 부재의 내부에 배치되어서 상기 추가 탄성 밀봉재가 형성되는 과정에서 상기 수평 부재 내부로 유입되는 것을 막는 밀봉재 차단판을 더 포함하는,
    커튼월 프레임
  9. 청구항 1에 있어서,
    건물의 내측면에서 상기 간극을 덮어서 상기 탄성 밀봉재의 노출을 막는 덮개 부재를 더 포함하는,
    커튼월 프레임.
  10. 청구항 9에 있어서,
    상기 덮개 부재가 결합되는 클립 부재를 더 포함하며,
    상기 클립 부재는 상기 수평 부재에 고정되는,
    커튼월 프레임.
  11. 커튼월 프레임; 및
    상기 커튼월 프레임에 설치되는 복수 개의 외장 패널들을 포함하며,
    상기 커튼월 프레임은 건물의 높이방향을 따라서 연장되는 수직 프레임 유닛과, 건물의 둘레방향을 따라서 연장되고 상기 수직 프레임 유닛의 양측에 각각 연결되는 두 개의 수평 부재들을 구비하며,
    상기 수직 프레임 유닛은 상기 높이방향을 따라서 연장되는 상부 수직 부재와, 상기 높이 방향을 따라서 연장되고 상기 상부 수직 부재의 아래에 배치되는 하부 수직 부재와, 상기 상부 수직 부재와 상기 하부 수직 부재의 사이의 간극에 형성되는 탄성 밀봉재를 구비하며,
    상기 수평 부재의 일단은 상기 수직 프레임 유닛의 측면에서 상기 탄성 밀봉재를 덮도록 위치하며,
    상기 수평 부재는 상기 상부 수직 부재와 상기 하부 수직 부재 중 상기 상부 수직 부재에만 결합되어서 고정되는,
    커튼월 외장 시스템.
  12. 청구항 11에 있어서,
    상기 하부 수직 부재를 건물의 슬래브에 결합시키는 프레임 결합구를 더 포함하는,
    커튼월 외장 시스템.
  13. 청구항 12에 있어서,
    상기 탄성 밀봉재는 상기 하부 수직 부재와 상기 프레임 결합구가 결합되는 지점보다 높게 위치하여 상기 슬래브의 위에 배치되는,
    커튼월 외장 시스템.
  14. 삭제
KR1020230038610A 2023-03-24 2023-03-24 연결부 비노출 구조의 커튼월 프레임 및 이를 구비하는 커튼월 외장 시스템 Active KR102797453B1 (ko)

Priority Applications (1)

Application Number Priority Date Filing Date Title
KR1020230038610A KR102797453B1 (ko) 2023-03-24 2023-03-24 연결부 비노출 구조의 커튼월 프레임 및 이를 구비하는 커튼월 외장 시스템

Applications Claiming Priority (1)

Application Number Priority Date Filing Date Title
KR1020230038610A KR102797453B1 (ko) 2023-03-24 2023-03-24 연결부 비노출 구조의 커튼월 프레임 및 이를 구비하는 커튼월 외장 시스템

Publications (2)

Publication Number Publication Date
KR20240143388A KR20240143388A (ko) 2024-10-02
KR102797453B1 true KR102797453B1 (ko) 2025-04-18

Family

ID=93116268

Family Applications (1)

Application Number Title Priority Date Filing Date
KR1020230038610A Active KR102797453B1 (ko) 2023-03-24 2023-03-24 연결부 비노출 구조의 커튼월 프레임 및 이를 구비하는 커튼월 외장 시스템

Country Status (1)

Country Link
KR (1) KR102797453B1 (ko)

Citations (2)

* Cited by examiner, † Cited by third party
Publication number Priority date Publication date Assignee Title
CN213539412U (zh) * 2020-09-27 2021-06-25 上海信安幕墙建筑装饰有限公司 一种半单元幕墙的插接结构
KR102275554B1 (ko) 2020-02-15 2021-07-08 강민성 프레임 연결부를 기밀하기 위한 커튼월

Family Cites Families (4)

* Cited by examiner, † Cited by third party
Publication number Priority date Publication date Assignee Title
KR20120006963U (ko) * 2011-03-31 2012-10-10 주식회사 케이씨씨 커튼월 시스템 창호
KR102026581B1 (ko) 2019-01-16 2019-10-01 금산씨엔씨(주) 내진보강용 창호 연결재
KR102155752B1 (ko) 2019-10-31 2020-09-14 (주)신창산업 커튼월의 지진 변위 대응 화스너
JP7770743B2 (ja) * 2022-06-14 2025-11-17 信越化学工業株式会社 二成分型硬化性オルガノポリシロキサン組成物

Patent Citations (2)

* Cited by examiner, † Cited by third party
Publication number Priority date Publication date Assignee Title
KR102275554B1 (ko) 2020-02-15 2021-07-08 강민성 프레임 연결부를 기밀하기 위한 커튼월
CN213539412U (zh) * 2020-09-27 2021-06-25 上海信安幕墙建筑装饰有限公司 一种半单元幕墙的插接结构

Also Published As

Publication number Publication date
KR20240143388A (ko) 2024-10-02

Similar Documents

Publication Publication Date Title
KR101939898B1 (ko) 간단한 연결구조로 형성되어 다양한 시공방법이 용이하게 이루어지도록 형성되는 커튼월.
US4343125A (en) Building block module and method of construction
KR101795878B1 (ko) 세미유닛 커튼월 및, 세미유닛 커튼월의 시공방법
KR102797453B1 (ko) 연결부 비노출 구조의 커튼월 프레임 및 이를 구비하는 커튼월 외장 시스템
KR200325599Y1 (ko) 컨테이너를 이용한 조립식 건물
KR102726081B1 (ko) 건물 외장용 유리 패널 시스템 및 이의 시공방법
JP2003113645A (ja) ユニット建物
KR20180125692A (ko) 컨테이너용 모듈러 유닛
JP4648154B2 (ja) 建築物の増築方法及び増築建築物
KR102790913B1 (ko) 커플합성거더
KR102700942B1 (ko) 대형 pc 커튼월 및 그 시공 방법
JP3943438B2 (ja) 建物
JP5661421B2 (ja) 壁支持構造
KR20250058330A (ko) 조립식 골조 시스템
KR200382766Y1 (ko) 조립식 물탱크의 천정패널 지지구조
JP3221507U (ja) 枠付きパネル連結式建物
JP6990066B2 (ja) 建物のバルコニー構造
JPH09310431A (ja) ガラスブロックパネルの取付構造
JP2862461B2 (ja) 建物ユニット
KR20250058332A (ko) 조립식 골조 시스템
JP2003129562A (ja) 型枠構造
JP2025067237A (ja) 建物の外壁構造
KR101028426B1 (ko) 건축물 외장용 석재판 고정 장치
KR20210127426A (ko) 컨테이너를 이용한 조립식 건물
JPH05171725A (ja) 外壁パネル

Legal Events

Date Code Title Description
PA0109 Patent application

Patent event code: PA01091R01D

Comment text: Patent Application

Patent event date: 20230324

PA0201 Request for examination

Patent event code: PA02011R01I

Patent event date: 20230324

Comment text: Patent Application

PG1501 Laying open of application
E902 Notification of reason for refusal
PE0902 Notice of grounds for rejection

Comment text: Notification of reason for refusal

Patent event date: 20241024

Patent event code: PE09021S01D

E701 Decision to grant or registration of patent right
PE0701 Decision of registration

Patent event code: PE07011S01D

Comment text: Decision to Grant Registration

Patent event date: 20250412

GRNT Written decision to grant
PR0701 Registration of establishment

Comment text: Registration of Establishment

Patent event date: 20250414

Patent event code: PR07011E01D

PR1002 Payment of registration fee

Payment date: 20250414

End annual number: 3

Start annual number: 1

PG1601 Publication of registration