KR102466211B1 - 유기발광다이오드용 마스크 및 유기발광다이오드용 증착장비 및 유기발광다이오드의 제조방법 - Google Patents

유기발광다이오드용 마스크 및 유기발광다이오드용 증착장비 및 유기발광다이오드의 제조방법 Download PDF

Info

Publication number
KR102466211B1
KR102466211B1 KR1020160003554A KR20160003554A KR102466211B1 KR 102466211 B1 KR102466211 B1 KR 102466211B1 KR 1020160003554 A KR1020160003554 A KR 1020160003554A KR 20160003554 A KR20160003554 A KR 20160003554A KR 102466211 B1 KR102466211 B1 KR 102466211B1
Authority
KR
South Korea
Prior art keywords
light emitting
organic light
mask
substrate
emitting diode
Prior art date
Legal status (The legal status is an assumption and is not a legal conclusion. Google has not performed a legal analysis and makes no representation as to the accuracy of the status listed.)
Active
Application number
KR1020160003554A
Other languages
English (en)
Other versions
KR20170084471A (ko
Inventor
안범모
박승호
변성현
Original Assignee
(주)포인트엔지니어링
Priority date (The priority date is an assumption and is not a legal conclusion. Google has not performed a legal analysis and makes no representation as to the accuracy of the date listed.)
Filing date
Publication date
Application filed by (주)포인트엔지니어링 filed Critical (주)포인트엔지니어링
Priority to KR1020160003554A priority Critical patent/KR102466211B1/ko
Publication of KR20170084471A publication Critical patent/KR20170084471A/ko
Application granted granted Critical
Publication of KR102466211B1 publication Critical patent/KR102466211B1/ko
Active legal-status Critical Current
Anticipated expiration legal-status Critical

Links

Images

Classifications

    • H01L51/56
    • HELECTRICITY
    • H01ELECTRIC ELEMENTS
    • H01LSEMICONDUCTOR DEVICES NOT COVERED BY CLASS H10
    • H01L21/00Processes or apparatus adapted for the manufacture or treatment of semiconductor or solid state devices or of parts thereof
    • H01L21/02Manufacture or treatment of semiconductor devices or of parts thereof
    • H01L21/02041Cleaning
    • H01L21/02057Cleaning during device manufacture
    • H01L21/0206Cleaning during device manufacture during, before or after processing of insulating layers
    • H01L21/02063Cleaning during device manufacture during, before or after processing of insulating layers the processing being the formation of vias or contact holes
    • H01L51/0011
    • HELECTRICITY
    • H01ELECTRIC ELEMENTS
    • H01LSEMICONDUCTOR DEVICES NOT COVERED BY CLASS H10
    • H01L2924/00Indexing scheme for arrangements or methods for connecting or disconnecting semiconductor or solid-state bodies as covered by H01L24/00
    • H01L2924/10Details of semiconductor or other solid state devices to be connected
    • H01L2924/11Device type
    • H01L2924/12Passive devices, e.g. 2 terminal devices
    • H01L2924/1204Optical Diode
    • H01L2924/12044OLED

Landscapes

  • Engineering & Computer Science (AREA)
  • Physics & Mathematics (AREA)
  • Condensed Matter Physics & Semiconductors (AREA)
  • General Physics & Mathematics (AREA)
  • Manufacturing & Machinery (AREA)
  • Computer Hardware Design (AREA)
  • Microelectronics & Electronic Packaging (AREA)
  • Power Engineering (AREA)
  • Electroluminescent Light Sources (AREA)

Abstract

본 발명은 금속을 양극 산화하여 형성한 양극산화막을 마스크층으로 이용하여, 고해상도의 패턴을 얻을 수 있는 유기발광다이오드용 마스크 및 유기발광다이오드용 증착장비 및 유기발광다이오드의 제조방법 및 이를 이용한 유기발광다이오드에 관한 것이다.

Description

유기발광다이오드용 마스크 및 유기발광다이오드용 증착장비 및 유기발광다이오드의 제조방법{Mask for organic light emitting diode, and Deposition apparatus for organic light emitting diode, and Manufacturing method of organic light emitting diode using the same}
본 발명은 유기발광다이오드의 광방출층을 형성할 때 이용되는 유기발광다이오드용 마스크 및 유기발광다이오드용 증착장비 및 이를 이용한 유기발광다이오드 및 유기발광다이오드의 제조방법에 관한 것이다.
마스크(섀도우 마스크)를 이용하는 대표적인 전자 소자의 하나는 평판 디스플레이 중의 하나인 유기발광다이오드(OLED)로서 휴대폰 등의 개인 휴대 통신용 디스플레이로 현재 널리 개발되고 있다. 유기발광다이오드는 두께가 매우 얇을 뿐 아니라, 매트릭스 형태로 어드레스 할 수 있으며, 15V 이하의 낮은 전압으로도 구동이 가능한 장점을 가지고 있다.
이와 같은 유기발광다이오드를 만드는데 있어서 유기물 증착 영역 및 제 2 전극을 형성하기 위해서는 통상 마스크(shadow mask)가 사용되는데, 특히 RGB 화소를 포함하는 풀-컬러 유기발광다이오드를 만들 경우에는 마스크를 사용하여 각 RGB 화소(픽셀) 영역들을 형성하고 있다. 이에 따라, 마스크의 해상도가 좋아야 함은 물론이고, 기판과 마스크의 정렬(align)이 유기발광다이오드의 화질을 결정하는 매우 중요한 요소로서 작용하게 된다.
종래에 유기발광다이오드용 마스크를 제조함에 있어서, 금속 시트에 포토레지스트(PR)을 도포하고, 포토마스크를 이용한(또는 노광기를 이용하여 마스크 없이 직접 패턴 형성) 노광 및 현상 공정에 의해 패턴을 형성한 후, 식각(에칭)에 의하여 금속 시트에 패턴을 전사함으로써 마스크를 제조하는 방식이 널리 이용되어 왔다.
또한, 마스크 제조를 위한 금속 시트로는 구리, 니켈, 스테인리스 등이 사용되기도 하나, 보통 니켈-철 합금인 인바(invar)가 많이 사용된다. 인바는 기판으로 사용되는 유리의 열선팽창 계수(3.20×10-6/℃)와 같이 매우 낮은 열선팽창 계수(1~2×10-6/℃)를 가져 고온 증착 공정의 열영향에 의해 기판에 대한 마스크의 치수변화가 적어, 마스크를 기판에 정합시켰을 때의 증착 위치와, 고온 환경의 증착시에 증착 물질의 증착 위치 엇갈림을 피할 수 있는 장점이 있다.
그러나, 인바(invar)는, 가공 또는 에칭 등을 통한 패턴 형성이 용이하지 못한 문제점이 있다. 도 1(a)에는, 에칭시 형성되는 투과홀(10) 내벽의 직진성이 확보되지 않아, 패턴 형성을 위한 에칭 과정에서 투과홀(10)의 내부 폭이 일정하게 형성되지 않은 상태의 단면도를 나타내었다(d1≠d2). 도 1(a)와 같이 유기발광재료(20)가 증착되면, 도 1(b)와 같이, 유기발광재료(20)가 폭 d1을 가지는 설계 증착영역(24)보다 더 크게 폭 d2를 가지는 실 증착영역(22)으로 기판(30)에 증착된다. 폭 d2의 실 증착영역(22) 중에서, 테두리 부분은 중앙부보다 증착된 유기발광재료(20)의 높이가 낮아 발광시 내측부보다 흐리게 보이는 사이드 효과가 발생하게 된다. 이상과 같이, 인바를 사용한 마스크로는 특정한 해상도 이상의 고해상도의 패턴을 얻기 어려운 한계를 가진다.
한국공개특허 제2014-0106986호 일본공개특허 제2008-255449호
본 발명은 전술한 문제점을 해결하기 위하여 안출된 것으로, 고해상도의 패턴을 얻을 수 있는 유기발광다이오드용 마스크 및 유기발광다이오드용 증착장비 및 이를 이용한 유기발광다이오드 및 유기발광다이오드의 제조방법을 제공함에 그 목적이 있다.
전술한 목적을 달성하기 위하여, 본 발명의 유기발광다이오드용 마스크는, 유기발광다이오드용 마스크에 있어서, 상기 마스크는 금속을 양극 산화하여 형성한 양극산화막으로 형성되며, 상기 양극산화막을 상, 하로 관통하는 투과홀이 형성되어 유기발광재료가 상기 투과홀을 통과하여 기판에 증착되도록 하는 마스크층;을 포함하는 것을 특징으로 한다.
또한, 상기 마스크층은, 규칙적으로 배열된 다수의 기공홀을 포함하고, 상기 투과홀은 상기 기공홀의 내부 폭보다 큰 내부 폭을 갖으면서 관통 형성된 것을 특징으로 한다.
또한, 상기 마스크층의 하부에 형성된 자성체 재질의 지지부재를 포함하되, 상기 지지부재에는 상기 투과홀과 연통된 관통홀이 형성된 것을 특징으로 한다.
또한, 상기 투과홀은 상기 마스크층의 일단에서 상기 마스크층의 타단까지 일정한 내부 폭을 갖는 것을 특징으로 한다.
또한, 상기 투과홀의 내부 폭은 상기 관통홀의 내부 폭의 최소 내부 폭보다 작거나 동일한 것을 특징으로 한다.
또한, 상기 금속은 알루미늄 금속을 포함하고, 상기 마스크층은 상기 알루미늄 금속을 양극산화하여 형성된 산화알루미늄인 것을 특징으로 한다.
또한, 상기 지지부재와 상기 마스크층 사이에는 금속 재질의 중간층이 형성되되, 상기 마스크층은 상기 중간층을 양극산화하여 형성된 것을 특징으로 한다.
또한, 상기 지지부재는 자성체 입자를 포함하여 상기 마스크층에 도포된 자성층인 것을 특징으로 한다.
또한, 상기 지지부재는 강자성체 금속인 것을 특징으로 한다.
또한, 상기 지지부재는 인바(invar), 슈퍼 인바(super invar) 또는 스테인리스 인바(stainless invar) 중 적어도 하나인 것을 특징으로 한다.
또한, 상기 마스크층의 적어도 일부는 베리어층과 다공층으로 이루어진 다공성 양극산화막으로 형성되고, 상기 투과홀은 상기 다공성 양극산화막의 상, 하가 관통되어 수직하게 형성된 것을 특징으로 한다.
또한, 관통홀이 형성된 지지부재를 포함하되, 상기 지지부재는 상기 베리어층 상에 형성된 것을 특징으로 한다.
본 발명의 유기발광다이오드용 마스크는, 관통홀이 형성된 지지부재; 및 상기 지지부재의 상부 또는 하부에 형성되는 마스크층;을 포함하는 유기발광다이오드용 마스크에 있어서, 상기 마스크층은, 금속을 양극 산화하여 형성한 양극산화막으로 형성되며, 상기 양극산화막을 상, 하로 관통하는 투과홀;을 포함하고, 유기발광재료가 상기 투과홀을 통과하여 기판에 증착되되, 상기 하나의 관통홀은 복수개의 투과홀과 연통되는 것을 특징으로 한다.
또한, 상기 기공홀의 단면은 원형이고, 상기 투과홀의 단면은 원형, 타원형 또는 다각형인 것을 특징으로 한다.
또한, 본 발명의 유기발광다이오드용 증착장비는, 기판; 상기 기판에 유기발광재료를 제공하는 유기발광재료 소스; 상기 기판과 상기 유기발광재료 소스 사이에 위치하는 마스크; 및 상기 기판 상부에 위치하여 상기 마스크를 상기 기판에 밀착시키는 고정수단을 포함하되, 상기 마스크는 상기 기판과 대향되는 면에 마스크층이 형성되고, 상기 마스크층은 금속을 양극 산화하여 형성한 양극산화막으로 형성되며, 상기 양극산화막을 상, 하로 관통하는 투과홀이 형성되어 상기 유기발광재료가 상기 투과홀을 통과하여 상기 기판에 증착되는 것을 특징으로 한다.
본 발명의 유기발광다이오드의 제조방법은, 기판을 준비하는 단계; 상기 기판 상에 금속을 양극 산화하여 형성한 양극산화막으로 형성되며, 상기 양극산화막을 상, 하로 관통하는 투과홀이 형성된 마스크층을 포함하는 마스크를 정렬하는 단계; 유기발광재료가 상기 투과홀을 통과하여 상기 기판에 증착되도록 유기발광재료를 제공하는 단계; 를 포함한다.
또한, 상기 기판 상에 증착된 유기발광재료는 증착영역을 갖고, 상기 증착영역은 다각형의 테두리로 정의되는 것을 포함하되, 상기 다각형의 모서리는 각진 것을 특징으로 한다.
또한, 상기 증착영역은 테두리에서 중앙부까지 동일 높이로 형성되는 것을 특징으로 한다.
본 발명의 유기발광다이오드는, 기판; 상기 기판상에 증착되어 증착영역을 갖는 유기발광재료를 포함하되, 상기 증착영역은 다각형의 테두리로 정의되는 것을 포함하고, 상기 다각형의 모서리는 각진 것을 특징으로 한다.
또한, 상기 증착영역은 테두리에서 중앙부까지 동일 높이로 형성되는 것을 특징으로 한다.
본 발명에 의하면 다음과 같은 효과가 있다.
마스크층으로 금속을 양극 산화한 양극산화막을 이용하여, 고해상도의 패턴을 용이하게 얻을 수 있다.
에칭을 통한 정밀한 패턴의 제조가 용이하다.
투과홀의 내부 폭을 일정하게 얻을 수 있다.
열선팽창계수가 낮은 별도의 지지부재 없이, 마스크층만으로 마스크를 형성할 수 있다.
다각형의 모서리가 설계와 같이 각지게 형성될 수 있다.
도 1(a)는 종래의 유기발광다이오드용 마스크의 투과홀 부분을 확대 도시한 단면도.
도 1(b)는 종래의 유기발광다이오드용 마스크에 의해 유기발광재료가 증착된 유기발광다이오드의 확대 평면도.
도 2는 본 발명의 제1실시예에 따른 유기발광다이오드용 증착장치를 나타낸 단면도.
도 3은 본 발명의 제1실시예에 따른 유기발광다이오드용 마스크 및 프레임의 사시도.
도 4는 유기발광다이오드용 마스크, 기판, 고정수단이 적층된 상태에서 하나의 단위마스킹패턴부 부분의 확대 단면도.
도 5는 도 4의 마스크층의 변형예.
도 6은 도 4의 투과홀 및 관통홀 부분을 확대 도시한 단면도.
도 7은 도 6의 제1변형예.
도 8은 도 6의 제2변형예.
도 9는 도 4의 지지부재의 변형예.
도 10은 도 4에서 중간층을 포함하는 변형예.
도 11(a)는 도 4에 유기발광재료가 증착된 확대 단면도.
도 11(b)는 유기발광다이오드의 확대 평면도.
도 12는 본 발명의 제2실시예에 따른 유기발광다이오드용 증착장치를 나타낸 단면도.
도 13은 본 발명의 제2실시예에 따른 유기발광다이오드용 마스크 및 기판의 단면도.
이하, 첨부한 도면들을 참조하여 본 발명의 바람직한 실시 예를 상세히 설명하기로 한다. 본 발명의 이점 및 특징, 그리고 그것들을 달성하는 방법은 첨부한 도면들과 함께 상세히 후술된 실시 예를 참조하면 명확해질 것이다. 그러나 본 발명은 여기서 설명하는 실시 예에 한정된 것이 아니라 서로 다른 형태로 구체화될 수도 있다. 오히려, 여기서 소개되는 실시 예는 개시된 내용이 철저하고 완전해질 수 있도록, 그리고 당업자에게 본 발명의 사상이 충분히 전달될 수 있도록 하기 위해 제공되는 것이며, 본 발명은 청구항의 범주에 의해 정의될 뿐이다. 명세서 전문에 걸쳐 동일 참조 부호는 동일 구성 요소를 지칭한다.
본 명세서에서 사용된 용어는 실시 예들을 설명하기 위한 것이며 본 발명을 제한하고자 하는 것은 아니다. 본 명세서에서, 단수형은 문구에서 특별히 언급하지 않는 한 복수형도 포함한다. 명세서에서 사용되는 '포함한다(comprises)' 및/또는 '포함하는(comprising)'은 언급된 구성요소, 단계, 동작 및/또는 소자는 하나 이상의 다른 구성요소, 단계, 동작 및/또는 소자의 존재 또는 추가를 배제하지 않는다. 또한, 바람직한 실시 예에 따른 것이기 때문에, 설명의 순서에 따라 제시되는 참조 부호는 그 순서에 반드시 한정되지는 않는다.
본 명세서에서 기술하는 실시 예들은 본 발명의 이상적인 예시 도인 단면도 및/또는 평면도들을 참고하여 설명될 것이다. 도면들에 있어서, 층 및 영역들의 두께는 기술적 내용의 효과적인 설명을 위해 과장된 것이다. 따라서, 제조 기술 및/또는 허용 오차 등에 의해 예시도의 형태가 변형될 수 있다. 따라서, 본 발명의 실시 예들은 도시된 특정 형태로 제한되는 것이 아니라 제조 공정에 따라 생성되는 형태의 변화도 포함하는 것이다. 따라서, 도면에서 예시된 영역들은 개략적인 속성을 가지며, 도면에서 예시된 영역들의 모양은 소자의 영역의 특정 형태를 예시하기 위한 것이며 발명의 범주를 제한하기 위한 것이 아니다.
이하, 본 발명의 바람직한 실시 예를 첨부도면을 참조하여 상세히 설명한다.
다양한 실시 예들을 설명함에 있어서, 동일한 기능을 수행하는 구성요소에 대해서는 실시 예가 다르더라도 편의상 동일한 명칭 및 동일한 참조번호를 부여하기로 한다. 또한, 이미 다른 실시 예에서 설명된 구성 및 작동에 대해서는 편의상 생략하기로 한다.
본 발명의 유기발광다이오드용 마스크(101)는, 도 2 내지 도 4, 도 12 및 도 13에 도시한 바와 같이, 금속을 양극 산화하여 형성한 양극산화막으로 형성되며, 양극산화막을 상, 하로 관통하는 투과홀(114)이 형성되어 유기발광재료가 투과홀(114)을 통과하여 기판(200)에 증착되도록 하는 마스크층(110);을 포함하는 것을 특징으로 한다.
이하, 유기발광다이오드용 마스크(101)는 마스크(101)로 지칭하여 설명하도록 한다.
제1실시예에 따른 마스크(101)는, 도 4와 같이, 마스크층(110)의 하부에 자성체 재질의 지지부재(140)를 더 포함하여 형성되는 것으로, 도 2에 도시한 바와 같이, 마스크(101)의 상측에 기판(200)이, 하측에 유기발광재료 소스(400)가 배치되도록 설치되어 사용되는 것이 적합하다.
한편, 제2실시예에 따른 마스크(101a)는, 도 12 및 도 13과 같이, 지지부재(140) 없이, 마스크층(110)만으로 형성되는 것으로, 도 12에 도시한 바와 같이, 마스크(101a)의 상측에 유기발광재료 소스(400)가, 하측에 기판(200)이 배치되도록 설치되어 사용되는 것이 적합하다.
이하, 제1실시예에 따른 마스크(101) 및 증착장비(100)에 대해 상술하도록 한다.
본 발명의 바람직한 제1실시예에 따른 유기발광다이오드용 증착장비(100)는, 도 2에 도시한 바와 같이, 기판(200)과, 기판(200)에 유기발광재료를 제공하는 유기발광재료 소스(400)와, 기판(200)과 유기발광재료 소스(400) 사이에 위치하는 마스크(101)와, 기판(200) 상부에 위치하여 마스크(101)를 기판(200)에 밀착시키는 고정수단(300)을 포함하여 이루어진다. 고정수단(300)으로는 자석이 바람직할 수 있다.
마스크(101)는 기판(200)과 대향되는 면에 마스크층(110)이 형성되어, 마스크층(110)이 기판(200)에 밀착된다.
또한, 도 2와 같이, 유기발광다이오드용 증착장비(100)는, 외부에 진공챔버(220)를 포함하고, 마스크(101)가 고정된 프레임(180)이 설치대(210) 상부에 올려져 설치된다.
유기발광재료 소스(400)로부터 제공된 유기발광재료는 그 상측에 위치한 마스크(101), 보다 자세하게는 마스크(101)의 투과홀(114) 및 관통홀(142)을 통과하여 기판(200) 하부에 증착된다.
이하에는 도 3 내지 도 9를 참고하여, 제1실시예에 따른 마스크(101) 및 마스크(101)가 고정되는 프레임(180)에 대해 상술하도록 한다.
마스크(101)가 고정되는 프레임(180)은 도 3과 같이, 테두리를 이루는 사각 형상의 틀(181)과, 틀(181)의 내측에 배치되어 서로 평행하게 이격된 복수개의 막대(182)를 포함하여 이루어진다.
틀(181)은 내부가 중공으로 형성되고, 막대(182)는 중공인 틀(181)의 내부에 형성되어 틀(181)의 내부에 복수 개의 공간(184)이 구획되도록 한다.
각각의 마스크(101)는 도 3과 같이, 그 하부에 공간(184)이 위치하도록 프레임(180)의 상부에 놓여 고정된다. 보다 자세하게는, 틀(181) 및 막대(182)의 상부에 걸쳐 올려져 용접 등을 통해 고정된다. 또한, 마스크(101)의 양측, 보다 자세하게는 마스크층(110)과 지지부재(140)의 양측에는 복수 개의 홈(105)이 대칭으로 형성될 수 있다.
마스크(101)는, 도 3에 도시한 바와 같이, 프레임(180)보다 작은 면적의 사각 판 형상으로 형성되어, 복수 개가 나란히 프레임(180)의 상부에 고정된다.
제1실시예에 따른 마스크(101)는 도 3 및 도 4에 도시한 바와 같이, 마스크층(110)과 지지부재(140)가 상하로 적층되어 형성된다.
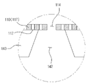
또한, 마스크(101)에는 도 3 및 도 4와 같이, 다수 개의 단위마스킹패턴부(103)가 형성된다. 단위마스킹패턴부(103)는 마스크층(110) 및 지지부재(140)에서 투과홀(114) 및 관통홀(142)이 형성된 부분에 해당하여, 투과홀(114) 및 관통홀(142)을 포함한다. 보다 자세하게는, 단위마스킹패턴부(103) 중 마스크층(110)에는, 도 4와 같이, 다수 개의 투과홀(114)이 관통 형성되고, 지지부재(140)에는 투과홀(114)과 연통된 다수 개의 관통홀(142)이 관통 형성된다.
도 4에는 도 2와 같이, 마스크(101), 기판(200), 고정수단(300)이 적층된 상태에서 하나의 단위마스킹패턴부(103) 부분의 단면을 확대하여 나타내었다.
도 4와 같이, 마스크(101)는 마스크층(110)과 지지부재(140)가 상하로 적층되어 형성된다. 그리고 마스크(101)의 상부, 보다 자세하게는 마스크층(110)의 상면에 접하여 기판(200)이 위치하고, 기판(200)의 상부에는 마스크층(110)을 기판(200)에 밀착시키는 고정수단(300)이 위치한다.
마스크층(110)은, 도 4 및 도 5에 도시한 바와 같이, 금속을 양극 산화하여 형성한 양극산화막을 이용한 것이다. 마스크층(110)은 규칙적으로 배열된 다수의 기공홀(112)을 포함하고, 투과홀(114)은 기공홀(112)의 내부 폭보다 큰 내부 폭을 갖으면서 관통 형성된다.
마스크층(110)은 상기 금속을 양극 산화한 후, 모재인 상기 금속을 제거하여 형성된다. 마스크층(110)은 도 4와 같이, 기공홀(112)이 형성된 다공층(117)만으로 형성된 양극산화막일 수 있다. 다시 말해, 상기 금속을 양극 산화한 후, 상기 금속뿐 아니라 베리어층(116)도 제거되어 형성될 수 있다. 그래서, 도 4의 기공홀(112)은 마스크층(110)의 상, 하로 관통되어 있다. 다시 말해, 마스크층(110)의 상면 및 하면을 관통하도록 형성된다. 마스크층(110)에는 상하 방향으로 기공홀(112)이 다수 개 형성된다.
한편, 마스크층(110)은, 도 5의 변형예와 같이, 적어도 일부는 베리어층(116)과 다공층(117)으로 이루어진 다공성 양극산화막으로 형성될 수 있다. 보다 자세하게는, 기공홀(112)이 형성되는 다공층(117)과, 다공층(117)의 하부에 형성되어 기공홀(112)의 일단을 폐쇄하는 베리어층(116)으로 구성될 수 있다. 기공홀(112)의 상단은 마스크층(110)의 상면, 다시 말해 다공층(117)의 상면을 관통하도록 형성된다. 또한, 기공홀(112)의 하단은 베리어층(116)에 의해 폐쇄되어 있다. 베리어층(116) 상에, 즉 베리어층(116)의 하면에 접하여 지지부재(140)가 형성된다.
마스크층(110)에 형성된 기공홀(112)의 내부 폭은 수 nm(나노미터) 내지 300 nm(나노미터) 범위를 가질 수 있다. 그리고 기공홀(112)의 상하 길이 방향에 대해 직교하는 방향의 단면은 원형이다.
특별히, 마스크층(110)의 모재인 상기 금속은 알루미늄 금속을 포함하고, 마스크층(110)은 상기 알루미늄 금속을 양극산화하여 형성된 산화알루미늄이 바람직할 수 있다.
한편, 마스크층(110)의 상면 및 하면을 관통하도록 다수 개의 투과홀(114)이 형성된다. 도 4에서 투과홀(114)은 다공층(117)을 관통하도록 형성된다. 그리고 도 5의 변형예에서 투과홀(114)은 다공층(117) 및 베리어층(116)을 모두 관통하여 형성된다. 즉, 투과홀(114)은 양극산화막인 마스크층(110)의 상, 하가 관통되도록 수직하게 형성된다.
도 6에 도시한 바와 같이, 투과홀(114)의 내부 폭은 기공홀(112)의 내부 폭보다 크게 형성된다(d3<d4). 또한, 도 4와 같이, 다수의 투과홀(114)의 이격된 사이에는 다수의 기공홀(112)이 위치할 수 있다. 투과홀(114)의 상하 길이 방향에 대해 직교하는 방향의 단면은 원형, 타원형 또는 다각형으로 형성된다.
또한, 투과홀(114)은 마스크층(110)의 일단에서 마스크층(110)의 타단까지 일정한 내부 폭을 갖는다. 다시 말해, 투과홀(114)은 상단에서 하단까지 내부 폭이 일정하다. 유기발광재료 소스(400)로부터 공급된 유기발광재료가 투과홀(114)을 통과하여 기판(200)에 증착된다. 유기발광재료는 RGB(red-green-blue)가 사용된다.
이상과 같은 양극산화막을 이용한 마스크층(110)은 에칭을 통한 투과홀(114) 내벽의 직진성, 즉 투과홀(114)의 일정한 내부 폭을 확보할 수 있어, 기판(200)에 유기발광재료 증착을 위한 고해상도의 패턴을 용이하게 얻을 수 있다.
도 11(a)와 같이, 본 발명의 일정한 내부 폭의 투과홀(114)을 갖는 마스크(101)를 사용하여 기판(200)에 유기발광재료(500)를 증착하면, 도 1의 종래기술과 달리, 기판(200) 상에 증착된 각각의 유기발광재료(200)의 증착영역(510)은 테두리에서 중앙부까지 동일 높이로 형성된다. 그리고 기판(200)에 증착된 폭 d6의 실 증착영역(510)의 테두리와 폭 d5의 설계시 증착영역(510)의 테두리의 일치도가 우수하게 형성될 수 있다. 또한, 증착영역(510)의 테두리가 다각형으로 정의되는 경우, 다각형의 모서리가 설계와 같이 각지게 형성될 수 있다.
이상과 같은 장점으로 인해, 유기발광재료(500)가 설계시 증착영역(510)으로 정밀하게 패턴화되고, 증착영역(510)의 테두리 부분이 중앙부보다 흐리게 보이는 사이드 효과가 발생하지 않게 되어 고해상도의 유기발광다이오드를 얻을 수 있다.
그러나, 종래에 많이 사용되는 인바(invar)의 경우, 에칭을 통한 패턴 형성시, 도 1(a)과 같이 투과홀(10) 내벽에 언더컷 등이 발생하여, 일정한 내부 폭의 투과홀(10)을 얻을 수가 없는 문제점이 있었다(d1≠d2). 그래서 도 1(b)와 같이, 유기발광재료(20)가 폭 d1을 가지는 설계 증착영역(24)보다 더 큰 폭 d2를 가지는 실 증착영역(22)으로 기판(30)에 증착된다. 또한, 유기발광재료(20)의 증착영역이 다각형의 테두리로 정의된 경우, 다각형의 모서리가 각지지 않고 곡선으로 형성되게 된다. 폭 d2의 실 증착영역(22) 중에서, 테두리 부분은 중앙부보다 증착된 유기발광재료(20)의 높이가 낮아 발광시 테두리 부분이 흐리게 보이는 사이드 효과가 발생한다. 그러나 본 발명은 양극산화막을 마스크층(110)으로 이용함으로써, 에칭을 통한 정밀한 패턴의 제조가 용이하다.
한편, 도 4 내지 도 6과 같이, 마스크층(110)의 하부에는 자성체 재질의 지지부재(140)를 포함한다. 즉, 지지부재(140)의 상부에 마스크층(110)이 형성된다.
마스크층(110)은 지지부재(140)의 상부 또는 하부에 형성될 수 있으나, 도 2와 같이, 유기발광재료 소스(400)가 마스크(101)의 하측에 위치하는 경우, 지지부재(140)의 상부에 형성되는 것이 바람직하다.
지지부재(140)에는 투과홀(114)과 연통된 관통홀(142)이 형성된다. 관통홀(142)은 투과홀(114)의 하부에 위치한다.
지지부재(140)는 자성을 가져, 자석인 고정수단(300)의 자력에 반응하여 기판(200)측으로 당겨지는 힘이 작용한다. 그래서 지지부재(140)는 마스크(101)의 마스크층(110)이 기판(200)에 밀착되도록 하는 역할을 한다.
지지부재(140)는, 강자성체 금속일 수 있다. 상기 강자성체 금속으로는 니켈, 코발트, 철, 망간 또는 페라이트 중 적어도 하나일 수 있다.
또한, 지지부재(140)는 인바(invar), 슈퍼 인바(super invar) 또는 스테인리스 인바(stainless invar) 중 적어도 하나일 수 있다. 인바(invar), 슈퍼 인바(super invar)는 자성체이며, 열선팽창계수가 1~2×10-6/℃로 매우 낮다. 그래서 열영향에 의한 치수변화가 작은 장점이 있다.
도 6과 같이, 지지부재(140)에 형성된 관통홀(142)은 내부 폭이 하부로 갈수록 커진다. 관통홀(142)의 상단은 투과홀(114)의 하단에 인접하고, 상단에서 하단으로 갈수록 내부 폭이 커져, 관통홀(142)의 내벽은 경사지게 형성된다.
도 6의 투과홀(114)의 내부 폭은 관통홀(142)의 내부 폭의 최소폭, 다시 말해, 관통홀(142)의 상단 내부 폭과 동일하다. 마스크(101) 하측의 유기발광재료 소스(400)로부터 제공된 유기발광재료는 관통홀(142)을 통과한 후, 투과홀(114)을 통과하여 기판(200) 하면에 증착된다.
또한, 도 7의 제1변형예는 전술한 바와 달리, 투과홀(114)의 내부 폭은 관통홀(142)의 내부 폭의 최소폭, 다시 말해, 관통홀(142)의 상단 내부 폭보다 작게 형성될 수 있다. 그래서 관통홀(142)의 상단 내측을 향해 마스크층(110)이 돌출되어 배치된다.
또한, 도 8의 제2변형예와 같이, 하나의 관통홀(142)은 복수 개의 투과홀(114)과 연통되도록 형성될 수 있다. 즉, 하나의 관통홀(142)의 상측에 복수 개의 투과홀(114)이 대응되어 형성된다. 도 8의 제2변형예도, 투과홀(114)의 내부 폭이 관통홀(142)의 내부 폭의 최소폭보다 작게 형성된다.
전술한 강자성체 또는 인바(invar) 등으로 형성된 지지부재(140)는, 마스크층(110)의 하면에 접착제 등으로 접착되어 고정될 수 있다.
한편, 도 9에 도시한 바와 같이, 지지부재(140)는 자성체 입자를 포함하여 마스크층(110)에 도포된 자성층(140a)일 수 있다. 보다 자세하게 설명하면, 지지부재(140)는 마스크층(110)의 하면에 접착되는 강자성체 금속 또는 인바(invar) 등 대신에, 폴리머 또는 액상 솔더 레지스트(solder-resist)에 자성체 입자를 넣어 마스크층(110)의 하면에 도포될 수 있다. 이상과 같이 도포된 자성층(140a)은 고정수단(300)의 자력에 의해 당겨져 마스크층(110)이 기판(200)에 밀착되도록 한다.
또한, 도 10에 도시한 바와 같이, 지지부재(140)와 마스크층(110) 사이에는 금속 재질의 중간층(150)이 형성되고, 마스크층(110)은 중간층(150)을 양극산화하여 형성된 것일 수 있다.
중간층(150)은 양극산화막인 마스크층(110)의 모재로서, 금속 재질의 중간층(150)을 양극 산화하여 마스크층(110)을 형성한 후, 중간층(150)을 제거하지 않은 형태이다. 그리고 중간층(150)의 하면에 지지부재(140)가 형성될 수 있다.
한편, 도 12 및 도 13을 참고하여 본 발명의 제2실시예에 따른 유기발광다이오드용 증착장비(100a) 및 유기발광다이오드용 마스크(101a)를 설명하도록 한다.
도 12와 같이, 제2실시예에 따른 유기발광다이오드용 증착장비(100a)는, 설치대(210) 상부에 기판(200)이 배치되고, 기판(200)의 상부, 보다 자세하게는 상면에 마스크(101a)가 접하여 배치된다. 그리고 마스크(101a)에 대해 이격되어 그 상측에 유기발광재료 소스(400)가 배치된다.
그래서 유기발광재료는 마스크(101a)의 상측에서 제공되어 마스크(101a)의 투과홀(114)을 통과하여 기판(200)의 상면에 증착된다.
도 13은 제1실시예의 도 4에 대응되는 도면으로서, 제2실시예에 따른 마스크(101a)는 지지부재(140) 없이, 마스크층(110)만으로 형성된다.
제2실시예에 따른 마스크(101a)는 도 12와 같이 기판(200)의 상면에 접해 설치되어, 마스크(101a), 보다 자세하게는 마스크층(110)이 기판(200)에 밀착된다.
제1실시예에서 마스크층(110)을 기판(200)에 밀착시키기 위해서, 자성체인 지지부재(140)와, 고정수단(300)을 포함하였으나, 제2실시예에서는 마스크(101a)가 기판(200)의 상면에 접해 설치되고, 유기발광재료 소스(400)가 마스크(101a)의 상측에 위치하므로, 지지부재(140) 및 고정수단(300)이 필요없다.
또한, 알루미늄을 양극산화한 산화알루미늄의 경우 열선팽창계수가 대략 1.8×10-6/℃정도로 매우 낮으므로, 열선팽창계수가 낮은 별도의 지지부재(140) 없이, 마스크층(110)만으로 마스크(101a)를 형성하기에 좋다. 다시 말해, 열영향에 의한 마스크층(110)의 치수변화가 적어 인바(invar)등의 지지부재(140) 없이, 양극산화막인 마스크층(110)만으로 마스크(101a)를 형성해도 고온 환경의 증착시에 증착 물질의 증착 위치 엇갈림을 피할 수 있는 장점이 있다.
이상에 설명한 유기발광다이오드용 마스크(101)를 이용하여 제조할 수 있는 본 발명의 유기발광다이오드는 도 11(b)에 도시한 바와 같이, 기판(200)과, 기판(200) 상에 증착되어 증착영역(510)을 갖는 유기발광재료(500)를 포함하되, 증착영역(510)은 다각형의 테두리로 정의되는 것을 포함하고, 다각형의 모서리는 각진 것을 특징으로 한다. 또한, 증착영역(510)은 원형 또는 타원형일 수 있다.
또한, 각각의 유기발광재료(500)의 증착영역(510)은 테두리에서 중앙부까지 동일 높이로 형성되어, 전술한 바와 같은 테두리가 흐리게 보이는 사이드 효과 없이 고해상도의 성능을 얻을 수 있다.
한편, 이상에 설명한 유기발광다이오드의 제조방법은, 기판(200)을 준비하는 단계와, 기판(200) 상에 금속을 양극 산화하여 형성한 양극산화막으로 형성되며, 양극산화막을 상, 하로 관통하는 투과홀(114)이 형성된 마스크층(110)을 포함하는 마스크(101)를 정렬하는 단계와, 유기발광재료(500)가 투과홀(114)을 통과하여 기판(200)에 증착되도록 유기발광재료(500)를 제공하는 단계를 포함한다.
유기발광다이오드는 도 2와 같은 유기발광다이오드용 증착장비(100)의 내부에서 제조된다.
진공챔버(220)의 내부에 기판(200)이 준비되고, 마스크(101)가 고정된 프레임(180)이 설치대(210) 상부에 올려져 설치되며, 유기발광재료(500, 도 2에 미도시)가 증착될 기판(200) 상에 마스크(101)가 정렬된다. 이러한 기판(200) 상에 마스크(101) 정렬은 기판(200) 상에 유기발광재료(500)를 패턴화하여 증착하기 위함이다. 그 후, 마스크(101) 하측의 유기발광재료 소스(400)로부터 유기발광재료(500)가 제공되어 투과홀(114, 도 2에 미도시)을 통과하여 기판(200)에 패턴화하여 증착됨으로써 유기발광다이오드가 완성된다.
상술한 바와 같이, 본 발명의 바람직한 실시예를 참조하여 설명하였지만, 해당기술분야의 당업자는 하기의 특허청구범위에 기재된 본 발명의 사상 및 영역으로부터 벗어나지 않는 범위 내에서 본 발명을 다양하게 수정 또는 변형하여 실시할 수 있다.
100,100a: 유기발광다이오드용 증착장비
101,101a: 유기발광다이오드용 마스크, 마스크
103: 단위마스킹패턴부 105: 홈
110: 마스크층 112: 기공홀
114: 투과홀 116: 베리어층
117: 다공층 140: 지지부재
140a: 자성층 142: 관통홀
150: 중간층 180: 프레임
181: 틀 182: 막대
184: 공간 200: 기판
210: 설치대 220: 진공챔버
300: 고정수단 400: 유기발광재료 소스
500: 유기발광재료 510: 증착영역

Claims (20)

  1. 유기발광다이오드용 마스크에 있어서,
    상기 마스크는 금속을 양극 산화하여 형성한 양극산화막으로 형성되며, 상기 양극산화막을 상, 하로 관통하는 투과홀이 형성되어 유기발광재료가 상기 투과홀을 통과하여 기판에 증착되도록 하는 마스크층;을 포함하며,
    상기 마스크층의 적어도 일부는 베리어층과 다공층으로 이루어진 다공성 양극산화막으로 형성되고, 상기 투과홀은 상기 다공성 양극산화막의 상, 하가 관통되어 수직하게 형성된 것을 특징으로 하는 유기발광다이오드용 마스크.
  2. 삭제
  3. 삭제
  4. 삭제
  5. 삭제
  6. 삭제
  7. 삭제
  8. 삭제
  9. 삭제
  10. 삭제
  11. 삭제
  12. 청구항 1에 있어서,
    관통홀이 형성된 지지부재를 포함하되,
    상기 지지부재는 상기 베리어층 상에 형성된 것을 특징으로 하는 유기발광다이오드용 마스크.
  13. 삭제
  14. 삭제
  15. 기판;
    상기 기판에 유기발광재료를 제공하는 유기발광재료 소스;
    상기 기판과 상기 유기발광재료 소스 사이에 위치하는 마스크; 및
    상기 기판 상부에 위치하여 상기 마스크를 상기 기판에 밀착시키는 고정수단을 포함하되,
    상기 마스크는 상기 기판과 대향되는 면에 마스크층이 형성되고,
    상기 마스크층은 금속을 양극 산화하여 형성한 양극산화막으로 형성되며, 상기 양극산화막을 상, 하로 관통하는 투과홀이 형성되어 상기 유기발광재료가 상기 투과홀을 통과하여 상기 기판에 증착되며,
    상기 마스크층의 적어도 일부는 베리어층과 다공층으로 이루어진 다공성 양극산화막으로 형성되고, 상기 투과홀은 상기 다공성 양극산화막의 상, 하가 관통되어 수직하게 형성되는 것을 특징으로 하는 유기발광다이오드용 증착장비.
  16. 기판을 준비하는 단계;
    상기 기판 상에 금속을 양극 산화하여 형성한 양극산화막으로 형성되며, 상기 양극산화막을 상, 하로 관통하는 투과홀이 형성된 마스크층을 포함하는 마스크를 정렬하는 단계;
    유기발광재료가 상기 투과홀을 통과하여 상기 기판에 증착되도록 유기발광재료를 제공하는 단계;를 포함하며,
    상기 마스크층의 적어도 일부는 베리어층과 다공층으로 이루어진 다공성 양극산화막으로 형성되고, 상기 투과홀은 상기 다공성 양극산화막의 상, 하가 관통되어 수직하게 형성되는 것을 특징으로 하는 유기발광다이오드의 제조방법.
  17. 청구항 16에 있어서,
    상기 기판 상에 증착된 유기발광재료는 증착영역을 갖고, 상기 증착영역은 다각형의 테두리로 정의되는 것을 포함하되, 상기 다각형의 모서리는 각진 것을 특징으로 하는 유기발광다이오드의 제조방법.
  18. 청구항 17에 있어서,
    상기 증착영역은 테두리에서 중앙부까지 동일 높이로 형성되는 것을 특징으로 하는 유기발광다이오드의 제조방법.
  19. 삭제
  20. 삭제
KR1020160003554A 2016-01-12 2016-01-12 유기발광다이오드용 마스크 및 유기발광다이오드용 증착장비 및 유기발광다이오드의 제조방법 Active KR102466211B1 (ko)

Priority Applications (1)

Application Number Priority Date Filing Date Title
KR1020160003554A KR102466211B1 (ko) 2016-01-12 2016-01-12 유기발광다이오드용 마스크 및 유기발광다이오드용 증착장비 및 유기발광다이오드의 제조방법

Applications Claiming Priority (1)

Application Number Priority Date Filing Date Title
KR1020160003554A KR102466211B1 (ko) 2016-01-12 2016-01-12 유기발광다이오드용 마스크 및 유기발광다이오드용 증착장비 및 유기발광다이오드의 제조방법

Publications (2)

Publication Number Publication Date
KR20170084471A KR20170084471A (ko) 2017-07-20
KR102466211B1 true KR102466211B1 (ko) 2022-11-14

Family

ID=59443351

Family Applications (1)

Application Number Title Priority Date Filing Date
KR1020160003554A Active KR102466211B1 (ko) 2016-01-12 2016-01-12 유기발광다이오드용 마스크 및 유기발광다이오드용 증착장비 및 유기발광다이오드의 제조방법

Country Status (1)

Country Link
KR (1) KR102466211B1 (ko)

Families Citing this family (3)

* Cited by examiner, † Cited by third party
Publication number Priority date Publication date Assignee Title
CN107587106B (zh) * 2017-11-02 2024-12-17 京东方科技集团股份有限公司 掩模板、蒸镀掩模板组件、蒸镀设备及掩模板的制作方法
KR102325256B1 (ko) * 2018-08-08 2021-11-11 주식회사 오럼머티리얼 마스크의 패턴 형성 장치 및 마스크의 제조 방법
KR20220027353A (ko) 2020-08-26 2022-03-08 삼성디스플레이 주식회사 마스크 및 마스크 제조방법

Citations (1)

* Cited by examiner, † Cited by third party
Publication number Priority date Publication date Assignee Title
JP2008255449A (ja) * 2007-04-09 2008-10-23 Kyushu Hitachi Maxell Ltd 蒸着マスクとその製造方法

Family Cites Families (3)

* Cited by examiner, † Cited by third party
Publication number Priority date Publication date Assignee Title
JP3554009B2 (ja) * 1994-02-22 2004-08-11 大日本印刷株式会社 微細パターン形成用マスク板およびその製造方法
KR101468405B1 (ko) 2013-02-27 2014-12-10 주식회사 웨이브일렉트로닉스 다중 노광과 도금에 의한 유기발광디스플레이용 새도우 마스크 제조 방법
JP6035548B2 (ja) * 2013-04-11 2016-11-30 株式会社ブイ・テクノロジー 蒸着マスク

Patent Citations (1)

* Cited by examiner, † Cited by third party
Publication number Priority date Publication date Assignee Title
JP2008255449A (ja) * 2007-04-09 2008-10-23 Kyushu Hitachi Maxell Ltd 蒸着マスクとその製造方法

Also Published As

Publication number Publication date
KR20170084471A (ko) 2017-07-20

Similar Documents

Publication Publication Date Title
JP4170179B2 (ja) 有機elパネルの製造方法および有機elパネル
KR101070539B1 (ko) 증착 마스크 및 이를 사용한 유기 전계 발광 장치의 제조 방법
US6603159B2 (en) System and methods for manufacturing and using a mask
JP3775493B2 (ja) マスクの製造方法
JP2008059757A (ja) 有機発光表示装置の製造方法
US20020102754A1 (en) Integrated mask and method and apparatus for manufacturing organic EL device using the same
CN110158025A (zh) 掩膜板的制作方法及掩膜板
JP2002069619A (ja) メタルマスク構造体及びその製造方法
CN109487206B (zh) 掩膜版及采用该掩膜版的掩膜装置
KR20090127288A (ko) 기판처리장치 및 기판처리방법
JP2006188731A (ja) マスク成膜方法,マスク
KR102466211B1 (ko) 유기발광다이오드용 마스크 및 유기발광다이오드용 증착장비 및 유기발광다이오드의 제조방법
KR102390841B1 (ko) 고해상도 fmm을 위한 fmm 프로세스
US10170731B2 (en) Mask and masking assembly
KR20030095580A (ko) 기판정렬장치 및 기판정렬방법
CN102400103A (zh) 蒸镀设备以及蒸镀方法
CN100459222C (zh) 掩模及其制法、薄膜图案的形成方法、电光学装置的制法
JP2002371349A (ja) 蒸着用マスク
CN114981468B (zh) 掩模板遮片和掩模板设备
JP4616667B2 (ja) マスク構造体およびそれを用いた蒸着方法、並びに有機発光素子の製造方法
KR20230131165A (ko) 금속판, 및 이를 이용한 oled 패널
JP2003213401A (ja) 蒸着マスクおよび成膜装置
CN1955841B (zh) 激光诱导热成像掩模以及有机电致发光器件的制造方法
JP2002305080A (ja) 統合マスク、ならびに統合マスクを用いた有機el素子の製造方法およびその製造装置
JP6519395B2 (ja) 蒸着マスク製造方法

Legal Events

Date Code Title Description
PA0109 Patent application

St.27 status event code: A-0-1-A10-A12-nap-PA0109

P11-X000 Amendment of application requested

St.27 status event code: A-2-2-P10-P11-nap-X000

P13-X000 Application amended

St.27 status event code: A-2-2-P10-P13-nap-X000

R15-X000 Change to inventor requested

St.27 status event code: A-3-3-R10-R15-oth-X000

R16-X000 Change to inventor recorded

St.27 status event code: A-3-3-R10-R16-oth-X000

PG1501 Laying open of application

St.27 status event code: A-1-1-Q10-Q12-nap-PG1501

PN2301 Change of applicant

St.27 status event code: A-3-3-R10-R13-asn-PN2301

St.27 status event code: A-3-3-R10-R11-asn-PN2301

PN2301 Change of applicant

St.27 status event code: A-3-3-R10-R13-asn-PN2301

St.27 status event code: A-3-3-R10-R11-asn-PN2301

PA0201 Request for examination

St.27 status event code: A-1-2-D10-D11-exm-PA0201

D13-X000 Search requested

St.27 status event code: A-1-2-D10-D13-srh-X000

D14-X000 Search report completed

St.27 status event code: A-1-2-D10-D14-srh-X000

E902 Notification of reason for refusal
PE0902 Notice of grounds for rejection

St.27 status event code: A-1-2-D10-D21-exm-PE0902

E13-X000 Pre-grant limitation requested

St.27 status event code: A-2-3-E10-E13-lim-X000

P11-X000 Amendment of application requested

St.27 status event code: A-2-2-P10-P11-nap-X000

P13-X000 Application amended

St.27 status event code: A-2-2-P10-P13-nap-X000

E701 Decision to grant or registration of patent right
PE0701 Decision of registration

St.27 status event code: A-1-2-D10-D22-exm-PE0701

GRNT Written decision to grant
PR0701 Registration of establishment

St.27 status event code: A-2-4-F10-F11-exm-PR0701

PR1002 Payment of registration fee

St.27 status event code: A-2-2-U10-U11-oth-PR1002

Fee payment year number: 1

PG1601 Publication of registration

St.27 status event code: A-4-4-Q10-Q13-nap-PG1601

P22-X000 Classification modified

St.27 status event code: A-4-4-P10-P22-nap-X000

P22-X000 Classification modified

St.27 status event code: A-4-4-P10-P22-nap-X000

P14-X000 Amendment of ip right document requested

St.27 status event code: A-5-5-P10-P14-nap-X000

PR1001 Payment of annual fee

St.27 status event code: A-4-4-U10-U11-oth-PR1001

Fee payment year number: 4