KR102254995B1 - Chemical transport coupler storage - Google Patents

Chemical transport coupler storage Download PDF

Info

Publication number
KR102254995B1
KR102254995B1 KR1020190150986A KR20190150986A KR102254995B1 KR 102254995 B1 KR102254995 B1 KR 102254995B1 KR 1020190150986 A KR1020190150986 A KR 1020190150986A KR 20190150986 A KR20190150986 A KR 20190150986A KR 102254995 B1 KR102254995 B1 KR 102254995B1
Authority
KR
South Korea
Prior art keywords
coupler
storage box
cover
male coupler
hose
Prior art date
Legal status (The legal status is an assumption and is not a legal conclusion. Google has not performed a legal analysis and makes no representation as to the accuracy of the status listed.)
Active
Application number
KR1020190150986A
Other languages
Korean (ko)
Inventor
김철원
Original Assignee
호산테크 주식회사
Priority date (The priority date is an assumption and is not a legal conclusion. Google has not performed a legal analysis and makes no representation as to the accuracy of the date listed.)
Filing date
Publication date
Application filed by 호산테크 주식회사 filed Critical 호산테크 주식회사
Priority to KR1020190150986A priority Critical patent/KR102254995B1/en
Application granted granted Critical
Publication of KR102254995B1 publication Critical patent/KR102254995B1/en
Active legal-status Critical Current
Anticipated expiration legal-status Critical

Links

Images

Classifications

    • BPERFORMING OPERATIONS; TRANSPORTING
    • B67OPENING, CLOSING OR CLEANING BOTTLES, JARS OR SIMILAR CONTAINERS; LIQUID HANDLING
    • B67DDISPENSING, DELIVERING OR TRANSFERRING LIQUIDS, NOT OTHERWISE PROVIDED FOR
    • B67D7/00Apparatus or devices for transferring liquids from bulk storage containers or reservoirs into vehicles or into portable containers, e.g. for retail sale purposes
    • B67D7/06Details or accessories
    • B67D7/84Casings, cabinets or frameworks; Trolleys or like movable supports
    • BPERFORMING OPERATIONS; TRANSPORTING
    • B65CONVEYING; PACKING; STORING; HANDLING THIN OR FILAMENTARY MATERIAL
    • B65DCONTAINERS FOR STORAGE OR TRANSPORT OF ARTICLES OR MATERIALS, e.g. BAGS, BARRELS, BOTTLES, BOXES, CANS, CARTONS, CRATES, DRUMS, JARS, TANKS, HOPPERS, FORWARDING CONTAINERS; ACCESSORIES, CLOSURES, OR FITTINGS THEREFOR; PACKAGING ELEMENTS; PACKAGES
    • B65D88/00Large containers
    • B65D88/02Large containers rigid
    • B65D88/12Large containers rigid specially adapted for transport
    • BPERFORMING OPERATIONS; TRANSPORTING
    • B65CONVEYING; PACKING; STORING; HANDLING THIN OR FILAMENTARY MATERIAL
    • B65DCONTAINERS FOR STORAGE OR TRANSPORT OF ARTICLES OR MATERIALS, e.g. BAGS, BARRELS, BOTTLES, BOXES, CANS, CARTONS, CRATES, DRUMS, JARS, TANKS, HOPPERS, FORWARDING CONTAINERS; ACCESSORIES, CLOSURES, OR FITTINGS THEREFOR; PACKAGING ELEMENTS; PACKAGES
    • B65D90/00Component parts, details or accessories for large containers
    • BPERFORMING OPERATIONS; TRANSPORTING
    • B67OPENING, CLOSING OR CLEANING BOTTLES, JARS OR SIMILAR CONTAINERS; LIQUID HANDLING
    • B67DDISPENSING, DELIVERING OR TRANSFERRING LIQUIDS, NOT OTHERWISE PROVIDED FOR
    • B67D7/00Apparatus or devices for transferring liquids from bulk storage containers or reservoirs into vehicles or into portable containers, e.g. for retail sale purposes
    • B67D7/02Apparatus or devices for transferring liquids from bulk storage containers or reservoirs into vehicles or into portable containers, e.g. for retail sale purposes for transferring liquids other than fuel or lubricants
    • BPERFORMING OPERATIONS; TRANSPORTING
    • B67OPENING, CLOSING OR CLEANING BOTTLES, JARS OR SIMILAR CONTAINERS; LIQUID HANDLING
    • B67DDISPENSING, DELIVERING OR TRANSFERRING LIQUIDS, NOT OTHERWISE PROVIDED FOR
    • B67D2210/00Indexing scheme relating to aspects and details of apparatus or devices for dispensing beverages on draught or for controlling flow of liquids under gravity from storage containers for dispensing purposes
    • B67D2210/00028Constructional details
    • B67D2210/00047Piping
    • B67D2210/00062Pipe joints

Landscapes

  • Engineering & Computer Science (AREA)
  • Mechanical Engineering (AREA)
  • Flanged Joints, Insulating Joints, And Other Joints (AREA)

Abstract

The present invention relates to a coupler storage device for chemical transport. More particularly, the present invention relates to a coupler storage device for chemical transport improved to not only safely store a hose necessary for loading and unloading liquid chemicals in a large container tank for liquid transport and a metal coupler connected to the end of the hose, but also to easily manage the hose and the metal coupler.

Description

케미컬 이송용 커플러 수납장치{Chemical transport coupler storage}Chemical transport coupler storage device

본 발명은 케미컬 이송용 커플러 수납장치에 관한 것으로, 보다 상세하게는 액체운반용 대형 콘테이너탱크의 액체화학물질을 상,하역하기 위하여 필요한 호스와, 이 호스의 단부에 연결된 수커플러를 안전하게 보관할 뿐만 아니라 사용하기 편하게 관리할 수 있도록 개선된 케미컬 이송용 커플러 수납장치에 관한 것이다.The present invention relates to a chemical transport coupler storage device, and more particularly, a hose required for loading and unloading liquid chemicals in a large container tank for liquid transport, and a male coupler connected to the end of the hose, as well as safe storage and use. It relates to an improved chemical transport coupler storage device for easy management.

반도체 또는 LCD 제조 공장에서는 많은 종류의 화학약품(케미컬)이 사용되고 있다.Many kinds of chemicals (chemicals) are used in semiconductor or LCD manufacturing plants.

이와 같은 화학약품은 주로 대형 액체운반용 콘테이너에 적재되어 운반된다.These chemicals are mainly loaded and transported in large liquid transport containers.

이때, 대형 액체운반용 콘테이너에 화학약품을 싣고 해양 또는 도로를 이동된 후 공장의 저장탱크에 하역 이송 저장하거나 이를 다시 대형 액체운반용 콘테이너에 상역하는 기능을 수행하는 수단이 필요하다.At this time, there is a need for a means to load chemicals in a large liquid transport container and carry out the function of unloading, transporting, and storing in a storage tank of a factory after moving offshore or road, or re-transferring it to a large liquid transport container.

이러한 대형 액체운반용 콘테이너의 상,하역을 위해서는 호스와, 이 호스의 단부에 연결된 수커플러를 공장의 암커플러에 연결 결합해야 하는데 이는 통상 퀵커플러(Manual Quick Coupler)에 의해 수동으로 작업되어 왔다.For the loading and unloading of such a large liquid transport container, a hose and a male coupler connected to the end of the hose must be connected and coupled to a female coupler in a factory, which has been manually worked by a manual quick coupler.

이때, 액체운반용 콘테이너가 갖추어야 할 호스 및 수커플러는 통상 액체용 호스 및 수커플러(40mm 또는 50mm 규격)와, 가스가압 및 배기용 호스 및 수커플러(20mm ~ 25mm)이다.At this time, the hose and male coupler that the liquid transport container should have are usually a liquid hose and male coupler (40mm or 50mm standard), and a gas pressure and exhaust hose and male coupler (20mm ~ 25mm).

그리고, 호스의 일측단에 플랜지 연결수단을 통하여 수커플러가 결합되어 있고, 취급중 수커플러를 손상으로부터 보호하기 위해 보호캡이 씌워져 있다.In addition, a male coupler is coupled to one end of the hose through a flange connection means, and a protective cap is covered to protect the male coupler from damage during handling.

한편, 이동중 액체용 수커플러와, 가스가압 및 배기용 수커플러(이하 '가스용 수커플러'라 함)를 안전하게 고정 및 보관하기 위해 도 1의 예시와 같이, 액체운반용 콘테이너(10)의 일측에는 커플러 수납박스(20)가 구비된다.On the other hand, in order to securely fix and store a water coupler for liquid and a water coupler for gas pressure and exhaust (hereinafter referred to as'water coupler for gas') while moving, as in the example of FIG. 1, one side of the container 10 for transporting liquid A coupler storage box 20 is provided.

커플러 수납박스(20)는 통상 1700mm 이상의 높이에 설치되고, 개별 밴드 및 나비볼트를 조여 고정하게 되는데 작업자의 키 및 설치높이를 고려할 때 나비볼트를 조이고 푸는 작업이 용이치 못하다.The coupler storage box 20 is usually installed at a height of 1700mm or more, and is fixed by tightening individual bands and butterfly bolts, but it is not easy to tighten and loosen the butterfly bolts in consideration of the operator's height and installation height.

또한, 액체운반용 콘테이너가 이동중일 때 커플러 수납박스(20)에 수납된 액체용 수커플러와 가스용 수커플러를 유동되지 않게 안전하고 고정할 필요가 있다.In addition, when the liquid transport container is in motion, it is necessary to secure and secure the water coupler for liquid and the water coupler for gas stored in the coupler storage box 20 so that they do not flow.

국내 공개특허 제10-2014-0011734호(2014.01.29.), 유체이송용 커플러Korean Patent Publication No. 10-2014-0011734 (2014.01.29.), fluid transfer coupler

본 발명은 상술한 바와 같은 종래 기술상의 제반 문제점들을 감안하여 이를 해결하고자 창출된 것으로, 액체운반용 대형 콘테이너탱크의 액체화학물질을 상,하역하기 위하여 필요한 호스와, 이 호스의 단부에 연결된 수커플러를 안전하게 보관할 뿐만 아니라 사용하기 편하게 관리할 수 있도록 개선된 케미컬 이송용 커플러 수납장치를 제공함에 그 주된 목적이 있다.The present invention was created to solve the problems in the prior art as described above, and a hose required for loading and unloading liquid chemicals in a large container tank for liquid transportation, and a male coupler connected to the end of the hose. Its main purpose is to provide an improved chemical transport coupler storage device for safe storage as well as easy management.

본 발명은 상기한 목적을 달성하기 위한 수단으로, 액체운반용 콘테이너에 설치되어 케미컬을 하역하거나 상역하는데 사용되는 액체용 수커플러 또는 가스용 수커플러를 수납하도록 상부가 개방된 수납박스(100)와, 상기 수납박스(100)의 개방된 상부를 밀폐하는 커버(200)를 포함하는 케미컬 이송용 커플러 수납장치에 있어서; 상기 수납박스(100)의 일측 상단에 형성된 반원형상을 갖는 적어도 하나 이상의 호스안치홈(110); 상기 수납박스(100)의 내부 바닥면에 상기 호스안치홈(110)과 간격을 두고 설치된 캡안치대(130); 상기 캡안치대(130)와 간격을 두고 설치되며, 각 수커플러의 선단에 끼워지는 수커플러캡(C1,C2)의 단부에 형성된 단턱(T1,T2)이 걸리도록 걸림턱(142)을 구비한 턱거치대(140); 상기 턱거치대(140)에 안착된 각 수커플러캡(C1,C2)의 선단면을 탄성고정하는 선단가압편(144); 및, 상기 커버(200)의 내부에 설치되고, 각 수커플러캡(C1,C2)의 상부면을 탄성고정하는 상부가압편(146);을 포함하는 것을 특징으로 하는 케미컬 이송용 커플러 수납장치를 제공한다.The present invention is a means for achieving the above object, a storage box (100) with an open top to accommodate a water coupler for liquid or a water coupler for gas, which is installed in a liquid transport container and used for unloading or unloading chemicals, In the chemical transport coupler storage device comprising a cover 200 for sealing the open upper portion of the storage box 100; At least one hose mounting groove 110 having a semicircular shape formed on one upper end of the storage box 100; A cap holder 130 installed at a distance from the hose holder groove 110 on the inner bottom surface of the storage box 100; It is installed at a distance from the cap rest 130 and has a locking projection 142 so that the stepped jaws (T1, T2) formed at the ends of the male coupler caps (C1, C2) fitted to the front ends of each male coupler are caught. One jawrest 140; A tip pressing piece 144 for elastically fixing the tip surfaces of each of the male coupler caps C1 and C2 seated on the chin holder 140; And an upper pressing piece 146 installed inside the cover 200 and elastically fixing the upper surfaces of the male coupler caps C1 and C2. to provide.

이때, 상기 수납박스(100)와 커버(200) 사이에는 공,유압식 댐퍼(400)가 더 설치된 것에도 그 특징이 있다.At this time, there is a feature in that a ball, hydraulic damper 400 is further installed between the storage box 100 and the cover 200.

또한, 상기 수납박스(100)와 커버(200)가 맞물리는 경계면은 이중씰링 구조로 이루어지되, 상기 이중씰링 구조는 상기 경계면 중 어느 일측에 끼움부(120)가 형성되고, 그 대향측에는 끼움홈부(220)가 형성되어 맞끼워는 구조인 것에도 그 특징이 있다.
또한, 상기 수납박스(100) 내부에는 상기 턱거치대(140)에 안착된 각 수커플러캡(C1,C2)의 선단면을 탄성고정하는 선단가압편(144)이 더 설치된 것에도 그 특징이 있다.
In addition, the interface between the storage box 100 and the cover 200 is made of a double sealing structure, the double sealing structure is a fitting portion 120 is formed on either side of the interface, and a fitting groove on the opposite side There is also a characteristic of being a structure in which (220) is formed and mated.
In addition, the inside of the storage box 100 is characterized in that a tip pressing piece 144 for elastically fixing the tip surfaces of each of the male coupler caps C1 and C2 seated on the chin holder 140 is further installed. .

본 발명에 따르면 다음과 같은 효과를 얻을 수 있다.According to the present invention, the following effects can be obtained.

첫째, 50mm, 20mm 수커플러를 동시에 축방향, 내림방향으로 고정시키므로 고정안정성이 향상된다.First, since the 50mm and 20mm male couplers are simultaneously fixed in the axial and downward directions, the fixing stability is improved.

둘째, 상부커버를 닫음과 동시에 개별 캡이 눌림 작용되어 자동 고정기능이 향상된다.Second, the automatic fixing function is improved by pressing the individual caps at the same time as the upper cover is closed.

셋째, 50mm 수커플러의 캡 외주면이 경사져 있음에도 축방향 이동을 자연스럽게 구속하여 안정적인 고정상태를 유지할 수 있다.Third, even though the outer circumference of the cap of the 50mm male coupler is inclined, the axial movement can be naturally restrained to maintain a stable fixed state.

넷째, 50mm 수커플러의 경우 캡의 한쪽면이 각형 구조로 되어 있지만 일정 높이 이상에서 수평고정되게 함으로써 원주방향에 관계없이 안착 고정시킬 수 있다.Fourth, in the case of a 50mm male coupler, one side of the cap has a rectangular structure, but it can be mounted and fixed regardless of the circumferential direction by making it horizontally fixed above a certain height.

다섯째, 아래 본체와 윗 커버 사이에 밀봉수단이 갖추어져 있어 기밀유지가 용이하다.Fifth, the sealing means is provided between the lower body and the upper cover, so it is easy to maintain airtightness.

여섯째, 커버에 내려 눌림용 판형 스프링이 있어 커버를 닫았을 때 스프링 탄력에 의해 캡을 하방으로 눌러 고정위치로부터의 이탈을 방지한다.Sixth, there is a plate-shaped spring for pressing down on the cover, and when the cover is closed, the cap is pressed downward by the spring elasticity to prevent separation from the fixed position.

도 1은 종래 기술에 따른 커플러 수납박스의 설치예를 보인 액체이송용 콘테이너의 예시도이다.
도 2는 본 발명에 따른 케미컬 이송용 커플러 수납장치의 예시적인 사시도이다.
도 3은 도 2의 커버 개방예를 보인 예시도이다,
도 4는 도 3의 상태에서 2개의 커플러를 안착시킨 예를 보인 예시도이다.
도 5는 도 4에서 커버를 닫은 상태를 보인 예시도이다.
도 6은 도 5의 예시적인 측단면도이다.
도 7은 도 5의 예시적인 평단면도이다.
1 is an exemplary view of a container for transporting liquid showing an installation example of a coupler storage box according to the prior art.
Figure 2 is an exemplary perspective view of a chemical transport coupler storage device according to the present invention.
3 is an exemplary view showing an example of opening the cover of FIG. 2,
4 is an exemplary view showing an example in which two couplers are seated in the state of FIG. 3.
5 is an exemplary view showing a state in which the cover is closed in FIG. 4.
6 is an exemplary cross-sectional side view of FIG. 5.
7 is an exemplary top cross-sectional view of FIG. 5.

이하에서는, 첨부도면을 참고하여 본 발명에 따른 바람직한 실시예를 보다 상세하게 설명하기로 한다.Hereinafter, a preferred embodiment according to the present invention will be described in more detail with reference to the accompanying drawings.

본 발명 설명에 앞서, 이하의 특정한 구조 내지 기능적 설명들은 단지 본 발명의 개념에 따른 실시예를 설명하기 위한 목적으로 예시된 것으로, 본 발명의 개념에 따른 실시예들은 다양한 형태로 실시될 수 있으며, 본 명세서에 설명된 실시예들에 한정되는 것으로 해석되어서는 아니된다.Prior to the description of the present invention, the following specific structure or functional descriptions are exemplified only for the purpose of describing embodiments according to the concept of the present invention, and embodiments according to the concept of the present invention may be implemented in various forms, It should not be construed as being limited to the embodiments described herein.

또한, 본 발명의 개념에 따른 실시예는 다양한 변경을 가할 수 있고 여러 가지 형태를 가질 수 있으므로, 특정 실시예들은 도면에 예시하고 본 명세서에 상세하게 설명하고자 한다. 그러나, 이는 본 발명의 개념에 따른 실시예들을 특정한 개시 형태에 한정하려는 것이 아니며, 본 발명의 사상 및 기술 범위에 포함되는 모든 변경물, 균등물 내지 대체물을 포함하는 것으로 이해되어야 한다.In addition, since the embodiments according to the concept of the present invention can apply various changes and have various forms, specific embodiments are illustrated in the drawings and will be described in detail in the present specification. However, this is not intended to limit the embodiments according to the concept of the present invention to a specific form of disclosure, and it should be understood that all modifications, equivalents, and substitutes included in the spirit and scope of the present invention are included.

도 2 내지 도 7에 도시된 바와 같이, 본 발명에 따른 케미컬 이송용 커플러 수납장치는 상부가 개방된 수납박스(100)와, 상기 수납박스(100)의 개방된 상부를 밀폐하는 커버(200)를 포함한다.As shown in FIGS. 2 to 7, the coupler storage device for chemical transport according to the present invention includes a storage box 100 with an open top and a cover 200 sealing the open upper part of the storage box 100. Includes.

그리고, 상기 커버(200)는 도 2의 예시와 같이 클램프(300)에 의해 록킹 또는 언록킹된다.In addition, the cover 200 is locked or unlocked by the clamp 300 as illustrated in FIG. 2.

또한, 개폐를 용이하게 하기 위해 상기 커버(200)에는 손잡이(210)가 고정된다.In addition, a handle 210 is fixed to the cover 200 to facilitate opening and closing.

아울러, 상기 수납박스(100)의 일측 상단에는 반원형상의 호스안치홈(110)이 형성된다.In addition, a semi-circular hose mounting groove 110 is formed at an upper end of one side of the storage box 100.

상기 호스안치홈(110)은 적어도 하나 이상 구비되는데, 바람직하기로는 액체용 호스(H1)와 가스용 호스(H2) 2개가 구비될 수 있다.The hose mounting groove 110 is provided with at least one, preferably, a liquid hose (H1) and a gas hose (H2) two may be provided.

뿐만 아니라, 상기 수납박스(100)와 커버(200)가 맞물리는 경계면에는 기밀을 유지할 수 있도록 이중씰링 구조를 갖는다.In addition, the interface between the storage box 100 and the cover 200 has a double sealing structure to maintain airtightness.

이를 테면, 상기 경계면 중 어느 일측에는 끼움부(120)가 형성되고, 그 대향측에는 끼움홈부(220)가 형성되어 맞끼워짐으로써 이중씰링 구조를 갖추어 흄으로부터 작업자를 보호하도록 한다.For example, a fitting portion 120 is formed on one side of the interface, and a fitting groove 220 is formed on the opposite side thereof to be fitted, thereby having a double sealing structure to protect the worker from fumes.

다시 말해, 'ㅏ' 형상의 돌출부가 'ㅕ' 형상의 홈부에 삽입되는 형상이라고 생각하면 쉽게 이해될 수 있다.In other words, it can be easily understood by thinking that the'ㅏ'-shaped protrusion is a shape that is inserted into the'ㅕ'-shaped groove.

그리고, 상기 수납박스(100)의 내부 바닥면에는 상기 호스안치홈(110)과 일직선상을 유지하면서 일정거리 이격된 채 캡안치대(130)가 고정된다.In addition, the cap holder 130 is fixed to the inner bottom surface of the storage box 100 while maintaining a straight line with the hose holder groove 110 and spaced a predetermined distance apart.

상기 캡안치대(130)는 액체용 호스(H1)에 연결 고정된 수커플러를 보호하는 액체용 수커플러캡(C1) 또는 가스용 호스(H2)에 연결 고정된 수커플러를 보호하는 가스용 수커플러캡(C2)이 안치되어 안정적으로 고정 유지되도록 안내하는 부재이다. 또한, 액체용 호스(H1)에 연결 고정된 수커플러는 통상 50mm, 가스용 호스(H2)에 연결 고정된 수커플러는 통상 20mm 이다.The cap rest 130 is connected to a liquid hose (H1) and a male coupler cap (C1) for liquid to protect a fixed male coupler, or a gas water to protect a fixed male coupler connected to a gas hose (H2). It is a member that guides the coupler cap C2 so that it is placed and stably fixed. In addition, the male coupler connected and fixed to the liquid hose H1 is usually 50 mm, and the male coupler connected and fixed to the gas hose H2 is usually 20 mm.

이러한 캡안치대(130)는 각 수커플러캡(C1,C2)의 형상에 따라 안치면의 형상이 달라질 수 있다.The cap placement table 130 may have a different shape of the placement surface according to the shape of each of the male coupler caps C1 and C2.

예컨대, 액체용 수커플러캡(C1)의 경우에는 경사지게 형성되어 있기 때문에 그 경사각에 맞춰 안치면이 경사가공되어 액체용 수커플러캡(C1) 자체가 수평하게 안착지지될 수 있도록 구성되며, 가스용 수커플러캡(C2)의 경우에는 경사없이 평평하므로 그냥 호형, 즉 반원형상으로 안치면이 평평하게 가공된다.For example, in the case of the liquid male coupler cap (C1), since it is formed to be inclined, the seating surface is inclined to match the angle of inclination, so that the male coupler cap (C1) for liquid can be mounted horizontally and supported. In the case of the male coupler cap (C2), since it is flat without inclination, the seating surface is processed flat in an arc shape, that is, a semicircular shape.

아울러, 상기 캡안치대(130)와 간격을 두고 턱거치대(140)가 구비된다.In addition, a jaw holder 140 is provided at a distance from the cap holder 130.

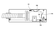
상기 턱거치대(140)는 각 수커플러캡(C1,C2)의 단부가 안정적으로 안착되어 지지되고, 각 단부에 형성된 단턱(T1,T2)이 걸릴 수 있도록 걸림턱(142)을 구비한다.The jaw holder 140 includes a locking jaw 142 so that the ends of each of the male coupler caps C1 and C2 are stably seated and supported, and the stepped jaws T1 and T2 formed at the respective ends can be caught.

때문에, 각 수커플러캡(C1,C2)이 턱거치대(140)에 안착되면 동시에 단턱(T1,T2)이 걸림턱(142)에 걸리게 되므로 쉽게 분리 유동되지 않고 안정적으로 고정된 상태를 유지하게 된다.Therefore, when each male coupler cap (C1, C2) is seated on the jaw holder 140, the stepped jaws (T1, T2) are caught on the locking jaw 142 at the same time, so that it is not easily separated and flowed, and a stably fixed state is maintained. .

그리고, 각 수커플러캡(C1,C2)의 선단면은 선단가압편(144)에 의해 탄지된다.In addition, the front end surfaces of each of the male coupler caps C1 and C2 are pressed by the tip pressing pieces 144.

상기 선단가압편(144)은 캡안치대(130)와 간격을 두고 수납박스(100)의 바닥면에 고정되며, 수커플러캡(C1,C2)의 선단면을 향해 볼록하게 곡률진 탄성편으로서 일종의 판스프링 역할을 담당한다.The tip pressing piece 144 is fixed to the bottom surface of the storage box 100 at a distance from the cap holder 130, and is an elastic piece that is convexly curved toward the tip surfaces of the male coupler caps C1 and C2. It plays the role of a kind of leaf spring.

따라서, 상기 수커플러캡(C1,C2)은 그 선단에 형성된 단턱(T1,T2)이 걸림턱(142)에 걸린 상태에서 선단가압편(144)이 탄성적으로 밀고 있으므로 가장 안정된 상태로 걸려 고정되게 된다. 때문에, 좌,우 방향으로의 이탈을 방지하게 된다.Therefore, the male coupler caps (C1, C2) are held in the most stable state because the tip pressing piece 144 is elastically pushed while the stepped jaws (T1, T2) formed at the tip ends are caught by the locking jaws 142. It will be. Therefore, it is possible to prevent deviation in the left and right directions.

동시에, 상기 커버(200)의 내부면에는 각 수커플러캡(C1,C2)의 상부면, 즉 둘레면 중 상측부에 탄성적으로 가압하는 상부가압편(146)이 더 설치된다. 때문에, 상방향으로의 이탈을 방지하게 된다.At the same time, an upper pressing piece 146 that elastically presses the upper surface of each male coupler cap C1 and C2, that is, an upper part of the circumferential surface, is further installed on the inner surface of the cover 200. Therefore, it is possible to prevent separation in the upward direction.

상기 상부가압편(146)은 상기 선단가압편(144)과 동일한 형상으로 구성되어 각 수커플러캡(C1,C2)이 상방향으로 유동되는 것을 탄성적으로 억제하여 차단하게 된다.The upper pressing piece 146 is configured in the same shape as the tip pressing piece 144 to elastically inhibit and block each of the male coupler caps C1 and C2 from flowing upward.

뿐만 아니라, 상기 수납박스(100)와 커버(200) 사이에는 공,유압식 댐퍼(400)가 설치되어 커버(200)를 닫은 후 열 때 자동적으로 열리게 하여 작업자의 작업 편의성을 향상시킨다.In addition, a ball and hydraulic damper 400 is installed between the storage box 100 and the cover 200 to automatically open the cover 200 when opening it after closing, thereby improving the operator's work convenience.

이러한 구성으로 이루어진 본 발명은 현장에 도착하여 클램프(300)를 개방하면 커버(200)가 자동으로 열리기 때문에 작업자의 키보다 높은 위치에 수납박스가 위치해 있더라도 용이하게 작업할 수 있다.In the present invention having such a configuration, since the cover 200 is automatically opened when the clamp 300 is opened when arriving at the site, even if the storage box is located at a position higher than the height of the operator, it is possible to easily work.

또한, 작업 후 각 수커플러를 안착시킬 때 수커플러캡(C1,C2) 부분을 캡안치대(130)에 올려 놓으면서 수커플러캡(C1,C2)의 선다이 선단가압편(144)에 접촉되게 하면 자동적으로 수커플러캡(C1,C2)의 선단에 형성된 단턱(T1,T2)이 턱거치대(140)의 걸림턱(142)에 걸리게 되고, 그 상태에서 커버(200)를 눌러 닫으면 커버(200)에 구비된 상부가압편(146)이 수커플러캡(C1,C2)의 외주면 상측을 눌러 고정하므로 결국 수커플러를 안전하게 안정적으로 고정할 수 있게 된다.In addition, when placing each male coupler after work, place the male coupler caps (C1, C2) on the cap holder 130 and make it in contact with the sun die tip pressing piece 144 of the male coupler caps (C1, C2). The stepped jaws (T1, T2) formed at the front ends of the male coupler caps (C1, C2) are automatically caught by the locking jaws (142) of the jaw holder (140), and when the cover (200) is pressed and closed in that state, the cover (200) Since the upper pressing piece 146 provided in the male coupler caps C1 and C2 is fixed by pressing the upper side of the outer circumferential surface of the male coupler caps C1 and C2, the male coupler can be safely and stably fixed.

100: 수납박스
200: 커버
300: 클램프
400: 댐퍼
100: storage box
200: cover
300: clamp
400: damper

Claims (4)

액체운반용 콘테이너에 설치되어 케미컬을 하역하거나 상역하는데 사용되는 액체용 수커플러 또는 가스용 수커플러를 수납하도록 상부가 개방된 수납박스(100)와, 상기 수납박스(100)의 개방된 상부를 밀폐하는 커버(200)를 포함하는 케미컬 이송용 커플러 수납장치에 있어서;
상기 수납박스(100)의 일측 상단에 형성된 반원형상을 갖는 적어도 하나 이상의 호스안치홈(110);
상기 수납박스(100)의 내부 바닥면에 상기 호스안치홈(110)과 간격을 두고 설치된 캡안치대(130);
상기 캡안치대(130)와 간격을 두고 설치되며, 각 수커플러의 선단에 끼워지는 수커플러캡(C1,C2)의 단부에 형성된 단턱(T1,T2)이 걸리도록 걸림턱(142)을 구비한 턱거치대(140);
상기 커버(200)의 내부에 설치되고, 각 수커플러캡(C1,C2)의 상부면을 탄성고정하는 상부가압편(146);을 포함하는 것을 특징으로 하는 케미컬 이송용 커플러 수납장치.
A storage box 100 with an open top to accommodate a water coupler for liquid or a water coupler for gas, which is installed in a liquid transport container and used for unloading or unloading chemicals, and sealing the open upper part of the storage box 100 In the chemical transport coupler storage device comprising a cover (200);
At least one hose mounting groove 110 having a semicircular shape formed on an upper end of one side of the storage box 100;
A cap holder 130 installed at a distance from the hose holder groove 110 on the inner bottom surface of the storage box 100;
It is installed at a distance from the cap rest 130 and has a locking jaw 142 so that the stepped jaws T1 and T2 formed at the ends of the male coupler caps C1 and C2 that are fitted to the front ends of each male coupler are caught One jawrest 140;
And an upper pressing piece (146) installed inside the cover (200) and elastically fixing the upper surfaces of each of the male coupler caps (C1, C2).
청구항 1에 있어서,
상기 수납박스(100)와 커버(200) 사이에는 공,유압식 댐퍼(400)가 더 설치된 것을 특징으로 하는 케미컬 이송용 커플러 수납장치.
The method according to claim 1,
Between the storage box 100 and the cover 200, a ball and hydraulic damper 400 is further installed.
청구항 1에 있어서,
상기 수납박스(100)와 커버(200)가 맞물리는 경계면은 이중씰링 구조로 이루어지되, 상기 이중씰링 구조는 상기 경계면 중 어느 일측에 끼움부(120)가 형성되고, 그 대향측에는 끼움홈부(220)가 형성되어 맞끼워는 구조인 것을 특징으로 하는 케미컬 이송용 커플러 수납장치.
The method according to claim 1,
The interface between the storage box 100 and the cover 200 is made of a double sealing structure, and the double sealing structure has a fitting portion 120 formed on one side of the interface, and a fitting groove 220 on the opposite side thereof. ) Is formed to fit a chemical transport coupler storage device, characterized in that the structure.
청구항 1에 있어서,
상기 수납박스(100) 내부에는 상기 턱거치대(140)에 안착된 각 수커플러캡(C1,C2)의 선단면을 탄성고정하는 선단가압편(144)이 더 설치된 것을 특징으로 하는 케미컬 이송용 커플러 수납장치.
The method according to claim 1,
A coupler for chemical transfer, characterized in that a tip pressing piece 144 for elastically fixing the tip surfaces of each male coupler cap (C1, C2) seated on the chinrest (140) is further installed inside the storage box (100) Storage device.
KR1020190150986A 2019-11-22 2019-11-22 Chemical transport coupler storage Active KR102254995B1 (en)

Priority Applications (1)

Application Number Priority Date Filing Date Title
KR1020190150986A KR102254995B1 (en) 2019-11-22 2019-11-22 Chemical transport coupler storage

Applications Claiming Priority (1)

Application Number Priority Date Filing Date Title
KR1020190150986A KR102254995B1 (en) 2019-11-22 2019-11-22 Chemical transport coupler storage

Publications (1)

Publication Number Publication Date
KR102254995B1 true KR102254995B1 (en) 2021-05-24

Family

ID=76152501

Family Applications (1)

Application Number Title Priority Date Filing Date
KR1020190150986A Active KR102254995B1 (en) 2019-11-22 2019-11-22 Chemical transport coupler storage

Country Status (1)

Country Link
KR (1) KR102254995B1 (en)

Citations (7)

* Cited by examiner, † Cited by third party
Publication number Priority date Publication date Assignee Title
JPS5755234A (en) * 1980-09-16 1982-04-02 Kyokuto Kaihatsu Kogyo Co Ltd Hose storing device in tank truck
JPS57158135A (en) * 1981-03-26 1982-09-29 Shin Meiwa Ind Co Ltd Hose case of tank lorry
JPS59140758U (en) * 1983-03-11 1984-09-20 渋谷 雄 Marine hose storage box
JPH0328178U (en) * 1989-07-27 1991-03-20
KR20080005587U (en) * 2007-05-18 2008-11-21 이만종 Photomask Container
KR20140011734A (en) 2012-07-19 2014-01-29 김철원 A fluid-transfer coupler
KR101779493B1 (en) * 2016-12-06 2017-09-18 (주)에스티아이 Automatic supplying apparatus of chemical

Patent Citations (7)

* Cited by examiner, † Cited by third party
Publication number Priority date Publication date Assignee Title
JPS5755234A (en) * 1980-09-16 1982-04-02 Kyokuto Kaihatsu Kogyo Co Ltd Hose storing device in tank truck
JPS57158135A (en) * 1981-03-26 1982-09-29 Shin Meiwa Ind Co Ltd Hose case of tank lorry
JPS59140758U (en) * 1983-03-11 1984-09-20 渋谷 雄 Marine hose storage box
JPH0328178U (en) * 1989-07-27 1991-03-20
KR20080005587U (en) * 2007-05-18 2008-11-21 이만종 Photomask Container
KR20140011734A (en) 2012-07-19 2014-01-29 김철원 A fluid-transfer coupler
KR101779493B1 (en) * 2016-12-06 2017-09-18 (주)에스티아이 Automatic supplying apparatus of chemical

Similar Documents

Publication Publication Date Title
EP1051333B1 (en) Blow molded drum
DE10241750C1 (en) Plastic tap for liquid transport and storage containers has a housing which consists of high density polyethylene, and is provided with the inner component of a hose coupling
EP3181487B1 (en) Discharge outlet fixing clamp for medium-sized bulk containers
US9611131B2 (en) Mini-keg growler cap, components, accessories and designs for the same
US20120326440A1 (en) Pipe coupling for connecting two pipe ends
US20100012663A1 (en) Protective Cap For A Pressurized Tank
US10526194B2 (en) System for transporting and storing a liquid and for transporting said liquid from the container to a destination outside of the container
US11215305B2 (en) Connector and connector assembly and method for producing a connector
CN109420890B (en) Hose and fitting assembly device for automatic chemical supply device
KR102254995B1 (en) Chemical transport coupler storage
CN204942840U (en) For the disengaging assembly of chemical product transmission system liquefied
US8657145B2 (en) Cap for a port of a pressurized container or conduit
KR20210080758A (en) protection cap for pipe
WO2020071894A1 (en) Valve protection collar for gas (lpg) bottles
KR20180030958A (en) Pipe coupler
EP0701945A1 (en) Gasket container and assembly tool
ITMC20070061A1 (en) FIXING AND SAFETY SYSTEM FOR CAPS, VALVES OR SIMILAR TANKS.
US20120073703A1 (en) Transport and handling retention member
US6641174B2 (en) Safety device for connecting cryogenic fluid piping and cryogenic fluid container comprising at least one piping provided with such a safety device
US11059154B2 (en) Two-piece guide bushing
US11371637B2 (en) Pipe fitting placement device
TWI634053B (en) A connector assembly
US20080121644A1 (en) Tank Cover Hinge Assembly
US11846357B2 (en) Safety flow obstruction holder
KR101791746B1 (en) Device for carrying nuclear fuel transport cask and method using thereof

Legal Events

Date Code Title Description
PA0109 Patent application

Patent event code: PA01091R01D

Comment text: Patent Application

Patent event date: 20191122

PA0201 Request for examination
PN2301 Change of applicant

Patent event date: 20201020

Comment text: Notification of Change of Applicant

Patent event code: PN23011R01D

E701 Decision to grant or registration of patent right
PE0701 Decision of registration

Patent event code: PE07011S01D

Comment text: Decision to Grant Registration

Patent event date: 20210513

GRNT Written decision to grant
PR0701 Registration of establishment

Comment text: Registration of Establishment

Patent event date: 20210517

Patent event code: PR07011E01D

PR1002 Payment of registration fee

Payment date: 20210517

End annual number: 3

Start annual number: 1

PG1601 Publication of registration