KR101803336B1 - Restoration method of ground improvement and subsidence structure using bulb type reaction pile - Google Patents
Restoration method of ground improvement and subsidence structure using bulb type reaction pile Download PDFInfo
- Publication number
- KR101803336B1 KR101803336B1 KR1020170000902A KR20170000902A KR101803336B1 KR 101803336 B1 KR101803336 B1 KR 101803336B1 KR 1020170000902 A KR1020170000902 A KR 1020170000902A KR 20170000902 A KR20170000902 A KR 20170000902A KR 101803336 B1 KR101803336 B1 KR 101803336B1
- Authority
- KR
- South Korea
- Prior art keywords
- reaction force
- injection
- bulb
- ground
- ground reinforcement
- Prior art date
- Legal status (The legal status is an assumption and is not a legal conclusion. Google has not performed a legal analysis and makes no representation as to the accuracy of the status listed.)
- Active
Links
Images
Classifications
-
- E—FIXED CONSTRUCTIONS
- E02—HYDRAULIC ENGINEERING; FOUNDATIONS; SOIL SHIFTING
- E02D—FOUNDATIONS; EXCAVATIONS; EMBANKMENTS; UNDERGROUND OR UNDERWATER STRUCTURES
- E02D27/00—Foundations as substructures
- E02D27/32—Foundations for special purposes
- E02D27/34—Foundations for sinking or earthquake territories
-
- E—FIXED CONSTRUCTIONS
- E02—HYDRAULIC ENGINEERING; FOUNDATIONS; SOIL SHIFTING
- E02D—FOUNDATIONS; EXCAVATIONS; EMBANKMENTS; UNDERGROUND OR UNDERWATER STRUCTURES
- E02D3/00—Improving or preserving soil or rock, e.g. preserving permafrost soil
- E02D3/12—Consolidating by placing solidifying or pore-filling substances in the soil
-
- E—FIXED CONSTRUCTIONS
- E02—HYDRAULIC ENGINEERING; FOUNDATIONS; SOIL SHIFTING
- E02D—FOUNDATIONS; EXCAVATIONS; EMBANKMENTS; UNDERGROUND OR UNDERWATER STRUCTURES
- E02D35/00—Straightening, lifting, or lowering of foundation structures or of constructions erected on foundations
-
- E—FIXED CONSTRUCTIONS
- E02—HYDRAULIC ENGINEERING; FOUNDATIONS; SOIL SHIFTING
- E02D—FOUNDATIONS; EXCAVATIONS; EMBANKMENTS; UNDERGROUND OR UNDERWATER STRUCTURES
- E02D37/00—Repair of damaged foundations or foundation structures
-
- E—FIXED CONSTRUCTIONS
- E02—HYDRAULIC ENGINEERING; FOUNDATIONS; SOIL SHIFTING
- E02D—FOUNDATIONS; EXCAVATIONS; EMBANKMENTS; UNDERGROUND OR UNDERWATER STRUCTURES
- E02D2250/00—Production methods
- E02D2250/003—Injection of material
Landscapes
- Engineering & Computer Science (AREA)
- Structural Engineering (AREA)
- Life Sciences & Earth Sciences (AREA)
- General Life Sciences & Earth Sciences (AREA)
- Mining & Mineral Resources (AREA)
- Paleontology (AREA)
- Civil Engineering (AREA)
- General Engineering & Computer Science (AREA)
- Environmental & Geological Engineering (AREA)
- Agronomy & Crop Science (AREA)
- Soil Sciences (AREA)
- Consolidation Of Soil By Introduction Of Solidifying Substances Into Soil (AREA)
Abstract
본 발명은 깊은 연약지반의 보강이 가능하고, 커튼벽에 의한 인상용 주입재의 손실을 방지하면서 침하 구조물의 인상 복원이 이루어질 수 있도록 한 구근형 반력말뚝을 활용한 지반 보강 및 침하 구조물의 복원 방법을 제공한다. 본 발명의 적절한 실시 형태에 따른 구근형 반력말뚝을 활용한 지반 보강 및 침하 구조물의 복원 방법은, (a) 침하구조물의 직하부에 지반강화가 요구되는 복원영역존을 설정하고, 각각의 하중반력점을 대상의 계획된 위치마다 코어드릴 또는 소형 보링기를 이용하여 기초판을 관통하여 지반에 일정 깊이까지 1차 천공한 후, 모든 1차 천공홀에 각기 지반보강 주입재 주입관을 삽입하여 지반보강용 주입재의 주입작업과 동시에 지반보강 주입재 주입관의 인발작업을 단계적으로 반복 진행하면서 복원영역존내에 다수개의 하중반력점 기능을 하는 구근형 반력말뚝을 형성하는 단계와; (b) 기초판의 직하부에 지반 내에서 인상용 주입재의 압력 손실을 방지하고자 기초판의 둘레를 따라 이웃한 구근형 반력말뚝을 향해 사선방향으로 경사천공을 실시한 후 경사천공에 인입된 커튼벽 주입관을 통해 인상용 주입재 커튼벽을 형성하는 단계와; (c) 반력대 주입관을 구근형 반력말뚝 상부측의 하중반력점까지 근입시킨 후, 인상용 주입재를 반력대 주입관에서 분출 경화시키는 작업을 반복시켜 구근형 반력말뚝의 상단에 형성되는 하중반력대에 의해 구조물을 들어올리는 단계;를 포함하여 이루어지는 것을 특징으로 한다.The present invention relates to a method of restoring a ground reinforcement and a settlement structure using a bulb-type reaction force pile capable of reinforcing a deep soft foundation and restoring a pulling-down structure of the settlement structure while preventing the loss of the pulling- to provide. A method of restoring a ground reinforcement and a settlement structure using a bulb-type reaction force pile according to a preferred embodiment of the present invention comprises the steps of: (a) setting a restoration zone zone in which a ground reinforcement is required immediately below the settlement structure; The core was drilled through the base plate using a core drill or a small boring machine at a planned position of the target and then drilled first to a certain depth in the ground. Then, the ground reinforcement injection pipe was inserted into each primary perforation hole, Forming a bulb-type reaction force pile having a plurality of load reaction force points in the recovery zone zone while repeating the drawing operation of the ground reinforcement injection pipe at the same time as the injection operation of the ground reinforcement injection pipe; (b) In order to prevent the pressure loss of the impression material in the ground immediately below the foundation plate, oblique piercing is performed in the oblique direction toward the neighboring bulb-like reaction force pile along the periphery of the foundation plate, Forming a filler curtain wall through the injection tube; (c) Repeating the operation of injecting the reaction force injection tube up to the load reaction force point on the upper side of the bulb-shaped reaction force pile, and then spraying and hardening the pulling injection material in the reaction force injection pipe, And lifting the structure by the frame.
Description
본 발명은 구근형 반력말뚝을 활용한 지반 보강 및 침하 구조물의 복원 방법에 관한 것으로, 특히 점성토나 유기질토와 같은 깊은 연약지반의 경우 지내력은 일축압축강도 12kg/㎠ 이하(N≤6)로 형성되어 구조물 복원시에 사용되는 주입되는 인상용 주입재의 압력인 20~100kg/㎠ 을 견디지 못하여 침하 구조물을 복원하기 위한 지중에 하중반력점이 형성되지 못하고, 또한 주입되는 인상용 주입재는 대상 침하구조물의 하부 지중에서 하중반력점에 의한 하중반력대를 다수 형성한 복원영역존을 벗어나 복원 압력이나 주입재의 유실(손실)로 인상용 주입재의 일정한 압력 작용을 확보할 수 없게 되므로, 깊은 연약지반에서 구조물 직하부의 지중에 복원영역존 내에 다수의 하중반력대를 구축하는 구근형 반력말뚝으로 지반을 복원영역존을 형성시키고, 대상 침하구조물의 복원영역존에 주입재의 유실을 방지하고자 구조물의 복원영역존의 외곽둘레를 따라 커튼벽을 형성시켜 주입재의 손실을 방지하고 압력을 지내력 보다 높게 발휘시켜 침하구조물의 인상 복원이 이루어질 수 있도록 한 구근형 반력말뚝을 활용한 지반 보강 및 침하 구조물의 복원 방법에 관한 것이다.The present invention relates to a method for restoring a ground reinforcement and a settlement structure using a bulb type reaction force pile, and particularly, in the case of a deep soft foundation such as a clayey soil or an organic soil, the grounding force is formed with a uniaxial compressive strength of 12 kg / The load resistive force point can not be formed in the ground for restoring the settlement structure because the pressure of 20 to 100 kg /
일반적으로 지반의 압축에 의하여 발생되는 구조물 또는 구조물 일부의 연직변위를 침하라고 하며, 구조물의 모든 부분의 침하가 같으면 균등침하라고 한다. 균등침하가 발생되면 구조물에는 균열이 생기지 않고 다만 연직위치만 달라진다. 반면에 구조물의 위치에 따라 침하의 크기가 다른 부등침하가 일어나면 구조물에 균열이 발생하거나 기울어져 구조물의 기능과 안전성에 악영향을 미친다.In general, the vertical displacement of a structure or a part of a structure caused by the compression of the ground is called settlement. If the settlement of all parts of the structure is the same, it is called an equal settlement. When a uniform settlement occurs, there is no crack in the structure, but only the vertical position is changed. On the other hand, if a different settling occurs with different settlement size depending on the location of the structure, cracks occur in the structure or tilt, which adversely affects the function and safety of the structure.
지반의 침하는 구조물 하중에 의한 지중응력의 증가(지반의 탄소성 변형), 지하수위 강하에 따른 지반의 자중증가, 점성토 지반의 건조수축, 함수비의 증가에 의한 지반 지지력의 약화, 지반의 기초파괴, 지하공간이나 지하매설관 등 지중공간의 함몰, 동상후의 연화작용과 같은 원인들에 의하여 지반이 압축되어 발생된다.The subsidence of the ground is affected by the increase of the underground stress due to the structural load (elasto - plastic deformation), the increase of self - weight according to the groundwater descent, the drying shrinkage of the clayey soil, the weakening of the soil bearing capacity by increasing the water content, , Underground space, buried underground space such as buried underground pipe, and softening effect after in situ.
이러한 침하를 해결하기 위한 방법으로 연약지반을 개량하는 보강공법이 알려져 있다. 일예로, 깊은 연약지반의 경우 저유동성 지반보강용 주입재를 지중에 비배출형으로 압입 주입하여 원주형 구근을 형성함과 동시에 주변부의 흙을 사방으로 압축시켜 지반의 밀도를 증가시키는 CGS(Compaction Grouting System) 공법이 있다. 다른 예로, 기초 하부소요 깊이까지 주입관을 설치하고, 1차로 분말도가 높은 초미립자 그라우트재를 저압/침투 주입시켜 지반을 보강한 후, 2차로 보강된 지반과 기초판 사이에 급결성 그라우트재를 다점 동시 주입하여 침하된 구조물을 복원(인상)하는 디록 공법이 있다.A reinforcement method for improving soft ground is known as a method for solving such settlement. For example, in the case of a deep soft ground, a low flowable soil reinforcement injection material is injected into the ground in a non-discharge type to form a columnar bulb, and at the same time, CGS (Compaction Grouting System ) Construction method. As another example, an inflow pipe is installed up to the required depth of the foundation, and the ground is reinforced by injecting ultra-fine gravity material having a high degree of powdering at a low pressure / infiltration, and then a grooved grout material is sandwiched between the second- There is a method of recovering (descending) a structure that has been submerged by multipoint injection.
그런데 디록 공법의 경우 얕은 지반 보강 및 복원 공법으로서 깊은 연약지반을 보강하기 어렵고, 2차로 보강된 지반과 기초판 사이에 급결성 그라우트재를 다점 동시 주입하는 경우 급결성 그라우트재의 압력 유실로 누출이 발생되는 문제가 있다.However, it is difficult to reinforce the deep soft soil as a shallow soil reinforcement method in the case of the DIOROK method. In case of simultaneous injection of the grooved grout material between the ground reinforcement and the foundation plate, leakage occurs due to the pressure loss of the grooved grout material There is a problem.
본 발명의 배경이 되는 기술로는 한국 등록특허 등록번호 제10-0475443호로서, '구조물 하부의 지반보강공법'이 제안되어 있다. 이는 리모델링 또는 설계변경등에 의해 불안정해진 구조물 하부의 지반에 중결성 그라우트액을 다점순차/전환주입하면서 구조물 저면과 면접하는 반력대를 형성시킴으로써 지내력을 확보하여 지반의 안정화를 도모하는 것이다. 그러나 이 배경기술은 그라우트재가 깊은 연약지반까지 도달하기 어려워 깊은 연약지반에 적용하기 어려운 문제가 있다.As a background of the present invention, Korean Registered Patent Registration No. 10-0475443, " Geotechnical Reinforcement Method under a Structure " has been proposed. This is to stabilize the ground by securing the grounding force by forming a reaction force band that intervenes with the bottom of the structure while multiplying the interlocking grout liquid in the ground below the structure unstable due to remodeling or design change. However, this background technique has a problem that grout ash is difficult to reach to deep soft ground, so it is difficult to apply to deep soft ground.
본 발명의 배경이 되는 다른 기술로는 한국 등록특허 등록번호 제10-0368932호로서, '다점주입에 의한 부등침하구조물의 복원공법'이 제안되어 있다. 이는 부등침하한 구조물의 바닥전체에 급결성 시멘트 페이스트를 강제주입하여 부등침하한 구조물을 복원시키는 공법이다. 그러나 이 배경기술도 급결성 시멘트 페이스트에 의한 지반강화층이 낮아 깊은 연약지반을 보강하기 어려운 문제가 있다.Another technology to be a background of the present invention is Korean Patent Registration No. 10-0368932, which proposes a method of restoring an uneven subsidence structure by multipoint injection. This is a method for restoring the unevenly subsided structure by forcing the feedable cement paste to the entire bottom of the unevenly contracted structure. However, this background technique also has a problem in that it is difficult to reinforce deep soft ground due to the low soil strengthening layer formed by the quick-setting cement paste.
본 발명은점성토나 유기질토와 같은 깊은 연약지반의 경우 지내력은 일축압축강도 12kg/㎠ 이하(N≤6)로 형성되어 구조물 복원시에 사용되는 주입되는 인상용 주입재의 압력인 20~100kg/㎠ 을 견디지 못하여 침하 구조물을 복원하기 위한 지중에 하중반력점이 형성되지 못하고, 또한 주입되는 인상용 주입재는 대상 침하구조물의 하부 지중에서 하중반력점에 의한 하중반력대를 다수 형성한 복원영역존을 벗어나 복원 압력이나 주입재의 유실(손실)로 인상용 주입재의 일정한 압력 작용을 확보할 수 없게 되므로, 깊은 연약지반에서 구조물 직하부의 지중에 복원영역존 내에 다수의 하중반력대를 구축하는 구근형 반력말뚝으로 지반을 복원영역존을 형성시키고, 대상 침하구조물의 복원영역존에 주입재의 유실을 방지하고자 구조물의 복원영역존의 외곽둘레를 따라 커튼벽을 형성시켜 주입재의 손실을 방지하고 압력을 지내력 보다 높게 발휘시켜 침하구조물의 인상 복원이 이루어질 수 있도록 한 구근형 반력말뚝을 활용한 지반 보강 및 침하 구조물의 복원 방법을 제공함에 그 목적이 있다.In the case of a deep soft ground such as clayey soil or organic soil, the grounding force is formed at a uniaxial compressive strength of 12 kg /
본 발명의 적절한 실시 형태에 따른 구근형 반력말뚝을 활용한 지반 보강 및 침하 구조물의 복원 방법은, (a) 침하구조물의 직하부에 지반강화가 요구되는 복원영역존을 설정하고, 각각의 하중반력점을 대상의 계획된 위치마다 코어드릴 또는 소형 보링기를 이용하여 기초판을 관통하여 지반에 일정 깊이까지 1차 천공한 후, 모든 1차 천공홀에 각기 지반보강 주입재 주입관을 삽입하여 지반보강용 주입재의 주입작업과 동시에 지반보강 주입재 주입관의 인발작업을 단계적으로 반복 진행하면서 복원영역존내에 다수개의 하중반력점 기능을 하는 구근형 반력말뚝을 형성하는 단계와; (b) 기초판의 직하부에 지반 내에서 인상용 주입재의 압력 손실을 방지하고자 기초판의 둘레를 따라 이웃한 구근형 반력말뚝을 향해 사선방향으로 경사천공을 실시한 후 경사천공에 인입된 커튼벽 주입관을 통해 인상용 주입재 커튼벽을 형성하는 단계와; (c) 반력대 주입관을 구근형 반력말뚝 상부측의 하중반력점까지 근입시킨 후, 인상용 주입재를 반력대 주입관에서 분출 경화시키는 작업을 반복시켜 구근형 반력말뚝의 상단에 형성되는 하중반력대에 의해 구조물을 들어올리는 단계;를 포함하고,
다수개의 하중반력점은 구근형 반력말뚝의 직경을 초과하는 기초판의 유효압력거리 만큼 이격하여 형성되고, 인상용 주입재 커튼벽은 그 깊이가 유효압력거리를 초과하는 것을 특징으로 한다.A method of restoring a ground reinforcement and a settlement structure using a bulb-shaped reaction force pile according to a preferred embodiment of the present invention comprises the steps of (a) setting a restoration zone zone in which a ground reinforcement is required immediately below the settlement structure, The core was drilled through the base plate using a core drill or a small boring machine at a planned position of the target and then drilled first to a certain depth in the ground. Then, the ground reinforcement injection pipe was inserted into each primary perforation hole, Forming a bulb-type reaction force pile having a plurality of load reaction force points in the recovery zone zone while repeating the drawing operation of the ground reinforcement injection pipe at the same time as the injection operation of the ground reinforcement injection pipe; (b) In order to prevent the pressure loss of the impression material in the ground immediately below the foundation plate, oblique piercing is performed in the oblique direction toward the neighboring bulb-like reaction force pile along the periphery of the foundation plate, Forming a filler curtain wall through the injection tube; (c) Repeating the operation of injecting the reaction force injection tube up to the load reaction force point on the upper side of the bulb-shaped reaction force pile, and then spraying and hardening the pulling injection material in the reaction force injection pipe, And lifting the structure by the stand,
The plurality of load reaction force points are formed spaced apart by an effective pressure distance of the base plate exceeding the diameter of the bulb-like reaction force pile, and the impression filler curtain wall has a depth exceeding an effective pressure distance.
또한, 상기 커튼벽 주입관을 지반보강 주입재 주입관과 배관으로 접속시켜 인상용 주입재 커튼벽을 구근형 반력말뚝과 동시에 형성하는 것을 특징으로 한다.Further, the curtain wall injection pipe is connected to the ground reinforcement injection material injection pipe through a pipe to form a curtain wall of the impression material at the same time as the bulb type reaction force pile.
또한, 상기 (b)단계에서, 인상용 주입재 커튼벽은 기초판와 구근형 반력말뚝에 접하도록 시공되는 것을 특징으로 한다.Further, in the step (b), the pulling-in material curtain wall is constructed so as to abut the foundation plate and the bulb-shaped reaction force pile.
또한, 상기 (c)단계에서, 1차 천공홀에 막음재를 설치하되, 상기 막음재는 1차 천공홀에 굽힘되어 삽입될 수 있도록 원주방향으로 다수의 탄성절곡부를 갖고 1차 천공홀의 밑면에 위치하는 원형 강판, 원형 강판의 상면에 설치된 막음재 헤드, 막음재 헤드와 원형 강판을 삽통하여 위치되는 반력대 주입관이 포함되어 이루어진 것을 특징으로 한다.In addition, in the step (c), a stopper is provided in the first perforation hole, and the perforated material has a plurality of elastic bends in the circumferential direction so as to be bent and inserted into the first perforation hole, And a reaction force pouring tube which is inserted into the circular steel plate through the blocking material head and the circular steel plate.
삭제delete
본 발명에 따른 구근형 반력말뚝을 활용한 지반 보강 및 침하 구조물의 복원 방법은, 저유동성 시멘트 몰탈의 주입과 지반보강 주입재 주입관의 인발을 반복하여 깊은 연약지반에서의 지반보강을 실현할 수 있다. 또한, 기초판의 주변에서 사선방향으로 이루어진 커튼벽에 의해 인상용 주입재의 손실이 방지됨으로써 상향압력의 저하없이 정밀한 제어로 침하 구조물의 인상 복원을 실현할 수 있다.The method of restoring the ground reinforcement and the settlement structure using the bulb-type reaction force pile according to the present invention can realize the ground reinforcement in the deep soft soil by repeatedly injecting the low flow cement mortar and drawing the ground reinforcement injection pipe. In addition, loss of the pulling-in material is prevented by the curtain wall in the oblique direction in the periphery of the base plate, so that the pulling-up of the falling structure can be realized by precise control without lowering the upward pressure.
본 명세서에서 첨부되는 다음의 도면들은 본 발명의 바람직한 실시 예를 예시하는 것이며, 발명의 상세한 설명과 함께 본 발명의 기술사상을 더욱 이해시키는 역할을 하는 것이므로, 본 발명은 첨부한 도면에 기재된 사항에만 한정되어서 해석되어서는 아니 된다.
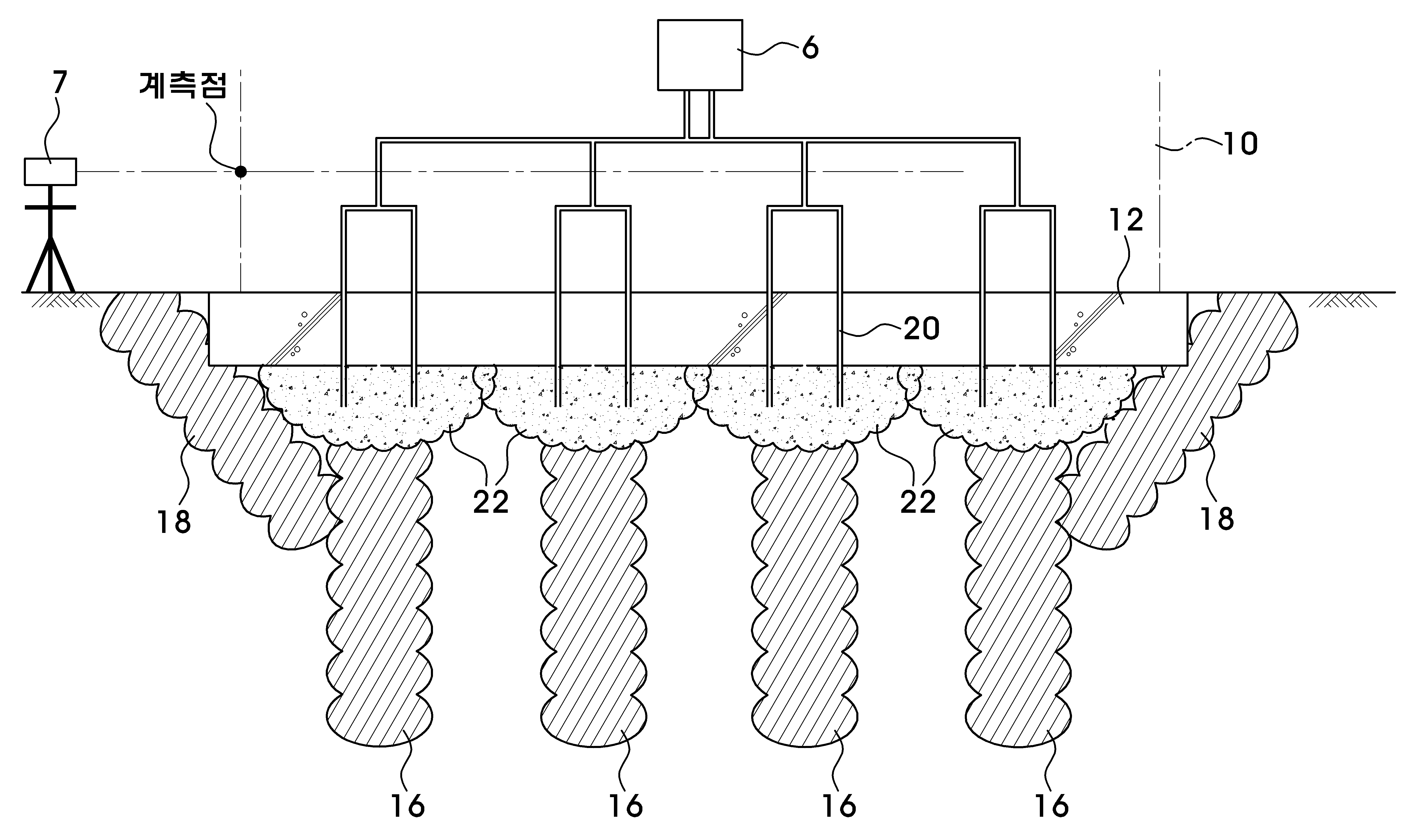
도 1은 본 발명에 따른 구근형 반력말뚝을 시공하기 위한 기초판의 천공 상태도.
도 2는 본 발명에 따른 구근형 반력말뚝을 활용한 지반 보강 및 침하 구조물의 복원 방법을 구현하기 위한 시스템의 구성도.
도 3은 본 발명에 따른 구근형 반력말뚝의 시공상태도.
도 4는 본 발명에 따른 하중반력대의 시공상태도.
도 5a 및 도 5b는 본 발명에 따른 하중반력대의 시공을 다양한 사시도로 나타낸 상태도.
도 6a는 본 발명에 적용되는 막음재의 사시도.
도 6b는 도 6a의 막음재를 통한 하중반력대의 형성 상태도.BRIEF DESCRIPTION OF THE DRAWINGS The accompanying drawings, which are incorporated in and constitute a part of the specification, illustrate exemplary embodiments of the invention and, together with the description, serve to explain the principles of the invention, Shall not be construed as limiting.
BRIEF DESCRIPTION OF THE DRAWINGS FIG. 1 is a perspective view of a foundation plate for constructing a bulb-type reaction force pile according to the present invention; FIG.
2 is a block diagram of a system for implementing a method of restoring a ground reinforcement and a settlement structure using a bulb-type reaction force pile according to the present invention.
3 is a view showing a construction state of a bulbous reaction force pile according to the present invention.
4 is a view showing a construction state of a load reaction force band according to the present invention.
5A and 5B are state diagrams showing various construction of a load reaction force band according to the present invention in various perspective views.
6A is a perspective view of a sound barrier applied to the present invention.
Fig. 6B is a state in which the load reaction force band is formed through the stop member of Fig. 6A. Fig.
아래에서 본 발명은 첨부된 도면에 제시된 실시 예를 참조하여 상세하게 설명이 되지만 제시된 실시 예는 본 발명의 명확한 이해를 위한 예시적인 것으로 본 발명은 이에 제한되지 않는다.DETAILED DESCRIPTION OF THE PREFERRED EMBODIMENTS The present invention will be described in detail below with reference to the embodiments shown in the accompanying drawings, but the present invention is not limited thereto.
우선, 지반 보강 및 침하 구조물의 복원 시스템의 구성을 설명한다.First, the configuration of the restoration system of the ground reinforcement and settlement structure will be described.
도 2와 같이 분말형 주입재(A)와 물 및 시멘트를 혼합시키는 시멘트 믹서(1), 2종류 이상의 액상 경화재(B)를 혼합시키는 약액믹서(2), 지반보강용 주입재(C)를 배합시키는 몰탈 믹서(3)가 구비된다. As shown in Fig. 2, a
이들 시멘트 믹서(1), 약액믹서(2) 및 몰탈 믹서(3)는 각기 배관을 통해 주입펌프(4)에 연결되어 있다. 주입펌프(4)에는 복원 지점별에 하중반력대(22)를 형성하기 위해 다점분배기(6)가 연결되어 있다. 주입펌프(4)와 다점분배기(6)를 제어하기 위해 중앙제어장치(5)가 구비된다. 여기서 지반보강용 주입재(C)는 구근형 반력말뚝(16)과 인상용 주입재 커튼벽(18)을 형성시키는 지반보강재로 사용되고, 분말형 주입재(A)와 액상 경화재(B)를 포함한 배합물은 하중반력대(22)를 형성시키는 인상용 주입재(A+B)로 사용된다.The
또한 침하된 침하구조물(10)의 부위별 침하량 및 복원량(인상량)을 확인하기 위해 한 대 이상의 계측기(7)가 구비되고, 각 계측기(7)에서 측정된 침하량 및 복원량은 중앙제어장치(5)로 입력된다. 침하구조물(10)의 부위별 침하량에 따라 중앙제어장치(5)에 주입관별 주입량, 주입시간, 주입순서를 입력하면 자동으로 주입펌프(4)와 다점분배기(6)를 제어하여 인상용 주입재 및 지반보강용 주입재의 주입이 개별적으로 제어된다. 주입작업이 진행되는 동안 계측기(7)를 통해 구조물 부위별 실시간 계측을 진행한다. 이때, 구조물 부위별 복원량이 일정 비율에 따라 증가하도록 주입량, 주입순서, 주입시간 등을 계속 변경하며 작업을 진행할 수 있다.In addition, at least one measuring
주입펌프(4)에 지반보강 주입재 주입관(14)과 커튼벽 주입관(14a)이 연결된다. 커튼벽 주입관(14a)은 지반보강 주입재 주입관(14)과 같은 배관을 통해 연결될 수도 있다. 따라서 주입펌프(4)에서 토출되는 지반보강용 주입재는 지반보강 주입재 주입관(14)을 거쳐 구근형 반력말뚝(16)을 형성하는데 사용된다. 또한 주입펌프(4)에 연결된 커튼벽 주입관(14a)은 인상용 주입재 커튼벽(18)을 형성하는데 사용된다.The ground
또한 다점분배기(6)를 통해 반력대 주입관(20)이 연결된다. 반력대 주입관(20)은 내관과 이 내관을 감싸는 외관으로 이루어져 있다. 따라서 반력대 주입관(20)은 내관을 통해 액상경화재가 주입되고 외관을 통해 분말형 주입재(A)가 주입된다. 반력대 주입관(20)의 배치는 구조물의 형태에 따라 다양하게 배치할 수 있다.And the reaction force to
이같은 지반 보강 및 침하 구조물의 복원 시스템을 적용한 구근형 반력말뚝을 활용한 지반 보강 및 침하 구조물의 복원 방법을 순차적으로 설명한다.The method of reconstructing the soil reinforcement and settlement structure using the bulb-type reaction force pile using the ground reinforcement and the restoration system of the subsidence structure will be explained sequentially.
먼저, 도 1에서와 같이 침하구조물(10)의 직하부에 지반강화가 요구되는 복원영역존(R)을 설정한다. 따라서 복원영역존(R)은 기초판(12)으로부터 유효압력거리(D)만큼 이격하여 형성된다. First, as shown in FIG. 1, a restoration zone zone R in which a ground reinforcement is required is set immediately below the
여기서 유효압력거리(D)란 도 3에 도시된 구근형 반력말뚝(16)의 직경을 초과하는 값을 의미한다.Here, the effective pressure distance D means a value exceeding the diameter of the bulb-type
그 다음, 기초판(12)의 계획된 위치마다 알려진 코어드릴 또는 소형 보링기를 이용하여 기초판(12)를 관통하여 지반에 일정 깊이까지 천공하여 1차 천공홀(12a)을 형성한다. 천공홀(12a)의 직경은 지반보강 주입재 주입관(14)과 동일하거나 이보다 클 수 있다.Next, a
그 다음, 복원영역존(R) 내에 다수개의 하중반력점(Q) 기능을 하는 구근형 반력말뚝(16)을 형성시킨다.Then, a plurality of bulb-shaped reaction force piles 16 functioning as load reaction force points (Q) are formed in the recovery zone zone R.
이를 위해 먼저 도 2와 같이 모든 1차 천공홀(12a)에 주입펌프(4)와 배관으로 연결되어 있는 각기 지반보강 주입재 주입관(14)을 삽입한다. 이후 도 3과 같이 지반보강용 주입재의 주입작업과 지반보강 주입재 주입관(14)의 인발작업을 단계적으로 반복 진행하면서 모든 구근형 반력말뚝(16)을 동시에 형성한다. 지반보강용 주입재의 주입 후 1회 인발높이는 예로 0.5~1m 내외로 할 수 있다.As shown in FIG. 2, each of the ground reinforcement
이때 지반보강용 주입재는 된 몰탈로서 주변지반을 압밀시키고 구근형 반력말뚝(16)을 직경 500~800mm의 원통형으로 형성시켜 상부 하중을 지지한다. 지반보강용 주입재의 주입은 일정한 양을 주입하는 정량주입 또는 주변 토사의 압력상승을 확인하는 정압주입 방식이 될 수 있다.At this time, the ground reinforcement injection material is a mortar, and the surrounding ground is consolidated and the bulb type
이때 기초판(12)의 하면으로부터 구근형 반력말뚝(16)의 직경을 초과하는 유효압력거리(D)를 확보하는 것이 바람직하다. 이는 후속 작업공정에서 하중반력대(22)를 형성시킬 시 누적되는 상향 압력에 충분하게 저항할 수 있도록 하기 위한 것이다.At this time, it is preferable to secure an effective pressure distance D exceeding the diameter of the bulb-shaped reaction force pile 16 from the lower surface of the
그 다음, 인상용 주입재의 손실(누출)을 방지하기 위해, 기초판(12)의 둘레로 이웃한 구근형 반력말뚝(16)을 향해 일정 각도(θ)에 의해 사선방향으로 지반(100)을 향해 경사천공(100a)을 실시한 후, 경사천공(100a)에 인입된 커튼벽 주입관(14a)을 통해 도 3과 같이 인상용 주입재 커튼벽(18)을 형성한다. Next, in order to prevent loss (leakage) of the impelling material, the
이는 침하 구조물(10)의 기초판(12) 둘레에 인상용 주입재 커튼벽(18)으로 복원영역존(R)을 형성시킴으로써, 침하구조물(10)의 인상 복원시 인상용 주입재(A+B)의 압력이 대상 연약지반의 지내력(일축압축강도) 보다 높게 발휘되도록 하기 위함이다.This can be achieved by forming the recovery zone R with the filling
따라서 점성토나 유기질토와 같은 깊은 연약지반의 경우에 지내력은 일축압축강도 12kg/㎠ 이하(N≤6)로 형성되더라도, 본원발명은 인상용 주입재 커튼벽(18)에 의해 인상용 주입재의 압력이 20~100kg/㎠로 확보될 수 있으며 인상용 주입재의 유실이 발생되지 않는 것이다.Therefore, even in the case of deep soft ground such as clayey soil or organic soil, even if the grounding force is formed to have a uniaxial compressive strength of 12 kg /
이 경우 지반보강용 주입재의 주입작업과 커튼벽 주입관(14a)의 인발작업을 단계적으로 반복 진행하면서 인상용 주입재 커튼벽(18)을 형성할 수 있다. 인상용 주입재 커튼벽(18)도 구근형 반력말뚝(16)과 마찬가지로 직경(φ) 500~800mm의 원통형으로 형성시킬 수 있다.In this case, the filling
인상용 주입재 커튼벽(18)은 그 깊이(d)가 유효압력거리(D)를 초과하도록 한다. 예로 인상용 주입재 커튼벽(18)의 각도(θ)를 예로 45도로 형성하는 경우 그 깊이(d)는 유효압력거리(D)의 1.4배 이상이 될 수 있다.The impression
인상용 주입재 커튼벽(18)은 인상용 주입재의 손실(누출)을 방지할 뿐만 아니라 지반(100)의 보강 기능도 수행한다. 인상용 주입재 커튼벽(18)은 구근형 반력말뚝(16)에 대응하여 설치되거나 상호 이웃한 것끼리 서로 연속적으로 접하여 시공될 수도 있다. 또한 인상용 주입재의 손실을 억제하기 위해 인상용 주입재 커튼벽(18)은 기초판(12)와 구근형 반력말뚝(16)에 접할 수 있도록 형성됨이 바람직하다.The pulling-in
본 실시예에서는 구근형 반력말뚝(16)을 선시공한 후 인상용 주입재 커튼벽(18)을 후시공하였으나, 본 공법은 커튼벽 주입관(14a)을 지반보강 주입재 주입관(14)과 배관을 통해 접속시켜 구근형 반력말뚝(16)과 인상용 주입재 커튼벽(18)을 동시에 형성할 수도 있다.In this embodiment, after pulling the bulb-type
그 다음, 후 공정에서의 인상용 주입재의 압력유실을 방지하기 위해, 모든 구근형 반력말뚝주입관(14) 및 커튼벽 주입관(14a)을 제거한 후, 기초판(12)측에 형성된 1차 천공홀(12a)을 고강도 무수축 몰탈로 봉합한다.Then, after all of the bulb type reaction force
그 다음, 1차 천공홀(12a)의 주변으로 구근형 반력말뚝(16)을 향하여 2차 천공한다. 천공 작업은 코어드릴 또는 해머드릴이 이용되고, 이에 의해 도 1과 같이 기초판(12)에 직경 18~40mm의 2차 천공홀(12b)이 형성된다. 이 경우 2차 천공홀(12b)은 1차 천공홀(12a)의 둘레로 2~4개소 형성될 수 있다.Then, the secondary puncture is made to the periphery of the
그 다음, 도 4와 같이 2차 천공홀(12b)에 반력대 주입관(20)을 구근형 반력말뚝(16)까지 근입시킨 후, 반력대 주입관(20)과 2차 천공홀(12b) 사이를 패커 또는 급결재로 씰링하는 단계를 갖는다.After the reaction force to the
그 다음, 인상용 주입재를 반력대 주입관(20)에서 분출 경화시키는 작업을 반복시켜 구근형 반력말뚝(16)의 상단에 형성되는 하중반력대(22)에 의해 구조물을 들어올리는 단계를 갖는다. 인상용 주입재는 액상경화재에 의해 1~3초만에 겔(gel) 상태로 경화된다. 기초판(12)의 하부에 주입된 인상용 주입재는 직경 1,800~2,000mm 범위로 확산되며, 먼저 주입된 재료가 경화되어 밀폐조건이 생성되고, 계속 주입되는 재료의 압력이 누적되어 상부구조물을 들어 올릴 수 있는 상향압력을 형성하여 하중반력대(22)를 이루게 된다.Thereafter, the step of injecting and hardening the impression material into the reaction
인상용 주입재의 1회 주입시간은 3~6초 이내이며, 1회 주입시마다 기초판 하부에 0.1~0.3mm 내외의 얇은 점막층이 형성되며, 점막층의 두께만큼 구조물이 인상된다.The injection time of the impression material is within 3 ~ 6 seconds, and a thin mucosal layer of 0.1 ~ 0.3mm is formed in the lower part of the foundation plate in each injection, and the structure is raised by the thickness of the mucosal layer.
여기서, 인상용 주입재의 주입작업이 진행되는 동안 계측기(7)를 통해 구조물의 부위별 실시간 계측이 진행되며, 부위별 복원량이 일정 비율에 따라 증가하도록 주입량, 주입순서, 주입시간 등을 계속 변경하며 작업이 진행된다. During the injection operation of the impression material, real-time measurement is performed for each part of the structure through the
한편, 본 방법에서 2차 천공홀(12b)을 형성시키지 않고, 도 6과 같이 1차 천공홀(12a)에 막음재(50)를 설치하여 인상용 주입재의 주입이 이루어지도록 할 수도 있다. 이 경우 도 6a와 같이 막음재(50)는 1차 천공홀(12a)에 굽힘되어 삽입될 수 있도록 절결선(51a)으로 절결되어 원주방향으로 다수의 탄성절곡부(51b)를 갖고 1차 천공홀(12a)의 밑면에 위치하는 원형 강판(51), 원형 강판(51)의 상면에 설치된 막음재 헤드(52), 막음재 헤드(52)와 원형 강판(51)을 삽통하여 위치되는 반력대 주입관(20)이 구비되어 구성된다. 이때, 막음재(50)는 1차 천공홀(12a)에 설치된 후 무수축몰탈(57)로 봉합될 수 있다.In the present method, the
이같이 본 발명에 따르면 지반보강주입재의 주입과 지반보강 주입재 주입관(14)의 인발을 반복하여 깊은 연약지반에서의 지반보강을 실현할 수 있다. 또한, 기초판의 주변에서 사선방향으로 이루어진 커튼벽(18)에 의해 인상용 주입재의 손실이 방지됨으로써 상향압력의 저하없이 정밀한 제어로 침하 구조물의 인상 복원을 실현할 수 있다.As described above, according to the present invention, ground reinforcement can be realized in a deep soft soil by repeating the injection of the ground reinforcement injection material and the drawing of the ground reinforcement injection
지금까지 본 발명은 제시된 실시 예를 참조하여 상세하게 설명이 되었지만 이 분야에서 통상의 지식을 가진 자는 제시된 실시 예를 참조하여 본 발명의 기술적 사상을 벗어나지 않는 범위에서 다양한 변형 및 수정 발명을 만들 수 있을 것이다. 본 발명은 이와 같은 변형 및 수정 발명에 의하여 제한되지 않으며 다만 아래에 첨부된 청구범위에 의하여 제한된다. While the present invention has been particularly shown and described with reference to exemplary embodiments thereof, it is evident that many alternatives, modifications and variations will be apparent to those skilled in the art in light of the above teachings. will be. The invention is not limited by these variations and modifications, but is limited only by the claims appended hereto.
14: 지반보강 주입재 주입관
16: 구근형 반력말뚝
18: 인상용 주입재 커튼벽
20: 반력대 주입관
50: 막음재14: Ground reinforcement injection material injection pipe
16: bulb-shaped reaction force pile
18: Impression filling material curtain wall
20: reaction force vs. injection tube
50: Blocking material
Claims (5)
(b) 기초판(12)의 직하부에 지반 내에서 인상용 주입재의 압력 손실을 방지하고자 기초판(12)의 둘레를 따라 이웃한 구근형 반력말뚝(16)을 향해 사선방향으로 경사천공(5a)을 실시한 후 경사천공(5a)에 인입된 커튼벽 주입관(14a)을 통해 인상용 주입재 커튼벽(18)을 형성하는 단계와;
(c) 반력대 주입관(20)을 구근형 반력말뚝(16) 상부측의 하중반력점(Q)까지 근입시킨 후, 인상용 주입재를 반력대 주입관(20)에서 분출 경화시키는 작업을 반복시켜 구근형 반력말뚝(16)의 상단에 형성되는 하중반력대(22)에 의해 구조물을 들어올리는 단계;를 포함하고,
다수개의 하중반력점(Q)은 구근형 반력말뚝(16)의 직경을 초과하는 기초판(12)의 유효압력거리(D) 만큼 이격하여 형성되고, 인상용 주입재 커튼벽(18)은 그 깊이(d)가 유효압력거리(D)를 초과하는 것을 특징으로 하는 구근형 반력말뚝을 활용한 지반 보강 및 침하 구조물의 복원 방법.(a) a restoration zone zone R in which a ground reinforcement is required immediately below the settlement structure 10 is set, and each load reaction force point Q is set at a predetermined position of the target by a core drill or a small boring machine The ground reinforcement filler injection pipe 14 is inserted into all the primary perforation holes 12a through the plate 12 to a predetermined depth in the ground and the injection work of the ground reinforcement filler material C Forming a bulb-shaped reaction force pile (16) functioning as a plurality of load reaction force points (Q) in the recovery zone zone (R) while repeating the drawing operation of the ground reinforcement injection pipe (14) step by step;
(b) In order to prevent the pressure loss of the impelling injection material in the ground immediately below the foundation plate 12, it is preferable to make sloped piercing in the oblique direction toward the bulb-shaped reaction force pile 16 adjacent to the periphery of the foundation plate 12 5a) and then forming a pulling-in material curtain wall (18) through a curtain wall inlet tube (14a) drawn into the inclined perforations (5a);
(c) Repeating the operation of injecting the reaction force injection pipe 20 up to the load reaction force point Q on the upper side of the bulb type reaction force pile 16 and then injecting and hardening the injection injection material in the reaction force injection pipe 20 , And lifting the structure by a load reaction force band (22) formed at the upper end of the bulb type reaction force pile (16)
A plurality of load reaction force points Q are formed spaced apart by an effective pressure distance D of the base plate 12 exceeding the diameter of the bulb type reaction force pile 16 and the impression filler curtain wall 18 is formed at a depth (d) is greater than the effective pressure distance (D). A method of restoring a ground reinforcement and subsidence structure using a bulbous reaction force pile.
상기 커튼벽 주입관(14a)을 지반보강 주입재 주입관(14)과 배관으로 접속시켜 인상용 주입재 커튼벽(18)을 구근형 반력말뚝(16)과 동시에 형성하는 것을 특징으로 하는 구근형 반력말뚝을 활용한 지반 보강 및 침하 구조물의 복원 방법.The method according to claim 1,
Characterized in that the curtain wall injection pipe (14a) is connected to the ground reinforcement injection material injection pipe (14) by piping so that the pulling injection material curtain wall (18) is formed simultaneously with the bulb type reaction force pile (16) A Method of Reinforcing Soil and Subsidence Structure by Utilizing.
상기 (b)단계에서,
인상용 주입재 커튼벽(18)은 기초판(12)과 구근형 반력말뚝(16)에 접하도록 시공되는 것을 특징으로 하는 구근형 반력말뚝을 활용한 지반 보강 및 침하 구조물의 복원 방법.The method according to claim 1,
In the step (b)
Wherein the pulling filler curtain wall (18) is constructed so as to contact the foundation plate (12) and the bulb type reaction force pile (16).
상기 (c)단계에서,
1차 천공홀(12a)에 막음재(50)를 설치하되,
상기 막음재(50)는 1차 천공홀(12a)에 굽힘되어 삽입될 수 있도록 원주방향으로 다수의 탄성절곡부(51b)를 갖고 1차 천공홀(12a)의 밑면에 위치하는 원형 강판(51), 원형 강판(51)의 상면에 설치된 막음재 헤드(52), 막음재 헤드(52)와 원형 강판(51)을 삽통하여 위치되는 반력대 주입관(20)이 포함되어 이루어진 것을 특징으로 하는 구근형 반력말뚝을 활용한 지반 보강 및 침하 구조물의 복원 방법.The method according to claim 1,
In the step (c)
The perforated material (50) is installed in the primary perforation hole (12a)
The percutaneous material 50 has a plurality of elastic bent portions 51b in the circumferential direction so as to be bent and inserted into the primary perforation hole 12a and a circular steel plate 51 , A blocking member head 52 provided on the upper surface of the circular steel plate 51 and a reaction force pouring tube 20 positioned by inserting the circular steel plate 51 into the blocking member head 52. [ Reinforcement method of soil reinforcement and settlement structure using bulb - type reaction force pile.
Priority Applications (1)
| Application Number | Priority Date | Filing Date | Title |
|---|---|---|---|
| KR1020170000902A KR101803336B1 (en) | 2017-01-03 | 2017-01-03 | Restoration method of ground improvement and subsidence structure using bulb type reaction pile |
Applications Claiming Priority (1)
| Application Number | Priority Date | Filing Date | Title |
|---|---|---|---|
| KR1020170000902A KR101803336B1 (en) | 2017-01-03 | 2017-01-03 | Restoration method of ground improvement and subsidence structure using bulb type reaction pile |
Publications (1)
| Publication Number | Publication Date |
|---|---|
| KR101803336B1 true KR101803336B1 (en) | 2017-12-06 |
Family
ID=60922117
Family Applications (1)
| Application Number | Title | Priority Date | Filing Date |
|---|---|---|---|
| KR1020170000902A Active KR101803336B1 (en) | 2017-01-03 | 2017-01-03 | Restoration method of ground improvement and subsidence structure using bulb type reaction pile |
Country Status (1)
| Country | Link |
|---|---|
| KR (1) | KR101803336B1 (en) |
Cited By (10)
| Publication number | Priority date | Publication date | Assignee | Title |
|---|---|---|---|---|
| CN108867724A (en) * | 2018-09-20 | 2018-11-23 | 中铁西北科学研究院有限公司 | A kind of inclination correction method based on well shape tunnel boring extracting soil |
| KR20210136322A (en) * | 2020-05-07 | 2021-11-17 | 한미지오텍건설 주식회사 | Ground subsidence prevention and restoration method for structures with deep soft layers |
| KR20220043516A (en) * | 2020-09-29 | 2022-04-05 | 반석기초이앤씨(주) | Reinforcing foundation method using Expandable composition |
| US20220145576A1 (en) * | 2019-08-09 | 2022-05-12 | Beijing Hengxiang Hongye Foundation Reinforcement Technology Co., Ltd. | Precise lifting method and lifting and reinforcing structure for plant equipment foundation |
| US20220145575A1 (en) * | 2019-08-09 | 2022-05-12 | Beijing Hengxiang Hongye Foundation Reinforcement Technology Co., Ltd. | High-rise building settling reinforcing and lifting correcting construction method |
| WO2023155851A1 (en) * | 2022-02-16 | 2023-08-24 | 北京恒祥宏业基础加固技术有限公司 | Engineering method for settlement reinforcement and lifting of residential building foundation |
| CN116695802A (en) * | 2023-06-20 | 2023-09-05 | 北京恒祥宏业基础加固技术有限公司 | Building reinforcing and lifting method on collapsible loess foundation |
| CN117248760A (en) * | 2023-10-30 | 2023-12-19 | 北京恒祥宏业基础加固技术有限公司 | A method for settlement and lifting of buildings above existing tunnels |
| KR102705747B1 (en) * | 2024-01-08 | 2024-09-11 | 주식회사 지승유지스 | Subsiding ground reinforcement method that allows ground reinforcement and raising of subsiding structures |
| KR102894702B1 (en) * | 2025-06-24 | 2025-12-08 | 주식회사 리콘 | Simultaneous drilling apparatus for plurality of grout hole and simultaneous pressurization grouting method using the same |
Citations (1)
| Publication number | Priority date | Publication date | Assignee | Title |
|---|---|---|---|---|
| KR100475443B1 (en) * | 2004-03-22 | 2005-03-14 | 주식회사 지승구조건설 | Reinforcement method for construction of underground |
-
2017
- 2017-01-03 KR KR1020170000902A patent/KR101803336B1/en active Active
Patent Citations (1)
| Publication number | Priority date | Publication date | Assignee | Title |
|---|---|---|---|---|
| KR100475443B1 (en) * | 2004-03-22 | 2005-03-14 | 주식회사 지승구조건설 | Reinforcement method for construction of underground |
Cited By (15)
| Publication number | Priority date | Publication date | Assignee | Title |
|---|---|---|---|---|
| CN108867724A (en) * | 2018-09-20 | 2018-11-23 | 中铁西北科学研究院有限公司 | A kind of inclination correction method based on well shape tunnel boring extracting soil |
| US11732434B2 (en) * | 2019-08-09 | 2023-08-22 | Beijing Hengxiang Hongye Foundation Reinforcement Technology Co., Ltd. | High-rise building settling reinforcing and lifting correcting construction method |
| US11746496B2 (en) * | 2019-08-09 | 2023-09-05 | Beijing Hengxiang Hongye Foundation Reinforcement Technology Co., Ltd. | Precise lifting method and lifting and reinforcing structure for plant equipment foundation |
| US20220145576A1 (en) * | 2019-08-09 | 2022-05-12 | Beijing Hengxiang Hongye Foundation Reinforcement Technology Co., Ltd. | Precise lifting method and lifting and reinforcing structure for plant equipment foundation |
| US20220145575A1 (en) * | 2019-08-09 | 2022-05-12 | Beijing Hengxiang Hongye Foundation Reinforcement Technology Co., Ltd. | High-rise building settling reinforcing and lifting correcting construction method |
| KR20210136322A (en) * | 2020-05-07 | 2021-11-17 | 한미지오텍건설 주식회사 | Ground subsidence prevention and restoration method for structures with deep soft layers |
| KR102350067B1 (en) * | 2020-05-07 | 2022-01-11 | 한미지오텍건설 주식회사 | Ground subsidence prevention and restoration method for structures with deep soft layers |
| KR102433267B1 (en) * | 2020-09-29 | 2022-08-18 | 반석기초이앤씨(주) | Reinforcing foundation method using Expandable composition |
| KR20220043516A (en) * | 2020-09-29 | 2022-04-05 | 반석기초이앤씨(주) | Reinforcing foundation method using Expandable composition |
| WO2023155851A1 (en) * | 2022-02-16 | 2023-08-24 | 北京恒祥宏业基础加固技术有限公司 | Engineering method for settlement reinforcement and lifting of residential building foundation |
| GB2631036A (en) * | 2022-02-16 | 2024-12-18 | Beijing Hengxiang Hongye Foundation Reinforcement Tech Co Ltd | Engineering method for settlement reinforcement and lifting of residential building foundation |
| CN116695802A (en) * | 2023-06-20 | 2023-09-05 | 北京恒祥宏业基础加固技术有限公司 | Building reinforcing and lifting method on collapsible loess foundation |
| CN117248760A (en) * | 2023-10-30 | 2023-12-19 | 北京恒祥宏业基础加固技术有限公司 | A method for settlement and lifting of buildings above existing tunnels |
| KR102705747B1 (en) * | 2024-01-08 | 2024-09-11 | 주식회사 지승유지스 | Subsiding ground reinforcement method that allows ground reinforcement and raising of subsiding structures |
| KR102894702B1 (en) * | 2025-06-24 | 2025-12-08 | 주식회사 리콘 | Simultaneous drilling apparatus for plurality of grout hole and simultaneous pressurization grouting method using the same |
Similar Documents
| Publication | Publication Date | Title |
|---|---|---|
| KR101803336B1 (en) | Restoration method of ground improvement and subsidence structure using bulb type reaction pile | |
| KR101011322B1 (en) | Hollow open pile for embedded pile with end reinforcement having penetration pipe | |
| KR101378814B1 (en) | Microfile construction method using the jet grouting | |
| US12291830B2 (en) | System and method for mitigation of liquefaction | |
| KR101544139B1 (en) | Micropile fixed in the soil by Pressure Injection Grouting and Construction Method thereof | |
| EP3037586A1 (en) | Process for consolidation of soils and/or building structures in contact with them, and related device | |
| KR101746654B1 (en) | Method for constructing pile for reinforce of mine hole | |
| RU2238366C1 (en) | Method of injection pile building | |
| JP2025156530A (en) | Construction method of embedded object | |
| KR102156277B1 (en) | Basic file construction method of soft ground and thereof foundation file device | |
| JP6225458B2 (en) | Retaining wall and its construction method | |
| KR101843379B1 (en) | Apparatus and method for reinforcing soft ground | |
| KR100475443B1 (en) | Reinforcement method for construction of underground | |
| KR102700824B1 (en) | CIP-wall grouting device and construction method cut-off wall using the same | |
| US20120163923A1 (en) | Structure supporting system | |
| RU2550620C1 (en) | Method for construction of injection pile | |
| US11613864B2 (en) | Secant concrete shoring using helical piles for depth | |
| KR102237544B1 (en) | A boring casing for boring hole construction of a peristyle type column structure and cut water off method using the same | |
| KR102123570B1 (en) | Multi-stage expansion type ground reinforcement and ground reinforcement construction method | |
| KR20180062669A (en) | Micropile and micropile molding method for earthquake-proof and strengthening ground | |
| KR101341921B1 (en) | grouting apparatus and method | |
| JP4080421B2 (en) | How to adjust the height of the structure | |
| KR0155195B1 (en) | Compact grouting method by cement mortar injection | |
| RU2263745C1 (en) | Method for injection pile building (variants) | |
| KR101512031B1 (en) | Method for reinforcing ground using grouting |
Legal Events
| Date | Code | Title | Description |
|---|---|---|---|
| PA0109 | Patent application |
St.27 status event code: A-0-1-A10-A12-nap-PA0109 |
|
| PA0201 | Request for examination |
St.27 status event code: A-1-2-D10-D11-exm-PA0201 |
|
| PA0302 | Request for accelerated examination |
St.27 status event code: A-1-2-D10-D17-exm-PA0302 St.27 status event code: A-1-2-D10-D16-exm-PA0302 |
|
| P11-X000 | Amendment of application requested |
St.27 status event code: A-2-2-P10-P11-nap-X000 |
|
| P13-X000 | Application amended |
St.27 status event code: A-2-2-P10-P13-nap-X000 |
|
| D13-X000 | Search requested |
St.27 status event code: A-1-2-D10-D13-srh-X000 |
|
| D14-X000 | Search report completed |
St.27 status event code: A-1-2-D10-D14-srh-X000 |
|
| PE0902 | Notice of grounds for rejection |
St.27 status event code: A-1-2-D10-D21-exm-PE0902 |
|
| E13-X000 | Pre-grant limitation requested |
St.27 status event code: A-2-3-E10-E13-lim-X000 |
|
| P11-X000 | Amendment of application requested |
St.27 status event code: A-2-2-P10-P11-nap-X000 |
|
| P13-X000 | Application amended |
St.27 status event code: A-2-2-P10-P13-nap-X000 |
|
| PE0701 | Decision of registration |
St.27 status event code: A-1-2-D10-D22-exm-PE0701 |
|
| GRNT | Written decision to grant | ||
| PR0701 | Registration of establishment |
St.27 status event code: A-2-4-F10-F11-exm-PR0701 |
|
| PR1002 | Payment of registration fee |
St.27 status event code: A-2-2-U10-U11-oth-PR1002 Fee payment year number: 1 |
|
| PG1601 | Publication of registration |
St.27 status event code: A-4-4-Q10-Q13-nap-PG1601 |
|
| PR1001 | Payment of annual fee |
St.27 status event code: A-4-4-U10-U11-oth-PR1001 Fee payment year number: 4 |
|
| PR1001 | Payment of annual fee |
St.27 status event code: A-4-4-U10-U11-oth-PR1001 Fee payment year number: 5 |
|
| PR1001 | Payment of annual fee |
St.27 status event code: A-4-4-U10-U11-oth-PR1001 Fee payment year number: 6 |
|
| PR1001 | Payment of annual fee |
St.27 status event code: A-4-4-U10-U11-oth-PR1001 Fee payment year number: 7 |
|
| PR1001 | Payment of annual fee |
St.27 status event code: A-4-4-U10-U11-oth-PR1001 Fee payment year number: 8 |
|
| PR1001 | Payment of annual fee |
St.27 status event code: A-4-4-U10-U11-oth-PR1001 Fee payment year number: 9 |
|
| U11 | Full renewal or maintenance fee paid |
Free format text: ST27 STATUS EVENT CODE: A-4-4-U10-U11-OTH-PR1001 (AS PROVIDED BY THE NATIONAL OFFICE) Year of fee payment: 9 |
