KR101538516B1 - A box girder using steel and foam concrete insertion, and method for construction bridge using the same - Google Patents
A box girder using steel and foam concrete insertion, and method for construction bridge using the same Download PDFInfo
- Publication number
- KR101538516B1 KR101538516B1 KR1020140129548A KR20140129548A KR101538516B1 KR 101538516 B1 KR101538516 B1 KR 101538516B1 KR 1020140129548 A KR1020140129548 A KR 1020140129548A KR 20140129548 A KR20140129548 A KR 20140129548A KR 101538516 B1 KR101538516 B1 KR 101538516B1
- Authority
- KR
- South Korea
- Prior art keywords
- girder
- section
- concrete
- embedding material
- soft foam
- Prior art date
- Legal status (The legal status is an assumption and is not a legal conclusion. Google has not performed a legal analysis and makes no representation as to the accuracy of the status listed.)
- Active
Links
Images
Classifications
-
- E—FIXED CONSTRUCTIONS
- E01—CONSTRUCTION OF ROADS, RAILWAYS, OR BRIDGES
- E01D—CONSTRUCTION OF BRIDGES, ELEVATED ROADWAYS OR VIADUCTS; ASSEMBLY OF BRIDGES
- E01D2/00—Bridges characterised by the cross-section of their bearing spanning structure
- E01D2/04—Bridges characterised by the cross-section of their bearing spanning structure of the box-girder type
-
- E—FIXED CONSTRUCTIONS
- E01—CONSTRUCTION OF ROADS, RAILWAYS, OR BRIDGES
- E01D—CONSTRUCTION OF BRIDGES, ELEVATED ROADWAYS OR VIADUCTS; ASSEMBLY OF BRIDGES
- E01D21/00—Methods or apparatus specially adapted for erecting or assembling bridges
-
- E—FIXED CONSTRUCTIONS
- E01—CONSTRUCTION OF ROADS, RAILWAYS, OR BRIDGES
- E01D—CONSTRUCTION OF BRIDGES, ELEVATED ROADWAYS OR VIADUCTS; ASSEMBLY OF BRIDGES
- E01D2101/00—Material constitution of bridges
- E01D2101/20—Concrete, stone or stone-like material
- E01D2101/24—Concrete
- E01D2101/26—Concrete reinforced
- E01D2101/28—Concrete reinforced prestressed
- E01D2101/285—Composite prestressed concrete-metal
Landscapes
- Engineering & Computer Science (AREA)
- Architecture (AREA)
- Civil Engineering (AREA)
- Structural Engineering (AREA)
- Bridges Or Land Bridges (AREA)
Abstract
본 발명은 강재와 수성연질폼 매입재를 이용한 박스단면 합성거더 및 이를 포함하는 교량 구조물 시공 방법에 관한 것으로, 거더의 자중을 경감하면서도 외형을 전체적으로 동일한 박스 단면으로 유지하여 자중에 따른 변형을 극소화하고 구조적 안전성을 확보하고, 벽체부와 거더의 모서리부에서 헌치부를 제거하면서도 우각부의 충분한 강도 보강을 통해 사공간을 없앰으로써 형하여유고를 여유 있게 확보하며 또한 거더와 벽체를 용접이나 볼트로 고정하기 전에 견고하게 가조립하여 조립성을 향상함을 목적으로 한다.
본 발명에 의한 강재와 수성연질폼 매입재를 이용한 박스단면 합성거더는, 매입재 수용부가 구비된 장방형 구조이며 강재를 재질로 하는 거더 빔(11)과; 콘크리트보다 중량이 가벼운 비콘크리트 재질의 입체형이며 상기 거더 빔의 매입재 수용부에 수용되는 수성연질폼 매입재(13)와; 상기 거더 빔과 수성연질폼 매입재의 둘레부에 박스형태의 외관으로 콘크리트 타설되어 이루어지는 콘크리트부(12)와; 상기 콘크리트부의 내부에 상호 간에 높이차를 두고 중앙부가 길이방향의 양측보다 낮게 배선되면서 좌우 대칭으로 설치되는 상하측 긴장재를 포함하며, 길이방향의 양측이 교량 구조물의 하부 구조물 상부에 연결됨으로써 라멘 교량으로 시공되며, 상기 거더 빔은 길이방향의 양측 단면이 상하 수평부(11a,11b) 및 수직부(11c)에 의한 "I" 형이면서 중앙부의 단면이 상부 수평부가 없는 "ㅗ" 형인 변단면으로 이루어져 상기 매입재 수용부는 상기 "ㅗ" 단면의 중앙부에만 형성되어 상기 수성연질폼 매입재가 중앙부에만 설치되도록 하는 한편 길이방향 양측에는 상기 하부 구조물에 반원형 돌기로 형성되는 힌지 연결부(32)에 끼움 결합되는 반원형 홈의 힌지 연결부(17)가 형성되어, 상기 힌지 연결부가 서로 결합됨과 아울러 상기 하부 수평부가 상기 하부 구조물의 상부에 돌출 형성된 지지빔(31)의 상면에 상기 지지빔(31)보다 큰 단면적이면서 하부에 스터드판(34)이 형성된 고정판(33)에 고정되어 시공되고, 상기 콘크리트부는 상기 상기 수성연질폼 매입재가 상기 거더 빔 또는 상기 거더 빔 주위에 배근되는 철근에 고정된 후 타설되어 이루어지되, 상기 수성연질폼 매입재를 노출하지 않으면서 상기 거더 빔의 힌지 연결부가 돌출되도록 하고, 상기 상부측 긴장재는 상기 거더 빔의 하부 수평부의 상부쪽에 배선되는 한편 상기 하부측 긴장재는 상기 거더 빔의 하부 수평부의 아래쪽에 배선된다.
본 발명에 의한 강재와 수성연질폼 매입재를 이용한 박스단면 합성거더를 포함하는 교량 구조물 시공 방법은, 상호 간에 일정 거리를 두고 기초부와 벽체부로 이루어진 하부 구조물을 시공하되, 상기 벽체부의 상부에 지지빔(31)이 돌출되도록 시공하는 제1단계와; 상기 제1단계를 통해 시공된 하부 구조물들 사이에 강재와 수성연질폼 매입재를 이용한 박스단면 합성거더(10)를 시공하되, 상기 강재와 수성연질폼 매입재를 이용한 박스단면 합성거더에 구성된 거더 빔(11)의 연결부(17)기 벽체부의 지지빔(31)에 가조립하여 시공하는 제2단계와; 상기 제2단계 이 후 우각부와 슬래브의 상부 구조물을 시공하는 제3단계를 포함하고, 상기 제2단계는, 상기 강재와 수성연질폼 매입재를 이용한 박스단면 합성거더의 거더 빔(11)에 반원형의 홈으로 형성된 힌지 연결부(17)를 상기 벽체부의 지지빔에 반원형 돌기로 형성된 힌지 연결부(32)에 끼움 결합하고, 상기 지지빔(31)의 상면에 상기 지지빔(31)보다 큰 단면적이면서 하부에 스터드판(34)이 형성된 고정판(33)을 고정하여 상기 고정판(33)을 상기 거더(10)의 하측 수평부(11b)에 결합하여 시공하는 것을 포함한다.The present invention relates to a composite girder having a box section using a steel material and an aqueous soft foam embedding material and a method of constructing a bridge structure including the girder and the girder while reducing the weight of the girder, By securing the structural safety and eliminating the whip from the corner of the wall and the girder, it is possible to secure sufficient space by removing the dead space by reinforcing the strength of the right side of the ridge, and fixing the girder and the wall with bolts So that they can assemble firmly beforehand to improve the assemblability.
The composite girder of a box section using a steel material and an aqueous soft foam embedding material according to the present invention comprises a girder beam 11 made of a steel material and having a rectangular structure with an embedded material receiving portion; An aqueous soft foam embedding material 13 which is three-dimensional in shape of a non-concrete material which is lighter in weight than concrete and is accommodated in the embedding material receiving portion of the girder beam; A concrete part 12 formed by placing a concrete in the form of a box on the periphery of the girder beam and the aqueous soft foam embedding material; The upper and lower torsion beams are arranged symmetrically with the central part of the concrete part being lower than the longitudinal sides of the concrete part with a height difference therebetween. Both longitudinal sides are connected to the upper part of the lower structure of the bridge structure, And the girder beam is composed of both side sections in the longitudinal direction of a cross section having an "I" shape by the upper and lower horizontal sections 11a, 11b and the vertical section 11c and a " The embedding material receiving portion is formed only in a central portion of the cross section of the " ㅗ ", so that the aqueous soft foam embedding material is installed only in the central portion, and semicircular The hinge connection portion 17 of the groove is formed so that the hinge connection portions are coupled to each other, The concrete part is fixed on the upper surface of the support beam 31 protruding from the upper part of the water and is fixed to the fixed plate 33 having a larger cross sectional area than the support beam 31 and the stud plate 34 at the lower part, Wherein the hinge connection part of the girder beam is projected without exposing the water soft flexible foam material after the embedding material is fixed to the girder beam or a reinforcing bar disposed around the girder beam, The lower side tensional material is wired to the lower side of the lower horizontal portion of the girder beam while the lower side tensional material is wired below the lower horizontal portion of the girder beam.
A method of constructing a bridge structure including a composite girder having a box section using a steel material and an aqueous soft foam embedding material according to the present invention is characterized in that a lower structure including a foundation part and a wall part is constructed at a distance from each other, A first step of constructing so as to protrude the beam 31; A composite section girder 10 having a box section is manufactured by using a steel material and an aqueous soft foam filler material between the lower structures constructed through the first step, A second step of assembling the beam 11 to the support beam 31 of the wall portion of the connecting portion 17 of the beam 11; And the second step includes a third step of constructing the upper structure of the rear corner and the slab, and the second step is a step of constructing the girder beam 11 of the box section synthetic girder using the steel material and the aqueous soft foam embedding material A hinge connection part 17 formed by a semicircular groove is fitted into a hinge connection part 32 formed by a semicircular projection on the support beam of the wall part and a hinge connection part 32 having a cross sectional area larger than that of the support beam 31 is formed on the upper surface of the support beam 31 And fixing the fixing plate 33 on which the stud plate 34 is formed at the lower part to connect the fixing plate 33 to the lower horizontal part 11b of the girder 10 to construct.
Description
본 발명은 합성형 거더교량 및 라멘교 시공방법에 관한 것으로, 더욱 상세하게는 거더 내부에 수성연질폼을 매입재로 삽입하여 슬래브의 자중을 경량화하면서도 외형을 박스 형태로 유지할 수 있는 강재와 수성연질폼 매입재를 이용한 박스단면 합성거더 및 이를 포함하는 교량 구조물 시공 방법에 관한 것이다.
More particularly, the present invention relates to a composite girder bridge and a ramen bridge construction method. More particularly, the present invention relates to a composite girder bridge and a ramen bridge construction method. More particularly, the present invention relates to a composite girder bridge and a ramen bridge construction method, To a box section synthetic girder using a foam filling material and a method of constructing a bridge structure including the same.
교량은 하천 및 도로를 횡단하도록 시공되는 것으로 교각 위에 거더와 슬래브가 시공되는 거더 교량, 벽체와 슬래브가 일체로 연결되는 라멘교 등이 있다.Bridges are constructed to cross rivers and roads, such as girder bridges where girders and slabs are installed on bridge piers, and ramen bridge where walls and slabs are integrally connected.
도 1은 종래 라멘교의 일 예를 도시한 것으로, 라멘교(1)는 지면에 지지되는 기초부(2), 기초부(2) 위에 세워지는 벽체부(3), 벽체부(3) 위에 시공되는 슬래브(4)로 구성된다.Fig. 1 shows an example of a conventional ramen bridge. The
기초부(2)와 벽체부(3) 및 슬래브(4)는 예를 들어, 거푸집을 이용 철근콘크리트 구조물로 제작된다.The
라멘교(1)는 슬래브(4)의 자중과 여기에 작용하는 하중을 지지하며 전달받은 하중을 벽체(2)에 전달하는 거더가 함께 적용되기도 한다.The
상기 거더(5)는 철근콘크리트 또는 프리스트레스트 콘크리트 구조가 오랜 기간 사용되어 왔다.The
도 2는 거더(5)와 벽체(3)의 연결구조를 보인 예시도로서, 거더(5)는 I형 빔(5a), 빔(5a)의 둘레부에 빔(5a)의 단부가 노출되도록 부분적으로만 타설되는 콘크리트부(5b)로 이루어지며, 거더(5)의 빔(5a)의 단부는 벽체(3)의 상부로 돌출된 지지 빔(3a)에 볼팅과 용접 등으로 고정된 후 콘크리트 타설을 통해 마감됨으로써 거더(5)와 벽체(3)가 연결 시공된다.2 is an illustration showing the connection structure between the
도 3에서 보이는 바와 같이, 거더(5)는 전체적으로 동일한 단면의 박스 형태이다.As shown in Fig. 3, the
최근 들어 대공간 구조물의 필요성이 대두되고 있으나 경간장이 커질수록 부재의 단면 또한 비대해지고 이로 인하여 재하되는 하중보다도 자중의 무게가 더 무거워져서 보강재의 절반이상이 자중의 붕괴를 방지하기 위하여 배근된다. Recently, the necessity of the large space structure has been emerged. However, as the span of the span increases, the section of the member also becomes thicker and the weight of the self weight becomes heavier than the load which is loaded, and more than half of the stiffener is laid to prevent collapse of the self weight.
자중을 줄이기 위한 방법으로는 변단면형 거더를 이용하는 방법이 있다.As a method for reducing the weight, there is a method using a cross-sectional girder.
도 4는 변단면 거더(5)의 부분별 단면을 보인 도면으로서, 벽체와 연결되며 큰 모멘트를 받는 부분은 박스 형태의 단면이고, 중앙부는 오목부를 갖는 I 형 단면이다.Fig. 4 is a cross-sectional view of the sectioned
이와 같은 변단면형 거더는 단면의 변화에 맞도록 거푸집을 설치하여야 하므로 작업이 매우 번거로운 문제점이 있다. 또한, 변단면에 의해 외형이 달라질 수 밖에 없고 특히나 거더의 크기가 작아짐에 따라 구조적 취약으로 느낄 수 있으므로 불안감을 조성하는 문제점도 있다.Such a cross-sectional girder has a problem that the work is very troublesome because the formwork must be installed to match the change of the cross-section. In addition, there is a problem that the outer shape is varied due to the cross section, and in particular, as the size of the girder becomes smaller, the structure may feel weak.
그리고, 라멘교(1)의 우각부에는 우각부의 보강을 위하여 헌치부(6)(도 1에 도시됨)가 형성된다. 그런데, 라멘교(1)의 설계시 홍수 등 만수위에서부터 슬래브(3)의 저면까지의 형하여유고를 일정 높이 이상으로 확보하도록 규정되어 있으며, 이때, 헌치부(6)가 슬래브(3)의 저부에 있기 때문에 헌치부(6)의 저부가 형하여유고의 기준이 될 수밖에 없으므로 헌치부(6)의 높이에 해당하는 사공간이 발생되며, 결과적으로 형하여유고의 확보를 위하여 더 많은 재료를 사용하고, 상대적으로 계획고 상승으로 인한 인접도로의 성토고가 상승되어 부대비용이 증가하는 문제점이 있다.In the right corners of the
또한, 거더(5)의 빔(5a)과 벽체(2)의 지지 빔(3a)을 용접 고정하기 전에 빔(5a,3a)간의 움직임을 막을 수 없는 구조이기 때문에 용접 불량이 발생하고, 볼트 고정시에도 볼트공을 일치하기 위한 작업이 오래 걸리는 한편 볼트공이 일치되지 못하는 불량이 발생되어 거더(5)의 설치 시간이 오래 걸리고 안전사고가 발생되는 문제점도 있다.
In addition, since the
본 발명은 전술한 바와 같은 문제점을 해결하기 위한 것으로, 거더의 자중을 경감하면서도 외형을 전체적으로 동일한 박스 단면으로 유지하여 자중에 따른 변형을 극소화하고 구조적 안전성을 확보할 수 있는 강재와 수성연질폼 매입재를 이용한 박스단면 합성거더 및 이를 포함하는 교량 구조물 시공 방법을 제공하려는데 그 목적이 있다.SUMMARY OF THE INVENTION The present invention has been made to solve the above-mentioned problems and it is an object of the present invention to provide a steel material and a water soft flexible foam material which can minimize the deformation due to its own weight and secure structural safety while reducing the weight of the girder, And a method of constructing a bridge structure including the composite girder.
그리고, 거더 단부와 중앙부의 단면력을 고려하여 적절한 강재를 보강하되 인장력이 받는 위치에 따라 단면을 다르게, 변단면으로 보강하여 경제적이면서 구조안전성을 확보하려는데 있다.Also, it is necessary to reinforce the appropriate steel considering the sectional strength of the girder end and the center part, but to reinforce the cross section differently according to the position where the tensile force is applied, thereby securing economical and structural safety.
또한, 본 발명의 다른 목적은 벽체와 슬래브를 연결하는 부분에서 헌치부를 제거하면서도 우각부의 충분한 강도 보강을 통해 사공간을 없앰으로써 형하여유고를 여유있게 확보하려는데 있다.Another object of the present invention is to secure a sufficient space by eliminating the dead space through a sufficient strength reinforcement of the right-angled portion while removing the hook portion from the portion connecting the wall and the slab.
본 발명의 또 다른 목적은 거더와 벽체를 용접이나 볼트로 고정하기 전에 견고하게 가조립하여 조립성을 향상하려는데 있다.
Another object of the present invention is to improve the assemblability by firmly assembling the girder and the wall before welding or bolting them.
본 발명에 의한 강재와 수성연질폼 매입재를 이용한 박스단면 합성거더는, 매입재 수용부가 구비된 장방형 구조이며 강재를 재질로 하는 거더 빔과; 콘크리트보다 중량이 가벼운 비콘크리트 재질의 입체형이며 상기 거더 빔의 매입재 수용부에 수용되는 수성연질폼 매입재와; 상기 거더 빔과 수성연질폼 매입재의 둘레부에 박스형태의 외관으로 콘크리트 타설되어 이루어지는 콘크리트부를 포함하며, 길이방향의 양측이 교량 구조물의 하부 구조물 상부에지지 내지 연결됨으로써 거더 교량과 라멘 교량의 거더로 시공되는 것을 특징으로 한다.The composite girder of a box section using a steel material and an aqueous soft foam embedding material according to the present invention is a girder beam having a rectangular shape with a filler receiving part and made of a steel material; A water soft flexible foam filler which is three-dimensional in shape of a non-concrete material that is lighter in weight than concrete and is accommodated in the filler receiving portion of the girder beam; The girder beam and the water soft flexible foam embedding material are provided with a concrete portion having a box-like outer appearance poured into the concrete. Both sides in the longitudinal direction are supported or connected to the upper portion of the lower structure of the bridge structure, And is constructed.
본 발명에 의한 강재와 수성연질폼 매입재를 이용한 박스단면 합성거더를 포함하는 교량 구조물 시공 방법은, 상호 간에 일정 거리를 두고 기초부와 벽체부로 이루어진 하부 구조물을 시공하되, 상기 벽체부의 상부에 지지빔이 돌출되도록 시공하는 제1단계와; 상기 제1단계를 통해 시공된 하부 구조물들 사이에 강재와 수성연질폼 매입재를 이용한 박스단면 합성거더를 시공하되, 상기 강재와 수성연질폼 매입재를 이용한 박스단면 합성거더에 구성된 거더 빔의 길이방향 양측에 콘크리트부로부터 돌출 형성되는 연결부를 상기 벽체부의 지지빔에 고 가조립하여 시공하는 제2단계와; 상기 제2단계 이 후 우각부와 슬래브의 상부 구조물을 시공하는 제3단계를 포함하여, 라멘 교량을 시공하는 것을 특징으로 한다.A method of constructing a bridge structure including a composite girder having a box section using a steel material and an aqueous soft foam embedding material according to the present invention is characterized in that a lower structure including a foundation part and a wall part is constructed at a distance from each other, A first step of constructing to project the beam; The composite girder of the box section using the steel material and the water soft flexible foam embedding material is constructed between the substructures constructed through the first step and the girder beam length formed in the box section synthetic girder using the steel material and the aqueous soft foam embedding material A second step of assembling a connection part protruding from a concrete part on both sides in a direction to a support beam of the wall part and assembling it; And the second step includes a third step of constructing the upper structure of the rear part and the slab, thereby constructing the ramen bridge.
본 발명에 의한 강재와 수성연질폼 매입재를 이용한 박스단면 합성거더를 포함하는 교량 구조물 시공 방법은, 상호 간에 일정 거리를 두고 기초부를 시공하는 제1단계와; 상기 제1단계를 통해 시공된 기초부 위에 각각 현장 타설 또는 프리캐스트 콘크리트블록의 조립을 통해 교대부를 시공하는 제2단계와; 상기 제2단계에서 시공된 교대부 위에 교량받침을 설치하고, 상기 교량 받침 위에 강재와 수성연질폼 매입재를 이용한 박스단면 합성거더의 길이방향 양측을 올려 시공하는 제3단계와; 상기 제3단계를 통해 시공된 거더 위에 슬래브를 시공하는 제4단계를 포함하여 거더 교량을 시공하는 것을 특징으로 한다.
A method of constructing a bridge structure including a composite girder having a box section using a steel material and an aqueous soft foam embedding material according to the present invention comprises a first step of constructing a foundation part at a certain distance from each other; A second step of constructing an alternate portion by assembling the pre-cast concrete blocks or placing a spot on the base portion constructed through the first step; A third step of installing a bridge support on the alternation part constructed in the second step and placing both sides of the composite endless box section using the steel material and the water soft flexible foam material on the bridge support in the longitudinal direction; And a fourth step of constructing a girder bridge on the girder constructed through the third step.
본 발명에 의한 강재와 수성연질폼 매입재를 이용한 박스단면 합성거더 및 이를 포함하는 교량 구조물 시공 방법에 의하면, 거더의 내부에 콘크리트보다 경량이면서 자유로운 성형이 가능한 수성연질폼을 매입재로 설치하여 외형을 전체적으로 동일하면서 구조적으로 안정감이 있는 박스 단면으로 유지함으로써 슬래브의 자중을 경감하므로 자중과 하중에 의한 슬래브의 변형을 극소화할 수 있고 안전하면서도 내구성이 큰 합성형 거더 교량 및 라멘교의 시공이 가능하다.According to the composite girder of the box section using the steel material and the water soft flexible foam material according to the present invention and the method of constructing the bridge structure including the same, it is possible to provide a waterproof flexible foam which is light in weight and free to form in the inside of the girder, The overall weight of the slab can be minimized by minimizing the weight of the slab by minimizing the deformation of the slab due to its own weight and load, and it is possible to construct a composite girder bridge and a ramen bridge with high safety and durability.
그리고, 벽체와 거더 사이의 모서리부를 우각부 보강수단으로 보강하여 헌치부를 형성하지 않으므로 형하여유고를 여유 있게 확보할 수 있고 그에 따라 슬래브의 높이를 낮출 수 있으므로 시공비를 절감하고 공기를 단축할 수 있다.Since the corner portion between the wall and the girder is reinforced by the reinforcement means of the right corner portion, the ceiling portion is not formed, so that it is possible to secure a sufficient height and thus the height of the slab can be lowered so that the construction cost can be reduced and the air can be shortened have.
또한 거더와 벽체를 힌지부에 의해 조립하여 조립성을 향상하고 우각부를 보강함으로써 구조적으로 매우 안정된 합성형 거더 교량 및 라멘교의 시공이 가능하다.
Also, the girder and the wall are assembled by the hinge part to improve the assemblability and reinforce the rugged part, so that it is possible to construct the structurally very stable composite girder bridge and the ramen bridge.
도 1은 종래 합성형 거더교량 및 라멘교 시공방법의 구조를 보인 도면.
도 2는 종래 합성형 거더교량 및 라멘교 시공방법의 벽체와 거더의 연결 구조를 도시한 도면.
도 3은 종래 합성형 거더교량 및 라멘교 시공방법에 적용되는 거더의 단면도.
도 4는 종래 합성형 거더교량 및 라멘교 시공방법에 적용되는 변단면형 거더의 부분별 단면도.
도 5는 본 발명의 실시예 1에 의한 강재와 수성연질폼 매입재를 이용한 박스단면 합성거더의 일부 단면 사시도.
도 6은 본 발명의 실시예 1에 의한 강재와 수성연질폼 매입재를 이용한 박스단면 합성거더에 적용된 거더 빔과 수성연질폼 매입재의 분리 사시도.
도 7은 본 발명의 실시예 1에 의한 강재와 수성연질폼 매입재를 이용한 박스단면 합성거더의 정면도.
도 8과 도 9는 각각 본 발명의 실시예 1에 의한 강재와 수성연질폼 매입재를 이용한 박스단면 합성거더의 지점부와 중앙부의 단면도.
도 10은 본 발명의 실시예 2에 의한 강재와 수성연질폼 매입재를 이용한 박스단면 합성거더에 적용된 거더 빔과 매입재의 분리 사시도.
도 11과 도 12는 각각 본 발명의 실시예 2에 의한 강재와 수성연질폼 매입재를 이용한 박스단면 합성거더의 지점부와 중앙부의 단면도.
도 13은 본 발명의 실시예 3에 의한 강재와 수성연질폼 매입재를 이용한 박스단면 합성거더의 사시도.
도 14는 본 발명의 실시예 4에 의한 강재와 수성연질폼 매입재를 이용한 박스단면 합성거더의 분리 상태 정면도.
도 15는 본 발명의 실시예 4에 의한 강재와 수성연질폼 매입재를 이용한 박스단면 합성거더의 조립 공정도.
도 16과 도 17은 본 발명에 의한 강재와 수성연질폼 매입재를 이용한 박스단면 합성거더를 포함하는 거더 교량의 정면도와 측면도.
도 18과 도 19는 본 발명에 의한 강재와 수성연질폼 매입재를 이용한 박스단면 합성거더를 포함하는 라멘 교량의 정면도와 측면도.
고안은 본 발명에 의한 강재와 수성연질폼 매입재를 이용한 박스단면 합성거더를 포함하는 라멘 교량의 힌지 연결부를 보인 사시도.
도 21은 본 발명에 의한 강재와 수성연질폼 매입재를 이용한 박스단면 합성거더를 포함하는 라멘 교량의 우각부를 보인 정면도.BRIEF DESCRIPTION OF THE DRAWINGS FIG. 1 is a view showing a structure of a conventional composite type girder bridge and a ramen bridge construction method.
BACKGROUND OF THE
3 is a sectional view of a girder applied to a conventional composite type girder bridge and a ramen bridge construction method.
4 is a cross-sectional view of a cross-sectional girder applied to a conventional composite type girder bridge and a ramen bridge construction method.
5 is a partial cross-sectional perspective view of a box section composite girder using a steel material and an aqueous soft foam embedding material according to
6 is an exploded perspective view of a girder beam and an aqueous soft foam embedding material applied to a box section composite girder using a steel material and an aqueous soft foam embedding material according to
7 is a front view of a box section composite girder using a steel material and an aqueous soft foam embedding material according to
8 and 9 are cross-sectional views of a fulcrum portion and a center portion of a composite endless box section using a steel material and an aqueous soft foam filler according to
10 is an exploded perspective view of a girder beam and a filler applied to a box section composite girder using a steel material and an aqueous soft foam filler according to a second embodiment of the present invention.
11 and 12 are cross-sectional views of a fulcrum portion and a center portion of a composite endless box section using a steel material and an aqueous soft foam embedding material according to a second embodiment of the present invention, respectively.
13 is a perspective view of a box section composite girder using a steel material and an aqueous soft foam embedding material according to a third embodiment of the present invention.
FIG. 14 is a front view of a composite state of a composite section of a box section using a steel material and an aqueous soft foam embedding material according to a fourth embodiment of the present invention. FIG.
15 is an assembling process of a box section composite girder using a steel material and an aqueous soft foam embedding material according to a fourth embodiment of the present invention.
16 and 17 are a front view and a side view of a girder bridge including a box section composite girder using a steel material and an aqueous soft foam embedding material according to the present invention.
18 and 19 are a front view and a side view of a ramen bridge including a box section composite girder using a steel material and an aqueous soft foam deposit according to the present invention.
The present invention is directed to a hinge connection of a ramen bridge including a composite girder having a box section using a steel material and an aqueous soft foam embedding material according to the present invention.
FIG. 21 is a front view showing a rally bridge of a ramen bridge including a composite section of a box section using a steel material and an aqueous soft foam embedding material according to the present invention. FIG.
<실시예 1>≪ Example 1 >
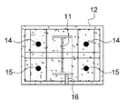
도 5 내지 도 9에서 보이는 것처럼, 본 실시예에 의한 강재와 수성연질폼 매입재를 이용한 박스단면 합성거더(10)는, 강재를 재질로 하는 거더 빔(11), 거더 빔(11)의 둘레부에 모든 구간에서 박스형태의 단면을 유지하는 콘크리트부(12), 비콘크리트 재질로 이루어지며 콘크리트부(12) 내부에 매설되어 거더를 경량화하는 수성연질폼 매입재(13)로 구성된다.As shown in Figs. 5 to 9, the box section
거더 빔(11)은 매입재 수용부가 구비된 구조로서 상하 수평부(11a,11b) 및 수직부(11c)에 의한 "I" 단면으로 구성되며, 특히 중앙부와 길이방향 양측부의 단면이 다른 변단면으로 이루어지고, 즉 길이방향 양측은 "I" 단면이고 중앙부는 수직부(11c)의 일부분이 절단되어 상측 수평부(11a)가 없는 "ㅗ"단면이다.The
이와 같은 변단면은 구조 상 큰 강성을 요구하는 부분(우각부)을 보강하면서 큰 강성을 요구하지 않는 중앙부를 경량화하는 점에서 특징이 있다.Such a cross-section is characterized in that the central portion which does not require large rigidity is lightened while reinforcing a portion requiring a large rigidity (right portion) in the structure.
즉, 매입재 수용부는 도 9와 같이, "ㅗ" 단면인 중앙부에만 형성되고, 도 10과 같이,"I" 단면인 길이방향 양측에는 형성되지 않다.That is, as shown in Fig. 9, the embedding material receiving portion is formed only in the central portion of the cross-section, and is not formed on both sides in the longitudinal direction which is the cross-section of the "I "
상기 매입재 수용부는 도 6과 도 7에서 보이는 형태(길이방향 양측으로 가면서 상향 경사지는 형태)로 한정되지 아니하며 다양한 형태가 가능하다.The embedding material receiving portion is not limited to the shapes shown in Figs. 6 and 7 (the shapes are inclined upward toward both sides in the longitudinal direction), and various forms are possible.
콘크리트부(12)는 거더 빔(11)의 둘레부에 콘크리트 타설에 의해 사각 박스형태의 외관으로 형성되며 철근(종철근, 띠철근의 조합) 콘크리트체로 구성되는 것이 바람직하다.It is preferable that the
즉 수성연질폼 매입재(13)가 적용되어도 콘크리트부(12)가 박스형태로 형성되기 때문에 거더(10)를 모든 부분에서 박스형태로 유지하여 단일 종류의 거푸집만을 사용하여 작업이 용이하고 구조의 취약과 시각적인 불안감을 해소한다.Since the
본 발명의 거더(10)는 거더 교량과 라멘 교량 모두의 교량 구조물에 적용 가능하며 이를 위하여 라멘 교량의 거더로 사용되는 경우 거더 빔(11)의 길이방향 양측 일부분을 연결부로 하여 라멘 교량의 벽체와 연결되도록 콘크리트부(12)는 전체적으로 형성되지 않는다.The
수성연질폼 매입재(13)는 거더(10)의 외형을 박스형태로 유지하면서도 전체적인 중량을 경량화하는 목적 달성을 위하여 적용된 것이며, 콘크리트부(12)의 콘크리트 타설시 움직이지 않도록 거더 빔(11)이나 철근 등에 와이어 등으로 묶여 고정될 수 있다.The water soft
본 발명의 거더(10)는 중앙부에 상부에서 가해지는 압축력에 대항하는 힘을 부여하기 위하여 상측 긴장재(14)와 하측 긴장재(15)가 적용된다.The
상측 긴장재(14)와 하측 긴장재(16)는 바람직하게 좌우 대칭의 한 쌍으로 이루어지며, 도 8과 도 9에서 보이는 것처럼, 길이방향의 양측보다 중앙부가 하부로 볼록하도록 배선되어 상부를 향하는 힘을 발생하고, 특히 하측 긴장재(15)는 중앙부가 거더 빔(11)의 아래쪽에 배선되어 거더 빔(11)과 콘크리트부(12)에 함께 힘을 부여한다.The
본 발명은 거더(10)의 콘크리트 충진 상태와 시공 후 거더(10) 내부 균열의 유무를 확인할 수 있도록 거더(10)의 외부에서 거더(10) 내부를 육안 확인할 수 있는 확인창(16)을 포함한다. 확인창(16)은 일측은 거더 빔(11)의 저부에 고정되며 타측은 콘크리트부(12)의 외주면에 대응하여 즉 외부로 노출되어 거더(10)의 외부에서 거더(10)의 내부를 확인할 수 있는 투명의 관 또는 투명의 봉일 수 있다.
The present invention includes a
<실시예 2>≪ Example 2 >
도 10 내지 도 12에서 보이는 바와 같이, 본 실시예에 의한 강재와 수성연질폼 매입재를 이용한 박스단면 합성거더(10)는, 거더 빔(11), 콘크리트부(12), 수성연질폼 매입재(13), 상측 긴장재(14), 하측 긴장재(15), 확인창(16)으로 구성되는 것은 실시예 1과 동일하며, 거더 빔(11)은 전체적으로 단면이 동일하게 구성 즉, 상하 수평부(11a,11b)와 수직부(11c)가 전체적으로 형성되고, 수성연질폼 매입재(13)는 수직부(11c)의 양측(도 12 참고)에 각각 적용된다.As shown in FIGS. 10 to 12, the box section
그 이외의 구성은 실시예 1과 동일하므로 구체적인 설명을 생략한다.
The other configuration is the same as that of the first embodiment, and a detailed description thereof will be omitted.
<실시예 3>≪ Example 3 >
도 13에서 보이는 것처럼, 본 실시예에 의한 강재와 수성연질폼 매입재를 이용한 박스단면 합성거더(10)는, 콘크리트부(12)가 거더 빔(11) 전체를 둘러싸지 않고 거더 빔(11)의 길이방향의 양측이 노출되도록 타설되어 거더 빔(11)의 길이방향 양측에 하부 구조물과 연결되는 연결부가 구성되며, 구조 상 라멘 교량의 하부 구조물과 연결이 용이함으로써 라멘 교량에 적합하다.As shown in FIG. 13, the box section
상기 연결부는 힌지 연결부(17)가 바람직하다. 거더 빔(11)의 바닥부인 하측 수평부(11b)에 저부로 돌출되지 않는 한도 내에서 반원형 단면으로 형성되는 홈으로 이루어진다.The connecting portion is preferably a
이러한 구조의 힌지 연결부(17)는 강관의 절단에 의해 만들어지는 반원형 단면의 곡선판의 조립으로 이루어진다. 물론 라멘 교량의 하부 구조물인 벽체에는 힌지 연결부(17)에 결합되는 돌기 형태의 힌지 연결부가 형성된다.The
힌지 연결부(17)와 상측 수평부(11a) 사이에는 수직부(11b)와 직교하는 방향의 보강판(17a)이 하나 이상 적용된다.At least one reinforcing
라멘 교량과의 연결에 대해서는 하기의 라멘 교량 시공 방법에서 구체적으로 설명한다.
The connection with the ramen bridge will be described in detail in the ramen bridge construction method described below.
<실시예 4 ><Example 4>
도 14와 도 15에서 보이는 것처럼, 본 실시예에 의한 강재와 수성연질폼 매입재를 이용한 박스단면 합성거더(10)는, 다수개의 세그먼트 바람직하게 3개의 세그먼트로 분할된다.As shown in FIGS. 14 and 15, the box section
본 실시예에 의한 분할형의 거더(10)는 바람직하게 수성연질폼 매입재(13)가 매설되는 중앙 세그먼트(10-1) 및 중앙 세그먼트(10-1)와 조립되면서 하부 구조물에 연결 내지 지지되는 양측의 연결세그먼트(10-2)로 분할된다.The divided
중앙 세그먼트(10-1)는 수성연질폼 매입재(13)와 거더 빔(11-1)이 콘크리트부(12-1)에 매설되어 구성되며, 거더 빔(31-1)은 길이방향의 양측 일부분이 콘크리트부(12-1)에서 돌출된다. The center segment 10-1 is formed by embedding an aqueous soft foamed
연결세그먼트(10-2)는 거더 빔(11-2)이 콘크리트부(12-2)에 매설되는데, 길이방향의 양측이 각각 중앙 세그먼트(10-1)와 하부 구조물의 지지빔(21)에 각각 연결되도록 콘크리트부(12-2)에서 돌출된다.The girder beam 11-2 is buried in the concrete section 12-2 so that both sides of the girder beam 11-2 are connected to the center segment 10-1 and the support beam 21 of the lower structure And are projected from the concrete portion 12-2 so as to be connected to each other.
본 실시예에 의한 분할형의 거더(10)는 2개 이상으로 분할되더라도 각각의 부분에서 자중과 하중에 의한 변형을 일으키지 않도록 긴장재가 적용된다.Even if the
중앙 세그먼트(10-1)에서는 긴장재가 하부에 설치되며, 연결세그먼트(10-2)에서는 긴장재가 상부에 설치된다.In the central segment 10-1, a tension member is provided at the lower portion, and in the connecting segment 10-2, a tension member is provided at the upper portion.
도 15에서 보이는 바와 같이, 본 실시예에 의한 분할형의 거더(10)는 다음과 같은 방법에 의해 완성된다.As shown in Fig. 15, the
먼저 중앙 세그먼트(10-1)와 연결세그먼트(10-2)를 일렬로 배열하고, 중앙 세그먼트(10-1)와 연결세그먼트(10-2)가 각각의 이음부에서 돌출된 거더 빔(11-1,11-2)들을 조립수단[예를 들어 거더 빔(11-1,11-2)의 수직부 양측에 지지되는 조립플레이트(18), 조립플레이트(18)와 거더 빔(11-1,11-2)의 수직부에 체결되는 체결구(볼트와 너트)]으로 조립한다. 이어서, 상기 조립수단이 체결된 이음부를 콘크리트 타설하여 콘크리트 마감부(19)를 형성함으로써 분할형의 거더(10)를 제작한다. The center segment 10-1 and the connecting segment 10-2 are arranged in a line and the center segment 10-1 and the connecting segment 10-2 are arranged in the girder beam 11- 1 and 11-2 to the
본 실시예의 중앙 세그먼트(10-1)의 거더 빔(11-1)은 실시예 1의 변단면, 실시예 2의 정단면(정단면은 단면의 변화가 없은 것을 말함) 모두가 가능하다.
The girder beam 11-1 of the center segment 10-1 of the present embodiment is capable of both the side surface of the first embodiment and the front surface of the second embodiment (the front surface has no change in cross section).
이하 본 발명에 의한 강재와 수성연질폼 매입재를 이용한 박스단면 합성거더를 포함하는 교량 구조물 시공 방법에 대해 설명하며, 거더 교량과 라멘 교량으로 구분하여 설명한다.Hereinafter, a method of constructing a bridge structure including a box section synthetic girder using a steel material and an aqueous soft foam embedding material according to the present invention will be described, and a girder bridge and a ramen bridge will be separately described.
1. 거더 교량 시공 방법(도 16과 도 17 참고).1. Construction of girder bridges (see Figs. 16 and 17).
가. 기초부 시공.end. Construction of foundation.
상호 간에 일정 거리(하천)를 두고 지면에 직접 또는 지면 또는 수중에 파일을 이용하여 기초부(20)를 현장 타설 등으로 시공한다.The
나. 교대부 시공.I. Shift construction.
기초부(20) 위에 교대부(30)를 일정 높이로 시공한다. 교대부(30)의 시공은 현장 타설, 프리캐스트 콘크리트 블록에 의한 조립 시공 모두가 가능하고, 기초부(20)와 일체로 구성되는 것도 가능하다.The alternating
다. 강재와 수성연질폼 매입재를 이용한 박스단면 합성거더 시공.All. Composite Girder Construction of Box Section Using Steel and Water Soft Flex Filler.
교대부(30) 위에 교량받침(슈)(40)을 설치하고, 교량받침(40) 위에 본 발명에 의한 강재와 수성연질폼 매입재를 이용한 박스단면 합성거더(10)를 설치한다.A
본 발명의 거더(10)는 슬래브(50)의 폭에 따라 하나 이상이 사용 가능하고, 도 17은 3개를 예로 들어 도시한 것이다.One or more of the
라. 슬래브 시공.la. Slab construction.
거더(10)의 시공을 완료한 후 거더(10) 위에 일정 폭의 슬래브(50)(포장층, 난간 포함)를 시공한다. 슬래브(50)는 데크슬래브, 콘크리트 슬래브 등 모든 슬래브의 시공이 가능하다.After completion of the construction of the
본 공정에서 거더(10)의 시공과 슬래브(50)의 시공을 분리하여 설명하였으나, 거더(10)와 슬래브(50)를 일체로 제작한 후 시공하거나 현장에서 일체로 시공하는 것도 포함된다.
Although the construction of the
2. 라멘 교량 시공(도 18과 도 19 참고).2. Construction of ramen bridges (see Figs. 18 and 19).
가. 하부 구조물 시공.end. Construction of substructure.
기초부(20)와 벽체부(30)를 현장에서 동시에 타설 또는 분리 타설하여 시공하거나, 프리캐스트 콘크리트 블록의 조립을 통해 기초부(20)와 벽체부(30)를 시공한다.The
벽체부(30)는 기초부(20) 위에 일정 높이로 세워지는 예컨대 철근 콘크리트 구조물이며, 거더(10)와의 연결을 위한 지지빔(31)이 상부로 돌출되도록 구성된다. 지지빔(31)은 지지강성을 증대하기 위하여 벽체부(30) 내부에 매설되는 것이 바람직하며, 물론, 벽체부(30)의 상면에 앵커 등으로 설치되는 것도 가능하다.The
나. 강재와 수성연질폼 매입재를 이용한 박스단면 합성거더 조립.I. Box - section composite girder assembly using steel and aqueous soft foam filler.
도 20과 도 21에서 보이는 것처럼, 지지빔(31)의 상부에는 거더(10)의 힌지 연결부(17)에 결합되는 돌기 형태의 힌지 연결부(32)가 형성된다. 벽체부(20)의 힌지 연결부(32)는 거더(10)측의 힌지 연결부(17)와 함께 강관의 절단에 의해 형성된 반원형 단면이 사용된다.
20 and 21, a
또한, 지지빔(31) 상부의 좁은 단면적으로 인한 결속력 저하를 막기 위하여 지지빔(31)의 상면에는 지지빔(31)보다 큰 단면적의 고정판(33)이 용접 등으로 고정된다.A fixing
고정판(33)은 거더(10)의 하측 수평부(11b)에 볼팅이나 용접을 통해 결합된다. 또한 고정판(33)의 저부에는 우각부에서의 강성 보강을 위하여 우각부의 콘크리트에 매설되는 하나 이상(도면에는 2개로 도시됨)의 스터드판(34)이 적용 가능하다. 스터드판(34)은 저부에 확장 단면의 헤드가 구성된 판재로서 상단부가 고정판(33)의 저면에 용접 등으로 고정된다.The fixing
스터드판(34)의 지지력 증대를 위하여 스터드판(34)과 지지빔(31) 사이에는 스터드판(34)과 직교하는 방향의 보강판(35)이 적용된다. 보강판(35)은 상부는 고정판(33)에 우측(도 20 기준)은 지지빔(31)에 좌측은 스터드판(34)에 용접되어 스터드판(34)을 지지한다.A
거더(10)를 인양하여 거더(10)의 길이방향 양측에 형성된 힌지 연결부(17)를 지지빔(31)에 형성된 힌지 연결부(32)에 올려 끼워 결합한다. 힌지 연결부(17,32)는 곡선형 단면으로 구성되어 미끄러지면서 자연스럽게 끼움 결합된다.The
이어서, 거더(10)의 거더 빔(11)과 벽체부(20)의 고정판(33)을 볼팅 등으로 고정한다.Next, the
이와 같은 구성의 힌지 연결부에 의하면, 거더(10)를 벽체부(30)에 고정(용접, 볼팅 등)하기 전에 끼움식의 힌지 결합에 의해 거더(10)가 위치가 변하지 않고 고수하며 또한, 거더(10)를 볼팅과 용접 위치로 자연스럽게 거치하는 효과가 있고, 이와 같은 구조의 힌지부가 적용된 우각부에는 실질적으로 합성 후 하중과 차량 활하중만이 재하되어 우각부에 적은 철근량과 적은 콘크리트가 소요되므로 경제적인 효과도 도출한다.According to the hinge connection portion having such a structure, before the
본 발명은 우각부에서 헌치부를 형성하지 않아도 균열 등의 손상이 일어나지 않도록 함으로써 형하여유고를 여유있게 확보할 수 있도록 우각부 보강수단을 설치한다.In the present invention, a right-angled portion reinforcing means is provided so as to ensure sufficient clearance without damaging cracks or the like even if no spiral portion is formed at the right angled portion.
도 21에 도시된 것처럼, 상기 우각부 보강수단은, 양측이 벽체부(30)의 지지빔(31)과 거더 빔(11)에 연결되는 경사형의 우각부 보강빔(60) 및 우각부 보강빔(60)에 고정되면서 벽체부(30)와 거더(10)[여기서 거더(10)는 우각부 콘크리트 타설에 의해 완성된 거더(10)를 말함] 사이의 모서리를 직각으로 형성하는 면귀 브래킷(61)로 구성된다.21, the right-angled portion reinforcing means includes a right-angled reinforcing
우각부 보강빔(60)은 I형 빔, H형 빔, ㄷ형강 등이 사용 가능하며, 벽체부(30)의 지지빔(31)과 거더(10)의 거더 빔(11)에 의해 형성되는 모서리부에 경사지게 배치되면서 길이방향의 양측이 각각 용접 등으로 고정된다.The right-angled reinforcing
면귀 브래킷(61)은 수평부와 수직부로 이루어지는 모서리부(61a), 모서리부(61a)에 일체로 형성 또는 용접 등으로 고정 연결되며 우각부 보강빔(60)에 고정되는 빔고정부(61b)로 구성된다.The
면귀 브래킷(61)은 합성형 거더 교량 및 라멘 교량 모두의 모서리부에 전체적으로 형성되어 이 부분에서 균열 등을 방지할 수 있다.The
삭제delete
다. 상부 구조물 시공.All. Construction of superstructure.
거더(10)와 지지빔(31)의 조립 및 우각부의 보강을 완료한 후 슬래브(50)와 우각부에 거푸집을 설치하고, 상기 거푸집 안에 콘크리트를 타설하여 상부 구조물을 시공한다. 이때, 우각부의 타설을 위한 거푸집은 통상적으로 사용되는 가시설일 수도 있고 또는 거푸집의 기능과 보강의 기능을 겸하는 프리캐스트 콘크리트 패널 또는 강판으로서 영구 사용되는 것일 수도 있다.
After the assembly of the
10 : 강재와 수성연질폼 매입재를 이용한 박스단면 합성거더,
11 : 거더 빔, 12 : 콘크리트부
13 : 수성연질폼 매입재, 14 : 상측 긴장재
15 : 하측 긴장재, 16 : 확인창
17 : 힌지 연결부, 18 : 조립플레이트
19 : 콘크리트 마감부, 20 : 기초부
30 : 교대부, 벽체부, 40 : 교량받침
50 : 슬래브, 60 : 우각부 보강빔
61 : 면귀 브래킷, 70 : 받침 브래킷
71 : 긴장잭,10: Composite girder with box section using steel and aqueous soft foam filler,
11: girder beam, 12: concrete section
13: Water soft flexible foam filling material, 14: Upper side tension material
15: lower tension, 16: confirmation window
17: hinge connection part, 18: assembly plate
19: concrete finishing part, 20: foundation part
30: alternating part, wall part, 40: bridge support
50: Slab, 60: Rectangular beam
61: a camel bracket, 70: a base bracket
71: Tension Jack,
Claims (11)
상기 거더 빔은 길이방향의 양측 단면이 상하 수평부(11a,11b) 및 수직부(11c)에 의한 "I" 형이면서 중앙부의 단면이 상부 수평부가 없는 "ㅗ" 형인 변단면으로 이루어져 상기 매입재 수용부는 상기 "ㅗ" 단면의 중앙부에만 형성되어 상기 수성연질폼 매입재가 중앙부에만 설치되도록 하는 한편 길이방향 양측에는 상기 하부 구조물에 반원형 돌기로 형성되는 힌지 연결부(32)에 끼움 결합되는 반원형 홈의 힌지 연결부(17)가 형성되어, 상기 힌지 연결부가 서로 결합됨과 아울러 상기 하부 수평부가 상기 하부 구조물의 상부에 돌출 형성된 지지빔(31)의 상면에 상기 지지빔(31)보다 큰 단면적이면서 하부에 스터드판(34)이 형성된 고정판(33)에 고정되어 시공되고,
상기 콘크리트부는 상기 상기 수성연질폼 매입재가 상기 거더 빔 또는 상기 거더 빔 주위에 배근되는 철근에 고정된 후 타설되어 이루어지되, 상기 수성연질폼 매입재를 노출하지 않으면서 상기 거더 빔의 힌지 연결부가 돌출되도록 하고,
상기 상부측 긴장재는 상기 거더 빔의 하부 수평부의 상부쪽에 배선되는 한편 상기 하부측 긴장재는 상기 거더 빔의 하부 수평부의 아래쪽에 배선되는 것을 특징으로 하는 강재와 수성연질폼 매입재를 이용한 박스단면 합성거더.A girder beam 11 made of a steel material and having a rectangular shape with a filler receiving portion; An aqueous soft foam embedding material 13 which is three-dimensional in shape of a non-concrete material which is lighter in weight than concrete and is accommodated in the embedding material receiving portion of the girder beam; A concrete part 12 formed by placing a concrete in the form of a box on the periphery of the girder beam and the aqueous soft foam embedding material; The upper and lower torsion beams are arranged symmetrically with the central part of the concrete part being lower than the longitudinal sides of the concrete part with a height difference therebetween. Both longitudinal sides are connected to the upper part of the lower structure of the bridge structure, In addition,
The girder beam is composed of both side sections in the longitudinal direction of a cross section having an " I "shape by the upper and lower horizontal sections 11a and 11b and a vertical section 11c, The receiving portion is formed only in the central portion of the cross section of the " ㅗ ", so that the aqueous soft foam embedding material is installed only in the central portion, and the hinge connecting portion 32 formed in the lower structure in the longitudinal direction, A connecting portion 17 is formed on the upper surface of the support beam 31. The hinge connection portions are coupled to each other and the lower horizontal portion of the support beam 31 protrudes from the upper portion of the lower structure. And fixed to the fixing plate 33 formed with the fixing plate 34,
Wherein the concrete portion is fixed to the girder beam or a reinforcing bar disposed around the girder beam, and then the concrete portion is placed, and the hinge connection portion of the girder beam is projected without exposing the aqueous soft foam embedding material, And,
Wherein the upper side tensional material is wired to the upper side of the lower horizontal portion of the girder beam while the lower side tensional material is wired below the lower horizontal portion of the girder beam. .
상기 제1단계를 통해 시공된 하부 구조물들 사이에 청구항 1에 의한 강재와 수성연질폼 매입재를 이용한 박스단면 합성거더(10)를 시공하되, 상기 강재와 수성연질폼 매입재를 이용한 박스단면 합성거더에 구성된 거더 빔(11)의 연결부(17)기 벽체부의 지지빔(31)에 가조립하여 시공하는 제2단계와;
상기 제2단계 이 후 우각부와 슬래브의 상부 구조물을 시공하는 제3단계를 포함하고,
상기 제2단계는, 상기 강재와 수성연질폼 매입재를 이용한 박스단면 합성거더의 거더 빔(11)에 반원형의 홈으로 형성된 힌지 연결부(17)를 상기 벽체부의 지지빔에 반원형 돌기로 형성된 힌지 연결부(32)에 끼움 결합하고,
상기 지지빔(31)의 상면에 상기 지지빔(31)보다 큰 단면적이면서 하부에 스터드판(34)이 형성된 고정판(33)을 고정하여 상기 고정판(33)을 상기 거더(10)의 하측 수평부(11b)에 결합하여 시공하는 것을 포함하는 것을 특징으로 하는 강재와 수성연질폼 매입재를 이용한 박스단면 합성거더를 포함하는 교량 구조물 시공 방법.A first step of constructing a lower structure having a base part and a wall part at a predetermined distance from each other and installing a support beam 31 on the upper part of the wall part;
A box cross-section composite girder (10) is manufactured by using the steel material and the water soft flexible form filler according to claim 1 between the lower structures constructed through the first step, and the box cross-section synthesis using the steel material and the aqueous soft foam filler A second step of assembling the girder beam 11 to the support beam 31 of the wall portion of the connecting portion 17 of the girder,
And the second step includes a third step of constructing the upper structure of the rear corner and the slab,
In the second step, a hinge connection part (17) formed as a semicircular groove in a girder beam (11) of a box section synthetic girder using the steel material and an aqueous soft foam embedding material is connected to a support beam of a hinge connection (32)
A fixing plate 33 having a larger cross sectional area than the supporting beam 31 and having a stud plate 34 formed on the lower surface of the supporting beam 31 is fixed so that the fixing plate 33 is fixed to the lower horizontal portion of the girder 10, (11b), and a box-section composite girder (10) using the water-based flexible foam embedding material.
상기 면귀 브래킷은 수평부와 수직부로 이루어지는 모서리부(61a), 상기 모서리부(61a)에 형성되며 상기 우각부 보강빔(60)에 고정되는 빔고정부(61b)로 이루어진 것을 특징으로 하는 강재와 수성연질폼 매입재를 이용한 박스단면 합성거더를 포함하는 교량 구조물 시공 방법.[9] The method of claim 8, wherein the second step comprises constructing a right angle reinforcement means that forms a corner between the box section synthetic girder and the wall portion using the steel material and the water soft flexible form filler at right angles without a horn, (60) on both sides connected to the girder beam (11) of the box section composite girder and the support beam (31) of the wall section using the steel material and the aqueous soft foam embedding material, and a reinforcing beam And an excavator bracket (61) which forms an angle between the wall section and the box section synthetic girder using the steel material and the water soft flexible foam embedding material at right angles,
And a beam fixing part (61b) formed on the corner part (61a) and fixed to the right corner reinforcing beam (60), characterized in that the camber bracket comprises a corner part (61a) A method of constructing a bridge structure including a composite section girder having a box section using a flexible foam embedding material.
Priority Applications (1)
| Application Number | Priority Date | Filing Date | Title |
|---|---|---|---|
| KR1020140129548A KR101538516B1 (en) | 2014-09-26 | 2014-09-26 | A box girder using steel and foam concrete insertion, and method for construction bridge using the same |
Applications Claiming Priority (1)
| Application Number | Priority Date | Filing Date | Title |
|---|---|---|---|
| KR1020140129548A KR101538516B1 (en) | 2014-09-26 | 2014-09-26 | A box girder using steel and foam concrete insertion, and method for construction bridge using the same |
Publications (1)
| Publication Number | Publication Date |
|---|---|
| KR101538516B1 true KR101538516B1 (en) | 2015-07-27 |
Family
ID=53875121
Family Applications (1)
| Application Number | Title | Priority Date | Filing Date |
|---|---|---|---|
| KR1020140129548A Active KR101538516B1 (en) | 2014-09-26 | 2014-09-26 | A box girder using steel and foam concrete insertion, and method for construction bridge using the same |
Country Status (1)
| Country | Link |
|---|---|
| KR (1) | KR101538516B1 (en) |
Cited By (7)
| Publication number | Priority date | Publication date | Assignee | Title |
|---|---|---|---|---|
| CN105821752A (en) * | 2016-04-05 | 2016-08-03 | 沈阳建筑大学 | Wide box girder bridge girder roof structure and construction method thereof |
| CN106638262A (en) * | 2016-12-29 | 2017-05-10 | 中国冶集团有限公司 | Cross-section variable fish-bellied type box girder concrete symmetric overlapping pouring structure and construction method thereof |
| CN109881586A (en) * | 2019-03-18 | 2019-06-14 | 重庆城建控股(集团)有限责任公司 | A kind of steel lifted trunk bottom plate and preparation method thereof |
| CN110241743A (en) * | 2019-07-16 | 2019-09-17 | 警通建设(集团)有限公司 | A kind of bridge hinge seam maintaining structure and its construction method |
| CN111021227A (en) * | 2019-11-29 | 2020-04-17 | 东南大学 | Steel-concrete composite structure continuous box girder and manufacturing method thereof |
| CN111705678A (en) * | 2020-07-13 | 2020-09-25 | 中国五冶集团有限公司 | A kind of isolation structure and grouting method for continuous beam grouting layer |
| KR102347089B1 (en) * | 2021-05-06 | 2022-01-05 | 주식회사 미강이엔씨 | Steel-concrete composite rahmen structure and construction method thereof |
Citations (4)
| Publication number | Priority date | Publication date | Assignee | Title |
|---|---|---|---|---|
| KR100894650B1 (en) * | 2008-12-08 | 2009-04-24 | (주)아이브릿지코리아 | Ramen Bridge with Preflection Load and Construction Method |
| KR100989586B1 (en) * | 2010-06-07 | 2010-10-25 | 주식회사 하이드로코리아 | Girder for rahmen structure, the making method and bridge construction method using girder for rahmen structure |
| KR100991349B1 (en) * | 2010-03-05 | 2010-11-02 | 김동민 | Manufacturing method of rahmen-type bridge structure |
| KR101401182B1 (en) * | 2013-05-14 | 2014-05-29 | 김태현 | Method making box type concrete/steel composit girder with pre-flex concept |
-
2014
- 2014-09-26 KR KR1020140129548A patent/KR101538516B1/en active Active
Patent Citations (4)
| Publication number | Priority date | Publication date | Assignee | Title |
|---|---|---|---|---|
| KR100894650B1 (en) * | 2008-12-08 | 2009-04-24 | (주)아이브릿지코리아 | Ramen Bridge with Preflection Load and Construction Method |
| KR100991349B1 (en) * | 2010-03-05 | 2010-11-02 | 김동민 | Manufacturing method of rahmen-type bridge structure |
| KR100989586B1 (en) * | 2010-06-07 | 2010-10-25 | 주식회사 하이드로코리아 | Girder for rahmen structure, the making method and bridge construction method using girder for rahmen structure |
| KR101401182B1 (en) * | 2013-05-14 | 2014-05-29 | 김태현 | Method making box type concrete/steel composit girder with pre-flex concept |
Cited By (9)
| Publication number | Priority date | Publication date | Assignee | Title |
|---|---|---|---|---|
| CN105821752A (en) * | 2016-04-05 | 2016-08-03 | 沈阳建筑大学 | Wide box girder bridge girder roof structure and construction method thereof |
| CN105821752B (en) * | 2016-04-05 | 2017-05-10 | 沈阳建筑大学 | A main girder roof structure of a wide box girder bridge and its construction method |
| CN106638262A (en) * | 2016-12-29 | 2017-05-10 | 中国冶集团有限公司 | Cross-section variable fish-bellied type box girder concrete symmetric overlapping pouring structure and construction method thereof |
| CN106638262B (en) * | 2016-12-29 | 2019-04-23 | 中国一冶集团有限公司 | Variable cross-section fish-belly box beam concrete symmetrically overlaps pouring structure and its construction method |
| CN109881586A (en) * | 2019-03-18 | 2019-06-14 | 重庆城建控股(集团)有限责任公司 | A kind of steel lifted trunk bottom plate and preparation method thereof |
| CN110241743A (en) * | 2019-07-16 | 2019-09-17 | 警通建设(集团)有限公司 | A kind of bridge hinge seam maintaining structure and its construction method |
| CN111021227A (en) * | 2019-11-29 | 2020-04-17 | 东南大学 | Steel-concrete composite structure continuous box girder and manufacturing method thereof |
| CN111705678A (en) * | 2020-07-13 | 2020-09-25 | 中国五冶集团有限公司 | A kind of isolation structure and grouting method for continuous beam grouting layer |
| KR102347089B1 (en) * | 2021-05-06 | 2022-01-05 | 주식회사 미강이엔씨 | Steel-concrete composite rahmen structure and construction method thereof |
Similar Documents
| Publication | Publication Date | Title |
|---|---|---|
| KR101538516B1 (en) | A box girder using steel and foam concrete insertion, and method for construction bridge using the same | |
| KR100797194B1 (en) | Concrete composite column and building construction method using the same | |
| KR102187993B1 (en) | Prefabricated Bridge Structure and Construction Method | |
| KR101157147B1 (en) | Composite concrete column and construction method using the same | |
| KR101937680B1 (en) | Prefabricated Precast Structure and Construction Method Thereof | |
| JP6855296B2 (en) | Building foundation structure and its construction method | |
| KR101479613B1 (en) | Precast composite deck for forming deck joint using connection beam of box-type, and connecting method for the same | |
| JP3844743B2 (en) | Box girder bridge structure and its construction method | |
| KR101638093B1 (en) | Rahmen using hinge type pc wall and method for constructing the same | |
| KR20140144153A (en) | The hybrid girder structures prestressed by using the external prestressing mechanism, and the construction method by rigid connection | |
| KR20140144035A (en) | The hybrid girder structures prestressed by using the external prestressing mechanism, and the construction method by rigid connection | |
| KR101582599B1 (en) | Bridge construction method for forming continuous point part of pier using copping for connecting girder | |
| KR101011252B1 (en) | Frame of Reinforcement Ramen Structure for Parental Section and Ramen Structure Having the Same | |
| KR20210004289A (en) | Transfer Structure Construction Method Using U-shaped Steel Girder | |
| KR101735077B1 (en) | Bridge deck using precast concrete panel | |
| JP4585614B1 (en) | Method for constructing synthetic steel slab bridge, ribbed steel slab, and synthetic steel slab bridge | |
| KR101942567B1 (en) | Rigid joint structures using end face of beam as mold support and, construction methods using the same | |
| KR101329443B1 (en) | Precast concrete frame and its construction method for buildings using precast concrete slab continued by post tensioning | |
| KR102602548B1 (en) | Rahmen structure integrating abutment and superstructure to improve seismic resistence and construction method thereof | |
| KR101998822B1 (en) | Composite rahmen bridge, steel girder for that and construction method of composite rahmen bridge | |
| KR101472027B1 (en) | Method of building concrete structure using attachment plates adjoining ends of concrete beam with walls of abutments | |
| KR101426155B1 (en) | The hybrid rahmen structure which can add prestress on steel girder of horizontal member by gap difference of connection face between vertical member and steel girder of horizontal member | |
| KR20130067027A (en) | Composite girder with steel pipe and rahmen bridge construction method using the same | |
| KR101704291B1 (en) | Aassembled precast girder for bridge | |
| KR20140125754A (en) | Bridge construction method for forming continuous point part of pier using copping for connecting girder |
Legal Events
| Date | Code | Title | Description |
|---|---|---|---|
| PA0109 | Patent application |
St.27 status event code: A-0-1-A10-A12-nap-PA0109 |
|
| PA0201 | Request for examination |
St.27 status event code: A-1-2-D10-D11-exm-PA0201 |
|
| PA0302 | Request for accelerated examination |
St.27 status event code: A-1-2-D10-D17-exm-PA0302 St.27 status event code: A-1-2-D10-D16-exm-PA0302 |
|
| D13-X000 | Search requested |
St.27 status event code: A-1-2-D10-D13-srh-X000 |
|
| D14-X000 | Search report completed |
St.27 status event code: A-1-2-D10-D14-srh-X000 |
|
| PE0902 | Notice of grounds for rejection |
St.27 status event code: A-1-2-D10-D21-exm-PE0902 |
|
| E13-X000 | Pre-grant limitation requested |
St.27 status event code: A-2-3-E10-E13-lim-X000 |
|
| P11-X000 | Amendment of application requested |
St.27 status event code: A-2-2-P10-P11-nap-X000 |
|
| P13-X000 | Application amended |
St.27 status event code: A-2-2-P10-P13-nap-X000 |
|
| PE0902 | Notice of grounds for rejection |
St.27 status event code: A-1-2-D10-D21-exm-PE0902 |
|
| P11-X000 | Amendment of application requested |
St.27 status event code: A-2-2-P10-P11-nap-X000 |
|
| P13-X000 | Application amended |
St.27 status event code: A-2-2-P10-P13-nap-X000 |
|
| E701 | Decision to grant or registration of patent right | ||
| PE0701 | Decision of registration |
St.27 status event code: A-1-2-D10-D22-exm-PE0701 |
|
| GRNT | Written decision to grant | ||
| PR0701 | Registration of establishment |
St.27 status event code: A-2-4-F10-F11-exm-PR0701 |
|
| R17-X000 | Change to representative recorded |
St.27 status event code: A-5-5-R10-R17-oth-X000 |
|
| PR1002 | Payment of registration fee |
St.27 status event code: A-2-2-U10-U11-oth-PR1002 Fee payment year number: 1 |
|
| R18-X000 | Changes to party contact information recorded |
St.27 status event code: A-5-5-R10-R18-oth-X000 |
|
| PG1601 | Publication of registration |
St.27 status event code: A-4-4-Q10-Q13-nap-PG1601 |
|
| R18-X000 | Changes to party contact information recorded |
St.27 status event code: A-5-5-R10-R18-oth-X000 |
|
| P22-X000 | Classification modified |
St.27 status event code: A-4-4-P10-P22-nap-X000 |
|
| P22-X000 | Classification modified |
St.27 status event code: A-4-4-P10-P22-nap-X000 |
|
| R18-X000 | Changes to party contact information recorded |
St.27 status event code: A-5-5-R10-R18-oth-X000 |
|
| P14-X000 | Amendment of ip right document requested |
St.27 status event code: A-5-5-P10-P14-nap-X000 |
|
| P16-X000 | Ip right document amended |
St.27 status event code: A-5-5-P10-P16-nap-X000 |
|
| Q16-X000 | A copy of ip right certificate issued |
St.27 status event code: A-4-4-Q10-Q16-nap-X000 |
|
| FPAY | Annual fee payment |
Payment date: 20180716 Year of fee payment: 4 |
|
| PR1001 | Payment of annual fee |
St.27 status event code: A-4-4-U10-U11-oth-PR1001 Fee payment year number: 4 |
|
| R18-X000 | Changes to party contact information recorded |
St.27 status event code: A-5-5-R10-R18-oth-X000 |
|
| P14-X000 | Amendment of ip right document requested |
St.27 status event code: A-5-5-P10-P14-nap-X000 |
|
| P16-X000 | Ip right document amended |
St.27 status event code: A-5-5-P10-P16-nap-X000 |
|
| Q16-X000 | A copy of ip right certificate issued |
St.27 status event code: A-4-4-Q10-Q16-nap-X000 |
|
| FPAY | Annual fee payment |
Payment date: 20190715 Year of fee payment: 5 |
|
| PR1001 | Payment of annual fee |
St.27 status event code: A-4-4-U10-U11-oth-PR1001 Fee payment year number: 5 |
|
| PR1001 | Payment of annual fee |
St.27 status event code: A-4-4-U10-U11-oth-PR1001 Fee payment year number: 6 |
|
| PR1001 | Payment of annual fee |
St.27 status event code: A-4-4-U10-U11-oth-PR1001 Fee payment year number: 7 |
|
| PR1001 | Payment of annual fee |
St.27 status event code: A-4-4-U10-U11-oth-PR1001 Fee payment year number: 8 |
|
| P14-X000 | Amendment of ip right document requested |
St.27 status event code: A-5-5-P10-P14-nap-X000 |
|
| R18-X000 | Changes to party contact information recorded |
St.27 status event code: A-5-5-R10-R18-oth-X000 |
|
| P14-X000 | Amendment of ip right document requested |
St.27 status event code: A-5-5-P10-P14-nap-X000 |
|
| PR1001 | Payment of annual fee |
St.27 status event code: A-4-4-U10-U11-oth-PR1001 Fee payment year number: 9 |
|
| R18-X000 | Changes to party contact information recorded |
St.27 status event code: A-5-5-R10-R18-oth-X000 |
|
| PR1001 | Payment of annual fee |
St.27 status event code: A-4-4-U10-U11-oth-PR1001 Fee payment year number: 10 |
|
| R18-X000 | Changes to party contact information recorded |
St.27 status event code: A-5-5-R10-R18-oth-X000 |
|
| P14-X000 | Amendment of ip right document requested |
St.27 status event code: A-5-5-P10-P14-nap-X000 |
|
| PR1001 | Payment of annual fee |
St.27 status event code: A-4-4-U10-U11-oth-PR1001 Fee payment year number: 11 |
|
| U11 | Full renewal or maintenance fee paid |
Free format text: ST27 STATUS EVENT CODE: A-4-4-U10-U11-OTH-PR1001 (AS PROVIDED BY THE NATIONAL OFFICE) Year of fee payment: 11 |
