KR101210503B1 - Case for protecting transformer - Google Patents
Case for protecting transformer Download PDFInfo
- Publication number
- KR101210503B1 KR101210503B1 KR1020110094089A KR20110094089A KR101210503B1 KR 101210503 B1 KR101210503 B1 KR 101210503B1 KR 1020110094089 A KR1020110094089 A KR 1020110094089A KR 20110094089 A KR20110094089 A KR 20110094089A KR 101210503 B1 KR101210503 B1 KR 101210503B1
- Authority
- KR
- South Korea
- Prior art keywords
- transformer
- insulator
- receiving portion
- case
- protection case
- Prior art date
- Legal status (The legal status is an assumption and is not a legal conclusion. Google has not performed a legal analysis and makes no representation as to the accuracy of the status listed.)
- Expired - Fee Related
Links
Images
Classifications
-
- H—ELECTRICITY
- H01—ELECTRIC ELEMENTS
- H01F—MAGNETS; INDUCTANCES; TRANSFORMERS; SELECTION OF MATERIALS FOR THEIR MAGNETIC PROPERTIES
- H01F27/00—Details of transformers or inductances, in general
- H01F27/02—Casings
-
- H—ELECTRICITY
- H05—ELECTRIC TECHNIQUES NOT OTHERWISE PROVIDED FOR
- H05K—PRINTED CIRCUITS; CASINGS OR CONSTRUCTIONAL DETAILS OF ELECTRIC APPARATUS; MANUFACTURE OF ASSEMBLAGES OF ELECTRICAL COMPONENTS
- H05K5/00—Casings, cabinets or drawers for electric apparatus
- H05K5/02—Details
- H05K5/0204—Mounting supporting structures on the outside of casings
-
- H—ELECTRICITY
- H05—ELECTRIC TECHNIQUES NOT OTHERWISE PROVIDED FOR
- H05K—PRINTED CIRCUITS; CASINGS OR CONSTRUCTIONAL DETAILS OF ELECTRIC APPARATUS; MANUFACTURE OF ASSEMBLAGES OF ELECTRICAL COMPONENTS
- H05K7/00—Constructional details common to different types of electric apparatus
- H05K7/14—Mounting supporting structure in casing or on frame or rack
Landscapes
- Engineering & Computer Science (AREA)
- Microelectronics & Electronic Packaging (AREA)
- Power Engineering (AREA)
- Housings And Mounting Of Transformers (AREA)
Abstract
본 발명은 변압기(10)의 외부를 감싸도록 설치되는 변압기 보호 케이스에 있어서, 상기 변압기 보호 케이스는 한 쌍의 커버로 이루어지되, 상기 커버는 반원형의 변압기 수용부를 구비하는 몸체와, 상기 몸체 상부에 변압기 수용부와 연통 되도록 형성되는 애자 수용부와, 상기 몸체 상부에 변압기의 걸이구가 외부로 노출될 수 있도록 천공된 통공과, 상기 몸체 양 측단에 형성된 결합부로 구성됨을 특징으로 하는 변압기 보호 케이스를 제공하기 위한 것으로, 본 발명은 중량물인 변압기를 크레인으로 들어올리는 것은 가능하면서도 변압기의 외주면을 충격을 완충하면서 피복을 보호할 수 있는 케이스로 감싸는 구조여서 변압기의 부품이 다른 물체에, 또는 한꺼번에 들어올린 변압기끼리 서로 부딪쳐 손상되는 것을 방지하는 효과를 갖는다.
또 본 발명은 애자를 보호할 수 있도록 케이스에 애자 수용부를 형성하되, 상기 애자 수용부는 사각형상을 갖도록 하여 작업자들이 애자를 축으로 변압기를 굴리는 것을 원천적으로 방지할 수 있도록 함으로써 애자의 손상 방지는 물론 변압기 하단 가장자리의 피복이 벗겨지는 것을 방지하여 변압기의 내구성을 향상시킬 수 있는 매우 유용한 발명인 것이다.The present invention is a transformer protection case installed to surround the outside of the transformer 10, the transformer protection case is made of a pair of covers, the cover is a body having a semi-circular transformer receiving portion, and the upper portion of the body A transformer protection case comprising a insulator receiving portion formed to communicate with the transformer receiving portion, a through hole perforated to expose the hook of the transformer to the outside, and coupling portions formed at both ends of the body; The present invention is to provide a crane that can lift the heavy transformer by a crane, but the structure surrounding the transformer's outer circumference in a case that can protect the cover while cushioning the impact so that the components of the transformer lifted to other objects, or at the same time Transformers have an effect of preventing damage to each other.
In addition, the present invention is to form the insulator receiving portion in the case to protect the insulator, the insulator accommodating portion to have a rectangular shape so that workers can prevent the insulator damage by inherently preventing the insulator to roll the transformer in the axis of course It is a very useful invention that can improve the durability of the transformer by preventing the covering of the bottom edge of the transformer to peel off.
Description
본 발명은 변압기 보호 케이스에 관한 것으로, 보다 상세하게는 외부의 충격으로부터 변압기의 주요 부품 및 피복의 손상을 방지하기 위한 변압기 보호 케이스에 관한 것이다.The present invention relates to a transformer protection case, and more particularly to a transformer protection case for preventing damage to the main parts and the cover of the transformer from external impact.
일반적으로, 변압기는 전자기유도현상을 이용하여 교류의 전압이나 전류의 값을 변화시키는 장치이다.In general, a transformer is a device that changes the value of alternating voltage or current by using electromagnetic induction.
그리고, 낮은 전압을 사용하게 되는 가정용 전기 및 전자 기구에서는 고압을 저압으로 낮추는 변압기가 설치되는바, 통상 변압기는 교류 전압을 받아 전자유도작용에 의해 전압 및 전류를 가변하게 되고, 동일한 주파수의 전압 및 전류를 출력하게 된다.In addition, in home electric and electronic appliances that use a low voltage, a transformer for lowering a high voltage to a low pressure is installed. In general, a transformer receives an alternating voltage and varies a voltage and a current by an electromagnetic induction action. Will output a current.
도 1에 도시된 바와 같은 일반적으로 이용되고 있는 변압기(10)는 그의 외관에 구비된 주요 구성요소로서, 변압기(10) 내부로 고압이 전송되도록 하고 그 고압이 저압으로 변환되어 출력되도록 하는 전선 연결부(11)와, 송전선이나 전기기기의 나선(裸線) 부분을 절연하고 동시에 기계적으로 유지 또는 지지하기 위하여 사용되는 절연체인 애자(12)와, 상기 변압기(10)를 크레인과 같은 이동기구로 들어올려서 이동시킬 수 있도록 하는 걸이구(13)로 이루어진다.
그러나, 상기와 같은 변압기(10)는 그 상태로 외부에 노출되어 있기 때문에, 다른 물체로부터 온 충격에 의해 손상되거나, 비나 눈 등에 의해 외관이, 특히 손상된 부분에 녹이 슬게 되는 경우가 종종 발생하여 빈번한 교체 등의 영구성에 있어서 문제점을 안고 있다.However, since the
그리고, 통상적인 변압기는 다양한 형태의 중량물(重量物)이어서 이를 이동시키고자 할 경우에는 걸이구(13)에 로프를 걸어서 크레인으로 하나 또는 다수 개를 한꺼번에 들어올려 차량 등에 실어 이동한다.And, the conventional transformer is a heavy object of various forms (heavy weighing objects), if you want to move it by hanging the rope on the hook (13) to lift one or more at a time with a crane and carry it on a vehicle.
상기와 같이 로프를 통한 크레인으로 들어올려 이동시킬 때에는 전선 연결부(11)가 다른 물체에 부딪히거나 다수 개가 한꺼번에 들린 상태로 변압기(10)끼리 서로 부딪혀 전선연결부 및 애자와 같은 부품이 손상되거나 피복이 벗겨져 쉬 녹이 슬게 되는 등의 문제점이 발생하게 된다.As described above, when lifting and moving by a crane through a rope, the
또한 변압기를 단거리 이동시에는 대개 작업자들이 변압기(10)의 애자(12)를 손으로 잡고 기울인 다음 애자(12)를 축으로 변압기(10)를 하단 가장자리로 굴려 이동하기도 하는데, 이 경우 변압기(10)의 하중에 모두 애자(12)에 전달되어 변압기(10)와 애자(12) 사이의 연결부가 쉬 손상될 뿐만 아니라, 땅과 접촉하여 구른 변압기(10)의 하단 가장자리가 손상되거나 피복이 벗겨지는 등의 문제점을 갖는 것이다.
In addition, when the transformer is moved in a short distance, workers usually hold the
상기한 바와 같은 문제점을 해결하기 위한 본 발명의 목적은 중량물인 변압기를 크레인으로 들어올리는 것은 가능하되 변압기의 이동 및 들어올리는 작업시 변압기의 부품이 다른 물체 또는 변압기끼리 서로 부딪쳐 손상되거나 피복이 벗겨지는 것을 방지하기 위한 변압기 보호 케이스를 제공하는 데에 있다.
An object of the present invention for solving the problems as described above is to lift the heavy transformer with a crane, but the components of the transformer during the movement and lifting of the transformer is damaged or peeled off by bumping the other objects or transformers with each other. It is to provide a transformer protective case to prevent the damage.
상기한 바와 같은 목적을 성취하기 위한 본 발명은 변압기의 외부를 감싸도록 설치되는 변압기 보호 케이스에 있어서, 상기 변압기 보호 케이스는 한 쌍의 커버로 이루어지되, 상기 커버는 반원형의 변압기 수용부를 구비하는 몸체와, 상기 몸체 상부에 변압기 수용부와 연통 되도록 형성되는 애자 수용부와, 상기 몸체 상부에 변압기의 걸이구가 외부로 노출될 수 있도록 천공된 통공과, 상기 몸체 양측단에 결합수단으로 결합하기 위한 결합부로 이루어진다.The present invention for achieving the object as described above in the transformer protection case is installed to surround the outside of the transformer, the transformer protection case is made of a pair of covers, the cover is a body having a semi-circular transformer receiving portion And, the insulator receiving portion is formed to communicate with the transformer receiving portion on the upper body, the through hole perforated so that the hook opening of the transformer on the upper body and the coupling means for coupling to both ends of the body It consists of a coupling part.
또한 본 발명은 작업자가 변압기를 굴려서 이동하지 못하도록 애자 수용부가 사각형상 오목홈으로 이루어짐을 특징으로 한다.
In another aspect, the present invention is characterized in that the insulator receiving portion is made of a rectangular concave groove so that the operator can not move by rolling the transformer.
이처럼 본 발명은 중량물인 변압기를 크레인으로 들어올리는 것은 가능하면서도 변압기의 외주면을 충격을 완충하면서 피복을 보호할 수 있는 케이스로 감싸는 구조여서 변압기의 부품이 다른 물체에, 또는 한꺼번에 들어올린 변압기끼리 서로 부딪쳐 손상되는 것을 방지하는 효과를 갖는다.As described above, the present invention is capable of lifting a heavy transformer by a crane, but enclosing the outer circumferential surface of the transformer in a case that can protect the cover while cushioning the shock, so that the components of the transformer collide with each other or with the transformers lifted at once. Has the effect of preventing damage.
또 본 발명은 애자를 보호할 수 있도록 케이스에 애자 수용부를 형성하되, 상기 애자 수용부는 사각형상을 갖도록 하여 작업자들이 애자를 축으로 변압기를 굴리는 것을 원천적으로 방지할 수 있도록 함으로써 애자의 손상 방지는 물론 변압기 하단 가장자리의 피복이 벗겨지는 것을 방지하여 변압기의 내구성을 향상시킬 수 있는 매우 유용한 발명인 것이다.
In addition, the present invention is to form the insulator receiving portion in the case to protect the insulator, the insulator accommodating portion to have a rectangular shape so that workers can prevent the insulator damage by inherently preventing the insulator to roll the transformer in the axis of course It is a very useful invention that can improve the durability of the transformer by preventing the covering of the bottom edge of the transformer to peel off.
도 1은 일반적인 변압기를 보인 개략사시도.
도 2는 본 발명의 실시예에 따른 변압기 보호 케이스를 보인 분해사시도.
도 3은 본 발명의 실시예에 따른 케이스가 변압기에 결합된 상태를 보인 결합사시도.
도 4는 도 3의 V-V에 대한 절단단면도.
도 5는 도 3의 평면도.
도 6은 본 발명의 실시예에 따른 케이스가 결합된 변압기를 들어올리는 크레인의 로프가 결합된 상태를 보인 단면도.
도 7은 본 발명의 실시예에 따른 다른 형태의 변압기 보호 케이스를 보인 분해사시도.
도 8은 도 7의 케이스가 변압기에 결합된 상태를 보인 사시도.1 is a schematic perspective view showing a typical transformer.
Figure 2 is an exploded perspective view showing a transformer protective case according to an embodiment of the present invention.
Figure 3 is a perspective view showing a state in which the case is coupled to the transformer according to an embodiment of the present invention.
4 is a cut cross-sectional view of the VV of FIG.
Figure 5 is a plan view of Figure 3;
Figure 6 is a cross-sectional view showing a coupled state of the rope of the crane lifting the transformer coupled case according to an embodiment of the present invention.
Figure 7 is an exploded perspective view showing another type of transformer protective case according to an embodiment of the present invention.
8 is a perspective view illustrating a case in which the case of FIG. 7 is coupled to a transformer;
이하, 본 발명에 따른 변압기 보호 케이스에 대한 바람직한 실시예에 대하여 첨부된 도면들을 참고로 하여 상세히 설명한다.Hereinafter, a preferred embodiment of a transformer protection case according to the present invention will be described in detail with reference to the accompanying drawings.
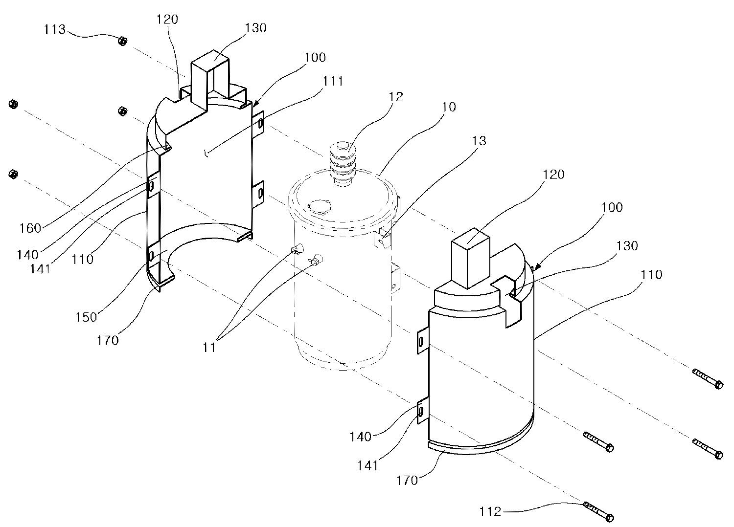
도 2는 본 발명의 실시예에 따른 변압기 보호 케이스를 보인 분해사시도이고, 도 3은 본 발명의 실시예에 따른 케이스가 변압기에 결합된 상태를 보인 결합사시도이고, 도 4는 도 3의V-V에 대한 절단단면도이고, 도 5는 도 3의 평면도이고, 도 6은 본 발명의 실시예에 따른 케이스가 결합된 변압기를 들어올리는 크레인의 로프가 결합된 상태를 보인 단면도이고, 도 7은 본 발명의 실시예에 따른 다른 형태의 변압기 보호 케이스를 보인 분해사시도이며, 도 8은 도 7의 케이스가 변압기에 결합된 상태를 보인 사시도이다.Figure 2 is an exploded perspective view showing a transformer protection case according to an embodiment of the present invention, Figure 3 is a perspective view showing a state in which the case is coupled to the transformer according to an embodiment of the present invention, Figure 4 is a VV of FIG. 5 is a plan view of Figure 3, Figure 6 is a cross-sectional view showing a coupled state of the rope of the crane lifting the transformer coupled case according to an embodiment of the present invention, Figure 7 is a view of the present invention FIG. 8 is an exploded perspective view showing another type of transformer protection case according to an embodiment, and FIG. 8 is a perspective view illustrating a case in which the case of FIG. 7 is coupled to a transformer.
도 2에 도시된 바와 같이, 본 발명의 실시예에 따른 변압기(10)의 외부를 감싸도록 설치되어서 보호하기 위한 변압기 보호 케이스는, 변압기(10)가 다양한 형태(도 2 및 도 7 참조)를 이루고 있지만 가장 기본적인 형태를 바탕으로 하여 제조되었다. As shown in FIG. 2, the transformer protection case for protecting the
상기와 같은 케이스는 동일한 형상을 하고 있는 변압기 수용부(111)를 구비하는 두 개의 커버(100)가 한 쌍이 되도록 이루어져서, 도 3에 도시된 바와 같이 변압기(10)를 변압기 수용부(111)에 내장되도록 감싼 후 커버(100)의 양측단에 형성된 결합부(140)가 볼트(112) 및 너트(113) 등의 결합수단에 의해 결합되어진다.The case as described above is made of a pair of two
이때, 상기 변압기 수용부(111)는 단면이 반원형이 바람직하다. 이는 변압기의 단면형상이 원형이기 때문이다.At this time, the
상기와 같이 변압기(10)의 외관 및 그에 장착된 부품들의 손상을 방지하기 위해 장착되는 커버(100)는 몸체(110), 애자 수용부(120), 통공(130) 및 결합부(140)를 구성하고 있다. As described above, the
상기 몸체(110)는 그의 형상이 변압기(10) 외곽(外廓)의 형상과 동일한 형태로 이루어짐에 따라서, 변압기(10)의 양측이 수용(도 5 참조)되도록 외향으로 굴곡진 변압기 수용부(111)가 구비된다. 상기 몸체(110)의 상단에는 변압기의 상부에 돌출된 애자가 내장될 수 있도록 오목하게 애자 수용부(120)가 형성된다. 상기 애자 수용부(120)는 몸체(110)와 일체형으로 형성되고, 사각(四角)의 형태를 갖는 것이 바람직하다. The
이는 상기 애자 수용부(120)가 사각형상일 경우 애자를 축으로 변압기를 회전시키는 것이 곤란하기 때문에 작업자들이 변압기를 회전시켜 이동하는 것을 방지하게 된다.This prevents workers from moving by rotating the transformer because it is difficult to rotate the transformer around the insulator axis when the
상기 몸체(110)의 상부 양측에는 통공(130)을 형성해야 하는데, 상기 통공(130)은 두 개의 커버(100)가 결합될 때 변압기(10)의 상부 양측에 구비된 걸이구(13)가 커버(100)의 외부로 노출되도록 하기 위한 것이다.The upper side of the
즉 걸이구(13)는 변압기(10)를 장거리로 이동시키고자 할 경우 로프(14)를 걸어 크레인으로 들어올리기 위한 수단으로 상기 걸이구(13)가 커버(100) 외부로 노출되지 않으면 변압기를 들어올릴 수 없기 때문이다.That is, the
이때 상기 통공(130)의 크기는 로프(14)를 걸어 크레인으로 들어올리는 데 방해되지 않을 정도로 최소화하는게 바람직하다. 이는 변압기의 다른 부분은 손상 및 피복 벗겨짐 방지를 위해 최대한으로 감싸 보호해야 하기 때문이다.At this time, the size of the
상기 결합부(140)는 도 2 및 도 3에 도시된 바와 같이, 몸체(110)의 양측에 다수 개 구비되되 볼트(112)가 결합공(141)으로 삽통되어 너트(113)와 체결되어서 두 개의 커버(100)가 결합되게 하는 역할을 한다.2 and 3, the
여기서, 상기 볼트(112)는 두 개의 커버(100)가 소정의 간격으로 이격된 상태에서 결합 되도록 하기 위한 것으로, 이는 변압기(10)의 외부 직경이 변압기 종류에 따라 모두 다르기 때문에 이를 감안하여 간격을 조절할 수 있도록 한다.Here, the
상기 지지턱(150)은 도 2 및 도 3에 도시된 바와 같이, 몸체(110)의 하단부에 구비되어서 변압기(10)의 몸통 하단부에 밀착되도록 함으로써 커버(100)의 하단부가 나풀거리는 것을 방지하고, 다수개의 변압기들이 들어올려지면서 서로 부딪칠 때 커버(100)를 지탱하여 커버(100) 내부의 변압기 부품의 손상을 방지하고, 피복의 벗겨짐 등을 방지하게 된다.2 and 3, the
여기서, 상기 받침대(170)는 도 2에 도시된 바와 같이 일측이 지지턱(150)과 일체로 이루어지고 타측이 지지턱(150)과 소정의 간격을 두고 결합되어서 변압기(10)가 바닥에 안착될 때 충격을 받지 않도록 탄성작용을 제공하는 역할을 하기도 하며, 변압기의 하단 가장자리를 감싸 보호하는 기능을 가질 수도 있다.Here, as shown in FIG. 2, the
또 몸체(110)의 상부에는, 도 2에 도시된 바와 같이, 상하유동방지턱(160)을 구비할 수도 있는데, 상기 상하유동방지턱(160)은, 상기 변압기(10)가 몸체(110)의 변압기 수용부(111)에 수용되고 난 다음에 상하방향으로 유동하지 않도록 밀착하여 결합되게 하는 역할을 한다. 즉 변압기(10)의 뚜껑과 걸이구(13) 사이에 걸려 커버(100)가 상하로 움직이는 것을 방지하게 된다.In addition, the upper portion of the
여기서, 상기 변압기(10)를 보호하기 위한 본 발명에 따른 케이스는 어느 한 형태로 국한되지 않고, 도 7 및 도 8에 도시된 바와 같이, 변압기(10)의 외관 형상에 따라서 다양한 형태로 변형되게 제조될 수 있다.
Here, the case according to the present invention for protecting the
이처럼 상기한 구성을 갖는 본 발명이 비록 한정된 실시예에 의해 설명되었으나, 본 발명은 이것에 의해 한정되지 않으며 본 발명이 속하는 기술분야에서 통상의 지식을 가진 자에 의해 본 발명의 기술사상과 아래에 기재될 특허청구범위의 균등범위 내에서 다양한 수정 및 변형이 가능하다 할 것이다.
Although the present invention having the above-described configuration has been described by means of a limited embodiment, the present invention is not limited by this and the technical spirit of the present invention and the following by those skilled in the art to which the present invention pertains. Various modifications and variations will be possible within the scope of the appended claims.
10: 변압기 11: 전선 연결부
12: 애자 13: 걸이구
14: 로프
100: 커버 110: 몸체
111: 변압기 수용부 112: 볼트
113: 너트 120: 애자 수용부
130: 통공 140: 결합부
141: 결합공 150: 지지턱
160: 상하유동방지턱 170: 받침대10: transformer 11: wire connection
12: Ins 13: Hanging
14: rope
100: cover 110: body
111: transformer housing 112: bolt
113: nut 120: insulator
130: through hole 140: coupling portion
141: coupling hole 150: support jaw
160: vertical flow prevention jaw 170: pedestal
Claims (4)
상기 변압기 보호 케이스는 한 쌍의 커버로 이루어지되, 상기 커버는 반원형의 변압기 수용부를 구비하는 몸체와,
상기 몸체 상부에 변압기 수용부와 연통 되도록 형성되는 애자 수용부와,
상기 몸체 상부에 변압기의 걸이구가 외부로 노출될 수 있도록 천공된 통공과,
상기 몸체 양 측단에 형성된 결합부로 구성됨을 특징으로 하는 변압기 보호 케이스.
In the transformer protection case installed to surround the outside of the transformer 10,
The transformer protective case is composed of a pair of covers, the cover is a body having a semi-circular transformer receiving portion;
An insulator receiving portion formed to communicate with a transformer receiving portion on the body;
A perforated hole to expose the hook hole of the transformer to the outside of the body;
Transformer protection case, characterized in that consisting of the coupling portion formed on both side ends of the body.
The transformer protection case according to claim 1, wherein the insulator portion comprises a rectangular concave groove.
The transformer protection case according to claim 1, wherein the lower end of the body (110) is provided with a supporting jaw (150) supporting the lower end of the transformer (10).
The transformer protection case according to claim 1, wherein the upper and lower flow preventing jaws (160) are provided on the upper portion of the body (110) to prevent the transformer (10) from flowing upward and downward.
Priority Applications (1)
| Application Number | Priority Date | Filing Date | Title |
|---|---|---|---|
| KR1020110094089A KR101210503B1 (en) | 2011-09-19 | 2011-09-19 | Case for protecting transformer |
Applications Claiming Priority (1)
| Application Number | Priority Date | Filing Date | Title |
|---|---|---|---|
| KR1020110094089A KR101210503B1 (en) | 2011-09-19 | 2011-09-19 | Case for protecting transformer |
Publications (1)
| Publication Number | Publication Date |
|---|---|
| KR101210503B1 true KR101210503B1 (en) | 2012-12-11 |
Family
ID=47907309
Family Applications (1)
| Application Number | Title | Priority Date | Filing Date |
|---|---|---|---|
| KR1020110094089A Expired - Fee Related KR101210503B1 (en) | 2011-09-19 | 2011-09-19 | Case for protecting transformer |
Country Status (1)
| Country | Link |
|---|---|
| KR (1) | KR101210503B1 (en) |
Cited By (4)
| Publication number | Priority date | Publication date | Assignee | Title |
|---|---|---|---|---|
| CN106409472A (en) * | 2016-11-18 | 2017-02-15 | 凌卫康 | Transformer protective device |
| KR102194834B1 (en) * | 2019-10-15 | 2020-12-23 | 한국전력공사 | Insulating cover for live line work of pole transformer |
| KR102522977B1 (en) | 2023-02-24 | 2023-04-19 | 한국에너지산업기술 주식회사 | Protection cover for hanger bracket |
| KR200497997Y1 (en) | 2023-09-15 | 2024-05-17 | 한국에너지산업기술 주식회사 | Protection cover for hanger bracket |
Citations (3)
| Publication number | Priority date | Publication date | Assignee | Title |
|---|---|---|---|---|
| US6683249B1 (en) | 2002-08-05 | 2004-01-27 | Paula A. Leppin | Transformer assembly and transformer cover |
| KR100668877B1 (en) | 2005-08-18 | 2007-01-12 | 동미전기공업(주) | SF6 BAS Insulated Pole Transformer |
| KR100954064B1 (en) | 2009-09-18 | 2010-04-20 | 박광현 | Submersible transformer for a case |
-
2011
- 2011-09-19 KR KR1020110094089A patent/KR101210503B1/en not_active Expired - Fee Related
Patent Citations (3)
| Publication number | Priority date | Publication date | Assignee | Title |
|---|---|---|---|---|
| US6683249B1 (en) | 2002-08-05 | 2004-01-27 | Paula A. Leppin | Transformer assembly and transformer cover |
| KR100668877B1 (en) | 2005-08-18 | 2007-01-12 | 동미전기공업(주) | SF6 BAS Insulated Pole Transformer |
| KR100954064B1 (en) | 2009-09-18 | 2010-04-20 | 박광현 | Submersible transformer for a case |
Cited By (4)
| Publication number | Priority date | Publication date | Assignee | Title |
|---|---|---|---|---|
| CN106409472A (en) * | 2016-11-18 | 2017-02-15 | 凌卫康 | Transformer protective device |
| KR102194834B1 (en) * | 2019-10-15 | 2020-12-23 | 한국전력공사 | Insulating cover for live line work of pole transformer |
| KR102522977B1 (en) | 2023-02-24 | 2023-04-19 | 한국에너지산업기술 주식회사 | Protection cover for hanger bracket |
| KR200497997Y1 (en) | 2023-09-15 | 2024-05-17 | 한국에너지산업기술 주식회사 | Protection cover for hanger bracket |
Similar Documents
| Publication | Publication Date | Title |
|---|---|---|
| KR101210503B1 (en) | Case for protecting transformer | |
| CN104782610B (en) | Tipping bucket type bird repelling device | |
| KR101777379B1 (en) | Assistance Arm For Aerial Power Distribution Line | |
| US20120255920A1 (en) | Electrical equipment mounting frame | |
| KR102553328B1 (en) | Overhead Distribution Line Supporting Equipment | |
| US11759663B1 (en) | Bucket hook with tether hole | |
| CN204579650U (en) | Tipping bucket type scarer | |
| JP2012005376A (en) | Device for preventing bird damage | |
| KR100890063B1 (en) | Pole for supporting overhead line | |
| AU2024204499A1 (en) | Device and method for handling cross arms | |
| CA2810109C (en) | Apparatus and method for remotely blocking a cavity of a component of an energized electrical transmission system | |
| CN109921331A (en) | A kind of distribution line Bird's Nest dismounting device | |
| CN104078881A (en) | Special tool for charged replacement of intermediate phase tension insulator | |
| KR20140002916U (en) | Device for opening manhole cover | |
| JP6344778B2 (en) | Material attachment unit for overhead wire bypass construction and carriage for transporting material attachment unit for overhead wire bypass construction | |
| KR20140047421A (en) | Hanger for electric wire | |
| KR101744221B1 (en) | Latch safety device for transformer live wire in pillar for supply of electric power for period | |
| JPS6331316Y2 (en) | ||
| CN203839733U (en) | Rat-proof switch cabinet | |
| GB2071975A (en) | Device for protecting blooms | |
| JP2018085939A (en) | Nest building prevention tool | |
| KR102702880B1 (en) | Artificial nest for telegraph pole | |
| EP2452913A1 (en) | Apparatus for manual lifting and moving of loads around and near the earth base, in particular well covers or manhole covers | |
| KR102557487B1 (en) | Supporting Equipment For Overhead Distribution Line | |
| CN217999139U (en) | Platform device and iron tower equipment with same |
Legal Events
| Date | Code | Title | Description |
|---|---|---|---|
| A201 | Request for examination | ||
| PA0109 | Patent application |
St.27 status event code: A-0-1-A10-A12-nap-PA0109 |
|
| PA0201 | Request for examination |
St.27 status event code: A-1-2-D10-D11-exm-PA0201 |
|
| A302 | Request for accelerated examination | ||
| PA0302 | Request for accelerated examination |
St.27 status event code: A-1-2-D10-D17-exm-PA0302 St.27 status event code: A-1-2-D10-D16-exm-PA0302 |
|
| D13-X000 | Search requested |
St.27 status event code: A-1-2-D10-D13-srh-X000 |
|
| D14-X000 | Search report completed |
St.27 status event code: A-1-2-D10-D14-srh-X000 |
|
| E701 | Decision to grant or registration of patent right | ||
| PE0701 | Decision of registration |
St.27 status event code: A-1-2-D10-D22-exm-PE0701 |
|
| GRNT | Written decision to grant | ||
| PR0701 | Registration of establishment |
St.27 status event code: A-2-4-F10-F11-exm-PR0701 |
|
| PR1002 | Payment of registration fee |
St.27 status event code: A-2-2-U10-U11-oth-PR1002 Fee payment year number: 1 |
|
| PG1601 | Publication of registration |
St.27 status event code: A-4-4-Q10-Q13-nap-PG1601 |
|
| R18-X000 | Changes to party contact information recorded |
St.27 status event code: A-5-5-R10-R18-oth-X000 |
|
| R18-X000 | Changes to party contact information recorded |
St.27 status event code: A-5-5-R10-R18-oth-X000 |
|
| LAPS | Lapse due to unpaid annual fee | ||
| PC1903 | Unpaid annual fee |
St.27 status event code: A-4-4-U10-U13-oth-PC1903 Not in force date: 20151205 Payment event data comment text: Termination Category : DEFAULT_OF_REGISTRATION_FEE |
|
| P22-X000 | Classification modified |
St.27 status event code: A-4-4-P10-P22-nap-X000 |
|
| PC1903 | Unpaid annual fee |
St.27 status event code: N-4-6-H10-H13-oth-PC1903 Ip right cessation event data comment text: Termination Category : DEFAULT_OF_REGISTRATION_FEE Not in force date: 20151205 |
|
| R18-X000 | Changes to party contact information recorded |
St.27 status event code: A-5-5-R10-R18-oth-X000 |
|
| R18-X000 | Changes to party contact information recorded |
St.27 status event code: A-5-5-R10-R18-oth-X000 |
|
| R18-X000 | Changes to party contact information recorded |
St.27 status event code: A-5-5-R10-R18-oth-X000 |
|
| R18-X000 | Changes to party contact information recorded |
St.27 status event code: A-5-5-R10-R18-oth-X000 |
|
| R18-X000 | Changes to party contact information recorded |
St.27 status event code: A-5-5-R10-R18-oth-X000 |
|
| R18-X000 | Changes to party contact information recorded |
St.27 status event code: A-5-5-R10-R18-oth-X000 |
|
| R18-X000 | Changes to party contact information recorded |
St.27 status event code: A-5-5-R10-R18-oth-X000 |
|
| R18-X000 | Changes to party contact information recorded |
St.27 status event code: A-5-5-R10-R18-oth-X000 |
