KR101206502B1 - 배터리 및 페달 구동용 접이식 자전거 - Google Patents

배터리 및 페달 구동용 접이식 자전거 Download PDF

Info

Publication number
KR101206502B1
KR101206502B1 KR1020100072068A KR20100072068A KR101206502B1 KR 101206502 B1 KR101206502 B1 KR 101206502B1 KR 1020100072068 A KR1020100072068 A KR 1020100072068A KR 20100072068 A KR20100072068 A KR 20100072068A KR 101206502 B1 KR101206502 B1 KR 101206502B1
Authority
KR
South Korea
Prior art keywords
shaft
bicycle
handle
saddle
chassis
Prior art date
Legal status (The legal status is an assumption and is not a legal conclusion. Google has not performed a legal analysis and makes no representation as to the accuracy of the status listed.)
Expired - Fee Related
Application number
KR1020100072068A
Other languages
English (en)
Other versions
KR20120010487A (ko
Inventor
김미나
Original Assignee
김미나
Priority date (The priority date is an assumption and is not a legal conclusion. Google has not performed a legal analysis and makes no representation as to the accuracy of the date listed.)
Filing date
Publication date
Application filed by 김미나 filed Critical 김미나
Priority to KR1020100072068A priority Critical patent/KR101206502B1/ko
Publication of KR20120010487A publication Critical patent/KR20120010487A/ko
Application granted granted Critical
Publication of KR101206502B1 publication Critical patent/KR101206502B1/ko
Expired - Fee Related legal-status Critical Current
Anticipated expiration legal-status Critical

Links

Images

Classifications

    • BPERFORMING OPERATIONS; TRANSPORTING
    • B62LAND VEHICLES FOR TRAVELLING OTHERWISE THAN ON RAILS
    • B62KCYCLES; CYCLE FRAMES; CYCLE STEERING DEVICES; RIDER-OPERATED TERMINAL CONTROLS SPECIALLY ADAPTED FOR CYCLES; CYCLE AXLE SUSPENSIONS; CYCLE SIDE-CARS, FORECARS, OR THE LIKE
    • B62K15/00Collapsible or foldable cycles
    • B62K15/006Collapsible or foldable cycles the frame being foldable
    • B62K15/008Collapsible or foldable cycles the frame being foldable foldable about 2 or more axes
    • BPERFORMING OPERATIONS; TRANSPORTING
    • B62LAND VEHICLES FOR TRAVELLING OTHERWISE THAN ON RAILS
    • B62KCYCLES; CYCLE FRAMES; CYCLE STEERING DEVICES; RIDER-OPERATED TERMINAL CONTROLS SPECIALLY ADAPTED FOR CYCLES; CYCLE AXLE SUSPENSIONS; CYCLE SIDE-CARS, FORECARS, OR THE LIKE
    • B62K19/00Cycle frames
    • B62K19/30Frame parts shaped to receive other cycle parts or accessories
    • B62K19/36Frame parts shaped to receive other cycle parts or accessories for attaching saddle pillars, e.g. adjustable during ride
    • BPERFORMING OPERATIONS; TRANSPORTING
    • B62LAND VEHICLES FOR TRAVELLING OTHERWISE THAN ON RAILS
    • B62KCYCLES; CYCLE FRAMES; CYCLE STEERING DEVICES; RIDER-OPERATED TERMINAL CONTROLS SPECIALLY ADAPTED FOR CYCLES; CYCLE AXLE SUSPENSIONS; CYCLE SIDE-CARS, FORECARS, OR THE LIKE
    • B62K21/00Steering devices
    • B62K21/12Handlebars; Handlebar stems
    • B62K21/16Handlebars; Handlebar stems having adjustable parts therein
    • BPERFORMING OPERATIONS; TRANSPORTING
    • B62LAND VEHICLES FOR TRAVELLING OTHERWISE THAN ON RAILS
    • B62MRIDER PROPULSION OF WHEELED VEHICLES OR SLEDGES; POWERED PROPULSION OF SLEDGES OR SINGLE-TRACK CYCLES; TRANSMISSIONS SPECIALLY ADAPTED FOR SUCH VEHICLES
    • B62M6/00Rider propulsion of wheeled vehicles with additional source of power, e.g. combustion engine or electric motor
    • B62M6/80Accessories, e.g. power sources; Arrangements thereof
    • B62M6/90Batteries

Landscapes

  • Engineering & Computer Science (AREA)
  • Mechanical Engineering (AREA)
  • Chemical & Material Sciences (AREA)
  • Combustion & Propulsion (AREA)
  • Transportation (AREA)
  • Motorcycle And Bicycle Frame (AREA)

Abstract

본 발명은 이동수단과 유희용으로 사용할 수 있도록 된 접이식 자전거에 관한 것으로서, 더욱 상세하게는 핸들을 양측으로 접을 수 있 도록 중앙부에 설치된 핸들절첩 브라켓과, 자전거의 앞 차대와 뒷 차대를 연결하고 상부에 손잡이가 형성되며 양측 축상에 페달이 형성된 차대 연결부재와, 상기 차대연결부재 중앙부에 설치되어 안장의 높이를 조절하고, 자전거를 접을 수 있도록 해정 기능을 갖는 안장축 및 안장축 신축레버와, 자전거 뒷바퀴 축 일측에 설치되어 자전거 받침대를 다각으로 조절할 수 있도록 다수의 요홈을 갖는 받침대 브라켓과, 자전거의 구륜을 전기 동력에 의해 이루어질 수 있도록 뒤 차대 일측에 설치되며, 필요에 따라서 착탈 할 수 있도록 된 배터리를 포함하는 구성으로 이루어진다. 이와 같이 된 본 발명은 자전거를 운행하기 위한 동력을 수동으로 구륜하는 페달과 전기 구동수단인 배터리를 이용하여 선택적으로 운행할 수 있도록 하며, 자전거를 휴대 및 보관시에는 최소의 부피로 접을 수 있도록 하여 승용차에 간단 용이하게 적재함은 물론 버스, 전철 등의 대중교통 이용시 주변사람에게 불편을 주지 않고 안전하게 휴대할 수 있도록 함으로서 거리와 장소의 제한을 받지 않고 자유롭게 이용할 수 있도록 함을 목적으로 한 배터리 및 페달 구동용 접이식 자전거에 관한 것이다.

Description

배터리 및 페달 구동용 접이식 자전거{The folding bicycle use drive pedal and battery}
본 발명은 이동수단과 유희용으로 사용할 수 있도록 된 접이식 자전거에 관한 것으로서, 더욱 상세하게는 자전거의 구륜을 페달과 배터리를 이용하여 동력을 선택적으로 운행할 수 있도록 하며, 휴대 및 보관시에는 최소의 부피로 접을 수 있도록 하여 승용차에 간단 용이하게 적재함은 물론 버스, 전철 등의 대중교통 이용시 주변사람에게 불편을 주지 않고 안전하게 휴대할 수 있도록 한 배터리 및 페달 구동용 접이식 자전거에 관한 것이다.
최근에는 국민들의 생활 수준이 높아짐에 따라 통상의 자전거보다는 유희용 자전거와 헬스용 자전거 및 이동수단으로 사용할 수 있는 자전거가 선호되고 있는 실정이다. 따라서, 단순히 접이식 자전거보다는 이동수단의 편리성과 휴대성이 간편하게 이루어진 것을 요구하고 있으나, 현재 시중에 유통되고 있는 자전거는 차대를 반으로 접거나 차대와 핸들을 접는 구조이므로 자전거를 접는데 한계가 있어 대중교통을 이용하면서 자전거도 동시에 사용하기에는 많은 불편한 문제점이 있다.
또한, 이 분야의 선행기술을 살펴보면, 공개실용신안공보 제1999-0022234호(선행기술이라함)의 "접는자전거"는 스팀(7) 중간을 고정가능한 힌지(8)로 연결하여 핸들(10)이 상하로 접히고, 크로스 바(3)를 고정가능한 힌지(4)로 연결하여 앞바퀴(6)가 좌우로 접히며, 시트 포스트(16)가 시트 튜브(1) 내에 고정가능하게 끼워져 안장(12)의 높이를 조절할 수 있도록 한 자전거에 있어서, 뒷바퀴(9)가 상하로 접힐 수 있도록 상기 시트 튜브(1)의 중간을 고정가능한 힌지(13)로 연결하고, 접혀지는 뒷바퀴(9)가 지면으로부터 떠서 지지될 수 있도록 상기 시트 튜브(1)와 뒷바퀴축(14) 사이에 설치되는 짐받이(11)의 후단을 길게 형성하며, 뒷바퀴(9)가 접혔을 때 하방으로 접으면 그 단부가 상기 시트 튜브(1) 중간의 힌지(13)를 관통하여 짐받이(11) 외면에 닿을 수 있도록 상기 시트 포스트(16)의 길이를 길게 형성하고 상기 시트 튜브(1)의 힌지(13) 중 윗쪽의 힌지 플레이트(13d)를 관통시킨 구성으로 이루어진 것이다.
상기 선행기술은 도1a에서 도1e의 순서로 접히도록한 것이다. 즉, 도1a의 전체적인 자전거를 도1b와 같이 짐받이가 바닥으로 가도록 뒷바퀴를 접고는 도1c와 같이 앞바퀴를 뒷바퀴 일측에 접은 후 이를 도1d및 도1e와 같이 핸들을 하향으로 축소하고 안장을 하향으로 축소하여 자전거를 접을 수 있도록 한 것이다. 이와 같이 접히는 선행기술의 자전거는 도1a,에서 도1e의 순서로 자전거를 접었을 경우에 는 높이는 작게 축소되었으나, 페달 축을 중심으로 폭이 넓어져 휴대하기에는 많은 불편이 있는 관계로 대중교통과 같이 사람이 많이 승차하는 경우에는 주변 사람들로 하여금 불편을 갖게 하는 동시에 사용자기 휴대하는 데에도 상당한 문제점이 있다. 또한 인용고안은 도1c와 같이 뒷바퀴를 절첩시켜 헬스운동을 알 수 있도록 하고 있으나 이 역시 헬스에 도움이 되지 못하고 있다. 즉, 선행기술과 같이 뒤 바퀴만을 페달로 돌리는 운동을 할 경우 바퀴가 회전되면서 원심력에 의해 스스로 회전하게 됨으로 사용자의 다리에 힘을 가하는 정도가 약하여 반복운동을 할 경우 신체가 금방 익숙해져 도움이 되지 못하는 문제점이 있다.
본 발명은 이동수단과 유희용으로 사용할 수 있도록 된 접이식 자전거에 관한 것으로 자전거를 운행하기 위한 동력을 수동으로 구륜하는 페달과 전기 구동수단인 배터리를 이용하여 선택적으로 운행할 수 있도록 하며, 자전거를 휴대 및 보관시에는 최소의 부피로 접을 수 있도록 하여 승용차에 간단 용이하게 적재함은 물론 버스, 전철 등의 대중교통 이용시 주변사람에게 불편을 주지 않고 안전하게 휴대할 수 있도록 함으로서 거리와 장소의 제한을 받지 않고 자유롭게 이용할 수 있도록 함을 목적으로 한 배터리 및 페달 구동용 접이식 자전거에 관한 것이다.
본 발명은 상기 목적을 달성하기 위하여 핸들을 양측으로 접을 수 있도록 중앙부에 설치된 핸들 절첩 브라켓과,
자전거의 앞 차대와 뒤 차대를 연결하고 상부에 손잡이가 형성되며 양측 축상에 페달이 형성된 차대 연결부재와,
상기 차대 연결부재 중앙부에 설치되어 안장의 높이를 조절하고, 자전거를 접을 수 있도록 해정 기능을 갖는 안장축 및 안장축신축레버와,
자전거 뒷바퀴 축 일측에 설치되어 자전거 받침대를 다각으로 조절할 수 있도록 다수의 요홈을 갖는 받침대 브라켓과,
자전거의 구륜을 전기 동력에 의해 이루어질 수 있도록 뒤 차대 일측에 설치되며, 필요에 따라서 착탈 할 수 있도록 된 배터리를 포함하는 것을 특징으로 한다.
이와 같이 구성된 본 발 명의 자전거는 구륜하기 위한 동력을 수동에 의한 페달과 전기 에너지에 의한 배터리로 운행할 수 있도록 함으로 사용자가 자전거를 남녀노소 누구나 편리하게 사용할 수 있도록 하는 동시에, 대중교통으로 이동시 자전거를 간단 용이하게 절첩 휴대할 수 있도록 한 배터리 및 페달 구동용 접이식 자전거를 제공할 수 있도록 한 것이다.
본 발명은 자전거를 간단 용이하게 접을 수 있도록 함으로 승용차 트렁크에 수납이 가능하며, 특히, 대중교통을 이용하여 여행시 간편하게 휴대하여 목적지에서 자전거를 즐길 수 있는 효과와, 자전거 운행시 바퀴를 구륜시키기 위한 동력을 페달과 배터리를 이용한 전기 구동방식을 사용자가 선택적으로 실시함으로 자전거 여행시 다리의 피로를 덜어 줌으로서 하이킹을 즐길 수 있도록 하는 동시에 어린이와 노약자가 사용할 수 있도록 용이하게 사용할 수 있는 효과가 있다.
도1a 내지 도1e는 종래의 자전거를 절첩하는 순서를 나타낸 예시도.
도2는 본 발명의 자전거 전체적인 구성을 나타낸 도면 대용 사시도 사진.
도3은 본 발명의 자전거 연결구성을 나타낸 도면대용 측면도 사진.
도4는 본 발명의 자건거 배면도를 나타낸 도면대용 사진.
도5는 본 발명의 자전거를 접은 상태의 도면대용 사시도 사진.
도6a, 도6b, 도6c는 본 발명의 자전거 핸들을 순차적으로 접는 상태를 나타낸 도면대용 사진.
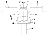
도7a는 본 발명의 자전거 핸들을 절첩하기 위한 핸들 절첩 브라켓과 고정레버를 나타낸 구성도.
도7b는 본 발명의 자전거핸들을 접는 상태를 나타낸 예시도.
도8a는 본 발명의 자전거 안장을 올린 상태를 나타낸 도면대용 사진.
도8b는 본 발명의 승강된 안장 축이 안장축 신축레버에 의해 지지된 상태를 나타낸 예시도.
도8c는 본 발명의 안장축이 하강되어 축소된 상태를 나타낸 도면대용 사진.
도8d는 본 발명의 안장축을 하강시키는 상태를 나타낸 예시도.
도9는 본 발명의 안장신축 레버를 탄발시키기 위한 탄발장치를 나타낸 도면 대용사진.
도10a는 본 발명의 자전거 받침대를 나타낸 도면대용 사진.
도10b는 본 발명에 따른 자전거 받침대의 받침각도를 나타낸 예시도.
도11a, 11b, 11c는 본 발명의 자전거 페달을 절첩하는 순서를 나타낸 작동 예시도.
도12는 본 발명의 자전거 뒤차대에 설치되는 배터리의 분리사시도.
본 발명의 실시 예를 구체적으로 설명하면 다음과 같다.
휴대가 간편하도록 절첩하는 자전거에 있어서,
양측 핸들(2)을 핸들 힌지축(6)(6') 중심으로 접을 수 있도록 핸들 축(3)에 설치된 핸들 절첩 브라켓(4)과;
자전거의 앞 차대(8)와 뒤 차대(9)를 연결하고 상부에 손잡이(10)가 형성되며 양측 페달 축(11) 단에 절첩될 수 있도록 페달(13)이 형성된 차대 연결부재(18)와;
상기 차대 연결부재(18) 중앙부에는 안장(19)의 높이를 조절할 수 있도록 안장축 홀(55)에 끼워진 안장축(28)과, 상기 안장축(28) 후부의 안장축 신축 레버 홀(56)에 끼워져 홀 단턱에 걸리도록 절곡부(27)가 형성된 안장 축 신축 레버(30)와, 상기 안장축(28) 상단에 설치되어 안장축 후면에 위치한 안장축 신축레버(30)의 하단 절곡부(27)가 수직선상에서 어긋난 상태를 유지하도록 하는 탄발장치(20)와;
자전거 뒷바퀴 축(58) 일측 하단에 설치되어 자전거 받침대(40)를 여러 각도로 조절할 수 있도록 다수의 요홈(41)을 갖는 받침대 브라켓(42)과,
자전거의 구륜을 전기 동력에 의해 이루어질 수 있도록 뒤 차대(9) 일측에 설치되며, 필요에 따라서 착탈 할 수 있도록 된 배터리(43)를 포함하는 구성을 특징으로 한다.
상기 핸들 절첩 브라켓(4)은 핸들 축(3) 상단에 설치되고, 상단과 양측 테두리 면에 다수의 고정홈(5)이 설치되며, 핸들(2) 중앙부에 일체로 형성된 수직부재(2a)(2b) 하단은 핸들 힌지축(6)(6')에 고정되어 양측으로 절첩될 수 있도록 하고. 핸들 힌지축(6)(6') 수직선상의 수직부재(2a)(2b) 상단에 각각의 고정레버(7)(7')가 설치되어 고정레버 하단부 돌기가 핸들 절첩 브라켓(4)의 고정홈(5) 끼워져 핸들(2)을 고정할 수 있도록 구성된 것을 특징으로 한다.
상기 앞 차대(8)는 복수로 이루어지며 차대 연결부재(18)와 핸들축(3) 사이에 위치하여 앞차대 전방 힌지축(52)과 앞차대 후방 힌지축(53)에 의해 유동되도록 설치된 구성을 특징으로 한다.
상기 차대 연결부재는 일측에 앞 차대(8)의 일측단이 연결되도록 앞차대 후방 힌지축(53)이 형성되며, 다른 일측에는 뒤 차대(9) 일측단이 연결되도록 뒤차대 전방 힌지축(54)이 형성되며, 상단 일측에는 고정된 손잡이(10)가 형성되고, 상기 손잡이(10) 일측 중앙부에는 안장축(28)과 안장축 신축레버(30)가 승하강되도록 안장축 홀(55)과 안장축 신축레버 홀(56)이 설치된 구성을 특징으로 한다.
상기 앞차대는 상부차대(8a)와 하부차대(8b)로 이루어지고 상부차대(8a)와 하부차대(8b) 사이에 절첩시 유동되도록 양단이 힌지축에 연결된 연결대(57)가 설치된 구성을 특징으로 한다.
상기 받침대 브라켓은 뒤바퀴 축(58) 일측 하단에 설치되며 하단테두리에 다수의 요홈(41)이 설치되어 받침대(40)를 여러 각도에서 고정할 수 있도록 구성된 것을 특징으로 한다.
상기 페달은 페달축 아암(12) 단부에 페달축(11)이 직각방향으로 설치되고 상기 페달축(11) 중앙 양측에 회전축이 형성되며. 상기 회전축(14)은 발판(15)과 연결되고 발판(15)은 일측에 유동되도록 설치된 당김 레버(16)의 당김에 의해 고정핀(17)이 걸림 및 해정 되도록 하여 발판(15)의 회전축(14)을 중심으로 직각으로 절첩되도록 구성된 된 것을 특징으로 한다.
상기 안장축(28) 상단에 설치되는 탄발장치(20)는 안장축(28) 상단부에 결속부재(21)가 체결되고 상기 결속부재(21) 일단과 안장축 신축레버(30) 상단에 연장되도록 형성된 연결편(22)은 제1 핀(23)으로 끼워 결합하며, 상기 제1핀(23) 일측 안장축 신축 레버(30) 상부 연결편(22) 측에 제2핀(24)으로 걸림부재(25)를 결합하고, 상기 제1 핀(23)과 제2핀(24) 상에는 스프링(26)(26')이 각각 설치되어 안장축 신축레버(30)와 걸림부재(25)를 탄발시킬 수 있도록 구성된 것을 특징으로 한다.
상기 뒤 차대(9) 일측에 설치되는 배터리(43)는 배터리(43)를 고정하는 베이스판(44)과 전기를 공급하는 배터리(43)의 결합으로 이루어지되 배터리(43) 일측면에는 삽입홈(45)과 콘센트부(46) 및 쇠대홈(47)이 형성되고, 베이스판(44)에는 삽입홈(45)에 끼워지는 끼움부(48) 콘센트부(46)에 접속되는 플러그부(49), 키 구멍(50) 및 쇠대(51)가 형성된 것을 특징으로 한다.
이하 본 발명을 첨부도면에 의거하여 상세히 설명하면 다음과 같다.
도2는 본 발명의 자전거에 대한 전체적인 구성을 나타낸 사시도이고, 도3은 본 발명의 자전거 연결구성을 나타낸 측면도이며, 도4는 본 발명의 자건거 배면도 이다.
본 발명은 전면에 앞바퀴(100)가 위치하고 후면에는 뒷바퀴(200)가 위치하며, 앞바퀴(100)와 뒷바퀴(200) 사이에는 차대 연결부재(18)에 의해 앞 차대(8)와 뒤차대(9)가 구성된다.
상기 앞바퀴 축을 중심으로 상부에는 핸들 축(3)이 연결되고 핸들 축(3) 상단에는 상면과 양측면 테두리에 다수의 고정홈(5)을 갖는 핸들 절첩 브라켓(4)이 고 정되고 상기 핸들 절첩 브라켓(4)에는 중앙부에 2개의 핸들 힌지축(6)(6')을 설치하되 이의 핸들 힌지축(6)(6')에는 핸들과 일체로 형성되어 중앙부에 수직으로 형성된 구직부재(2a)(2b) 일단이 연결되며 2개의 수직부재 양측으로는 핸들이 절곡되어 연장되고 끝단에는 핸들손잡이가 형성되어 통상의 자전거와 같이 사용자가 손으로 잡을 수 있게 된다.
이때 본 발명의 자전거 핸들은 통상의 자전거와는 다르게 핸들 축 상단과 일체로 연결되는 것이 아니라 2개의 수직부재가 핸들 절첩 브라켓(4)에 구비된 핸들 힌지축(6)(6')에 각각 일단이 연결되어 핸들을 구성한다. 즉, 본 발명의 핸들(2)은 핸들 절첩 브라켓(4)의 핸들 힌지축(6)(6')을 중심으로 접일 수 있도록 구성된다.
상기 핸들 축(3)은 높낮이를 조절할 수 있도록 핸들축 높낮이 조절부(3')가 형성되어 있다.
또한, 자전거 차대의 중앙부에 차대 연결부재(18)가 위치하여 앞 차대(8)의 일측단과 뒤차대(9) 일측단은 앞 차대 전방 힌지축(52)과 뒤차대 앞차대 후방 힌지축(53)에 의해 결합된다.
상기 앞 차대(8)는 상부차대(8a)와 하부차대(8b)로 이루어지고 상부차대(8a)와 하부차대(8b) 사이에 절첩시 유동되도록 양단이 힌지축에 연결된 연결대(57)가 설치된다.
상기 앞차대의 상부차대와 하부차대는 호(弧)의 형상으로 곡선으로 이루어져 있다.
또한, 차대의 중앙부에 위치하는 차대연결부는 그 단면이 "∩"형의 형상으로서 상단 일측에는 손잡이(10)가 형성되어 자전거(1)를 절첩시 손잡이를 잡고 상부로 들어 올리거나, 완전히 접힌 자전거를 휴대시 들지않고 앞뒤 바퀴가 지면에 닿도록 한 후 손잡이를 잡고 밀면 바퀴가 구륜 되므로 이동시 편리성을 갖는다.
또한, 상기 차대 연결부재(18) 중앙부에는 안장축(28)이 설치되고 안장축 상부에는 통상의 자전거와 같이 안장(19)이 설치된다. 또한, 상기 안장(19)은 하부에 높낮이를 조절할 수 있도록 안장높낮이 조절부(19')가 형성되어 있다
상기 안장 축이 끼워지는 차대 연결부에는 안장 축(28)과 안장축 신축 레버(30)가 승하강되도록 안장축 홀(55)과 안장축 신축레버 홀(56)이 설치된다.
상기 안장축 신축레버 홀(56)은 홀 중앙 내부 일측에 턱이 형성되어 안장축신축레버의 절곡부(27)가 턱에 걸리므로 안장 축(28)을 상승시 상승된 상태를 유지하도록 한다.
또한, 차대 연결부재(18)는 종 방향으로 페달구동축이 설치되어 양측단에 페달 아암이 결합되고 페달구동축 일측에는 체인구동기어가 설치되어 사용시 페달을 밟으면 페달구동축(58)이 회전하면서 체인구동기어(59)를 회전시켜 뒤 바퀴(200)를 회전할 수 있게 된다.
상기 체인구동기어(59) 후면 일측에는 모터에 의해 회전되는 전동체인기어가 설치되어 배터리(43)의 전원에 의해 모터가 전동체인기어를 회전시켜 뒷바퀴를 구동할 수 있게 된다. 상기 배터리의 전원을 이용하여 전동체인기어(60)의 모터를 작동시에는 사용자가 핸들 일측 말단에 형성된 핸들(2)손잡이를 앞으로 회전시키지 않은 상태에서는 전원이 단락되어 모터가 작동하지 않으나, 핸들 손잡이를 앞으로 회전시킬 수 있도록 모터회전을 가속화시키므로 모터와 연결된 전동체인기어의 회전이 빨라져 이와 연결된 체인에 의해 뒷바퀴의 회전속도를 증가할 수 있게 된다.
또한, 차대연결부재의 후단 힌지축과 앞 차대의 하부차대 하단일측 힌지축에는 힌지부재(61)가 연결되어 자전거(1)를 절첩시 하부차대(2b)와 뒤 차대(9)를 비롯한 차대 연결부재(4)가 밀착되도록 당기는 역할을 한다.
도5는 본 발명의 자전거를 접은 상태의 사시도로서, 본 발명의 자전거를 타고 가다가 대중교통을 이용시 또는 승용차의 트렁크에 수납하기 위해 자전거를 접은 상태이다.
또한, 도6a, 도6b, 도6c는 본 발명의 자전거 핸들을 순차적으로 접는 상태를 나타낸 것이며, 도7a는 본 발명의 자전거 핸들을 절첩하기 위한 핸들절첩 브라켓과 고정레버를 나타낸 구성도이고, 도7b는 본 발명의 자전거핸들을 접는 상태를 나타낸 것으로서 본 발명의 자전거를 도5와 같이 절첩하기 위해서는 도6a 부터 도7b까지 순차적으로 설명한다.
본 발명의 자전거는 도2와 같이 펼쳐진상태에서 도5와 같이 자전거를 접을 때는 도6a 및 7a와 같이 핸들(2)이 펼쳐진 상태에서 핸들 절첩브라켓(4)의 핸들 힌지축(6)(6')과 연결된 일측 핸들 수직부재(2a) 상단에 형성된 고정레버(7)를 상부로 당기면 핸들 절첩브라켓(4)의 상부 고정홈(5)에 걸려있던 걸림돌기(도시없음)가 이탈되면서 핸들 힌지축(6)을 중심으로 도6b와 같이 하향으로 절첩된다. 이와 같은 방법으로 다른 일측의 핸들 수직부재(2b) 상단에 형성된 고정레버(7')를 상부로 당기면 핸들 절첩브라켓(4)의 고정홈(1)에 걸려있던 걸림돌기가 이탈되면서 다른 측의 핸들 역시 하향으로 절첩할 수 있게 됨으로 본 발명의 자전거 핸들은 도6c와 같이 양측을 모두 접을 수 있게 된다.
본 발명의 자전거 핸들의 수직부재(2a)와 핸들 수직부재(2b) 사이의 상단에는 실리콘수지로된 돌기(80)가 대응되도록 형성되어 핸들 수직부재(2a)와 핸들 수직부재(2b)가 직접 맞닿는 것을 방지한다. 즉, 핸들 수직부재는 금속으로 이루어져 핸들 수직부재와 핸들 수직부재가 대응되는 사이가 밀착되어 서로 맞닿는 것을 방지하기 위해 각각의 핸들 수직부재 내측에 서로 대응되는 위치에 합성수지 돌기(80)를 설치한 것이다.
본 발명의 도 7b는 핸들을 절첩하기 위한 작동상태도를 도면으로 도시한 것이다.
본 발명의 자전거 핸들이 도6c와 도7b와 같이 절첩된 상태에서는 고정레버와 연결된 타단에 형성된 걸림돌기는 핸들 절첩브라켓(4)의 테두리 양측에 형성된 고정홈(5)에 인입된 상태이므로 고정레버(7)(7')를 당기기 전까지는 임으로 핸들이 펼쳐지지 않는다.
도8a는 본 발명의 자전거 안장을 올린 상태를 나타낸 것이며, 도8b는 본 발명의 승강된 안장축(28)이 안장축 신축레버(30)에 의해 지지된 상태를 나타낸 예시도이며, 도8c는 본 발명의 안장축(28)이 하강되어 축소된 상태를 나타낸 것이며, 도8d는 본 발명의 안장축을 하강시키는 상태를 나타낸 예시도이며, 도9는 본 발명의 안장신축레버를 탄발시키기 위한 탄발장치(20)를 나타낸 것이다.
이를 구체적으로 설명하면 안장축(28) 상단에 설치된 탄발장치(20)는 안장축 후면에 위치한 안장축 신축레버(30)의 하단 절곡부(27)가 항상 수직선상에서 어긋난 상태를 유지하도록 탄발상태를 유지한다.
즉, 안장축을 도8a와 같이 승강시킨 상태에서는 도8b에 도시된 바와 같이 안장축 신축레버 하단의 절곡부(27)가 어긋난 상태에서 안장축 신축 레버 홀(56)에 끼워져 안장축 신축 레버 홀(56) 내부 단턱에 걸쳐진 상태가 되므로 안장축은 승강된 상태에서 사용자가 안장에 올라 앉자 있더라도 하강되지 않고 지지 된다.
이때 자전거를 접기거나, 안장을 하강시키기 위해서는 안장축 신축 레버(30)를 안장축(28)측으로 당기면 절곡부(27)가 홀의 단턱에서 이탈되므로 안장축(28)과 안장축 신축레버(30)는 각각 안장축 홀(55)과 안장축 신축레버 홀(56)의 안내에 따라서 하강됨으로 접을 수 있게 된다.
이와 같이 안장을 낮춤 상태에서 차대 연결부재 일측 상부에 설치된 손잡이를 잡고 상부로 들어올리면 차대 연결부재 양측에 설치된 앞차대 후방 힌지축과 뒤차대 전방 힌지축을 중심으로 앞 차대와 뒤 차대가 차대 연결부재를 중심으로 하향되어 절첩된다.
이때 앞차대 전방 힌지축에 의해 앞바퀴와 핸들축이 접히고, 앞차대의 상부차대와 하부차대 사이에 설치된 연결대(57)는 상부치대(8a)와 하부차대(8b)를 당겨 밀착시키는 역할을 한다. 이와 같이 자전거를 접었을 때는 도5와 같은 형상으로 절첩된다.
이렇게 절첩된 본원발명의 자전기는 높이와 길이가 축소되어 승용차 트렁크 또는 실내에 간단 용이하게 수납할 수 있는 동시에 대중교통을 이용시 휴대하고 승차하더라도 함께 승차한 승객에게 불편을 최소화할 수 있다.
본 발명의 탄발장치(20)는 안장축(28) 상단부에 결속부재(21)가 체결되고 상기 결속부재(21) 일단과 안장축 신축레버(30) 상단에 연장되어 형성된 연결편(22)은 제1 핀(23)으로 끼워 결합하며, 상기 제1핀(23) 일측 안장축 신축 레버(30) 상부 연결편(22) 측에 제2핀(24)으로 걸림부재(25)를 결합하고, 상기 제1 핀(23)과 제2핀(24) 상에는 스프링(26)(26')이 각각 설치되어 안장축 신축레버(30)와 걸림부재(25)를 탄발시킬 수 있도록 한다.
상기 걸림부재는 본 발명의 자전거를 접을 을 경우 차대 연결부재(18)의 뒤차대 전방 힌지축(52)과 연결된 뒤차대 단부가 탄발장치의 걸림부재(25)에 걸려 접힌 상태를 유지하게 된다. 이때 자전거(1)을 펼치고자 할 경우에는 손잡이(10)을 이용하여 위로 올리면 안장축(28)과 안장축 신축레버(30)가 상승되면서 탄발장치(20)의 걸림부재(25)가 뒤차대 단부와의 지지된 상태를 해재 함으로 자전거는 다시 펼쳐져 통상의 자전거와 같은 형상으로 복귀하게 된다.
도10a는 본 발명의 자전거 받침대를 나타낸 것이며, 도10b는 본 발명에 따른 자전거 받침대의 받침각도를 나타낸 예시도이다.
본 발명의 받침대는 뒤 바퀴 축 하부에 설치되어 자전거를 세울 수 있도록 하는 것으로서, 받침대는 뒷바퀴 축(58) 일측 하단에 받침대 브라켓(42)을 설치하여 받침대 브라켓(42)의 축을 중심으로 받침대(40)가 회전하도록 설치되며 상기 받침대 브라켓 하단테두리에는 다수의 요홈(41)이 설치되어 받침대(40)를 여러 각도에서 고정할 수 있도록 한다.
도11a, 11b, 11c는 본 발명의 자전거 페달을 절첩하는 순서를 나타낸 작동 예시도로서, 페달(13)은 페달축 아암(12) 단부에 페달 축(11)이 직각방향으로 설치되고 상기 페달 축(11)중앙 양측에 회전축(14)이 형성되며. 상기 회전축은 발판(15)과 연결되고 발판(15)은 일측에 유동되도록 설치된 당김 레버(16)의 당김에 의해 고정핀(17)이 걸림 및 해정되도록 하여 발판의 회전축(14)을 중심으로 절첩되도록 한다.
즉, 도11a는 자전거를 사용시 페달이 페달축 아암과 직각방향으로 설치된 상태로서 사용자가 자전거를 구륜할 수 있도록 한다.
상기와 같이 자전거를 사용한 후 자전거를 접을 때 페달 내측의 당김 레버를 외향으로 당기면 페달 축(11)과 발판(15)을 고정한 고정핀(17)이 페달 축과의 걸림상태를 도11b와 같이 해제됨으로 발판은 페달축 양측에서 발판과 연결된 회전축(14)을 중심으로 페달 축을 중심으로 도11c와 같이 직각방향으로 절첩할 수 있다.
도12는 본 발명의 자전거 뒤차대에 설치되는 배터리의 분리사시도로서, 상기 뒤차대 일측에 설치되는 배터리는, 배터리를 고정하는 베이스판을 차대 일측에 설치하고, 배터리리와 베이스판을 결합하여 전원이 접지되도록 한다.
상기 베이스판(44)은 일측에 전선이 연결되고 이의 전선은 전동 체인기어(60)를 구동시키는 모터와 연결되고 모터는 속도를 조절하는 자전거 핸들 손잡이와 연결되어 자전거의 구륜속도를 제어할 수 있게 된다.
상기와 같이 차대에 설치된 베이스판은 다수의 접속단자로 이루어진 플러그부(49)와 끼움부(48)로 이루어지며, 이의 끼움부(48)는 배터리(43)의 삽입홈(45)에 끼 워져 배터리가 베이스판에 결합되고, 베이스판의 플러그부(49)는 배터리의 콘센트부(46)와 접속되어 전원이 도통 된다. 이때 끼움부(48)의 하단에는 패킹(70)이 형성되어 베이스판(44)과 배터리(43)의 연결부를 통하여 물이 유입되는 것을 차단하여 전원이 방전되거나 사용자가 자전거를 탈 때 빗물이나 기타 물에 의해 감전되는 것을 방지토록 하였다.
또한, 본 발명의 배터리는 일측면에 키에 의한 잠금장치가 설치되어 키 구멍(50)으로 키를 넣고 돌리면 베이스판의 쇠대(51)가 돌출되어 배터리의 쇠대홈(47)에 끼워져 베이스판과 배터리가 분리되는 것을 방지하여 도난을 예방할 수 있도록하였다.
이와 같이 된 본 발명은 이동수단으로 활용하는 자전거를 페달에 의한 구륜과 배터리의 전원을 이용한 모터에 의해 구륜으로 자전거를 구동시 킬 수 있도록 함으로 사용자가 전동과 페달을 선택적 사용할 수 있다.
또한, 본 발명은 자전거를 간단 용이하게 절첩하여 휴대할 수 있도록 함으로 이동수단을 자전거 및 대중교통을 복합적으로 사용할 수 있는 특징이 있다.
1:자전거 2:핸들
2a,2b:수직부재 3:핸들축
4:핸들 절첩 브라켓 5:고정홈
6.6':핸들 힌지축 7,7':고정레버
8:앞차대 8a:상부차대
8b:하부차대 9:뒤차대
10:손잡이 11:페달축
12:페달축 아암 13:페달
14:회전축 15:안장축 홀
16:당김레버 17:고정핀
18:차대 연결부재 19:안장
20:탄발장치 21:결속부재
22:연결편 23:제1핀
24:제2핀 25:걸림부재
26, 26':스프링 27:절곡부
28:안장축 30:안장축 신축레버
40:자전거받침대 42:받침대 브라켓
43:배터리 44:베이스판
50:키구멍 51:쇠대
52:앞차대 전방힌지축 53:앞차대 후방 힌지축
54:뒤치대 전방 힌지축 55:안장축 홀
56:안장축 신축레버 홀 57:연결대
58:페달 구동축 59:체인구동기어
60:전동체인기어 61:힌지부재
70:패킹 100:앞바퀴
200:뒤바퀴

Claims (8)

  1. 휴대가 간편하도록 절첩하는 자전거에 있어서,
    양측 핸들(2)을 핸들 힌지축(6)(6') 중심으로 접을 수 있도록 핸들축(3)에 설치된 핸들 절첩 브라켓(4)과;
    자전거의 앞차대(8)와 뒤차 대(9)를 연결하고 상부에 손잡이(10)가 형성되며 양측 페달 축(11) 단에 절첩될 수 있도록 페달(13)이 형성된 차대 연결부재(18)와;
    상기 차대 연결부재(18) 중앙부에는 안장(19)의 높이를 조절할 수 있도록 안장축 홀(55)에 끼워진 안장축(28) 및 상기 안장축(28) 후부의 안장축 신축 레버 홀(56)에 끼워져 홀 단턱에 걸리도록 절곡부(27)가 형성된 안장 축 신축 레버(30)와;
    상기 안장축(28) 상단에 설치되어 안장축 후면에 위치한 안장축 신축레버(30)의 하단 절곡부(27)가 수직선상에서 어긋난 상태를 유지하도록 하는 탄발장치(20)와;
    자전거 뒷바퀴 축(58) 일측 하단에 설치되어 자전거 받침대(40)를 여러 각도로 조절할 수 있도록 다수의 요홈(41)을 갖는 받침대 브라켓(42)과,
    자전거의 구륜을 전기 동력에 의해 이루어질 수 있도록 뒤 차대(9) 일측에 착탈 가능하도록 설치된 배터리(43)를 포함하는 구성을 특징으로 하는 배터리 및 페달 구동용 접이식 자전거.
  2. 제1항에 있어서,
    상기 핸들 절첩 브라켓(4)은 핸들축(3) 상단에 설치되고, 상단과 양측 테두리 면에 다수의 고정홈(5)이 설치되며, 핸들(2) 중앙부에 일체로 형성된 수직부재(2a)(2b) 하단은 핸들 힌지축(6)(6')에 고정되어 양측으로 절첩될 수 있도록 하고. 핸들 힌지축(6)(6') 수직선상의 수직부재(2a)(2b) 상단에 각각의 고정레버(7)(7')가 설치되어 고정레버 하단부 돌기가 핸들 절첩 브라켓(4)의 고정홈(5) 끼워져 핸들(2)을 고정할 수 있도록 구성된 것을 특징으로 하는 배터리 및 페달 구동용 접이식 자전거.
  3. 제1항에 있어서,
    상기 앞 차대(8)는 복수로 이루어지며 차대 연결부재(18)와 핸들축(3) 사이에 위치하여 앞차대 전방 힌지축(52)과 앞차대 후방 힌지축(53)에 의해 유동되도록 설치된 구성을 특징으로 하는 배터리 및 페달 구동용 접이식 자전거.
  4. 제1항에 있어서,
    상기 차대 연결부재는 일측에 앞차대(8)의 일측단이 연결되도록 앞차대 후방 힌지축(53)이 형성되며, 다른 일측에는 뒤 차대(9) 일측단이 연결되도록 뒤차대 전방 힌지축(54)이 형성되며, 상단 일측에는 고정된 손잡이(10)가 형성되고, 상기 손잡이(10) 일측 중앙부에는 안장 축(28)과 안장축 신축레버(30)가 승하강되도록 안장축 홀(55)과 안장축 신축레버 홀(56)이 설치된 구성을 특징으로 하는 배터리 및 페달 구동용 접이식 자전거.
  5. 제1항에 있어서
    상기 받침대 브라켓은 뒤바퀴 축(58) 일측 하단에 설치되며 하단테두리에 다수의 요홈(41)이 설치되어 받침대(40)를 여러 각도에서 고정할 수 있도록 구성된 것을 특징으로 하는 배터리 및 페달 구동용 접이식 자전거.
  6. 제1항에 있어서,
    상기 페달은 페달축 아암(12) 단부에 페달축(11)이 직각방향으로 설치되고 상기 페달축(11) 중앙 양측에 회전축이 형성되며, 상기 회전축(14)은 발판(15)과 연결되고 발판(15)은 일측에 유동되도록 설치된 당김 레버(16)의 당김에 의해 고정핀(17)이 걸림 및 해정되도록 하여 발판(15)의 회전축(14)을 중심으로 직각으로 절첩되도록 구성된 된 것을 특징으로 배터리 및 페달 구동용 접이식 자전거.
  7. 제1항에 있어서,
    상기 안장축(28) 상단에 설치되는 탄발장치(20)는 안장축(28) 상단부에 결속부재(21)가 체결되고 상기 결속부재(21) 일단과 안장축 신축레버(30) 상단에 연장되어 형성된 연결편(22)은 제1 핀(23)으로 끼워 결합하며, 상기 제1핀(23) 일측 안장축 신축 레버(30) 상부 연결편(22) 측에 제2핀(24)으로 걸림부재(25)를 결합하고, 상기 제1 핀(23)과 제2핀(24) 상에는 스프링(26)(26')이 각각 설치되어 안장축 신축레버(30)와 걸림부재(25)를 탄발시킬 수 있도록 구성된 것을 특징으로 하는 배터리 및 페달 구동용 접이식 자전거.
  8. 제1항에 있어서,
    상기 뒤차대(9) 일측에 설치되는 배터리(43)는 배터리(43)를 고정하는 베이스판(44)와 전기를 공급하는 배터리(43)의 결합으로 이루어지되 배터리(43) 일측면에는 삽입홈(45)과 콘센트부(46) 및 쇠대 홈(47)이 형성되고, 베이스판(44)에는 삽입홈(45)에 끼워지는 끼움부(48)와 콘센트부(46)에 접속되는 플러그부(49), 키 구멍(50) 및 쇠대(51)가 형성된 것을 특징으로 하는 배터리 및 페달 구동용 접이식 자전거.
KR1020100072068A 2010-07-26 2010-07-26 배터리 및 페달 구동용 접이식 자전거 Expired - Fee Related KR101206502B1 (ko)

Priority Applications (1)

Application Number Priority Date Filing Date Title
KR1020100072068A KR101206502B1 (ko) 2010-07-26 2010-07-26 배터리 및 페달 구동용 접이식 자전거

Applications Claiming Priority (1)

Application Number Priority Date Filing Date Title
KR1020100072068A KR101206502B1 (ko) 2010-07-26 2010-07-26 배터리 및 페달 구동용 접이식 자전거

Publications (2)

Publication Number Publication Date
KR20120010487A KR20120010487A (ko) 2012-02-03
KR101206502B1 true KR101206502B1 (ko) 2012-11-29

Family

ID=45834970

Family Applications (1)

Application Number Title Priority Date Filing Date
KR1020100072068A Expired - Fee Related KR101206502B1 (ko) 2010-07-26 2010-07-26 배터리 및 페달 구동용 접이식 자전거

Country Status (1)

Country Link
KR (1) KR101206502B1 (ko)

Cited By (2)

* Cited by examiner, † Cited by third party
Publication number Priority date Publication date Assignee Title
WO2016114582A1 (ko) * 2015-01-16 2016-07-21 강효웅 기능성 자전거핸들
KR102677878B1 (ko) 2023-02-07 2024-06-25 주식회사 엘엠솔루션 접이식 자전거용 절첩 록킹장치

Families Citing this family (10)

* Cited by examiner, † Cited by third party
Publication number Priority date Publication date Assignee Title
CN102673704A (zh) * 2012-06-13 2012-09-19 青岛大学 一种双驱折叠式脚踏自行车
KR101453995B1 (ko) * 2012-12-03 2014-10-28 김미나 접이식 자전거
CN106515917B (zh) * 2016-11-28 2019-04-19 苏州速蝶科技有限公司 一种折叠式自行车可折收式鞍座
CN109665016B (zh) * 2018-12-27 2023-11-24 广东广天机电工业研究院有限公司 一种折叠自行车
CN110395345A (zh) * 2019-08-16 2019-11-01 刘持平 一种框架结构旅行箱式折叠车
CN111086581B (zh) * 2020-01-09 2024-05-03 邢台久达自行车有限公司 便携折叠式自行车
KR102383629B1 (ko) * 2020-12-21 2022-04-08 주식회사 이엠이코리아 접이식 전기자전거
CN220865569U (zh) * 2021-05-19 2024-04-30 邱树元 一种折叠联动自行车架
CN113212625B (zh) * 2021-05-25 2024-08-06 东莞市豫哲信五金塑胶制品有限公司 折叠电动车
CN114454996B (zh) * 2022-03-02 2024-04-16 深圳市创新维自行车有限公司 一种折叠式车架结构

Citations (4)

* Cited by examiner, † Cited by third party
Publication number Priority date Publication date Assignee Title
US20040032110A1 (en) 2000-12-27 2004-02-19 Henri Bigot Folding bicycle
CN201151448Y (zh) 2007-11-21 2008-11-19 好孩子儿童用品有限公司 一种折叠自行车
CN201161669Y (zh) 2008-02-28 2008-12-10 刘青 折叠式锂电池电动自行车
CN101367415A (zh) 2007-08-13 2009-02-18 好孩子儿童用品有限公司 折叠自行车脚架

Patent Citations (4)

* Cited by examiner, † Cited by third party
Publication number Priority date Publication date Assignee Title
US20040032110A1 (en) 2000-12-27 2004-02-19 Henri Bigot Folding bicycle
CN101367415A (zh) 2007-08-13 2009-02-18 好孩子儿童用品有限公司 折叠自行车脚架
CN201151448Y (zh) 2007-11-21 2008-11-19 好孩子儿童用品有限公司 一种折叠自行车
CN201161669Y (zh) 2008-02-28 2008-12-10 刘青 折叠式锂电池电动自行车

Cited By (2)

* Cited by examiner, † Cited by third party
Publication number Priority date Publication date Assignee Title
WO2016114582A1 (ko) * 2015-01-16 2016-07-21 강효웅 기능성 자전거핸들
KR102677878B1 (ko) 2023-02-07 2024-06-25 주식회사 엘엠솔루션 접이식 자전거용 절첩 록킹장치

Also Published As

Publication number Publication date
KR20120010487A (ko) 2012-02-03

Similar Documents

Publication Publication Date Title
KR101206502B1 (ko) 배터리 및 페달 구동용 접이식 자전거
US9073594B2 (en) Motorized foldable scooter
US9873476B2 (en) Foldable electric vehicle
US9272739B2 (en) Urban vehicle
US6497426B2 (en) Convertible bicycle
US20180015978A1 (en) Convertible Scooter and Handcart
KR101667268B1 (ko) 사이클
US7882918B2 (en) Folding motor scooter
US20200307735A1 (en) Transforming Electric Scooter Having a Stand-on Configuration and a Ride-on Configuration
CN104290843B (zh) 可折叠电动自行车
US12151768B2 (en) Foldable step-through mid-drive e-bike and folding bike fastened by steering assembly
US10143604B2 (en) Motor vehicle with wheelchair caddy
WO2011098887A1 (en) People transport vehicle
CN205010404U (zh) 折叠式站坐两用电动滑板车
JP2019517417A (ja) 折りたたみ可能なスクータ
CN210056492U (zh) 一种手推轮椅用快速拆装锂电牵引车头
CA2813753C (en) Motorized golf cart adapter with center drive wheel and outboard stabilizer wheels
JP2006062526A (ja) リカンベント型自転車
JP3130074U (ja) 簡易移動装置
CN201254245Y (zh) 箱式两轮电动折叠车
JP2003072650A (ja) 携帯用簡易自転車
HK1087387A1 (zh) 折叠自行车
HK1087387B (en) Folding bicycle

Legal Events

Date Code Title Description
A201 Request for examination
PA0109 Patent application

St.27 status event code: A-0-1-A10-A12-nap-PA0109

PA0201 Request for examination

St.27 status event code: A-1-2-D10-D11-exm-PA0201

R18-X000 Changes to party contact information recorded

St.27 status event code: A-3-3-R10-R18-oth-X000

PG1501 Laying open of application

St.27 status event code: A-1-1-Q10-Q12-nap-PG1501

D13-X000 Search requested

St.27 status event code: A-1-2-D10-D13-srh-X000

D14-X000 Search report completed

St.27 status event code: A-1-2-D10-D14-srh-X000

E902 Notification of reason for refusal
PE0902 Notice of grounds for rejection

St.27 status event code: A-1-2-D10-D21-exm-PE0902

P11-X000 Amendment of application requested

St.27 status event code: A-2-2-P10-P11-nap-X000

P13-X000 Application amended

St.27 status event code: A-2-2-P10-P13-nap-X000

E701 Decision to grant or registration of patent right
PE0701 Decision of registration

St.27 status event code: A-1-2-D10-D22-exm-PE0701

GRNT Written decision to grant
PR0701 Registration of establishment

St.27 status event code: A-2-4-F10-F11-exm-PR0701

PR1002 Payment of registration fee

St.27 status event code: A-2-2-U10-U11-oth-PR1002

Fee payment year number: 1

PG1601 Publication of registration

St.27 status event code: A-4-4-Q10-Q13-nap-PG1601

S14-X000 Exclusive voluntary license recorded

St.27 status event code: A-4-4-S10-S14-lic-X000

R18-X000 Changes to party contact information recorded

St.27 status event code: A-5-5-R10-R18-oth-X000

PN2301 Change of applicant

St.27 status event code: A-5-5-R10-R11-asn-PN2301

PN2301 Change of applicant

St.27 status event code: A-5-5-R10-R14-asn-PN2301

P14-X000 Amendment of ip right document requested

St.27 status event code: A-5-5-P10-P14-nap-X000

P16-X000 Ip right document amended

St.27 status event code: A-5-5-P10-P16-nap-X000

Q16-X000 A copy of ip right certificate issued

St.27 status event code: A-4-4-Q10-Q16-nap-X000

FPAY Annual fee payment

Payment date: 20151028

Year of fee payment: 4

PR1001 Payment of annual fee

St.27 status event code: A-4-4-U10-U11-oth-PR1001

Fee payment year number: 4

P22-X000 Classification modified

St.27 status event code: A-4-4-P10-P22-nap-X000

FPAY Annual fee payment

Payment date: 20161103

Year of fee payment: 5

PR1001 Payment of annual fee

St.27 status event code: A-4-4-U10-U11-oth-PR1001

Fee payment year number: 5

PR1001 Payment of annual fee

St.27 status event code: A-4-4-U10-U11-oth-PR1001

Fee payment year number: 6

FPAY Annual fee payment

Payment date: 20190320

Year of fee payment: 7

PR1001 Payment of annual fee

St.27 status event code: A-4-4-U10-U11-oth-PR1001

Fee payment year number: 7

PR1001 Payment of annual fee

St.27 status event code: A-4-4-U10-U11-oth-PR1001

Fee payment year number: 8

PC1903 Unpaid annual fee

St.27 status event code: A-4-4-U10-U13-oth-PC1903

Not in force date: 20201124

Payment event data comment text: Termination Category : DEFAULT_OF_REGISTRATION_FEE

K11-X000 Ip right revival requested

St.27 status event code: A-6-4-K10-K11-oth-X000

PC1903 Unpaid annual fee

St.27 status event code: N-4-6-H10-H13-oth-PC1903

Ip right cessation event data comment text: Termination Category : DEFAULT_OF_REGISTRATION_FEE

Not in force date: 20201124

PN2301 Change of applicant

St.27 status event code: A-5-5-R10-R11-asn-PN2301

PR0401 Registration of restoration

St.27 status event code: A-6-4-K10-K13-oth-PR0401

PR1001 Payment of annual fee

St.27 status event code: A-4-4-U10-U11-oth-PR1001

Fee payment year number: 9

R401 Registration of restoration
PN2301 Change of applicant

St.27 status event code: A-5-5-R10-R14-asn-PN2301

P14-X000 Amendment of ip right document requested

St.27 status event code: A-5-5-P10-P14-nap-X000

R18-X000 Changes to party contact information recorded

St.27 status event code: A-5-5-R10-R18-oth-X000

PR1001 Payment of annual fee

St.27 status event code: A-4-4-U10-U11-oth-PR1001

Fee payment year number: 10

PR1001 Payment of annual fee

St.27 status event code: A-4-4-U10-U11-oth-PR1001

Fee payment year number: 11

PC1903 Unpaid annual fee

St.27 status event code: A-4-4-U10-U13-oth-PC1903

Not in force date: 20231124

Payment event data comment text: Termination Category : DEFAULT_OF_REGISTRATION_FEE

K11-X000 Ip right revival requested

St.27 status event code: A-6-4-K10-K11-oth-X000

PC1903 Unpaid annual fee

St.27 status event code: N-4-6-H10-H13-oth-PC1903

Ip right cessation event data comment text: Termination Category : DEFAULT_OF_REGISTRATION_FEE

Not in force date: 20231124

PR0401 Registration of restoration

St.27 status event code: A-6-4-K10-K13-oth-PR0401

R401 Registration of restoration
PR1001 Payment of annual fee

St.27 status event code: A-4-4-U10-U11-oth-PR1001

Fee payment year number: 12

PN2301 Change of applicant

St.27 status event code: A-5-5-R10-R11-asn-PN2301

PN2301 Change of applicant

St.27 status event code: A-5-5-R10-R14-asn-PN2301

P14-X000 Amendment of ip right document requested

St.27 status event code: A-5-5-P10-P14-nap-X000

P16-X000 Ip right document amended

St.27 status event code: A-5-5-P10-P16-nap-X000

Q16-X000 A copy of ip right certificate issued

St.27 status event code: A-4-4-Q10-Q16-nap-X000

PR1001 Payment of annual fee

St.27 status event code: A-4-4-U10-U11-oth-PR1001

Fee payment year number: 13