KR101146516B1 - Shot peening device for tube and control method thereof - Google Patents
Shot peening device for tube and control method thereof Download PDFInfo
- Publication number
- KR101146516B1 KR101146516B1 KR1020100017945A KR20100017945A KR101146516B1 KR 101146516 B1 KR101146516 B1 KR 101146516B1 KR 1020100017945 A KR1020100017945 A KR 1020100017945A KR 20100017945 A KR20100017945 A KR 20100017945A KR 101146516 B1 KR101146516 B1 KR 101146516B1
- Authority
- KR
- South Korea
- Prior art keywords
- tube
- main body
- rotating
- unit
- sides
- Prior art date
- Legal status (The legal status is an assumption and is not a legal conclusion. Google has not performed a legal analysis and makes no representation as to the accuracy of the status listed.)
- Expired - Fee Related
Links
Images
Classifications
-
- C—CHEMISTRY; METALLURGY
- C21—METALLURGY OF IRON
- C21D—MODIFYING THE PHYSICAL STRUCTURE OF FERROUS METALS; GENERAL DEVICES FOR HEAT TREATMENT OF FERROUS OR NON-FERROUS METALS OR ALLOYS; MAKING METAL MALLEABLE, e.g. BY DECARBURISATION OR TEMPERING
- C21D7/00—Modifying the physical properties of iron or steel by deformation
- C21D7/02—Modifying the physical properties of iron or steel by deformation by cold working
- C21D7/04—Modifying the physical properties of iron or steel by deformation by cold working of the surface
- C21D7/06—Modifying the physical properties of iron or steel by deformation by cold working of the surface by shot-peening or the like
-
- B—PERFORMING OPERATIONS; TRANSPORTING
- B21—MECHANICAL METAL-WORKING WITHOUT ESSENTIALLY REMOVING MATERIAL; PUNCHING METAL
- B21D—WORKING OR PROCESSING OF SHEET METAL OR METAL TUBES, RODS OR PROFILES WITHOUT ESSENTIALLY REMOVING MATERIAL; PUNCHING METAL
- B21D31/00—Other methods for working sheet metal, metal tubes, metal profiles
- B21D31/06—Deforming sheet metal, tubes or profiles by sequential impacts, e.g. hammering, beating, peen forming
-
- B—PERFORMING OPERATIONS; TRANSPORTING
- B24—GRINDING; POLISHING
- B24C—ABRASIVE OR RELATED BLASTING WITH PARTICULATE MATERIAL
- B24C3/00—Abrasive blasting machines or devices; Plants
- B24C3/08—Abrasive blasting machines or devices; Plants essentially adapted for abrasive blasting of travelling stock or travelling workpieces
- B24C3/10—Abrasive blasting machines or devices; Plants essentially adapted for abrasive blasting of travelling stock or travelling workpieces for treating external surfaces
Landscapes
- Engineering & Computer Science (AREA)
- Mechanical Engineering (AREA)
- Chemical & Material Sciences (AREA)
- Crystallography & Structural Chemistry (AREA)
- Materials Engineering (AREA)
- Metallurgy (AREA)
- Organic Chemistry (AREA)
- Cleaning In General (AREA)
Abstract
튜브용 쇼트피닝장치 및 그 제어방법에 대한 발명이 개시된다. 개시된 튜브용 쇼트피닝장치는: 쇼트볼이 분사되는 본체부와, 본체부로 튜브를 이송하는 공급부와, 본체부에서 쇼트피닝이 완료된 튜브를 인출하는 인출부를 포함하는 이동부 및 이동부를 따라서 본체부로 공급되는 튜브의 양측을 가압하여 돌리는 파지부를 구비하는 것을 특징으로 한다.Disclosed are a short peening device for a tube and a control method thereof. The disclosed shot peening apparatus for tubes includes: a moving portion including a main body portion to which shot balls are injected, a supply portion for conveying the tube to the main body portion, and a withdrawal portion for drawing out the short peening tube from the main body portion and a supply portion to the main body portion along the moving portion; It characterized in that it comprises a holding portion for pressing and turning both sides of the tube to be.
Description
본 발명은 튜브용 쇼트피닝장치 및 그 제어방법에 관한 것으로서, 보다 상세하게는 튜브의 쇼트피닝 작업이 자동화되어 생산성을 향상시킬 수 있는 튜브용 쇼트피닝장치 및 그 제어방법에 관한 것이다.
The present invention relates to a short pinning apparatus for a tube and a control method thereof, and more particularly, to a short pinning apparatus for a tube and a control method thereof which can improve productivity by automating the short pinning operation of the tube.
일반적으로, 쇼트피닝(SHOT PEENING)작업은 쇼트볼을 고속으로 금속물체의 표면에 투사하여 금속물체 표면을 햄머링하는 일종의 냉간 가공이다.In general, shot peening is a kind of cold working in which a shot ball is projected on a surface of a metal object at high speed to hammer the surface of the metal object.
쇼트볼이 금속물체의 표면에 고속 충돌하면서 스케일을 포함한 이물질이 제거되는 동시에, 금속물체 표면에 요철이 형성된다.As the shot ball collides with the surface of the metal object at high speed, foreign substances including scales are removed, and irregularities are formed on the surface of the metal object.
금속물체의 표면은 늘어난 표면층을 늘어나기 전의 상태로 유지하려는 힘이 작용하여 잔류압축응력이 생성되며, 금속물체의 내부는 인장응력을 갖는다.The surface of the metal object has a force to maintain the stretched surface layer before it is stretched to generate residual compressive stress, and the inside of the metal object has a tensile stress.
이러한 쇼트피닝 가공으로 금속물체 재료의 표면에 압축잔류응력이 잔류되면, 반복인장의 작용으로 압축잔류응력이 점점 상쇄되어 사라지게 될 때까지 금속물체의 피로수명이 연장된다.When the compressive residual stress remains on the surface of the metal object material by the short peening, the fatigue life of the metal object is extended until the compressive residual stress gradually cancels and disappears due to the action of cyclic tension.
쇼트피닝 작업은 수작업으로 이루어지며, 작업자가 튜브를 포함한 금속물체를 쇼트피닝장치에 투입한 후 일정시간 후에 금속물체를 꺼내어 이동한다.The shot peening operation is performed by hand, and after the operator puts the metal object including the tube into the short peening apparatus, the metal object is taken out and moved after a certain time.
상기한 기술구성은 본 발명의 이해를 돕기 위한 배경기술로서, 본 발명이 속하는 기술분야에서 널리 알려진 종래기술을 의미하는 것은 아니다.
The above technical configuration is a background art for helping understanding of the present invention, and does not mean a conventional technology well known in the art.
측면이 개구된 튜브의 쇼트피닝 작업에서 튜브의 내측으로 쇼트볼이 유입되어 소음 발생의 원인이 되며, 이를 제거하는 작업이 추가로 요구되어 생산비용이 상승한다.In the shot peening operation of the tube with the side opening, the shot ball flows into the inside of the tube, causing noise, and an additional work is required to remove it, thereby increasing the production cost.
또한 튜브가 정지된 상태에서 쇼트피닝 작업이 이루어지므로, 튜브의 품질이 불균일하여 내구성이 저하된다. 따라서, 이를 개선할 필요성이 요청된다.In addition, since the short peening operation is performed while the tube is stopped, the quality of the tube is non-uniform and durability is degraded. Therefore, there is a need to improve this.
본 발명은 상기와 같은 필요성에 의해 창출된 것으로서, 튜브의 내측으로 쇼트볼이 유입하는 것을 방지할 수 있는 튜브용 쇼트피닝장치 및 그 제어방법을 제공하는 데 그 목적이 있다.The present invention has been made by the necessity as described above, and an object thereof is to provide a shot peening device for a tube and a control method thereof, which can prevent the shot ball from flowing into the tube.
또한 본 발명은 자동으로 튜브가 회전되면서 쇼트피닝 작업이 이루어지므로 내구성을 향상시킬 수 있는 튜브용 쇼트피닝장치 및 그 제어방법을 제공하는 데 그 목적이 있다.
In addition, an object of the present invention is to provide a short pinning apparatus for a tube and a control method thereof, which can improve durability because the short pinning operation is performed while the tube is automatically rotated.
본 발명에 따른 튜브용 쇼트피닝장치는: 쇼트볼이 분사되는 본체부와, 본체부로 튜브를 이송하는 공급부와, 본체부에서 쇼트피닝이 완료된 튜브를 인출하는 인출부를 포함하는 이동부 및 이동부를 따라서 본체부로 공급되는 튜브의 양측을 가압하여 돌리는 파지부를 포함한다.According to the present invention, a short peening device for a tube includes: a moving part and a moving part including a main body part to which the shot ball is injected, a supply part for transferring the tube to the main body part, and a withdrawal part for withdrawing the short peening tube from the main body part; It includes a holding portion for pressing and turning both sides of the tube supplied to the main body portion.
또한 파지부는, 튜브를 파지하는 파지암부와, 파지암부를 회전시키는 회전부 및 회전부를 수평 이동시키는 수평이동부를 포함하는 것이 바람직하다.The gripping portion preferably includes a gripping arm portion for holding the tube, a rotating portion for rotating the gripping arm portion, and a horizontal moving portion for horizontally moving the rotating portion.
또한 파지암부는, 튜브의 개구되는 양측에 접하여 튜브를 탄성 지지하는 쿠션가압부 및 쿠션가압부가 삽입되는 장착홈부를 구비하는 브라켓부재를 포함하는 것이 바람직하다.In addition, the gripping arm preferably includes a bracket member having a cushioning press for elastically supporting the tube in contact with both sides of the opening of the tube and a mounting groove for inserting the cushioning press.
또한 쿠션가압부는 우레탄을 재질로 하는 것이 바람직하다.In addition, the cushion pressing unit is preferably made of urethane.
또한 파지암부는, 쿠션가압부에서 돌출되어 튜브의 내측에 걸리는 걸림부재를 포함하는 것이 바람직하다.In addition, the gripping arm portion, it is preferable to include a locking member protruding from the cushion pressing portion to be caught inside the tube.
또한 걸림부재는 원기둥 형상으로 형성되는 것이 바람직하다.In addition, the locking member is preferably formed in a cylindrical shape.
또한 회전부의 동작으로 회전되는 피측정부재 및 피측정부재의 위치를 센싱하는 센서부재를 더 포함하는 것이 바람직하다.In addition, it is preferable to further include a sensor member for sensing the position of the member to be measured and the member to be rotated by the operation of the rotating unit.
또한 수평이동부는, 회전부에 연결되는 로드부재 및 로드부재를 왕복 이송시키는 실린더부재를 포함하는 것이 바람직하다.In addition, the horizontal moving unit preferably includes a rod member connected to the rotating unit and a cylinder member for reciprocating the rod member.
또한 파지부는, 수평이동부의 하측에 설치되며 수평이동부가 지지되는 위치를 수평 방향으로 조절하는 미세조절부를 포함하는 것이 바람직하다.In addition, the gripping portion, it is preferable to include a fine control unit installed in the lower side of the horizontal moving portion to adjust the position in which the horizontal moving portion is supported in the horizontal direction.
또한 미세조절부는, 수평이동부에 고정되며 암나사산이 형성되는 내측홀을 포함하는 장착부재와, 내측홀에 체결되는 숫나사산이 형성되는 스크루바 및 스크루바를 회전시키는 회전구동부재를 포함하는 것이 바람직하다.In addition, the fine adjustment portion, it is preferable to include a mounting member including an inner hole is fixed to the horizontal moving portion is formed with a female thread, and a rotation drive member for rotating the screw bar and the screw bar is formed with a male thread fastened to the inner hole.
본 발명에 따른 튜브용 쇼트피닝장치의 제어방법은: 튜브가 공급부를 따라 본체부의 내측으로 이송되는 튜브공급단계와, 수평이동부가 동작되어 파지암부가 튜브의 양측을 파지하는 튜브파지단계와, 회전부가 동작되어 튜브를 회전시키는 회전단계와, 튜브의 표면으로 쇼트볼을 분사하는 쇼트볼분사단계와, 튜브의 회전을 정지시키는 회전정지단계와, 수평이동부가 동작되어 파지암부가 튜브에서 이격되는 튜브언로딩단계 및 튜브가 인출부를 따라 본체부의 외측으로 이송되는 튜브인출단계를 포함한다.The control method of the short pinning apparatus for a tube according to the present invention includes: a tube feeding step in which a tube is transferred to an inner side of a main body along a feeding part, a tube holding step in which a horizontal arm is operated to hold both sides of the tube; Rotating step to rotate the tube to rotate the tube, shot ball spraying step to spray the shot ball to the surface of the tube, rotation stop step to stop the rotation of the tube, the horizontal moving unit is operated so that the grip arm is separated from the tube It includes a tube unloading step and the tube withdrawal step that the tube is transported to the outside of the body portion along the withdrawal.
또한 튜브파지단계에 있어서, 파지암부가 튜브의 양측을 파지한 후, 공급부는 하강하여 본체부의 외측으로 이동하는 것이 바람직하다.In addition, in the tube gripping step, after the gripping arm portion grips both sides of the tube, the supply portion is preferably lowered to move to the outside of the body portion.
또한 튜브파지단계에 있어서, 튜브의 양측은 쿠션가압부에 삽입되어 튜브의 내측을 밀봉시키는 것이 바람직하다.
In addition, in the tube holding step, both sides of the tube is preferably inserted into the cushion pressing portion to seal the inside of the tube.
본 발명에 따른 튜브용 쇼트피닝장치 및 그 제어방법은, 쇼트피닝 작업시, 쿠션가압부가 튜브의 개구된 양측을 탄성 가압하여 튜브의 내측으로 쇼트볼 진입이 방지되므로, 쇼트볼 제거작업이 생략되어 생산비용을 감소시킬 수 있다.In the shot peening apparatus for a tube and a control method thereof according to the present invention, when the shot peening operation, the cushion pressing unit elastically presses the open sides of the tube to prevent the shot ball from entering the inside of the tube, thus eliminating the shot ball elimination operation. The cost of production can be reduced.
또한 본 발명은, 튜브의 쇼트피닝작업이 자동으로 이루어지므로, 작업시간이 단축되어 생산성을 향상시킬 수 있다.In addition, in the present invention, since the short peening operation of the tube is automatically performed, the working time can be shortened to improve productivity.
또한 본 발명은, 튜브를 회전시키면서 쇼트피닝 작업이 이루어지므로, 튜브의 품질을 향상시킬 수 있다.
In addition, according to the present invention, since the shot peening operation is performed while rotating the tube, the quality of the tube can be improved.
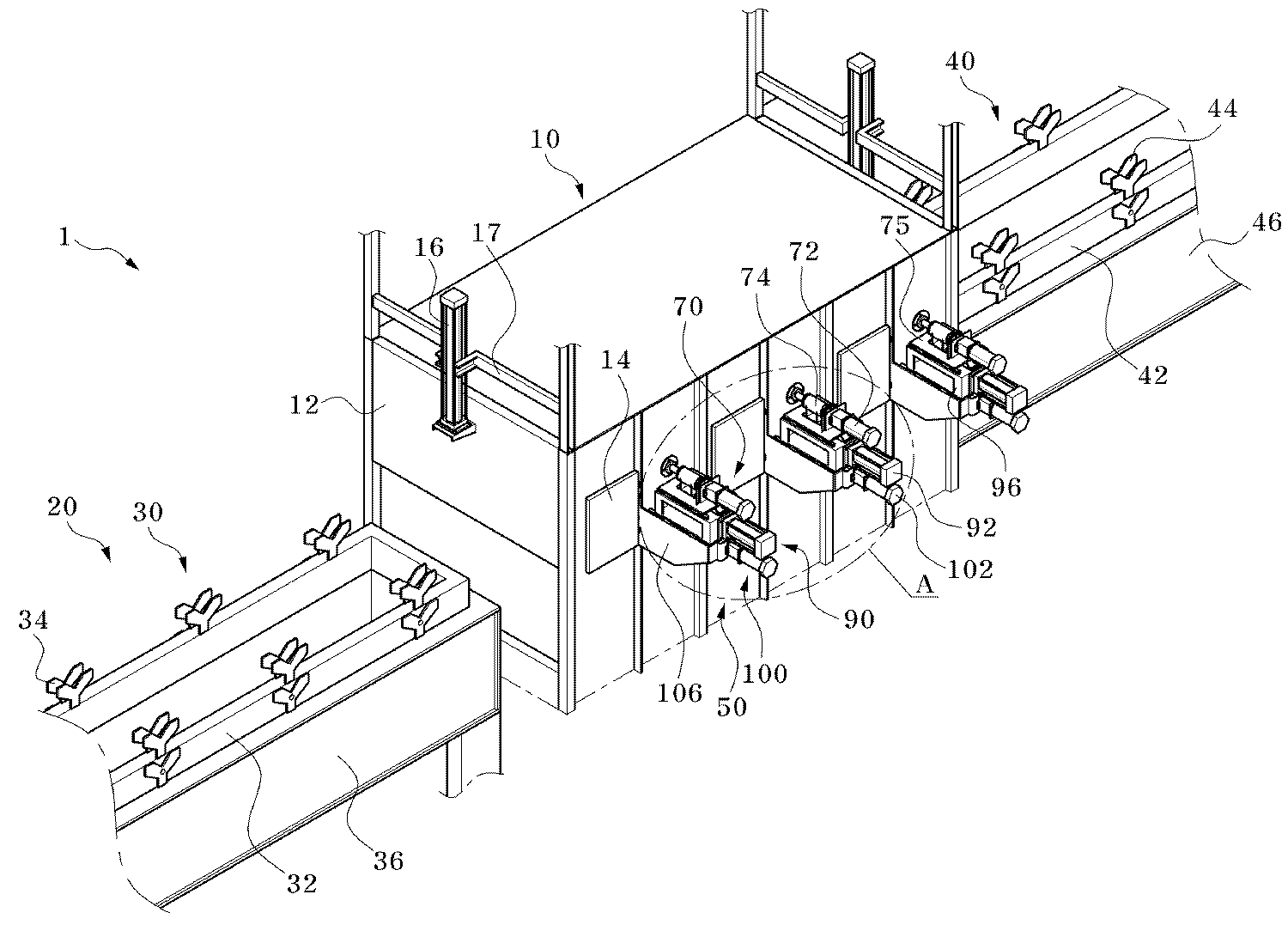
도 1은 본 발명의 일 실시예에 따른 튜브용 쇼트피닝장치를 개략적으로 도시한 사시도이다.
도 2는 도 1에 도시된 'A'부분을 확대 도시한 사시도이다.
도 3은 본 발명의 일 실시예에 따른 파지부를 도시한 사시도이다.
도 4는 본 발명의 일 실시예에 따른 파지부를 분해 도시한 사시도이다.
도 5는 본 발명의 일 실시예에 따른 파지부가 튜브를 파지하는 상태를 개략적으로 도시한 사시도이다.
도 6은 본 발명의 일 실시예에 따른 파지부가 튜브를 파지하기 전 상태를 개략적으로 도시한 정면도이다.
도 7은 본 발명의 일 실시예에 따른 파지부가 동작되어 튜브를 파지하는 상태를 개략적으로 도시한 정면도이다.
도 8은 본 발명의 일 실시예에 따른 튜브용 쇼트피닝장치의 제어방법을 도시한 순서도이다.1 is a perspective view schematically showing a short peening device for a tube according to an embodiment of the present invention.
FIG. 2 is an enlarged perspective view of part 'A' shown in FIG. 1.
3 is a perspective view showing a gripper according to an embodiment of the present invention.
4 is an exploded perspective view showing a gripper according to an embodiment of the present invention.
5 is a perspective view schematically showing a state in which the gripping portion grips the tube according to an embodiment of the present invention.
6 is a front view schematically showing a state before the gripping portion grips the tube according to an embodiment of the present invention.
7 is a front view schematically showing a state in which the gripping portion is operated to grip the tube according to an embodiment of the present invention.
8 is a flowchart illustrating a method of controlling a shot peening device for a tube according to an embodiment of the present invention.
이하, 첨부된 도면들을 참조하여 본 발명에 따른 튜브용 쇼트피닝장치 및 그 제어방법의 일 실시예를 설명한다. 설명의 편의를 위해 원형관 형상의 튜브를 예로 들어 설명한다. 이 과정에서 도면에 도시된 선들의 두께나 구성요소의 크기 등은 설명의 명료성과 편의상 과장되게 도시되어 있을 수 있다. 또한, 후술되는 용어들은 본 발명에서의 기능을 고려하여 정의된 용어들로서 이는 사용자, 운용자의 의도 또는 관례에 따라 달라질 수 있다. 그러므로, 이러한 용어들에 대한 정의는 본 명세서 전반에 걸친 내용을 토대로 내려져야 할 것이다.
Hereinafter, with reference to the accompanying drawings will be described an embodiment of a tube shortening apparatus and a control method according to the present invention. For convenience of explanation, a tube having a circular tube shape will be described as an example. In this process, the thicknesses of the lines and the sizes of the components shown in the drawings may be exaggerated for clarity and convenience of explanation. In addition, terms to be described below are terms defined in consideration of functions in the present invention, which may vary according to the intention or convention of a user or an operator. Therefore, definitions of these terms should be made based on the contents throughout the specification.
도 1은 본 발명의 일 실시예에 따른 튜브용 쇼트피닝장치를 개략적으로 도시한 사시도이며, 도 2는 도 1에 도시된 'A'부분을 확대 도시한 사시도이며, 도 3은 본 발명의 일 실시예에 따른 파지부를 도시한 사시도이며, 도 4는 본 발명의 일 실시예에 따른 파지부를 분해 도시한 사시도이며, 도 5는 본 발명의 일 실시예에 따른 파지부가 튜브를 파지하는 상태를 개략적으로 도시한 사시도이며, 도 6은 본 발명의 일 실시예에 따른 파지부가 튜브를 파지하기 전 상태를 개략적으로 도시한 정면도이며, 도 7은 본 발명의 일 실시예에 따른 파지부가 동작되어 튜브를 파지하는 상태를 개략적으로 도시한 정면도이다.1 is a perspective view schematically showing a short pinning apparatus for a tube according to an embodiment of the present invention, Figure 2 is an enlarged perspective view of the portion 'A' shown in Figure 1, Figure 3 is a view of the present invention 4 is a perspective view illustrating a gripper according to an embodiment of the present invention, and FIG. 5 is a perspective view illustrating a gripper according to an embodiment of the present invention. 6 is a perspective view schematically illustrating a state before a gripper grips a tube according to an embodiment of the present invention, and FIG. 7 is a gripper operated according to an embodiment of the present invention. It is a front view which shows schematically the state of holding a tube.
도 1 내지 도 7에 도시된 바와 같이, 본 발명의 일 실시예에 따른 튜브용 쇼트피닝장치(1)는, 쇼트볼(18)이 분사되는 본체부(10)와, 본체부(10)로 튜브(5)를 이송하는 공급부(30)와 본체부(10)에서 쇼트피닝이 완료된 튜브(5)를 인출하는 인출부(40)를 포함하는 이동부(20) 및 이동부(20)를 따라서 본체부(10)로 공급되는 튜브(5)의 양측을 가압하여 돌리는 파지부(50)를 포함한다.As shown in FIGS. 1 to 7, the shot peening apparatus 1 for a tube according to an embodiment of the present invention includes a
본체부(10)에서 쇼트피닝되는 튜브(5)는 양측이 개구된 원형관을 예로 들어 설명한다. 본 발명의 다른 실시예에 의한 튜브는 토션빔 형상의 각관을 포함하여 다양한 형상의 튜브가 사용될 수 있다.The
본체부(10)는 내측에 쇼트볼(18)을 분사하는 장치가 구비되며, 본체부(10)의 양측(도 1기준 좌우측)에는 본체도어(12)가 구비된다.The
본체도어(12)는 도어실린더(16)의 구동으로 상하 이동되며, 본체부(10)의 입구와 출구를 개폐한다.The
본체도어(12)를 상하 이동시키는 도어실린더(16)는 본체부(10)에 고정되는 지지프레임(17)에 몸체가 고정된다.The
본체부(10)의 측면에는 보조도어(14)가 설치되므로, 본체부(10)의 이상 발생시 작업자는 보조도어(14)를 열고 유지보수 작업을 할 수 있다.Since the
이동부(20)는, 본체부(10)로 튜브(5)를 공급하는 공급부(30)와 본체부(10)에서 튜브(5)를 외측으로 이동시키는 인출부(40)를 포함한다.The moving
공급부(30)는 고정 설치되는 제1고정프레임(36)과, 제1고정프레임(36)과 본체부(10)의 내측을 이동하는 제1이동프레임(32)을 포함한다.The
제1이동프레임(32)의 양측에는 튜브(5)의 양측을 지지하는 제1장착지그(34)가 설치된다. 제1이동프레임(32)은 제1고정프레임(36)에서 본체부(10)의 내측으로 이동되며, 본체부(10)의 내측에는 제1이동프레임(32) 또는 제2이동프레임(42)을 승하강시키는 승하강부(도시생략)가 구비된다.
복수의 튜브(5)가 제1이동프레임(32)에 장착되기 위하여, 제1이동프레임(32)의 양측에는 제1장착지그(34)가 복수로 구비된다.In order to mount the plurality of
본체부(10)에서 튜브(5)를 인출하는 인출부(40)는, 고정 설치되는 제2고정프레임(46)과, 제2고정프레임(46)과 본체부(10)의 내측을 이동하는 제2이동프레임(42)을 포함한다.The lead-out
제2이동프레임(42)에는 튜브(5)가 장착되는 제2장착지그(44)가 설치되며, 제2이동프레임(42)은 본체부(10)로 이동되어 쇼트피닝이 완료된 튜브(5)를 전달받아 외측으로 이송시킨다.The second moving
본체부(10)로 이송된 튜브(5)의 양측을 파지한 상태로 돌리는 파지부(50)는, 튜브(5)를 파지하는 파지암부(60)와, 파지암부(60)를 회전시키는 회전부(70)와, 회전부(70)를 수평(이하 도 4기준) 이동시키는 수평이동부(90) 및 수평이동부(90)의 하측에 설치되며 수평이동부(90)가 지지되는 위치를 수평 방향으로 조절하는 미세조절부(100)를 포함한다.The gripping
파지암부(60)는 튜브(5)의 개구된 양측을 탄성 지지하여, 쇼트볼(18)이 튜브(5)의 내측으로 유입하는 것을 방지한다.The
일 실시예에 따른 파지암부(60)는, 튜브(5)의 개구되는 양측에 접하여 튜브(5)를 탄성 지지하는 쿠션가압부(62) 및 쿠션가압부(62)가 삽입되는 장착홈부(66)를 구비하는 브라켓부재(68)를 포함한다.The
쿠션가압부(62)는 내마모성과 내산화성 및 내유지성이 우수한 우레탄(Urethane)을 재질로 한다.The
튜브(5)의 개구된 양측으로 쿠션가압부(62)가 가압되면, 튜브(5)의 양측 단부는 쿠션가압부(62)에 삽입되어 탄성 지지된다.When the
튜브(5)의 양측 단부의 형상에 따라 탄성 변형되는 쿠션가압부(62)가 튜브(5)의 양측 단부를 감싸므로, 튜브(5)의 내측은 밀봉되어 쇼트볼(18)의 유입이 방지된다.Since the
쿠션가압부(62)가 탄성 변형되어 튜브(5)의 양측을 지지하므로, 다양한 직경과 형상을 갖는 튜브(5)도 파지부(50)의 동작으로 본체부(10)의 내측에 지지된다.Since the
또한, 쿠션가압부(62)에서 돌출되는 걸림부재(64)는 튜브(5)의 내측에 걸리므로, 튜브(5)의 흘러내림을 방지한다. 이러한 걸림부재(64)는 쿠션가압부(62)의 중심에서 외측으로 돌출 형성되며, 튜브(5)와 마찰을 최소로 하는 기술사상 안에서 원기둥 형상을 포함한 다양한 형상으로 형성될 수 있다.In addition, since the locking
쿠션가압부(62)는 장착홈부(66)를 구비한 브라켓부재(68)에 결합되며, 브라켓부재(68)는 회전부(70)에 연결되어 회전 동력을 전달받는다.The
회전부(70)는, 브라켓부재(68)와 연결되는 변속부(74)와, 변속부(74)와 연결되며 회전 동력을 공급하는 구동모터부재(72) 및 변속부(74)와 구동모터부재(72)를 지지하는 베이스부재(75)를 포함한다.The
구동모터부재(72)는 제어신호로 동작되어 파지암부(60)를 회전 및 정지시키며, 빠른 응답성을 갖는 기술사상 안에서 다양한 회전장치가 사용될 수 있다.The
일 실시예에 의한 구동모터부재(72)는 빠른 응답과 넓은 속도제어의 범위를 갖는 서보모터를 사용한다.The
파지암부(60)에 파지된 튜브(5)의 방향성을 센싱하기 위해, 구동모터부재(72)의 동작으로 회전되는 피측정부재(77) 및 피측정부재(77)의 위치를 센싱하는 센서부재(78)가 설치된다.In order to sense the directionality of the
피측정부재(77)는 구동모터부재(72)의 동작과 연동하여 회전되는 판에 돌출된 형상으로 설치된다.The member to be measured 77 is installed in a protruding shape on a plate that is rotated in conjunction with the operation of the driving
피측정부재(77)를 측정하는 센서부재(78)는 장공을 구비한 센서브라켓(79)에 설치되는 근접식 센서이며, 피측정부재(77)가 센서부재(78)를 지날 때 센싱이 이루어진다.The
파지암부(60)와 회전부(70)를 수평 이동시키는 수평이동부(90)는, 회전부(70)에 연결되는 로드부재(94) 및 로드부재(94)를 왕복 이송시키는 실린더부재(92)를 포함한다.The horizontal moving
로드부재(94)의 일단은 다각형 형상으로 형성되며, 이에 결합되는 연결부재(80)의 내측에도 로드부재(94)의 일단과 대응하는 형상으로 장착홀(82)이 형성된다.One end of the
로드부재(94)는 실린더부재(92)의 동작으로 이동되며, 이러한 로드부재(94)에 고정되는 연결부재(80)는 베이스부재(75)의 하측에 고정된다.The
실린더부재(92)는 이동몸체부(96)에 고정되며, 베이스부재(75)와 마주하는 이동몸체부(96)의 상측에는 회전부(70)의 이동을 안내하는 제1레일부재(98)가 설치된다.The
베이스부재(75)에는 제1레일부재(98)를 감싸는 제1홀더부(76)가 구비되므로, 회전부(70)는 제1레일부재(98)를 따라 수평 방향으로 이동된다.Since the
수평이동부(90)의 지지위치를 조절하는 미세조절부(100)는 수평이동부(90)의 하측에 설치된다.The
일 실시예에 따른 미세조절부(100)는, 수평이동부(90)에 고정되며 암나사산이 형성되는 내측홀(108)을 포함하는 장착부재(107)와, 내측홀(108)에 체결되는 숫나사산이 형성되는 스크루바(104) 및 스크루바(104)를 회전시키는 회전구동부재(102)를 포함한다.The
회전구동부재(102)는 본체부(10)에 고정되는 고정몸체부(106)의 일측에 고정되며, 회전구동부재(102)와 연결되어 동력을 전달받는 스크루바(104)는 고정몸체부(106)의 내측으로 연장된다.The
스크루바(104)에 내측홀(108)이 연결되는 장착부재(107)는 이동몸체부(96)의 하측에 고정되어 회전이 구속된다.The mounting
고정몸체부(106)의 상측에는 제2레일부재(109)가 구비되며, 이동몸체부(96)의 하측에는 제2레일부재(109)를 감싸는 제2홀더부(99)가 구비된다.A
이하에서는 첨부된 도면들을 참조하여 본 발명의 일 실시예에 따른 튜브용 쇼트피닝장치(1)의 제어방법을 상세히 설명한다.Hereinafter, with reference to the accompanying drawings will be described in detail the control method of the shot peening device 1 for a tube according to an embodiment of the present invention.
도 8은 본 발명의 일 실시예에 따른 튜브용 쇼트피닝장치의 제어방법을 도시한 순서도이다.8 is a flowchart illustrating a method of controlling a shot peening device for a tube according to an embodiment of the present invention.
도 1 내지 도 8에 도시된 바와 같이, 본 발명의 일 실시예에 따른 튜브용 쇼트피닝장치(1)의 제어방법은, 미세조절부(100)가 동작되어 수평이동부(90)가 지지되는 위치를 조절하는 지지위치조절단계를 갖는다.(S10)As shown in Figures 1 to 8, the control method of the short pinning apparatus 1 for a tube according to an embodiment of the present invention, the
파지부(50)가 튜브(5)를 파지하기 전에, 튜브(5)의 길이에 따라 마주하는 파지암부(60)의 간격을 조절한다.Before the gripping
이를 위해, 회전구동부재(102)가 회전되어 스크루바(104)를 회전시키면, 장착부재(107)가 스크루바(104)를 따라 이동되면서 수평이동부(90)도 제2레일부재(109)를 따라 이동된다.To this end, when the
파지암부(60)의 간격이 튜브(5)에 따라 조절이 완료되면, 회전구동부재(102)의 회전이 정지되어 수평이동부(90)가 지지되는 위치를 세팅한다.When the interval between the
지지위치조절단계가 완료되면, 튜브(5)가 공급부(30)를 따라 본체부(10)의 내측으로 이송되는 튜브공급단계를 갖는다.(S20)When the support position adjustment step is completed, the tube (5) has a tube supply step to be transferred to the inner side of the
튜브(5)는 공급부(30)의 제1장착지그(34)에 올려진 상태에서 제1이동프레임(32)과 함께 본체부(10)의 내측으로 이동한다.The
튜브공급단계가 완료되면, 수평이동부(90)가 동작되어 파지암부(60)가 튜브(5)의 양측을 파지하는 튜브파지단계를 갖는다.(S30)When the tube supplying step is completed, the horizontal moving
본체부(10)의 내측으로 제1이동프레임(32)의 이동이 완료되면, 실린더부재(92)가 동작되어 로드부재(94)를 전진시킨다.When the movement of the first moving
로드부재(94)의 전진으로 연결부재(80) 및 회전부(70)와 파지암부(60)도 전진되며, 파지암부(60)의 쿠션가압부(62)는 튜브(5)의 양측을 가압된다.As the
튜브(5)의 양측은 쿠션가압부(62)에 삽입되므로, 튜브(5)의 내측은 밀봉되어 쇼트볼(18)의 유입을 방지한다.Since both sides of the
파지암부(60)가 튜브(5)의 양측을 파지한 후, 공급부(30)는 하강하여 본체부(10)의 외측으로 이동하며, 도어실린더(16)가 작동하여 본체도어(12)는 하강한다.After the
다양한 직경을 갖거나 형상을 갖는 튜브(5)는 쿠션가압부(62)의 탄성 지지로 파지암부(60)에 지지될 수 있다.The
또한 다양한 길이를 갖는 튜브(5)도 미세조절부(100)의 작동으로 수평이동부(90)와 파지암부(60)의 위치가 가변되므로 파지암부(60)에 지지될 수 있다.In addition, the
튜브파지단계가 완료되면, 튜브(5)의 장착 방향을 측정하는 센싱단계를 갖는다.(S40)When the tube gripping step is completed, it has a sensing step of measuring the mounting direction of the tube (5) (S40).
센서부재(78)는 피측정부재(77)의 위치를 센싱하므로, 파지암부(60)에 장착된 튜브(5)의 방향성을 알 수 있다.Since the
센싱단계가 완료되면, 회전부(70)가 동작되어 튜브(5)를 회전시키는 회전단계를 갖는다.(S50)When the sensing step is completed, the rotating
구동모터부재(72)의 동작으로 발생되는 회전 동력은 변속부(74)를 통해 파지암부(60)로 전달된다. 튜브(5)의 양측을 파지하는 파지암부(60)의 회전으로 튜브(5)도 회전을 한다.The rotational power generated by the operation of the
튜브(5)의 표면으로 쇼트볼(18)을 분사하는 쇼트볼분사단계를 갖는다.(S60)The shot ball spraying step of spraying the
본체부(10)의 내측에 쇼트볼(18)을 분사하는 장치가 작동되어 튜브(5)의 외측으로 쇼트볼(18)을 분사한다.The apparatus for injecting the
튜브(5)는 본체부(10) 내에서 회전되므로, 쇼트볼(18)의 분사가 튜브(5)의 외측에 균일하게 이루어진다.Since the
쇼트볼(18)의 분사와 튜브(5)의 회전은 동시에 이루어질 수 있으며, 쇼트볼(18)이 분사되고 튜브(5)가 회전될 수 있는 등 다양한 변형 실시가 가능하다.The injection of the
센싱단계에서 측정된 튜브(5)의 장착 방향으로 튜브(5)의 회전을 정지시키는 회전정지단계를 갖는다.(S70)And a rotation stop step of stopping the rotation of the
예를 들어 튜브(5)가 파지암부(60)에 장착될 때, 피측정부재(77)의 위치가 상측 방향(도 4기준)을 향하고 있었으면, 튜브(5)의 회전이 정지될 때, 피측정부재(77)의 위치가 상측 방향을 향하도록 구동모터부재(72)를 정지시킨다.For example, when the
이로 인해 용접선을 구비한 튜브(5)의 이동이나 토션빔 형상으로 형성되는 튜브(5)의 이동시, 방향성을 갖고 튜브(5)의 이동이 이루어지므로 튜브(5)의 이동 및 분류 작업을 용이하게 할 수 있다.As a result, when the
회전정지단계가 완료되면, 수평이동부(90)가 동작되어 파지암부(60)가 튜브(5)에서 이격되는 튜브언로딩단계를 갖는다.(S80)When the rotation stop step is completed, the horizontal moving
실린더부재(92)의 동작으로 로드부재(94)가 후진(도 4기준 우측)하면, 회전부(70)가 제1레일부재(98)를 따라 후진한다.When the
회전부(70)와 연동하는 파지암부(60)도 튜브(5)의 양측에서 이격되므로, 튜브(5)는 본체부(10)의 내측으로 이동된 제2이동프레임(42)의 제2장착지그(44)에 놓여진다.Since the holding
튜브언로딩단계가 완료되면, 튜브(5)가 인출부(40)를 따라 본체부(10)의 외측으로 이송되는 튜브인출단계를 갖는다.(S90)When the tube unloading step is completed, the
제2이동프레임(42)은 튜브(5)가 올려진 상태에서 본체부(10)의 내측에서 외측으로 이동하여 쇼트피닝이 완료된 튜브(5)를 본체부(10)의 외측으로 이송한다.The second moving
상술한 바와 같은 구성에 의하면, 일 실시예에 따른 튜브용 쇼트피닝장치(1) 및 그 제어방법은, 쇼트피닝 작업시, 쿠션가압부(62)가 튜브(5)의 개구된 양측을 탄성 가압하여 튜브(5)의 내측으로 쇼트볼(18)의 진입이 방지되므로, 쇼트볼(18) 제거작업이 생략되어 생산비용을 감소시킬 수 있다. 그리고, 튜브(5)의 쇼트피닝작업이 자동으로 이루어지므로, 작업시간이 단축되어 생산성을 향상시킬 수 있으며, 튜브(5)를 회전시키면서 쇼트피닝 작업이 이루어지므로, 튜브(5)의 품질을 향상시킬 수 있다.According to the above configuration, the short peening apparatus 1 for a tube and the control method thereof according to an embodiment of the present invention resiliently pressurize both sides of the opening of the
본 발명은 도면에 도시된 실시예를 참고로 하여 설명되었으나, 이는 예시적인 것에 불과하며, 당해 기술이 속하는 분야에서 통상의 지식을 가진 자라면 이로부터 다양한 변형 및 균등한 타 실시예가 가능하다는 점을 이해할 것이다.Although the present invention has been described with reference to the embodiments shown in the drawings, this is merely exemplary, and those skilled in the art to which the art belongs can make various modifications and other equivalent embodiments therefrom. I will understand.
또한, 원형관 형상의 튜브를 예로 들어 설명하였으나, 이는 예시적인 것에 불과하며, 원형관 형상의 튜브 외에도 토션빔 형상의 튜브 등 일측 또는 양측이 개구된 튜브 및 양측이 개구되지 않은 튜브 등 다양한 종류의 쇼트피닝 작업에도 본 발명의 튜브용 쇼트피닝장치 및 그 제어방법이 사용될 수 있다.In addition, although a tube of a circular tube shape has been described as an example, this is merely exemplary, and in addition to a tube of a circular tube shape, various types of tubes, such as a tube having one or both sides, such as a torsion beam-shaped tube, and a tube without both sides, may be used. In the shot peening operation, the shot peening apparatus for a tube of the present invention and a control method thereof can be used.
따라서, 본 발명의 진정한 기술적 보호범위는 특허청구범위에 의해서 정하여져야 할 것이다.
Therefore, the true technical protection scope of the present invention will be defined by the claims.
1: 튜브용 쇼트피닝장치 5: 튜브
10: 본체부 18: 쇼트볼
20: 이동부 30: 공급부
32: 제1이동프레임 34: 제1장착지그
40: 인출부 42: 제2이동프레임
44: 제2장착지그 50: 파지부
60: 파지암부 62: 쿠션가압부
64: 걸림부재 68: 브라켓부재
70: 회전부 72: 구동모터부재
74: 변속부 75: 베이스부재
76: 제1홀더부 77: 피측정부재
78: 센서부재 79: 센서브라켓
80: 연결부재 82: 장착홀
90: 수평이동부 92: 실린더부재
94: 로드부재 96: 이동몸체부
98: 제1레일부재 99: 제2홀더부
100: 미세조절부 102: 회전구동부재
104: 스크루바 106: 고정몸체부
107: 장착부재 108: 내측홀
109: 제2레일부재1: Short peening device for tube 5: Tube
10: main body 18: short ball
20: moving part 30: supply part
32: first moving frame 34: first mounting jig
40: withdrawal part 42: second moving frame
44: 2nd mounting jig 50: Holding part
60: grip arm 62: cushion pressing portion
64: locking member 68: bracket member
70: rotation part 72: drive motor member
74: transmission portion 75: base member
76: first holder portion 77: member to be measured
78: sensor member 79: sensor bracket
80: connecting member 82: mounting hole
90: horizontal moving part 92: cylinder member
94: rod member 96: moving body portion
98: first rail member 99: second holder portion
100: fine adjustment unit 102: rotary drive member
104: screw bar 106: fixed body portion
107: mounting member 108: inner hole
109: second rail member
Claims (13)
상기 본체부로 튜브를 이송하는 공급부와, 상기 본체부에서 쇼트피닝이 완료된 튜브를 인출하는 인출부를 포함하는 이동부; 및
상기 이동부를 따라서 상기 본체부로 공급되는 상기 튜브의 양측을 가압하여 돌리는 파지부를 포함하며,
상기 파지부는, 상기 튜브를 파지하는 파지암부;
상기 파지암부를 회전시키는 회전부; 및
상기 회전부를 수평 이동시키는 수평이동부를 포함하며,
상기 파지암부는, 상기 튜브의 개구되는 양측에 접하여 상기 튜브를 탄성 지지하는 쿠션가압부; 및
상기 쿠션가압부가 삽입되는 장착홈부를 구비하는 브라켓부재를 포함하는 것을 특징으로 하는 튜브용 쇼트피닝장치.
Body part to which the shot ball is injected;
A moving part including a supply part for transferring the tube to the main body part, and a withdrawal part for taking out the tube in which the shot peening is completed from the main body part; And
Comprising a holding portion for pressing and turning both sides of the tube supplied to the main body portion along the moving portion,
The gripping portion, a gripping arm portion for holding the tube;
A rotating part for rotating the gripping arm part; And
It includes a horizontal moving unit for horizontally moving the rotating unit,
The gripping arm unit may be in contact with both sides of the opening of the tube cushioning unit for elastically supporting the tube; And
And a bracket member having a mounting groove into which the cushion pressing part is inserted.
상기 쿠션가압부는 우레탄을 재질로 하는 것을 특징으로 하는 튜브용 쇼트피닝장치.
The method of claim 1,
Short cushioning device for a tube, characterized in that the cushion pressing portion made of urethane.
상기 쿠션가압부에서 돌출되어 상기 튜브의 내측에 걸리는 걸림부재를 포함하는 것을 특징으로 하는 튜브용 쇼트피닝장치.
The method of claim 1, wherein the gripping arm portion,
Short pinning device for a tube, characterized in that it comprises a locking member protruding from the cushion pressing portion is caught inside the tube.
상기 걸림부재는 원기둥 형상으로 형성되는 것을 특징으로 하는 튜브용 쇼트피닝장치.
The method of claim 5, wherein
The fastening device for a tube, characterized in that the engaging member is formed in a cylindrical shape.
상기 회전부의 동작으로 회전되는 피측정부재; 및
상기 피측정부재의 위치를 센싱하는 센서부재를 더 포함하는 것을 특징으로 하는 튜브용 쇼트피닝장치.
The method of claim 1,
A member to be rotated by the operation of the rotating unit; And
And a sensor member for sensing the position of the member under measurement.
상기 회전부에 연결되는 로드부재; 및
상기 로드부재를 왕복 이송시키는 실린더부재를 포함하는 것을 특징으로 하는 튜브용 쇼트피닝장치.
The method of claim 1, wherein the horizontal moving unit,
A rod member connected to the rotating part; And
And a cylinder member for reciprocating the rod member.
상기 수평이동부의 하측에 설치되며, 상기 수평이동부가 지지되는 위치를 수평 방향으로 조절하는 미세조절부를 포함하는 것을 특징으로 하는 튜브용 쇼트피닝장치.
The method according to any one of claims 1 and 4 to 8, wherein the gripping portion,
It is installed on the lower side of the horizontal moving portion, the shot peening device for a tube, characterized in that it comprises a fine control for adjusting the position in which the horizontal moving portion is supported in the horizontal direction.
상기 수평이동부에 고정되며, 암나사산이 형성되는 내측홀을 포함하는 장착부재;
상기 내측홀에 체결되는 숫나사산이 형성되는 스크루바; 및
상기 스크루바를 회전시키는 회전구동부재를 포함하는 것을 특징으로 하는 튜브용 쇼트피닝장치.
The method of claim 9, wherein the micro-adjustment unit,
A fixing member fixed to the horizontal moving part and including an inner hole in which a female thread is formed;
A screw bar on which a male thread is formed which is fastened to the inner hole; And
Short pinning device for a tube, characterized in that it comprises a rotary drive member for rotating the screw bar.
수평이동부가 동작되어 파지암부가 상기 튜브의 양측을 파지하는 튜브파지단계;
회전부가 동작되어 상기 튜브를 회전시키는 회전단계;
상기 튜브의 표면으로 쇼트볼을 분사하는 쇼트볼분사단계;
상기 튜브의 회전을 정지시키는 회전정지단계;
상기 수평이동부가 동작되어 상기 파지암부가 상기 튜브에서 이격되는 튜브언로딩단계; 및
상기 튜브가 인출부를 따라 상기 본체부의 외측으로 이송되는 튜브인출단계를 포함하며,
상기 튜브파지단계에 있어서,
상기 파지암부가 상기 튜브의 양측을 파지한 후, 상기 공급부는 하강하여 상기 본체부의 외측으로 이동하는 것을 특징으로 하는 튜브용 쇼트피닝장치의 제어방법.
A tube feeding step of feeding the tube into the main body along the supply part;
A tube gripping step in which a horizontal moving part is operated so that the gripping arm grips both sides of the tube;
A rotating step of rotating the tube by operating a rotating part;
A shot ball spraying step of spraying shot balls onto the surface of the tube;
A rotation stop step of stopping the rotation of the tube;
A tube unloading step of operating the horizontal moving part so that the gripping arm part is spaced apart from the tube; And
And a tube withdrawal step in which the tube is transported to the outside of the main body along the lead portion.
In the tube holding step,
And the gripping arm portion grips both sides of the tube, and then the supply portion descends to move to the outside of the main body portion.
상기 튜브의 양측은 쿠션가압부에 삽입되어 상기 튜브의 내측을 밀봉시키는 것을 특징으로 하는 튜브용 쇼트피닝장치의 제어방법.The method of claim 11, wherein in the tube holding step,
Both sides of the tube is inserted into the cushion pressing portion for controlling the short peening device for a tube, characterized in that for sealing the inside of the tube.
Priority Applications (1)
| Application Number | Priority Date | Filing Date | Title |
|---|---|---|---|
| KR1020100017945A KR101146516B1 (en) | 2010-02-26 | 2010-02-26 | Shot peening device for tube and control method thereof |
Applications Claiming Priority (1)
| Application Number | Priority Date | Filing Date | Title |
|---|---|---|---|
| KR1020100017945A KR101146516B1 (en) | 2010-02-26 | 2010-02-26 | Shot peening device for tube and control method thereof |
Publications (2)
| Publication Number | Publication Date |
|---|---|
| KR20110098365A KR20110098365A (en) | 2011-09-01 |
| KR101146516B1 true KR101146516B1 (en) | 2012-05-29 |
Family
ID=44951927
Family Applications (1)
| Application Number | Title | Priority Date | Filing Date |
|---|---|---|---|
| KR1020100017945A Expired - Fee Related KR101146516B1 (en) | 2010-02-26 | 2010-02-26 | Shot peening device for tube and control method thereof |
Country Status (1)
| Country | Link |
|---|---|
| KR (1) | KR101146516B1 (en) |
Families Citing this family (2)
| Publication number | Priority date | Publication date | Assignee | Title |
|---|---|---|---|---|
| KR101369177B1 (en) * | 2012-05-31 | 2014-03-04 | 주식회사화신 | Shot peening apparatus |
| CN115431181B (en) * | 2022-10-25 | 2023-03-24 | 浙江工业大学 | An outer wall cleaning device for continuously conveying stainless steel pipes |
Citations (4)
| Publication number | Priority date | Publication date | Assignee | Title |
|---|---|---|---|---|
| JPS5796777A (en) | 1980-11-28 | 1982-06-16 | Toyota Motor Corp | Shot blasting device |
| JPH06184629A (en) * | 1992-12-21 | 1994-07-05 | Kawasaki Steel Corp | Automatic inner plug loading/unloading device for tube end treatment device |
| KR100479540B1 (en) | 2004-02-26 | 2005-04-06 | (주)흥아산기 | A shot pinning apparatus |
| KR20090114777A (en) * | 2008-04-30 | 2009-11-04 | 대원강업주식회사 | Stress Shortening Device for Coil Spring |
-
2010
- 2010-02-26 KR KR1020100017945A patent/KR101146516B1/en not_active Expired - Fee Related
Patent Citations (4)
| Publication number | Priority date | Publication date | Assignee | Title |
|---|---|---|---|---|
| JPS5796777A (en) | 1980-11-28 | 1982-06-16 | Toyota Motor Corp | Shot blasting device |
| JPH06184629A (en) * | 1992-12-21 | 1994-07-05 | Kawasaki Steel Corp | Automatic inner plug loading/unloading device for tube end treatment device |
| KR100479540B1 (en) | 2004-02-26 | 2005-04-06 | (주)흥아산기 | A shot pinning apparatus |
| KR20090114777A (en) * | 2008-04-30 | 2009-11-04 | 대원강업주식회사 | Stress Shortening Device for Coil Spring |
Also Published As
| Publication number | Publication date |
|---|---|
| KR20110098365A (en) | 2011-09-01 |
Similar Documents
| Publication | Publication Date | Title |
|---|---|---|
| CN105082117B (en) | Gantry type double-arm truss robot and machining method for arc-shaped plate | |
| KR101371489B1 (en) | Automatic system for mounting door hinge t0 vehicle | |
| KR101971957B1 (en) | Arc Stud Welding Gun Using Servo Motor | |
| KR20180022132A (en) | Drill processing apparatus | |
| KR101282635B1 (en) | Guide apparatus for press mold | |
| KR101146516B1 (en) | Shot peening device for tube and control method thereof | |
| CN201143610Y (en) | Circular seam welding machine | |
| KR101229920B1 (en) | Shot peening device for tube and control method thereof | |
| KR101503015B1 (en) | Apparatus for Assembling Bolts Automatically | |
| KR101149610B1 (en) | Multi mounting type shot peening device and control method thereof | |
| KR20120027933A (en) | Apparatus and method for welding tower support cap | |
| JP6008722B2 (en) | Mold take-out device | |
| CN217618940U (en) | Automatic screw assembling device | |
| KR101136100B1 (en) | Aligning device for welding line of tube and control method thereof | |
| KR102120913B1 (en) | 3-axis control projection nut welding device | |
| KR102550674B1 (en) | Apparatus And Method for Adjustment And Transfer of Workpiece on Machine Tool | |
| JP4636977B2 (en) | Total height adjustment method of vertical injection molding machine | |
| CN112108796B (en) | Automobile assembly equipment and operation method thereof | |
| KR20070076225A (en) | Rebound stopper assembly system of strut rod | |
| CN208743884U (en) | A kind of three with automatic cleaning function tin soldering equipment | |
| CN109290689B (en) | Welding jig and welding equipment | |
| CN205465566U (en) | Valve body inclined plane processingequipment | |
| CN112658678A (en) | Automatic system for valve assembly | |
| KR100422625B1 (en) | Crash pad input system of vehicle assembling line | |
| KR100730793B1 (en) | Jig device for detecting the support of the body panel and whether nuts are checked |
Legal Events
| Date | Code | Title | Description |
|---|---|---|---|
| A201 | Request for examination | ||
| PA0109 | Patent application |
St.27 status event code: A-0-1-A10-A12-nap-PA0109 |
|
| PA0201 | Request for examination |
St.27 status event code: A-1-2-D10-D11-exm-PA0201 |
|
| PG1501 | Laying open of application |
St.27 status event code: A-1-1-Q10-Q12-nap-PG1501 |
|
| D13-X000 | Search requested |
St.27 status event code: A-1-2-D10-D13-srh-X000 |
|
| D14-X000 | Search report completed |
St.27 status event code: A-1-2-D10-D14-srh-X000 |
|
| E902 | Notification of reason for refusal | ||
| PE0902 | Notice of grounds for rejection |
St.27 status event code: A-1-2-D10-D21-exm-PE0902 |
|
| E13-X000 | Pre-grant limitation requested |
St.27 status event code: A-2-3-E10-E13-lim-X000 |
|
| P11-X000 | Amendment of application requested |
St.27 status event code: A-2-2-P10-P11-nap-X000 |
|
| P13-X000 | Application amended |
St.27 status event code: A-2-2-P10-P13-nap-X000 |
|
| E701 | Decision to grant or registration of patent right | ||
| PE0701 | Decision of registration |
St.27 status event code: A-1-2-D10-D22-exm-PE0701 |
|
| GRNT | Written decision to grant | ||
| PR0701 | Registration of establishment |
St.27 status event code: A-2-4-F10-F11-exm-PR0701 |
|
| PR1002 | Payment of registration fee |
St.27 status event code: A-2-2-U10-U11-oth-PR1002 Fee payment year number: 1 |
|
| PG1601 | Publication of registration |
St.27 status event code: A-4-4-Q10-Q13-nap-PG1601 |
|
| PN2301 | Change of applicant |
St.27 status event code: A-5-5-R10-R13-asn-PN2301 St.27 status event code: A-5-5-R10-R11-asn-PN2301 |
|
| PR1001 | Payment of annual fee |
St.27 status event code: A-4-4-U10-U11-oth-PR1001 Fee payment year number: 4 |
|
| FPAY | Annual fee payment |
Payment date: 20160602 Year of fee payment: 5 |
|
| PR1001 | Payment of annual fee |
St.27 status event code: A-4-4-U10-U11-oth-PR1001 Fee payment year number: 5 |
|
| P22-X000 | Classification modified |
St.27 status event code: A-4-4-P10-P22-nap-X000 |
|
| R18-X000 | Changes to party contact information recorded |
St.27 status event code: A-5-5-R10-R18-oth-X000 |
|
| FPAY | Annual fee payment |
Payment date: 20170510 Year of fee payment: 6 |
|
| PR1001 | Payment of annual fee |
St.27 status event code: A-4-4-U10-U11-oth-PR1001 Fee payment year number: 6 |
|
| LAPS | Lapse due to unpaid annual fee | ||
| PC1903 | Unpaid annual fee |
St.27 status event code: A-4-4-U10-U13-oth-PC1903 Not in force date: 20180510 Payment event data comment text: Termination Category : DEFAULT_OF_REGISTRATION_FEE |
|
| PC1903 | Unpaid annual fee |
St.27 status event code: N-4-6-H10-H13-oth-PC1903 Ip right cessation event data comment text: Termination Category : DEFAULT_OF_REGISTRATION_FEE Not in force date: 20180510 |
|
| PN2301 | Change of applicant |
St.27 status event code: A-5-5-R10-R13-asn-PN2301 St.27 status event code: A-5-5-R10-R11-asn-PN2301 |
