KR100911451B1 - 메인거더와 대형복공판이 일체화된 합성가설교량용 구조체 및 그를 이용한 합성가설교량 시공방법 - Google Patents
메인거더와 대형복공판이 일체화된 합성가설교량용 구조체 및 그를 이용한 합성가설교량 시공방법 Download PDFInfo
- Publication number
- KR100911451B1 KR100911451B1 KR1020080107123A KR20080107123A KR100911451B1 KR 100911451 B1 KR100911451 B1 KR 100911451B1 KR 1020080107123 A KR1020080107123 A KR 1020080107123A KR 20080107123 A KR20080107123 A KR 20080107123A KR 100911451 B1 KR100911451 B1 KR 100911451B1
- Authority
- KR
- South Korea
- Prior art keywords
- plate
- main girder
- bridge
- synthetic
- construction
- Prior art date
- Legal status (The legal status is an assumption and is not a legal conclusion. Google has not performed a legal analysis and makes no representation as to the accuracy of the status listed.)
- Expired - Fee Related
Links
Images
Classifications
-
- E—FIXED CONSTRUCTIONS
- E01—CONSTRUCTION OF ROADS, RAILWAYS, OR BRIDGES
- E01D—CONSTRUCTION OF BRIDGES, ELEVATED ROADWAYS OR VIADUCTS; ASSEMBLY OF BRIDGES
- E01D15/00—Movable or portable bridges; Floating bridges
- E01D15/12—Portable or sectional bridges
-
- E—FIXED CONSTRUCTIONS
- E01—CONSTRUCTION OF ROADS, RAILWAYS, OR BRIDGES
- E01C—CONSTRUCTION OF, OR SURFACES FOR, ROADS, SPORTS GROUNDS, OR THE LIKE; MACHINES OR AUXILIARY TOOLS FOR CONSTRUCTION OR REPAIR
- E01C9/00—Special pavings; Pavings for special parts of roads or airfields
- E01C9/08—Temporary pavings
-
- E—FIXED CONSTRUCTIONS
- E01—CONSTRUCTION OF ROADS, RAILWAYS, OR BRIDGES
- E01D—CONSTRUCTION OF BRIDGES, ELEVATED ROADWAYS OR VIADUCTS; ASSEMBLY OF BRIDGES
- E01D2/00—Bridges characterised by the cross-section of their bearing spanning structure
- E01D2/02—Bridges characterised by the cross-section of their bearing spanning structure of the I-girder type
-
- E—FIXED CONSTRUCTIONS
- E01—CONSTRUCTION OF ROADS, RAILWAYS, OR BRIDGES
- E01D—CONSTRUCTION OF BRIDGES, ELEVATED ROADWAYS OR VIADUCTS; ASSEMBLY OF BRIDGES
- E01D21/00—Methods or apparatus specially adapted for erecting or assembling bridges
Landscapes
- Engineering & Computer Science (AREA)
- Architecture (AREA)
- Civil Engineering (AREA)
- Structural Engineering (AREA)
- Bridges Or Land Bridges (AREA)
Abstract
Description
Claims (4)
- 삭제
- 삭제
- 삭제
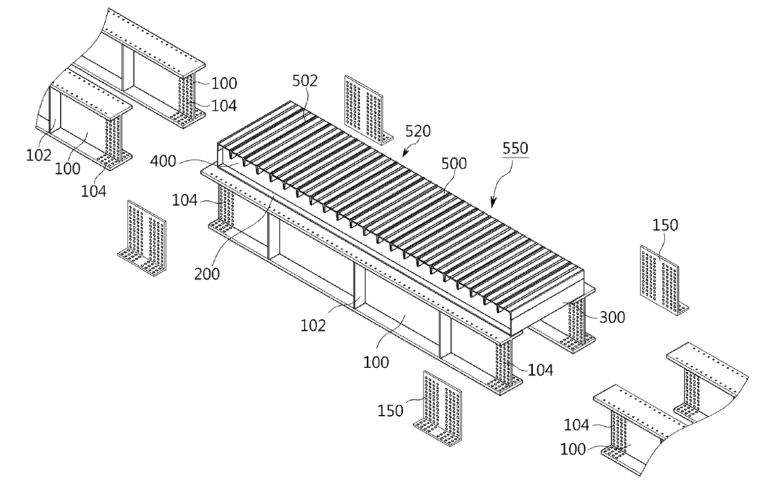
- 일측에 설치되며 상부플랜지(101)의 길이방향으로 양측에 볼트구멍(104)이 형성된 메인거더(100)와, 상기 일측 메인거더(100)에서 일정간격 떨어져 설치되는 타측 메인거더(100)의 길이방향으로 상부면 중앙 내측에 볼트구멍(104)이 형성된 긴 직사각형 형상의 받침판(200)을 각각 설치하고 상기 받침판(200)의 볼트구멍(104)과 상기 메인거더(100)의 볼트구멍(104)을 맞대어 결합수단(103)으로 결합하는 받침판 설치공정(S1단계)과; 상기 일측 받침판(200)과 타측 받침판(200)의 전, 후측 단부에 마감판(300)을 수직으로 세워서 각각 설치하는 마감판 설치공정(S2단계)과; 상기 전측 마감판(300)과 후측 마감판(300)의 사이에 일정한 간격으로 다수의 리브판(400)을 세워서 설치하는 리브판 설치공정(S3단계)과; 다수개의 ㄷ자 형상의 형강을 횡방향으로 맞대고 상부에서 용접하여 미끄러짐을 방지할 수 있도록 상부면에 일자 돌출무늬를 형성한 덮개판(500)을 제작하는 덮개판 제작공정(S4단계)과; 상기에서 제작된 덮개판(500)의 하부에 형성된 돌부(504)를 상기 리브판(400)의 상부 결합홈(402)에 끼워 설치하는 덮개판 설치공정(S5단계)과; 상기에서 제작된 메인거더와 대형복공판이 일체화된 합성가설교량용 구조체(550)를 가설교각(700) 위에 설치하되 부 휨모멘트가 크게 작용하는 지점부와, 정 휨모멘트가 크게 작용하는 지점부와 지점부 사이의 중앙부에 상기 합성가설교량용 구조체(550)를 설치하는 합성가설교량용 구조체 설치단계(S6단계)와; 교량의 길이방향으로 상기 합성가설교량용 구조체(550)와 합성가설교량용구조체(550)의 사이에 메인거더(100)를 설치하고 ㄴ자 형상의 결합수단(150)을 이용하여 서로 결합시키는 메인거더 설치단계(S7단계)와; 상기에서 설치된 합성가설교량용 구조체(550)와 메인거더(100)에서 횡방향으로 일정간격 떨어져 다른 합성가설교량용구조체(550)설치와 메인거더(100)를 설치하는 S6단계 및 S7단계를 반복하는 반복시공단계(S8단계)와; 교량의 횡방향으로 상기 합성가설교량용 구조체(550)와 합성가설교량용 구조체(550)의 사이에 대형복공판(520)을 설치하는 대형복공판 설치단계(S9단계)와; 상기 메인거더(100)와 메인거더(100)의 사이의 상부에 다수개의 일반 복공판(600)을 설치하여 합성가설교량을 완성하는 합성가설교량 완성단계(S10단계)로 구성된 합성가설교량 시공방법.
Priority Applications (1)
| Application Number | Priority Date | Filing Date | Title |
|---|---|---|---|
| KR1020080107123A KR100911451B1 (ko) | 2008-10-30 | 2008-10-30 | 메인거더와 대형복공판이 일체화된 합성가설교량용 구조체 및 그를 이용한 합성가설교량 시공방법 |
Applications Claiming Priority (1)
| Application Number | Priority Date | Filing Date | Title |
|---|---|---|---|
| KR1020080107123A KR100911451B1 (ko) | 2008-10-30 | 2008-10-30 | 메인거더와 대형복공판이 일체화된 합성가설교량용 구조체 및 그를 이용한 합성가설교량 시공방법 |
Publications (1)
| Publication Number | Publication Date |
|---|---|
| KR100911451B1 true KR100911451B1 (ko) | 2009-08-11 |
Family
ID=41209644
Family Applications (1)
| Application Number | Title | Priority Date | Filing Date |
|---|---|---|---|
| KR1020080107123A Expired - Fee Related KR100911451B1 (ko) | 2008-10-30 | 2008-10-30 | 메인거더와 대형복공판이 일체화된 합성가설교량용 구조체 및 그를 이용한 합성가설교량 시공방법 |
Country Status (1)
| Country | Link |
|---|---|
| KR (1) | KR100911451B1 (ko) |
Cited By (8)
| Publication number | Priority date | Publication date | Assignee | Title |
|---|---|---|---|---|
| KR101055856B1 (ko) | 2009-08-31 | 2011-08-09 | 주식회사 승화이엔씨 | 거더 일체형 복공판 및 이를 이용한 가설교량 |
| KR101179503B1 (ko) * | 2011-07-07 | 2012-09-04 | 박상현 | 복개조립체 및 이를 이용한 가설구조물의 시공방법 |
| KR101632960B1 (ko) | 2015-08-31 | 2016-06-23 | 주식회사 하이브리텍 | 가설주형과 복공판 일체형 구조 및 지점부 긴장 구조를 가지는 가설교량 및 그 시공방법 |
| WO2017078552A1 (en) * | 2015-11-06 | 2017-05-11 | Bayani Fernando | Steel deck-flange structures |
| KR20190012700A (ko) | 2017-07-28 | 2019-02-11 | 홍성영 | 복공판 일체형 합성거더, 이를 이용한 가설교량 및 그의 시공방법 |
| KR20200000908A (ko) | 2018-06-26 | 2020-01-06 | 전주대학교 산학협력단 | 조정 가능한 cfrp 부재를 이용한 연속 강교량 시스템 |
| CN115476068A (zh) * | 2022-10-18 | 2022-12-16 | 中车长江车辆有限公司 | 一种下端梁焊缝的焊接方法 |
| KR102777016B1 (ko) | 2023-11-13 | 2025-03-10 | (주)아이오컨스텍 | 완전 조립식 가교 |
Citations (4)
| Publication number | Priority date | Publication date | Assignee | Title |
|---|---|---|---|---|
| KR200314023Y1 (ko) * | 2003-02-26 | 2003-05-22 | 장재영 | 복공판 |
| KR20060063310A (ko) * | 2004-12-07 | 2006-06-12 | 한국건설기술연구원 | 섬유강화플라스틱 복공판 |
| KR100816003B1 (ko) * | 2006-07-21 | 2008-03-21 | 재단법인 포항산업과학연구원 | 강합성 거더의 연속화 방법 |
| KR20080057555A (ko) * | 2006-12-20 | 2008-06-25 | 재단법인 포항산업과학연구원 | 일체형 복공판 |
-
2008
- 2008-10-30 KR KR1020080107123A patent/KR100911451B1/ko not_active Expired - Fee Related
Patent Citations (4)
| Publication number | Priority date | Publication date | Assignee | Title |
|---|---|---|---|---|
| KR200314023Y1 (ko) * | 2003-02-26 | 2003-05-22 | 장재영 | 복공판 |
| KR20060063310A (ko) * | 2004-12-07 | 2006-06-12 | 한국건설기술연구원 | 섬유강화플라스틱 복공판 |
| KR100816003B1 (ko) * | 2006-07-21 | 2008-03-21 | 재단법인 포항산업과학연구원 | 강합성 거더의 연속화 방법 |
| KR20080057555A (ko) * | 2006-12-20 | 2008-06-25 | 재단법인 포항산업과학연구원 | 일체형 복공판 |
Cited By (9)
| Publication number | Priority date | Publication date | Assignee | Title |
|---|---|---|---|---|
| KR101055856B1 (ko) | 2009-08-31 | 2011-08-09 | 주식회사 승화이엔씨 | 거더 일체형 복공판 및 이를 이용한 가설교량 |
| KR101179503B1 (ko) * | 2011-07-07 | 2012-09-04 | 박상현 | 복개조립체 및 이를 이용한 가설구조물의 시공방법 |
| KR101632960B1 (ko) | 2015-08-31 | 2016-06-23 | 주식회사 하이브리텍 | 가설주형과 복공판 일체형 구조 및 지점부 긴장 구조를 가지는 가설교량 및 그 시공방법 |
| WO2017078552A1 (en) * | 2015-11-06 | 2017-05-11 | Bayani Fernando | Steel deck-flange structures |
| KR20190012700A (ko) | 2017-07-28 | 2019-02-11 | 홍성영 | 복공판 일체형 합성거더, 이를 이용한 가설교량 및 그의 시공방법 |
| KR20200000908A (ko) | 2018-06-26 | 2020-01-06 | 전주대학교 산학협력단 | 조정 가능한 cfrp 부재를 이용한 연속 강교량 시스템 |
| CN115476068A (zh) * | 2022-10-18 | 2022-12-16 | 中车长江车辆有限公司 | 一种下端梁焊缝的焊接方法 |
| CN115476068B (zh) * | 2022-10-18 | 2024-02-13 | 中车长江车辆有限公司 | 一种下端梁焊缝的焊接方法 |
| KR102777016B1 (ko) | 2023-11-13 | 2025-03-10 | (주)아이오컨스텍 | 완전 조립식 가교 |
Similar Documents
| Publication | Publication Date | Title |
|---|---|---|
| KR100911451B1 (ko) | 메인거더와 대형복공판이 일체화된 합성가설교량용 구조체 및 그를 이용한 합성가설교량 시공방법 | |
| KR101391637B1 (ko) | 강재트러스를 이용한 복합트러스 거더의 제작공법 | |
| JP4985540B2 (ja) | 片持架設用移動作業車の上下梁システム | |
| KR100882341B1 (ko) | 단면강성이 보강된 강재빔을 이용한 합성빔의 제작방법 및 단면강성이 보강된 강재빔을 이용한 합성빔을 이용한 라멘교 시공방법 | |
| KR100758994B1 (ko) | 형강인 수직보강부재로 보강된 빔과 그 설치구조 및 이를이용한 교량시공방법 | |
| KR101547540B1 (ko) | 이형플랜지를 갖는 하이브리드 h형강 빔 | |
| KR100722809B1 (ko) | 단면강성이 보강된 빔, 단면강성이 보강된 빔을 이용한교량 설치구조 및 교량시공방법 | |
| KR20210004289A (ko) | 트랜스퍼보 타설용 철골보를 이용한 트랜스퍼층 시공방법 | |
| KR100967734B1 (ko) | 철골 콘크리트 복합보 | |
| KR100569028B1 (ko) | 박스형 가설교량 | |
| KR101243777B1 (ko) | 하부플랜지 콘크리트에 긴장력이 도입된 파형강판 합성형 라멘교량 및 그 시공방법 | |
| KR101347555B1 (ko) | 복부 파형강판 프리스트레스 콘크리트 합성아이빔 교량에서의 연속지점부의 시공방법 | |
| KR100893876B1 (ko) | 지렛대 원리를 이용한 프리스트레싱 세그먼트 거더 및 이의시공방법 | |
| KR100449231B1 (ko) | 상하로 h빔을 연결하여 제작한 겹보에 프리스트레스를도입한 프리스트레스트 합성겹보를 이용한 가설교량 및이의 설치방법 | |
| KR101187666B1 (ko) | 기둥과 보의 접합구조 및 접합방법 | |
| KR102160179B1 (ko) | 조립식 강교량구조물 및 그 시공방법 | |
| KR20080093261A (ko) | 초간편시공이 가능한 강합성 교량 시공방법 | |
| KR100990967B1 (ko) | 조립형 교량 및 그 시공방법 | |
| KR101447723B1 (ko) | 바닥판과 주형 거더의 조합으로 이루어진 조립식 가설 교량 | |
| KR101351806B1 (ko) | 종·횡방향 프리모멘트 거더를 이용한 라멘교의 시공방법 | |
| KR102636865B1 (ko) | 상부플랜지를 확폭하여 보강한 플레이트거더 및 이를이용한 교량 시공방법 | |
| KR100316518B1 (ko) | 조립식 장력강재보 | |
| KR101705071B1 (ko) | 일체형 상부판과 주형을 이용한 교량 및 그 시공방법 | |
| KR100555248B1 (ko) | 단면 강성이 증대된 강재i빔 및 이를 이용한 교량시공방법 | |
| JP4033871B2 (ja) | 橋桁の構築方法 |
Legal Events
| Date | Code | Title | Description |
|---|---|---|---|
| A201 | Request for examination | ||
| PA0109 | Patent application |
St.27 status event code: A-0-1-A10-A12-nap-PA0109 |
|
| PA0201 | Request for examination |
St.27 status event code: A-1-2-D10-D11-exm-PA0201 |
|
| R18-X000 | Changes to party contact information recorded |
St.27 status event code: A-3-3-R10-R18-oth-X000 |
|
| A302 | Request for accelerated examination | ||
| PA0302 | Request for accelerated examination |
St.27 status event code: A-1-2-D10-D17-exm-PA0302 St.27 status event code: A-1-2-D10-D16-exm-PA0302 |
|
| D13-X000 | Search requested |
St.27 status event code: A-1-2-D10-D13-srh-X000 |
|
| D14-X000 | Search report completed |
St.27 status event code: A-1-2-D10-D14-srh-X000 |
|
| E902 | Notification of reason for refusal | ||
| PE0902 | Notice of grounds for rejection |
St.27 status event code: A-1-2-D10-D21-exm-PE0902 |
|
| E13-X000 | Pre-grant limitation requested |
St.27 status event code: A-2-3-E10-E13-lim-X000 |
|
| P11-X000 | Amendment of application requested |
St.27 status event code: A-2-2-P10-P11-nap-X000 |
|
| P13-X000 | Application amended |
St.27 status event code: A-2-2-P10-P13-nap-X000 |
|
| P11-X000 | Amendment of application requested |
St.27 status event code: A-2-2-P10-P11-nap-X000 |
|
| P13-X000 | Application amended |
St.27 status event code: A-2-2-P10-P13-nap-X000 |
|
| E701 | Decision to grant or registration of patent right | ||
| PE0701 | Decision of registration |
St.27 status event code: A-1-2-D10-D22-exm-PE0701 |
|
| GRNT | Written decision to grant | ||
| PR0701 | Registration of establishment |
St.27 status event code: A-2-4-F10-F11-exm-PR0701 |
|
| PR1002 | Payment of registration fee |
St.27 status event code: A-2-2-U10-U11-oth-PR1002 Fee payment year number: 1 |
|
| PG1601 | Publication of registration |
St.27 status event code: A-4-4-Q10-Q13-nap-PG1601 |
|
| R18-X000 | Changes to party contact information recorded |
St.27 status event code: A-5-5-R10-R18-oth-X000 |
|
| R18-X000 | Changes to party contact information recorded |
St.27 status event code: A-5-5-R10-R18-oth-X000 |
|
| PR1001 | Payment of annual fee |
St.27 status event code: A-4-4-U10-U11-oth-PR1001 Fee payment year number: 4 |
|
| FPAY | Annual fee payment |
Payment date: 20130722 Year of fee payment: 5 |
|
| PR1001 | Payment of annual fee |
St.27 status event code: A-4-4-U10-U11-oth-PR1001 Fee payment year number: 5 |
|
| PN2301 | Change of applicant |
St.27 status event code: A-5-5-R10-R13-asn-PN2301 St.27 status event code: A-5-5-R10-R11-asn-PN2301 |
|
| P14-X000 | Amendment of ip right document requested |
St.27 status event code: A-5-5-P10-P14-nap-X000 |
|
| FPAY | Annual fee payment |
Payment date: 20140626 Year of fee payment: 6 |
|
| PR1001 | Payment of annual fee |
St.27 status event code: A-4-4-U10-U11-oth-PR1001 Fee payment year number: 6 |
|
| FPAY | Annual fee payment |
Payment date: 20150608 Year of fee payment: 7 |
|
| PR1001 | Payment of annual fee |
St.27 status event code: A-4-4-U10-U11-oth-PR1001 Fee payment year number: 7 |
|
| P22-X000 | Classification modified |
St.27 status event code: A-4-4-P10-P22-nap-X000 |
|
| FPAY | Annual fee payment |
Payment date: 20160923 Year of fee payment: 8 |
|
| PR1001 | Payment of annual fee |
St.27 status event code: A-4-4-U10-U11-oth-PR1001 Fee payment year number: 8 |
|
| P14-X000 | Amendment of ip right document requested |
St.27 status event code: A-5-5-P10-P14-nap-X000 |
|
| FPAY | Annual fee payment |
Payment date: 20170621 Year of fee payment: 9 |
|
| PR1001 | Payment of annual fee |
St.27 status event code: A-4-4-U10-U11-oth-PR1001 Fee payment year number: 9 |
|
| FPAY | Annual fee payment |
Payment date: 20180731 Year of fee payment: 10 |
|
| PR1001 | Payment of annual fee |
St.27 status event code: A-4-4-U10-U11-oth-PR1001 Fee payment year number: 10 |
|
| P22-X000 | Classification modified |
St.27 status event code: A-4-4-P10-P22-nap-X000 |
|
| PC1903 | Unpaid annual fee |
St.27 status event code: A-4-4-U10-U13-oth-PC1903 Not in force date: 20190804 Payment event data comment text: Termination Category : DEFAULT_OF_REGISTRATION_FEE |
|
| P14-X000 | Amendment of ip right document requested |
St.27 status event code: A-5-5-P10-P14-nap-X000 |
|
| S20-X000 | Security interest recorded |
St.27 status event code: A-4-4-S10-S20-lic-X000 |
|
| FPAY | Annual fee payment |
Payment date: 20200212 Year of fee payment: 11 |
|
| K11-X000 | Ip right revival requested |
St.27 status event code: A-6-4-K10-K11-oth-X000 |
|
| PC1903 | Unpaid annual fee |
St.27 status event code: N-4-6-H10-H13-oth-PC1903 Ip right cessation event data comment text: Termination Category : DEFAULT_OF_REGISTRATION_FEE Not in force date: 20190804 |
|
| PR0401 | Registration of restoration |
St.27 status event code: A-6-4-K10-K13-oth-PR0401 |
|
| PR1001 | Payment of annual fee |
St.27 status event code: A-4-4-U10-U11-oth-PR1001 Fee payment year number: 11 |
|
| R401 | Registration of restoration | ||
| PC1903 | Unpaid annual fee |
St.27 status event code: A-4-4-U10-U13-oth-PC1903 Not in force date: 20200804 Payment event data comment text: Termination Category : DEFAULT_OF_REGISTRATION_FEE |
|
| PC1903 | Unpaid annual fee |
St.27 status event code: N-4-6-H10-H13-oth-PC1903 Ip right cessation event data comment text: Termination Category : DEFAULT_OF_REGISTRATION_FEE Not in force date: 20200804 |
