KR100888898B1 - 양면 조광용 led 바를 이용한 양면표시간판 - Google Patents
양면 조광용 led 바를 이용한 양면표시간판 Download PDFInfo
- Publication number
- KR100888898B1 KR100888898B1 KR1020080047953A KR20080047953A KR100888898B1 KR 100888898 B1 KR100888898 B1 KR 100888898B1 KR 1020080047953 A KR1020080047953 A KR 1020080047953A KR 20080047953 A KR20080047953 A KR 20080047953A KR 100888898 B1 KR100888898 B1 KR 100888898B1
- Authority
- KR
- South Korea
- Prior art keywords
- double
- sided
- led bar
- led
- case
- Prior art date
- Legal status (The legal status is an assumption and is not a legal conclusion. Google has not performed a legal analysis and makes no representation as to the accuracy of the status listed.)
- Expired - Fee Related
Links
Images
Classifications
-
- G—PHYSICS
- G09—EDUCATION; CRYPTOGRAPHY; DISPLAY; ADVERTISING; SEALS
- G09F—DISPLAYING; ADVERTISING; SIGNS; LABELS OR NAME-PLATES; SEALS
- G09F19/00—Advertising or display means not otherwise provided for
- G09F19/22—Advertising or display means on roads, walls or similar surfaces, e.g. illuminated
-
- G—PHYSICS
- G09—EDUCATION; CRYPTOGRAPHY; DISPLAY; ADVERTISING; SEALS
- G09F—DISPLAYING; ADVERTISING; SIGNS; LABELS OR NAME-PLATES; SEALS
- G09F13/00—Illuminated signs; Luminous advertising
- G09F13/04—Signs, boards or panels, illuminated from behind the insignia
- G09F13/0404—Signs, boards or panels, illuminated from behind the insignia the light source being enclosed in a box forming the character of the sign
-
- G—PHYSICS
- G09—EDUCATION; CRYPTOGRAPHY; DISPLAY; ADVERTISING; SEALS
- G09F—DISPLAYING; ADVERTISING; SIGNS; LABELS OR NAME-PLATES; SEALS
- G09F13/00—Illuminated signs; Luminous advertising
- G09F13/04—Signs, boards or panels, illuminated from behind the insignia
- G09F13/0413—Frames or casing structures therefor
-
- G—PHYSICS
- G09—EDUCATION; CRYPTOGRAPHY; DISPLAY; ADVERTISING; SEALS
- G09F—DISPLAYING; ADVERTISING; SIGNS; LABELS OR NAME-PLATES; SEALS
- G09F13/00—Illuminated signs; Luminous advertising
- G09F13/04—Signs, boards or panels, illuminated from behind the insignia
- G09F13/0418—Constructional details
- G09F13/0445—Frames
-
- G—PHYSICS
- G09—EDUCATION; CRYPTOGRAPHY; DISPLAY; ADVERTISING; SEALS
- G09F—DISPLAYING; ADVERTISING; SIGNS; LABELS OR NAME-PLATES; SEALS
- G09F13/00—Illuminated signs; Luminous advertising
- G09F13/20—Illuminated signs; Luminous advertising with luminescent surfaces or parts
- G09F13/22—Illuminated signs; Luminous advertising with luminescent surfaces or parts electroluminescent
-
- G—PHYSICS
- G09—EDUCATION; CRYPTOGRAPHY; DISPLAY; ADVERTISING; SEALS
- G09F—DISPLAYING; ADVERTISING; SIGNS; LABELS OR NAME-PLATES; SEALS
- G09F13/00—Illuminated signs; Luminous advertising
- G09F13/20—Illuminated signs; Luminous advertising with luminescent surfaces or parts
- G09F13/22—Illuminated signs; Luminous advertising with luminescent surfaces or parts electroluminescent
- G09F2013/222—Illuminated signs; Luminous advertising with luminescent surfaces or parts electroluminescent with LEDs
-
- Y—GENERAL TAGGING OF NEW TECHNOLOGICAL DEVELOPMENTS; GENERAL TAGGING OF CROSS-SECTIONAL TECHNOLOGIES SPANNING OVER SEVERAL SECTIONS OF THE IPC; TECHNICAL SUBJECTS COVERED BY FORMER USPC CROSS-REFERENCE ART COLLECTIONS [XRACs] AND DIGESTS
- Y10—TECHNICAL SUBJECTS COVERED BY FORMER USPC
- Y10S—TECHNICAL SUBJECTS COVERED BY FORMER USPC CROSS-REFERENCE ART COLLECTIONS [XRACs] AND DIGESTS
- Y10S362/00—Illumination
- Y10S362/80—Light emitting diode
Landscapes
- Physics & Mathematics (AREA)
- General Physics & Mathematics (AREA)
- Engineering & Computer Science (AREA)
- Theoretical Computer Science (AREA)
- Business, Economics & Management (AREA)
- Accounting & Taxation (AREA)
- Marketing (AREA)
- Illuminated Signs And Luminous Advertising (AREA)
Abstract
Description
Claims (6)
- 삭제
- 삭제
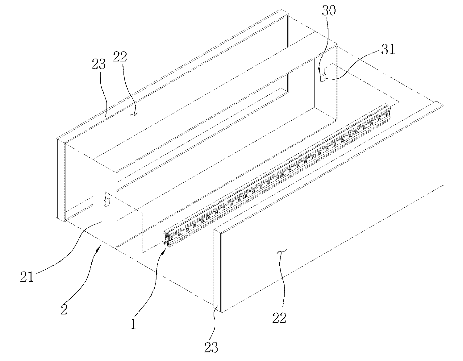
- 중공형 케이스(21)의 전,후면에 투광판(22)을 구비한 커버(23)가 결합되는 것을 포함하는 양면 조광용 LED 바를 이용한 양면표시간판에 있어서,상기 케이스(21)를 알루미늄재로 형성하고, 단면이 'H' 모양으로 형성되어 양면에 LED가 장착된 기판을 설치할 수 있는 한쌍의 결합판(11)(12)이 연결부(13)에 의해 연결 형성된 LED 바(1)를 케이스(21)의 내부에 횡방향으로 설치하되, 상기 LED 바(1)와 케이스(21)가 물리적으로 접촉되도록 하여 LED에서 발생되는 열을 LED 바(1)와 케이스(21) 전체를 통해 효율적으로 방열토록 구성한 것을 특징으로 하는 양면 조광용 LED 바를 이용한 양면표시간판.
- 제 3 항에 있어서, 상기 LED 바(1)의 결합판(11)(12)에 다수의 LED(17)가 장착된 메탈기판(15)을 나사(19)로서 결합하되, 상기 결합판(11)(12)과 메탈기판(15) 사이에 써멀(THERMAL) 그리스(16)를 도포하여 LED(17)에서 발생되는 열이 금속재인 메탈기판(15)과 써멀그리스(16)를 통해 LED 바(1)로 전달되어 케이스(21) 전체를 통해 방열되도록 한 것을 특징으로 하는 양면 조광용 LED 바를 이용한 양면표시간판.
- 제 3 항에 있어서, 상기 케이스(21)의 양측단 내측에 고정편(31)을 세로방향으로 설치한 결합부재(30)를 구성하여 LED 바(1)의 양끝단 결합판(11)(12) 사이가 고정편(31)으로 끼워지도록 하여 간단한 조립작업으로 LED 바(1)를 설치할 수 있도록 한 것을 특징으로 하는 양면 조광용 LED 바를 이용한 양면표시간판.
- 제 5 항에 있어서, 상기 고정편(31)의 하단에 수평상으로 받침부(32)를 형성하고, 상기 받침부(32)의 양측에는 고정편(31)으로 끼워지는 LED 바(1)의 양측을 잡아주기 위한 걸림고리(33)를 수직방향으로 세워 형성한 것을 특징으로 하는 양면 조광용 LED 바를 이용한 양면표시간판.
Priority Applications (1)
| Application Number | Priority Date | Filing Date | Title |
|---|---|---|---|
| KR1020080047953A KR100888898B1 (ko) | 2008-05-23 | 2008-05-23 | 양면 조광용 led 바를 이용한 양면표시간판 |
Applications Claiming Priority (1)
| Application Number | Priority Date | Filing Date | Title |
|---|---|---|---|
| KR1020080047953A KR100888898B1 (ko) | 2008-05-23 | 2008-05-23 | 양면 조광용 led 바를 이용한 양면표시간판 |
Publications (1)
| Publication Number | Publication Date |
|---|---|
| KR100888898B1 true KR100888898B1 (ko) | 2009-03-17 |
Family
ID=40698292
Family Applications (1)
| Application Number | Title | Priority Date | Filing Date |
|---|---|---|---|
| KR1020080047953A Expired - Fee Related KR100888898B1 (ko) | 2008-05-23 | 2008-05-23 | 양면 조광용 led 바를 이용한 양면표시간판 |
Country Status (1)
| Country | Link |
|---|---|
| KR (1) | KR100888898B1 (ko) |
Cited By (7)
| Publication number | Priority date | Publication date | Assignee | Title |
|---|---|---|---|---|
| KR101080435B1 (ko) | 2010-04-05 | 2011-11-04 | (주)룩센터 | 엘이디 고정 프레임 |
| KR101452933B1 (ko) * | 2013-03-08 | 2014-10-23 | 주식회사 라온솔루션 | 돌출간판용 엘이디 조명장치 |
| KR101645344B1 (ko) | 2015-09-22 | 2016-08-12 | 주식회사 제이에스컴 | 집광 조명식 안내사인 |
| US9804442B2 (en) | 2014-03-10 | 2017-10-31 | Samsung Electronics Co., Ltd. | Double-sided emission type display device |
| KR20190121063A (ko) * | 2018-04-17 | 2019-10-25 | 주식회사 에이엘 | 안내유도사인 |
| KR102488834B1 (ko) | 2022-03-21 | 2023-01-13 | 김성현 | 내용 변경이 가능한 간판 |
| KR102654815B1 (ko) * | 2023-02-24 | 2024-04-09 | 주식회사 바이오명륜 | 고휘도 양면 광고패널 |
Citations (4)
| Publication number | Priority date | Publication date | Assignee | Title |
|---|---|---|---|---|
| JP2003186428A (ja) | 2001-12-21 | 2003-07-04 | Denso:Kk | 表示器 |
| US20040233672A1 (en) | 2003-05-23 | 2004-11-25 | Eden Dubuc | Method and apparatus for irradiation of plants using light emitting diodes |
| US20050265019A1 (en) | 2004-05-26 | 2005-12-01 | Gelcore Llc | LED lighting systems for product display cases |
| KR100756648B1 (ko) | 2007-05-14 | 2007-09-07 | 엔 하이테크 주식회사 | 영업 냉장고용 led 조명장치 |
-
2008
- 2008-05-23 KR KR1020080047953A patent/KR100888898B1/ko not_active Expired - Fee Related
Patent Citations (4)
| Publication number | Priority date | Publication date | Assignee | Title |
|---|---|---|---|---|
| JP2003186428A (ja) | 2001-12-21 | 2003-07-04 | Denso:Kk | 表示器 |
| US20040233672A1 (en) | 2003-05-23 | 2004-11-25 | Eden Dubuc | Method and apparatus for irradiation of plants using light emitting diodes |
| US20050265019A1 (en) | 2004-05-26 | 2005-12-01 | Gelcore Llc | LED lighting systems for product display cases |
| KR100756648B1 (ko) | 2007-05-14 | 2007-09-07 | 엔 하이테크 주식회사 | 영업 냉장고용 led 조명장치 |
Cited By (8)
| Publication number | Priority date | Publication date | Assignee | Title |
|---|---|---|---|---|
| KR101080435B1 (ko) | 2010-04-05 | 2011-11-04 | (주)룩센터 | 엘이디 고정 프레임 |
| KR101452933B1 (ko) * | 2013-03-08 | 2014-10-23 | 주식회사 라온솔루션 | 돌출간판용 엘이디 조명장치 |
| US9804442B2 (en) | 2014-03-10 | 2017-10-31 | Samsung Electronics Co., Ltd. | Double-sided emission type display device |
| KR101645344B1 (ko) | 2015-09-22 | 2016-08-12 | 주식회사 제이에스컴 | 집광 조명식 안내사인 |
| KR20190121063A (ko) * | 2018-04-17 | 2019-10-25 | 주식회사 에이엘 | 안내유도사인 |
| KR102085109B1 (ko) | 2018-04-17 | 2020-04-24 | 주식회사 에이엘 | 안내유도사인 |
| KR102488834B1 (ko) | 2022-03-21 | 2023-01-13 | 김성현 | 내용 변경이 가능한 간판 |
| KR102654815B1 (ko) * | 2023-02-24 | 2024-04-09 | 주식회사 바이오명륜 | 고휘도 양면 광고패널 |
Similar Documents
| Publication | Publication Date | Title |
|---|---|---|
| KR100888898B1 (ko) | 양면 조광용 led 바를 이용한 양면표시간판 | |
| US7420811B2 (en) | Heat sink structure for light-emitting diode based streetlamp | |
| KR101049177B1 (ko) | 엘이디조명장치 | |
| KR100657869B1 (ko) | 광고내용을 확대 투사하는 엘이디 조명장치 | |
| KR101113292B1 (ko) | 엘이디 조명장치 | |
| EP2752617A2 (en) | Spherical lamp with easy heat dissipation | |
| CN101556032A (zh) | 发光二极管灯具 | |
| JP2014504373A (ja) | Ledモジュールと反射板を利用した看板照明システム | |
| KR101369422B1 (ko) | 엘이디 조명등 | |
| KR200448658Y1 (ko) | 엘이디 광고 간판용 바디 프레임 장치. | |
| KR20090010850U (ko) | Led를 광원으로 하는 조명장치 | |
| KR101009505B1 (ko) | 별도의 방열기구 없이 방열성능의 유지가 가능한 엘이디 모듈 | |
| KR100978864B1 (ko) | 발광다이오드를 이용한 판형 가로등기구 | |
| JP5717095B2 (ja) | 看板用直管蛍光灯型ledランプ | |
| KR200449576Y1 (ko) | Led를 이용한 확장 가능한 광원 장치 | |
| JP2008010305A (ja) | 光源装置及び照明装置 | |
| JP2011054348A (ja) | Led街路灯の頭部 | |
| KR100983645B1 (ko) | 형광등 대체용 엘이디 조명 장치 | |
| KR200435227Y1 (ko) | 발광 다이오드를 기본으로 채용한 가로등의 향상된 히트싱크 구조체 | |
| JP2013033594A (ja) | 両面看板用直管蛍光灯型ledランプ | |
| KR101061218B1 (ko) | Led조명장치용 방열판 | |
| KR200447616Y1 (ko) | 방수, 방열 및 이미지 교체가 용이한 발광보드 | |
| KR101538554B1 (ko) | 입체적인 양방향 방열구조에 의해 방열성능을 향상시키는 led 조명장치용 프레임 | |
| KR101038010B1 (ko) | 엘이디 다운라이트 조명등 기구의 체결구조 | |
| KR100911236B1 (ko) | 블록형 엘이디 조명장치 |
Legal Events
| Date | Code | Title | Description |
|---|---|---|---|
| A201 | Request for examination | ||
| PA0109 | Patent application |
St.27 status event code: A-0-1-A10-A12-nap-PA0109 |
|
| PA0201 | Request for examination |
St.27 status event code: A-1-2-D10-D11-exm-PA0201 |
|
| A302 | Request for accelerated examination | ||
| PA0302 | Request for accelerated examination |
St.27 status event code: A-1-2-D10-D17-exm-PA0302 St.27 status event code: A-1-2-D10-D16-exm-PA0302 |
|
| D13-X000 | Search requested |
St.27 status event code: A-1-2-D10-D13-srh-X000 |
|
| R17-X000 | Change to representative recorded |
St.27 status event code: A-3-3-R10-R17-oth-X000 |
|
| D14-X000 | Search report completed |
St.27 status event code: A-1-2-D10-D14-srh-X000 |
|
| E902 | Notification of reason for refusal | ||
| PE0902 | Notice of grounds for rejection |
St.27 status event code: A-1-2-D10-D21-exm-PE0902 |
|
| E13-X000 | Pre-grant limitation requested |
St.27 status event code: A-2-3-E10-E13-lim-X000 |
|
| P11-X000 | Amendment of application requested |
St.27 status event code: A-2-2-P10-P11-nap-X000 |
|
| P13-X000 | Application amended |
St.27 status event code: A-2-2-P10-P13-nap-X000 |
|
| E701 | Decision to grant or registration of patent right | ||
| PE0701 | Decision of registration |
St.27 status event code: A-1-2-D10-D22-exm-PE0701 |
|
| GRNT | Written decision to grant | ||
| PR0701 | Registration of establishment |
St.27 status event code: A-2-4-F10-F11-exm-PR0701 |
|
| PR1002 | Payment of registration fee |
St.27 status event code: A-2-2-U10-U11-oth-PR1002 Fee payment year number: 1 |
|
| PG1601 | Publication of registration |
St.27 status event code: A-4-4-Q10-Q13-nap-PG1601 |
|
| PN2301 | Change of applicant |
St.27 status event code: A-5-5-R10-R11-asn-PN2301 |
|
| PN2301 | Change of applicant |
St.27 status event code: A-5-5-R10-R14-asn-PN2301 |
|
| P14-X000 | Amendment of ip right document requested |
St.27 status event code: A-5-5-P10-P14-nap-X000 |
|
| P16-X000 | Ip right document amended |
St.27 status event code: A-5-5-P10-P16-nap-X000 |
|
| Q16-X000 | A copy of ip right certificate issued |
St.27 status event code: A-4-4-Q10-Q16-nap-X000 |
|
| PN2301 | Change of applicant |
St.27 status event code: A-5-5-R10-R11-asn-PN2301 |
|
| R18-X000 | Changes to party contact information recorded |
St.27 status event code: A-5-5-R10-R18-oth-X000 |
|
| PN2301 | Change of applicant |
St.27 status event code: A-5-5-R10-R14-asn-PN2301 |
|
| PR1001 | Payment of annual fee |
St.27 status event code: A-4-4-U10-U11-oth-PR1001 Fee payment year number: 4 |
|
| R18-X000 | Changes to party contact information recorded |
St.27 status event code: A-5-5-R10-R18-oth-X000 |
|
| FPAY | Annual fee payment |
Payment date: 20121221 Year of fee payment: 5 |
|
| PR1001 | Payment of annual fee |
St.27 status event code: A-4-4-U10-U11-oth-PR1001 Fee payment year number: 5 |
|
| PN2301 | Change of applicant |
St.27 status event code: A-5-5-R10-R13-asn-PN2301 St.27 status event code: A-5-5-R10-R11-asn-PN2301 |
|
| FPAY | Annual fee payment |
Payment date: 20140116 Year of fee payment: 6 |
|
| PR1001 | Payment of annual fee |
St.27 status event code: A-4-4-U10-U11-oth-PR1001 Fee payment year number: 6 |
|
| P14-X000 | Amendment of ip right document requested |
St.27 status event code: A-5-5-P10-P14-nap-X000 |
|
| FPAY | Annual fee payment |
Payment date: 20150114 Year of fee payment: 7 |
|
| PR1001 | Payment of annual fee |
St.27 status event code: A-4-4-U10-U11-oth-PR1001 Fee payment year number: 7 |
|
| PN2301 | Change of applicant |
St.27 status event code: A-5-5-R10-R11-asn-PN2301 |
|
| FPAY | Annual fee payment |
Payment date: 20160122 Year of fee payment: 8 |
|
| P14-X000 | Amendment of ip right document requested |
St.27 status event code: A-5-5-P10-P14-nap-X000 |
|
| PR1001 | Payment of annual fee |
St.27 status event code: A-4-4-U10-U11-oth-PR1001 Fee payment year number: 8 |
|
| P22-X000 | Classification modified |
St.27 status event code: A-4-4-P10-P22-nap-X000 |
|
| P14-X000 | Amendment of ip right document requested |
St.27 status event code: A-5-5-P10-P14-nap-X000 |
|
| PR1001 | Payment of annual fee |
St.27 status event code: A-4-4-U10-U11-oth-PR1001 Fee payment year number: 9 |
|
| LAPS | Lapse due to unpaid annual fee | ||
| PC1903 | Unpaid annual fee |
St.27 status event code: A-4-4-U10-U13-oth-PC1903 Not in force date: 20180311 Payment event data comment text: Termination Category : DEFAULT_OF_REGISTRATION_FEE |
|
| P22-X000 | Classification modified |
St.27 status event code: A-4-4-P10-P22-nap-X000 |
|
| PC1903 | Unpaid annual fee |
St.27 status event code: N-4-6-H10-H13-oth-PC1903 Ip right cessation event data comment text: Termination Category : DEFAULT_OF_REGISTRATION_FEE Not in force date: 20180311 |
|
| P22-X000 | Classification modified |
St.27 status event code: A-4-4-P10-P22-nap-X000 |
|
| P22-X000 | Classification modified |
St.27 status event code: A-4-4-P10-P22-nap-X000 |
