KR100770604B1 - 교량용 배수관 이음장치 - Google Patents

교량용 배수관 이음장치 Download PDF

Info

Publication number
KR100770604B1
KR100770604B1 KR1020060057715A KR20060057715A KR100770604B1 KR 100770604 B1 KR100770604 B1 KR 100770604B1 KR 1020060057715 A KR1020060057715 A KR 1020060057715A KR 20060057715 A KR20060057715 A KR 20060057715A KR 100770604 B1 KR100770604 B1 KR 100770604B1
Authority
KR
South Korea
Prior art keywords
fixing
bolt
joint
fixing plate
hinge
Prior art date
Legal status (The legal status is an assumption and is not a legal conclusion. Google has not performed a legal analysis and makes no representation as to the accuracy of the status listed.)
Expired - Fee Related
Application number
KR1020060057715A
Other languages
English (en)
Inventor
김원주
Original Assignee
김원주
Priority date (The priority date is an assumption and is not a legal conclusion. Google has not performed a legal analysis and makes no representation as to the accuracy of the date listed.)
Filing date
Publication date
Application filed by 김원주 filed Critical 김원주
Priority to KR1020060057715A priority Critical patent/KR100770604B1/ko
Application granted granted Critical
Publication of KR100770604B1 publication Critical patent/KR100770604B1/ko
Expired - Fee Related legal-status Critical Current
Anticipated expiration legal-status Critical

Links

Images

Classifications

    • FMECHANICAL ENGINEERING; LIGHTING; HEATING; WEAPONS; BLASTING
    • F16ENGINEERING ELEMENTS AND UNITS; GENERAL MEASURES FOR PRODUCING AND MAINTAINING EFFECTIVE FUNCTIONING OF MACHINES OR INSTALLATIONS; THERMAL INSULATION IN GENERAL
    • F16LPIPES; JOINTS OR FITTINGS FOR PIPES; SUPPORTS FOR PIPES, CABLES OR PROTECTIVE TUBING; MEANS FOR THERMAL INSULATION IN GENERAL
    • F16L21/00Joints with sleeve or socket
    • F16L21/06Joints with sleeve or socket with a divided sleeve or ring clamping around the pipe ends
    • F16L21/065Joints with sleeve or socket with a divided sleeve or ring clamping around the pipe ends tightened by tangentially-arranged threaded pins
    • FMECHANICAL ENGINEERING; LIGHTING; HEATING; WEAPONS; BLASTING
    • F16ENGINEERING ELEMENTS AND UNITS; GENERAL MEASURES FOR PRODUCING AND MAINTAINING EFFECTIVE FUNCTIONING OF MACHINES OR INSTALLATIONS; THERMAL INSULATION IN GENERAL
    • F16JPISTONS; CYLINDERS; SEALINGS
    • F16J15/00Sealings
    • F16J15/02Sealings between relatively-stationary surfaces
    • F16J15/021Sealings between relatively-stationary surfaces with elastic packing
    • FMECHANICAL ENGINEERING; LIGHTING; HEATING; WEAPONS; BLASTING
    • F16ENGINEERING ELEMENTS AND UNITS; GENERAL MEASURES FOR PRODUCING AND MAINTAINING EFFECTIVE FUNCTIONING OF MACHINES OR INSTALLATIONS; THERMAL INSULATION IN GENERAL
    • F16LPIPES; JOINTS OR FITTINGS FOR PIPES; SUPPORTS FOR PIPES, CABLES OR PROTECTIVE TUBING; MEANS FOR THERMAL INSULATION IN GENERAL
    • F16L21/00Joints with sleeve or socket
    • F16L21/08Joints with sleeve or socket with additional locking means

Landscapes

  • Engineering & Computer Science (AREA)
  • General Engineering & Computer Science (AREA)
  • Mechanical Engineering (AREA)
  • Bridges Or Land Bridges (AREA)

Abstract

본 발명은 배수관의 무용접 이음(연결)이 가능한 교량용 배수관 이음장치에 관한 것으로, 한쪽 이음고정판(12a)에 종방향으로 종고정볼트(34)가 체결 통과되어 종고정너트(36)로서 결합될 수 있도록 볼트통과공(16a)(16b)이 관통된 종설브래킷(14a)(14b)이 형성되고, 다른 한쪽 이음고정판(12b)에는 상기 종고정볼트(34)가 통과되는 볼트통과공(32)이 관통된 횡고정볼트(30)가 횡방향으로 체결 통과되어 횡고정너트(26)로서 결합 고정될 수 있도록 볼트통과공(28)이 형성된 횡설브래킷(20)이 형성되며, 한쪽 이음고정판(12a)과 다른 한쪽 이음고정판(12b)에 볼트통과공이 관통된 수힌지구(40)와 암힌지구(50)가 돌출되어 서로 끼움 체결되면서 이들 수힌지구(40)와 암힌지구(50)의 볼트통과공으로 힌지체결볼트(44)가 체결되어 힌지체결너트(46)로서 힌지결합된다. 이러한 구성관계의 본 발명은 배수관(70)의 연결부위를 무용접 조립방식으로 결합시켜 현장 용접작업에 따른 안전사고를 예방할 수 있으면서 재사용이 가능하여 경제적이면서도 유지보수가 간단해질 수 있도록 한다.
이음고정판, 종설브래킷, 암고정볼트, 수힌지구, 압착패킹, 배수관

Description

교량용 배수관 이음장치 {Drain pipe connecting device for a bridge}
도 1은 본 발명의 배수관 이음장치가 배수관에 결합되기 전의 볼트체결 방향의 분리상태도.
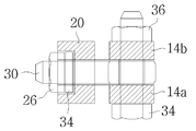
도 2는 본 발명의 배수관 이음장치를 구성하는 횡설브래킷의 확대사시도.
도 3은 본 발명에 따른 배수관 이음장치의 양쪽 이음고정판이 힌지결합되는 힌지체결 방향의 결합상태도.
도 4a 및 도 4b는 본 발명의 양쪽 이음고정판이 볼트결합되는 볼트체결쪽 평면방향 구조도 및 요부확대 구조도.
도 5a 및 도 5b는 본 발명의 양쪽 이음고정판이 힌지결합되는 힌지체결쪽 평면방향 구조도 및 요부확대 구조도.
도 6은 본 발명에 따른 이음구가 양쪽 배수관의 이음부위에 결합된 사용상태 단면도.
* 도면의 주요부분에 대한 부호의 설명 *
10 : 이음구 12a,12b : 이음고정판
14a,14b : 종설브래킷 16a,16b,28,32,42 : 볼트통과공
20 : 횡설브래킷 22 : 너트체결턱
24 : 고정와셔 26 : 횡고정너트
30 : 횡고정볼트 34 : 종고정볼트
36 : 종고정너트 40 : 수힌지구
44 : 힌지체결볼트 46 : 힌지체결너트
50 : 암힌지구 60 : 압착패킹
본 발명은 교량의 배수관을 기밀 유지하여 연결시킬 수 있는 교량용 배수관 이음장치에 관한 것으로, 보다 상세하게는 배수관의 연결부위를 무용접 조립방식으로 결합시켜 현장 용접작업에 따른 안전사고를 예방할 수 있으면서 재사용이 가능하여 경제적이면서도 유지보수가 간단해질 수 있는 교량용 배수관 이음장치에 관한 것이다.
일반적으로 교량에는 집수구를 통해 유입되는 우수를 강이나 하천으로 배출시키기 위해 통상 집수구 아래쪽으로 다수개가 서로 연결되는 배수관이 설치된다. 특히 교량에 설치되는 배수관은 그 연장길이 및 설치각도에 따라 배수관 규격의 변경이 자주 발생하기 때문에 설계도면대로 제작하기가 곤란할 뿐만 아니라, 제작한다 하더라도 그 제작된 배수관의 길이로 인해 운반이 불가능하여 현장제작 및 실축에 의한 절단작업을 해서 이루어진다.
그런데 지금까지의 교량에 적용되는 배수관은 대부분 이어지는 다른 배수관과 서로 이음부분의 단부가 용접에 의해 연결 고정되었다. 따라서 이와 같이 용접에 의한 배수관의 연결 고정은 교량의 하부벽체 및 교각에 따라 배치시킨 상태에서 수행되기 때문에 용접작업을 원활하게 수행할 수 없어 연결부분에서 균열이 빈번하게 발생되기 쉬웠다.
또한 이동 중인 차량 또는 보행자에 의해 전파되는 동적 충격이나 계절에 따른 외부온도 등을 포함하는 환경요인에도 영향을 받기 때문에 설치작업에 제한이 따를 수밖에 없었고, 특히 동적 충격에 따른 잔류응력으로 인해 피로파괴가 발생되면서 훼손을 야기시켜 유지보수에도 어려움이 많은 문제점이 있었다.
따라서 본 발명은 상기와 같은 문제점을 해결하고자 발명된 것으로, 이웃하는 배수관들의 연결부위를 용접결합에 의한 이음고정이 아니라 현장 용접작업에 따른 안전사고를 예방할 수 있으면서 재사용이 가능하여 경제적이면서도 유지보수가 간단해질 수 있는 무용접 조립방식으로 개선시킨 교량용 배수관 이음장치를 제공함에 그 목적이 있다.
이는 용접부위의 부식발생으로 인한 미관불량을 해소할 수 있으면서 현장 용접작업에 따른 안전사고를 예방함은 물론, 볼트체결 정도로 조립방식이 간단하여 현장의 설치시간이 단축되고 자재의 재사용이 가능하여 경제적이면서도 유지보수가 저렴할 수 있는 새로운 결합방식의 교량용 배수관 이음장치를 제공함에 보다 구체 적인 목적이 있다.
상술한 목적을 달성하기 위한 본 발명의 교량용 배수관 이음장치는 배수관의 이음부분에 대해 양쪽으로 분리된 이음고정판이 체결되어 서로 볼트결합 또는 힌지결합으로 연결 고정되는 교량용 배수관 이음장치로서, 기본적으로 한쪽 이음고정판의 일측 단부에 종방향으로 종고정볼트가 체결 통과되어 종고정너트로서 결합 고정될 수 있도록 볼트통과공이 관통된 다수의 종설브래킷이 형성되고, 다른 한쪽 이음고정판의 일측 단부에는 상기 종고정볼트가 통과되는 볼트통과공이 관통된 횡고정볼트가 횡방향으로 체결 통과되어 횡고정너트로서 결합 고정될 수 있도록 볼트통과공이 형성된 다수의 횡설브래킷이 형성되며, 한쪽 이음고정판의 타측 단부와 다른 한쪽 이음고정판의 타측 단부에 볼트통과공이 관통된 수힌지구와 암힌지구가 돌출 형성되어 서로 끼움 체결되면서 이들 수힌지구와 암힌지구의 볼트통과공으로 힌지체결볼트가 체결 통과되어 힌지체결너트로서 힌지결합된다.
그리고 다른 한쪽 이음고정판의 횡고정볼트는 한쪽 이음고정판에 상하 양쪽으로 돌출된 종설브래킷의 틈새로 볼트통과공이 끼움되어 해당 종고정볼트가 체결 통과되고, 상기 횡고정볼트가 횡방향으로 체결되는 횡설브래킷의 외측에는 횡고정너트가 고정와셔와 함께 안착 체결될 수 있도록 너트체결턱이 단턱지게 요홈된다. 아울러 양쪽 이음고정판의 일측 단부 및 반대편 타측 단부는 서로 요철 끼움될 수 있도록 단턱지게 형성된다.
또한 일측이 힌지결합되면서 타측은 볼트고정되는 양쪽의 이음고정판으로 이루어진 이음구의 내측에 배수관과의 밀착고정을 위한 고무재질의 압착패킹이 포함된 것을 구성관계를 기술적 특징으로 한다.
이하, 본 발명에 따라 배수관의 무용접 이음(연결)이 가능한 교량용 배수관 이음장치의 구성 및 작동관계를 바람직한 실시예의 도면을 참조하여 상세히 설명한다. 본 발명의 구성관계를 설명함에 있어 보다 쉬운 이해를 돕고자 표기된 도면부호를 기준으로 설명하고 있으나 이는 권리범위를 한정하고자 함이 아니며, 당연히 바람직한 일 실시예로서 본 발명의 기술사상을 벗어나지 않는 권리범위 내에서의 다양한 응용 실시예가 가능하고 이 또한 권리범위를 벗어나지 않음은 물론이다.
도 1은 본 발명의 배수관 이음장치를 구성하는 이음구(10)가 양쪽 배수관(70)의 이음부분에 압착패킹(60)를 구비하여 결합되는 조립상태로서 양쪽 이음고정판(12a)(12b)에 종고정볼트(34)와 횡고정볼트(30)가 각각 체결되기 전의 분리상태를 도시한 것이며, 도 2는 본 발명의 배수관 이음장치를 구성하는 한쪽 이음고정판(12b)의 일측 단부에 형성된 횡설브래킷(20)의 확대구조를 도시한 것이다.
도 3은 본 발명에 따른 배수관 이음장치의 양쪽 이음고정판(12a)(12b)이 수힌지구(40)와 암힌지구(50)에 함께 체결 통과되는 힌지체결볼트(44)로서 회전 가능하게 힌지결합되는 결합상태를 도시한 것이다.
또한 도 4a 및 도 4b는 본 발명의 양쪽 이음고정판(12a)(12b)이 볼트결합되는 볼트체결쪽(도 1 참조)의 평면방향 구조 및 요부확대 구조를 각각 도시한 것이며, 도 5a 및 도 5b는 본 발명의 양쪽 이음고정판(12a)(12b)이 힌지결합되는 힌지 체결쪽(도 3 참조)의 평면방향 구조 및 요부확대 구조를 각각 도시한 것이다.
도면에서 보는 바와 같이, 배수관(70)의 무용접 이음(연결)이 가능하도록 구성관계를 갖는 본 발명의 교량용 배수관 이음장치는 기본적으로 연결되는 배수관(70)의 이음부분에 대해 양쪽으로 분리된 이음고정판(12a)(12b)이 체결되어 힌지결합되는 일측을 기준으로 반대편의 분리된 타측이 볼트체결로서 일체 결합되는 구성관계를 이룬다.
즉, 한쪽 이음고정판(12a)의 일측 단부에 종방향으로 종고정볼트(34)가 체결 통과되어 종고정너트(36)로서 결합 고정될 수 있도록 각각 볼트통과공(16a)(16b)이 관통된 다수의 종설브래킷(14a)(14b)이 형성되고, 다른 한쪽 이음고정판(12b)의 일측 단부에는 상기 종고정볼트(34)가 통과되는 볼트통과공(32)이 관통된 횡고정볼트(30)가 횡방향으로 체결 통과되어 횡고정너트(26)로서 결합 고정될 수 있도록 볼트통과공(28)이 형성된 다수의 횡설브래킷(20)이 형성된다.
이때 한쪽의 이음고정판(12a)에 돌출 형성되는 종설브래킷(14a)(14b)은 다른 한쪽 이음고정판(12b)의 횡고정볼트(30)가 끼움될 수 있는 틈새를 유지하여 기본적으로 복수개로 구성되며, 이러한 복수개의 종설브래킷(14a)(14b)이 한쌍이 아닌 두쌍이 상기 한쪽 이음고정판(12a)의 상하 양쪽에 각각 구성됨이 바람직하다. 물론 상기 종설브래킷(14a)(14b)과 함께 다른 한쪽의 이음고정판(12b)에 구성되는 단일개의 횡설브래킷(20) 역시 상기 종설브래킷(14a)(14b)과 함께 상하 양쪽에 구성됨은 당연하며, 이는 종설브래킷(14a)(14b)에 따라 횡설브래킷(20)이 따라 형성되어 결합되는 구성관계를 이룬다.
또한 한쪽 이음고정판(12a)의 각각 일정틈새를 유지한 상하 양쪽의 종설브래킷(14a)(14b)으로 단일개의 종고정볼트(34)가 체결되어 종고정너트(36)로서 결합고정될 수 있으나, 바람직한 실시예의 도면에서 보는 것처럼 상기 종설브래킷(14a)(14b)에 대해 해당 종고정볼트(34)와 종고정너트(36)가 각각 체결되어 결합 고정될 수 있음은 물론이다.
또한 다른 한쪽 이음고정판(편의상 도면부호 12b로 표기)의 횡고정볼트(30)는 한쪽 이음고정판(12a)에 상하 양쪽으로 돌출된 종설브래킷(14a)(14b)의 틈새로 볼트통과공(32)이 끼움되어 해당 종고정볼트(34)가 체결 통과되고, 상기 횡고정볼트(30)가 횡방향으로 체결되는 횡설브래킷(20)의 외측에는 횡고정너트(26)가 고정와셔(24)와 함께 안착 체결될 수 있도록 너트체결턱(22)이 단턱지게 요홈된다. 상기 횡설브래킷(20)에 형성되는 너트체결턱(22)은 횡고정볼트(30)에 대해 횡고정너트(26)가 고정와셔(24)와 함께 보다 안정되게 밀착 결합될 수 있도록 한다.
그리고 본 발명의 배수관 이음장치를 구성하는 이음구(10)는 도 3에서 보는 것처럼, 한쪽 이음고정판(12a)의 타측 단부(편의상 도 1 및 도 2를 기준으로 이해되기 쉽게 표현)와 다른 한쪽 이음고정판(12b)의 타측 단부에 각각 볼트통과공(42)이 관통된 수힌지구(40)와 암힌지구(50)가 돌출 형성되어 서로 끼움 체결되며, 이들 수힌지구(40)와 암힌지구(50)의 볼트통과공(도면 편의상 도면부호는 42로 표기)으로 힌지체결볼트(44)가 체결 통과되어 힌지체결너트(46)로서 힌지결합된다.
특히 이들 수힌지구(40)와 암힌지구(50)는 서로가 겹쳐지게 끼움 결합되는데, 예컨대 수힌지구(40)가 중앙에 위치할 경우에는 당연히 암힌지구(50)는 그 상 하 양쪽으로 위치하여 힌지결합되는 구성관계를 이루며, 반대로 암힌지구(50)가 중앙에 위치하면 수힌지구(40)는 그 상하 양쪽에 위치하여 힌지결합됨은 물론이다. 이는 힌지체결볼트(44)를 축으로 회전가능하게 힌지결합되는 이들 암,수힌지구(50)(40)에 의해 반대편의 이음고정판(12a)(12b)이 이음단부가 회전 동작되어 서로 종방향 및 횡방향의 볼트체결로서 결합 고정될 수 있도록 한다.
또한 암,수힌지구(50)(40)에 체결되는 힌지체결볼트(44)와 힌지체결너트(46) 역시 상기 암,수힌지구(50)(40)가 상하 양쪽에 복수개로 형성될 경우에 도면에서 보는 것처럼 단일개로 체결될 수 있으나, 반대편의 종고정볼트(34) 및 종고정너트(36)에서와 같이 각각 체결되는 복수개의 구성관계로 이루어질 수 있음은 물론이다. 나아가 힌지동작되어 배수관(70)에 대해 볼트결합되는 본 발명의 요부인 이음고정판(12a)(12b)은 그 일측 단부 및 반대편 타측 단부가 서로 요철 끼움될 수 있도록 단턱지게 형성됨이 바람직하다. 이는 단순히 서로 맞대어 접촉된 상태에서 볼트결합되는 구조보다 보다 안정된 작업조건 및 결합상태를 제공할 수 있다.
이와 같이 서로 연결되는 배수관(70)의 이음부분에 밀착 체결되어 결합 고정되면서 본 발명의 배수관 이음장치를 구성하는 이음구(10)는 도 6의 사용상태도에서 보는 것처럼, 먼저 배수관(70)의 이음부분에 대해 통상 고무재질로 기밀유지 및 압착이 우수한 압착패킹(60)을 밀착시킨 상태에서 암,수힌지구(50)(40)의 힌지체결볼트(44)를 축으로 회전 동작되어 개폐되는 한쌍의 이음고정판(12a)(12b)이 조립되는 이음구(10)을 체결시킨다.
즉, 이음구(10)의 일측은 힌지체결볼트(44)를 매개로 암,수힌지구(50)(40)가 회전 가능하게 힌지결합되는 상태이며, 아직 조립되지 않은 이음구(10)의 타측 단부를 서로 연결(끼움)시킨 상태에서 먼저 한쪽 단부에 종설브래킷(14a)(14b) 안으로 횡고정볼트(30)을 끼운 다음, 상기 종설브래킷(14a)(14b)의 볼트통과공(16a) (16b)과 횡고정볼트(30)의 볼트볼트공(32)으로 종고정볼트(34)을 체결 통과시켜 해당 종고정너트(36)의 체결로서 결합 고정한다.
계속해서 이음구(10) 타측 단부의 횡설브래킷(20)을 통과한 횡고정볼트(30)에 대해 고정와셔(24)와 함께 횡고정너트(26)를 체결시켜 이미 종고정볼트(34)에 의해 1차 체결된 상기 횡고정볼트(30)를 2차 체결시킴으로서, 이음구(10)를 구성하는 양쪽의 이음고정판(10a)(10b)이 이들 종고정볼트(34)와 횡고정볼트(30)에 의해 안정된 체결상태로 견고하게 밀착 고정될 수 있다.
한편, 본 발명의 배수관 이음장치는 배수관(70)의 이음부분에 대해 보다 정확한 조립위치에서 이탈되지 않고 정확하고 안정된 결합상태가 유지될 수 있도록 이음구(10)의 길이방향 중간부위를 일정높이로 요철시킬 수 있으며, 물론 이 경우에는 압착패킹(60) 및 배수관(70)도 그에 맞는 일정높이로 요철된 형태를 이룸이 바람직하다. 아울러 본 발명에 따른 이음구(10)와 배수관(70) 사이에 개재되는 압착패킹(60)은 교량용 배수관의 특성상 본 발명의 이음구(10)와 같이 해당 배수관(70)의 외측에 대해 양쪽에서 감싸지는 분리구조가 적용됨이 바람직하다.
이상에서 설명한 바와 같은 본 발명에 따른 교량용 배수관 이음장치는 이웃 하는 배수관들의 연결부위를 기존에 주로 사용된 용접결합에 의한 이음고정이 아니라, 일측이 힌지결합되고 타측이 횡방향 및 종방향으로 볼트고정되는 결합구조를 적용시킴으로서 현장 용접작업에 따른 안전사고를 예방할 수 있고 재사용이 가능하여 경제적이면서도 유지보수가 간단해질 수 있는 무용접 조립방식으로의 개선된 배수관의 연결구조를 제공할 수 있다.
이는 용접부위의 부식발생으로 인한 미관불량을 해소할 수 있으면서 현장 용접작업에 따른 안전사고를 예방함은 물론, 볼트체결 정도로 조립방식이 간단하여 현장의 설치시간이 단축되고 자재의 재사용이 가능하여 경제적이면서도 유지보수가 저렴할 수 있는 새로운 결합방식으로서 교량용 배수관 뿐만 아니라 다양한 파이프의 연결장치로서 보다 다양하게 적용될 수 있을 것으로 기대된다.

Claims (5)

  1. 배수관의 이음부분에 대해 양쪽으로 분리된 이음고정판이 체결되어 서로 볼트결합 또는 힌지결합으로 연결 고정되는 교량용 배수관 이음장치로서,
    한쪽 이음고정판(12a)의 일측 단부에 종방향으로 종고정볼트(34)가 체결 통과되어 종고정너트(36)로서 결합 고정될 수 있도록 볼트통과공(16a)(16b)이 관통된 다수의 종설브래킷(14a)(14b)이 형성되고,
    다른 한쪽 이음고정판(12b)의 일측 단부에는 상기 종고정볼트(34)가 통과되는 볼트통과공(32)이 관통된 횡고정볼트(30)가 횡방향으로 체결 통과되어 횡고정너트(26)로서 결합 고정될 수 있도록 볼트통과공(28)이 형성된 다수의 횡설브래킷(20)이 형성되며,
    한쪽 이음고정판(12a)의 타측 단부와 다른 한쪽 이음고정판(12b)의 타측 단부에 볼트통과공(42)이 관통된 수힌지구(40)와 암힌지구(50)가 돌출되어 서로 끼움 체결되면서 이들 수힌지구(40)와 암힌지구(50)의 볼트통과공(42)으로 힌지체결볼트(44)가 체결되어 힌지체결너트(46)로서 힌지결합되되,
    상기 다른 한쪽 이음고정판의 횡고정볼트(30)는 한쪽 이음고정판에 상하 양쪽으로 돌출된 종설브래킷(14a)(14b)의 틈새로 볼트통과공(32)이 끼움되어 해당 종고정볼트(34)가 체결 통과되고,
    상기 횡고정볼트(30)가 횡방향으로 체결되는 횡설브래킷(20)의 외측에는 횡고정너트(26)가 고정와셔(24)와 함께 안착 체결될 수 있도록 너트체결턱(22)이 단턱지게 요홈되며,
    상기 양쪽 이음고정판(12a)(12b)의 일측 단부 및 반대편 타측 단부는 서로 요철 끼움될 수 있도록 단턱지게 형성되면서 이들 이음고정판(12a)(12b)의 내측에 배수관(70)과의 밀착고정을 위한 고무재질의 압착패킹(60)이 설치되는 구성관계를 특징으로 하는 교량용 배수관 이음장치.
  2. 삭제
  3. 삭제
  4. 삭제
  5. 삭제
KR1020060057715A 2006-06-26 2006-06-26 교량용 배수관 이음장치 Expired - Fee Related KR100770604B1 (ko)

Priority Applications (1)

Application Number Priority Date Filing Date Title
KR1020060057715A KR100770604B1 (ko) 2006-06-26 2006-06-26 교량용 배수관 이음장치

Applications Claiming Priority (1)

Application Number Priority Date Filing Date Title
KR1020060057715A KR100770604B1 (ko) 2006-06-26 2006-06-26 교량용 배수관 이음장치

Publications (1)

Publication Number Publication Date
KR100770604B1 true KR100770604B1 (ko) 2007-10-29

Family

ID=38815983

Family Applications (1)

Application Number Title Priority Date Filing Date
KR1020060057715A Expired - Fee Related KR100770604B1 (ko) 2006-06-26 2006-06-26 교량용 배수관 이음장치

Country Status (1)

Country Link
KR (1) KR100770604B1 (ko)

Cited By (1)

* Cited by examiner, † Cited by third party
Publication number Priority date Publication date Assignee Title
KR102111426B1 (ko) 2019-05-24 2020-05-15 주식회사 국일인토트 교량용 파이프 이음관

Citations (2)

* Cited by examiner, † Cited by third party
Publication number Priority date Publication date Assignee Title
KR20030055231A (ko) * 2003-06-13 2003-07-02 박영해 클램프
KR200339758Y1 (ko) 2003-10-20 2004-01-24 성금화 주름관 연결구

Patent Citations (2)

* Cited by examiner, † Cited by third party
Publication number Priority date Publication date Assignee Title
KR20030055231A (ko) * 2003-06-13 2003-07-02 박영해 클램프
KR200339758Y1 (ko) 2003-10-20 2004-01-24 성금화 주름관 연결구

Cited By (1)

* Cited by examiner, † Cited by third party
Publication number Priority date Publication date Assignee Title
KR102111426B1 (ko) 2019-05-24 2020-05-15 주식회사 국일인토트 교량용 파이프 이음관

Similar Documents

Publication Publication Date Title
CN102817413B (zh) 一种震后可恢复功能的钢框架预制预应力梁柱节点及加工工艺
US4063839A (en) Expansion joint with elastomer seal
US20090064602A1 (en) Earthquake-resistant flat expansion joint using hinge
KR20190050389A (ko) 터널 방음벽의 루프용 방음패널 고정장치
JP4461914B2 (ja) 仮締切構造体および仮締切工法
KR101236191B1 (ko) 교량용 신축이음장치 및 이를 이용한 교량의 신축이음 보수공법
KR100770604B1 (ko) 교량용 배수관 이음장치
JP4740900B2 (ja) 鋼製高欄及び高欄の取り替え方法
KR100893876B1 (ko) 지렛대 원리를 이용한 프리스트레싱 세그먼트 거더 및 이의시공방법
KR101769316B1 (ko) 데크로드의 난간기둥 고정장치 및 그 시공방법
KR101341599B1 (ko) 교량용 신축이음장치
KR100978502B1 (ko) 교량의 슬래브 거푸집용 지지장치
KR101214528B1 (ko) 교량 상판 인상 장치 및 이를 이용한 교량 상판 인상 방법
KR101847902B1 (ko) 강재형 수로교
KR20180028216A (ko) 절곡빔을 이용한 교량 점검로
JP5073081B2 (ja) 鋼製高欄
JP4033804B2 (ja) 鋼管柱の地際の腐食部補修装置と補修方法
CN212077672U (zh) 大口径箱涵的钢箱涵修复系统
KR101326291B1 (ko) 교량용 신축이음장치
KR101538957B1 (ko) 조립식 레일 체결형 난간
KR101012275B1 (ko) 배관 파이프 지지장치
KR20120008399A (ko) 철도 교량용 우수받이
KR101084668B1 (ko) 콘크리트와의 부착력이 우수한 모노셀형 신축이음장치
KR20170079922A (ko) 기존도로 또는 도로진입 토공과의 접속을 위한 가설교량의 범용적 가변 거더구조 및 이를 이용한 가설교량의 시공방법
KR102571305B1 (ko) 장대교량 강구조물 신축이음구조 및 신축이음 설치방법

Legal Events

Date Code Title Description
A201 Request for examination
PA0109 Patent application

St.27 status event code: A-0-1-A10-A12-nap-PA0109

PA0201 Request for examination

St.27 status event code: A-1-2-D10-D11-exm-PA0201

A302 Request for accelerated examination
PA0302 Request for accelerated examination

St.27 status event code: A-1-2-D10-D16-exm-PA0302

St.27 status event code: A-1-2-D10-D17-exm-PA0302

D13-X000 Search requested

St.27 status event code: A-1-2-D10-D13-srh-X000

D14-X000 Search report completed

St.27 status event code: A-1-2-D10-D14-srh-X000

E902 Notification of reason for refusal
PE0902 Notice of grounds for rejection

St.27 status event code: A-1-2-D10-D21-exm-PE0902

T11-X000 Administrative time limit extension requested

St.27 status event code: U-3-3-T10-T11-oth-X000

T11-X000 Administrative time limit extension requested

St.27 status event code: U-3-3-T10-T11-oth-X000

AMND Amendment
E13-X000 Pre-grant limitation requested

St.27 status event code: A-2-3-E10-E13-lim-X000

P11-X000 Amendment of application requested

St.27 status event code: A-2-2-P10-P11-nap-X000

P13-X000 Application amended

St.27 status event code: A-2-2-P10-P13-nap-X000

E601 Decision to refuse application
PE0601 Decision on rejection of patent

St.27 status event code: N-2-6-B10-B15-exm-PE0601

J201 Request for trial against refusal decision
PJ0201 Trial against decision of rejection

St.27 status event code: A-3-3-V10-V11-apl-PJ0201

AMND Amendment
E13-X000 Pre-grant limitation requested

St.27 status event code: A-2-3-E10-E13-lim-X000

P11-X000 Amendment of application requested

St.27 status event code: A-2-2-P10-P11-nap-X000

P13-X000 Application amended

St.27 status event code: A-2-2-P10-P13-nap-X000

PB0901 Examination by re-examination before a trial

St.27 status event code: A-6-3-E10-E12-rex-PB0901

B701 Decision to grant
GRNT Written decision to grant
PB0701 Decision of registration after re-examination before a trial

St.27 status event code: A-3-4-F10-F13-rex-PB0701

PR0701 Registration of establishment

St.27 status event code: A-2-4-F10-F11-exm-PR0701

R17-X000 Change to representative recorded

St.27 status event code: A-5-5-R10-R17-oth-X000

PR1002 Payment of registration fee

Fee payment year number: 1

St.27 status event code: A-2-2-U10-U11-oth-PR1002

PG1601 Publication of registration

St.27 status event code: A-4-4-Q10-Q13-nap-PG1601

R18-X000 Changes to party contact information recorded

St.27 status event code: A-5-5-R10-R18-oth-X000

S17-X000 Non-exclusive voluntary license recorded

St.27 status event code: A-4-4-S10-S17-lic-X000

PN2301 Change of applicant

St.27 status event code: A-5-5-R10-R11-asn-PN2301

PN2301 Change of applicant

St.27 status event code: A-5-5-R10-R14-asn-PN2301

G170 Re-publication after modification of scope of protection [patent]
PG1701 Publication of correction

Patent document republication publication date: 20080416

Republication note text: Request for Correction Notice (Document Request)

Gazette number: 1007706040000

Gazette reference publication date: 20071029

St.27 status event code: A-5-5-P10-P19-oth-PG1701

R18-X000 Changes to party contact information recorded

St.27 status event code: A-5-5-R10-R18-oth-X000

R18-X000 Changes to party contact information recorded

St.27 status event code: A-5-5-R10-R18-oth-X000

R18-X000 Changes to party contact information recorded

St.27 status event code: A-5-5-R10-R18-oth-X000

PR1001 Payment of annual fee

Fee payment year number: 4

St.27 status event code: A-4-4-U10-U11-oth-PR1001

P14-X000 Amendment of ip right document requested

St.27 status event code: A-5-5-P10-P14-nap-X000

P16-X000 Ip right document amended

St.27 status event code: A-5-5-P10-P16-nap-X000

Q16-X000 A copy of ip right certificate issued

St.27 status event code: A-4-4-Q10-Q16-nap-X000

P15-X000 Request for amendment of ip right document rejected

St.27 status event code: A-5-5-P10-P15-nap-X000

PN2301 Change of applicant

St.27 status event code: A-5-5-R10-R11-asn-PN2301

St.27 status event code: A-5-5-R10-R13-asn-PN2301

PR1001 Payment of annual fee

Fee payment year number: 5

St.27 status event code: A-4-4-U10-U11-oth-PR1001

R18-X000 Changes to party contact information recorded

St.27 status event code: A-5-5-R10-R18-oth-X000

S17-X000 Non-exclusive voluntary license recorded

St.27 status event code: A-4-4-S10-S17-lic-X000

FPAY Annual fee payment

Payment date: 20121022

Year of fee payment: 6

PR1001 Payment of annual fee

Fee payment year number: 6

St.27 status event code: A-4-4-U10-U11-oth-PR1001

FPAY Annual fee payment

Payment date: 20131022

Year of fee payment: 7

PR1001 Payment of annual fee

Fee payment year number: 7

St.27 status event code: A-4-4-U10-U11-oth-PR1001

R18-X000 Changes to party contact information recorded

St.27 status event code: A-5-5-R10-R18-oth-X000

FPAY Annual fee payment

Payment date: 20141020

Year of fee payment: 8

PR1001 Payment of annual fee

Fee payment year number: 8

St.27 status event code: A-4-4-U10-U11-oth-PR1001

FPAY Annual fee payment

Payment date: 20151013

Year of fee payment: 9

PR1001 Payment of annual fee

Fee payment year number: 9

St.27 status event code: A-4-4-U10-U11-oth-PR1001

R18-X000 Changes to party contact information recorded

St.27 status event code: A-5-5-R10-R18-oth-X000

FPAY Annual fee payment

Payment date: 20161018

Year of fee payment: 10

PR1001 Payment of annual fee

Fee payment year number: 10

St.27 status event code: A-4-4-U10-U11-oth-PR1001

P22-X000 Classification modified

St.27 status event code: A-4-4-P10-P22-nap-X000

FPAY Annual fee payment

Payment date: 20171023

Year of fee payment: 11

PR1001 Payment of annual fee

Fee payment year number: 11

St.27 status event code: A-4-4-U10-U11-oth-PR1001

R18-X000 Changes to party contact information recorded

St.27 status event code: A-5-5-R10-R18-oth-X000

FPAY Annual fee payment

Payment date: 20181011

Year of fee payment: 12

PR1001 Payment of annual fee

Fee payment year number: 12

St.27 status event code: A-4-4-U10-U11-oth-PR1001

FPAY Annual fee payment

Payment date: 20191022

Year of fee payment: 13

PR1001 Payment of annual fee

Fee payment year number: 13

St.27 status event code: A-4-4-U10-U11-oth-PR1001

PR1001 Payment of annual fee

Fee payment year number: 14

St.27 status event code: A-4-4-U10-U11-oth-PR1001

R18-X000 Changes to party contact information recorded

St.27 status event code: A-5-5-R10-R18-oth-X000

PR1001 Payment of annual fee

Fee payment year number: 15

St.27 status event code: A-4-4-U10-U11-oth-PR1001

PR1001 Payment of annual fee

Fee payment year number: 16

St.27 status event code: A-4-4-U10-U11-oth-PR1001

PC1903 Unpaid annual fee

Not in force date: 20231023

Payment event data comment text: Termination Category : DEFAULT_OF_REGISTRATION_FEE

St.27 status event code: A-4-4-U10-U13-oth-PC1903

PC1903 Unpaid annual fee

Ip right cessation event data comment text: Termination Category : DEFAULT_OF_REGISTRATION_FEE

Not in force date: 20231023

St.27 status event code: N-4-6-H10-H13-oth-PC1903

R18-X000 Changes to party contact information recorded

St.27 status event code: A-5-5-R10-R18-oth-X000