KR100278583B1 - 비등 및 응축 냉매 이용 냉각장치 - Google Patents

비등 및 응축 냉매 이용 냉각장치 Download PDF

Info

Publication number
KR100278583B1
KR100278583B1 KR1019970006467A KR19970006467A KR100278583B1 KR 100278583 B1 KR100278583 B1 KR 100278583B1 KR 1019970006467 A KR1019970006467 A KR 1019970006467A KR 19970006467 A KR19970006467 A KR 19970006467A KR 100278583 B1 KR100278583 B1 KR 100278583B1
Authority
KR
South Korea
Prior art keywords
refrigerant
radiator
passage
connecting member
boiling
Prior art date
Legal status (The legal status is an assumption and is not a legal conclusion. Google has not performed a legal analysis and makes no representation as to the accuracy of the status listed.)
Expired - Fee Related
Application number
KR1019970006467A
Other languages
English (en)
Other versions
KR970067808A (ko
Inventor
히로유키 오사카베
기요시 가와구치
마사히코 스즈키
Original Assignee
오카베 히로무
가부시키가이샤 덴소
Priority date (The priority date is an assumption and is not a legal conclusion. Google has not performed a legal analysis and makes no representation as to the accuracy of the date listed.)
Filing date
Publication date
Application filed by 오카베 히로무, 가부시키가이샤 덴소 filed Critical 오카베 히로무
Publication of KR970067808A publication Critical patent/KR970067808A/ko
Application granted granted Critical
Publication of KR100278583B1 publication Critical patent/KR100278583B1/ko
Anticipated expiration legal-status Critical
Expired - Fee Related legal-status Critical Current

Links

Images

Classifications

    • HELECTRICITY
    • H01ELECTRIC ELEMENTS
    • H01LSEMICONDUCTOR DEVICES NOT COVERED BY CLASS H10
    • H01L23/00Details of semiconductor or other solid state devices
    • H01L23/34Arrangements for cooling, heating, ventilating or temperature compensation ; Temperature sensing arrangements
    • H01L23/42Fillings or auxiliary members in containers or encapsulations selected or arranged to facilitate heating or cooling
    • H01L23/427Cooling by change of state, e.g. use of heat pipes
    • FMECHANICAL ENGINEERING; LIGHTING; HEATING; WEAPONS; BLASTING
    • F28HEAT EXCHANGE IN GENERAL
    • F28DHEAT-EXCHANGE APPARATUS, NOT PROVIDED FOR IN ANOTHER SUBCLASS, IN WHICH THE HEAT-EXCHANGE MEDIA DO NOT COME INTO DIRECT CONTACT
    • F28D15/00Heat-exchange apparatus with the intermediate heat-transfer medium in closed tubes passing into or through the conduit walls ; Heat-exchange apparatus employing intermediate heat-transfer medium or bodies
    • F28D15/02Heat-exchange apparatus with the intermediate heat-transfer medium in closed tubes passing into or through the conduit walls ; Heat-exchange apparatus employing intermediate heat-transfer medium or bodies in which the medium condenses and evaporates, e.g. heat pipes
    • HELECTRICITY
    • H01ELECTRIC ELEMENTS
    • H01LSEMICONDUCTOR DEVICES NOT COVERED BY CLASS H10
    • H01L23/00Details of semiconductor or other solid state devices
    • H01L23/34Arrangements for cooling, heating, ventilating or temperature compensation ; Temperature sensing arrangements
    • H01L23/46Arrangements for cooling, heating, ventilating or temperature compensation ; Temperature sensing arrangements involving the transfer of heat by flowing fluids
    • HELECTRICITY
    • H05ELECTRIC TECHNIQUES NOT OTHERWISE PROVIDED FOR
    • H05KPRINTED CIRCUITS; CASINGS OR CONSTRUCTIONAL DETAILS OF ELECTRIC APPARATUS; MANUFACTURE OF ASSEMBLAGES OF ELECTRICAL COMPONENTS
    • H05K7/00Constructional details common to different types of electric apparatus
    • H05K7/20Modifications to facilitate cooling, ventilating, or heating
    • H05K7/2029Modifications to facilitate cooling, ventilating, or heating using a liquid coolant with phase change in electronic enclosures
    • H05K7/20336Heat pipes, e.g. wicks or capillary pumps

Landscapes

  • Engineering & Computer Science (AREA)
  • Physics & Mathematics (AREA)
  • Microelectronics & Electronic Packaging (AREA)
  • Power Engineering (AREA)
  • Computer Hardware Design (AREA)
  • General Physics & Mathematics (AREA)
  • Condensed Matter Physics & Semiconductors (AREA)
  • Thermal Sciences (AREA)
  • Life Sciences & Earth Sciences (AREA)
  • Sustainable Development (AREA)
  • Mechanical Engineering (AREA)
  • General Engineering & Computer Science (AREA)
  • Cooling Or The Like Of Semiconductors Or Solid State Devices (AREA)
  • Cooling Or The Like Of Electrical Apparatus (AREA)

Abstract

본 발명의 목적은 경제적으로 제조 가능한 비등 및 응축 냉매 이용 냉각장치를 제공하는 것이다. 또한, 본 발명의 다른 목적은 납땜의 신뢰성을 향상시키기 위한 것이다. 냉각될 고온 물체가 장착된 냉매 탱크는, 두 장의 판재로 납땜에 의해 함께 접합되어 제작된 연결부재를 통하여, 증발 냉매를 응축하기 위한 방열기에 연결된다. 탱크와 방열기를 연결하는 연결부재는 두 개의 성형가공(스탬핑)된 판재로 구성되므로, 연결부재가 복잡한 형상을 갖더라도, 경제적으로 용이하게 제작될 수 있다. 기밀성 및 고도의 신뢰성을 확보하기 위하여, 납땜 공정에 의해 두 판재를 함께 접합하는 것이 필수적이다. 또한, 연결부재의 개선된 특징 및 두 판재를 효과적으로 체결하기 위한 방법이 본 발명에서 제공된다.

Description

비등 및 응축 냉매 이용 냉각장치{COOLING APPARATUS USING BOILING AND CONDENSING REFRIGERANT}
본 발명은 반도체 소자 등을 냉각하기 위한 비등 및 응축 냉매 이용 냉각장치에 관한 것이다.
종래 기술에 있어서, 이러한 종류의 냉각장치가 일본국 특허 공개 공보 평8-29041 및 평 8-29042호에 개시되어 있다. 상기 문헌에 개시된 장치는 냉매 탱크, 방열기, 및 상기 냉매 탱크 및 방열기를 연결하는 연결부재로 구성된다. 이들 장치들에서, 방열기는 연결부재 상에서 상부에 연결되어 있다. 연결부재는 일체구조(단일체)로서 제작되며, 이는 복잡하고 고가의 연결부재 제작용 다이(die)를 요구하게 된다. 상기 연결부재는 일방향으로 냉매 탱크와 방열기를 용이하게 연결한다. 즉, 탱크 하부와 방열기 하부를 연결한다.
그러나, 양 방향으로 향한 개구부를 갖는 일체구조의 연결부재를 제작하기가 곤란하므로, 냉매 탱크에 수직으로 방열기를 연결하기는 용이하지 않다.
또한, 연결부재의 두개의 개구부는 방열기 및 냉매 탱크 내로 각각 삽입되고 납땜에 의해 접합된다. 특개평 8-29042에 나타낸 연결부재는 판재를 변형(성형)시켜 제작된다. 그러나, 상기 형상으로 판재를 변형하는 공정은 대규모 및 고가의 다이를 필요로 하는 문제점을 내포하고 있다.
도1은 본 발명의 제1실시예에 따른 비등 및 응축 냉매 이용 냉각장치의 정면도이며;
도2는 본 발명의 제1실시예에 따른 비등 및 응축 냉매 이용 냉각장치의 측면도이며;
도3은 제1실시예에서 이용된 연결 부재의 확대 정면도이며;
도4a는 제1실시예에서 이용된 연결 판재의 평면도이며;
도4b는 제1실시예에서 이용된 연결 판재의 측면도이며;
도5는 본 발명의 제2실시예에 따른 비등 및 응축 냉매 이용 냉각장치의 측면도이며;
도6은 본 발명의 제3실시예에 따른 비등 및 응축 냉매 이용 냉각장치의 정면도이며;
도7은 제3실시예에서 이용된 방열용 핀의 부분 확대 측면도이며;
도8은 제3실시예에서 이용된 방열용 핀의 정면도이며;
도9는 본 발명의 제4실시예에 따른 비등 및 응축 냉매 이용 냉각장치의 정면도이며;
도10은 본 발명의 제4실시예에 따른 비등 및 응축 냉매 이용 냉각장치의 측면도이며;
도11은 도4A에 도시된 연결 판재의 부분 확대 평면도이며;
도12는 도1의
Figure pat00001
-
Figure pat00002
선에 따라 보여진, 연결 판재의 연결 방법을 나타낸 단면도이며;
도13은 제1, 2, 및 3 실시예의 연결부재와 냉매 탱크를 연결하는 부분을 나타낸 부분 단면도이며;
도14는 제1 및 3 실시예의 제작 공정을 나타낸 도면이며;
도15는 제1 및 3 실시예의 다른 제작 공정을 나타낸 도면이며;
도16, 도17 및 도18은 도12의 다른 변형예를 나타낸 단면도이며;
도19 및 도20은 도13의 다른 변형예를 나타낸 단면도이다.
* 도면의 주요 부분에 대한 부호의 설명
1: 냉각장치 2: 고온 물체
3: 냉매탱크 4: 연결부재
5: 방열기 8: 증기통로
9: 응축액 통로 11: 연통로
12: 연결판재 13, 14: 연통부
16: 분할판 21: 내부핀
23: 방열관(방열요소) 26: 방열용 핀
27: 공기송풍공간
따라서, 본 발명은 상기한 문제점을 해결하기 위하여 안출되었으며, 본 발명의 목적은, 용이하고 경제적으로 제작될 수 있는, 비등 및 응축 냉매 이용 냉각장치를 위한 개선된 연결부재를 제공하는 것이다. 본 발명의 다른 목적은 용이하게 다른 부품에 접합되어 완전하게 기밀을 유지할 수 있는 연결부재를 제공하는 것이다.
본 발명에 따르면, 연결부재는 두 개의 연결 판재를 납땜하므로써 제작되며, 각각의 연결 판재는 금속판, 예를 들면, 알루미늄판을 성형가공(스탬핑)하므로써 제작된다. 알루미늄판은 비교적 얇으므로, 판재용 성형(스탬핑) 다이는, 일체구조의 연결부재 제작용 다이와 비교해 볼 때, 보다 단순하고 저렴한 비용으로 제작될 수가 있다. 또한, 각각 두 개의 판재를 스탬핑 하기 위한 다이는 대부분이 공통화된 형상으로 제작될 수 있다. 또한, 연결부재가 두 개의 성형된 판재로 구성되므로, 방열기가 냉매 탱크에 수직으로 용이하게 연결될 수가 있다.
연결부재는 본 발명에 따른 공기유동경로(송풍통로)를 형성하도록 방열기에 연결된다. 그러므로, 연결부재 내에서 열은 상기 공기유동통로로 역시 방열될 수 있다. 이점은 연결부재 자체가 역시 방열기의 일부로서 작용되는 것을 의미한다. 연결부재의 공기유동통로에는 방열용 핀이 제공된다. 이것은 냉각장치의 규모를 축소하도록 역시 기여한다.
연결부재에 연결된 방열기는 서로 포개져 적층된 복수 개의 방열관(방열요소)으로 구성된다. 그러므로, 방열 용량은 적층된 방열관 수를 증감시킴으로써 용이하게 변화된다. 또한, 연결부재는 평판 형상을 가지므로, 방열기는 연결부재의 일측 또는 양측에 장착될 수 있다.
본 발명에 따르면, 연결부재는 서로 납땜된 두 개의 스탬핑된 연결판재로 구성되므로, 두 개의 판재는, 기밀성 및 신뢰성을 보장하기 위하여, 납땜 공정 전에 적당하게 연결되어야 한다. 그러므로, 본 발명에서, 두 개의 판재를 연결하기 위한 여러 가지 방법이 제공된다. 또한 납땜된 부분의 강도를 증가시키기 위한 방법이 제공된다.
본 발명의 다른 목적 및 특징은 첨부된 도면을 참조하여 아래에 설명된 바람직한 실시예의 이해로부터 보다 명백해질 것이다.
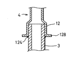
도1은 반도체 장치와 같은 고온 물체(2)(도2 참조)를 냉각하기 위한 본 발명에 따른 비등 및 응축 냉매 이용 냉각장치를 나타낸다. 특히, 상기 고온 물체는, 예를 들면, 전기 자동차 또는 다른 전기 장치의 전원을 조절하기 위한 인버터 회로에서 사용된 IGBT 모듈일 수 있다. 상기 고온 물체(2)는 냉매를 비등 및 응축시키므로써 야기된 열 전달에 의해 냉각된다. 냉각장치는 냉매 탱크(3), 연결부재(4), 방열기(5), 및 냉각팬(도시되지 않음)으로 구성된다.
고온 물체의 열방산판은 도2에 도시된 바와 같이 냉매 탱크(3)의 외벽에 부착된다. 냉매 탱크(3)는 알루미늄과 같은 금속을 압출가공하여 제작한 케이스(6) 및 상기 케이스의 하단을 덮는 앤드 캡(7)으로 구성된다. 케이스(6)에는, 지주부(6a)에 의해 서로 분리되는 증기 통로(8), 응축액 통로(9) 및 비작동 통로(10)가 제공된다. 냉매 탱크(3)에 수용된 냉매는 고온 물체(2)로부터 받아들인 열에 의해 비등 및 증발되어 증기통로(8)에서 상방향으로 흘러간다. 복수의 증기통로(8)는 고온 물체(2)가 장착된 위치에 제공된다. 상기 냉매는 방열기(5)에서 냉각되어 액화되며, 고온 물체(2)가 장착된 위치에서 떨어진 위치에 제공된 응축액 통로(9)에서 하방향으로 흘러간다. 응축액 통로로 사용되지 않는 비작동 통로(10)가 응축액 통로(9)의 반대 위치에 형성된다. 지주부(6a)가 동일한 위치에서 끝나므로, 모든 통로(8,9, 및 10)는 탱크(3)의 상부에서 개방된다. 상기 지주부(6a)에는, 고온 물체(2)를 장착하기 위한 나사 구멍(6b)이 제공된다.
앤드 캡(7)은, 알루미늄과 같이, 케이스(6)와 동인한 재질로 제작되며, 케이스 하단에서 케이스에 납땜된다. 앤드 캡에는 통로(8,9, 및 10)가 서로 연통하는 연통로(11)가 제공된다. 응축액 통로(9)에서 흘러 내려온 액화 냉매는 연통로(11) 내에서 계속 흘러, 각 증기통로(8)로 분배된다.
연결부재(4)는 도4a 및 도4b에 도시된 두 개의 연결 판재(박판재)를 납땜하므로써 제작된다. 연결 판재(12)는 그의 하단을 제외한 외주에서 납땜되어 서로 접합된다. 연결부재(4)의 길이방향 양단에는 증기통로(8)와 연통하는 연통부(13), 및 응축액 통로(9)와 연통하는 다른 연통부(14)가 각각 제공된다. 연결부재(4)의 하단에는, 연결부재(4)를 냉매 탱크(3)에 연결하기 위한 연결개구(15)가 형성된다. 연결개구(15)는, 도2에 도시된 바와 같이, 냉매 탱크(3)에 기밀 유지하도록 납땜된다. 도1에 도시된 바와 같이, 연결부재(4)의 내부 공간은 분할판(16)에 의해 두 부분으로 나누어진다.
연결 판재(12)는, 도4a 및 도4b에 도시된 바와 같이, 그 양단에 함몰부(요부)(17)를 갖는다. 통로(18,19)를 형성하기 위한 구멍이 각 함몰부(17)에 형성된다. 연결 판재(12) 상의 함몰부(17)는 수직 방향으로 장축을 갖는 타원 형상이며, 두 개의 연결 판재(12)가 납땜에 의해 접합될 때, 연통부(13)를 형성한다. 통로(18)를 위한 구멍은 타원 형상의 함몰부(17)의 상측에 위치되며, 반면에, 통로(19)를 위한 구멍은 타원 형상의 함몰부(17)의 하측에 위치된다. 다시 말하면, 연결부재(4)가 냉매 탱크(3) 및 방열기(5)와 조립될 때, 하나의 통로(18)는 다른 통로(19) 보다 높은 위치에 위치하게 된다.
상기 함몰부(17) 상에는 두 개의 리브(20)가 형성되며, 하나는 통로(18)의 하측에 위치되고 다른 하나는 통로(19)의 상측에 위치된다. 상기 리브(20)는 함몰부(17)를 보강하는 역할을 한다.
연결부재(4)의 내부 공간에는, 복수 개의 내부핀(21)이, 도1에 도시된 바와 같이, 증기통로(8)와 연통하는 연통부(13)와 분할판(16) 사이에 삽입된다. 내부핀(21)은 상기 핀(21)을 정위치에 세팅하기 위한 리브(22)에 의해 지지된다. 핀(21)은 냉매 증기가 통로(18)를 향해 흘러갈 수 있도록 정렬되며, 증기통로(8)로부터 유출되는 냉매 증기가 연결부재(4)의 내부 공간 속으로 흘러들어 갈 수 있도록, 핀 그룹 사이에는 , 어느 정도의 간격이 제공된다.
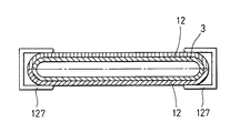
방열기(5)는 드로운 컵 타입(drawn cup type) 방열기이다. 복수 개의 방열관(방열요소)(23)가 서로 적층된다. 방열관(23)은 긴 원형 형상을 갖는 두 개의 성형가공된(스탬핑된) 판재(판상부재)(24)로 제작된다(도3 참조). 두 개의 판재(24)는 그의 외주에서 납땜에 의해 함께 접합된다. 또한, 두 개의 성형가공(스탬핑)된 판재(24)를 납땜함으로써 이루어진 다수의 방열관(23)사이에는 냉각공기 유동통로(31)가 형성된다. 즉, 도2 및 도3에 도시한 바와 같이 상기 냉각공기 유동통로(31)는 인접하는 방열관(23)의 하부 사이에 형성되어 있으며, 상기 냉각공기 유동통로(31)내에는 방열핀(26)이 배치되어 있다.
각 판재(24)는 그의 길이방향 양단부에서 유입실 및 유출실을 각각 구성하는 두 개의 구멍을 갖는다. 방열관(23)의 내부 공간은 유입 및 유출실 사이에서 얇은 냉매 통로를 구성한다. 알루미늄으로 제작된 파형의 핀(25)이 얇은 냉각 통로 내에 삽입된다(도2 참조). 이를 좀더 상세히 설명하면, 상기 파형의 핀(25)은 각 방열관(23)에 형성된 얇은 공간내에 배치되어 방열관(23)의 내부핀으로서 기능을 한다.
도2 및 도3에 도시된 바와 같이, 복수 개의 방열관(23)은 연결부재(4)의 양측에서 서로 겹쳐 쌓이며, 각 방열관은 유입 및 유출실을 구성하는 구멍을 통해 서로 연통한다. 연결부재(4)의 양측에 방열관(23)을 장착하므로써, 연결부재(4)의 일측에 방열관(23)이 장착되는 경우에 비하여 방열기(5)의 방열 효율이 보다 개선된다. 이것은 냉매 증기가 보다 균일하게 분배되기 때문이다.
연결부재(4)와 상기 연결부재(4)에 연결된 방열기(5)는 연결부재(4)에 형성된 통로(18, 19) 및 방열관(23)에 형성된 구멍을 통하여 서로 연통한다. 그러므로, 방열기(5)는, 방열관(23)의 유입실이 그의 유출실보다 높게 위치되도록, 연결부재(4)에 장착된다(도1 참조). 또한, 도2 및 도3에 도시된 바와 같이, 방열요소(23)들 사이공간에는 방열용 핀(26)이 장착된다.
방열기(5)에 공기를 송풍하기 위한 냉각팬이, 공기의 송풍 방향이 방열기(5)와 수직이 되도록, 방열기 상부에 위치된다.
이하, 본 발명에 따른 냉각 장치(1)의 작용을 설명한다. 냉매는 고온 물체(2)로부터 받아들인 열에 의해 비등 및 증발되며, 냉매 증기는 증기통로(8)를 통해 흘러 상승하여 연결부재(4)의 연통부(13) 내로 흘러 들어간다. 그 후, 상기 증기는 연통부(13)로부터 각 방열관(23)의 유입실로 흐르며, 각 방열관(23)에서 얇은 냉매 통로로 분배된다. 얇은 통로를 통해 흐르는 냉매 증기는, 냉각팬의 공기 송풍에 의해 냉각되는 상기 얇은 통로의 내벽 및 핀(25)에 접촉하므로써, 냉각되어 응축(액화)된다. 상기 응축(액화)된 냉매는 얇은 통로의 바닥면에서 각 방열관(23)의 유출실을 향해 흐른다. 또한, 액화된 액냉매는 유출실로부터 연결부재(4)의 연통부(14)를 통해 냉매 탱크(3)의 응축액 통로(9)로 흐른다. 상기 응축액 통로(9)에서 흘러 내려온 액냉매는 앤드 캡(7)의 연통로(11)에 도달하며, 증기통로(8)로 다시 공급된다. 방열기(5)에서 냉매를 액화하는 과정에서 발생된 열은 방열요소(23)의 벽체로부터 방열용 핀(26)으로 전달되며, 냉각팬에 의해 송풍된 공기 중에 방열된다.
이하, 본 발명의 제1실시예의 장점을 설명한다. 연결부재(4)는 두 개의 성형가공된(스탬핑된) 판재로 제작되므로, 연결부재(4)가 복잡한 형상을 갖더라도 그의 제작이 용이한다. 상기 두 연결 판재(12)를 제작하기 위한 스탬핑용 다이를 대부분 공통화하므로써, 다이를 저렴하게 제작 할 수 있다. 연결부재(4)와 방열기(5) 사이에 공간이 제공되므로, 냉각 공기는 상기 공간을 통해 유동하며, 그에 따라, 연결부재(4)를 통해 흐르는 냉매 증기는 냉각될 수 있다. 다시 말하면, 연결부재는 역시 방열기의 일부로서 기능을 한다. 그러므로, 방열기(5)는 보다 소형으로 제작 가능하게 된다. 또한, 연결부재(4)는 판 형상을 가지므로, 방열기(5)는 연결부재(4)의 일측 또는 양측에 용이하게 장착될 수 있다. 내부핀(21)은 두 개의 연결 판재(12) 사이에 삽입되므로, 연결 부재(4)의 기계적 강도가 개선된다. 또한,핀(21) 그룹 사이에 공간이 제공되므로, 증기통로(8)로부터 유출된 냉매 증기는, 핀(21)에 의한 방해 없이, 연결부(13)를 향해 흘러갈 수 있다.
또한, 증기통로(8)가 지주(6a)에 의해 분리되므로, 냉매 증기가 일직선으로 유동하게 된다. 방열기(5)는 복수 개의 방열관(23)을 겹쳐 쌓아서 제작되므로, 상기 방열관 수를 증감시키므로써, 필요 조건에 따른 방열 용량을 용이하게 변화시키게 된다. 연통로(11)가 앤드 캡(7)에 제공되므로, 액냉매만이 상기 연통로(11)를 통하여 증기통로(8)로 제공되며, 그에 의해, 액체와 증기 사이에서의 유동 간섭을 파할 수 있게 된다. 방열기(5)는 경사지게 연결부재(4)에 장착되므로, 액냉매가 용이하게 유입실에서 유출실로 흐를 수 있게 된다.
이하 본 발명의 다른 실시예를 설명한다.
도5는 본 발명의 제2실시예의 측면도이다. 상기 실시예에서, 방열관(23)은 연결부재(4)의 일측에만 겹쳐 쌓인다. 방열기(5)에 연결된 연결 판재(12A)는 방열기(5)와 연통하는 구멍을 가지며, 또 다른 방열판(12B)은 폐쇄된다.
도6은 본 발명의 제3실시예의 정면도이다. 제3실시예에서는, 연결부재(4) 내에 삽입된 내부핀(21)은 여러 그룹들로 나누어지지 않는다. 그러나, 증기통로(8)로부터 유출된 냉매 증기용 통로를 제공하기 위하여, 도7 및 도8에 도시된 바와 같이, 슬릿(21a)이 핀(21) 상에 형성된다. 상기 슬릿(21a)을 통하여, 냉매 증기는 연통부(13)로 흘러갈 수 있게 된다. 본 실시예에서는 핀(21)을 그룹으로 나눌 필요가 없으므로, 연결부재(4)의 조립공정은 단순화된다.
도9 및 도10은 본 발명의 제4실시예의 정면도 및 측면도를 각각 나타낸다. 본 실시예에서는, 이전 실시예에서 방열기(5)를 연결부재(4)의 측편에 연결하는 것과 반대로, 방열기(5)는 연결부재(4) 상에서 상방향으로 장착된다. 상기와 같은 정렬에서, 연결부재(4)는 서로 접합된 두 부분으로 구성될 수 있다. 이 경우에 공기송풍공간(27)이 연결부재(4)와 방열기(5)사이에 역시 제공될 수 있다. 마찬가지로, 방열용 핀(26)이 상기 공기송풍공간(27) 내에 제공되며, 따라서, 연결부재를 방열기의 일부로서 활용하게 된다.
이어서, 본 발명의 연결부재(4)를 냉매 탱크(3)에 조립하는 방법을 설명한다. 도2에 도시된 바와 같이, 냉매 탱크(3)의 상단이 연결부재(4)내로 삽입된다. 도 4에 도시된 연결 판재(12)는 두 개의 상기 판재(12)를 함께 결합하기 위한 두 개의 연결 구멍 (122)을 갖는다. 도11은 도4에 도시된 연결 판재(12)의 연결 구멍 (122)의 주변을 확대하여 나타낸다. 도12는 냉매 탱크(3)가 연결부재(4)에 삽입되는 방법 및 두 개의 연결부재(12)가 납땜 공정 전에 조립되는 방법을 나타낸 도1의 ⅩⅡ-ⅩⅡ 선을 따라 보여진 단면도이다. 도11에 도시된 바와 같이, 연결 판재(12)의 연결면(121)은 연결부재 상에서 플랜지 형상으로 형성된다. 연결 구멍(122)이 연결면(121)상에 형성된다. 도12에 도시된 바와 같이, 두개의 연결 판재(12) 상에 형성된 연결면(121)을 맞닿게 함으로써, 양 연결 판재(12)는 조립되며, 그에 의해, 두 판재 사이에는 공간이 형성된다. 두 연결 판재(12)는 연결구멍(122) 내에 삽입된 나사 또는 리벳(123)에 의해 체결된다. 연결 판재(12)는 납땜재가 피복된 납땜 판재로 제작되므로, 조립된 연결부재가 가열로 내에서 납땜될 때, 상기 납땜재는 연결면 및 연결구멍(122) 내에서 흐르게 된다.
도13은 연결부재(4) 및 냉매 탱크(3) 사이의 연결을 나타내는 확대된 부분 단면도이다. 도면에 도시된 바와 같이, 플랜지(128)는 연결부재(4)의 연결 개구부의 외주연부에 형성된다. 조립된 냉각장치가 가열로 내에서 납땜될 때, 도13에 도시된 바와 같이, 용융 땜납(124)이 연결부에 남게 된다.
이하, 도14 및 도15를 참조하여, 납땜 가열로에서 납땜하는 방법의 실시예를 설명한다. 냉매 탱크(3), 연결부재(4), 및 복수 개의 방열요소(23)로 구성된 방열기(5)를 조립한 후, 방열기(5)는 그의 양단에서 플레이트에 의해 압축된다. 도14 및 도15에 도시된 바와 같이, 상기 플레이트는, 예를 들어 볼트 및 너트와 같은 수단에 의해 각 방열관(23)을 함께 압축한다. 그 후, 냉각 조립체는 납땜 가열로 내에 놓여지고 모든 부분이 납땜에 의해 함께 접합된다. 납땜 공정 후, 조립체는 가열로로부터 꺼내어지고 플레이트와 같은 지그, 및 조립체를 압축하기 위해 사용된 볼트 및 너트는 제거된다.
납땜 공정 전에 두 개의 연결 판재(12)는 연결구멍(122) 내에 삽입된 리벳 또는 나사(123)에 의해 견고히 조여지며, 연결 판재(12)의 연결면은 견고하게 납땜되며, 따라서, 연결부의 기밀성 및 신뢰성이 크게 향상된다.
도12에 도시된 두 개의 연결 판재(12)를 연결하는 방법은 여러 가지 형태로 변형될 수 있다. 도16, 도17, 및 도18은 여러 변형예를 도시한다. 도16에서는, 두 개의 연결 판재(12)는, 각 연결판재(12)에 형성된 코오킹부(125)를 이용하여, 코오킹에 의해 연결된다. 도17에서는, 링(126)은 두 개의 연결판재(12)를 연결하기 위하여 두 개의 연결판재(12)의 외측을 둘러싼다. 도18에서는, 두 개의 연결판재(12)는 클립(127)에 의해 함께 체결된다. 상기 변형된 연결방식을 사용하는 경우, 이상에서 언급된 같은 동일한 결과가 얻어진다.
도13에 도시된 연결부재(4) 및 냉매 탱크의 연결방식은 여러 가지 형태로 변형될 수 있다. 도19및 도20은 그 변형예를 도시한다. 도19에서는, 오물려진 리브(129)가 연결부재(4)를 냉매 탱크(3)에 보다 단단히 고정하도록 연결판재(12) 상에 형성된다. 도20에서는, 압착(sticking-out) 리브(130)가 연결부재를 냉매 탱크(3)에 단단히 고정하도록 연결판재(4) 상에 형성된다. 상기 변형된 연결방식을 사용하는 경우, 도13에 도시된 연결에서와 같은 동인한 결과가 얻어진다.
이상, 본 발명은 바람직한 실시예를 참조하여 도시되고 설명되었지만, 청구 범위에서 정의된 본 발명의 범주를 벗어나지 않는 범위 내에서 그 형태 및 상세한 설명에서의 변경이 가능함이 해당 기술 분야에서의 통상 지식을 가진 자에게 있어 명백할 것이다.
상기와 같이 구성된 본 발명에 따르면, 접합부의 납땜성을 향상시키고, 기밀성 및 신뢰성을 향상시키며, 또한 제작 비용을 절감할 수 있는 냉각장치의 연결부재를 제공하는 효과가 있다.

Claims (16)

  1. 고온 물체를 냉각하기 위하여 비등 및 응축냉매를 이용하는 냉각장치에 있어서, 냉각될 고온 물체가 장착되며, 상기 고온 물체로부터 받은 열에 의해 증발되는 비등 및 응축냉매를 그 내부에 수용하는 냉매 탱크; 증발된 냉매를 수용하여, 외기로의 방열에 의해 상기 증발된 냉매를 응축하기 위한 방열기; 및 납땜에 의해 함께 접합된 두 개의 연결판재를 포함하며, 상기 냉매 탱크와 상기 방열기를 연결하는 연결부재를 포함하되, 상기 냉매 탱크는 고온 물체로부터의 열에 의해 증발된 냉매가 흐르는 증기통로, 방열기에서 응축된 냉매가 흐르는 응축액 통로, 및 상기 증기 통로와 상기 응축액 통로를 연결하는 연통로를 포함하며, 상기 연결부재는 상기 증기통로 및 상기 방열기와 연통하는 하나의 연통부, 상기 응축액 통로 및 방열기와 연통하는 다른 연통부, 상기 두 연통 부분을 나누는 분할 판재, 및 상기 하나의 연통부와 상기 분할 판재 사이의 공간에 삽입되는 내부핀을 포함하는 것을 특징으로 하는 비등 및 응축냉매 이용 냉각장치.
  2. 제1항에 있어서, 냉각공기 유동통로가 인접하는 방열관의 하부 사이에 형성된 것을 특징으로 하는 냉각장치.
  3. 제2항에 있어서, 방열용 핀이 상기 냉각공기 유동통로에 설치된 것을 특징으로 하는 비등 및 응축냉매 이용 냉각장치.
  4. 제1항에 있어서, 상기 방열기가 연결부재의 적어도 일측에 장착된 것을 특징으로 하는 비등 및 응축냉매 이용 냉각장치.
  5. 제1항에 있어서, 상기 방열기가 상기 연결부재 상에서 상방으로 장착된 것을 특징으로 하는 비등 및 응축냉매 이용 냉각장치.
  6. 제1항에 있어서, 상기 방열기는, 그 내부에 공간을 형성하기 위하여, 함께 접합된 판재로 제작된 복수 개의 방열요소로 구성되며, 상기 방열요소는 서로 겹쳐쌓여 접합된 것을 특징으로 하는 비등 및 응축냉매 이용 냉각장치.
  7. 제1항에 있어서, 상기 내부핀 냉매가 상기 하나의 연통부와 상기 분할 판재 사이를 흐르도록 허용하는 방향으로 삽입된 것을 특징으로 하는 비등 및 응축냉매 이용 냉각장치.
  8. 제8항에 있어서, 상기 연결부재 내에 삽입된 내부핀은 서로 소정의 간격을 갖는 핀 그룹으로 나누어진 것을 특징으로 하는 비등 및 응축냉매 이용 냉각장치.
  9. 제8항에 있어서, 상기 내부핀에는, 증발된 냉매가 통과할 수 있도록 슬릿이 형성된 것을 특징으로 하는 비등 및 응축냉매 이용 냉각장치.
  10. 제1항에 있어서, 상기 방열기가 수평에 대해 소정 각도로 상기 연결부재의 양측에 장착되어, 상기 응축냉매가 상기 방열기를 통하여 응축액 통로 측을 향해 흘러내리는 것을 특징으로 하는 비등 및 응축냉매 이용 냉각장치.
  11. 제1항에 있어서, 두 개의 연결판재를 연결하기 위한 수단이 제공된 것을 특징으로 하는 비등 및 응축냉매 이용 냉각장치.
  12. 제12항에 있어서, 상기 연결 수단은 상기 연결판재에 형성된 구멍 및 상기 구멍 속에 삽입된 체결수단을 포함하는 것을 특징으로 하는 비등 및 응축냉매 이용 냉각장치.
  13. 제12항에 있어서, 연결 수단은 상기 연결판재 상에 형성된 코오킹부를 포함하는 것을 특징으로 하는 비등 및 응축냉매 이용 냉각장치.
  14. 제12항에 있어서, 상기 연결수단은 상기 연결판재들을 둘러싸는 링을 포함하는 것을 특징으로 하는 비등 및 응축냉매 이용 냉각장치.
  15. 제12항에 있어서, 상기 연결수단은 상기 연결판재들을 결합하기 위한 클립을 포함하는 것을 특징으로 하는 비등 및 응축냉매 이용 냉각장치.
  16. 제12항에 있어서, 상기 연결수단은, 상기 연결판재의 단부를 외측으로 굽힘 가공 하므로써, 상기 연결 판재에 형성된 플랜지를 포함하는 것을 특징으로 하는 비등 및 응축냉매 이용 냉각장치.
KR1019970006467A 1996-03-14 1997-02-28 비등 및 응축 냉매 이용 냉각장치 Expired - Fee Related KR100278583B1 (ko)

Applications Claiming Priority (3)

Application Number Priority Date Filing Date Title
JP8057361A JPH09246768A (ja) 1996-03-14 1996-03-14 沸騰冷却装置
JP57,361/1996 1996-03-14
JP57.361/1996 1996-03-14

Publications (2)

Publication Number Publication Date
KR970067808A KR970067808A (ko) 1997-10-13
KR100278583B1 true KR100278583B1 (ko) 2001-03-02

Family

ID=13053448

Family Applications (1)

Application Number Title Priority Date Filing Date
KR1019970006467A Expired - Fee Related KR100278583B1 (ko) 1996-03-14 1997-02-28 비등 및 응축 냉매 이용 냉각장치

Country Status (2)

Country Link
JP (1) JPH09246768A (ko)
KR (1) KR100278583B1 (ko)

Families Citing this family (5)

* Cited by examiner, † Cited by third party
Publication number Priority date Publication date Assignee Title
JP2011198912A (ja) * 2010-03-18 2011-10-06 Panasonic Corp 放熱ユニットおよびこれを用いた電子機器
JP5556513B2 (ja) * 2010-09-06 2014-07-23 パナソニック株式会社 放熱ユニットおよびこれを用いた電子機器
JP5556288B2 (ja) * 2010-03-24 2014-07-23 パナソニック株式会社 放熱ユニットおよびこれを用いた電子機器
JP5556545B2 (ja) * 2010-09-30 2014-07-23 パナソニック株式会社 放熱ユニットおよびこれを用いた電子機器
JP5556351B2 (ja) * 2010-05-14 2014-07-23 パナソニック株式会社 放熱ユニットおよびこれを用いた電子機器

Also Published As

Publication number Publication date
KR970067808A (ko) 1997-10-13
JPH09246768A (ja) 1997-09-19

Similar Documents

Publication Publication Date Title
US5832989A (en) Cooling apparatus using boiling and condensing refrigerant
US6527045B1 (en) Cooling apparatus boiling and condensing refrigerant
EP2031332B1 (en) Heat exchanger for power-electronics components
US6874567B2 (en) Cooling apparatus boiling and condensing refrigerant with a refrigerant vapor passage having a large cross sectional area
US6357517B1 (en) Cooling apparatus boiling and condensing refrigerant
US7686071B2 (en) Blade-thru condenser having reeds and heat dissipation system thereof
US6073683A (en) Cooling apparatus using boiling and condensing refrigerant and method for manufacturing the same
JP3608272B2 (ja) 沸騰冷却装置およびその製造方法
US6076596A (en) Cooling apparatus for high-temperature medium by boiling and condensing refrigerant
KR100278583B1 (ko) 비등 및 응축 냉매 이용 냉각장치
US6279649B1 (en) Cooling apparatus using boiling and condensing refrigerant
JPH1098142A (ja) 沸騰冷却装置
JPH0923081A (ja) 沸騰冷却装置
JPH08321570A (ja) 沸騰冷却装置
JP3608286B2 (ja) 沸騰冷却装置
JP3496695B2 (ja) 沸騰冷却装置およびその製造方法
US8042605B2 (en) Heat conduction device
JP3494196B2 (ja) 沸騰冷却装置
TWI414233B (zh) 散熱裝置及其組裝方法
JPH08186209A (ja) 沸騰冷却装置
JP3663689B2 (ja) 沸騰冷却装置
TWI388793B (zh) 散熱裝置
JPH08250632A (ja) 沸騰冷却装置
JPH08255857A (ja) 沸騰冷却装置
JP2000111225A (ja) 沸騰冷却装置

Legal Events

Date Code Title Description
PA0109 Patent application

St.27 status event code: A-0-1-A10-A12-nap-PA0109

R17-X000 Change to representative recorded

St.27 status event code: A-3-3-R10-R17-oth-X000

A201 Request for examination
PA0201 Request for examination

St.27 status event code: A-1-2-D10-D11-exm-PA0201

PG1501 Laying open of application

St.27 status event code: A-1-1-Q10-Q12-nap-PG1501

R18-X000 Changes to party contact information recorded

St.27 status event code: A-3-3-R10-R18-oth-X000

R18-X000 Changes to party contact information recorded

St.27 status event code: A-3-3-R10-R18-oth-X000

E902 Notification of reason for refusal
PE0902 Notice of grounds for rejection

St.27 status event code: A-1-2-D10-D21-exm-PE0902

T11-X000 Administrative time limit extension requested

St.27 status event code: U-3-3-T10-T11-oth-X000

P11-X000 Amendment of application requested

St.27 status event code: A-2-2-P10-P11-nap-X000

P13-X000 Application amended

St.27 status event code: A-2-2-P10-P13-nap-X000

R17-X000 Change to representative recorded

St.27 status event code: A-3-3-R10-R17-oth-X000

E701 Decision to grant or registration of patent right
PE0701 Decision of registration

St.27 status event code: A-1-2-D10-D22-exm-PE0701

GRNT Written decision to grant
PR0701 Registration of establishment

St.27 status event code: A-2-4-F10-F11-exm-PR0701

PR1002 Payment of registration fee

St.27 status event code: A-2-2-U10-U11-oth-PR1002

Fee payment year number: 1

PG1601 Publication of registration

St.27 status event code: A-4-4-Q10-Q13-nap-PG1601

PR1001 Payment of annual fee

St.27 status event code: A-4-4-U10-U11-oth-PR1001

Fee payment year number: 4

PR1001 Payment of annual fee

St.27 status event code: A-4-4-U10-U11-oth-PR1001

Fee payment year number: 5

PR1001 Payment of annual fee

St.27 status event code: A-4-4-U10-U11-oth-PR1001

Fee payment year number: 6

PR1001 Payment of annual fee

St.27 status event code: A-4-4-U10-U11-oth-PR1001

Fee payment year number: 7

PR1001 Payment of annual fee

St.27 status event code: A-4-4-U10-U11-oth-PR1001

Fee payment year number: 8

PR1001 Payment of annual fee

St.27 status event code: A-4-4-U10-U11-oth-PR1001

Fee payment year number: 9

PR1001 Payment of annual fee

St.27 status event code: A-4-4-U10-U11-oth-PR1001

Fee payment year number: 10

PR1001 Payment of annual fee

St.27 status event code: A-4-4-U10-U11-oth-PR1001

Fee payment year number: 11

FPAY Annual fee payment

Payment date: 20110919

Year of fee payment: 12

PR1001 Payment of annual fee

St.27 status event code: A-4-4-U10-U11-oth-PR1001

Fee payment year number: 12

LAPS Lapse due to unpaid annual fee
PC1903 Unpaid annual fee

St.27 status event code: A-4-4-U10-U13-oth-PC1903

Not in force date: 20121021

Payment event data comment text: Termination Category : DEFAULT_OF_REGISTRATION_FEE

PC1903 Unpaid annual fee

St.27 status event code: N-4-6-H10-H13-oth-PC1903

Ip right cessation event data comment text: Termination Category : DEFAULT_OF_REGISTRATION_FEE

Not in force date: 20121021

P22-X000 Classification modified

St.27 status event code: A-4-4-P10-P22-nap-X000