JPWO2020262244A1 - Differential pressure valve - Google Patents

Differential pressure valve Download PDF

Info

Publication number
JPWO2020262244A1
JPWO2020262244A1 JP2021526928A JP2021526928A JPWO2020262244A1 JP WO2020262244 A1 JPWO2020262244 A1 JP WO2020262244A1 JP 2021526928 A JP2021526928 A JP 2021526928A JP 2021526928 A JP2021526928 A JP 2021526928A JP WO2020262244 A1 JPWO2020262244 A1 JP WO2020262244A1
Authority
JP
Japan
Prior art keywords
valve
valve body
valve chamber
flange portion
differential pressure
Prior art date
Legal status (The legal status is an assumption and is not a legal conclusion. Google has not performed a legal analysis and makes no representation as to the accuracy of the status listed.)
Granted
Application number
JP2021526928A
Other languages
Japanese (ja)
Other versions
JP7221388B2 (en
Inventor
進 藤谷
智也 沼倉
Current Assignee (The listed assignees may be inaccurate. Google has not performed a legal analysis and makes no representation or warranty as to the accuracy of the list.)
Hitachi Astemo Ltd
Original Assignee
Hitachi Astemo Ltd
Priority date (The priority date is an assumption and is not a legal conclusion. Google has not performed a legal analysis and makes no representation as to the accuracy of the date listed.)
Filing date
Publication date
Application filed by Hitachi Astemo Ltd filed Critical Hitachi Astemo Ltd
Publication of JPWO2020262244A1 publication Critical patent/JPWO2020262244A1/en
Application granted granted Critical
Publication of JP7221388B2 publication Critical patent/JP7221388B2/en
Active legal-status Critical Current
Anticipated expiration legal-status Critical

Links

Images

Classifications

    • FMECHANICAL ENGINEERING; LIGHTING; HEATING; WEAPONS; BLASTING
    • F16ENGINEERING ELEMENTS AND UNITS; GENERAL MEASURES FOR PRODUCING AND MAINTAINING EFFECTIVE FUNCTIONING OF MACHINES OR INSTALLATIONS; THERMAL INSULATION IN GENERAL
    • F16FSPRINGS; SHOCK-ABSORBERS; MEANS FOR DAMPING VIBRATION
    • F16F9/00Springs, vibration-dampers, shock-absorbers, or similarly-constructed movement-dampers using a fluid or the equivalent as damping medium
    • F16F9/32Details
    • F16F9/34Special valve constructions; Shape or construction of throttling passages
    • BPERFORMING OPERATIONS; TRANSPORTING
    • B61RAILWAYS
    • B61FRAIL VEHICLE SUSPENSIONS, e.g. UNDERFRAMES, BOGIES OR ARRANGEMENTS OF WHEEL AXLES; RAIL VEHICLES FOR USE ON TRACKS OF DIFFERENT WIDTH; PREVENTING DERAILING OF RAIL VEHICLES; WHEEL GUARDS, OBSTRUCTION REMOVERS OR THE LIKE FOR RAIL VEHICLES
    • B61F5/00Constructional details of bogies; Connections between bogies and vehicle underframes; Arrangements or devices for adjusting or allowing self-adjustment of wheel axles or bogies when rounding curves
    • B61F5/02Arrangements permitting limited transverse relative movements between vehicle underframe or bolster and bogie; Connections between underframes and bogies
    • B61F5/04Bolster supports or mountings
    • B61F5/10Bolster supports or mountings incorporating fluid springs
    • FMECHANICAL ENGINEERING; LIGHTING; HEATING; WEAPONS; BLASTING
    • F16ENGINEERING ELEMENTS AND UNITS; GENERAL MEASURES FOR PRODUCING AND MAINTAINING EFFECTIVE FUNCTIONING OF MACHINES OR INSTALLATIONS; THERMAL INSULATION IN GENERAL
    • F16FSPRINGS; SHOCK-ABSORBERS; MEANS FOR DAMPING VIBRATION
    • F16F15/00Suppression of vibrations in systems; Means or arrangements for avoiding or reducing out-of-balance forces, e.g. due to motion
    • F16F15/02Suppression of vibrations of non-rotating, e.g. reciprocating systems; Suppression of vibrations of rotating systems by use of members not moving with the rotating systems
    • F16F15/023Suppression of vibrations of non-rotating, e.g. reciprocating systems; Suppression of vibrations of rotating systems by use of members not moving with the rotating systems using fluid means
    • FMECHANICAL ENGINEERING; LIGHTING; HEATING; WEAPONS; BLASTING
    • F16ENGINEERING ELEMENTS AND UNITS; GENERAL MEASURES FOR PRODUCING AND MAINTAINING EFFECTIVE FUNCTIONING OF MACHINES OR INSTALLATIONS; THERMAL INSULATION IN GENERAL
    • F16FSPRINGS; SHOCK-ABSORBERS; MEANS FOR DAMPING VIBRATION
    • F16F9/00Springs, vibration-dampers, shock-absorbers, or similarly-constructed movement-dampers using a fluid or the equivalent as damping medium
    • F16F9/02Springs, vibration-dampers, shock-absorbers, or similarly-constructed movement-dampers using a fluid or the equivalent as damping medium using gas only or vacuum
    • F16F9/04Springs, vibration-dampers, shock-absorbers, or similarly-constructed movement-dampers using a fluid or the equivalent as damping medium using gas only or vacuum in a chamber with a flexible wall
    • FMECHANICAL ENGINEERING; LIGHTING; HEATING; WEAPONS; BLASTING
    • F16ENGINEERING ELEMENTS AND UNITS; GENERAL MEASURES FOR PRODUCING AND MAINTAINING EFFECTIVE FUNCTIONING OF MACHINES OR INSTALLATIONS; THERMAL INSULATION IN GENERAL
    • F16FSPRINGS; SHOCK-ABSORBERS; MEANS FOR DAMPING VIBRATION
    • F16F9/00Springs, vibration-dampers, shock-absorbers, or similarly-constructed movement-dampers using a fluid or the equivalent as damping medium
    • F16F9/32Details
    • F16F9/34Special valve constructions; Shape or construction of throttling passages
    • F16F9/348Throttling passages in the form of annular discs or other plate-like elements which may or may not have a spring action, operating in opposite directions or singly, e.g. annular discs positioned on top of the valve or piston body
    • F16F9/3488Throttling passages in the form of annular discs or other plate-like elements which may or may not have a spring action, operating in opposite directions or singly, e.g. annular discs positioned on top of the valve or piston body characterised by features intended to affect valve bias or pre-stress
    • FMECHANICAL ENGINEERING; LIGHTING; HEATING; WEAPONS; BLASTING
    • F16ENGINEERING ELEMENTS AND UNITS; GENERAL MEASURES FOR PRODUCING AND MAINTAINING EFFECTIVE FUNCTIONING OF MACHINES OR INSTALLATIONS; THERMAL INSULATION IN GENERAL
    • F16FSPRINGS; SHOCK-ABSORBERS; MEANS FOR DAMPING VIBRATION
    • F16F9/00Springs, vibration-dampers, shock-absorbers, or similarly-constructed movement-dampers using a fluid or the equivalent as damping medium
    • F16F9/32Details
    • F16F9/50Special means providing automatic damping adjustment, i.e. self-adjustment of damping by particular sliding movements of a valve element, other than flexions or displacement of valve discs; Special means providing self-adjustment of spring characteristics
    • FMECHANICAL ENGINEERING; LIGHTING; HEATING; WEAPONS; BLASTING
    • F16ENGINEERING ELEMENTS AND UNITS; GENERAL MEASURES FOR PRODUCING AND MAINTAINING EFFECTIVE FUNCTIONING OF MACHINES OR INSTALLATIONS; THERMAL INSULATION IN GENERAL
    • F16KVALVES; TAPS; COCKS; ACTUATING-FLOATS; DEVICES FOR VENTING OR AERATING
    • F16K15/00Check valves
    • F16K15/02Check valves with guided rigid valve members
    • F16K15/06Check valves with guided rigid valve members with guided stems

Landscapes

  • Engineering & Computer Science (AREA)
  • General Engineering & Computer Science (AREA)
  • Mechanical Engineering (AREA)
  • Physics & Mathematics (AREA)
  • Acoustics & Sound (AREA)
  • Aviation & Aerospace Engineering (AREA)
  • Vibration Prevention Devices (AREA)
  • Fluid-Damping Devices (AREA)
  • Multiple-Way Valves (AREA)
  • Valve Housings (AREA)

Abstract

この差圧弁は、弁室(141)と、弁室(141)内に設けられる円形状の弁体(94)と、弁室(141)の底部(142)に形成され、一方の空気ばねの空気が流入する流入口(106)と、弁室(141)の内周面(138)に形成され、他方の空気ばねへ空気を流出する流出口(61,71)と、弁室(141)の底部(142)に流入口(106)を囲むように形成されるシート部(104)と、弁体(94)をシート部(104)に向けた閉弁方向に付勢する付勢部材(95)と、を有する。弁体(94)は、第1鍔部(112)を底部(142)側に備える。第1鍔部(112)は、径方向外方に突出する複数の第1突出部(118)と、第1突出部(118)の周方向反対側の位置で径方向内方に凹む第1凹部(116)と、を備える。This differential pressure valve is formed in a valve chamber (141), a circular valve body (94) provided in the valve chamber (141), and a bottom portion (142) of the valve chamber (141), and is formed in one of the air springs. An inflow port (106) into which air flows in, an outflow port (61,71) formed on the inner peripheral surface (138) of the valve chamber (141) and flowing out to the other air spring, and a valve chamber (141). A seat portion (104) formed at the bottom portion (142) of the air suspension so as to surround the inflow port (106), and an urging member (anxious member) for urging the valve body (94) toward the seat portion (104) in the valve closing direction. 95) and. The valve body (94) is provided with a first flange portion (112) on the bottom portion (142) side. The first flange portion (112) has a plurality of first projecting portions (118) projecting outward in the radial direction and a first concave portion (118) radially inward at positions opposite to the circumferential direction of the first projecting portion (118). A recess (116) is provided.

Description

本発明は、差圧弁に関する。
本願は、2019年6月26日に、日本に出願された特願2019−118690号に基づき優先権を主張し、その内容をここに援用する。
The present invention relates to a differential pressure valve.
The present application claims priority based on Japanese Patent Application No. 2019-118690 filed in Japan on June 26, 2019, the contents of which are incorporated herein by reference.

鉄道車両には、車体と台車との間に設けられる2つの空気ばねを繋ぐ連通路に、2つの空気ばね間の圧力差に応じて連通路を開閉する差圧弁が設けられている(例えば、特許文献1,2参照)。 A railroad vehicle is provided with a differential pressure valve that opens and closes the communication passage according to the pressure difference between the two air springs in the communication passage connecting the two air springs provided between the vehicle body and the bogie (for example,). See Patent Documents 1 and 2).

特開2002−120723号公報Japanese Unexamined Patent Publication No. 2002-120723 特開2012−202520号公報Japanese Unexamined Patent Publication No. 2012-202520

差圧弁においては、開弁圧のばらつきを抑制することが求められている。 In the differential pressure valve, it is required to suppress the variation in the valve opening pressure.

本発明は、開弁圧のばらつきを抑制することが可能となる差圧弁を提供する。 The present invention provides a differential pressure valve capable of suppressing variations in valve opening pressure.

本発明の第1の態様によれば、差圧弁は、弁室と、該弁室内に設けられる円形状の弁体と、前記弁室の底部に形成され、一方の前記空気ばねの空気が流入する流入口と、前記弁室の内周面に形成され、他方の前記空気ばねへ空気を流出する流出口と、前記弁室の底部に前記流入口を囲むように形成されて前記弁体が着座するシート部と、前記弁体を前記シート部に向けた閉弁方向に付勢する付勢部材と、を有する。前記弁体は、前記シート部よりも径方向外方に延出する第1鍔部を前記底部側に備える。該第1鍔部は、前記弁室の内周面に向かって径方向外方に突出する複数の第1突出部と、該第1突出部の周方向反対側の位置で径方向内方に凹む第1凹部と、を備える。 According to the first aspect of the present invention, the differential pressure valve is formed at the valve chamber, the circular valve body provided in the valve chamber, and the bottom of the valve chamber, and the air of one of the air springs flows in. The valve body is formed on the inner peripheral surface of the valve chamber to allow air to flow out to the other air spring, and is formed at the bottom of the valve chamber so as to surround the inlet. It has a seat portion to be seated and an urging member for urging the valve body toward the seat portion in the valve closing direction. The valve body is provided with a first flange portion extending radially outward from the seat portion on the bottom portion side. The first flange portion includes a plurality of first protrusions that project radially outward toward the inner peripheral surface of the valve chamber, and radially inward at positions opposite to the circumferential direction of the first protrusion. It is provided with a first recess that is recessed.

本発明の第2の態様によれば、差圧弁は、弁室と、該弁室内に設けられる円形状の弁体と、前記弁室の底部に形成され、一方の前記空気ばねの空気が流入する流入口と、前記弁室の内周面に形成され、他方の前記空気ばねへ空気を流出する流出口と、前記弁室の底部に前記流入口を囲むように形成されて前記弁体が着座するシート部と、前記弁体を前記シート部に向けた閉弁方向に付勢する付勢部材と、を有する。前記弁体は、前記シート部よりも径方向外方に延出する第1鍔部を前記底部側に備えると共に、前記底部とは反対側に、前記弁室の内周面に向かって径方向外方に延出する第2鍔部を備える。前記第1鍔部は、前記弁室の内周面に向かって径方向外方に突出する複数の第1突出部を備える。前記第2鍔部は、前記第1突出部とは周方向にずれた位置に、前記弁室の内周面に向かって径方向外方に突出する複数の第2突出部を備える。 According to the second aspect of the present invention, the differential pressure valve is formed at the valve chamber, the circular valve body provided in the valve chamber, and the bottom of the valve chamber, and the air of one of the air springs flows in. The valve body is formed on the inner peripheral surface of the valve chamber to allow air to flow out to the other air spring, and is formed at the bottom of the valve chamber so as to surround the inlet. It has a seat portion to be seated and an urging member for urging the valve body toward the seat portion in the valve closing direction. The valve body is provided with a first flange portion extending radially outward from the seat portion on the bottom side thereof, and is radially opposite to the bottom portion toward the inner peripheral surface of the valve chamber. It has a second collar that extends outward. The first flange portion includes a plurality of first projecting portions that project radially outward toward the inner peripheral surface of the valve chamber. The second flange portion is provided with a plurality of second protrusions protruding radially outward toward the inner peripheral surface of the valve chamber at positions deviated from the first protrusion in the circumferential direction.

上記した差圧弁によれば、開弁圧のばらつきを抑制することが可能となる。 According to the differential pressure valve described above, it is possible to suppress variations in valve opening pressure.

本発明の第1実施形態に係る差圧弁を示す断面図である。It is sectional drawing which shows the differential pressure valve which concerns on 1st Embodiment of this invention. 本発明の第1実施形態に係る差圧弁の弁体を示す正面図である。It is a front view which shows the valve body of the differential pressure valve which concerns on 1st Embodiment of this invention. 本発明の第1実施形態に係る差圧弁の弁体を示す下面図である。It is a bottom view which shows the valve body of the differential pressure valve which concerns on 1st Embodiment of this invention. 本発明の第1実施形態に係る差圧弁およびこれが接続される車両を示す概略図である。It is a schematic diagram which shows the differential pressure valve which concerns on 1st Embodiment of this invention, and the vehicle to which it is connected. 本発明の第2実施形態に係る差圧弁を示す断面図である。It is sectional drawing which shows the differential pressure valve which concerns on 2nd Embodiment of this invention. 本発明の第2実施形態に係る差圧弁の弁体を示す平面図である。It is a top view which shows the valve body of the differential pressure valve which concerns on 2nd Embodiment of this invention. 本発明の第2実施形態に係る差圧弁の弁体を示す正面図である。It is a front view which shows the valve body of the differential pressure valve which concerns on 2nd Embodiment of this invention. 本発明の第3実施形態に係る差圧弁を示す断面図である。It is sectional drawing which shows the differential pressure valve which concerns on 3rd Embodiment of this invention. 本発明の第3実施形態に係る差圧弁の弁体を示す正面図である。It is a front view which shows the valve body of the differential pressure valve which concerns on 3rd Embodiment of this invention. 本発明の第3実施形態に係る差圧弁の弁体を示す下面図である。It is a bottom view which shows the valve body of the differential pressure valve which concerns on 3rd Embodiment of this invention.

本発明の実施形態を図面に基づいて説明する。 An embodiment of the present invention will be described with reference to the drawings.

[第1実施形態]
第1実施形態を図1〜図4に基づいて説明する。
[First Embodiment]
The first embodiment will be described with reference to FIGS. 1 to 4.

図1に示すように、第1実施形態に係る差圧弁11は、金属製のハウジング12を有している。ハウジング12には、外面に2箇所の第1座部15および第2座部16が並設されている。第1座部15および第2座部16は、それぞれの外側の座面が同一平面に配置されている。ハウジング12には、第1弁穴21と、第2弁穴22と、が穿設されている。第1弁穴21は、第1座部15からハウジング12内の中間所定位置まで、第1座部15の座面に対し垂直に穿設されている。第2弁穴22は、第2座部16からハウジング12内の中間所定位置まで、第2座部16の座面に対し垂直に穿設されている。第1弁穴21と第2弁穴22とは平行をなしている。第1弁穴21と第2弁穴22とは同形状であり、軸方向位置を合わせている。 As shown in FIG. 1, the differential pressure valve 11 according to the first embodiment has a metal housing 12. Two first seats 15 and a second seat 16 are arranged side by side on the outer surface of the housing 12. The outer seating surfaces of the first seating portion 15 and the second seating portion 16 are arranged on the same plane. A first valve hole 21 and a second valve hole 22 are bored in the housing 12. The first valve hole 21 is bored perpendicularly to the seat surface of the first seat portion 15 from the first seat portion 15 to an intermediate predetermined position in the housing 12. The second valve hole 22 is bored perpendicularly to the seat surface of the second seat 16 from the second seat 16 to an intermediate predetermined position in the housing 12. The first valve hole 21 and the second valve hole 22 are parallel to each other. The first valve hole 21 and the second valve hole 22 have the same shape and are aligned in the axial direction.

第1弁穴21は、最も奥側から順に、第1底穴部31、第1取付穴部32、第1主穴部33および第1ネジ穴部34を有している。これら第1底穴部31、第1取付穴部32、第1主穴部33および第1ネジ穴部34は、中心軸線を一致させた同軸状に配置されている。第1取付穴部32の内径は、第1底穴部31の内径よりも大径である。第1主穴部33の内径は、第1取付穴部32の内径よりも大径である。第1ネジ穴部34の最小内径は、第1主穴部33の内径よりも大径である。第1弁穴21は、第1ネジ穴部34が、第1座部15の位置でハウジング12の外に開口している。 The first valve hole 21 has a first bottom hole portion 31, a first mounting hole portion 32, a first main hole portion 33, and a first screw hole portion 34 in order from the innermost side. The first bottom hole portion 31, the first mounting hole portion 32, the first main hole portion 33, and the first screw hole portion 34 are arranged coaxially with their central axes aligned. The inner diameter of the first mounting hole portion 32 is larger than the inner diameter of the first bottom hole portion 31. The inner diameter of the first main hole portion 33 is larger than the inner diameter of the first mounting hole portion 32. The minimum inner diameter of the first screw hole portion 34 is larger than the inner diameter of the first main hole portion 33. In the first valve hole 21, the first screw hole portion 34 is open to the outside of the housing 12 at the position of the first seat portion 15.

第2弁穴22は、最も奥側から順に、第2底穴部41、第2取付穴部42、第2主穴部43および第2ネジ穴部44を有している。これら第2底穴部41、第2取付穴部42、第2主穴部43および第2ネジ穴部44は中心軸線を一致させた同軸状に配置されている。第2取付穴部42の内径は、第2底穴部41の内径よりも大径である。第2主穴部43の内径は、第2取付穴部42の内径よりも大径である。第2ネジ穴部44の最小内径は、第1主穴部33の内径よりも大径である。第2弁穴22は、第2ネジ穴部44が、第2座部16の位置でハウジング12の外に開口している。 The second valve hole 22 has a second bottom hole portion 41, a second mounting hole portion 42, a second main hole portion 43, and a second screw hole portion 44 in order from the innermost side. The second bottom hole portion 41, the second mounting hole portion 42, the second main hole portion 43, and the second screw hole portion 44 are arranged coaxially with their central axes aligned. The inner diameter of the second mounting hole portion 42 is larger than the inner diameter of the second bottom hole portion 41. The inner diameter of the second main hole portion 43 is larger than the inner diameter of the second mounting hole portion 42. The minimum inner diameter of the second screw hole portion 44 is larger than the inner diameter of the first main hole portion 33. In the second valve hole 22, the second screw hole portion 44 is opened to the outside of the housing 12 at the position of the second seat portion 16.

ハウジング12には、第1内部通路51と、第2内部通路52と、第1流入通路53と、第2流入通路54とが形成されている。第1内部通路51は、一端が第1主穴部33に開口し、他端が第2底穴部41に開口する。第2内部通路52は、一端が第2主穴部43に開口し、他端が第1底穴部31に開口する。第1流入通路53は、第1底穴部31をハウジング12の外に開口させる。第2流入通路54は、第2底穴部41をハウジング12の外に開口させる。 The housing 12 is formed with a first internal passage 51, a second internal passage 52, a first inflow passage 53, and a second inflow passage 54. One end of the first internal passage 51 opens into the first main hole 33, and the other end opens into the second bottom hole 41. One end of the second internal passage 52 opens into the second main hole 43, and the other end opens into the first bottom hole 31. The first inflow passage 53 opens the first bottom hole portion 31 to the outside of the housing 12. The second inflow passage 54 opens the second bottom hole 41 to the outside of the housing 12.

第1内部通路51は、第1主穴部33に開口する第1流出口61(流出口)と、第2底穴部41に開口する第1連通口62と、第1流出口61と第1連通口62とを結ぶ第1中間通路部63とを有している。第1流出口61は、第1主穴部33の軸方向の中間所定位置に開口しており、第1主穴部33の径方向に沿って延びている。第1連通口62は、第2底穴部41の径方向に沿って延びている。第1中間通路部63は、第1弁穴21の軸方向に延びている。 The first internal passage 51 includes a first outlet 61 (outlet) that opens in the first main hole 33, a first communication port 62 that opens in the second bottom hole 41, a first outlet 61, and a first outlet. It has a first intermediate passage portion 63 connecting the one communication port 62 and the first communication port 62. The first outlet 61 is opened at an intermediate predetermined position in the axial direction of the first main hole portion 33, and extends along the radial direction of the first main hole portion 33. The first communication port 62 extends along the radial direction of the second bottom hole portion 41. The first intermediate passage portion 63 extends in the axial direction of the first valve hole 21.

第2内部通路52は、第2主穴部43に開口する第2流出口71(流出口)と、第1底穴部31に開口する第2連通口72と、第2流出口71と第2連通口72とを結ぶ第2中間通路部73とを有している。第2流出口71は、第2主穴部43の軸方向の中間所定位置に開口しており、第2主穴部43の径方向に沿って延びている。第2連通口72は、第1底穴部31の径方向に沿って延びている。第2中間通路部73は、第2弁穴22の軸方向に延びている。 The second internal passage 52 has a second outlet 71 (outlet) that opens in the second main hole 43, a second communication port 72 that opens in the first bottom hole 31, a second outlet 71, and a second outlet. It has a second intermediate passage portion 73 connecting the two communication ports 72. The second outlet 71 is opened at an intermediate predetermined position in the axial direction of the second main hole portion 43, and extends along the radial direction of the second main hole portion 43. The second communication port 72 extends along the radial direction of the first bottom hole portion 31. The second intermediate passage portion 73 extends in the axial direction of the second valve hole 22.

差圧弁11は、第1弁穴21に組み込まれる第1弁構成部81と、第2弁穴22に組み込まれる第2弁構成部82と、を有している。第1弁穴21と第1弁構成部81とが第1弁機構83を構成している。第2弁穴22と第2弁構成部82とが第2弁機構84を構成している。第1弁構成部81および第2弁構成部82は同様の構成である。第1弁穴21および第2弁穴22も同形状であることから、第1弁機構83および第2弁機構84も同様の構成となる。 The differential pressure valve 11 has a first valve component 81 incorporated in the first valve hole 21 and a second valve component 82 incorporated in the second valve hole 22. The first valve hole 21 and the first valve component 81 constitute the first valve mechanism 83. The second valve hole 22 and the second valve component 82 constitute the second valve mechanism 84. The first valve component 81 and the second valve component 82 have the same configuration. Since the first valve hole 21 and the second valve hole 22 have the same shape, the first valve mechanism 83 and the second valve mechanism 84 have the same configuration.

ここでは、同様の構成である第1弁構成部81および第2弁構成部82のうちの第1弁構成部81を例にとり説明する。 Here, the first valve component 81 of the first valve component 81 and the second valve component 82 having the same configuration will be described as an example.

第1弁構成部81は、シート部材91と、蓋部材92と、ワッシャ93と、付勢部材95とを有している。シート部材91は、第1弁穴21の第1取付穴部32に嵌合される。蓋部材92は、第1弁穴21の第1ネジ穴部34に螺合される。ワッシャ93は、蓋部材92と第1座部15との間に介装される。弁体94は、第1主穴部33内に移動可能に設けられる。付勢部材95は、弁体94をシート部材91の方向に付勢する。 The first valve component 81 has a seat member 91, a lid member 92, a washer 93, and an urging member 95. The seat member 91 is fitted into the first mounting hole portion 32 of the first valve hole 21. The lid member 92 is screwed into the first screw hole portion 34 of the first valve hole 21. The washer 93 is interposed between the lid member 92 and the first seat portion 15. The valve body 94 is movably provided in the first main hole portion 33. The urging member 95 urges the valve body 94 in the direction of the seat member 91.

シート部材91には、径方向の中央に、軸方向に延びる通路穴101が貫通形成されている。シート部材91は、円環状のベース部103と、ベース部103の外径よりも外径が小径でベース部103の軸方向の一端から軸方向の外側に突出する円環状のシート部104とを有している。ベース部103とシート部104とは、中心軸線を一致させた同軸状に配置されている。シート部材91は、ベース部103が第1取付穴部32に嵌合されてハウジング12に固定される。このときのシート部材91の向きは、シート部104が第1弁穴21の第1主穴部33側に配置される向きである。シート部104は通路穴101を全周にわたって囲んでいる。このように、ハウジング12とは別体のシート部材91にシート部104が形成されている。 A passage hole 101 extending in the axial direction is formed through the seat member 91 in the center in the radial direction. The sheet member 91 has an annular base portion 103 and an annular seat portion 104 having an outer diameter smaller than the outer diameter of the base portion 103 and protruding outward in the axial direction from one end in the axial direction of the base portion 103. Have. The base portion 103 and the seat portion 104 are arranged coaxially with their central axes aligned. In the seat member 91, the base portion 103 is fitted into the first mounting hole portion 32 and fixed to the housing 12. The orientation of the seat member 91 at this time is the orientation in which the seat portion 104 is arranged on the side of the first main hole portion 33 of the first valve hole 21. The seat portion 104 surrounds the passage hole 101 over the entire circumference. In this way, the seat portion 104 is formed on the seat member 91 that is separate from the housing 12.

ハウジング12の第1取付穴部32に固定された状態のシート部材91の通路穴101は、第1底穴部31に連通し、第1底穴部31とで流入口106を構成している。シート部104は、この流入口106を囲むように形成されている。第1弁構成部81のシート部材91の通路穴101を含む流入口106は、第1流入通路53に常時連通する。ハウジング12には、第2取付穴部42にも、第2弁構成部82のシート部材91が固定される。このシート部材91の通路穴101と第2底穴部41とで構成される流入口106は、第2流入通路54に常時連通する。 The passage hole 101 of the seat member 91 fixed to the first mounting hole portion 32 of the housing 12 communicates with the first bottom hole portion 31 and constitutes the inflow port 106 together with the first bottom hole portion 31. .. The seat portion 104 is formed so as to surround the inflow port 106. The inflow port 106 including the passage hole 101 of the seat member 91 of the first valve component 81 always communicates with the first inflow passage 53. The seat member 91 of the second valve component 82 is also fixed to the housing 12 in the second mounting hole 42. The inflow port 106 composed of the passage hole 101 of the sheet member 91 and the second bottom hole portion 41 always communicates with the second inflow passage 54.

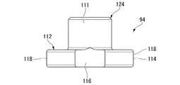
図2,図3に示すように、弁体94は、円形状である。具体的には、弁体94は、段付きの円柱状である。弁体94は、中実の円柱状の軸部111と、軸部111の軸方向一端側から径方向外側に広がる円板状の鍔部112(第1鍔部)とを有している。軸部111と鍔部112とは中心軸線を一致させた同軸状に配置されている。鍔部112の外周部には、円筒面状の最外周面114よりも径方向内方に凹む複数の同形状の凹部116(第1凹部)が形成されている。凹部116は、鍔部112の周方向に等間隔で奇数箇所形成されている。具体的には、凹部116は、鍔部112の周方向に120°間隔で3箇所形成されている。 As shown in FIGS. 2 and 3, the valve body 94 has a circular shape. Specifically, the valve body 94 is a stepped columnar shape. The valve body 94 has a solid columnar shaft portion 111 and a disk-shaped flange portion 112 (first flange portion) extending radially outward from one end side in the axial direction of the shaft portion 111. The shaft portion 111 and the flange portion 112 are arranged coaxially with their central axes aligned. A plurality of recesses 116 (first recesses) having the same shape, which are recessed inward in the radial direction from the outermost peripheral surface 114 having a cylindrical surface, are formed on the outer peripheral portion of the flange portion 112. The recesses 116 are formed at odd-numbered locations at equal intervals in the circumferential direction of the flange portion 112. Specifically, the recesses 116 are formed at three positions at intervals of 120 ° in the circumferential direction of the flange portion 112.

これにより、鍔部112の外周部には、周方向に隣り合う凹部116と凹部116との間に、突出部118(第1突出部)が形成されている。突出部118(第1突出部)は、凹部116の最も凹んだ位置よりも鍔部112の径方向における外方に突出する。鍔部112の突出部118は全て同形状である。鍔部112の周方向における突出部118の長さは、凹部116の同方向の長さよりも長い。突出部118は、鍔部112の周方向に等間隔で奇数箇所形成されている。具体的には、突出部118は、鍔部112の周方向に120°間隔で3箇所形成されている。 As a result, a protruding portion 118 (first protruding portion) is formed on the outer peripheral portion of the flange portion 112 between the recesses 116 adjacent to each other in the circumferential direction and the recesses 116. The protruding portion 118 (first protruding portion) protrudes outward in the radial direction of the flange portion 112 from the most recessed position of the recess 116. The protruding portions 118 of the flange portion 112 all have the same shape. The length of the protrusion 118 in the circumferential direction of the flange 112 is longer than the length of the recess 116 in the same direction. The protruding portions 118 are formed at odd-numbered locations at equal intervals in the circumferential direction of the flange portion 112. Specifically, the protruding portions 118 are formed at three positions at intervals of 120 ° in the circumferential direction of the flange portion 112.

鍔部112は、複数の突出部118と軸部111との間が円環状の鍔基端部121となっている。この鍔基端部121から径方向外方に複数の突出部118が突出している。図1に示すように、鍔基端部121は、外径が、シート部材91のシート部104の外径よりも大径となっている。言い換えれば、鍔部112の最小外径が、シート部104の外径よりも大径となっている。よって、鍔部112の最大外径、すなわち弁体94の最大外径も、シート部104の外径よりも大径となっている。鍔部112の最大外径は、第1主穴部33の内径よりも若干小径となっている。 The flange portion 112 has an annular flange base end portion 121 between the plurality of protrusions 118 and the shaft portion 111. A plurality of projecting portions 118 project radially outward from the flange base end portion 121. As shown in FIG. 1, the outer diameter of the flange base end portion 121 is larger than the outer diameter of the seat portion 104 of the seat member 91. In other words, the minimum outer diameter of the flange portion 112 is larger than the outer diameter of the seat portion 104. Therefore, the maximum outer diameter of the flange portion 112, that is, the maximum outer diameter of the valve body 94 is also larger than the outer diameter of the seat portion 104. The maximum outer diameter of the flange portion 112 is slightly smaller than the inner diameter of the first main hole portion 33.

弁体94は、鍔部112がシート部104側となる向きで、第1主穴部33内に挿入される。この状態で、弁体94はシート部104に着座可能となる。弁体94は、鍔部112の軸部111が突出する側とは反対側の端部の径方向中央に円板状の着座体123を有している。弁体94は、シート部104に着座する部分がこの着座体123で構成されている。言い換えれば、着座体123は鍔基端部121を構成している。弁体94は、着座体123以外の部分が弁本体124となっている。弁本体124は、着座体123とは異なる材質で構成されている。例えば、着座体123は合成樹脂製であり、弁本体124は金属製である。弁本体124は、軸部111の鍔部112よりも突出する側の全部と、軸部111の鍔部112と軸方向に重なる部分と、鍔部112の軸部111が突出する側の部分と、鍔部112の径方向外側の部分とを構成している。弁本体124は、一体成形されている。 The valve body 94 is inserted into the first main hole portion 33 with the flange portion 112 facing the seat portion 104 side. In this state, the valve body 94 can be seated on the seat portion 104. The valve body 94 has a disk-shaped seating body 123 at the center in the radial direction of the end portion of the flange portion 112 opposite to the side on which the shaft portion 111 protrudes. The portion of the valve body 94 that is seated on the seat portion 104 is composed of the seated body 123. In other words, the seated body 123 constitutes the collar base end portion 121. The portion of the valve body 94 other than the seated body 123 is the valve body 124. The valve body 124 is made of a material different from that of the seated body 123. For example, the seating body 123 is made of synthetic resin, and the valve body 124 is made of metal. The valve body 124 includes the entire side of the shaft portion 111 that protrudes from the flange portion 112, a portion that overlaps the flange portion 112 of the shaft portion 111 in the axial direction, and a portion of the flange portion 112 that protrudes from the shaft portion 111. , It constitutes a portion on the outer side in the radial direction of the flange portion 112. The valve body 124 is integrally molded.

図3に示すように、鍔部112の外周部には、凹部116および突出部118がそれぞれ奇数箇所形成されている。このため、全ての突出部118に対して、それぞれの鍔部112の周方向における180度反対側の位置に凹部116が設けられている。言い換えれば、鍔部112は、径方向外方に突出する複数の突出部118と、これら複数の突出部118のそれぞれの、鍔部112の周方向における反対側の位置で径方向内方に凹む凹部116とを備えている。 As shown in FIG. 3, recesses 116 and protrusions 118 are formed at odd-numbered locations on the outer peripheral portion of the flange portion 112. For this reason, recesses 116 are provided at positions 180 degrees opposite to each of the flanges 112 in the circumferential direction with respect to all the protrusions 118. In other words, the flange portion 112 is recessed inward in the radial direction at the positions of the plurality of projecting portions 118 projecting outward in the radial direction and the positions of each of the plurality of projecting portions 118 in the circumferential direction of the flange portion 112. It is provided with a recess 116.

図1に示すように、蓋部材92は、軸方向一側から順に、頭部131、円板部132、ネジ軸部133および突出軸部134を有している。頭部131は、スパナ等の螺合工具に係合される部分である。頭部131は、外形が六角径状をなしている。円板部132は、頭部131の最大外径よりも大径の外径を有している。ネジ軸部133は、最大外径が円板部132の外径よりも小径である。突出軸部134は、円柱状である。突出軸部134は、ネジ軸部133の最小外径よりも小径である。頭部131と、円板部132と、ネジ軸部133と、突出軸部134と、は中心軸線を一致させた同軸状に配置されている。 As shown in FIG. 1, the lid member 92 has a head 131, a disk portion 132, a screw shaft portion 133, and a protruding shaft portion 134 in this order from one side in the axial direction. The head 131 is a portion engaged with a screwing tool such as a spanner. The head 131 has a hexagonal diameter in outer shape. The disk portion 132 has an outer diameter larger than the maximum outer diameter of the head 131. The maximum outer diameter of the screw shaft portion 133 is smaller than the outer diameter of the disk portion 132. The protruding shaft portion 134 is columnar. The protruding shaft portion 134 has a smaller diameter than the minimum outer diameter of the screw shaft portion 133. The head 131, the disk portion 132, the screw shaft portion 133, and the protruding shaft portion 134 are arranged coaxially with their central axes aligned.

第1弁構成部81の蓋部材92は、突出軸部134を先頭にして、第1弁穴21に挿入される。その際に、ネジ軸部133が第1ネジ穴部34に螺合される。このとき、円環状のワッシャ93が円板部132と第1座部15との間に介装される。この蓋部材92は、第1弁穴21に螺合された状態で、突出軸部134が第1弁構成部81の弁体94の軸部111と中心軸線をほぼ一致させた状態で軸方向に対向する。この弁体94は、シート部104に当接した状態で、その軸部111と蓋部材92の突出軸部134との間に、軸方向に所定の隙間が設けられる。弁体94は、この隙間の範囲で軸方向に移動する。その際に、鍔部112の最外周面114が、第1主穴部33の円筒面である内周面138に案内される。弁体94は、上記範囲で移動しても、鍔部112が常に流入口106と第1流出口61との間にある。 The lid member 92 of the first valve component 81 is inserted into the first valve hole 21 with the protruding shaft portion 134 at the head. At that time, the screw shaft portion 133 is screwed into the first screw hole portion 34. At this time, an annular washer 93 is interposed between the disk portion 132 and the first seat portion 15. The lid member 92 is axially aligned with the shaft portion 111 of the valve body 94 of the first valve component 81 in a state where the protruding shaft portion 134 is screwed into the first valve hole 21. Facing. The valve body 94 is provided with a predetermined gap in the axial direction between the shaft portion 111 and the protruding shaft portion 134 of the lid member 92 in a state of being in contact with the seat portion 104. The valve body 94 moves in the axial direction within the range of this gap. At that time, the outermost outer peripheral surface 114 of the flange portion 112 is guided to the inner peripheral surface 138 which is the cylindrical surface of the first main hole portion 33. Even if the valve body 94 moves within the above range, the flange portion 112 is always between the inlet 106 and the first outlet 61.

付勢部材95は、コイルばねである。付勢部材95には、軸方向一端部の内側に蓋部材92の突出軸部134が挿入され、軸方向他端部の内側に弁体94の軸部111が挿入される。そして、付勢部材95は、軸方向一端部が蓋部材92のネジ軸部133の突出軸部134側の端面に当接し、軸方向他端部が弁体94の鍔部112の軸部111が突出する側の端面に当接する。付勢部材95は、弁体94をシート部104に向けた閉弁方向に付勢する。 The urging member 95 is a coil spring. In the urging member 95, the protruding shaft portion 134 of the lid member 92 is inserted inside the one end portion in the axial direction, and the shaft portion 111 of the valve body 94 is inserted inside the other end portion in the axial direction. The urging member 95 has one end in the axial direction abutting against the end surface of the screw shaft portion 133 of the lid member 92 on the protruding shaft portion 134 side, and the other end in the axial direction is the shaft portion 111 of the flange portion 112 of the valve body 94. Contact the end face on the protruding side. The urging member 95 urges the valve body 94 toward the seat portion 104 in the valve closing direction.

弁体94が受ける開弁方向の差圧が所定値より小さい状態では、付勢部材95の付勢力で弁体94がシート部104に当接して流入口106を閉じる。弁体94が受ける開弁方向の差圧が所定値より大きくなると、弁体94は付勢部材95の付勢力に抗してシート部104から離座して流入口106を開く。その際に、弁体94は、鍔部112の最外周面114が、第1主穴部33の内周面138に案内されて、軸方向に移動する。 When the differential pressure in the valve opening direction received by the valve body 94 is smaller than a predetermined value, the valve body 94 abuts on the seat portion 104 by the urging force of the urging member 95 and closes the inflow port 106. When the differential pressure in the valve opening direction received by the valve body 94 becomes larger than a predetermined value, the valve body 94 separates from the seat portion 104 against the urging force of the urging member 95 and opens the inflow port 106. At that time, in the valve body 94, the outermost peripheral surface 114 of the flange portion 112 is guided by the inner peripheral surface 138 of the first main hole portion 33 and moves in the axial direction.

ハウジング12の第1主穴部33と、蓋部材92と、シート部材91とで囲まれて、弁室141が形成されている。弁体94は、この弁室141内に軸方向移動可能に設けられている。シート部材91は、弁室141の底部142を構成している。よって、弁室141の底部142に、弁体94が着座するシート部104が設けられている。シート部材91の通路穴101を含む流入口106は、弁室141の底部142に形成されている。第1主穴部33の内周面138は、弁室141の内周面138でもある。 The valve chamber 141 is formed by being surrounded by the first main hole 33 of the housing 12, the lid member 92, and the seat member 91. The valve body 94 is provided in the valve chamber 141 so as to be movable in the axial direction. The seat member 91 constitutes the bottom 142 of the valve chamber 141. Therefore, a seat portion 104 on which the valve body 94 is seated is provided at the bottom portion 142 of the valve chamber 141. The inflow port 106 including the passage hole 101 of the seat member 91 is formed in the bottom 142 of the valve chamber 141. The inner peripheral surface 138 of the first main hole portion 33 is also the inner peripheral surface 138 of the valve chamber 141.

第1主穴部33に開口する第1流出口61は、第1弁機構83の弁室141の内周面138に形成されている。同様に、第2主穴部43に開口する第2流出口71は、第2弁機構84の弁室141の内周面138に形成されている。 The first outlet 61 that opens into the first main hole 33 is formed on the inner peripheral surface 138 of the valve chamber 141 of the first valve mechanism 83. Similarly, the second outlet 71 that opens into the second main hole 43 is formed on the inner peripheral surface 138 of the valve chamber 141 of the second valve mechanism 84.

弁体94は、弁室141の底部142側に、鍔部112を備えている。鍔部112は、シート部104よりも径方向外方に延出する。鍔部112の複数の突出部118は、鍔基端部121から弁室141の内周面138に向かって径方向外方に突出している。鍔部112の複数の凹部116は、突出部118の周方向反対側の位置で鍔部112の径方向の内方に凹んでいる。鍔部112は、複数の突出部118と、凹部116とを備えている。複数の突出部118は、鍔基端部121から弁室141の内周面138に向かって径方向外方に突出する。凹部116は、突出部118の周方向反対側の位置で径方向内方に凹む。 The valve body 94 is provided with a flange portion 112 on the bottom portion 142 side of the valve chamber 141. The flange portion 112 extends radially outward from the seat portion 104. The plurality of projecting portions 118 of the flange portion 112 project radially outward from the flange base end portion 121 toward the inner peripheral surface 138 of the valve chamber 141. The plurality of recesses 116 of the flange portion 112 are recessed inward in the radial direction of the flange portion 112 at positions opposite to the circumferential direction of the protrusion 118. The flange portion 112 includes a plurality of protruding portions 118 and a recessed portion 116. The plurality of projecting portions 118 project radially outward from the flange base end portion 121 toward the inner peripheral surface 138 of the valve chamber 141. The recess 116 is radially inwardly recessed at a position opposite the circumferential direction of the protrusion 118.

図4に概略的に示すように、差圧弁11は、車両151の車体152と台車153との間に設けられる2つの空気ばね155,156を繋ぐ連通路158,159に配置されている。差圧弁11は、2つの空気ばね155,156間の圧力差に応じて連通路158,159を開閉する。 As schematically shown in FIG. 4, the differential pressure valve 11 is arranged in a communication passage 158, 159 connecting two air springs 155, 156 provided between the vehicle body 152 of the vehicle 151 and the bogie 153. The differential pressure valve 11 opens and closes the communication passages 158 and 159 according to the pressure difference between the two air springs 155 and 156.

一方の空気ばね155と第1流入通路53とは通路部161を介して連通している。他方の空気ばね156と第2流入通路54とは通路部162を介して連通している。そして、一方の空気ばね155から延出する通路部161と、第1流入通路53と、第1弁機構83の流入口106と、第1弁機構83の弁室141と、第1内部通路51と、第2弁機構84の流入口106と、第2流入通路54と、通路部162とが、2つの空気ばね155,156を繋ぐ連通路158を構成している。また、他方の空気ばね156から延出する通路部162と、第2流入通路54と、第2弁機構84の流入口106と、第2弁機構84の弁室141と、第2内部通路52と、第1弁機構83の流入口106と、第1流入通路53と、通路部161とが、2つの空気ばね155,156を繋ぐ連通路159を構成している。 One of the air springs 155 and the first inflow passage 53 communicate with each other via the passage portion 161. The other air spring 156 and the second inflow passage 54 communicate with each other via the passage portion 162. Then, a passage portion 161 extending from one of the air springs 155, a first inflow passage 53, an inflow port 106 of the first valve mechanism 83, a valve chamber 141 of the first valve mechanism 83, and a first internal passage 51. The inflow port 106 of the second valve mechanism 84, the second inflow passage 54, and the passage portion 162 form a continuous passage 158 connecting the two air springs 155 and 156. Further, a passage portion 162 extending from the other air spring 156, a second inflow passage 54, an inflow port 106 of the second valve mechanism 84, a valve chamber 141 of the second valve mechanism 84, and a second internal passage 52. The inflow port 106 of the first valve mechanism 83, the first inflow passage 53, and the passage portion 161 form a continuous passage 159 connecting the two air springs 155 and 156.

第1弁機構83は、連通路158に配置されて、2つの空気ばね155,156間の圧力差に応じて連通路158を開閉する。すなわち、空気ばね155の圧力が空気ばね156の圧力より高くなると、弁体94が付勢部材95の付勢力に抗してシート部104から離座して流入口106を開く。すると、連通路158が通じて、空気ばね155の空気が連通路158、すなわち、通路部161、第1流入通路53、第1弁機構83の流入口106、第1弁機構83の弁室141、第1流出口61を含む第1内部通路51、第2弁機構84の流入口106、第2流入通路54および通路部162を介して空気ばね156に流れる。これにより、空気ばね155の圧力が空気ばね156の圧力に近づくように下がる。 The first valve mechanism 83 is arranged in the communication passage 158 and opens and closes the communication passage 158 according to the pressure difference between the two air springs 155 and 156. That is, when the pressure of the air spring 155 becomes higher than the pressure of the air spring 156, the valve body 94 separates from the seat portion 104 against the urging force of the urging member 95 and opens the inflow port 106. Then, the continuous passage 158 is passed through, and the air of the air spring 155 is passed through the continuous passage 158, that is, the passage portion 161, the first inflow passage 53, the inflow port 106 of the first valve mechanism 83, and the valve chamber 141 of the first valve mechanism 83. , The air spring 156 flows through the first internal passage 51 including the first outlet 61, the inflow port 106 of the second valve mechanism 84, the second inflow passage 54, and the passage portion 162. As a result, the pressure of the air spring 155 is lowered so as to approach the pressure of the air spring 156.

弁室141の底部142に形成された流入口106には、一方の空気ばね155の空気が流入する。また、第1内部通路51の第1流出口61は、第1弁機構83の弁室141の内周面138に形成されて他方の空気ばね156へ空気を流出する。 The air from one of the air springs 155 flows into the inflow port 106 formed at the bottom 142 of the valve chamber 141. Further, the first outlet 61 of the first internal passage 51 is formed on the inner peripheral surface 138 of the valve chamber 141 of the first valve mechanism 83, and air flows out to the other air spring 156.

第1流出口61は、流入口106および弁室141を結ぶ方向、すなわち第1弁穴21の軸方向に対して、交差している。具体的には、第1流出口61は、第1弁穴21の軸方向に直交している。このため、流入口106から弁室141を介して第1流出口61に空気が流れる際に、流入口106から弁室141に流入した空気は、主に弁体94の鍔部112の凹部116と弁室141の内周面138との間を弁体94の軸方向に通過した後、弁体94の径方向に向きをかえて第1流出口61から流出する。 The first outlet 61 intersects the direction connecting the inlet 106 and the valve chamber 141, that is, the axial direction of the first valve hole 21. Specifically, the first outlet 61 is orthogonal to the axial direction of the first valve hole 21. Therefore, when air flows from the inflow port 106 to the first outlet 61 through the valve chamber 141, the air flowing into the valve chamber 141 from the inflow port 106 is mainly the recess 116 of the flange portion 112 of the valve body 94. After passing between the valve chamber 141 and the inner peripheral surface 138 of the valve chamber 141 in the axial direction of the valve body 94, the air flows out from the first outlet 61 by turning in the radial direction of the valve body 94.

第2弁機構84は、連通路159に配置されて、2つの空気ばね155,156間の圧力差に応じて連通路159を開閉する。すなわち、空気ばね156の圧力が空気ばね155の圧力より高くなると、弁体94が付勢部材95の付勢力に抗してシート部104から離座して流入口106を開く。すると、連通路159が通じて、空気ばね156の空気が連通路159、すなわち、通路部162、第2流入通路54、第2弁機構84の流入口106、第2弁機構84の弁室141、第2流出口71を含む第2内部通路52、第1弁機構83の流入口106、第1流入通路53および通路部161を介して空気ばね155に流れる。これにより、空気ばね156の圧力が空気ばね155の圧力に近づくように下がる。 The second valve mechanism 84 is arranged in the communication passage 159 and opens and closes the communication passage 159 according to the pressure difference between the two air springs 155 and 156. That is, when the pressure of the air spring 156 becomes higher than the pressure of the air spring 155, the valve body 94 separates from the seat portion 104 against the urging force of the urging member 95 and opens the inflow port 106. Then, the communication passage 159 is passed through, and the air of the air spring 156 is passed through the communication passage 159, that is, the passage portion 162, the second inflow passage 54, the inflow port 106 of the second valve mechanism 84, and the valve chamber 141 of the second valve mechanism 84. , The second internal passage 52 including the second outlet 71, the inflow port 106 of the first valve mechanism 83, the first inflow passage 53, and the passage portion 161 to flow into the air spring 155. As a result, the pressure of the air spring 156 is lowered so as to approach the pressure of the air spring 155.

弁室141の底部142に形成された流入口106には、他方の空気ばね156の空気が流入する。また、第2内部通路52の第2流出口71は、第2弁機構84の弁室141の内周面138に形成されて一方の空気ばね155へ空気を流出する。 The air from the other air spring 156 flows into the inflow port 106 formed at the bottom 142 of the valve chamber 141. Further, the second outlet 71 of the second internal passage 52 is formed on the inner peripheral surface 138 of the valve chamber 141 of the second valve mechanism 84, and air flows out to one of the air springs 155.

第2流出口71は、流入口106および弁室141を結ぶ方向、すなわち第2弁穴22の軸方向に対して交差している。具体的には、第2流出口71は、第2弁穴22の軸方向に直交している。このため、流入口106から弁室141を介して第2流出口71に空気が流れる際に、流入口106から弁室141に流入した空気は、主に弁体94の鍔部112の凹部116と弁室141の内周面138との間を弁体94の軸方向に通過した後、弁体94の径方向に向きをかえて第2流出口71から流出する。 The second outlet 71 intersects the direction connecting the inlet 106 and the valve chamber 141, that is, the axial direction of the second valve hole 22. Specifically, the second outlet 71 is orthogonal to the axial direction of the second valve hole 22. Therefore, when air flows from the inflow port 106 to the second outlet 71 through the valve chamber 141, the air flowing into the valve chamber 141 from the inflow port 106 is mainly the recess 116 of the flange portion 112 of the valve body 94. After passing between the valve chamber 141 and the inner peripheral surface 138 of the valve chamber 141 in the axial direction of the valve body 94, the air flows out from the second outlet 71 by turning in the radial direction of the valve body 94.

上記した特許文献1には、鉄道車両において、車体と台車との間に設けられる2つの空気ばねを繋ぐ連通路に、2つの空気ばね間の圧力差に応じて連通路を開閉する差圧弁を設けることが開示されている。このような差圧弁においては、開弁圧のばらつきを抑制することが求められている。 In Patent Document 1 described above, in a railroad vehicle, a differential pressure valve that opens and closes a continuous passage according to a pressure difference between the two air springs is provided in a continuous passage connecting two air springs provided between a vehicle body and a bogie. It is disclosed to provide. In such a differential pressure valve, it is required to suppress the variation in the valve opening pressure.

第1実施形態の差圧弁11は、第1弁機構83において、一方の空気ばね155の空気が流入する流入口106が弁室141の底部142に形成され、他方の空気ばね156へ空気を流出する第1流出口61が弁室141の内周面138に形成されている。このような構造であると、流入口106および弁室141を結ぶ方向に対して、第1流出口61が交差する。このため、流入口106から弁室141を介して第1流出口61に空気が流れる際に、流入口106から弁室141に流入した空気は、主に弁体94の鍔部112の凹部116と弁室141の内周面138との間を弁体94の軸方向に通過した後、弁体94の径方向に向きをかえて第1流出口61から流出する。このとき、弁体94の周方向において第1流出口61とは反対側に凹部116が位置すると、この凹部116を通過して第1流出口61に向く空気の流れで、弁体94に第1流出口61に向けて大きな径方向の力が作用する。これにより、弁体94が、弁室141内において、鍔部112のシート部104とは反対側の端部をシート部104側の端部よりも第1流出口61に近づけるように傾いてしまう可能性がある。 In the differential pressure valve 11 of the first embodiment, in the first valve mechanism 83, the inflow port 106 into which the air of one air spring 155 flows in is formed at the bottom 142 of the valve chamber 141, and the air flows out to the other air spring 156. The first outlet 61 is formed on the inner peripheral surface 138 of the valve chamber 141. With such a structure, the first outlet 61 intersects with respect to the direction connecting the inlet 106 and the valve chamber 141. Therefore, when air flows from the inflow port 106 to the first outlet 61 through the valve chamber 141, the air flowing into the valve chamber 141 from the inflow port 106 is mainly the recess 116 of the flange portion 112 of the valve body 94. After passing between the valve chamber 141 and the inner peripheral surface 138 of the valve chamber 141 in the axial direction of the valve body 94, the air flows out from the first outlet 61 by turning in the radial direction of the valve body 94. At this time, when the recess 116 is located on the side opposite to the first outlet 61 in the circumferential direction of the valve body 94, the air flow passing through the recess 116 and toward the first outlet 61 causes the valve body 94 to become the first. A large radial force acts toward the 1 outlet 61. As a result, the valve body 94 is tilted in the valve chamber 141 so that the end portion of the flange portion 112 opposite to the seat portion 104 is closer to the first outlet 61 than the end portion on the seat portion 104 side. there is a possibility.

これに対し、第1弁機構83は、弁体94の鍔部112の凹部116の周方向反対側の位置に円弧状の突出部118が設けられている。このため、弁体94が上記のように傾いても、突出部118が弁室141の内周面138に線接触し、接触面圧が下がる。よって、弁体94の軸方向移動が円滑となる。したがって、開弁圧のばらつきを抑制することが可能となる。すなわち、凹部116の周方向反対側の位置に凹部116が形成されていると、上記のように傾いたときに、弁体94は、鍔部112の凹部116の周方向の両端の角部において点接触で弁室141の内周面138に接触する。すると、接触面圧が上がり、かじり等を生じて、弁体94が円滑に軸方向移動できない可能性がある。第1弁機構83は、このような可能性を低減できる。 On the other hand, the first valve mechanism 83 is provided with an arc-shaped protruding portion 118 at a position opposite to the circumferential direction of the recess 116 of the flange portion 112 of the valve body 94. Therefore, even if the valve body 94 is tilted as described above, the protruding portion 118 is in line contact with the inner peripheral surface 138 of the valve chamber 141, and the contact surface pressure is lowered. Therefore, the axial movement of the valve body 94 becomes smooth. Therefore, it is possible to suppress variations in valve opening pressure. That is, if the recess 116 is formed at a position opposite to the circumferential direction of the recess 116, the valve body 94 is attached to the corners of both ends of the recess 116 of the flange portion 112 in the circumferential direction when the recess 116 is tilted as described above. It contacts the inner peripheral surface 138 of the valve chamber 141 by point contact. Then, the contact surface pressure may increase, causing galling or the like, and the valve body 94 may not be able to move smoothly in the axial direction. The first valve mechanism 83 can reduce such a possibility.

また、弁体94には、突出部118が、周方向に120°間隔で形成されている。このため、弁体94の最外周面114の面積を広くすることができる。例えば60°間隔とする場合と比べて約2倍にすることが可能になる。よって、弁室141の内周面138と弁体94との接触面積を大きくできるため、弁体94の軸方向移動が一層円滑となる。したがって、開弁圧のばらつきを一層抑制することが可能となる。また、弁体94に、凹部116が周方向に120°間隔で形成されるため、凹部116の数を減らすことができ、よって、弁体94の加工工数を低減することができる。 Further, protrusions 118 are formed on the valve body 94 at intervals of 120 ° in the circumferential direction. Therefore, the area of the outermost peripheral surface 114 of the valve body 94 can be increased. For example, it is possible to double the interval as compared with the case where the interval is 60 °. Therefore, since the contact area between the inner peripheral surface 138 of the valve chamber 141 and the valve body 94 can be increased, the axial movement of the valve body 94 becomes smoother. Therefore, it is possible to further suppress the variation in the valve opening pressure. Further, since the recesses 116 are formed in the valve body 94 at intervals of 120 ° in the circumferential direction, the number of recesses 116 can be reduced, and thus the man-hours for processing the valve body 94 can be reduced.

第1弁機構83は、以下の構造を有する。すなわち、弁体94が、鍔部112よりもシート部104とは反対側に突出する軸部111を有する。この軸部111が付勢部材95の一端側に挿入される。これにより、鍔部112に付勢部材95の一端部を当接させる。また、蓋部材92が、付勢部材95側に突出軸部134を有する。この突出軸部134が付勢部材95の他端側に挿入される。これにより、ネジ軸部133に付勢部材95の他端部を当接させる。これにより、付勢部材95を、姿勢を安定させた上で、長さを短くすることができる。したがって、付勢部材95に座屈を生じる可能性を低減することができるとともに、付勢部材95の伸縮を安定させることができる。加えて、付勢部材95を短くすることで弁体94に生じる倒れも抑制することができる。 The first valve mechanism 83 has the following structure. That is, the valve body 94 has a shaft portion 111 that protrudes from the flange portion 112 on the side opposite to the seat portion 104. The shaft portion 111 is inserted into one end side of the urging member 95. As a result, one end of the urging member 95 is brought into contact with the flange 112. Further, the lid member 92 has a protruding shaft portion 134 on the urging member 95 side. The protruding shaft portion 134 is inserted into the other end side of the urging member 95. As a result, the other end of the urging member 95 is brought into contact with the screw shaft portion 133. As a result, the length of the urging member 95 can be shortened while stabilizing the posture. Therefore, the possibility of buckling of the urging member 95 can be reduced, and the expansion and contraction of the urging member 95 can be stabilized. In addition, by shortening the urging member 95, it is possible to suppress the tilting of the valve body 94.

また、第1弁機構83は、弁体94が、鍔部112を一つのみ有する形状であるため、空気が通り易くなり、空気の影響を受けにくく姿勢が安定する。したがって、開弁圧のばらつきを一層抑制することが可能となる。 Further, since the valve body 94 has a shape having only one flange portion 112, the first valve mechanism 83 is easy for air to pass through, is not easily affected by air, and has a stable posture. Therefore, it is possible to further suppress the variation in the valve opening pressure.

第2弁機構84も同様である。 The same applies to the second valve mechanism 84.

[第2実施形態]
次に、第2実施形態を主に図5〜図7に基づいて第1実施形態との相違部分を中心に説明する。なお、第1実施形態と共通する部位については、同一称呼、同一の符号で表す。
[Second Embodiment]
Next, the second embodiment will be described mainly based on FIGS. 5 to 7, focusing on the differences from the first embodiment. The parts common to the first embodiment are represented by the same name and the same reference numerals.

図5に示すように、第2実施形態の差圧弁11Aには、第1実施形態の第1弁機構83にかえて、第1弁機構83Aが設けられている。差圧弁11Aには、第1実施形態の第2弁機構84にかえて、第2弁機構84Aが設けられている。第1弁機構83Aは、第1弁構成部81Aが第1実施形態の第1弁構成部81とは一部異なっている。第2弁機構84Aは、第2弁構成部82Aが第1実施形態の第2弁構成部82とは一部異なっている。第1弁構成部81Aおよび第2弁構成部82Aは同様の構成である。このため、以下、第1弁構成部81Aを例にとり説明する。 As shown in FIG. 5, the differential pressure valve 11A of the second embodiment is provided with the first valve mechanism 83A instead of the first valve mechanism 83 of the first embodiment. The differential pressure valve 11A is provided with a second valve mechanism 84A instead of the second valve mechanism 84 of the first embodiment. In the first valve mechanism 83A, the first valve component 81A is partially different from the first valve component 81 of the first embodiment. In the second valve mechanism 84A, the second valve component 82A is partially different from the second valve component 82 of the first embodiment. The first valve component 81A and the second valve component 82A have the same configuration. Therefore, the first valve component 81A will be described below as an example.

第1弁構成部81Aは、シート部材91と、蓋部材92Aと、ワッシャ93と、弁体94Aと、付勢部材95Aと、複数枚のディスク200とを有している。シート部材91は、第1実施形態と同様である。蓋部材92Aは、第1弁穴21の第1ネジ穴部34に螺合される。ワッシャ93は、第1実施形態と同様であり、蓋部材92Aと第1座部15との間に介装される。弁体94Aは、第1主穴部33内に移動可能に設けられる。付勢部材95Aは、弁体94Aをシート部材91の方向に付勢する The first valve component 81A includes a seat member 91, a lid member 92A, a washer 93, a valve body 94A, an urging member 95A, and a plurality of discs 200. The seat member 91 is the same as that of the first embodiment. The lid member 92A is screwed into the first screw hole portion 34 of the first valve hole 21. The washer 93 is the same as that of the first embodiment, and is interposed between the lid member 92A and the first seat portion 15. The valve body 94A is movably provided in the first main hole portion 33. The urging member 95A urges the valve body 94A in the direction of the seat member 91.

図6,図7に示すように、弁体94Aは、円形状である。具体的には、弁体94Aは、段付きの有底円筒状である。弁体94Aは、軸部111Aと、鍔部112A(第1鍔部)と、鍔部212(第2鍔部)と、を有している。鍔部112A(第1鍔部)は、軸部111Aの軸方向一端側から径方向外側に広がる。鍔部212(第2鍔部)は、軸部111Aの軸方向他端側から径方向外側に広がる。軸部111Aと鍔部112A,212とは中心軸線を一致させた同軸状に配置されている。 As shown in FIGS. 6 and 7, the valve body 94A has a circular shape. Specifically, the valve body 94A has a stepped bottomed cylinder. The valve body 94A has a shaft portion 111A, a flange portion 112A (first flange portion), and a flange portion 212 (second flange portion). The flange portion 112A (first flange portion) extends radially outward from one end side in the axial direction of the shaft portion 111A. The flange portion 212 (second flange portion) extends radially outward from the other end side in the axial direction of the shaft portion 111A. The shaft portion 111A and the flange portions 112A and 212 are arranged coaxially with their central axes aligned.

図5に示すように、軸部111Aは、有底円筒状である。軸部111Aは、円筒状の胴部201と、胴部201の一端を閉塞する底部202とを有している。鍔部112Aは、軸部111Aの底部202側の端部に設けられている。鍔部212は、軸部111Aの底部202とは反対側の開口端部に設けられている。胴部201には、鍔部112Aと鍔部212との間の位置に、貫通穴204が形成されている。貫通穴204は、胴部201を胴部201の径方向に貫通する貫通穴204は、胴部201の周方向に等間隔で複数、具体的には4箇所形成されている。 As shown in FIG. 5, the shaft portion 111A has a bottomed cylindrical shape. The shaft portion 111A has a cylindrical body portion 201 and a bottom portion 202 that closes one end of the body portion 201. The flange portion 112A is provided at the end portion of the shaft portion 111A on the bottom portion 202 side. The flange portion 212 is provided at an open end portion on the side opposite to the bottom portion 202 of the shaft portion 111A. A through hole 204 is formed in the body portion 201 at a position between the flange portion 112A and the flange portion 212. The through holes 204 are formed in a plurality of through holes 204 that penetrate the body portion 201 in the radial direction of the body portion 201 at equal intervals in the circumferential direction of the body portion 201, specifically, four locations.

鍔部112Aには、第1実施形態の鍔部112と同様に、複数の同形状の凹部116(第1凹部)が形成されている。凹部116(第1凹部)は、円筒面状の最外周面114よりも径方向内方に凹む。よって、鍔部112Aには、軸部111Aから径方向外方に突出する複数の同形状の突出部118(第1突出部)が形成されている。 Similar to the collar portion 112 of the first embodiment, the flange portion 112A is formed with a plurality of recesses 116 (first recesses) having the same shape. The concave portion 116 (first concave portion) is concave inward in the radial direction with respect to the outermost peripheral surface 114 having a cylindrical surface shape. Therefore, the flange portion 112A is formed with a plurality of protrusions 118 (first protrusions) having the same shape that protrude outward in the radial direction from the shaft portion 111A.

図6,図7に示すように、鍔部212には、鍔部112Aと同様、複数の同形状の凹部216(第2凹部)が形成されている。凹部216(第2凹部)は、円筒面状の最外周面214よりも径方向内方に凹む。最外周面214の外径は、最外周面114の外径と同径である。凹部216は凹部116と同形状である。凹部216は、鍔部212の周方向に等間隔で奇数箇所形成されている。具体的には、凹部216は、鍔部212の周方向に120°間隔で3箇所形成されている。鍔部212は、その周方向における凹部216の位置を鍔部112Aの凹部116と合わせている。 As shown in FIGS. 6 and 7, the flange portion 212 is formed with a plurality of recesses 216 (second recesses) having the same shape as the collar portion 112A. The concave portion 216 (second concave portion) is recessed inward in the radial direction from the outermost peripheral surface 214 having a cylindrical surface shape. The outer diameter of the outermost outer peripheral surface 214 is the same as the outer diameter of the outermost outer peripheral surface 114. The recess 216 has the same shape as the recess 116. The recesses 216 are formed at odd-numbered locations at equal intervals in the circumferential direction of the flange portion 212. Specifically, the recesses 216 are formed at three positions at intervals of 120 ° in the circumferential direction of the flange portion 212. The flange portion 212 aligns the position of the recess 216 in the circumferential direction with the recess 116 of the collar portion 112A.

鍔部212の外周部には、周方向に隣り合う凹部216と凹部216との間に、突出部218(第2突出部)が形成されている。突出部218(第2突出部)は、凹部216の最も凹んだ位置よりも鍔部212の径方向外方に突出する。鍔部212の突出部218は全て同形状である。突出部218は突出部118と同形状である。鍔部212は、その周方向における突出部218の位置を突出部118と合わせている。言い換えれば、突出部118と突出部218とが弁体94Aの周方向に一致して配置されている。鍔部212の周方向における突出部218の長さは、凹部216の同方向の長さよりも長くなっている。突出部218は、鍔部212の周方向に等間隔で奇数箇所形成されている。具体的には、突出部218は、鍔部212の周方向に120°間隔で3箇所形成されている。 On the outer peripheral portion of the flange portion 212, a protruding portion 218 (second protruding portion) is formed between the recesses 216 and the recesses 216 that are adjacent to each other in the circumferential direction. The protruding portion 218 (second protruding portion) protrudes outward in the radial direction of the flange portion 212 from the most recessed position of the recess 216. The protruding portions 218 of the flange portion 212 all have the same shape. The protrusion 218 has the same shape as the protrusion 118. The flange portion 212 aligns the position of the protrusion 218 with the protrusion 118 in the circumferential direction thereof. In other words, the protruding portion 118 and the protruding portion 218 are arranged so as to coincide with the circumferential direction of the valve body 94A. The length of the protrusion 218 in the circumferential direction of the flange portion 212 is longer than the length of the recess 216 in the same direction. The protruding portions 218 are formed at odd-numbered locations at equal intervals in the circumferential direction of the flange portion 212. Specifically, the protruding portions 218 are formed at three positions at intervals of 120 ° in the circumferential direction of the flange portion 212.

よって、鍔部112Aと鍔部212とは、同形状であって、弁体94Aの周方向における位置(位相)を合わせている。軸部111Aの貫通穴204は、鍔部212よりも鍔部112A側に形成されている。 Therefore, the flange portion 112A and the flange portion 212 have the same shape, and the positions (phases) of the valve body 94A in the circumferential direction are matched. The through hole 204 of the shaft portion 111A is formed on the flange portion 112A side with respect to the flange portion 212.

図5に示すように、有底円筒状の軸部111Aの外径は、シート部材91のシート部104の外径よりも大径である。言い換えれば、鍔部112Aの最小外径が、シート部104の外径よりも大径となっている。よって、鍔部112A,212の最大外径、すなわち弁体94Aの最大外径も、シート部104の外径よりも大径である。
鍔部112A,212の最大外径は、第1主穴部33の内径よりも若干小径となっている。
As shown in FIG. 5, the outer diameter of the bottomed cylindrical shaft portion 111A is larger than the outer diameter of the seat portion 104 of the seat member 91. In other words, the minimum outer diameter of the flange portion 112A is larger than the outer diameter of the seat portion 104. Therefore, the maximum outer diameter of the flange portions 112A and 212, that is, the maximum outer diameter of the valve body 94A is also larger than the outer diameter of the seat portion 104.
The maximum outer diameter of the flange portions 112A and 212 is slightly smaller than the inner diameter of the first main hole portion 33.

弁体94Aは、鍔部112Aがシート部104側となり、鍔部212がシート部104とは反対側となる向きで、第1主穴部33内に挿入される。この状態で、弁体94Aは、軸部111Aの底部202においてシート部104に着座可能となる。弁体94Aは、底部202の胴部201とは反対側に第1実施形態と同様の着座体123を有している。弁体94Aも、シート部104に着座する部分がこの着座体123で構成されている。弁体94Aは、着座体123以外の部分が、着座体123とは材質が異なる、例えば金属製の弁本体124Aとなっている。弁本体124Aは、軸部111Aの着座体123を除く全部と、鍔部112Aと、鍔部212とを構成しており、一体成形されている。 The valve body 94A is inserted into the first main hole portion 33 with the flange portion 112A on the seat portion 104 side and the flange portion 212 on the side opposite to the seat portion 104. In this state, the valve body 94A can be seated on the seat portion 104 at the bottom portion 202 of the shaft portion 111A. The valve body 94A has a seating body 123 similar to that of the first embodiment on the side of the bottom portion 202 opposite to the body portion 201. The portion of the valve body 94A that is seated on the seat portion 104 is also composed of the seated body 123. The portion of the valve body 94A other than the seated body 123 is, for example, a metal valve body 124A whose material is different from that of the seated body 123. The valve body 124A comprises the entire shaft portion 111A except the seating body 123, the flange portion 112A, and the flange portion 212, and is integrally molded.

図6に示すように、鍔部212に凹部216および突出部218がそれぞれ奇数箇所形成されている。このため、全ての突出部218に対して、それぞれの鍔部212の周方向における180度反対側の位置に凹部216が設けられている。言い換えれば、鍔部212も、軸部111Aから径方向外方に突出する複数の突出部218と、これら複数の突出部218のそれぞれの、鍔部212の周方向における反対側の位置で径方向内方に凹む凹部216とを備えている。 As shown in FIG. 6, the flange portion 212 is formed with a recess 216 and a protrusion 218 at odd-numbered locations. For this reason, the recesses 216 are provided at positions 180 degrees opposite to each of the protruding portions 218 in the circumferential direction of the respective flange portions 212. In other words, the flange portion 212 also has a plurality of projecting portions 218 that project radially outward from the shaft portion 111A, and the positions of each of the plurality of projecting portions 218 on opposite sides in the circumferential direction of the flange portion 212 in the radial direction. It is provided with a recess 216 that is recessed inward.

図5に示すように、蓋部材92Aは、第1実施形態と同様の頭部131および円板部132を有しており、円板部132の頭部131とは反対側にネジ軸部133Aを有している。ネジ軸部133Aは、最大外径が円板部132の外径よりも小径である。頭部131と円板部132とネジ軸部133Aとは中心軸線を一致させた同軸状に配置されている。 As shown in FIG. 5, the lid member 92A has a head 131 and a disk portion 132 similar to those in the first embodiment, and the screw shaft portion 133A is on the opposite side of the disk portion 132 from the head 131. have. The maximum outer diameter of the screw shaft portion 133A is smaller than the outer diameter of the disk portion 132. The head 131, the disk portion 132, and the screw shaft portion 133A are arranged coaxially with their central axes aligned.

ネジ軸部133Aには、径方向の中央に収容穴206が形成されている。収容穴206は、ネジ軸部133Aに、軸方向の頭部131とは反対側から穿設されている。蓋部材92Aは、ネジ軸部133Aを先頭にして、第1弁穴21に挿入される。その際に、ネジ軸部133Aが第1ネジ穴部34に螺合される。このとき、ワッシャ93が円板部132と第1座部15との間に介装される。第1弁機構83Aにおいて、蓋部材92Aは、第1弁穴21に螺合された状態で、収容穴206が弁体94Aと中心軸線をほぼ一致させた状態で鍔部212と軸方向に対向する。弁体94Aは、シート部104に当接した状態で、蓋部材92Aとの間に、軸方向に所定の隙間が設けられる。弁体94Aは、この隙間の範囲で軸方向に移動する。その際に、弁体94Aは、鍔部112A,212の最外周面114,214が、第1主穴部33の内周面138に案内される。弁体94Aは、上記範囲で移動しても、鍔部112Aが常に流入口106と第1流出口61との間にある。 A housing hole 206 is formed in the center of the screw shaft portion 133A in the radial direction. The accommodating hole 206 is formed in the screw shaft portion 133A from the side opposite to the head 131 in the axial direction. The lid member 92A is inserted into the first valve hole 21 with the screw shaft portion 133A at the head. At that time, the screw shaft portion 133A is screwed into the first screw hole portion 34. At this time, the washer 93 is interposed between the disk portion 132 and the first seat portion 15. In the first valve mechanism 83A, the lid member 92A faces the flange portion 212 in the axial direction with the accommodating hole 206 substantially aligned with the valve body 94A and the central axis in the state of being screwed into the first valve hole 21. do. The valve body 94A is provided with a predetermined gap in the axial direction between the valve body 94A and the lid member 92A in a state of being in contact with the seat portion 104. The valve body 94A moves in the axial direction within this gap. At that time, in the valve body 94A, the outermost outer peripheral surfaces 114 and 214 of the flange portions 112A and 212 are guided to the inner peripheral surface 138 of the first main hole portion 33. Even if the valve body 94A moves within the above range, the flange portion 112A is always between the inlet 106 and the first outlet 61.

付勢部材95Aは、コイルばねである。付勢部材95Aは、軸方向一端部が蓋部材92Aの収容穴206内に挿入され、軸方向他端部が弁体94Aの胴部201内に挿入される。そして、付勢部材95Aは、軸方向一端部が複数枚のディスク200を介して蓋部材92Aの収容穴206の底部に突き当たり、軸方向他端部が弁体94Aの底部202に当接する。よって、付勢部材95Aは、第1実施形態の付勢部材95よりも軸方向に長い。付勢部材95Aは、弁体94Aをシート部104に向けた閉弁方向に付勢する。 The urging member 95A is a coil spring. One end of the urging member 95A in the axial direction is inserted into the accommodating hole 206 of the lid member 92A, and the other end in the axial direction is inserted into the body portion 201 of the valve body 94A. Then, one end of the urging member 95A abuts against the bottom of the accommodating hole 206 of the lid member 92A via a plurality of discs 200, and the other end of the axial direction abuts on the bottom 202 of the valve body 94A. Therefore, the urging member 95A is longer in the axial direction than the urging member 95 of the first embodiment. The urging member 95A urges the valve body 94A toward the seat portion 104 in the valve closing direction.

よって、弁体94Aが受ける開弁方向の差圧が所定値より小さい状態では、付勢部材95Aの付勢力で弁体94Aがシート部104に当接して流入口106を閉じる。また、弁体94Aが受ける開弁方向の差圧が所定値より大きくなると、弁体94Aは付勢部材95Aの付勢力に抗してシート部104から離座して流入口106を開く。その際に、弁体94Aは、鍔部112A,212の最外周面114,214が、第1主穴部33の内周面138に案内されて、軸方向に移動する。 Therefore, when the differential pressure in the valve opening direction received by the valve body 94A is smaller than the predetermined value, the valve body 94A abuts on the seat portion 104 by the urging force of the urging member 95A and closes the inflow port 106. Further, when the differential pressure in the valve opening direction received by the valve body 94A becomes larger than a predetermined value, the valve body 94A separates from the seat portion 104 against the urging force of the urging member 95A and opens the inflow port 106. At that time, in the valve body 94A, the outermost outer peripheral surfaces 114 and 214 of the flange portions 112A and 212 are guided by the inner peripheral surface 138 of the first main hole portion 33 and move in the axial direction.

ハウジング12の第1主穴部33と、蓋部材92Aと、シート部材91とで囲まれて、弁室141Aが形成されている。弁体94Aは、この弁室141A内に軸方向移動可能に設けられている。シート部材91は、弁室141Aの底部142を構成している。第1弁室141Aの底部142に、弁体94Aが着座するシート部104が設けられている。シート部材91の通路穴101を含む流入口106は、弁室141Aの底部142に形成されている。第1主穴部33の内周面138は、弁室141Aの内周面138でもある。 The valve chamber 141A is formed by being surrounded by the first main hole 33 of the housing 12, the lid member 92A, and the seat member 91. The valve body 94A is provided in the valve chamber 141A so as to be movable in the axial direction. The seat member 91 constitutes the bottom portion 142 of the valve chamber 141A. A seat portion 104 on which the valve body 94A is seated is provided on the bottom portion 142 of the first valve chamber 141A. The inflow port 106 including the passage hole 101 of the seat member 91 is formed in the bottom portion 142 of the valve chamber 141A. The inner peripheral surface 138 of the first main hole portion 33 is also the inner peripheral surface 138 of the valve chamber 141A.

この第1主穴部33に開口する第1流出口61は、第1弁機構83Aの弁室141Aの内周面138に形成されている。同様に、第2主穴部43に開口する第2流出口71は、第2弁機構84Aの弁室141Aの内周面138に形成されている。 The first outlet 61 that opens into the first main hole 33 is formed on the inner peripheral surface 138 of the valve chamber 141A of the first valve mechanism 83A. Similarly, the second outlet 71 that opens into the second main hole 43 is formed on the inner peripheral surface 138 of the valve chamber 141A of the second valve mechanism 84A.

弁体94Aは、弁室141Aの底部142側に、鍔部112Aを備えている。鍔部112Aは、シート部104よりも径方向外方に延出する。鍔部112Aの複数の突出部118は、軸部111Aから弁室141Aの内周面138に向かって径方向外方に突出している。鍔部112Aの複数の凹部116は、突出部118の周方向反対側の位置で鍔部112Aの径方向における内方に凹んでいる。 The valve body 94A is provided with a flange portion 112A on the bottom portion 142 side of the valve chamber 141A. The flange portion 112A extends radially outward from the seat portion 104. The plurality of projecting portions 118 of the flange portion 112A project radially outward from the shaft portion 111A toward the inner peripheral surface 138 of the valve chamber 141A. The plurality of recesses 116 of the flange portion 112A are recessed inward in the radial direction of the flange portion 112A at positions opposite to the circumferential direction of the protrusion 118.

弁体94Aは、底部142とは反対側に、鍔部212を備えている。鍔部212は、軸部111Aから弁室141Aの内周面138に向かって径方向外方に延出する。鍔部212の複数の突出部218は、軸部111Aから弁室141Aの内周面138に向かって径方向外方に突出している。鍔部212の複数の凹部216は、突出部218の周方向反対側の位置で鍔部212の径方向における内方に凹んでいる。 The valve body 94A is provided with a flange portion 212 on the side opposite to the bottom portion 142. The flange portion 212 extends radially outward from the shaft portion 111A toward the inner peripheral surface 138 of the valve chamber 141A. The plurality of projecting portions 218 of the flange portion 212 project radially outward from the shaft portion 111A toward the inner peripheral surface 138 of the valve chamber 141A. The plurality of recesses 216 of the flange portion 212 are recessed inward in the radial direction of the flange portion 212 at positions opposite to the circumferential direction of the protrusion 218.

第1弁機構83Aにおいて、流入口106および弁室141Aを結ぶ方向に対して、第1流出口61が交差、具体的には直交している。このため、流入口106から弁室141Aを介して第1流出口61に空気が流れる際に、流入口106から弁室141Aに流入した空気は、主に弁体94Aの鍔部112Aの凹部116と弁室141Aの内周面138との間を弁体94Aの軸方向に通過した後、弁体94Aの径方向に向きをかえて第1流出口61から流出する。 In the first valve mechanism 83A, the first outlet 61 intersects, specifically, is orthogonal to the direction connecting the inflow port 106 and the valve chamber 141A. Therefore, when air flows from the inflow port 106 to the first outlet 61 through the valve chamber 141A, the air flowing into the valve chamber 141A from the inflow port 106 is mainly the recess 116 of the flange portion 112A of the valve body 94A. After passing between the valve chamber 141A and the inner peripheral surface 138 of the valve chamber 141A in the axial direction of the valve body 94A, the air flows out from the first outlet 61 by turning in the radial direction of the valve body 94A.

第2弁機構84Aにおいて、流入口106および弁室141Aを結ぶ方向に対して、第2流出口71が交差、具体的には直交している。このため、流入口106から弁室141Aを介して第2流出口71に空気が流れる際に、流入口106から弁室141Aに流入した空気は、主に弁体94Aの鍔部112Aの凹部116と弁室141Aの内周面138との間を弁体94Aの軸方向に通過した後、弁体94Aの径方向に向きをかえて第2流出口71から流出する。 In the second valve mechanism 84A, the second outlet 71 intersects, specifically, is orthogonal to the direction connecting the inflow port 106 and the valve chamber 141A. Therefore, when air flows from the inflow port 106 to the second outlet 71 through the valve chamber 141A, the air flowing into the valve chamber 141A from the inflow port 106 is mainly the recess 116 of the flange portion 112A of the valve body 94A. After passing between the valve chamber 141A and the inner peripheral surface 138 of the valve chamber 141A in the axial direction of the valve body 94A, the air flows out from the second outlet 71 by turning in the radial direction of the valve body 94A.

差圧弁11Aにおいても、第1実施形態の弁室141と同様に、第1弁機構83Aの弁室141Aが、空気ばね155,156を連通する連通路158を構成している。第2弁機構84Aの弁室141Aが、空気ばね155,156を連通する連通路159を構成している。 In the differential pressure valve 11A as well, the valve chamber 141A of the first valve mechanism 83A constitutes a communication passage 158 through which the air springs 155 and 156 are communicated, as in the valve chamber 141 of the first embodiment. The valve chamber 141A of the second valve mechanism 84A constitutes a communication passage 159 that communicates the air springs 155 and 156.

第2実施形態の差圧弁11Aは、第1弁機構83Aにおいて、一方の空気ばね155の空気が流入する流入口106が弁室141Aの底部142に形成され、他方の空気ばね156へ空気を流出する第1流出口61が弁室141Aの内周面138に形成されている。
このような構造であると、流入口106および弁室141Aを結ぶ方向に対して、第1流出口61が交差する。このため、第1弁機構83Aにおいて、流入口106から弁室141Aを介して第1流出口61に空気が流れる際に、流入口106から弁室141Aに流入した空気は、主に弁体94Aの鍔部112Aの凹部116と弁室141Aの内周面138との間を弁体94Aの軸方向に通過した後、弁体94Aの径方向に向きをかえて第1流出口61から流出する。このとき、弁体94Aの周方向において第1流出口61とは反対側に凹部116が位置すると、この凹部116を通過して第1流出口61に向く空気の流れで、弁体94Aに第1流出口61に向けて大きな径方向の力が作用する。これにより、弁体94Aが、弁室141A内において、シート部104とは反対側の鍔部212をシート部104側の鍔部112Bよりも第1流出口61に近づけるように傾いてしまう可能性がある。
In the differential pressure valve 11A of the second embodiment, in the first valve mechanism 83A, the inflow port 106 into which the air of one air spring 155 flows in is formed at the bottom 142 of the valve chamber 141A, and the air flows out to the other air spring 156. The first outlet 61 is formed on the inner peripheral surface 138 of the valve chamber 141A.
With such a structure, the first outlet 61 intersects with respect to the direction connecting the inlet 106 and the valve chamber 141A. Therefore, in the first valve mechanism 83A, when air flows from the inflow port 106 to the first outlet 61 through the valve chamber 141A, the air flowing into the valve chamber 141A from the inflow port 106 is mainly the valve body 94A. After passing between the recess 116 of the flange portion 112A and the inner peripheral surface 138 of the valve chamber 141A in the axial direction of the valve body 94A, it turns in the radial direction of the valve body 94A and flows out from the first outlet 61. .. At this time, when the recess 116 is located on the side opposite to the first outlet 61 in the circumferential direction of the valve body 94A, the air flow passing through the recess 116 and toward the first outlet 61 causes the valve body 94A to be the first. A large radial force acts toward the 1 outlet 61. As a result, the valve body 94A may be tilted in the valve chamber 141A so that the flange portion 212 on the side opposite to the seat portion 104 is closer to the first outlet 61 than the collar portion 112B on the seat portion 104 side. There is.

これに対し、第1弁機構83Aは、弁体94Aの鍔部112Aの凹部116,216の周方向反対側の位置に円弧状の突出部118,218が設けられている。このため、弁体94Aが上記のように傾いても、突出部218が弁室141Aの内周面138に線接触し、接触面圧が下がる。よって、弁体94Aの軸方向移動が円滑となる。したがって、開弁圧のばらつきを抑制することが可能となる。 On the other hand, the first valve mechanism 83A is provided with arc-shaped protrusions 118 and 218 at positions opposite to the circumferential direction of the recesses 116 and 216 of the flange 112A of the valve body 94A. Therefore, even if the valve body 94A is tilted as described above, the protruding portion 218 is in line contact with the inner peripheral surface 138 of the valve chamber 141A, and the contact surface pressure is lowered. Therefore, the axial movement of the valve body 94A becomes smooth. Therefore, it is possible to suppress variations in valve opening pressure.

また、第1弁機構83Aは、突出部118に加えて、突出部218も、周方向に120°間隔で弁体94Aに形成されている。このため、弁体94Aの最外周面214の面積を広くすることができる。よって、弁室141Aの内周面138と弁体94Aとの接触面積を大きくできるため、弁体94Aの軸方向移動が一層円滑となる。したがって、開弁圧のばらつきを一層抑制することが可能となる。また、弁体94Aに、凹部216が周方向に120°間隔で形成されているため、凹部216の数を減らすことができる。よって、弁体94Aの加工工数を低減することができる。 Further, in the first valve mechanism 83A, in addition to the protruding portion 118, the protruding portions 218 are also formed on the valve body 94A at intervals of 120 ° in the circumferential direction. Therefore, the area of the outermost peripheral surface 214 of the valve body 94A can be increased. Therefore, since the contact area between the inner peripheral surface 138 of the valve chamber 141A and the valve body 94A can be increased, the axial movement of the valve body 94A becomes smoother. Therefore, it is possible to further suppress the variation in the valve opening pressure. Further, since the recesses 216 are formed in the valve body 94A at intervals of 120 ° in the circumferential direction, the number of recesses 216 can be reduced. Therefore, the man-hours for processing the valve body 94A can be reduced.

また、突出部118と突出部218とが弁体94Aの周方向に一致して配置されているため、弁体94Aの加工工数を低減することができるとともに、弁体94Aの周囲での空気の流れを円滑にすることができる。 Further, since the protruding portion 118 and the protruding portion 218 are arranged so as to coincide with the circumferential direction of the valve body 94A, the man-hours for processing the valve body 94A can be reduced, and the air around the valve body 94A can be reduced. The flow can be smoothed.

第2弁機構84Aも同様である。 The same applies to the second valve mechanism 84A.

[第3実施形態]
次に、第3実施形態を主に図8〜図10に基づいて第2実施形態との相違部分を中心に説明する。なお、第2実施形態と共通する部位については、同一称呼、同一の符号で表す。
[Third Embodiment]
Next, the third embodiment will be described mainly based on FIGS. 8 to 10 with a focus on differences from the second embodiment. The parts common to the second embodiment are represented by the same name and the same reference numerals.

第3実施形態の差圧弁11Bには、図8に示すように、第2実施形態の第1弁機構83Aにかえて、第1弁機構83Bが設けられている。差圧弁11Bには、第2実施形態の第2弁機構84Aにかえて、第2弁機構84Bが設けられている。第1弁機構83Bは、第1弁構成部81Bが第2実施形態の第1弁構成部81Aとは一部異なっている。第2弁機構84Bは、第2弁構成部82Bが第2実施形態の第2弁構成部82Aとは一部異なっている。ここで、第1弁構成部81Bおよび第2弁構成部82Bは同様の構成である。このため、これらのうちの第1弁構成部81Bを例にとり説明する。 As shown in FIG. 8, the differential pressure valve 11B of the third embodiment is provided with the first valve mechanism 83B instead of the first valve mechanism 83A of the second embodiment. The differential pressure valve 11B is provided with a second valve mechanism 84B instead of the second valve mechanism 84A of the second embodiment. In the first valve mechanism 83B, the first valve component 81B is partially different from the first valve component 81A of the second embodiment. In the second valve mechanism 84B, the second valve component 82B is partially different from the second valve component 82A of the second embodiment. Here, the first valve component 81B and the second valve component 82B have the same configuration. Therefore, the first valve component 81B among these will be described as an example.

第1弁構成部81Bは、弁体94Bを有している。弁体94Bは、第2実施形態の弁体94Aとは一部異なる。図9,図10に示すように、弁体94Bは、軸部111Aと、鍔部112B(第1鍔部)と、鍔部212B(第2鍔部)と、を有している。軸部111Aは、第2実施形態と同様である。鍔部112B(第1鍔部)は、軸部111Aの軸方向一端側から径方向外側に広がる。鍔部212B(第2鍔部)は、軸部111Aの軸方向他端側から径方向外側に広がる。軸部111Aと鍔部112B,212Bとは中心軸線を一致させた同軸状に配置されている。図8に示すように、鍔部112Bは、軸部111Aの底部202側に設けられている。鍔部212Bは、軸部111Aの底部202とは反対側に設けられている。 The first valve component 81B has a valve body 94B. The valve body 94B is partially different from the valve body 94A of the second embodiment. As shown in FIGS. 9 and 10, the valve body 94B has a shaft portion 111A, a flange portion 112B (first flange portion), and a flange portion 212B (second flange portion). The shaft portion 111A is the same as that of the second embodiment. The flange portion 112B (first flange portion) extends radially outward from one end side in the axial direction of the shaft portion 111A. The flange portion 212B (second flange portion) extends radially outward from the other end side in the axial direction of the shaft portion 111A. The shaft portion 111A and the flange portions 112B and 212B are arranged coaxially with their central axes aligned. As shown in FIG. 8, the flange portion 112B is provided on the bottom portion 202 side of the shaft portion 111A. The flange portion 212B is provided on the side opposite to the bottom portion 202 of the shaft portion 111A.

鍔部112Bには、複数の同形状の凹部116B(第1凹部)が形成されている。凹部116B(第1凹部)は、円筒面状の最外周面114Bよりも径方向内方に凹む。凹部116Bは、鍔部112Bの周方向に等間隔で偶数箇所形成されている。具体的には、凹部116Bは、鍔部112Bの周方向に60°間隔で6箇所形成されている。 A plurality of recesses 116B (first recesses) having the same shape are formed in the flange portion 112B. The concave portion 116B (first concave portion) is concave inward in the radial direction with respect to the outermost peripheral surface 114B having a cylindrical surface shape. The recesses 116B are formed at even-numbered positions at equal intervals in the circumferential direction of the flange portion 112B. Specifically, the recesses 116B are formed at six positions at intervals of 60 ° in the circumferential direction of the flange portion 112B.

これにより、鍔部112Bの外周部には、周方向に隣り合う凹部116Bと凹部116Bとの間に、突出部118B(第1突出部)が形成されている。突出部118Bは、凹部116Bの最も凹んだ位置よりも鍔部112Bの径方向外方に突出する。鍔部112Bの突出部118Bは全て同形状である。鍔部112Bの周方向における突出部118Bの長さは、凹部116Bの同方向の長さよりも短くなっている。突出部118Bは、鍔部112Bの周方向に等間隔で偶数箇所形成されている。具体的には、突出部118Bは、鍔部112Bの周方向に60°間隔で6箇所形成されている。 As a result, a protruding portion 118B (first protruding portion) is formed on the outer peripheral portion of the flange portion 112B between the recesses 116B and the recesses 116B adjacent to each other in the circumferential direction. The protruding portion 118B protrudes outward in the radial direction of the flange portion 112B from the most recessed position of the recess 116B. The protruding portions 118B of the flange portion 112B all have the same shape. The length of the protruding portion 118B in the circumferential direction of the flange portion 112B is shorter than the length of the concave portion 116B in the same direction. The protruding portions 118B are formed at even-numbered locations at equal intervals in the circumferential direction of the flange portion 112B. Specifically, the protruding portions 118B are formed at six locations at intervals of 60 ° in the circumferential direction of the flange portion 112B.

鍔部212Bには、複数の同形状の凹部216B(第2凹部)が形成されている。凹部216B(第2凹部)は、円筒面状の最外周面214Bよりも径方向内方に凹む。最外周面214Bの外径は、最外周面114Bの外径と同径となっている。凹部216Bは、凹部116Bと同形状である。凹部216Bは、鍔部212Bの周方向に等間隔で偶数箇所形成されている。具体的には、凹部216Bは、鍔部212Bの周方向に60°間隔で6箇所形成されている。鍔部212Bは、その周方向における凹部216Bの位置を、鍔部112Bの突出部118Bと合わせている。 A plurality of recesses 216B (second recesses) having the same shape are formed in the flange portion 212B. The concave portion 216B (second concave portion) is concave inward in the radial direction with respect to the outermost peripheral surface 214B having a cylindrical surface shape. The outer diameter of the outermost outer peripheral surface 214B is the same as the outer diameter of the outermost outer peripheral surface 114B. The recess 216B has the same shape as the recess 116B. The recesses 216B are formed at even-numbered positions at equal intervals in the circumferential direction of the flange portion 212B. Specifically, the recesses 216B are formed at six positions at intervals of 60 ° in the circumferential direction of the flange portion 212B. The flange portion 212B aligns the position of the recess 216B in the circumferential direction with the protrusion 118B of the flange portion 112B.

鍔部212Bの外周部には、周方向に隣り合う凹部216Bと凹部216Bとの間に、突出部218B(第2突出部)が形成されている。突出部218B(第2突出部)は、凹部216Bの最も凹んだ位置よりも鍔部212Bの径方向における外方に突出する。鍔部212Bの突出部218Bは全て同形状である。突出部218Bは、突出部118Bと同形状である。鍔部212Bは、その周方向における突出部218Bの位置を、鍔部112Bの凹部116Bと合わせている。鍔部212Bの周方向における突出部218Bの長さは、凹部216Bの同方向の長さよりも短くなっている。突出部218Bは、鍔部212Bの周方向に等間隔で偶数箇所形成されている。具体的には、突出部218Bは、鍔部212Bの周方向に60°間隔で6箇所形成されている。 On the outer peripheral portion of the flange portion 212B, a protruding portion 218B (second protruding portion) is formed between the recesses 216B and the recesses 216B that are adjacent to each other in the circumferential direction. The protruding portion 218B (second protruding portion) protrudes outward in the radial direction of the flange portion 212B from the most recessed position of the recess 216B. The protruding portions 218B of the flange portion 212B all have the same shape. The protrusion 218B has the same shape as the protrusion 118B. The flange portion 212B aligns the position of the protrusion 218B in the circumferential direction with the recess 116B of the flange portion 112B. The length of the protruding portion 218B in the circumferential direction of the flange portion 212B is shorter than the length of the concave portion 216B in the same direction. The protruding portions 218B are formed at even-numbered locations at equal intervals in the circumferential direction of the flange portion 212B. Specifically, the protruding portions 218B are formed at six positions at intervals of 60 ° in the circumferential direction of the flange portion 212B.

よって、鍔部112Bと鍔部212Bとは、同様の形状であり、弁体94Bの周方向において突出部118Bおよび突出部218Bの位置(位相)をずらしている。言い換えれば、突出部118Bと突出部218Bとが弁体94Bの周方向にずれて配置されている。
鍔部112B,212Bの最大外径は、第1主穴部33の内径よりも若干小径となっている。
Therefore, the flange portion 112B and the flange portion 212B have the same shape, and the positions (phases) of the protrusion 118B and the protrusion 218B are shifted in the circumferential direction of the valve body 94B. In other words, the protruding portion 118B and the protruding portion 218B are arranged so as to be offset in the circumferential direction of the valve body 94B.
The maximum outer diameter of the flange portions 112B and 212B is slightly smaller than the inner diameter of the first main hole portion 33.

図8に示すように、弁体94Bは、鍔部112Bがシート部104側となり、鍔部212Bがシート部104とは反対側となる向きで、第1主穴部33内に挿入される。この状態で、弁体94Bは、軸部111Aの底部202に設けられた着座体123においてシート部104に着座可能となる。弁体94Bは、着座体123以外の部分が、着座体123とは材質が異なる、例えば金属製の弁本体124Bとなっている。弁本体124Bは、軸部111Aの着座体123を除く全部と、鍔部112Bと、鍔部212Bとを構成しており、一体成形されている。 As shown in FIG. 8, the valve body 94B is inserted into the first main hole portion 33 with the flange portion 112B on the seat portion 104 side and the flange portion 212B on the side opposite to the seat portion 104. In this state, the valve body 94B can be seated on the seat portion 104 in the seating body 123 provided on the bottom portion 202 of the shaft portion 111A. The portion of the valve body 94B other than the seated body 123 is, for example, a metal valve body 124B whose material is different from that of the seated body 123. The valve main body 124B comprises the entire shaft portion 111A except the seating body 123, the flange portion 112B, and the flange portion 212B, and is integrally molded.

ここで、図9,図10に示すように、鍔部112Bに凹部116Bおよび突出部118Bがそれぞれ偶数形成されており、鍔部212Bに凹部216Bおよび突出部218Bがそれぞれ偶数形成されている。このことから、鍔部112Bの全ての突出部118Bに対して、それぞれの弁体94Bの周方向における180度反対側の位置に突出部118Bが設けられている。また、鍔部112Bの全ての凹部116Bに対して、それぞれの弁体94Bの周方向における180度反対側の位置に凹部116Bが設けられている。また、鍔部212Bの全ての突出部218Bに対して、それぞれの弁体94Bの周方向における180度反対側の位置に突出部218Bが設けられている。また、鍔部212Bの全ての凹部216Bに対して、それぞれの弁体94Bの周方向における180度反対側の位置に凹部216Bが設けられている。 Here, as shown in FIGS. 9 and 10, the flange portion 112B is formed with an even number of recesses 116B and the protrusions 118B, respectively, and the flange portion 212B is formed with an even number of recesses 216B and protrusions 218B, respectively. For this reason, the protrusions 118B are provided at positions 180 degrees opposite to all the protrusions 118B of the flange 112B in the circumferential direction of the respective valve bodies 94B. Further, the recesses 116B are provided at positions 180 degrees opposite to all the recesses 116B of the flange portion 112B in the circumferential direction of the respective valve bodies 94B. Further, the protrusion 218B is provided at a position 180 degrees opposite to all the protrusions 218B of the flange portion 212B in the circumferential direction of each valve body 94B. Further, the recesses 216B are provided at positions 180 degrees opposite to all the recesses 216B of the flange portion 212B in the circumferential direction of the respective valve bodies 94B.

そして、鍔部112Bの凹部116Bと鍔部212Bの突出部218Bとが位相を合わせ、鍔部112Bの突出部118Bと鍔部212Bの凹部216Bとが位相を合わせている。このことから、鍔部112Bの全ての突出部118Bに対して、それぞれの弁体94Bの周方向における180度反対側の位置に鍔部212Bの凹部216Bが設けられている。また、鍔部212Bの全ての突出部218Bに対して、それぞれの弁体94Bの周方向における180度反対側の位置に鍔部112Bの凹部116Bが設けられている。言い換えれば、鍔部112Bは、径方向外方に突出する複数の突出部118Bを有している。鍔部212Bは、これら複数の突出部118Bのそれぞれの、弁体94Bの周方向における反対側の位置で径方向内方に凹む凹部216Bを有している。また、鍔部212Bは、径方向外方に突出する複数の突出部218Bを有している。鍔部112Bは、これら複数の突出部218Bのそれぞれの、弁体94Bの周方向における反対側の位置で径方向内方に凹む凹部116Bを有している。 Then, the concave portion 116B of the flange portion 112B and the protruding portion 218B of the flange portion 212B are in phase with each other, and the protruding portion 118B of the flange portion 112B and the concave portion 216B of the flange portion 212B are in phase with each other. For this reason, the recess 216B of the flange portion 212B is provided at a position 180 degrees opposite to all the protrusions 118B of the flange portion 112B in the circumferential direction of each valve body 94B. Further, a recess 116B of the flange portion 112B is provided at a position 180 degrees opposite to all the protruding portions 218B of the flange portion 212B in the circumferential direction of each valve body 94B. In other words, the flange portion 112B has a plurality of protrusions 118B that project outward in the radial direction. The flange portion 212B has a recess 216B that is concave inward in the radial direction at a position on the opposite side of the valve body 94B in the circumferential direction of each of the plurality of protrusions 118B. Further, the flange portion 212B has a plurality of protruding portions 218B that project outward in the radial direction. The flange portion 112B has a concave portion 116B of each of the plurality of protruding portions 218B, which is recessed inward in the radial direction at a position opposite to the circumferential direction of the valve body 94B.

図8に示すように、弁体94Bは、弁室141Aの底部142側に、鍔部112Bを備えている。鍔部112Bは、シート部104よりも径方向外方に延出する。鍔部112Bの複数の突出部118Bは、軸部111Aから弁室141Aの内周面138に向かって径方向外方に突出している。弁体94Bは、弁室141Aの底部142とは反対側に、軸部111Aから弁室141Aの内周面138に向かって径方向外方に延出する鍔部212Bを備えている。鍔部212Bは、鍔部112Bの突出部118Bとは周方向にずれた位置に、複数の突出部218Bを備えている。突出部218Bは、軸部111Aから弁室141Aの内周面138に向かって径方向外方に突出する。 As shown in FIG. 8, the valve body 94B is provided with a flange portion 112B on the bottom portion 142 side of the valve chamber 141A. The flange portion 112B extends radially outward from the seat portion 104. The plurality of projecting portions 118B of the flange portion 112B project radially outward from the shaft portion 111A toward the inner peripheral surface 138 of the valve chamber 141A. The valve body 94B is provided with a flange portion 212B extending radially outward from the shaft portion 111A toward the inner peripheral surface 138 of the valve chamber 141A on the side opposite to the bottom portion 142 of the valve chamber 141A. The flange portion 212B is provided with a plurality of protrusions 218B at positions deviated from the protrusion 118B of the flange portion 112B in the circumferential direction. The protruding portion 218B protrudes radially outward from the shaft portion 111A toward the inner peripheral surface 138 of the valve chamber 141A.

第1弁機構83Bにおいて、流入口106および弁室141Aを結ぶ方向に対して、第1流出口61が交差、具体的には直交している。このため、流入口106から弁室141Aを介して第1流出口61に空気が流れる際に、流入口106から弁室141Aに流入した空気は、主に弁体94Bの鍔部112Bの凹部116Bと弁室141Aの内周面138との間を弁体94Bの軸方向に通過した後、弁体94Bの径方向に向きをかえて第1流出口61から流出する。 In the first valve mechanism 83B, the first outlet 61 intersects, specifically, is orthogonal to the direction connecting the inflow port 106 and the valve chamber 141A. Therefore, when air flows from the inflow port 106 to the first outlet 61 through the valve chamber 141A, the air flowing into the valve chamber 141A from the inflow port 106 is mainly the recess 116B of the flange portion 112B of the valve body 94B. After passing between the valve chamber 141A and the inner peripheral surface 138 of the valve chamber 141A in the axial direction of the valve body 94B, the valve body 94B is turned in the radial direction and flows out from the first outlet 61.

第2弁機構84Bにおいて、流入口106および弁室141Aを結ぶ方向に対して、第2流出口71が交差、具体的には直交している。このため、流入口106から弁室141Aを介して第2流出口71に空気が流れる際に、流入口106から弁室141Aに流入した空気は、主に弁体94Bの鍔部112Bの凹部116Bと弁室141Aの内周面138との間を弁体94Bの軸方向に通過した後、弁体94Bの径方向に向きをかえて第2流出口71から流出する。 In the second valve mechanism 84B, the second outlet 71 intersects, specifically, is orthogonal to the direction connecting the inflow port 106 and the valve chamber 141A. Therefore, when air flows from the inflow port 106 to the second outlet 71 through the valve chamber 141A, the air flowing into the valve chamber 141A from the inflow port 106 is mainly the recess 116B of the flange portion 112B of the valve body 94B. After passing between the valve chamber 141A and the inner peripheral surface 138 of the valve chamber 141A in the axial direction of the valve body 94B, the valve body 94B is turned in the radial direction and flows out from the second outlet 71.

第3実施形態の差圧弁11Bは、第1弁機構83Bにおいて、一方の空気ばね155の空気が流入する流入口106が弁室141Aの底部142に形成され、他方の空気ばね156へ空気を流出する第1流出口61が弁室141Aの内周面138に形成されている。
このような構造であると、流入口106および弁室141Aを結ぶ方向に対して、第1流出口61が交差する。このため、流入口106から弁室141Aを介して第1流出口61に空気が流れる際に、流入口106から弁室141Aに流入した空気は、主に弁体94Bの鍔部112Bの凹部116Bと弁室141Aの内周面138との間を弁体94Bの軸方向に通過した後、弁体94Bの径方向に向きをかえて第1流出口61から流出する。このとき、弁体94Bの周方向において第1流出口61とは反対側に凹部116Bが位置すると、この凹部116Bを通過して第1流出口61に向く空気の流れで、弁体94Bに第1流出口61に向けて大きな径方向の力が作用する。これにより、弁体94Bが、弁室141A内においてシート部104とは反対側の鍔部212Bをシート部104側の鍔部112Bよりも第1流出口61に近づけるように傾いてしまう可能性がある。
In the differential pressure valve 11B of the third embodiment, in the first valve mechanism 83B, the inflow port 106 into which the air of one air spring 155 flows in is formed at the bottom 142 of the valve chamber 141A, and the air flows out to the other air spring 156. The first outlet 61 is formed on the inner peripheral surface 138 of the valve chamber 141A.
With such a structure, the first outlet 61 intersects with respect to the direction connecting the inlet 106 and the valve chamber 141A. Therefore, when air flows from the inflow port 106 to the first outlet 61 through the valve chamber 141A, the air flowing into the valve chamber 141A from the inflow port 106 is mainly the recess 116B of the flange portion 112B of the valve body 94B. After passing between the valve chamber 141A and the inner peripheral surface 138 of the valve chamber 141A in the axial direction of the valve body 94B, the valve body 94B is turned in the radial direction and flows out from the first outlet 61. At this time, when the recess 116B is located on the side opposite to the first outlet 61 in the circumferential direction of the valve body 94B, the air flow passing through the recess 116B and toward the first outlet 61 causes the valve body 94B to be the first. A large radial force acts toward the outlet 61. As a result, the valve body 94B may be tilted in the valve chamber 141A so that the flange portion 212B on the opposite side of the seat portion 104 is closer to the first outlet 61 than the flange portion 112B on the seat portion 104 side. be.

これに対し、第1弁機構83Bは、弁体94Bの鍔部112Bの凹部116Bの周方向反対側の位置に、鍔部212Bの円弧状の突出部218Bが設けられている。このため、弁体94Bが上記のように傾いても、突出部218Bが弁室141Aの内周面138に線接触し、接触面圧が下がる。よって、弁体94Bの軸方向移動が円滑となる。したがって、開弁圧のばらつきを抑制することが可能となる。 On the other hand, the first valve mechanism 83B is provided with an arcuate protruding portion 218B of the flange portion 212B at a position opposite to the circumferential direction of the recess 116B of the flange portion 112B of the valve body 94B. Therefore, even if the valve body 94B is tilted as described above, the protruding portion 218B is in line contact with the inner peripheral surface 138 of the valve chamber 141A, and the contact surface pressure is lowered. Therefore, the axial movement of the valve body 94B becomes smooth. Therefore, it is possible to suppress variations in valve opening pressure.

また、突出部118Bと突出部218Bとが周方向にずれて配置されているため、弁体94Bの重量のアンバランスを抑制することができる。 Further, since the protruding portion 118B and the protruding portion 218B are arranged so as to be offset in the circumferential direction, it is possible to suppress an imbalance in the weight of the valve body 94B.

第2弁機構84Bも同様である。 The same applies to the second valve mechanism 84B.

以上に述べた実施形態の第1の態様は、車体と台車との間に設けられる2つの空気ばねを繋ぐ連通路に配置され、前記2つの空気ばね間の圧力差に応じて前記連通路を開閉する差圧弁である。この差圧弁は、弁室と、該弁室内に設けられる円形状の弁体と、前記弁室の底部に形成され、一方の前記空気ばねの空気が流入する流入口と、前記弁室の内周面に形成され、他方の前記空気ばねへ空気を流出する流出口と、前記弁室の底部に前記流入口を囲むように形成されて前記弁体が着座するシート部と、前記弁体を前記シート部に向けた閉弁方向に付勢する付勢部材と、を有する。前記弁体は、前記シート部よりも径方向外方に延出する第1鍔部を前記底部側に備える。該第1鍔部は、前記弁室の内周面に向かって径方向外方に突出する複数の第1突出部と、該第1突出部の周方向反対側の位置で径方向内方に凹む第1凹部と、を備える。これにより、開弁圧のばらつきを抑制することが可能となる。 The first aspect of the embodiment described above is arranged in a communication passage connecting two air springs provided between the vehicle body and the bogie, and the communication passage is provided according to the pressure difference between the two air springs. It is a differential pressure valve that opens and closes. This differential pressure valve is formed in a valve chamber, a circular valve body provided in the valve chamber, an inflow port formed at the bottom of the valve chamber, and an inflow port into which air of one of the air springs flows, and inside the valve chamber. An outlet formed on the peripheral surface and allowing air to flow out to the other air spring, a seat portion formed on the bottom of the valve chamber so as to surround the inlet, and a seat portion on which the valve body is seated, and the valve body. It has an urging member that urges the seat portion in the valve closing direction. The valve body is provided with a first flange portion extending radially outward from the seat portion on the bottom portion side. The first flange portion includes a plurality of first protrusions that project radially outward toward the inner peripheral surface of the valve chamber, and radially inward at positions opposite to the circumferential direction of the first protrusion. It is provided with a first recess that is recessed. This makes it possible to suppress variations in valve opening pressure.

また、第2の態様は、第1の態様において、前記第1突出部が、周方向に120°間隔で形成されている。これにより、開弁圧のばらつきを抑制することが可能となる。また、弁体の加工工数を低減することができる。 Further, in the second aspect, in the first aspect, the first protrusions are formed at intervals of 120 ° in the circumferential direction. This makes it possible to suppress variations in valve opening pressure. In addition, the man-hours for processing the valve body can be reduced.

また、第3の態様は、第1または第2の態様において、前記弁体は、前記弁室の内周面に向かって径方向外方に延出する第2鍔部を前記底部とは反対側に備え、該第2鍔部は、前記弁室の内周面に向かって径方向外方に突出する複数の第2突出部と、該第2突出部の周方向反対側の位置で径方向内方に凹む第2凹部と、を備える。これにより、開弁圧のばらつきを抑制することが可能となる。 Further, in the third aspect, in the first or second aspect, the valve body has a second flange portion extending radially outward toward the inner peripheral surface of the valve chamber, which is opposite to the bottom portion. In preparation for the side, the second flange portion has a diameter of a plurality of second protrusions protruding radially outward toward the inner peripheral surface of the valve chamber, and a position opposite to the circumferential direction of the second protrusion. It is provided with a second recess that is recessed inward in the direction. This makes it possible to suppress variations in valve opening pressure.

また、第4の態様は、第3の態様において、前記第2突出部が、周方向に120°間隔で形成されている。これにより、開弁圧のばらつきを抑制することが可能となる。 Further, in the fourth aspect, in the third aspect, the second protrusions are formed at intervals of 120 ° in the circumferential direction. This makes it possible to suppress variations in valve opening pressure.

また、第5の態様は、第3または第4の態様において、前記第1突出部と前記第2突出部とが周方向に一致して配置される。これにより、弁体の加工工数を低減することができるとともに、弁体の周囲での空気の流れを円滑にすることができる。 Further, in the fifth aspect, in the third or fourth aspect, the first protruding portion and the second protruding portion are arranged so as to coincide with each other in the circumferential direction. As a result, the man-hours for processing the valve body can be reduced, and the air flow around the valve body can be smoothed.

また、第6の態様は、第3または第4の態様において、前記第1突出部と前記第2突出部とが周方向にずれて配置される。これにより、弁体の重量のアンバランスを抑制することができる。 Further, in the sixth aspect, in the third or fourth aspect, the first protruding portion and the second protruding portion are arranged so as to be offset in the circumferential direction. This makes it possible to suppress an imbalance in the weight of the valve body.

また、第7の態様は、車体と台車との間に設けられる2つの空気ばねを繋ぐ連通路に配置され、前記2つの空気ばね間の圧力差に応じて前記連通路を開閉する差圧弁である。この差圧弁は、弁室と、該弁室内に設けられる円形状の弁体と、前記弁室の底部に形成され、一方の前記空気ばねの空気が流入する流入口と、前記弁室の内周面に形成され、他方の前記空気ばねへ空気を流出する流出口と、前記弁室の底部に前記流入口を囲むように形成されて前記弁体が着座するシート部と、前記弁体を前記シート部に向けた閉弁方向に付勢する付勢部材と、を有する。前記弁体は、前記底部側に、前記シート部よりも径方向外方に延出する第1鍔部を備えると共に、前記底部とは反対側に、前記弁室の内周面に向かって径方向外方に延出する第2鍔部を備える。前記第1鍔部は、前記弁室の内周面に向かって径方向外方に突出する複数の第1突出部を備える。前記第2鍔部は、前記第1突出部とは周方向にずれた位置に、前記弁室の内周面に向かって径方向外方に突出する複数の第2突出部を備える。これにより、開弁圧のばらつきを抑制することが可能となる。 The seventh aspect is a differential pressure valve which is arranged in a communication passage connecting two air springs provided between the vehicle body and the bogie and opens and closes the communication passage according to the pressure difference between the two air springs. be. This differential pressure valve is formed in a valve chamber, a circular valve body provided in the valve chamber, an inflow port formed at the bottom of the valve chamber, and an inflow port into which air of one of the air springs flows, and inside the valve chamber. An outlet formed on the peripheral surface and allowing air to flow out to the other air spring, a seat portion formed on the bottom of the valve chamber so as to surround the inlet, and a seat portion on which the valve body is seated, and the valve body. It has an urging member that urges the seat portion in the valve closing direction. The valve body is provided with a first flange portion that extends radially outward from the seat portion on the bottom portion side, and has a diameter toward the inner peripheral surface of the valve chamber on the side opposite to the bottom portion. It is provided with a second flange that extends outward in the direction. The first flange portion includes a plurality of first projecting portions that project radially outward toward the inner peripheral surface of the valve chamber. The second flange portion is provided with a plurality of second protrusions protruding radially outward toward the inner peripheral surface of the valve chamber at positions deviated from the first protrusion in the circumferential direction. This makes it possible to suppress variations in valve opening pressure.

上記した差圧弁によれば、開弁圧のばらつきを抑制することが可能となる。 According to the differential pressure valve described above, it is possible to suppress variations in valve opening pressure.

11,11A,11B 差圧弁
61 第1流出口(流出口)
71 第2流出口(流出口)
94,94A,94B 弁体
95 付勢部材
104 シート部
106 流入口
152 車体
153 台車
155,156 空気ばね
158,159 連通路
141,141A 弁室
142 底部
138 内周面
112,112A,112B 鍔部(第1鍔部)
116,116B 凹部(第1凹部)
118,118B 突出部(第1突出部)
212,212B 鍔部(第2鍔部)
216,216B 凹部(第2凹部)
218,218B 突出部(第2突出部)
11, 11A, 11B Differential pressure valve 61 1st outlet (outlet)
71 Second outlet (outlet)
94,94A, 94B Valve body 95 Bounce member 104 Seat part 106 Inflow port 152 Body 153 bogie 155,156 Air spring 158,159 Passage 141,141A Valve chamber 142 Bottom 138 Inner peripheral surface 112, 112A, 112B Collar ( 1st brim)
116,116B recess (first recess)
118, 118B protruding part (first protruding part)
212,212B collar part (second collar part)
216, 216B recess (second recess)
218,218B Protruding part (second protruding part)

Claims (7)

車体と台車との間に設けられる2つの空気ばねを繋ぐ連通路に配置され、前記2つの空気ばね間の圧力差に応じて前記連通路を開閉する差圧弁であって、
弁室と、
該弁室内に設けられる円形状の弁体と、
前記弁室の底部に形成され、一方の前記空気ばねの空気が流入する流入口と、
前記弁室の内周面に形成され、他方の前記空気ばねへ空気を流出する流出口と、
前記弁室の底部に前記流入口を囲むように形成されて前記弁体が着座するシート部と、
前記弁体を前記シート部に向けた閉弁方向に付勢する付勢部材と、を有し、
前記弁体は、前記シート部よりも径方向外方に延出する第1鍔部を前記底部側に備え、
該第1鍔部は、
前記弁室の内周面に向かって径方向外方に突出する複数の第1突出部と、
該第1突出部の周方向反対側の位置で径方向内方に凹む第1凹部と、を備える
差圧弁。
It is a differential pressure valve that is arranged in a communication passage connecting two air springs provided between a vehicle body and a bogie, and opens and closes the communication passage according to a pressure difference between the two air springs.
Valve room and
A circular valve body provided in the valve chamber and
An inflow port formed at the bottom of the valve chamber and into which air from one of the air springs flows,
An outlet formed on the inner peripheral surface of the valve chamber and allowing air to flow out to the other air spring,
A seat portion formed at the bottom of the valve chamber so as to surround the inflow port and on which the valve body is seated, and a seat portion.
It has an urging member that urges the valve body toward the seat portion in the valve closing direction.
The valve body is provided with a first flange portion extending radially outward from the seat portion on the bottom side thereof.
The first brim is
A plurality of first protrusions protruding radially outward toward the inner peripheral surface of the valve chamber,
A differential pressure valve including a first recess that is radially inwardly recessed at a position opposite to the circumferential direction of the first protrusion.
請求項1に記載の差圧弁であって、
前記第1突出部が、周方向に120°間隔で形成されている
差圧弁。
The differential pressure valve according to claim 1.
A differential pressure valve in which the first protrusions are formed at intervals of 120 ° in the circumferential direction.
請求項1または2に記載の差圧弁であって、
前記弁体は、前記弁室の内周面に向かって径方向外方に延出する第2鍔部を前記底部とは反対側に備え、
該第2鍔部は、
前記弁室の内周面に向かって径方向外方に突出する複数の第2突出部と、
該第2突出部の周方向反対側の位置で径方向内方に凹む第2凹部と、を備える
差圧弁。
The differential pressure valve according to claim 1 or 2.
The valve body is provided with a second flange portion extending radially outward toward the inner peripheral surface of the valve chamber on the side opposite to the bottom portion.
The second collar is
A plurality of second protrusions protruding radially outward toward the inner peripheral surface of the valve chamber, and
A differential pressure valve including a second recess that is radially inwardly recessed at a position opposite to the circumferential direction of the second protrusion.
請求項3に記載の差圧弁であって、
前記第2突出部が、周方向に120°間隔で形成されている
差圧弁。
The differential pressure valve according to claim 3.
A differential pressure valve in which the second protrusions are formed at intervals of 120 ° in the circumferential direction.
請求項3または4に記載の差圧弁であって、
前記第1突出部と前記第2突出部とが周方向に一致して配置される
差圧弁。
The differential pressure valve according to claim 3 or 4.
A differential pressure valve in which the first protruding portion and the second protruding portion are arranged so as to coincide with each other in the circumferential direction.
請求項3または4に記載の差圧弁であって、
前記第1突出部と前記第2突出部とが周方向にずれて配置される
差圧弁。
The differential pressure valve according to claim 3 or 4.
A differential pressure valve in which the first protruding portion and the second protruding portion are arranged so as to be offset in the circumferential direction.
車体と台車との間に設けられる2つの空気ばねを繋ぐ連通路に配置され、前記2つの空気ばね間の圧力差に応じて前記連通路を開閉する差圧弁であって、
弁室と、
該弁室内に設けられる円形状の弁体と、
前記弁室の底部に形成され、一方の前記空気ばねの空気が流入する流入口と、
前記弁室の内周面に形成され、他方の前記空気ばねへ空気を流出する流出口と、
前記弁室の底部に前記流入口を囲むように形成されて前記弁体が着座するシート部と、
前記弁体を前記シート部に向けた閉弁方向に付勢する付勢部材と、を有し、
前記弁体は、前記シート部よりも径方向外方に延出する第1鍔部を前記底部側に備えると共に、前記底部とは反対側に、前記弁室の内周面に向かって径方向外方に延出する第2鍔部を備え、
前記第1鍔部は、前記弁室の内周面に向かって径方向外方に突出する複数の第1突出部を備え、
前記第2鍔部は、前記第1突出部とは周方向にずれた位置に、前記弁室の内周面に向かって径方向外方に突出する複数の第2突出部を備える
差圧弁。
It is a differential pressure valve that is arranged in a communication passage connecting two air springs provided between a vehicle body and a bogie, and opens and closes the communication passage according to a pressure difference between the two air springs.
Valve room and
A circular valve body provided in the valve chamber and
An inflow port formed at the bottom of the valve chamber and into which air from one of the air springs flows,
An outlet formed on the inner peripheral surface of the valve chamber and allowing air to flow out to the other air spring,
A seat portion formed at the bottom of the valve chamber so as to surround the inflow port and on which the valve body is seated, and a seat portion.
It has an urging member that urges the valve body toward the seat portion in the valve closing direction.
The valve body is provided with a first flange portion extending radially outward from the seat portion on the bottom side thereof, and is radially opposite to the bottom portion toward the inner peripheral surface of the valve chamber. Equipped with a second brim that extends outward,
The first flange portion includes a plurality of first projecting portions that project radially outward toward the inner peripheral surface of the valve chamber.
The second flange portion is a differential pressure valve provided with a plurality of second protrusions protruding radially outward toward the inner peripheral surface of the valve chamber at positions deviated from the first protrusion in the circumferential direction.
JP2021526928A 2019-06-26 2020-06-19 Differential pressure valve Active JP7221388B2 (en)

Applications Claiming Priority (3)

Application Number Priority Date Filing Date Title
JP2019118690 2019-06-26
JP2019118690 2019-06-26
PCT/JP2020/024177 WO2020262244A1 (en) 2019-06-26 2020-06-19 Differential pressure valve

Publications (2)

Publication Number Publication Date
JPWO2020262244A1 true JPWO2020262244A1 (en) 2021-11-18
JP7221388B2 JP7221388B2 (en) 2023-02-13

Family

ID=74059768

Family Applications (1)

Application Number Title Priority Date Filing Date
JP2021526928A Active JP7221388B2 (en) 2019-06-26 2020-06-19 Differential pressure valve

Country Status (3)

Country Link
JP (1) JP7221388B2 (en)
CN (1) CN113661343A (en)
WO (1) WO2020262244A1 (en)

Families Citing this family (1)

* Cited by examiner, † Cited by third party
Publication number Priority date Publication date Assignee Title
AU2020313544B2 (en) * 2019-07-12 2023-11-30 Cenergist Limited Check valve

Citations (3)

* Cited by examiner, † Cited by third party
Publication number Priority date Publication date Assignee Title
JP2005106452A (en) * 2003-09-08 2005-04-21 Tgk Co Ltd Expansion device
JP2014167319A (en) * 2013-02-28 2014-09-11 Kayaba Ind Co Ltd Leveling valve
JP2014167327A (en) * 2013-02-28 2014-09-11 Kayaba Ind Co Ltd Differential pressure valve

Patent Citations (3)

* Cited by examiner, † Cited by third party
Publication number Priority date Publication date Assignee Title
JP2005106452A (en) * 2003-09-08 2005-04-21 Tgk Co Ltd Expansion device
JP2014167319A (en) * 2013-02-28 2014-09-11 Kayaba Ind Co Ltd Leveling valve
JP2014167327A (en) * 2013-02-28 2014-09-11 Kayaba Ind Co Ltd Differential pressure valve

Also Published As

Publication number Publication date
JP7221388B2 (en) 2023-02-13
CN113661343A (en) 2021-11-16
WO2020262244A1 (en) 2020-12-30

Similar Documents

Publication Publication Date Title
JP5290701B2 (en) Fluid pressure buffer
US9121524B2 (en) Shock absorber
JP6838768B2 (en) Buffer
JPH10141416A5 (en)
CN106246791B (en) Pressure damper devices and elastic component
JP6077339B2 (en) Multi-channel rotary joint
JP2706152B2 (en) Check valve
JPWO2020262244A1 (en) Differential pressure valve
JP7206174B2 (en) buffer
US12435771B2 (en) Shock absorber
WO2018021136A1 (en) Damper
JP6623099B2 (en) Shock absorber
WO2022024759A1 (en) Shock absorber
JP2008138696A (en) Divided piston structure of hydraulic shock absorber
KR102587415B1 (en) buffer
JP3543940B2 (en) Rotary damper
JP7710032B2 (en) buffer
JP5307739B2 (en) Buffer valve structure
JP5581421B2 (en) Fluid pressure buffer
JPH0244114Y2 (en)
JP6527268B1 (en) Rodless check valve
JPWO2020032156A1 (en) Pressure reducing valve
JP7033794B2 (en) non-return valve
WO2005036036A1 (en) Two-way ball valve
JP6789004B2 (en) Buffer

Legal Events

Date Code Title Description
A521 Request for written amendment filed

Free format text: JAPANESE INTERMEDIATE CODE: A523

Effective date: 20210705

A621 Written request for application examination

Free format text: JAPANESE INTERMEDIATE CODE: A621

Effective date: 20210705

A131 Notification of reasons for refusal

Free format text: JAPANESE INTERMEDIATE CODE: A131

Effective date: 20220628

A521 Request for written amendment filed

Free format text: JAPANESE INTERMEDIATE CODE: A523

Effective date: 20220823

TRDD Decision of grant or rejection written
A01 Written decision to grant a patent or to grant a registration (utility model)

Free format text: JAPANESE INTERMEDIATE CODE: A01

Effective date: 20230104

A61 First payment of annual fees (during grant procedure)

Free format text: JAPANESE INTERMEDIATE CODE: A61

Effective date: 20230201

R150 Certificate of patent or registration of utility model

Ref document number: 7221388

Country of ref document: JP

Free format text: JAPANESE INTERMEDIATE CODE: R150