JPWO2016158673A1 - 水処理装置および水処理方法 - Google Patents
水処理装置および水処理方法 Download PDFInfo
- Publication number
- JPWO2016158673A1 JPWO2016158673A1 JP2017509866A JP2017509866A JPWO2016158673A1 JP WO2016158673 A1 JPWO2016158673 A1 JP WO2016158673A1 JP 2017509866 A JP2017509866 A JP 2017509866A JP 2017509866 A JP2017509866 A JP 2017509866A JP WO2016158673 A1 JPWO2016158673 A1 JP WO2016158673A1
- Authority
- JP
- Japan
- Prior art keywords
- water
- reaction tank
- treated
- anaerobic reaction
- anaerobic
- Prior art date
- Legal status (The legal status is an assumption and is not a legal conclusion. Google has not performed a legal analysis and makes no representation as to the accuracy of the status listed.)
- Granted
Links
Images
Classifications
-
- C—CHEMISTRY; METALLURGY
- C02—TREATMENT OF WATER, WASTE WATER, SEWAGE, OR SLUDGE
- C02F—TREATMENT OF WATER, WASTE WATER, SEWAGE, OR SLUDGE
- C02F3/00—Biological treatment of water, waste water, or sewage
- C02F3/28—Anaerobic digestion processes
Landscapes
- Life Sciences & Earth Sciences (AREA)
- Microbiology (AREA)
- Biodiversity & Conservation Biology (AREA)
- Hydrology & Water Resources (AREA)
- Engineering & Computer Science (AREA)
- Environmental & Geological Engineering (AREA)
- Water Supply & Treatment (AREA)
- Chemical & Material Sciences (AREA)
- Organic Chemistry (AREA)
- Purification Treatments By Anaerobic Or Anaerobic And Aerobic Bacteria Or Animals (AREA)
Abstract
Description
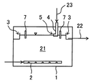
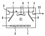
2:流入部
3:流出部
4:供給管
5:開口
6:撹拌板
7:仕切り部材
8:傾斜板
11:濃縮槽
12:ろ過層
13:濃縮汚泥の移送手段
21:嫌気性反応槽内の被処理水
22:処理水
23:液体
24:分離液
25:濃縮汚泥
Claims (20)
- 被処理水の流入部と、前記流入部より上方に位置する処理水の流出部とを有し、前記流出部の高さまで嫌気性汚泥を含む被処理水が保持された、上向流式の嫌気性反応槽と、
前記嫌気性反応槽に設けられた液体の供給管とを有する水処理装置であって、
前記供給管は、前記嫌気性反応槽内の被処理水の上部1/3の領域または水面より上方に位置する開口を有し、前記開口が略水平方向に向いていることを特徴とする水処理装置。 - 前記開口は、前記嫌気性反応槽内の水面を含む位置に設けられている請求項1に記載の水処理装置。
- 前記供給管から供給される液体の供給時間は、1時間当たり2秒以上20分以下である請求項1または2に記載の水処理装置。
- 前記供給管から供給される液体の1日当たりの供給量は、前記被処理水の1日当たりの流入量の1/200以上1/10以下である請求項1〜3のいずれか一項に記載の水処理装置。
- 前記水処理装置は、前記嫌気性反応槽の流出部に連通し、前記嫌気性反応槽の処理水が濃縮される濃縮槽と、
前記濃縮槽で得られた濃縮汚泥を前記供給管に移送する移送手段とを、さらに有し、
前記濃縮汚泥を前記液体として用いる請求項1〜4のいずれか一項に記載の水処理装置。 - 前記嫌気性反応槽には、水面を前記流出部を含む部分と前記流出部を含まない部分とに分ける仕切り部材が設けられ、
前記供給管の開口は、前記流出部を含まない部分またはその上方もしくは下方に位置するように設けられている請求項1〜5のいずれか一項に記載の水処理装置。 - 被処理水の流入部と、前記流入部より上方に位置する処理水の流出部とを有し、前記流出部の高さまで嫌気性汚泥を含む被処理水が保持された、上向流式の嫌気性反応槽と、
前記嫌気性反応槽内の被処理水の上部1/3の領域に設けられた撹拌板とを有することを特徴とする水処理装置。 - 前記嫌気性反応槽には、水面を前記流出部を含む部分と前記流出部を含まない部分とに分ける仕切り部材が設けられ、
前記撹拌板は、前記流出部を含まない部分の下方に設けられている請求項7に記載の水処理装置。 - 前記嫌気性反応槽に保持された被処理水中に傾斜板が設けられ、
前記傾斜板は、上端が、前記仕切り部材に接続するか、前記流出部を含まない部分またはその上方もしくは下方に位置し、下端が前記流出部を含む部分の下方に位置する請求項6または8に記載の水処理装置。 - 前記嫌気性反応槽は、底部から水面までの高さが、前記嫌気性反応槽内の最大水平方向長さよりも短い請求項1〜9のいずれか一項に記載の水処理装置。
- 被処理水を上向流式で嫌気性反応槽に導入し、嫌気性汚泥と接触させることにより嫌気性処理を行う嫌気性処理工程と、
略水平方向に向いた開口を有し、前記開口が前記嫌気性反応槽内の被処理水の上部1/3の領域または水面より上方に位置するように設けられた液体の供給管から、前記開口を通じて、前記嫌気性反応槽内の被処理水に液体を供給する液体供給工程とを有することを特徴とする水処理方法。 - 前記開口は、前記嫌気性反応槽内の水面を含む位置に設けられている請求項11に記載の水処理方法。
- 前記液体供給工程を、1時間当たり2秒以上20分以下行う請求項11または12に記載の水処理方法。
- 前記液体の1日当たりの供給量が、前記被処理水の1日当たりの流入量の1/200以上1/10以下である請求項11〜13のいずれか一項に記載の水処理方法。
- 前記嫌気性処理工程で得られた処理水を濃縮して濃縮汚泥を得る濃縮工程をさらに有し、
前記濃縮汚泥を、前記供給管に移送して、前記液体として用いる請求項11〜14のいずれか一項に記載の水処理方法。 - 前記嫌気性反応槽は処理水の流出部を有し、水面を前記流出部を含む部分と前記流出部を含まない部分とに分ける仕切り部材が設けられ、
前記液体供給工程において、前記液体を、前記流出部を含まない部分またはその下方に供給する請求項11〜15のいずれか一項に記載の水処理方法。 - 被処理水を上向流式で嫌気性反応槽に導入し、嫌気性汚泥と接触させることにより嫌気性処理する嫌気性処理工程と、
前記嫌気性反応槽内の被処理水の上部1/3の領域に設けられた撹拌板により、被処理水を撹拌する撹拌工程とを有することを特徴とする水処理方法。 - 前記嫌気性反応槽は処理水の流出部を有し、水面を前記流出部を含む部分と前記流出部を含まない部分とに分ける仕切り部材が設けられ、
前記撹拌板は、前記流出部を含まない部分の下方に設けられている請求項17に記載の水処理方法。 - 前記嫌気性反応槽に保持された被処理水中に傾斜板が設けられ、
前記傾斜板は、上端が、前記仕切り部材に接続するか、前記流出部を含まない部分またはその上方もしくは下方に位置し、下端が前記流出部を含む部分の下方に位置する請求項16または18に記載の水処理方法。 - 前記嫌気性反応槽は、底部から水面までの高さが、前記嫌気性反応槽内の最大水平方向長さよりも短い請求項11〜19のいずれか一項に記載の水処理方法。
Applications Claiming Priority (3)
| Application Number | Priority Date | Filing Date | Title |
|---|---|---|---|
| JP2015067132 | 2015-03-27 | ||
| JP2015067132 | 2015-03-27 | ||
| PCT/JP2016/059411 WO2016158673A1 (ja) | 2015-03-27 | 2016-03-24 | 水処理装置および水処理方法 |
Publications (2)
| Publication Number | Publication Date |
|---|---|
| JPWO2016158673A1 true JPWO2016158673A1 (ja) | 2018-01-25 |
| JP6640837B2 JP6640837B2 (ja) | 2020-02-05 |
Family
ID=57007103
Family Applications (1)
| Application Number | Title | Priority Date | Filing Date |
|---|---|---|---|
| JP2017509866A Active JP6640837B2 (ja) | 2015-03-27 | 2016-03-24 | 水処理装置および水処理方法 |
Country Status (3)
| Country | Link |
|---|---|
| JP (1) | JP6640837B2 (ja) |
| MY (1) | MY182787A (ja) |
| WO (1) | WO2016158673A1 (ja) |
Families Citing this family (2)
| Publication number | Priority date | Publication date | Assignee | Title |
|---|---|---|---|---|
| JP7130537B2 (ja) * | 2018-11-30 | 2022-09-05 | 住友重機械工業株式会社 | 嫌気処理システム |
| CN111908711A (zh) * | 2020-07-13 | 2020-11-10 | 中徽生态环境有限公司 | 一种分段式生化混合处理水体生态修复方法 |
Citations (9)
| Publication number | Priority date | Publication date | Assignee | Title |
|---|---|---|---|---|
| JPS60168597A (ja) * | 1984-02-10 | 1985-09-02 | Matsushita Electric Ind Co Ltd | メタン発酵装置 |
| JPH02273598A (ja) * | 1989-04-14 | 1990-11-08 | Taisei Corp | 上向流式嫌気性排水処理装置 |
| JPH06182382A (ja) * | 1992-12-17 | 1994-07-05 | Kurita Water Ind Ltd | 嫌気性処理方法および装置 |
| JPH07290088A (ja) * | 1994-04-26 | 1995-11-07 | Mitsubishi Kakoki Kaisha Ltd | 有機性廃水の生物学的脱窒方法 |
| JPH0866694A (ja) * | 1994-08-29 | 1996-03-12 | Hitachi Zosen Corp | メタン発酵方法 |
| JP2003311292A (ja) * | 2002-04-24 | 2003-11-05 | Kurita Water Ind Ltd | 嫌気性水処理装置 |
| JP2005205327A (ja) * | 2004-01-23 | 2005-08-04 | Kajima Corp | 嫌気性消化槽内の浮上夾雑物の除去方法及び装置 |
| JP2008036529A (ja) * | 2006-08-04 | 2008-02-21 | National Institute For Environmental Studies | メタン発酵による排水処理方法及び装置 |
| JP2014024032A (ja) * | 2012-07-27 | 2014-02-06 | Japan Organo Co Ltd | 嫌気性生物処理方法および嫌気性生物処理装置 |
-
2016
- 2016-03-24 WO PCT/JP2016/059411 patent/WO2016158673A1/ja not_active Ceased
- 2016-03-24 MY MYPI2017702890A patent/MY182787A/en unknown
- 2016-03-24 JP JP2017509866A patent/JP6640837B2/ja active Active
Patent Citations (9)
| Publication number | Priority date | Publication date | Assignee | Title |
|---|---|---|---|---|
| JPS60168597A (ja) * | 1984-02-10 | 1985-09-02 | Matsushita Electric Ind Co Ltd | メタン発酵装置 |
| JPH02273598A (ja) * | 1989-04-14 | 1990-11-08 | Taisei Corp | 上向流式嫌気性排水処理装置 |
| JPH06182382A (ja) * | 1992-12-17 | 1994-07-05 | Kurita Water Ind Ltd | 嫌気性処理方法および装置 |
| JPH07290088A (ja) * | 1994-04-26 | 1995-11-07 | Mitsubishi Kakoki Kaisha Ltd | 有機性廃水の生物学的脱窒方法 |
| JPH0866694A (ja) * | 1994-08-29 | 1996-03-12 | Hitachi Zosen Corp | メタン発酵方法 |
| JP2003311292A (ja) * | 2002-04-24 | 2003-11-05 | Kurita Water Ind Ltd | 嫌気性水処理装置 |
| JP2005205327A (ja) * | 2004-01-23 | 2005-08-04 | Kajima Corp | 嫌気性消化槽内の浮上夾雑物の除去方法及び装置 |
| JP2008036529A (ja) * | 2006-08-04 | 2008-02-21 | National Institute For Environmental Studies | メタン発酵による排水処理方法及び装置 |
| JP2014024032A (ja) * | 2012-07-27 | 2014-02-06 | Japan Organo Co Ltd | 嫌気性生物処理方法および嫌気性生物処理装置 |
Also Published As
| Publication number | Publication date |
|---|---|
| JP6640837B2 (ja) | 2020-02-05 |
| MY182787A (en) | 2021-02-05 |
| WO2016158673A1 (ja) | 2016-10-06 |
Similar Documents
| Publication | Publication Date | Title |
|---|---|---|
| EP2508483B1 (en) | Waste water treatment equipment | |
| CN104787966B (zh) | 废油回收加工废水臭气处理系统 | |
| CN103755098B (zh) | 复杂含油废水处理方法与装置 | |
| CN104529092B (zh) | 一种腈纶废水处理系统 | |
| CN104445836B (zh) | 高浓度沥青废水处理方法和装置 | |
| CN109095707A (zh) | 一种城镇污水处理方法及系统 | |
| CN104787970A (zh) | 一种水杨酸废水处理系统 | |
| CN105692814B (zh) | 一种高浓度悬浮物电絮凝与絮体分离沉淀一体化处理装置 | |
| CN103922527A (zh) | 一体化污水深度处理装置及其工艺 | |
| CN203498157U (zh) | 一种改良的uasb反应器 | |
| CN204702591U (zh) | 污水处理系统 | |
| CN110678244A (zh) | 沉淀和漂浮分离工序一体化高效率沉淀漂浮系统以及其驱动方法 | |
| CN208071546U (zh) | 一种化工废水处理达标排放系统 | |
| CN104193041A (zh) | 一种玉石加工废水的处理方法 | |
| CN203295250U (zh) | 新型加砂高速高效沉淀池 | |
| CN105668909A (zh) | 一种适用于社区医院的废水处理方法及系统 | |
| KR101751250B1 (ko) | 배오존을 이용한 부상분리와 무포기 오존 반응기를 이용한 수 처리장치 | |
| JP6640837B2 (ja) | 水処理装置および水処理方法 | |
| CN210419541U (zh) | 用于底泥余水处理设备的预处理系统 | |
| CN204384990U (zh) | 一种循环冷却水石灰软化澄清过滤处理系统 | |
| CN103951117B (zh) | 一种可去除屠宰废水中高浓度氨氮的处理装置 | |
| CN217757087U (zh) | 污水处理池 | |
| CN105948332A (zh) | 刀削废液处理装置与方法 | |
| CN106542693A (zh) | 一种油田采出水的处理方法及装置 | |
| CN105330105B (zh) | 无机‑有机‑微生物絮凝一体化装置 |
Legal Events
| Date | Code | Title | Description |
|---|---|---|---|
| A621 | Written request for application examination |
Free format text: JAPANESE INTERMEDIATE CODE: A621 Effective date: 20181217 |
|
| RD02 | Notification of acceptance of power of attorney |
Free format text: JAPANESE INTERMEDIATE CODE: A7422 Effective date: 20190301 |
|
| A131 | Notification of reasons for refusal |
Free format text: JAPANESE INTERMEDIATE CODE: A131 Effective date: 20190827 |
|
| A521 | Request for written amendment filed |
Free format text: JAPANESE INTERMEDIATE CODE: A523 Effective date: 20191023 |
|
| TRDD | Decision of grant or rejection written | ||
| A01 | Written decision to grant a patent or to grant a registration (utility model) |
Free format text: JAPANESE INTERMEDIATE CODE: A01 Effective date: 20191217 |
|
| A61 | First payment of annual fees (during grant procedure) |
Free format text: JAPANESE INTERMEDIATE CODE: A61 Effective date: 20191226 |
|
| R150 | Certificate of patent or registration of utility model |
Ref document number: 6640837 Country of ref document: JP Free format text: JAPANESE INTERMEDIATE CODE: R150 |
