JPWO2013190771A1 - Lamp and lighting device - Google Patents

Lamp and lighting device Download PDF

Info

Publication number
JPWO2013190771A1
JPWO2013190771A1 JP2013544052A JP2013544052A JPWO2013190771A1 JP WO2013190771 A1 JPWO2013190771 A1 JP WO2013190771A1 JP 2013544052 A JP2013544052 A JP 2013544052A JP 2013544052 A JP2013544052 A JP 2013544052A JP WO2013190771 A1 JPWO2013190771 A1 JP WO2013190771A1
Authority
JP
Japan
Prior art keywords
base
substrate
protrusion
led
present
Prior art date
Legal status (The legal status is an assumption and is not a legal conclusion. Google has not performed a legal analysis and makes no representation as to the accuracy of the status listed.)
Granted
Application number
JP2013544052A
Other languages
Japanese (ja)
Other versions
JP5942205B2 (en
Inventor
浩規 北川
浩規 北川
丸山 賢治
賢治 丸山
高橋 健治
健治 高橋
隆之 岩崎
隆之 岩崎
Current Assignee (The listed assignees may be inaccurate. Google has not performed a legal analysis and makes no representation or warranty as to the accuracy of the list.)
Panasonic Intellectual Property Management Co Ltd
Original Assignee
Panasonic Intellectual Property Management Co Ltd
Priority date (The priority date is an assumption and is not a legal conclusion. Google has not performed a legal analysis and makes no representation as to the accuracy of the date listed.)
Filing date
Publication date
Application filed by Panasonic Intellectual Property Management Co Ltd filed Critical Panasonic Intellectual Property Management Co Ltd
Priority to JP2013544052A priority Critical patent/JP5942205B2/en
Publication of JPWO2013190771A1 publication Critical patent/JPWO2013190771A1/en
Application granted granted Critical
Publication of JP5942205B2 publication Critical patent/JP5942205B2/en
Active legal-status Critical Current
Anticipated expiration legal-status Critical

Links

Images

Classifications

    • FMECHANICAL ENGINEERING; LIGHTING; HEATING; WEAPONS; BLASTING
    • F21LIGHTING
    • F21KNON-ELECTRIC LIGHT SOURCES USING LUMINESCENCE; LIGHT SOURCES USING ELECTROCHEMILUMINESCENCE; LIGHT SOURCES USING CHARGES OF COMBUSTIBLE MATERIAL; LIGHT SOURCES USING SEMICONDUCTOR DEVICES AS LIGHT-GENERATING ELEMENTS; LIGHT SOURCES NOT OTHERWISE PROVIDED FOR
    • F21K9/00Light sources using semiconductor devices as light-generating elements, e.g. using light-emitting diodes [LED] or lasers
    • F21K9/20Light sources comprising attachment means
    • F21K9/27Retrofit light sources for lighting devices with two fittings for each light source, e.g. for substitution of fluorescent tubes

Landscapes

  • Engineering & Computer Science (AREA)
  • Physics & Mathematics (AREA)
  • Microelectronics & Electronic Packaging (AREA)
  • Optics & Photonics (AREA)
  • General Engineering & Computer Science (AREA)
  • Non-Portable Lighting Devices Or Systems Thereof (AREA)
  • Fastening Of Light Sources Or Lamp Holders (AREA)

Abstract

直管形LEDランプ(1)は、長尺状の基板(11)及び当該基板(11)の第1面(11a)に実装された複数のLED素子(12)を有するLEDモジュール(10)と、LEDモジュール(10)を収納する長尺状の筐体(20)と、筐体(20)に収納され、LEDモジュール(10)が配置された第1基台(50)と、を備え、第1基台(50)は、基板(11)の短手方向の両側面を挟む第1壁部(51)及び第2壁部(52)と、第1壁部(51)から第2壁部(52)に向かって突出する複数の第1突出部(51a)と、第2壁部(52)から第1壁部(51)に向かって突出する複数の第2突出部(52a)とを有し、複数の第1突出部(51a)及び複数の第2突出部(52a)は、基板(11)の第1面(11a)に当接されており、基板(11)の長手方向の両端部には、第1突出部(51a)及び第2突出部(52a)の少なくとも一方が設けられている。The straight tube LED lamp (1) includes an LED module (10) having a long substrate (11) and a plurality of LED elements (12) mounted on a first surface (11a) of the substrate (11). A long housing (20) for housing the LED module (10), and a first base (50) housed in the housing (20) on which the LED module (10) is disposed, The first base (50) includes a first wall (51) and a second wall (52) that sandwich both lateral sides of the substrate (11), and a second wall from the first wall (51). A plurality of first protrusions (51a) protruding toward the part (52), and a plurality of second protrusions (52a) protruding from the second wall part (52) toward the first wall part (51) The plurality of first protrusions (51a) and the plurality of second protrusions (52a) are formed on the first surface (11a) of the substrate (11). Are contact, the both ends in the longitudinal direction of the substrate (11), at least one of the first protruding portion (51a) and second protrusions (52a) are provided.

Description

本発明は、ランプ及び照明装置に関し、例えば、発光ダイオード(LED:Light Emitting Diode)を用いた直管形のLEDランプ及びこれを備えた照明装置に関する。   The present invention relates to a lamp and a lighting device, for example, a straight tube type LED lamp using a light emitting diode (LED) and a lighting device including the same.

LEDは、高効率及び長寿命であることから、従来から知られる蛍光灯や白熱電球等の各種ランプにおける新しい光源として期待されており、LEDを用いたランプ(LEDランプ)の研究開発が進められている。   LED is expected to be a new light source in various lamps such as fluorescent lamps and incandescent lamps, which are conventionally known because of its high efficiency and long life, and research and development of lamps using LED (LED lamps) is being promoted. ing.

LEDランプとしては、両端部に電極コイルを有する直管形蛍光灯に代替する直管形のLEDランプ(直管形LEDランプ)、あるいは、電球形蛍光灯や白熱電球に代替する電球形のLEDランプ(電球形LEDランプ)等がある。例えば、特許文献1には、従来の直管形LEDランプが開示されている。   As an LED lamp, a straight tube type LED lamp (straight tube type LED lamp) that replaces a straight tube type fluorescent lamp having electrode coils at both ends, or a light bulb type LED that replaces a light bulb type fluorescent lamp or an incandescent light bulb. There are lamps (bulb-shaped LED lamps) and the like. For example, Patent Document 1 discloses a conventional straight tube LED lamp.

特開2009−043447号公報JP 2009-043447 A

直管形LEDランプは、例えば、長尺状の直管と、直管の両端部に設けられた一対の口金と、直管内に収納された複数のLEDモジュール(発光モジュール)と、LEDモジュールを載置する基台とによって構成されている。LEDモジュールの各々は、例えば、セラミックスからなる実装基板と、当該実装基板に実装された複数のLED(ベアチップ)と、蛍光体粒子が含有された樹脂からなる封止部材とによって構成されている。   The straight tube type LED lamp includes, for example, a long straight tube, a pair of caps provided at both ends of the straight tube, a plurality of LED modules (light emitting modules) housed in the straight tube, and an LED module. It is comprised by the base to mount. Each of the LED modules includes, for example, a mounting substrate made of ceramics, a plurality of LEDs (bare chips) mounted on the mounting substrate, and a sealing member made of a resin containing phosphor particles.

近年、LEDモジュールの長尺化によって、長尺状の実装基板を用いることが検討されている。また、実装基板として、樹脂をベースにした樹脂基板を用いることも検討されている。   In recent years, it has been studied to use a long mounting board by elongating the LED module. In addition, the use of a resin substrate based on a resin as a mounting substrate has been studied.

しかしながら、長尺状の実装基板を用いると、実装基板に反りが発生してしまい、所望の配光特性を得ることができないという問題がある。特に、実装基板として樹脂基板を用いると、実装基板が大きく反ってしまうということが分かった。   However, when a long mounting board is used, the mounting board is warped and there is a problem that desired light distribution characteristics cannot be obtained. In particular, it has been found that when a resin substrate is used as the mounting substrate, the mounting substrate is greatly warped.

本発明は、このような問題を解決するためになされたものであり、フラットな状態で発光モジュールを基台に固定し続けることができるランプ及び照明装置を提供することを目的とする。   The present invention has been made to solve such a problem, and an object of the present invention is to provide a lamp and an illuminating device capable of continuously fixing a light emitting module to a base in a flat state.

上記目的を達成するために、本発明に係るランプの一態様は、所定形状の配線が形成された長尺状の基板及び当該基板の前記配線が形成された面である第1面に実装された複数の発光素子を有する発光モジュールと、前記発光モジュールを収納する長尺状の筐体と、前記筐体に収納され、前記発光モジュールが配置された第1基台と、を備え、前記第1基台は、前記基板の短手方向の両側面を挟む第1壁部及び第2壁部と、前記第1壁部から前記第2壁部に向かって突出する複数の第1突出部と、前記第2壁部から前記第1壁部に向かって突出する複数の第2突出部とを有し、前記複数の第1突出部及び前記複数の第2突出部は、前記基板の前記第1面に当接されており、前記基板の長手方向の一方の端部には、前記第1突出部及び前記第2突出部の少なくとも一方が設けられ、前記基板の長手方向の他方の端部には、前記第1突出部及び前記第2突出部の少なくとも一方が設けられていることを特徴とする。   In order to achieve the above object, one aspect of a lamp according to the present invention is mounted on a long substrate on which a wiring having a predetermined shape is formed, and a first surface which is a surface on which the wiring is formed. A light emitting module having a plurality of light emitting elements, a long housing for housing the light emitting module, and a first base housed in the housing and on which the light emitting module is disposed, The first base includes a first wall portion and a second wall portion sandwiching both lateral sides of the substrate in a short direction, and a plurality of first protrusion portions protruding from the first wall portion toward the second wall portion. A plurality of second projecting portions projecting from the second wall portion toward the first wall portion, wherein the plurality of first projecting portions and the plurality of second projecting portions are the first of the substrate. One end of the substrate in the longitudinal direction, the first protrusion and the second Is at least one of the output portion is provided, the other end portion in the longitudinal direction of the substrate is characterized in that at least one of the first projecting portion and the second projecting portion is provided.

また、本発明に係るランプの一態様において、前記基板の長手方向の長さをL1とすると、前記一方の端部及び前記他方の端部は、前記基板の長手方向の端縁からL1×10%以下の領域である、としてもよい。   Further, in one aspect of the lamp according to the present invention, when the length in the longitudinal direction of the substrate is L1, the one end and the other end are L1 × 10 from the longitudinal edge of the substrate. % Or less.

また、本発明に係るランプの一態様において、前記基板の短手方向の長さをL2とすると、L1/L2≧38.6である、としてもよい。   Further, in one aspect of the lamp according to the present invention, L1 / L2 ≧ 38.6 may be satisfied, where L2 is a length in the short direction of the substrate.

また、本発明に係るランプの一態様において、前記配線の線膨張係数は、前記基板の線膨張係数よりも大きい、としてもよい。   Further, in one aspect of the lamp according to the present invention, the linear expansion coefficient of the wiring may be larger than the linear expansion coefficient of the substrate.

また、本発明に係るランプの一態様において、前記基板は、樹脂からなる樹脂基板である、としてもよい。   Further, in one aspect of the lamp according to the present invention, the substrate may be a resin substrate made of a resin.

また、本発明に係るランプの一態様において、前記基板は、さらに、前記第1面とは反対側の第2面に形成された金属膜を有する、としてもよい。   Further, in one aspect of the lamp according to the present invention, the substrate may further include a metal film formed on a second surface opposite to the first surface.

また、本発明に係るランプの一態様において、前記金属膜の面積は、前記配線の面積よりも大きい、としてもよい。   In the lamp according to the aspect of the invention, the area of the metal film may be larger than the area of the wiring.

また、本発明に係るランプの一態様において、前記発光モジュールを複数備え、前記複数の発光モジュールは、各々の前記基板の長手方向が前記筐体の長手方向に沿うように並べられており、前記第1突出部及び第2突出部の少なくとも一方は、隣り合う前記発光モジュールに跨るように設けられている、としてもよい。   Moreover, in one aspect of the lamp according to the present invention, the light emitting module includes a plurality of the light emitting modules, and the plurality of light emitting modules are arranged so that a longitudinal direction of each of the substrates is along a longitudinal direction of the housing, At least one of the first protrusion and the second protrusion may be provided so as to straddle the adjacent light emitting modules.

また、本発明に係るランプの一態様において、前記第1基台は、さらに、前記第1面とは反対側の面である第2面に向かって付勢する付勢部を有する、としてもよい。   Moreover, in one aspect of the lamp according to the present invention, the first base further includes a biasing portion that biases toward a second surface that is a surface opposite to the first surface. Good.

また、本発明に係るランプの一態様において、前記第1壁部及び前記第2壁部は、前記第1突出部及び前記第2突出部の少なくともいずれか一方の近傍に形成された切り欠き部を有する、としてもよい。   Further, in one aspect of the lamp according to the present invention, the first wall portion and the second wall portion are notches formed in the vicinity of at least one of the first protrusion and the second protrusion. It is good also as having.

また、本発明に係るランプの一態様において、さらに、前記第1基台と前記発光モジュールとの間に配置された、金属からなる第2基台を備え、前記発光モジュールは、前記第2基台上に載置される、としてもよい。   The lamp according to the aspect of the invention may further include a second base made of metal and disposed between the first base and the light emitting module, and the light emitting module includes the second base. It may be placed on a table.

また、本発明に係る照明装置の一態様は、上記いずれかのランプを備えることを特徴とする。   One embodiment of the lighting device according to the present invention includes any one of the lamps described above.

本発明によれば、基板の反りを抑制することができるので、発光モジュールの基板をフラットな状態で基台に固定し続けることができる。これにより、所望の配光特性を得ることができる。   According to the present invention, since the warpage of the substrate can be suppressed, the substrate of the light emitting module can be continuously fixed to the base in a flat state. Thereby, desired light distribution characteristics can be obtained.

図1は、本発明の実施の形態に係る直管形LEDランプの概観斜視図である。FIG. 1 is a schematic perspective view of a straight tube LED lamp according to an embodiment of the present invention. 図2は、本発明の実施の形態に係る直管形LEDランプの分解斜視図である。FIG. 2 is an exploded perspective view of the straight tube LED lamp according to the embodiment of the present invention. 図3の(a)は、本発明の実施の形態に係るLEDモジュールの平面図であり、図3の(b)は、(a)のX−X’線における同LEDモジュールの断面図であり、図3の(c)は、(a)のY−Y’線における同LEDモジュールの断面図である。3A is a plan view of the LED module according to the embodiment of the present invention, and FIG. 3B is a cross-sectional view of the LED module taken along line XX ′ in FIG. (C) of FIG. 3 is sectional drawing of the LED module in the YY 'line | wire of (a). 図4は、本発明の実施の形態に係る直管形LEDランプにおける第1基台の平面図である。FIG. 4 is a plan view of the first base in the straight tube LED lamp according to the embodiment of the present invention. 図5の(a)は、本発明の実施の形態に係る直管形LEDランプの一部拡大断面図(管軸を通る平面で切断したときの断面図)であり、図5の(b)は、(a)のA−A’線における同直管形LEDランプの断面図であり、図5の(c)は、(a)のB−B’線における同直管形LEDランプの断面図である。FIG. 5A is a partially enlarged cross-sectional view (a cross-sectional view taken along a plane passing through the tube axis) of the straight tube LED lamp according to the embodiment of the present invention, and FIG. These are sectional drawings of the straight tube | pipe type LED lamp in the AA 'line of (a), (c) of FIG. 5 is a cross section of the straight tube | pipe type LED lamp in the BB' line of (a). FIG. 図6Aは、本発明の実施の形態に係る直管形LEDランプの要部拡大図(図4の破線Aで囲まれる領域の拡大図)である。FIG. 6A is an enlarged view of a main part of the straight tube LED lamp according to the embodiment of the present invention (an enlarged view of a region surrounded by a broken line A in FIG. 4). 図6Bは、本発明の実施の形態に係る直管形LEDランプの要部拡大図(図4の破線Bで囲まれる領域の拡大図)である。FIG. 6B is an enlarged view of the main part of the straight tube LED lamp according to the embodiment of the present invention (enlarged view of a region surrounded by a broken line B in FIG. 4). 図7は、本発明の実施の形態に係る直管形LEDランプにおける光源モジュールの組み立て工程を示す図であり、図7の(a)は、図5の(a)のA−A’線における断面図に対応する図であり、図7の(b)は、図5の(a)のB−B’線における断面図に対応する図である。FIG. 7 is a diagram showing an assembly process of the light source module in the straight tube LED lamp according to the embodiment of the present invention, and FIG. 7 (a) is taken along the line AA ′ of FIG. 5 (a). FIG. 7B is a view corresponding to the cross-sectional view, and FIG. 7B is a view corresponding to the cross-sectional view taken along the line BB ′ of FIG. 図8は、本発明の実施の形態に係る直管形LEDランプにおける給電用口金周辺の構成を示す斜視図であり、図8の(a)は、第2基台と給電用口金との取り付け状態を分かりやすくするために、点灯回路、点灯回路カバー及び筐体等を省略した図であり、図8の(b)は、点灯回路、点灯回路カバー及び筐体を示した図である。FIG. 8 is a perspective view showing a configuration around the power supply base in the straight tube LED lamp according to the embodiment of the present invention. FIG. 8A is an attachment of the second base and the power supply base. In order to make the state easy to understand, the lighting circuit, the lighting circuit cover, the casing, and the like are omitted, and FIG. 8B is a diagram showing the lighting circuit, the lighting circuit cover, and the casing. 図9は、本発明の実施の形態に係る直管形LEDランプにおけるアース用口金周辺の構成を示す斜視図であり、図9の(a)は、第1アース用口金本体部と第2アース用口金本体部とを固定する前の状態を示す図であり、図9の(b)は、第1アース用口金本体部と第2アース用口金本体部とを固定した後の状態を示す図である。FIG. 9 is a perspective view showing the configuration around the grounding base in the straight tube LED lamp according to the embodiment of the present invention. FIG. 9A shows the first grounding base body and the second grounding. It is a figure which shows the state before fixing a base body part for a work, (b) of FIG. 9 is a figure which shows the state after fixing a base body part for 1st earth | ground and a base body part for 2nd earth | grounds. It is. 図10は、本発明の実施の形態に係る照明装置の構成を示す斜視図である。FIG. 10 is a perspective view showing the configuration of the illumination device according to the embodiment of the present invention. 図11は、本発明の実施の形態の変形例1に係る直管形LEDランプの要部拡大図(第1基台の中央部の拡大図)である。FIG. 11 is an enlarged view of the main part of the straight tube LED lamp according to Modification 1 of the embodiment of the present invention (enlarged view of the central part of the first base). 図12Aは、本発明の実施の形態の変形例2に係る直管形LEDランプの要部拡大図(第1基台の端部周辺の拡大図)である。FIG. 12A is an enlarged view of an essential part of an straight tube LED lamp according to Modification 2 of the embodiment of the present invention (enlarged view around the end of the first base). 図12Bは、本発明の実施の形態の変形例2に係る直管形LEDランプの要部拡大図(第1基台の中央部周辺の拡大図)である。FIG. 12B is an enlarged view of a main part of a straight tube LED lamp according to Modification 2 of the embodiment of the present invention (enlarged view around the central portion of the first base). 図13Aは、本発明の実施の形態の変形例3に係る直管形LEDランプの要部拡大図(第1基台の端部周辺の拡大図)である。FIG. 13A is an enlarged view of an essential part of an straight tube LED lamp according to Modification 3 of the embodiment of the present invention (enlarged view around the end of the first base). 図13Bは、本発明の実施の形態の変形例3に係る直管形LEDランプの要部拡大図(第1基台の中央部周辺の拡大図)である。FIG. 13B is an enlarged view of a main part of a straight tube LED lamp according to Modification 3 of the embodiment of the present invention (enlarged view of the vicinity of the central portion of the first base).

以下、本発明の実施の形態に係るランプ及び照明装置について、図面を参照しながら説明する。なお、以下に説明する実施の形態は、いずれも本発明の好ましい一具体例を示すものである。したがって、以下の実施の形態で示される数値、形状、材料、構成要素、構成要素の配置位置及び接続形態、工程、工程の順序などは、一例であって本発明を限定する主旨ではない。よって、以下の実施の形態における構成要素のうち、本発明の最上位概念を示す独立請求項に記載されていない構成要素については、任意の構成要素として説明される。   Hereinafter, a lamp and an illumination device according to an embodiment of the present invention will be described with reference to the drawings. Note that each of the embodiments described below shows a preferred specific example of the present invention. Therefore, the numerical values, shapes, materials, constituent elements, arrangement positions and connecting forms of constituent elements, processes, order of processes, and the like shown in the following embodiments are merely examples and do not limit the present invention. Therefore, among the constituent elements in the following embodiments, constituent elements that are not described in the independent claims showing the highest concept of the present invention are described as optional constituent elements.

なお、各図は、模式図であり、必ずしも厳密に図示されたものではない。また、各図において、同じ構成部材については同じ符号を付している。   Each figure is a schematic diagram and is not necessarily illustrated strictly. Moreover, in each figure, the same code | symbol is attached | subjected about the same structural member.

(実施の形態)
以下、本発明の実施の形態に係るランプの構成について説明する。なお、本実施の形態では、ランプの一例として直管形LEDランプについて説明する。
(Embodiment)
The configuration of the lamp according to the embodiment of the present invention will be described below. In the present embodiment, a straight tube LED lamp will be described as an example of a lamp.

[ランプの全体構成]
まず、本発明の実施の形態に係る直管形LEDランプ1の全体構成について、図1を用いて説明する。図1は、本発明の実施の形態に係る直管形LEDランプの概観斜視図である。
[Entire configuration of the lamp]
First, the whole structure of the straight tube | pipe type LED lamp 1 which concerns on embodiment of this invention is demonstrated using FIG. FIG. 1 is a schematic perspective view of a straight tube LED lamp according to an embodiment of the present invention.

図1に示すように、本実施の形態に係る直管形LEDランプ1は、従来の直管形蛍光灯に代替する照明用光源である直管形LEDランプである。直管形LEDランプ1は、LEDモジュール10と、LEDモジュール10を収納する長尺状の筐体20と、筐体20の長手方向(管軸方向)の一方の端部に設けられた第1口金である給電用口金(給電側口金)30と、筐体20の長手方向の他方の端部に設けられた第2口金であるアース用口金(非給電側口金)40と、LEDモジュール10が配置される第1基台50及び第2基台55(図1では不図示)と、LEDモジュール10と他の電子部品(LEDモジュール10、点灯回路)とを電気的に接続するコネクタ60と、LEDモジュール10が発する光を所定の方向に反射する反射部材70と、第1基台50を筐体20に取り付けるための取り付け部材80(図1では不図示)と、LEDモジュール10を発光させるための点灯回路90(図1では不図示)とを備える。なお、本実施の形態では、給電用口金30のみの片側一方から給電を行う片側給電方式が採用されている。   As shown in FIG. 1, a straight tube LED lamp 1 according to the present embodiment is a straight tube LED lamp that is an illumination light source that replaces a conventional straight tube fluorescent lamp. The straight tube LED lamp 1 includes an LED module 10, a long casing 20 that houses the LED module 10, and a first provided at one end in the longitudinal direction (tube axis direction) of the casing 20. A power supply base (power supply side base) 30 that is a base, a ground base (non-power supply base) 40 that is a second base provided at the other end in the longitudinal direction of the housing 20, and the LED module 10 A first base 50 and a second base 55 (not shown in FIG. 1), a connector 60 that electrically connects the LED module 10 and other electronic components (LED module 10, lighting circuit); A reflection member 70 that reflects light emitted from the LED module 10 in a predetermined direction, an attachment member 80 (not shown in FIG. 1) for attaching the first base 50 to the housing 20, and an LED module 10 to emit light. Lit times And a 90 (not shown in FIG. 1). In the present embodiment, a one-side power feeding method in which power is fed from one side of only the power feeding base 30 is employed.

以下、直管形LEDランプ1の各構成要素について、図1を参照しながら、図2、図4及び図5を用いて詳述する。図2は、本発明の実施の形態に係る直管形LEDランプの分解斜視図である。図4は、同直管形LEDランプにおける第1基台の平面図である。図5の(a)は、同直管形LEDランプの一部拡大断面図であり、図5の(b)は、(a)のA−A’線における同直管形LEDランプの断面図であり、図5の(c)は、(a)のB−B’線における同直管形LEDランプの断面図である。   Hereafter, each component of the straight tube | pipe type LED lamp 1 is explained in full detail using FIG.2, FIG4 and FIG.5, referring FIG. FIG. 2 is an exploded perspective view of the straight tube LED lamp according to the embodiment of the present invention. FIG. 4 is a plan view of a first base in the straight tube LED lamp. FIG. 5A is a partially enlarged cross-sectional view of the straight tube LED lamp, and FIG. 5B is a cross-sectional view of the straight tube LED lamp taken along line AA ′ of FIG. FIG. 5C is a cross-sectional view of the straight tube LED lamp taken along line BB ′ in FIG.

[LEDモジュール]
図2に示すように、長尺状のLEDモジュール10は、筐体20の管軸方向に沿って複数配置される。複数のLEDモジュール10は、各々の基板11の長手方向が筐体20の長手方向に沿うように並べられている。本実施の形態では、2つのLEDモジュール10を用いている。
[LED module]
As shown in FIG. 2, a plurality of long LED modules 10 are arranged along the tube axis direction of the housing 20. The plurality of LED modules 10 are arranged so that the longitudinal direction of each substrate 11 is along the longitudinal direction of the housing 20. In the present embodiment, two LED modules 10 are used.

ここで、各LEDモジュール10の詳細構成について、図2を参照しながら、図3を用いて説明する。図3は、本発明の実施の形態に係るLEDモジュールの構成を示したものであり、(a)は、同LEDモジュールの平面図、(b)は(a)のX−X’線における同LEDモジュールの断面図、(c)は(a)のY−Y’線における同LEDモジュールの断面図である。   Here, the detailed structure of each LED module 10 is demonstrated using FIG. 3, referring FIG. 3A and 3B show the configuration of the LED module according to the embodiment of the present invention, in which FIG. 3A is a plan view of the LED module, and FIG. 3B is the same in the XX ′ line of FIG. Sectional drawing of an LED module, (c) is sectional drawing of the LED module in the YY 'line of (a).

図3に示すように、LEDモジュール10は、表面実装(SMD:Surface Mount Device)型の発光モジュールであって、基板11と、基板11に実装された複数のLED素子12と、基板11の一方の面に形成された配線13と、基板11の他方の面に形成された金属膜14と、電極端子15とを備える。   As shown in FIG. 3, the LED module 10 is a surface mount device (SMD) type light emitting module, and includes a substrate 11, a plurality of LED elements 12 mounted on the substrate 11, and one of the substrates 11. Wiring 13 formed on this surface, metal film 14 formed on the other surface of substrate 11, and electrode terminal 15.

基板11は、LED素子12を実装するための実装基板である。本実施の形態では、基板11として、筐体20の管軸方向に長尺状をなす矩形基板を用いている。基板11は、LED素子12が実装される面である第1面(第1主面)11aと、第1面11aとは反対側の面である第2面(第2主面)11bとを有する。LED素子12は基板11の第1面11aにのみ実装されている。なお、後述するように、LEDモジュール10は、基板11の第2面11bと第2基台55の載置面とが接触するように、第2基台55に載置される。   The substrate 11 is a mounting substrate for mounting the LED element 12. In the present embodiment, a rectangular substrate that is elongated in the tube axis direction of the housing 20 is used as the substrate 11. The substrate 11 includes a first surface (first main surface) 11a that is a surface on which the LED elements 12 are mounted, and a second surface (second main surface) 11b that is a surface opposite to the first surface 11a. Have. The LED element 12 is mounted only on the first surface 11 a of the substrate 11. As will be described later, the LED module 10 is mounted on the second base 55 such that the second surface 11b of the substrate 11 and the mounting surface of the second base 55 are in contact with each other.

基板11としては、樹脂からなる樹脂基板、金属からなるメタルベース基板、又は、ガラスからなるガラス基板等を用いることができる。樹脂基板としては、例えば、ガラスコンポジット基板(CEM−3等)、ガラスエポキシ基板(FR−4等)、紙フェノールや紙エポキシからなる基板(FR−1等)、又は、ポリイミド等からなる可撓性を有するフレキシブル基板を用いることができる。メタルベース基板としては、例えば、アルミニウム合金基板、鉄合金基板又は銅合金基板等を用いることができる。本実施の形態では、基板11として、CEM−3の両面基板を用いている。   As the substrate 11, a resin substrate made of resin, a metal base substrate made of metal, a glass substrate made of glass, or the like can be used. As the resin substrate, for example, a glass composite substrate (CEM-3 or the like), a glass epoxy substrate (FR-4 or the like), a substrate made of paper phenol or paper epoxy (FR-1 or the like), or a flexible material made of polyimide or the like. Flexible substrates can be used. As the metal base substrate, for example, an aluminum alloy substrate, an iron alloy substrate, a copper alloy substrate, or the like can be used. In the present embodiment, a CEM-3 double-sided substrate is used as the substrate 11.

また、基板11の長手方向の長さ(長辺の長さ)をL1(mm)とし、基板11の短手方向の長さ(短辺の長さ)をL2(mm)とすると、基板11としては、アスペクト比(L1/L2)が、7.5以上のものを用いている。具体的に、L1=300(mm)〜600(mm)であり、L2=10(mm)〜40(mm)である。本実施の形態では、L1=580mm、L2=15mmで、基板11の厚みが1.0(mm)の基板11を用いた。   Further, when the length in the longitudinal direction (long side length) of the substrate 11 is L1 (mm) and the length in the short side direction (short side length) of the substrate 11 is L2 (mm), the substrate 11 The aspect ratio (L1 / L2) is 7.5 or more. Specifically, L1 = 300 (mm) to 600 (mm), and L2 = 10 (mm) to 40 (mm). In the present embodiment, the substrate 11 is used in which L1 = 580 mm, L2 = 15 mm, and the thickness of the substrate 11 is 1.0 (mm).

LED素子12は、発光素子の一例であって、基板11上の第1面11aに実装される。本実施の形態では、図3の(a)に示すように、基板11の長手方向に沿って複数のLED素子12がライン状に一列配置されている。   The LED element 12 is an example of a light emitting element, and is mounted on the first surface 11 a on the substrate 11. In the present embodiment, as shown in FIG. 3A, a plurality of LED elements 12 are arranged in a line along the longitudinal direction of the substrate 11.

各LED素子12は、LEDチップと蛍光体とがパッケージ化された、いわゆるSMD型の発光素子であって、図3の(c)に示すように、パッケージ(容器)12aと、パッケージ12aに収容されるLEDチップ12bと、LEDチップ12bを封止する封止部材12cとを備える。本実施の形態におけるLED素子12は、白色光を発する白色LED素子である。   Each LED element 12 is a so-called SMD type light emitting element in which an LED chip and a phosphor are packaged. As shown in FIG. 3C, the LED element 12 is accommodated in a package (container) 12a and a package 12a. LED chip 12b, and a sealing member 12c that seals the LED chip 12b. The LED element 12 in the present embodiment is a white LED element that emits white light.

パッケージ12aは、白色樹脂等で成型されており、逆円錐台形状の凹部(キャビティ)を備える。凹部の内側面は傾斜面であり、LEDチップ12bからの光を上方に反射させるように構成されている。   The package 12a is molded from a white resin or the like, and includes an inverted frustoconical recess (cavity). The inner side surface of the recess is an inclined surface, and is configured to reflect light from the LED chip 12b upward.

LEDチップ12bは、半導体発光素子の一例であって、パッケージ12aの凹部に実装されている。LEDチップ12bは、単色の可視光を発するベアチップであり、ダイアタッチ材(ダイボンド材)によって、パッケージ12aの凹部の底面にダイボンダィング実装されている。LEDチップ12bとしては、例えば通電されると青色光を発光する青色LEDチップを用いることができる。   The LED chip 12b is an example of a semiconductor light emitting element, and is mounted in a recess of the package 12a. The LED chip 12b is a bare chip that emits monochromatic visible light, and is die-bonded to the bottom surface of the recess of the package 12a by a die attach material (die bond material). For example, a blue LED chip that emits blue light when energized can be used as the LED chip 12b.

封止部材12cは、光波長変換体である蛍光体を含む蛍光体含有樹脂であって、LEDチップ12bからの光を所定の波長に波長変換(色変換)するとともに、LEDチップ12bを封止してLEDチップ12bを保護する。封止部材12cは、パッケージ12aの凹部に充填されており、当該凹部の開口面まで封入されている。封止部材12cとしては、例えばLEDチップ12bが青色LEDである場合、白色光を得るために、YAG(イットリウム・アルミニウム・ガーネット)系の黄色蛍光体粒子をシリコーン樹脂に分散させた蛍光体含有樹脂を用いることができる。これにより、黄色蛍光体粒子は青色LEDチップの青色光によって励起されて黄色光を放出するので、封止部材12cからは、励起された黄色光と青色LEDチップの青色光とによって白色光が放出される。なお、封止部材12cに、シリカ等の光拡散材も含有させても構わない。   The sealing member 12c is a phosphor-containing resin including a phosphor that is a light wavelength converter, and converts the wavelength of light from the LED chip 12b to a predetermined wavelength (color conversion) and seals the LED chip 12b. Thus, the LED chip 12b is protected. The sealing member 12c is filled in the recess of the package 12a, and is sealed up to the opening surface of the recess. As the sealing member 12c, for example, when the LED chip 12b is a blue LED, a phosphor-containing resin in which YAG (yttrium, aluminum, garnet) -based yellow phosphor particles are dispersed in a silicone resin in order to obtain white light. Can be used. Accordingly, since the yellow phosphor particles are excited by the blue light of the blue LED chip to emit yellow light, white light is emitted from the sealing member 12c by the excited yellow light and the blue light of the blue LED chip. Is done. The sealing member 12c may also contain a light diffusing material such as silica.

このようにして、LED素子12が構成されている。また、図示しないが、LED素子12は、正極及び負極の2つの外部接続端子を有しており、これらの外部接続端子と配線13とが電気的に接続されている。なお、本実施の形態において、LED素子12は、ライン状に実装されているが、これに限らない。また、本実施の形態において、基板11上の複数のLED素子12は配線13によって直列接続されているが、並列接続、あるいは、直列接続と並列接続とを組み合わせた接続としてもよい。   In this way, the LED element 12 is configured. Although not shown, the LED element 12 has two external connection terminals of a positive electrode and a negative electrode, and these external connection terminals and the wiring 13 are electrically connected. In addition, in this Embodiment, although the LED element 12 is mounted in the shape of a line, it is not restricted to this. Moreover, in this Embodiment, although the some LED element 12 on the board | substrate 11 is connected in series by the wiring 13, it is good also as a connection which combined the parallel connection or the serial connection and the parallel connection.

配線13は、LED素子12同士を電気的に接続するための導電性薄膜であって、基板11の第1面11aに所定形状にパターン形成されている。配線13は、例えば、隣接するLED素子12を接続するために基板11の長手方向に沿って断続的に形成されている。なお、配線13は、基板11の短辺側に実装されたLED素子12と電極端子15とを接続するようにも形成されている。これにより、電極端子15から配線13を介して各LED素子12に電力が供給される。   The wiring 13 is a conductive thin film for electrically connecting the LED elements 12 to each other, and is patterned in a predetermined shape on the first surface 11 a of the substrate 11. For example, the wiring 13 is intermittently formed along the longitudinal direction of the substrate 11 in order to connect adjacent LED elements 12. The wiring 13 is also formed to connect the LED element 12 mounted on the short side of the substrate 11 and the electrode terminal 15. Thereby, electric power is supplied from the electrode terminal 15 to each LED element 12 via the wiring 13.

また、本実施の形態において、配線13の線膨張係数は、基板11の線膨張係数よりも大きくなるように構成されている。配線13としては、銅(線膨張係数:16.8×10−6/℃)又は銀(線膨張係数:18.9×10−6/℃)等の金属からなる金属配線を用いることができる。この場合、基板11としては、例えば、樹脂基板(線膨張係数:10〜35×10−6/℃)を用いることができる。本実施の形態では、線膨張係数が24×10−6/℃の樹脂基板(基板11)の一方の面に銅配線(配線13)が形成され、他方の面に金属層(金属膜14)が形成されたものを用いている。Further, in the present embodiment, the linear expansion coefficient of the wiring 13 is configured to be larger than the linear expansion coefficient of the substrate 11. As the wiring 13, a metal wiring made of a metal such as copper (linear expansion coefficient: 16.8 × 10 −6 / ° C.) or silver (linear expansion coefficient: 18.9 × 10 −6 / ° C.) can be used. . In this case, as the substrate 11, for example, a resin substrate (linear expansion coefficient: 10 to 35 × 10 −6 / ° C.) can be used. In the present embodiment, a copper wiring (wiring 13) is formed on one surface of a resin substrate (substrate 11) having a linear expansion coefficient of 24 × 10 −6 / ° C., and a metal layer (metal film 14) is formed on the other surface. Is used.

金属膜(金属層)14は、LED素子12が発する熱を放熱するための放熱部材(ヒートシンク)であって、基板11の第2面11bに形成されている。金属膜14としては、銅薄膜又は銀薄膜等を用いることができる。金属膜14と配線13とは同じ材料としてもよいし、異なる材料としてもよい。なお、本実施の形態における金属膜14は、配線13と同じ材料であり、上述のとおり、銅によって構成されている。   The metal film (metal layer) 14 is a heat radiating member (heat sink) for radiating the heat generated by the LED elements 12, and is formed on the second surface 11 b of the substrate 11. As the metal film 14, a copper thin film or a silver thin film can be used. The metal film 14 and the wiring 13 may be made of the same material or different materials. In addition, the metal film 14 in this Embodiment is the same material as the wiring 13, and is comprised with copper as above-mentioned.

また、金属膜14の面積(表面積)は、配線13の面積(表面積)よりも大きくなるように構成されている。本実施の形態において、金属膜14は、第2面11bのほぼ全面に矩形状に形成されている。なお、金属膜14の膜厚は、配線13の膜厚とほぼ同じ膜厚である。つまり、金属膜14の体積は配線13の体積よりも大きくなっている。   Further, the area (surface area) of the metal film 14 is configured to be larger than the area (surface area) of the wiring 13. In the present embodiment, the metal film 14 is formed in a rectangular shape on substantially the entire second surface 11b. Note that the thickness of the metal film 14 is substantially the same as the thickness of the wiring 13. That is, the volume of the metal film 14 is larger than the volume of the wiring 13.

電極端子15は、LED素子12を発光させるための直流電力を、LEDモジュール10の外部から受電する外部接続端子である。本実施の形態における電極端子15は、ソケット型に構成されており、樹脂製のソケットと、直流電力を受電するための導電ピンとを有する。当該導電ピンは、基板11上に形成された金属配線と電気的に接続される。電極端子15(ソケット)にコネクタ60の装着部61が装着されることにより、電極端子15はコネクタ60から電力の供給を受ける。なお、電極端子15としては、金属電極とすることもできる。   The electrode terminal 15 is an external connection terminal that receives DC power for causing the LED element 12 to emit light from the outside of the LED module 10. The electrode terminal 15 in the present embodiment is configured as a socket type, and includes a resin socket and a conductive pin for receiving DC power. The conductive pins are electrically connected to metal wiring formed on the substrate 11. By mounting the mounting portion 61 of the connector 60 on the electrode terminal 15 (socket), the electrode terminal 15 receives power supply from the connector 60. The electrode terminal 15 may be a metal electrode.

以上のようにしてLEDモジュール10が構成される。なお、図示しないが、基板11の第1面11aの全面には、LED素子12とのコンタクト部を除いて配線13を覆うように白レジスト(絶縁膜)が被覆されている。   The LED module 10 is configured as described above. Although not shown, the entire surface of the first surface 11a of the substrate 11 is covered with a white resist (insulating film) so as to cover the wiring 13 except for the contact portion with the LED element 12.

[筐体]
筐体20は、透光性を有する直管(チューブ)であり、図2に示すように、両端部に開口を有する長尺筒状の外郭部材(外管)である。筐体20には、LEDモジュール10、第1基台50、第2基台55、及び点灯回路90等が収納される。
[Case]
The housing 20 is a straight tube (tube) having translucency, and as shown in FIG. 2, is a long cylindrical outer member (outer tube) having openings at both ends. The housing 20 houses the LED module 10, the first base 50, the second base 55, the lighting circuit 90, and the like.

筐体20は、透光性材料によって構成することができ、ガラス製のガラス管(ガラスバルブ)又はプラスチック管等を用いることができる。例えば、筐体20として、シリカ(SiO)が70〜72[%]のソーダ石灰ガラスによって構成された直管(ガラス管)、又は、アクリルやポリカーボネート等の樹脂材料からなる直管(プラスチック管)を用いることができる。The housing | casing 20 can be comprised with a translucent material and can use a glass-made glass tube (glass bulb) or a plastic tube. For example, the casing 20 is a straight pipe (glass pipe) made of soda-lime glass having a silica (SiO 2 ) of 70 to 72 [%], or a straight pipe (plastic pipe) made of a resin material such as acrylic or polycarbonate. ) Can be used.

また、筐体20が、LEDモジュール10からの光を拡散させるための光拡散機能を有する光拡散部を備えるように構成してもよい。これにより、LEDモジュールから放射された光を、筐体20を通過する際に拡散させることができる。光拡散部としては、例えば、筐体20の内面又は外面に形成された光拡散シート又は光拡散膜等がある。具体的には、シリカや炭酸カルシウム等の光拡散材(微粒子)を含有する樹脂や白色顔料を筐体20の内面又は外面に付着させることで、乳白色の光拡散膜を形成することができる。その他の光拡散部として、筐体20の内部又は外部に設けられたレンズ構造物、あるいは、筐体20に形成された凹部又は凸部がある。例えば、筐体20の内面又は外面にドットパターンを印刷したり、筐体20の一部を加工したりすることで、筐体20に光拡散機能(光拡散部)を持たせることもできる。あるいは、筐体20そのものを、光拡散材が分散された樹脂材料等を用いて成形することで、筐体20に光拡散機能(光拡散部)を持たせることもできる。   Moreover, you may comprise so that the housing | casing 20 may be provided with the light-diffusion part which has a light-diffusion function for diffusing the light from the LED module 10. FIG. Thereby, the light emitted from the LED module can be diffused when passing through the housing 20. Examples of the light diffusion portion include a light diffusion sheet or a light diffusion film formed on the inner surface or the outer surface of the housing 20. Specifically, a milky white light diffusion film can be formed by attaching a resin or a white pigment containing a light diffusion material (fine particles) such as silica or calcium carbonate to the inner surface or the outer surface of the housing 20. Other light diffusing portions include a lens structure provided inside or outside the housing 20, or a concave portion or a convex portion formed in the housing 20. For example, the case 20 can be provided with a light diffusion function (light diffusion unit) by printing a dot pattern on the inner surface or the outer surface of the case 20 or by processing a part of the case 20. Or the housing | casing 20 itself can also be made to have a light-diffusion function (light-diffusion part) in the housing | casing 20 by shape | molding using the resin material etc. in which the light-diffusion material was disperse | distributed.

なお、筐体20としては、本実施の形態のように非分割型の筐体を用いてもよいし、径方向の断面形状が略半球状となっている半割り構造の分割型の筐体を用いてもよい。分割型の筐体を用いる場合、樹脂製の筐体20とするとよい。また、筐体20は、必ずしも円筒状である必要はなく、角筒状とすることもできる。   As the case 20, a non-split type case may be used as in the present embodiment, or a split type case having a halved structure in which the radial cross-sectional shape is substantially hemispherical. May be used. In the case of using a split type housing, the housing 20 made of resin may be used. Moreover, the housing | casing 20 does not necessarily need to be cylindrical shape, and can also be made into a rectangular tube shape.

[給電用口金]
給電用口金(第1口金)30は、LEDモジュール10に電力を供給するための口金であって、LEDモジュール10のLED素子12を点灯させるための電力をランプ外部から受ける。給電用口金30は、略有底円筒形状に構成されており、筐体20の長手方向の一方を蓋するように設けられる。本実施の形態における給電用口金30は、図2に示すように、ポリブチレンテレフタレート(PBT)等の合成樹脂からなる樹脂製の給電用口金本体31と、真ちゅう等の金属材料からなる一対の給電ピン32とからなる。
[Feeding cap]
The power supply base (first base) 30 is a base for supplying power to the LED module 10, and receives power from the outside of the lamp for lighting the LED element 12 of the LED module 10. The power supply cap 30 is formed in a substantially bottomed cylindrical shape, and is provided so as to cover one side of the casing 20 in the longitudinal direction. As shown in FIG. 2, the power supply base 30 in the present embodiment includes a resin power supply base body 31 made of a synthetic resin such as polybutylene terephthalate (PBT) and a pair of power supplies made of a metal material such as brass. It consists of pins 32.

給電用口金30は、当該給電用口金30の軸方向に沿って複数に分割可能に構成されている。本実施の形態における給電用口金本体31は、筐体20の管軸を通る平面を分割面として上下半分に分解可能に構成されており、第1給電用口金本体部31aと第2給電用口金本体部31bとによって構成される。なお、給電用口金30は、給電ピン32を点灯回路90のソケットにリード線を介して電気的に接続した後に、第1給電用口金本体部31a及び第2給電用口金本体部31bで給電ピン32と筐体20の端部と第2基台55とを挟み込んだ状態で、第1給電用口金本体部31aと第2給電用口金本体部31bとをネジ止めすることにより、筐体20の端部に取り付けられる。   The power supply base 30 is configured to be divided into a plurality of parts along the axial direction of the power supply base 30. The power supply base body 31 in the present embodiment is configured to be disassembled into upper and lower halves with a plane passing through the tube axis of the housing 20 as a split surface, and the first power supply base body 31a and the second power supply base. It is comprised by the main-body part 31b. The power supply base 30 is connected to the socket of the lighting circuit 90 via a lead wire after the power supply pin 32 is electrically connected, and then the power supply pin 30 is connected to the power supply base body 31a and the second power supply base body 31b. 32, the first power supply base body 31a and the second power supply base body 31b are screwed in a state where the second base 55 is sandwiched between the second power supply base body 31b and the second base 55. Attach to the end.

一対の給電ピン32は、給電用口金本体31の底部から外方に向かって突出するように構成されており、LEDモジュール10のLED素子12を点灯させるための電力として照明器具等の外部機器から所定の電力を受ける受電ピンとして機能する。例えば、給電用口金30を照明器具のソケットに装着させることによって、一対の給電ピン32は直流電力を受ける状態となる。なお、一対の給電ピン32は、リード線によって筐体20内の点灯回路90と接続されており、一対の給電ピン32が受電した直流電力は点灯回路90に供給される。   The pair of power supply pins 32 are configured to protrude outward from the bottom of the power supply base body 31, and from an external device such as a lighting fixture as power for lighting the LED element 12 of the LED module 10. It functions as a power receiving pin that receives predetermined power. For example, by attaching the power supply base 30 to the socket of the lighting fixture, the pair of power supply pins 32 is in a state of receiving DC power. The pair of power supply pins 32 are connected to the lighting circuit 90 in the housing 20 by lead wires, and the DC power received by the pair of power supply pins 32 is supplied to the lighting circuit 90.

[アース用口金]
アース用口金40は、金属製の第2基台55とアース接続されており、ランプ内に生じる異常電流を、照明器具を介してグランドに流す機能を有する。アース用口金40は、略有底円筒形状に構成されており、筐体20の長手方向の他方の端部を蓋するように設けられる。本実施の形態におけるアース用口金40は、図2に示すように、PBT等の合成樹脂からなる樹脂製のアース用口金本体41と、真ちゅう等の金属材料からなる1本のアースピン42とからなる。
[Earth cap]
The grounding cap 40 is grounded to the metal second base 55 and has a function of flowing an abnormal current generated in the lamp to the ground via the lighting fixture. The grounding cap 40 has a substantially bottomed cylindrical shape, and is provided so as to cover the other end of the casing 20 in the longitudinal direction. As shown in FIG. 2, the grounding cap 40 in the present embodiment includes a resinous grounding base body 41 made of a synthetic resin such as PBT and a single grounding pin 42 made of a metal material such as brass. .

アース用口金40は、給電用口金30と同様に、アース用口金40の軸方向に沿って複数に分割可能に構成されている。本実施の形態におけるアース用口金本体41は、筐体20の管軸を通る平面を分割面として上下半分に分解可能に構成されており、第1アース用口金本体部41aと第2アース用口金本体部41bとによって構成される。なお、アース用口金40は、接続部材43によってアースピン42を第1基台50に取り付けた後に、第1アース用口金本体部41a及び第2アース用口金本体部41bでアースピン42と筐体20の端部と第2基台55とを挟み込んだ状態で、第1アース用口金本体部41aと第2アース用口金本体部41bとをネジ止めすることにより、筐体20の端部に取り付けられる。   The grounding cap 40 is configured to be divided into a plurality of parts along the axial direction of the grounding cap 40 in the same manner as the power feeding cap 30. The ground base body 41 in the present embodiment is configured to be disassembled into upper and lower halves with a plane passing through the tube axis of the housing 20 as a split surface. The first ground base body 41a and the second ground base It is comprised by the main-body part 41b. The grounding base 40 is connected to the grounding pin 42 and the housing 20 by the first grounding base body 41a and the second grounding base body 41b after the ground pin 42 is attached to the first base 50 by the connecting member 43. In a state where the end portion and the second base 55 are sandwiched, the first ground base body portion 41a and the second ground base body portion 41b are screwed to be attached to the end portion of the housing 20.

アースピン42は、アース用口金本体41の底部から外方に向かって突出するように構成される。アースピン42は、L字状の金属製の接続部材43(取り付け金具)によって第2基台55とねじ(不図示)により接続固定されている。アースピン42は、照明器具を介して接地されている。   The earth pin 42 is configured to protrude outward from the bottom of the grounding base body 41. The earth pin 42 is connected and fixed to the second base 55 and a screw (not shown) by an L-shaped metal connection member 43 (attachment fitting). The earth pin 42 is grounded via a lighting fixture.

[基台]
第1基台50及び第2基台55は、いずれも金属製であり、LEDモジュール10で発生する熱を放熱するヒートシンクとして機能するとともに、LEDモジュール10を載置及び固定するための基台として機能する。
[Base]
Each of the first base 50 and the second base 55 is made of metal, functions as a heat sink that dissipates heat generated in the LED module 10, and serves as a base for mounting and fixing the LED module 10. Function.

第1基台50は、ヒートシンクの外郭を構成する部材であり、図2に示すように、筐体20の全長とほぼ同じ長さの長尺状に構成されている。第1基台50は、例えば、亜鉛めっき鋼板等の金属板を折り曲げ加工等することによって形成することができる。   The first base 50 is a member that constitutes the outline of the heat sink, and is formed in a long shape having substantially the same length as the entire length of the housing 20 as shown in FIG. The first base 50 can be formed, for example, by bending a metal plate such as a galvanized steel plate.

第1基台50は、長尺状の底部(底板部)と、第1壁部51及び第2壁部52とを有する。第1壁部51及び第2壁部52は、底部における第1基台50の短手方向(基板11の幅方向)の両端部に形成されており、図5の(b)及び(c)に示すように、当該第1基台50の短手方向においてLEDモジュール10の基板11の両側面を挟むように構成されている。すなわち、第1壁部51は、基板11の一方の側面に対面し、第2壁部52は、基板11の他方の側面に対面するように形成されている。第1壁部51及び第2壁部52は、第1基台50を構成する金属板を折り曲げ加工することによって衝立状に形成されている。このように、LEDモジュール10の基板11は第1壁部51と第2壁部52とによって挟持されており、LEDモジュール10は、第1壁部51と第2壁部52とによって基板11の短手方向の動きが規制された状態で第1基台50に配置されている。   The first base 50 has a long bottom portion (bottom plate portion), a first wall portion 51 and a second wall portion 52. The first wall portion 51 and the second wall portion 52 are formed at both ends of the first base 50 in the short direction (the width direction of the substrate 11) at the bottom, and (b) and (c) in FIG. As shown in FIG. 3, the both sides of the substrate 11 of the LED module 10 are sandwiched in the short direction of the first base 50. That is, the first wall portion 51 is formed to face one side surface of the substrate 11, and the second wall portion 52 is formed to face the other side surface of the substrate 11. The first wall 51 and the second wall 52 are formed in a partition shape by bending a metal plate constituting the first base 50. As described above, the substrate 11 of the LED module 10 is sandwiched between the first wall portion 51 and the second wall portion 52, and the LED module 10 includes the first wall portion 51 and the second wall portion 52. It is arrange | positioned at the 1st base 50 in the state in which the movement of the transversal direction was controlled.

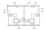
また、図2及び図4に示すように、第1壁部51には、当該第1壁部51から第2壁部52に向かって突出する複数の第1突出部51aが形成されている。同様に、第2壁部52には、当該第2壁部52から第1壁部51に向かって突出する複数の第2突出部52aが形成されている。   As shown in FIGS. 2 and 4, the first wall 51 is formed with a plurality of first protrusions 51 a that protrude from the first wall 51 toward the second wall 52. Similarly, the second wall 52 is formed with a plurality of second protrusions 52 a that protrude from the second wall 52 toward the first wall 51.

第1突出部51a及び第2突出部52aは、図5の(c)に示すように、LEDモジュール10における基板11の第1面11aに当接されるように構成されている。具体的に、第1突出部51a及び第2突出部52aは、基板11の第1面11aにおいて係止するような係止爪として形成されている。これにより、LEDモジュール10における基板11は、基板11の第1面11aに対して垂直な方向における動きが規制される。つまり、第1突出部51aと第2突出部52aとによって、LEDモジュール10は、上方に飛び出さないようにして第1基台50に固定されている。   The 1st protrusion part 51a and the 2nd protrusion part 52a are comprised so that it may contact | abut to the 1st surface 11a of the board | substrate 11 in the LED module 10, as shown to (c) of FIG. Specifically, the first protrusion 51 a and the second protrusion 52 a are formed as locking claws that lock on the first surface 11 a of the substrate 11. Thereby, the movement of the substrate 11 in the LED module 10 in the direction perpendicular to the first surface 11a of the substrate 11 is restricted. That is, the LED module 10 is fixed to the first base 50 so as not to protrude upward by the first protrusion 51a and the second protrusion 52a.

これにより、直管形LEDランプ1を照明器具に取り付けた後であっても、すなわち、当該LEDモジュール10が第1基台50よりも地面側に位置するようになった場合あっても、LEDモジュール10は、第1突出部51a及び第2突出部52aによって第1基台50から外れ落ちないようになっている。このように、第1突出部51a及び第2突出部52aによって基板11を押さえているので、ネジや接着剤等を用いることなく、LEDモジュール10を第1基台50に容易に固定することができる。   Thus, even after the straight tube LED lamp 1 is attached to the lighting fixture, that is, even when the LED module 10 is positioned on the ground side from the first base 50, the LED The module 10 is prevented from falling off the first base 50 by the first protrusion 51a and the second protrusion 52a. Thus, since the board | substrate 11 is hold | suppressed by the 1st protrusion part 51a and the 2nd protrusion part 52a, it is easy to fix the LED module 10 to the 1st base 50, without using a screw, an adhesive agent, etc. it can.

本実施の形態において、第1突出部51a及び第2突出部52aは、第1基台50を構成する金属板の一部を加工することによって形成されており、例えば、金属板からなる第1壁部51及び第2壁部52をエンボス加工することによって金属板の一部を突出させて形成することができる。これにより、別部材を用いることなく、簡単な構成によって、LEDモジュール10を第1基台50に固定することができる。   In this Embodiment, the 1st protrusion part 51a and the 2nd protrusion part 52a are formed by processing a part of metal plate which comprises the 1st base 50, for example, the 1st which consists of a metal plate. By embossing the wall 51 and the second wall 52, a part of the metal plate can be projected. Thereby, the LED module 10 can be fixed to the first base 50 with a simple configuration without using another member.

さらに、本実施の形態における第1突出部51a及び第2突出部52aでは、振動や衝撃等によっても基板11が第1基台50から脱落しにくいように、第1突出部51a又は第2突出部52aにおける基板11の第1面11a側の形状が、第1面11aに対向するような略平面となっている。一方、第1突出部51a又は第2突出部52aにおける第1面11a側とは反対側の形状は、基板11を第1突出部51a又は第2突出部52aに当接させて挿入する際、基板11を第1突出部51a又は第2突出部52aに対して押し込みやすくするために、略テーパ状となっている。   Further, in the first protrusion 51a and the second protrusion 52a in the present embodiment, the first protrusion 51a or the second protrusion is provided so that the substrate 11 is less likely to drop off from the first base 50 due to vibration or impact. The shape of the portion 52a on the first surface 11a side of the substrate 11 is a substantially flat surface facing the first surface 11a. On the other hand, the shape of the first projecting portion 51a or the second projecting portion 52a on the side opposite to the first surface 11a side is when the substrate 11 is inserted into contact with the first projecting portion 51a or the second projecting portion 52a. In order to make it easy to push the substrate 11 into the first protruding portion 51a or the second protruding portion 52a, the substrate 11 is substantially tapered.

また、複数の第1突出部51a及び複数の第2突出部52aの各々は、第1基台50の長手方向に沿って所定の間隔でかつ互いに同じ高さの位置となるように設けられている。なお、本実施の形態において、第1突出部51aは、図4に示すように10個設けられており、1つの基板11に対して5つの第1突出部51aが当接している。また、第2突出部52aは、6個設けられており、1つの基板11に対して3つの第1突出部51aが当接している。   In addition, each of the plurality of first protrusions 51 a and the plurality of second protrusions 52 a is provided at predetermined intervals along the longitudinal direction of the first base 50 and at the same height. Yes. In the present embodiment, ten first protrusions 51 a are provided as shown in FIG. 4, and five first protrusions 51 a are in contact with one substrate 11. Further, six second protrusions 52 a are provided, and three first protrusions 51 a are in contact with one substrate 11.

本実施の形態において、第2突出部52aは、第1突出部51aと対向するように設けられている。また、複数の第1突出部51aのうち基板11の両端の各々から最も近い位置に設けられた一対の第1突出部51a(最端第1突出部)に対向する位置には、第2突出部52aが設けられていない。つまり、基板11の両端部は、一対の第1突出部(最端第1突出部)51aのみによって押さえられている。これは、第1基台50にLEDモジュール10(基板11)を固定する際、第1基台50に対してLEDモジュール10を押し込みやすくするためである。   In the present embodiment, the second protrusion 52a is provided so as to face the first protrusion 51a. In addition, the second protrusions are disposed at positions facing a pair of first protrusions 51a (most first protrusions) provided at positions closest to both ends of the substrate 11 among the plurality of first protrusions 51a. The part 52a is not provided. That is, both end portions of the substrate 11 are pressed only by the pair of first projecting portions (most first projecting portions) 51a. This is to make it easier to push the LED module 10 into the first base 50 when the LED module 10 (substrate 11) is fixed to the first base 50.

ここで、最端第1突出部51aについて、図6A及び図6Bを用いて詳述する。図6A及び図6Bは、本発明の実施の形態に係る直管形LEDランプの要部拡大図であり、それぞれ、図4の破線Aで囲まれる領域(第1基台の端部)の拡大図及び図4の破線Bで囲まれる領域(第1基台の中央部)の拡大図である。なお、図6A及び図6Bでは、LEDモジュール10も図示している。   Here, the endmost first protrusion 51a will be described in detail with reference to FIGS. 6A and 6B. 6A and 6B are enlarged views of the main part of the straight tube LED lamp according to the embodiment of the present invention, each of which is an enlargement of a region (end portion of the first base) surrounded by a broken line A in FIG. It is an enlarged view of the area | region (center part of a 1st base) enclosed with the broken line B of a figure and FIG. 6A and 6B also show the LED module 10.

図6Aに示すように、第1基台50の両端部において、基板11の短辺に最も近い位置に設けられた第1突出部51a(最端第1突出部)は、基板11の長手方向(長尺方向)の端部に設けられている。基板11の長手方向の端部(端部領域)とは、図3に示されるように基板11の長手方向の長さ(長辺の長さ)をL1とすると、基板11の長手方向の端縁(短辺)からL1×10%以下(ゼロも含む)の領域である。   As shown in FIG. 6A, at both ends of the first base 50, the first protrusion 51 a (the first end first protrusion) provided at the position closest to the short side of the substrate 11 is the longitudinal direction of the substrate 11. It is provided at the end in the (long direction). The end in the longitudinal direction (end region) of the substrate 11 is the end in the longitudinal direction of the substrate 11 when the length in the longitudinal direction (long side length) of the substrate 11 is L1, as shown in FIG. The region is L1 × 10% or less (including zero) from the edge (short side).

つまり、基板11の短辺に最も近い位置に設けられた第1突出部51a(最端第1突出部)は、当該最端第1突出部と基板11の短辺との距離d1がL1×10%以下となるように設けられている。   That is, the first protrusion 51a (the first end first protrusion) provided at the position closest to the short side of the substrate 11 has a distance d1 between the end first protrusion and the short side of the substrate 11 of L1 ×. It is provided to be 10% or less.

本実施の形態では、図6Aに示すように、左側のLEDモジュール10における基板11の左側短辺に最も近い位置に設けられた第1突出部51a(最端第1突出部)は、d1=16mmの位置に設けられている。   In the present embodiment, as shown in FIG. 6A, the first protrusion 51a (the first end first protrusion) provided at the position closest to the left short side of the substrate 11 in the left LED module 10 is d1 = It is provided at a position of 16 mm.

また、図6Bに示すように、第1基台50の中央部においても、基板11の短辺に最も近い位置に設けられた第1突出部51a(最端第1突出部)は、基板11の長手方向の両端部の各々の端部(L1×10%以下の領域)に設けられている。つまり、隣り合うLEDモジュール10(基板11)が接続される部分においても、基板11の短辺に最も近い位置に設けられた第1突出部51a(最端第1突出部)は、当該最端第1突出部と基板11の短辺との距離d2、d3がL1×10%以下(ゼロを含む)となるように設けられている。   In addition, as shown in FIG. 6B, even in the central portion of the first base 50, the first protrusion 51 a (the first end first protrusion) provided at the position closest to the short side of the substrate 11 is the substrate 11. Are provided at each end (L1 × 10% or less) of both ends in the longitudinal direction. That is, even in the portion where the adjacent LED modules 10 (substrate 11) are connected, the first protrusion 51a (the first end first protrusion) provided at the position closest to the short side of the substrate 11 is the endmost. The distances d2 and d3 between the first protrusion and the short side of the substrate 11 are set to be L1 × 10% or less (including zero).

本実施の形態では、図6Bに示すように、一方(左側)のLEDモジュール10における基板11の右側短辺に最も近い位置に設けられた第1突出部51a(最端第1突出部)は、d2=11mmの位置に設けられている。また、他方(右側)のLEDモジュール10における基板11の左側短辺に最も近い位置に設けられた第1突出部51a(最端第1突出部)は、d3=16mmの位置に設けられている。   In the present embodiment, as shown in FIG. 6B, the first protruding portion 51a (the first end protruding portion at the end) provided at the position closest to the right short side of the substrate 11 in one (left) LED module 10 is , D2 = 11 mm. Moreover, the first protrusion 51a (the first end first protrusion) provided at a position closest to the left short side of the substrate 11 in the other (right) LED module 10 is provided at a position of d3 = 16 mm. .

このように、複数の第1突出部51aのうち基板11の長手方向の両端の各々から最も近い位置に設けられた一対の最端第1突出部は、基板11の端部の位置に設けられている。これにより、一対の最端第1突出部によって基板11の両端部を押さえることができるので、基板11の反りを抑えることができる。したがって、LEDモジュール10をフラットな状態で第1基台50に固定し続けることができる。   Thus, the pair of outermost first protrusions provided at positions closest to both ends in the longitudinal direction of the substrate 11 among the plurality of first protrusions 51 a are provided at the positions of the end portions of the substrate 11. ing. Thereby, since the both ends of the board | substrate 11 can be hold | suppressed by a pair of endmost 1st protrusion part, the curvature of the board | substrate 11 can be suppressed. Therefore, the LED module 10 can be continuously fixed to the first base 50 in a flat state.

また、本実施の形態において、第2突出部52aは、第1突出部51aに対向するように設けたが、隣り合う第1突出部51aの間の位置に設けても構わない。また、第2突出部52aは、両端部の第1突出部51aにも対向するよう設けても構わない。また、第1突出部51a及び第2突出部52aの数も、上記の個数に限定されるものではなく、上記個数より多くしてもよいし、少なくしてもよい。   In the present embodiment, the second projecting portion 52a is provided to face the first projecting portion 51a, but may be provided at a position between the adjacent first projecting portions 51a. Further, the second protrusions 52a may be provided so as to face the first protrusions 51a at both ends. Moreover, the number of the 1st protrusion parts 51a and the 2nd protrusion parts 52a is not limited to said number, It may be more than the said number and may be less.

また、図5の(b)及び(c)に示すように、第1基台50には、第2基台55及び反射部材70を載置するための段差部が形成されている。この段差部によって、第1基台50の底部と反射部材70(第2基台55)との間には空間領域が構成され、この空間領域を利用して、後述する付勢部53が設けられている。   Further, as shown in FIGS. 5B and 5C, the first base 50 is formed with a stepped portion for placing the second base 55 and the reflecting member 70. The step portion forms a space area between the bottom of the first base 50 and the reflecting member 70 (second base 55), and an urging portion 53 described later is provided using the space area. It has been.

さらに、図4及び図5に示すように、第1基台50は、第1突出部51aの近傍に形成された複数の第1切り欠き部51bと、第2突出部52aの近傍に形成された複数の第2切り欠き部52bとを有する。本実施の形態において、第1切り欠き部51bのそれぞれは、第1壁部51及び段差部に跨るようにして切り欠かれており、第1基台50の長手方向に沿ってスリット状に形成されている。同様に、第2切り欠き部52bのそれぞれは、第2壁部52及び段差部に跨るようにして切り欠かれており、第1基台50の長手方向に沿ってスリット状に形成されている。なお、第1切り欠き部51b及び第2切り欠き部52bは、段差部に形成することなく、第1壁部51及び第2壁部52のみに形成しても構わない。   Further, as shown in FIGS. 4 and 5, the first base 50 is formed in the vicinity of the plurality of first cutout portions 51b formed in the vicinity of the first protruding portion 51a and the second protruding portion 52a. And a plurality of second cutout portions 52b. In the present embodiment, each of the first cutout portions 51 b is cut out so as to straddle the first wall portion 51 and the stepped portion, and is formed in a slit shape along the longitudinal direction of the first base 50. Has been. Similarly, each of the second cutout portions 52 b is cut out so as to straddle the second wall portion 52 and the stepped portion, and is formed in a slit shape along the longitudinal direction of the first base 50. . The first cutout portion 51b and the second cutout portion 52b may be formed only in the first wall portion 51 and the second wall portion 52 without being formed in the stepped portion.

このように、第1突出部51a及び第2突出部52aの近傍に第1切り欠き部51b及び第2切り欠き部52bを設けることにより、基板11を第1基台50に固定する際、第1突出部51a及び第2突出部52aの周辺部を容易に弾性変形させることができる。これにより、基板11を第1基台50の第1突出部51a及び第2突出部52aに容易に嵌め込むことができ、基板11を容易に第1基台50に固定することができる。   As described above, when the first notch 51 b and the second notch 52 b are provided in the vicinity of the first protrusion 51 a and the second protrusion 52 a, when the substrate 11 is fixed to the first base 50, The peripheral portions of the first protrusion 51a and the second protrusion 52a can be easily elastically deformed. Thereby, the board | substrate 11 can be easily engage | inserted in the 1st protrusion part 51a and the 2nd protrusion part 52a of the 1st base 50, and the board | substrate 11 can be fixed to the 1st base 50 easily.

また、基板11は、第1切り欠き部51b(又は第2切り欠き部52b)と第1突出部51a(又は第2突出部52a)との間に配置されることが好ましい。以下、この点について説明する。   Moreover, it is preferable that the board | substrate 11 is arrange | positioned between the 1st notch part 51b (or 2nd notch part 52b) and the 1st protrusion part 51a (or 2nd protrusion part 52a). Hereinafter, this point will be described.

第1切り欠き部51b(又は第2切り欠き部52b)を形成することによって、めっき塗装が存在せず鋼板の下地金属が露出する状態となった切り欠き端縁が形成され、当該切り欠き端縁付近の耐電圧性が低下する。これにより、第1基台50に帯電した電荷が切り欠き端縁付近からLEDモジュール10に向かって放電しやすくなり、切り欠き端縁付近のLED素子12が損傷してしまうという可能性が高くなる。   By forming the first cutout portion 51b (or the second cutout portion 52b), a cutout edge is formed in which there is no plating coating and the base metal of the steel plate is exposed, and the cutout end The withstand voltage in the vicinity of the edge decreases. As a result, the electric charge charged on the first base 50 is likely to be discharged from the vicinity of the notched edge toward the LED module 10, and the possibility that the LED element 12 near the notched edge will be damaged increases. .

これに対して、本実施の形態のように、第1基台50の段差部を設けて第1切り欠き部51b(又は第2切り欠き部52b)と第1突出部51a(又は第2突出部52a)との間に基板11を配置することにより、第1切り欠き部51b(又は第2切り欠き部52b)を、基板11の第1面11aよりも第2面11b側(第1基台50の底部側)に位置させることができる。これにより、切り欠き端縁付近の耐電圧性を向上させることができるので、上記のようにLED素子12が損傷することを抑制できる。   On the other hand, as in the present embodiment, a stepped portion of the first base 50 is provided, and the first notch 51b (or second notch 52b) and the first protrusion 51a (or second protrusion). The first notch 51b (or the second notch 52b) is placed on the second surface 11b side (first base) with respect to the first surface 11a of the substrate 11 by disposing the substrate 11 between the substrate 52 and the portion 52a). It can be located on the bottom side of the base 50). Thereby, since the withstand voltage property of the notch edge vicinity can be improved, it can suppress that the LED element 12 is damaged as mentioned above.

さらに、このように、第1切り欠き部51b(又は第2切り欠き部52b)を、基板11の第1面11aよりも第2面11b側に位置させることにより、第1切り欠き部51b(又は第2切り欠き部52b)からLEDモジュール10の光が漏れてしまうことを抑制することもできる。これにより、第1切り欠き部51b(又は第2切り欠き部52b)からの光漏れによるランプの配光特性の悪化を抑制することができる。   Further, the first notch 51b (or the second notch 52b) is positioned closer to the second surface 11b than the first surface 11a of the substrate 11 in this manner. Or it can also suppress that the light of the LED module 10 leaks from the 2nd notch part 52b). Thereby, deterioration of the light distribution characteristic of the lamp due to light leakage from the first notch 51b (or the second notch 52b) can be suppressed.

なお、本実施の形態において、基板11の端部を押さえる第1突出部51aに対応する箇所には、第1切り欠き部51bが形成されていない。これは、基板11の端部に設けられた第1突出部51aの周辺の機械的強度を強くするためである。これにより、基板11の端部が大きく反ってしまうような場合であっても、第1突出部51aによって基板11の端部の反りを抑制することができる。   In the present embodiment, the first notch 51b is not formed at a location corresponding to the first protrusion 51a that holds the end of the substrate 11. This is to increase the mechanical strength around the first protrusion 51 a provided at the end of the substrate 11. Thereby, even if it is a case where the edge part of the board | substrate 11 warps largely, the curvature of the edge part of the board | substrate 11 can be suppressed by the 1st protrusion part 51a.

また、図5の(a)に示すように、第1基台50の底部には付勢部53が形成されている。付勢部53は、LEDモジュール10における基板11の第2面11bに向かって(すなわち、基板11の第2面11bから第1面11aに向かう方向に)、第1基台50、第2基台55及び反射部材70を付勢するように構成されている。   Further, as shown in FIG. 5A, an urging portion 53 is formed at the bottom of the first base 50. The urging portion 53 is directed toward the second surface 11b of the substrate 11 in the LED module 10 (that is, in the direction from the second surface 11b of the substrate 11 toward the first surface 11a), the first base 50, the second base. The base 55 and the reflection member 70 are configured to be biased.

本実施の形態において、付勢部53は、第1基台50を構成する金属板の一部を加工することによって形成されており、図5の(a)に示すように、第1基台50の板状の底板部を切り起こして形成された板バネとして構成されている。このように構成された付勢部53は、反射部材70に当接するように構成されており、板バネの弾性力による付勢によって反射部材70(第2基台55)に対して押圧を付与している。なお、図4に示すように、付勢部53は8個形成されており、1つのLEDモジュール10に対して4つの付勢部53が設けられている。   In the present embodiment, the urging portion 53 is formed by processing a part of the metal plate constituting the first base 50, and as shown in FIG. 5 (a), the first base It is configured as a leaf spring formed by cutting and raising 50 plate-like bottom plate portions. The urging portion 53 configured in this manner is configured to abut against the reflecting member 70 and applies a pressure to the reflecting member 70 (second base 55) by urging by the elastic force of the leaf spring. doing. As shown in FIG. 4, eight urging portions 53 are formed, and four urging portions 53 are provided for one LED module 10.

このように、LEDモジュール10の基板11は付勢部53によって付勢されており、当該付勢部53による弾性力によって押圧が付与されている。これにより、基板11は、第1突出部51a及び第2突出部52aと付勢部53とによって押圧を受けた状態で挟持される。すなわち、基板11は、第1面11a及び第2面11bの両側の面から押さえられる状態となるので、基板11を第1基台50に強固に保持させることができる。また、付勢部53は第1基台50の一部を加工することによって形成されているので、簡単な構成によって基板11の保持性能を向上させることができる。   As described above, the substrate 11 of the LED module 10 is urged by the urging unit 53, and the pressure is applied by the elastic force of the urging unit 53. Thereby, the board | substrate 11 is clamped in the state which received the press by the 1st protrusion part 51a, the 2nd protrusion part 52a, and the urging | biasing part 53. As shown in FIG. That is, since the substrate 11 is pressed from both sides of the first surface 11a and the second surface 11b, the substrate 11 can be firmly held on the first base 50. Further, since the urging portion 53 is formed by processing a part of the first base 50, the holding performance of the substrate 11 can be improved with a simple configuration.

また、図4に示すように、第1基台50の底部には開口54が形成されており、当該開口54には、図5の(a)に示すように、取り付け部材80が取り付けられている。なお、図4に示すように、開口54は2箇所形成されており、1つのLEDモジュール10に対して1つの開口54が対応している。   As shown in FIG. 4, an opening 54 is formed at the bottom of the first base 50, and an attachment member 80 is attached to the opening 54 as shown in FIG. Yes. As shown in FIG. 4, two openings 54 are formed, and one opening 54 corresponds to one LED module 10.

また、図5の(a)〜(c)に示すように、LEDモジュール10と第1基台50との間には、第2基台55が配置されている。第2基台55は、長尺状の基板からなり、第1基台50とLEDモジュール10の基板11との間に配置される中板ヒートシンクである。第2基台55の上にはLEDモジュール10(基板11)が載置される。すなわち、第2基台55とLEDモジュール10の金属膜14とが接触した状態で、LEDモジュール10は第2基台55に配置される。これにより、LED素子12で発生した熱は、基板11を介して金属膜14に伝達され、金属膜14から第2基台55へと伝達する。なお、本実施の形態において、第2基台55には、2つのLEDモジュール10が載置される。また、第2基台55には、LEDモジュール10の他に点灯回路90も載置される。   Further, as shown in FIGS. 5A to 5C, a second base 55 is disposed between the LED module 10 and the first base 50. The second base 55 is an intermediate plate heat sink that is made of a long substrate and is disposed between the first base 50 and the substrate 11 of the LED module 10. On the second base 55, the LED module 10 (substrate 11) is placed. That is, the LED module 10 is disposed on the second base 55 in a state where the second base 55 and the metal film 14 of the LED module 10 are in contact with each other. Thereby, the heat generated in the LED element 12 is transmitted to the metal film 14 via the substrate 11, and is transmitted from the metal film 14 to the second base 55. In the present embodiment, two LED modules 10 are mounted on the second base 55. In addition to the LED module 10, a lighting circuit 90 is also placed on the second base 55.

第2基台55は、金属等の高熱伝導性材料によって構成することが好ましく、本実施の形態では、熱伝導率が237[W/m・K]であるアルミニウムによって構成されたアルミ板を用いた。なお、本実施の形態では、第2基台55の板厚が第1基台50の板厚よりも厚くなるように構成されている。また、第2基台55は、第1基台50の長さよりも長くなるように構成されており、第2基台55の両端部のそれぞれは、給電用口金30又はアース用口金40によって覆われており、給電用口金30又はアース用口金40に取り付けられている。   The second base 55 is preferably made of a high thermal conductivity material such as metal. In this embodiment, an aluminum plate made of aluminum having a thermal conductivity of 237 [W / m · K] is used. It was. In the present embodiment, the thickness of the second base 55 is configured to be greater than the thickness of the first base 50. Further, the second base 55 is configured to be longer than the length of the first base 50, and both ends of the second base 55 are covered with the power supply base 30 or the ground base 40. It is attached to the feeding base 30 or the grounding base 40.

また、第2基台55は、LEDモジュール10と第1基台50との間に挟まれており、LEDモジュール10を第1基台50に固定することによって、第2基台55も第1基台50に固定することができる。このように、本実施の形態では、ヒートシンクとして、加工しやすい薄板状の鋼板からなる第1基台50を用いるともに熱伝導率の高いアルミニウムからなる第2基台55とを用いることにより、LEDモジュール10の固定を簡単に行うことができるとともに放熱性に優れたヒートシンクを実現することができる。   The second base 55 is sandwiched between the LED module 10 and the first base 50. By fixing the LED module 10 to the first base 50, the second base 55 is also first. It can be fixed to the base 50. As described above, in the present embodiment, as the heat sink, the first base 50 made of a thin steel plate that can be easily processed is used, and the second base 55 made of aluminum having a high thermal conductivity is used. The module 10 can be easily fixed and a heat sink excellent in heat dissipation can be realized.

また、第2基台55は、反射部材70を介して第1基台50の段差部に載置されており、第2基台55の第1基台50側の面(裏面)は、上述のように、反射部材70を介して第1基台50における付勢部53の弾性力によって付勢されている。   Further, the second base 55 is placed on the step portion of the first base 50 via the reflecting member 70, and the surface (back surface) of the second base 55 on the first base 50 side is the above-mentioned. As described above, it is biased by the elastic force of the biasing portion 53 in the first base 50 via the reflecting member 70.

[コネクタ]
コネクタ60は、隣り合うLEDモジュール10同士を電気的に接続する導電線であり、LEDモジュール10の電極端子15に装着される装着部(コネクタ部)61と、電極端子15を介してLEDモジュール10に供給する電力を通すための電力供給線62とを有する。
[connector]
The connector 60 is a conductive wire that electrically connects adjacent LED modules 10, and a mounting portion (connector portion) 61 that is attached to the electrode terminal 15 of the LED module 10 and the LED module 10 via the electrode terminal 15. And a power supply line 62 for passing power supplied to the power supply.

装着部61は、電力供給線62の両端部に設けられており、LEDモジュール10の電極端子(ソケット)15と嵌合するように構成された略矩形状の樹脂成形部と、当該樹脂成形部に設けられた導電部とからなる。また、電力供給線62は、ハーネスと呼ばれるリード線によって構成することができる。本実施の形態において、コネクタ60は直流電力を通すように構成されており、電力供給線62は、高圧側供給線と低圧側供給線とからなる。   The mounting portion 61 is provided at both ends of the power supply line 62, and has a substantially rectangular resin molded portion configured to be fitted to the electrode terminal (socket) 15 of the LED module 10, and the resin molded portion. And a conductive portion provided on the surface. Further, the power supply line 62 can be configured by a lead wire called a harness. In the present embodiment, the connector 60 is configured to pass DC power, and the power supply line 62 includes a high voltage side supply line and a low voltage side supply line.

なお、本実施の形態において、筐体20内には2つの長尺状のLEDモジュール10が配置されている。給電用口金30側に配置されたLEDモジュール10と点灯回路90とはコネクタ60によって電気的に接続されており、当該コネクタ60を介して点灯回路90からLEDモジュール10へと直流電力が供給される。また、図6Bに示すように、隣り合うLEDモジュール10同士もコネクタ60によって電気的に接続され、コネクタ60を介して一方のLEDモジュール10から他方のLEDモジュールへと電力が供給される。   In the present embodiment, two long LED modules 10 are arranged in the housing 20. The LED module 10 disposed on the power supply base 30 side and the lighting circuit 90 are electrically connected by a connector 60, and DC power is supplied from the lighting circuit 90 to the LED module 10 via the connector 60. . As shown in FIG. 6B, adjacent LED modules 10 are also electrically connected by a connector 60, and power is supplied from one LED module 10 to the other LED module via the connector 60.

[反射部材]
図2に示すように、反射部材70は、ランプの光取り出し効率を向上させるために、LEDモジュール10が発する光を一定の方向に反射するように構成されている。反射部材70は、電気絶縁性及び光反射性を有する材料によって構成されており、例えば、二軸延伸ポリエステル(PET)フィルム等からなる絶縁反射シートを加工することによって構成することができる。
[Reflection member]
As shown in FIG. 2, the reflecting member 70 is configured to reflect light emitted from the LED module 10 in a certain direction in order to improve the light extraction efficiency of the lamp. The reflecting member 70 is made of a material having electrical insulating properties and light reflecting properties. For example, the reflecting member 70 can be made by processing an insulating reflecting sheet made of a biaxially stretched polyester (PET) film or the like.

本実施の形態において、反射部材70は、断面コの字状に加工されており、第1基台50における第1壁部51の内面と面接触する第1反射面部と、第2壁部52の内面に面接触する第2反射面部とを有する。これにより、LEDモジュール10からの光は、反射部材70の第1反射面部及び第2反射面部によって反射される。なお、反射部材70における第1基台50の第1突出部51a及び第2突出部52aに対応する箇所は切り欠かれており、反射部材70を第1基台50の内部に配置したときに、第1突出部51a及び第2突出部52aは反射部材70の第1反射面部及び第2反射部から突出するように構成されている。   In the present embodiment, the reflecting member 70 is processed to have a U-shaped cross section, and a first reflecting surface portion that is in surface contact with the inner surface of the first wall portion 51 in the first base 50 and a second wall portion 52. And a second reflecting surface portion that is in surface contact with the inner surface. Thereby, the light from the LED module 10 is reflected by the first reflection surface portion and the second reflection surface portion of the reflection member 70. In addition, when the reflective member 70 is arrange | positioned inside the 1st base 50, the location corresponding to the 1st protrusion part 51a and the 2nd protrusion part 52a of the 1st base 50 in the reflection member 70 is notched. The first protruding portion 51a and the second protruding portion 52a are configured to protrude from the first reflecting surface portion and the second reflecting portion of the reflecting member 70.

また、反射部材70は、第1基台50と第2基台55との間に配置される。具体的に、反射部材70は、第1基台50の段差部に載置されており、反射部材70の第1基台50側の面は第1基台50の付勢部53の弾性力によって付勢されている。   In addition, the reflecting member 70 is disposed between the first base 50 and the second base 55. Specifically, the reflecting member 70 is placed on the stepped portion of the first base 50, and the surface of the reflecting member 70 on the first base 50 side is the elastic force of the biasing portion 53 of the first base 50. Is energized by.

[取り付け部材]
図5の(a)に示すように、第1基台50の底部には形成された開口には、取り付け部材80が取り付けられている。取り付け部材80は、第1基台50が第1基台50の長手方向に対して可動する状態で第1基台50に取り付けられている。
[Mounting member]
As shown in FIG. 5A, an attachment member 80 is attached to an opening formed at the bottom of the first base 50. The attachment member 80 is attached to the first base 50 in a state where the first base 50 is movable with respect to the longitudinal direction of the first base 50.

取り付け部材80は、第1基台50の底部に形成された開口54に掛合する掛合片81と、筐体20の内面側に形成された凹部82とを有する。   The attachment member 80 includes a hook piece 81 that engages with an opening 54 formed at the bottom of the first base 50 and a recess 82 formed on the inner surface side of the housing 20.

掛合片81は、第1基台50の長手方向において、第1基台50の底部における開口54の縁部とは隙間をあけて形成されるとともに、当該開口54の縁部に掛合するようにして構成されている。具体的に、掛合片81は、第1基台50の底部の筐体20側の面に引っ掛かるようにしてフック状に形成されている。また、取り付け部材80の凹部82にはシリコーン樹脂等の接着剤が充填されており、この接着剤によって取り付け部材80と筐体20とが接着固定される。   The hooking piece 81 is formed with a gap from the edge of the opening 54 at the bottom of the first base 50 in the longitudinal direction of the first base 50, and engages with the edge of the opening 54. Configured. Specifically, the hooking piece 81 is formed in a hook shape so as to be hooked on the surface of the bottom of the first base 50 on the side of the housing 20. The concave portion 82 of the attachment member 80 is filled with an adhesive such as silicone resin, and the attachment member 80 and the housing 20 are bonded and fixed by this adhesive.

このように、取り付け部材80は、筐体20に対しては接着固定されているが、第1基台50に対しては可動であり、取り付け部材80は第1基台50に対して摺動するように構成されている。本実施の形態では、取り付け部材80の掛合片81と第1基台50とが摺動するように構成されている。なお、取り付け部材80は、第1基台50の一部に取り付けられており、本実施の形態では、第1基台50に2個取り付けられている。   As described above, the attachment member 80 is bonded and fixed to the housing 20, but is movable with respect to the first base 50, and the attachment member 80 slides with respect to the first base 50. Is configured to do. In the present embodiment, the engaging piece 81 of the attachment member 80 and the first base 50 are configured to slide. The attachment members 80 are attached to a part of the first base 50, and two attachment members 80 are attached to the first base 50 in the present embodiment.

[点灯回路]
点灯回路90は、LEDモジュール10におけるLED素子12の点灯状態を制御するためのLED点灯回路(LED制御回路)であって、入力された直流電力を整流等してLED素子12に通電するための所望の電圧を出力する回路を備える。図2に示すように、本実施の形態において、点灯回路90は、回路基板90aと、回路基板90aに実装された複数の回路素子からなる回路素子群90bとを備える。
[Lighting circuit]
The lighting circuit 90 is an LED lighting circuit (LED control circuit) for controlling the lighting state of the LED element 12 in the LED module 10, and is used for energizing the LED element 12 by rectifying input DC power. A circuit for outputting a desired voltage is provided. As shown in FIG. 2, in the present embodiment, the lighting circuit 90 includes a circuit board 90a and a circuit element group 90b composed of a plurality of circuit elements mounted on the circuit board 90a.

回路基板90aは、実装された電子部品を互いに配線するための所定の配線パターン(不図示)が形成されたプリント基板であり、例えばガラスエポキシ基板等を用いることができる。   The circuit board 90a is a printed board on which a predetermined wiring pattern (not shown) for wiring the mounted electronic components is formed. For example, a glass epoxy board or the like can be used.

回路素子群90bは、LEDモジュール10のLED素子12を点灯させるための複数の回路素子によって構成される。回路素子群90bは、例えば入力された交流電力を全波整流するダイオードブリッジ回路(整流回路)及びヒューズ素子等によって構成される。回路素子群90bとしては、その他必要に応じて、抵抗、コンデンサ、コイル、ダイオード又はトランジスタ等を用いてもよい。   The circuit element group 90b is configured by a plurality of circuit elements for lighting the LED elements 12 of the LED module 10. The circuit element group 90b includes, for example, a diode bridge circuit (rectifier circuit) that rectifies the input AC power in full wave, a fuse element, and the like. As the circuit element group 90b, a resistor, a capacitor, a coil, a diode, a transistor, or the like may be used as necessary.

また、点灯回路90は、給電用口金30に設けられた一対の給電ピン32から直流電力を受電する入力ソケット90c(入力部)と、LEDモジュール10に対して直流電力を出力する出力ソケット90d(出力部)とを備える。入力ソケット90cは、リード線を介して一対の給電ピン32と電気的に接続された入力コネクタ端子が差し込まれる。また、出力ソケット90dには、リード線を介してLEDモジュール10と電気的に接続された出力コネクタ端子が差し込まれる。なお、入力ソケット90c及び出力ソケット90dとは、回路基板90aに形成された配線パターンによって回路素子群90bの回路素子と電気的に接続されている。   The lighting circuit 90 includes an input socket 90c (input unit) that receives DC power from a pair of power supply pins 32 provided on the power supply cap 30, and an output socket 90d (output unit) that outputs DC power to the LED module 10. Output section). An input connector terminal electrically connected to the pair of power supply pins 32 is inserted into the input socket 90c through lead wires. Further, an output connector terminal electrically connected to the LED module 10 is inserted into the output socket 90d through a lead wire. The input socket 90c and the output socket 90d are electrically connected to the circuit elements of the circuit element group 90b by a wiring pattern formed on the circuit board 90a.

このように構成される点灯回路90は、第2基台55上に載置され、点灯回路カバー91によって覆われる。点灯回路カバー91は絶縁樹脂によって構成されており、点灯回路90を保護する。   The lighting circuit 90 configured as described above is placed on the second base 55 and covered with the lighting circuit cover 91. The lighting circuit cover 91 is made of an insulating resin and protects the lighting circuit 90.

以上のように構成される直管形LEDランプ1において、LEDモジュール10、第1基台50、第2基台55、コネクタ60、反射部材70、取り付け部材80、点灯回路90、点灯回路カバー91、給電ピン32及びアースピン42は、長尺状の光源モジュールとして一体化される。すなわち、各構成部材が一体化された光源モジュールは、各構成部材同士の電気的及び物理的な接続が完了した状態である。そして、この光源モジュールを筐体20に挿通させた後に、給電用口金本体31及びアース用口金本体41を筐体20の両端部のそれぞれに取り付けることにより、直管形LEDランプ1が完成する。   In the straight tube type LED lamp 1 configured as described above, the LED module 10, the first base 50, the second base 55, the connector 60, the reflecting member 70, the mounting member 80, the lighting circuit 90, and the lighting circuit cover 91. The power supply pin 32 and the ground pin 42 are integrated as a long light source module. That is, the light source module in which the constituent members are integrated is in a state where the electrical and physical connection between the constituent members is completed. Then, after the light source module is inserted into the housing 20, the power supply base body 31 and the ground base body 41 are attached to both ends of the housing 20, thereby completing the straight tube LED lamp 1.

次に、本発明の実施の形態に係る直管形LEDランプ1の製造方法について説明する。まず、本実施の形態に係る直管形LEDランプ1における光源モジュールの組み立て方法について、図7を用いて説明する。図7は、本発明の実施の形態に係る直管形LEDランプにおける光源モジュールの組み立て工程を示す図であり、(a)は、図5の(a)のA−A’線における断面図に対応する図であり、(b)は、図5の(a)のB−B’線における断面図に対応する図である。   Next, the manufacturing method of the straight tube | pipe type LED lamp 1 which concerns on embodiment of this invention is demonstrated. First, a method for assembling a light source module in the straight tube LED lamp 1 according to the present embodiment will be described with reference to FIG. FIG. 7 is a diagram showing an assembly process of the light source module in the straight tube LED lamp according to the embodiment of the present invention, and (a) is a cross-sectional view taken along the line AA ′ of FIG. It is a corresponding figure, (b) is a figure corresponding to sectional drawing in the BB 'line of (a) of FIG.

まず、図7(A)の(a)及び(b)に示すように、第1基台50に取り付け部材80を取り付ける。その後、図7(B)の(a)及び(b)に示すように、第1基台50の内側に反射部材70を配置する。その後、図7(C)の(a)及び(b)に示すように、反射部材70の底に第2基台55を配置する。なお、図7(B)及び図7(C)では、付勢部53を付勢するようにして反射部材70及び第2基台55を配置しているが、反射部材70及び第2基台55を配置する際、付勢部53を付勢しないようにしても構わない。   First, the attachment member 80 is attached to the first base 50 as shown in FIGS. Thereafter, as shown in FIGS. 7A and 7B, the reflecting member 70 is disposed inside the first base 50. Thereafter, as shown in FIGS. 7A and 7B, the second base 55 is disposed on the bottom of the reflecting member 70. 7B and 7C, the reflecting member 70 and the second base 55 are arranged so as to bias the biasing portion 53. However, the reflecting member 70 and the second base 55 are arranged. When arranging 55, the urging portion 53 may not be urged.

次に、第1基台50にLEDモジュール10を配置する。このとき、図7(D)の(a)及び(b)に示すように、LEDモジュール10の基板11の幅方向の一方の端部を第2基台55に押し当てて、第1基台50の第1突出部51aと第2基台55の主面との間に当該一方の端部が入り込むように、図中の矢印に示す方向に、基板11の当該一方の端部を押し込む。このとき、付勢部53を弾性変形させるように基板11を押し込む。   Next, the LED module 10 is arranged on the first base 50. At this time, as shown to (a) and (b) of FIG.7 (D), one edge part of the width direction of the board | substrate 11 of the LED module 10 is pressed against the 2nd base 55, and a 1st base The one end portion of the substrate 11 is pushed in the direction indicated by the arrow in the drawing so that the one end portion enters between the first projecting portion 51 a of 50 and the main surface of the second base 55. At this time, the substrate 11 is pushed so that the urging portion 53 is elastically deformed.

続けて、図7(E)の(a)及び(b)に示すように、基板11の幅方向の他方の端部を第2突出部52aの上から図中の矢印に示す方向に押し込んで、第2突出部52aを外側に押し広げるようにして基板11の当該他方の端を第2突出部52aと第2基台55との間に挿入させる。このとき、第1基台50に付勢部53が設けられているので、当該他方の端部は、第2突出部52aと第2基台55との間に挿入すると同時に、付勢部53による下からの押圧によって基板11は第2突出部52aに当接させられる。   Subsequently, as shown in (a) and (b) of FIG. 7 (E), the other end in the width direction of the substrate 11 is pushed in from the top of the second protrusion 52a in the direction indicated by the arrow in the drawing. Then, the other end of the substrate 11 is inserted between the second projecting portion 52 a and the second base 55 so as to spread the second projecting portion 52 a outward. At this time, since the urging portion 53 is provided on the first base 50, the other end is inserted between the second projecting portion 52a and the second base 55, and at the same time, the urging portion 53 is inserted. The substrate 11 is brought into contact with the second projecting portion 52a by pressing from below.

これにより、図7(F)の(a)及び(b)に示すように、LEDモジュール10の基板11の両端部を、第1突出部51a及び第2突出部52aと第2基台55との間に挟み込むことができる。   Thereby, as shown to (a) and (b) of FIG.7 (F), the both ends of the board | substrate 11 of the LED module 10 are made into the 1st protrusion part 51a, the 2nd protrusion part 52a, and the 2nd base 55. Can be sandwiched between.

また、本実施の形態では、第1突出部51a及び第2突出部52aの周辺に第1切り欠き部51b及び第2切り欠き部52bが設けられているので、第1突出部51a及び第2突出部52aを容易に弾性変形させることができる。これにより、基板11の両端部を、第1突出部51a又は第2突出部52aと第2基台55との間に容易に挿入することができる。   In the present embodiment, since the first notch 51b and the second notch 52b are provided around the first protrusion 51a and the second protrusion 52a, the first protrusion 51a and the second notch 52b are provided. The protrusion 52a can be easily elastically deformed. Thereby, the both ends of the board | substrate 11 can be easily inserted between the 1st protrusion part 51a or the 2nd protrusion part 52a, and the 2nd base 55. FIG.

なお、この後、第2基台55上に点灯回路90を配置し、コネクタ60によってLEDモジュール10同士とLEDモジュール10及び点灯回路90との電気的接続を行うとともに、給電ピン32と点灯回路90との電気的接続を行う。その後、点灯回路90を覆うように点灯回路カバー91を第1基台50に取り付ける。これにより、光源モジュールを組み立てることができる。   After this, the lighting circuit 90 is disposed on the second base 55, and the LED modules 10 and the LED module 10 and the lighting circuit 90 are electrically connected by the connector 60, and the power supply pin 32 and the lighting circuit 90 are connected. Make electrical connection with Thereafter, the lighting circuit cover 91 is attached to the first base 50 so as to cover the lighting circuit 90. Thereby, a light source module can be assembled.

その後、光源モジュールを筐体20に挿通させた後に、給電用口金30及びアース用口金40を筐体20の両端部のそれぞれに取り付ける。ここで、給電用口金30及びアース用口金40周辺における詳細構成について、図8及び図9を用いて説明する。   Thereafter, after the light source module is inserted into the housing 20, the power supply cap 30 and the grounding cap 40 are attached to both ends of the housing 20. Here, a detailed configuration around the power supply base 30 and the ground base 40 will be described with reference to FIGS. 8 and 9.

ここで、図8は、本発明の実施の形態に係る直管形LEDランプにおける給電用口金周辺の構成を示す斜視図であり、(a)は、第2基台と給電用口金との取り付け状態を分かりやすくするために、点灯回路、点灯回路カバー及び筐体等を省略した図であり、(b)は、点灯回路、点灯回路カバー及び筐体を示した図である。   Here, FIG. 8 is a perspective view showing a configuration around the power supply base in the straight tube LED lamp according to the embodiment of the present invention, and (a) is an attachment of the second base and the power supply base. In order to make the state easy to understand, the lighting circuit, the lighting circuit cover, and the housing are omitted, and (b) is a diagram showing the lighting circuit, the lighting circuit cover, and the housing.

また、図9は、本発明の実施の形態に係る直管形LEDランプにおけるアース用口金周辺の構成を示す斜視図であり、(a)は、第1アース用口金本体部と第2アース用口金本体部とを固定する前の状態を示す図であり、(b)は、第1アース用口金本体部と第2アース用口金本体部とを固定した後の状態を示す図である。なお、図9(b)において、筐体は省略されている。   FIG. 9 is a perspective view showing the configuration around the grounding base in the straight tube LED lamp according to the embodiment of the present invention. FIG. 9A shows the first grounding base body and the second grounding body. It is a figure which shows the state before fixing a base body part, (b) is a figure which shows the state after fixing a base body part for 1st earth | ground and a base body part for 2nd earth | ground. In FIG. 9B, the housing is omitted.

図8の(a)に示すように、本実施の形態では、第2基台55は、第2基台55の長手方向における給電用口金30側の端部が給電用口金30に対して可動端となるように給電用口金30に取り付けられている。具体的には、第2基台55における給電用口金30側の端部に孔部55aが設けられており、当該孔部55aに挿通される給電用口金30のネジ受け部33が孔部55a内で移動できるように構成されている。   As shown in FIG. 8A, in the present embodiment, the second base 55 is configured such that the end on the power supply base 30 side in the longitudinal direction of the second base 55 is movable with respect to the power supply base 30. It is attached to the power supply cap 30 so as to be at the end. Specifically, a hole 55a is provided at the end of the second base 55 on the power supply base 30 side, and the screw receiving portion 33 of the power supply base 30 inserted through the hole 55a is a hole 55a. It is configured to be able to move within.

本実施の形態では、孔部55aにおける第2基台55の長手方向(管軸方向)の開口径(長さ)は、ネジ受け部33の管軸方向の径(長さ)よりも大きくなるように構成されているとともに、孔部55aにおける第2基台55の幅方向の開口径(長さ)は、ネジ受け部33の第2基台55の幅方向の径(長さ)とほぼ同じとなるように構成されている。これにより、第2基台55を給電用口金30に対して遊動させることができる。そして、第2基台55は、上述のように取り付け部材80に対して摺動可能であるので、光源モジュールとしては、筐体20内で移動可能な状態のままで、給電用口金30とアース用口金40と筐体20とで保持される。   In the present embodiment, the opening diameter (length) in the longitudinal direction (tube axis direction) of the second base 55 in the hole 55a is larger than the diameter (length) of the screw receiving portion 33 in the tube axis direction. The opening diameter (length) in the width direction of the second base 55 in the hole 55a is substantially the same as the diameter (length) in the width direction of the second base 55 of the screw receiving portion 33. It is configured to be the same. Thereby, the 2nd base 55 can be made to move with respect to the nozzle | cap | die 30 for electric power feeding. Since the second base 55 is slidable with respect to the mounting member 80 as described above, the light source module remains movable in the housing 20 and is connected to the power supply base 30 and the ground. It is held by the base 40 and the housing 20.

これにより、第2基台55の裏面全面と筐体20とを接着剤で固定した場合と比べて、筐体20に反りが発生することを抑制することができる。   Thereby, compared with the case where the back surface whole surface of the 2nd base 55 and the housing | casing 20 are fixed with an adhesive agent, it can suppress that curvature generate | occur | produces in the housing | casing 20. FIG.

また、図9(a)及び(b)に示すように、本実施の形態では、第2基台55は、第2基台55の長手方向におけるアース用口金40側の端部がアース用口金40に対して可動端となるようにアース用口金40に取り付けられている。具体的には、第2基台55におけるアース用口金40側の端部はネジによってアース用口金40における第2アース用口金本体部41bに固定されている。さらに、第2基台55におけるアース用口金40側の端部には孔部が設けられており、当該孔部にアース用口金40のネジ受け部が挿通されることによっても第2基台55はアース用口金40に固定されている。   As shown in FIGS. 9A and 9B, in the present embodiment, the end of the second base 55 on the ground base 40 side in the longitudinal direction of the second base 55 is the ground base. 40 is attached to the grounding cap 40 so as to be movable. Specifically, the end of the second base 55 on the ground base 40 side is fixed to the second ground base body 41b of the ground base 40 with screws. Further, a hole is provided at the end of the second base 55 on the ground base 40 side, and the second base 55 is also inserted by inserting a screw receiving portion of the ground base 40 into the hole. Is fixed to the grounding cap 40.

以上のようにして、本実施の形態に係る直管形LEDランプ1を製造することができる。   As described above, the straight tube LED lamp 1 according to the present embodiment can be manufactured.

次に、本実施の形態に係る直管形LEDランプ1の作用効果について、本発明に至った経緯も含めて説明する。   Next, the operation and effect of the straight tube LED lamp 1 according to the present embodiment will be described including the background to the present invention.

LED素子12を実装する基板11としてアスペクト比の大きい長尺状の基板を用いると、基板11に反りが発生することが分かった。特に、基板11として、非セラミックス基板を用いると、基板11が大きく反ることが分かった。例えば、基板11として、本実施の形態のような、樹脂基板の両面に金属が形成された両面基板を用いると、基板11の長手方向の両端部が上方に大きく反ってしまうことが分かった。なお、基板11としてセラミックス基板を用いた場合は、同じように基板11を長尺化してもほとんど反りが発生しなかった。このように、基板11に反りが発生すると、LED素子12の位置が変動して、ランプとして所望の配光特性を得ることができなくなる。   It has been found that when a long substrate having a large aspect ratio is used as the substrate 11 on which the LED element 12 is mounted, the substrate 11 is warped. In particular, it was found that when a non-ceramic substrate is used as the substrate 11, the substrate 11 warps greatly. For example, when a double-sided substrate in which metal is formed on both sides of a resin substrate as in the present embodiment is used as the substrate 11, it has been found that both end portions in the longitudinal direction of the substrate 11 are greatly warped upward. In the case where a ceramic substrate was used as the substrate 11, even when the substrate 11 was lengthened in the same manner, almost no warping occurred. Thus, when the board | substrate 11 warps, the position of the LED element 12 will fluctuate and it will become impossible to obtain a desired light distribution characteristic as a lamp.

本願発明者らは、基板11の反りの原因を鋭意検討したところ、基板11と当該基板11の表面に形成された金属(配線等)とでは線膨張係数に差があることに起因して、ランプ点灯中の温度上昇による基板11と金属との伸び量が異なり、この結果、基板11の両端部が反ってしまうということを突き止めた。   The inventors of the present application have intensively studied the cause of warping of the substrate 11, and due to the difference in the coefficient of linear expansion between the substrate 11 and the metal (wiring, etc.) formed on the surface of the substrate 11, It has been found that the amount of elongation of the substrate 11 differs from that of the metal due to the temperature rise during lamp operation, and as a result, both ends of the substrate 11 warp.

特に、非セラミックス基板でアスペクト比が大きい場合(38.6以上の場合)に、基板11の両端部が顕著に反ってしまい、配光特性が悪化することが分かった。さらに、本実施の形態のように、一方の面に配線13が形成されるとともに他方の面に金属膜14が形成された樹脂基板である基板11を用いると、基板11の両端部が上方に反ってしまうことも分かった。   In particular, when the non-ceramic substrate has a large aspect ratio (38.6 or more), it has been found that both ends of the substrate 11 are significantly warped and the light distribution characteristics are deteriorated. Further, when the substrate 11 which is a resin substrate having the wiring 13 formed on one surface and the metal film 14 formed on the other surface is used as in the present embodiment, both ends of the substrate 11 are directed upward. I also knew it would warp.

この場合、ネジを用いて基板11とLEDモジュール10を載置する基台とを締め付け固定することが考えられる。しかしながら、ネジを用いて基板11と基台とを固定すると、部品点数が増加して製造工程が複雑化したり、振動によってネジが緩んでLEDモジュール10が基台から外れてしまったりする。   In this case, it is conceivable to fasten and fix the substrate 11 and the base on which the LED module 10 is placed using screws. However, when the board 11 and the base are fixed using screws, the number of parts increases and the manufacturing process becomes complicated, or the screws loosen due to vibration and the LED module 10 is detached from the base.

また、基板11の裏面全面に接着剤を塗布して基台に固着することも考えられる。しかしながら、接着剤を用いて基板11と基台とを固定すると、部品点数や接着剤塗布工程が増加して製造工程が煩雑化するだけでなく、ランプ点灯中の温度や振動等によって接着剤が剥がれてしまい、LEDモジュールが基台から外れてしまうこともある。   It is also conceivable to apply an adhesive to the entire back surface of the substrate 11 and fix it to the base. However, fixing the substrate 11 and the base using an adhesive not only increases the number of parts and the adhesive application process, complicating the manufacturing process, but also causes the adhesive to be affected by temperature, vibration, etc. during lamp lighting. The LED module may come off and the LED module may come off the base.

本発明は、このような新たな知見に基づいてなされたものであり、試行錯誤の結果、以下のような構成を採用することで、簡単な構成によって、フラットな状態でLEDモジュールを基台に固定し続けることができることを見出した。   The present invention has been made on the basis of such new knowledge. As a result of trial and error, the following configuration is adopted, and the LED module is based on a flat state with a simple configuration. I found that I can continue to fix.

すなわち、本実施の形態に係る直管形LEDランプ1によれば、図6A及び図6Bに示すように、基板11の両短辺に最も近い位置に設けられた一対の第1突出部51a(最端第1突出部)の各々が基板11の長手方向の端部に対応する位置に設けられている。すなわち、基板11の長手方向の一方の端部及び他方の端部には、第1突出部51aが設けられている。これにより、基板11の両端部を、一対の第1突出部51a(最端第1突出部)によって押さえることができる。この結果、ランプ点灯中の温度上昇によって基板11と金属(配線13、金属膜14)とで双方の長さの伸び量が異なったとしても、基板11の両端部が第1突出部51aによって押さえられているので、基板11の反りを抑えることができる。したがって、ランプ点灯中においてもLEDモジュール10をフラットな状態で第1基台50に固定し続けることができる。よって、所望の配光特性を有するランプを実現することができる。   That is, according to the straight tube LED lamp 1 according to the present embodiment, as shown in FIGS. 6A and 6B, a pair of first protrusions 51a ( Each of the outermost first protrusions is provided at a position corresponding to the longitudinal end of the substrate 11. That is, the 1st protrusion part 51a is provided in the one edge part of the longitudinal direction of the board | substrate 11, and the other edge part. Thereby, the both ends of the board | substrate 11 can be hold | suppressed by a pair of 1st protrusion part 51a (endmost 1st protrusion part). As a result, even if the amount of elongation of both the substrate 11 and the metal (wiring 13 and metal film 14) differs due to the temperature rise during lamp lighting, both ends of the substrate 11 are held down by the first protrusions 51a. Therefore, the warp of the substrate 11 can be suppressed. Therefore, the LED module 10 can be kept fixed to the first base 50 in a flat state even while the lamp is lit. Therefore, a lamp having desired light distribution characteristics can be realized.

また、本実施の形態において、基板11の両短辺に最も近い位置に設けられた一対の第1突出部51a(最端第1突出部)は、基板11の長手方向の両端縁からL1(長辺の長さ)×10%以下である領域(基板11の長手方向の端部領域)内に設けられていることが好ましい。このように、本願発明者らは、実験結果に基づき、基板11の短辺からL1×10%以下の位置に第1突出部51aを設けることによって、基板11の反りを抑えることができるという知見を得ることができた。   Further, in the present embodiment, the pair of first protrusions 51 a (most first protrusions) provided at positions closest to both short sides of the substrate 11 are L1 (from the both end edges in the longitudinal direction of the substrate 11 ( It is preferable to be provided in a region (longitudinal end region of the substrate 11) which is equal to or less than the length of the long side) × 10%. Thus, based on the experimental results, the inventors of the present application have found that the warpage of the substrate 11 can be suppressed by providing the first protrusion 51a at a position L1 × 10% or less from the short side of the substrate 11. Could get.

次に、本発明の実施の形態に係る照明装置2について、図10を用いて説明する。図10は、本発明の実施の形態に係る照明装置の概観斜視図である。   Next, the illuminating device 2 which concerns on embodiment of this invention is demonstrated using FIG. FIG. 10 is a schematic perspective view of the illumination device according to the embodiment of the present invention.

図10に示すように、本発明の実施の形態に係る照明装置2は、ベースライトであって、直管形LEDランプ1と照明器具100とを備える。   As shown in FIG. 10, the illuminating device 2 which concerns on embodiment of this invention is a base light, Comprising: The straight tube | pipe type LED lamp 1 and the lighting fixture 100 are provided.

直管形LEDランプ1は、上記の実施の形態に係る直管形LEDランプ1であって、照明装置2の照明用光源として用いられる。なお、本実施の形態では、図10に示すように、2本の直管形LEDランプ1を用いている。   The straight tube LED lamp 1 is the straight tube LED lamp 1 according to the above-described embodiment, and is used as a light source for illumination of the lighting device 2. In the present embodiment, as shown in FIG. 10, two straight tube LED lamps 1 are used.

照明器具100は、直管形LEDランプ1と電気的に接続され、かつ、当該直管形LEDランプ1を保持する一対のソケット110と、ソケット110が取り付けられる器具本体120とを備える。器具本体120は、例えばアルミ鋼板をプレス加工等することによって成形することができる。また、器具本体120の内面は、直管形LEDランプ1から発せられた光を所定方向(例えば、下方である)に反射させる反射面となっている。   The luminaire 100 includes a pair of sockets 110 that are electrically connected to the straight tube LED lamp 1 and holds the straight tube LED lamp 1, and a device body 120 to which the socket 110 is attached. The instrument main body 120 can be formed by, for example, pressing an aluminum steel plate. Moreover, the inner surface of the instrument main body 120 is a reflecting surface that reflects light emitted from the straight tube LED lamp 1 in a predetermined direction (for example, downward).

このように構成される照明器具100は、例えば天井等に固定具を介して装着される。なお、照明器具100には、直管形LEDランプ1の点灯を制御するための回路等が内蔵されていてもよい。また、直管形LEDランプを覆うようにカバー部材が設けられていてもよい。   The luminaire 100 configured as described above is mounted on a ceiling or the like via a fixture. The lighting fixture 100 may incorporate a circuit for controlling the lighting of the straight tube LED lamp 1 or the like. Moreover, the cover member may be provided so that a straight tube | pipe type LED lamp may be covered.

以上のように、本発明の実施の形態に係る直管形LEDランプは、照明装置等として実現することができる。   As described above, the straight tube LED lamp according to the embodiment of the present invention can be realized as an illumination device or the like.

(変形例)
次に、上記実施の形態に係る直管形LEDランプの変形例について、図面を用いて説明する。
(Modification)
Next, a modification of the straight tube LED lamp according to the above embodiment will be described with reference to the drawings.

(変形例1)
まず、本発明の実施の形態の変形例1について、図11を用いて説明する。図11は、本発明の実施の形態の変形例1に係る直管形LEDランプの要部拡大図であり、第1基台の中央部の拡大図を示している。
(Modification 1)
First, Modification 1 of the embodiment of the present invention will be described with reference to FIG. FIG. 11 is an enlarged view of a main part of a straight tube LED lamp according to the first modification of the embodiment of the present invention, and shows an enlarged view of the central part of the first base.

図11に示すように、本変形例では、基板11の短辺に最も近い位置に設けられた第1突出部51a(最端第1突出部)が、隣接するLEDモジュール10に跨るように設けられている。つまり、1つの第1突出部51aが隣接する2つの基板11の接続部分に跨がるようにして設けられており、1つの第1突出部51aが隣接する2つの基板11に共通の押さえとなっている。   As shown in FIG. 11, in the present modification, the first protrusion 51 a (the first end first protrusion) provided at the position closest to the short side of the substrate 11 is provided so as to straddle the adjacent LED modules 10. It has been. That is, one first projecting portion 51a is provided so as to straddle the connecting portion of two adjacent substrates 11, and one first projecting portion 51a is a presser common to two adjacent substrates 11. It has become.

以上、本変形例によれば、上記の実施の形態と同様の効果を奏する。さらに、本変形例によれば、1つの第1突出部51aによって2つの基板11の端部の反りを抑制することができる。   As described above, according to the present modification, the same effects as those of the above-described embodiment can be obtained. Furthermore, according to the present modification, the warpage of the end portions of the two substrates 11 can be suppressed by the single first protrusion 51a.

(変形例2)
次に、本発明の実施の形態の変形例2について、図12A及び図12Bを用いて説明する。図12A及び図12Bは、本発明の実施の形態の変形例2に係る直管形LEDランプの要部拡大図であり、それぞれ、第1基台の端部周辺の拡大図及び第1基台の中央部周辺の拡大図を示している。
(Modification 2)
Next, Modification 2 of the embodiment of the present invention will be described with reference to FIGS. 12A and 12B. 12A and 12B are enlarged views of main parts of a straight tube type LED lamp according to Modification 2 of the embodiment of the present invention, and are an enlarged view around the end of the first base and the first base, respectively. The enlarged view of the center part periphery is shown.

図12Aに示すように、本変形例では、第1基台50の両端部において、基板11の短辺に最も近い位置に設けられた第1突出部51a(最端第1突出部)及び第2突出部52a(最端第2突出部)が、基板11の長手方向の端部に設けられている。つまり、基板11の長手方向の一方の端部が、第1突出部51aだけで押さえられているのではなく、第2突出部52aによっても押さえられている。   As shown in FIG. 12A, in the present modification, the first protrusion 51a (the first end first protrusion) and the first protrusion provided at positions closest to the short side of the substrate 11 at both ends of the first base 50 are shown. Two projecting portions 52 a (the outermost second projecting portion) are provided at the end of the substrate 11 in the longitudinal direction. That is, one end in the longitudinal direction of the substrate 11 is not pressed only by the first protrusion 51a but is also pressed by the second protrusion 52a.

また、図12Bに示すように、本変形例では、第1基台50の中央部においても、基板11の短辺に最も近い位置に設けられた第1突出部51a(最端第1突出部)及び第2突出部52a(最端第2突出部)が、基板11の長手方向の端部に設けられている。つまり、隣接するLEDモジュール10(基板11)が接続される部分においても、基板11の長手方向の一方の端部が、第1突出部51aだけで押さえられているのではなく、第2突出部52aによっても押さえられている。   Also, as shown in FIG. 12B, in this modification, even in the central portion of the first base 50, the first protrusion 51a (the first end first protrusion) provided at the position closest to the short side of the substrate 11 ) And the second projecting portion 52a (the endmost second projecting portion) are provided at the end of the substrate 11 in the longitudinal direction. That is, even in a portion to which the adjacent LED module 10 (substrate 11) is connected, one end portion in the longitudinal direction of the substrate 11 is not pressed only by the first protrusion 51a, but the second protrusion It is pressed by 52a.

以上、本変形例によれば、第1突出部51a及び第2突出部52aの2つの突出部によって基板11の短辺側の端部を押さえることができるので、上記の実施の形態に対して、基板11の端部の反りを一層抑制することができる。   As described above, according to the present modification, the end on the short side of the substrate 11 can be pressed by the two protrusions of the first protrusion 51a and the second protrusion 52a. Further, warping of the end portion of the substrate 11 can be further suppressed.

なお、本変形例において、第1突出部51a及び第2突出部52aは対向する位置に設けているが、これに限らない。   In the present modification, the first projecting portion 51a and the second projecting portion 52a are provided at opposing positions, but the present invention is not limited to this.

(変形例3)
次に、本発明の実施の形態の変形例3について、図13A及び図13Bを用いて説明する。図13A及び図13Bは、本発明の実施の形態の変形例3に係る直管形LEDランプの要部拡大図であり、それぞれ、第1基台の端部周辺の拡大図及び第1基台の中央部周辺の拡大図を示している。なお、図13A及び図13Bでは、LEDモジュール10(基板11)を透過して見た図である。
(Modification 3)
Next, a third modification of the embodiment of the present invention will be described with reference to FIGS. 13A and 13B. FIGS. 13A and 13B are enlarged views of main parts of a straight tube LED lamp according to a third modification of the embodiment of the present invention, and are an enlarged view around the end of the first base and the first base, respectively. The enlarged view of the center part periphery is shown. 13A and 13B are views seen through the LED module 10 (substrate 11).

図13Aに示すように、本変形例では、第1基台50の短辺側の両端部において、基板11の端部に対応する位置に設けられた第1突出部51a(最端第1突出部)の近傍にも第1切り欠き部51bが形成されている。   As shown in FIG. 13A, in the present modification, the first protrusion 51a (the first end first protrusion) provided at a position corresponding to the end of the substrate 11 at both ends on the short side of the first base 50 is provided. The first notch 51b is also formed near the portion.

また、図13Bに示すように、本変形例では、第1基台50の中央部においても、基板11の端部に対応する位置に設けられた第1突出部51a(最端第1突出部)の近傍にも第1切り欠き部51bが形成されている。   Further, as shown in FIG. 13B, in the present modification, the first projecting portion 51a (the first end projecting portion at the extreme end) provided at the position corresponding to the end portion of the substrate 11 also in the central portion of the first base 50. ) Is also formed in the vicinity of the first notch 51b.

以上、本変形例によれば、上記の実施の形態と同様の効果を奏する。さらに、本変形例によれば、基板11の端部に対応する位置に設けられた第1突出部51aの近傍に第1切り欠き部51bが設けられているので、基板11を第1基台50に固定する際、第1突出部51aの周辺部を容易に弾性変形させることができる。これにより、基板11を第1基台50の第1突出部51aに容易に嵌め込むことができるので、基板11を容易に第1基台50に固定することができる。   As described above, according to the present modification, the same effects as those of the above-described embodiment can be obtained. Furthermore, according to this modification, since the first notch 51b is provided in the vicinity of the first protrusion 51a provided at the position corresponding to the end of the substrate 11, the substrate 11 is attached to the first base. When fixing to 50, the peripheral part of the 1st protrusion part 51a can be easily elastically deformed. Thereby, since the board | substrate 11 can be easily engage | inserted in the 1st protrusion part 51a of the 1st base 50, the board | substrate 11 can be fixed to the 1st base 50 easily.

なお、本変形例は、変形例1、2にも適用することができる。   This modification can also be applied to Modifications 1 and 2.

(その他)
以上、本発明に係るランプ及び照明装置について、実施の形態及び変形例に基づいて説明したが、本発明は、上記の実施の形態及び変形例に限定されるものではない。
(Other)
As described above, the lamp and the lighting device according to the present invention have been described based on the embodiment and the modification. However, the present invention is not limited to the above embodiment and the modification.

例えば、上記の実施の形態では、第1突出部51aを基板11の端部に設ける場合について説明したが、第2突出部52aのみを基板11の端部に設けても構わない。また、1つの基板11の長手方向の一方の端部を第1突出部51aで押さえ、他方の端部を第2突出部52aで押さえるように構成しても構わない。   For example, in the above embodiment, the case where the first protrusion 51 a is provided at the end of the substrate 11 has been described, but only the second protrusion 52 a may be provided at the end of the substrate 11. Moreover, you may comprise so that the one edge part of the longitudinal direction of the one board | substrate 11 may be hold | suppressed by the 1st protrusion part 51a, and the other edge part may be pressed by the 2nd protrusion part 52a.

また、上記の実施の形態において、第1突出部51a及び第2突出部52aの突出量は同じとしているが、第1突出部51aの突出量と第2突出部52aの突出量とが異なるように構成しても構わない。この場合、基板11の端部に設ける方の突出部(図4では第1突出部51a)の突出量を大きくすることが好ましい。これにより、基板11の端部の反りを一層抑制することができる。また、LEDモジュール10を第1基台50に固定する際に、基板11の幅方向の両端部のうち後から突出部に押し込まれる方の端部に対応する突出部の方の突出量の大きさを小さくすることが好ましい。例えば、図7では、第2突出部52aの突出量を第1突出部51aの突出量よりも小さくなるように構成することが好ましい。これにより、突出量の大きい第1突出部51aによって基板11への保持力を維持しつつ、突出量の小さい第2突出部52aによって基板11の第1基台50への固定を容易に行えるようにすることができる。   Moreover, in said embodiment, although the protrusion amount of the 1st protrusion part 51a and the 2nd protrusion part 52a is made the same, the protrusion amount of the 1st protrusion part 51a and the protrusion amount of the 2nd protrusion part 52a differ. You may comprise. In this case, it is preferable to increase the protruding amount of the protruding portion (the first protruding portion 51a in FIG. 4) provided on the end portion of the substrate 11. Thereby, the curvature of the edge part of the board | substrate 11 can be suppressed further. In addition, when the LED module 10 is fixed to the first base 50, the protruding amount of the protruding portion corresponding to the end portion of the both ends of the substrate 11 in the width direction that is pushed into the protruding portion from the rear is large. It is preferable to reduce the thickness. For example, in FIG. 7, it is preferable that the protrusion amount of the second protrusion portion 52a is configured to be smaller than the protrusion amount of the first protrusion portion 51a. Accordingly, the substrate 11 can be easily fixed to the first base 50 by the second protrusion 52a having a small protrusion while maintaining the holding force to the substrate 11 by the first protrusion 51a having a large protrusion. Can be.

また、上記の実施の形態において、第1壁部51及び第2壁部52の両方に切り欠きを形成して第1切り欠き部51b及び第2切り欠き部52bを設けたが、これに限らない。例えば、第1壁部51及び第2壁部52のいずれか一方にのみ切り欠き部を形成しても構わない。   In the above embodiment, the first notch 51b and the second notch 52b are provided by forming notches in both the first wall 51 and the second wall 52. However, the present invention is not limited to this. Absent. For example, the cutout portion may be formed only in one of the first wall portion 51 and the second wall portion 52.

また、上記の実施の形態において、第1切り欠き部51bにおける開口(スリット)の大きさ(スリット幅及びスリット長)と第2切り欠き部52bにおける開口の大きさは同じとしたが、これに限らない。例えば、第1切り欠き部51bにおける開口の大きさと第2切り欠き部52bにおける開口の大きさとが異なるように構成しても構わない。この場合、LEDモジュール10を第1基台50に固定する際に、基板11の幅方向の両端部のうち後から突出部に押し込まれる方の端部に対応する突出部の近傍に形成された切り欠き部の方における開口の大きさを大きくすることが好ましい。例えば、図7では、第2切り欠き部52bにおける開口の大きさが第1切り欠き部51bにおける開口の大きさよりも大きくなるように構成することが好ましい。これにより、第2突出部52a近傍部分の方が第1突出部51a近傍部分よりも弾性変形しやすくなるので、基板11の第1基台50への固定をさらに容易に行えるようにすることができる。なお、切り欠き部の開口の大きさは、例えば、スリット幅又はスリット長を調整することによって変えることができる。   In the above embodiment, the size (slit width and slit length) of the opening (slit) in the first cutout portion 51b is the same as the size of the opening in the second cutout portion 52b. Not exclusively. For example, you may comprise so that the magnitude | size of the opening in the 1st notch part 51b and the magnitude | size of the opening in the 2nd notch part 52b may differ. In this case, when the LED module 10 is fixed to the first base 50, it is formed in the vicinity of the protruding portion corresponding to the end portion that is pushed into the protruding portion from the both ends in the width direction of the substrate 11. It is preferable to increase the size of the opening in the notch portion. For example, in FIG. 7, it is preferable that the size of the opening in the second cutout portion 52b is larger than the size of the opening in the first cutout portion 51b. Accordingly, the portion near the second protrusion 52a is more easily elastically deformed than the portion near the first protrusion 51a, so that the substrate 11 can be more easily fixed to the first base 50. it can. Note that the size of the opening of the notch can be changed, for example, by adjusting the slit width or the slit length.

また、上記の実施の形態において、第1切り欠き部51b及び第2切り欠き部52bは、スリット状の開口としたが、これに限らない。例えば、第1壁部51及び第2壁部52を貫通させないように切り欠いて第1切り欠き部51b及び第2切り欠き部52bを形成しても構わない。このように構成しても、第1突出部51a及び第2突出部52aの弾性力を大きくすることができる。   Moreover, in said embodiment, although the 1st notch part 51b and the 2nd notch part 52b were made into slit-shaped opening, it is not restricted to this. For example, the first cutout portion 51b and the second cutout portion 52b may be formed by cutting out so as not to penetrate the first wall portion 51 and the second wall portion 52. Even if comprised in this way, the elastic force of the 1st protrusion part 51a and the 2nd protrusion part 52a can be enlarged.

また、上記の実施の形態では、基板11を第1基台50に固定する際、図7に示すように、第1突出部51a側における基板11の幅方向の一方の端部を第1突出部51aと第2基台55との間に挿入した後に、第2突出部52a側における基板11の幅方向の他方の端部を第2突出部52aと第2基台55との間に挿入したが、逆の順序で行っても構わない。あるいは、基板11の幅方向の両端部を同時に、第1突出部51a及び第2突出部52aと第2基台55との間に挿入しても構わない。   In the above embodiment, when the substrate 11 is fixed to the first base 50, as shown in FIG. 7, one end portion in the width direction of the substrate 11 on the first projecting portion 51a side is the first projecting portion. After being inserted between the portion 51 a and the second base 55, the other end in the width direction of the substrate 11 on the second protrusion 52 a side is inserted between the second protrusion 52 a and the second base 55. However, the order may be reversed. Alternatively, both end portions in the width direction of the substrate 11 may be simultaneously inserted between the first protrusion 51 a and the second protrusion 52 a and the second base 55.

また、上記の実施の形態では、給電用口金30を可動端とし、アース用口金40を固定端としたが、これに限らない。例えば、給電用口金30を固定端とし、アース用口金40を可動端となるように構成しても構わないし、給電用口金30及びアース用口金40の両方を可動端となるように構成しても構わない。これにより、光源モジュールを筐体20内で可動状態としたままで、光源モジュールを給電用口金30とアース用口金40と筐体20とで保持させることができる。なお、給電用口金30及びアース用口金40の両方を固定端とすることもできる。この場合、光源モジュールを筐体20内で移動可能な状態とすることができないが、光源モジュールを筐体20内において強固に保持させることができる。   In the above embodiment, the feeding base 30 is a movable end and the grounding base 40 is a fixed end. However, the present invention is not limited to this. For example, the power supply base 30 may be configured as a fixed end and the ground base 40 may be configured as a movable end, or both the power supply base 30 and the ground base 40 may be configured as movable ends. It doesn't matter. Accordingly, the light source module can be held by the power supply base 30, the ground base 40, and the housing 20 while the light source module is kept movable in the housing 20. Note that both the feeding base 30 and the grounding base 40 can be fixed ends. In this case, the light source module cannot be moved in the housing 20, but the light source module can be firmly held in the housing 20.

また、上記の実施の形態では、給電用口金30のみの片側から給電を行う片側給電方式としたが、両側から給電を行う両側給電方式としても構わない。また、本実施の形態ように片側給電方式であっても、非給電側口金としてアース用口金40を用いずに口金部分を構成しても構わない。この場合、アース用口金40の箇所には、アース用口金40に代えて、照明器具のソケットに取り付けられるような構造を有する取り付け用口金を設ければよい。例えば、本実施の形態におけるアース用口金40をそのまま用いて、アースピン42をアース接続させないような構成とすることもできる。   In the above-described embodiment, the one-side power feeding method in which power is fed from only one side of the power feeding base 30 is used. However, a both-side power feeding method in which power feeding is performed from both sides may be employed. Moreover, even if it is a one side electric power feeding system like this Embodiment, you may comprise a nozzle | cap | die part, without using the base 40 for earth | ground as a non-power feeding side nozzle | cap | die. In this case, instead of the grounding base 40, a mounting base having a structure that can be attached to the socket of the lighting fixture may be provided at the location of the grounding base 40. For example, the grounding cap 40 in the present embodiment can be used as it is, and the ground pin 42 can be configured not to be grounded.

また、上記の実施の形態において、給電用口金30及びアース用口金40は、二分割された分割型の口金を用いたが、分割されていない非分割型の口金としても構わない。非分割型の口金は、例えば、樹脂成型によって形成することができる。   In the above-described embodiment, the power supply base 30 and the ground base 40 are split-type bases that are divided into two parts, but they may be non-partitioned bases that are not divided. The non-divided die can be formed by resin molding, for example.

また、上記の実施の形態において、給電用口金30は、一対のL形ピンの給電ピン32を有するL形口金としたが、G13口金としても構わない。同様に、アース用口金40もG13口金としてもよい。このように、2つの口金のうち一方を1本ピン(1ピン)とし、他方を2本(2ピン)とする1ピン−2ピンの口金構造としてもよいし、2つの口金をいずれも2本ピン(2ピン)とする2ピン−2ピンの口金構造としてもよい。   In the above embodiment, the power supply base 30 is an L-shaped base having a pair of L-shaped power supply pins 32, but may be a G13 base. Similarly, the grounding base 40 may be a G13 base. As described above, a 1-pin to 2-pin base structure in which one of the two bases has one pin (1 pin) and the other has two pins (2 pins) may be used. It is good also as a 2 pin-2 pin base structure used as this pin (2 pins).

また、上記の実施の形態において、給電用口金30は、直流電力を受電するように構成したが、交流電力を受電するように構成しても構わない。なお、給電用口金30が交流電力を受電する場合、点灯回路90には、交流電力を直流電力に変換する回路が含まれる。   In the above embodiment, the power supply cap 30 is configured to receive DC power, but may be configured to receive AC power. When the power supply cap 30 receives AC power, the lighting circuit 90 includes a circuit that converts AC power into DC power.

また、上記の実施の形態において、LEDモジュール10として、パッケージ化されたLED素子12を用いたSMD型のLEDモジュールとしたが、これに限らない。例えば、基板11上に複数のLEDチップが直接実装され、複数のLEDチップを蛍光体含有樹脂によって一括封止した構成であるCOB(Chip On Board)型のLEDモジュールとしても構わない。   In the above embodiment, the LED module 10 is an SMD type LED module using the packaged LED element 12, but is not limited thereto. For example, it may be a COB (Chip On Board) type LED module in which a plurality of LED chips are directly mounted on the substrate 11 and the plurality of LED chips are collectively sealed with a phosphor-containing resin.

また、上記の実施の形態において、LEDモジュール10(LED素子12)は、青色LEDチップと黄色蛍光体とによって白色光を放出するように構成したが、これに限らない。例えば、赤色蛍光体及び緑色蛍光体を含有する蛍光体含有樹脂を用いて、これと青色LEDと組み合わせることによりに白色光を放出するように構成しても構わない。また、青色以外の色を発光するLEDチップを用いても構わない。   Further, in the above embodiment, the LED module 10 (LED element 12) is configured to emit white light by the blue LED chip and the yellow phosphor, but is not limited thereto. For example, a phosphor-containing resin containing a red phosphor and a green phosphor may be used so that white light is emitted by combining this with a blue LED. Moreover, you may use the LED chip which light-emits colors other than blue.

また、上記の実施の形態において、半導体発光素子としてLEDを例示したが、半導体レーザ、又は、有機EL(Electro Luminescence)や無機EL等のEL素子、その他の固体発光素子を用いてもよい。   In the above embodiment, the LED is exemplified as the semiconductor light emitting element. However, an EL element such as a semiconductor laser, an organic EL (Electro Luminescence) or an inorganic EL, or other solid light emitting element may be used.

その他、各実施の形態に対して当業者が思いつく各種変形を施して得られる形態や、本発明の趣旨を逸脱しない範囲で各実施の形態における構成要素及び機能を任意に組み合わせることで実現される形態も本発明に含まれる。   In addition, the embodiment can be realized by arbitrarily combining the components and functions in each embodiment without departing from the scope of the present invention, or a form obtained by subjecting each embodiment to various modifications conceived by those skilled in the art. Forms are also included in the present invention.

本発明は、LED等の発光素子を用いたランプ、例えば直管形ランプとして有用であり、ランプを備える照明装置等において広く利用することができる。   The present invention is useful as a lamp using a light emitting element such as an LED, for example, a straight tube lamp, and can be widely used in an illumination device including the lamp.

1 直管形LEDランプ
2 照明装置
10 LEDモジュール
11 基板
11a 第1面
11b 第2面
12 LED素子
12a パッケージ
12b LEDチップ
12c 封止部材
13 配線
14 金属膜
15 電極端子
20 筐体
30 給電用口金
31 給電用口金本体
31a 第1給電用口金本体部
31b 第2給電用口金本体部
32 給電ピン
33 ネジ受け部
40 アース用口金
41 アース用口金本体
41a 第1アース用口金本体部
41b 第2アース用口金本体部
42 アースピン
43 接続部材
50 第1基台
51 第1壁部
51a 第1突出部
51b 第1切り欠き部
52 第2壁部
52a 第2突出部
52b 第2切り欠き部
53 付勢部
54 開口
55 第2基台
55a 孔部
60 コネクタ
61 装着部
62 電力供給線
70 反射部材
80 取り付け部材
81 掛合片
82 凹部
90 点灯回路
90a 回路基板
90b 回路素子群
90c 入力ソケット
90d 出力ソケット
91 点灯回路カバー
100 照明器具
110 ソケット
120 器具本体
DESCRIPTION OF SYMBOLS 1 Straight tube type LED lamp 2 Illuminating device 10 LED module 11 Board | substrate 11a 1st surface 11b 2nd surface 12 LED element 12a Package 12b LED chip 12c Sealing member 13 Wiring 14 Metal film 15 Electrode terminal 20 Housing | casing 30 Power supply base 31 Power supply base body 31a First power supply base body part 31b Second power supply base body part 32 Power supply pin 33 Screw receiving part 40 Grounding base 41 Grounding base body 41a First grounding base body part 41b Second grounding base part Main body 42 Earth pin 43 Connection member 50 First base 51 First wall 51a First protrusion 51b First notch 52 Second wall 52a Second protrusion 52b Second notch 53 Energizing part 54 Opening 55 2nd base 55a Hole 60 Connector 61 Mounting part 62 Power supply line 70 Reflective member 80 Ri attached members 81 lock plate 82 recess 90 lighting circuit 90a circuit board 90b circuit element group 90c input socket 90d output sockets 91 lighting circuit cover 100 luminaires 110 socket 120 instrument body

Claims (12)

所定形状の配線が形成された長尺状の基板及び当該基板の前記配線が形成された面である第1面に実装された複数の発光素子を有する発光モジュールと、
前記発光モジュールを収納する長尺状の筐体と、
前記筐体に収納され、前記発光モジュールが配置された第1基台と、を備え、
前記第1基台は、前記基板の短手方向の両側面を挟む第1壁部及び第2壁部と、前記第1壁部から前記第2壁部に向かって突出する複数の第1突出部と、前記第2壁部から前記第1壁部に向かって突出する複数の第2突出部とを有し、
前記複数の第1突出部及び前記複数の第2突出部は、前記基板の前記第1面に当接されており、
前記基板の長手方向の一方の端部には、前記第1突出部及び前記第2突出部の少なくとも一方が設けられ、
前記基板の長手方向の他方の端部には、前記第1突出部及び前記第2突出部の少なくとも一方が設けられている
ランプ。
A light-emitting module having a plurality of light-emitting elements mounted on a first surface, which is a long substrate on which wiring of a predetermined shape is formed, and the wiring of the substrate;
A long casing for housing the light emitting module;
A first base housed in the housing and on which the light emitting module is disposed,
The first base includes a first wall portion and a second wall portion sandwiching both lateral sides of the substrate in a short direction, and a plurality of first protrusions protruding from the first wall portion toward the second wall portion. And a plurality of second projecting portions projecting from the second wall portion toward the first wall portion,
The plurality of first protrusions and the plurality of second protrusions are in contact with the first surface of the substrate,
At one end of the substrate in the longitudinal direction, at least one of the first protrusion and the second protrusion is provided,
The lamp is provided with at least one of the first protrusion and the second protrusion at the other end in the longitudinal direction of the substrate.
前記基板の長手方向の長さをL1とすると、
前記一方の端部及び前記他方の端部は、前記基板の長手方向の端縁からL1×10%以下の領域である
請求項1に記載のランプ。
When the length in the longitudinal direction of the substrate is L1,
The lamp according to claim 1, wherein the one end and the other end are regions of L1 × 10% or less from an edge in a longitudinal direction of the substrate.
前記基板の短手方向の長さをL2とすると、
L1/L2≧38.6である
請求項2に記載のランプ。
When the length in the short direction of the substrate is L2,
The lamp according to claim 2, wherein L1 / L2 ≧ 38.6.
前記配線の線膨張係数は、前記基板の線膨張係数よりも大きい
請求項1〜3のいずれか1項に記載のランプ。
The lamp according to claim 1, wherein a linear expansion coefficient of the wiring is larger than a linear expansion coefficient of the substrate.
前記基板は、樹脂からなる樹脂基板である
請求項1〜4のいずれか1項に記載のランプ。
The lamp according to any one of claims 1 to 4, wherein the substrate is a resin substrate made of a resin.
前記基板は、さらに、前記第1面とは反対側の第2面に形成された金属膜を有する
請求項1〜5のいずれか1項に記載のランプ。
The lamp according to claim 1, wherein the substrate further includes a metal film formed on a second surface opposite to the first surface.
前記金属膜の面積は、前記配線の面積よりも大きい
請求項6に記載のランプ。
The lamp according to claim 6, wherein an area of the metal film is larger than an area of the wiring.
前記発光モジュールを複数備え、
前記複数の発光モジュールは、各々の前記基板の長手方向が前記筐体の長手方向に沿うように並べられており、
前記第1突出部及び第2突出部の少なくとも一方は、隣り合う前記発光モジュールに跨るように設けられている
請求項1〜7のいずれか1項に記載のランプ。
A plurality of the light emitting modules are provided,
The plurality of light emitting modules are arranged so that the longitudinal direction of each of the substrates is along the longitudinal direction of the housing,
The lamp according to claim 1, wherein at least one of the first protrusion and the second protrusion is provided so as to straddle the adjacent light emitting modules.
前記第1基台は、さらに、前記第1面とは反対側の面である第2面に向かって付勢する付勢部を有する
請求項1〜8のいずれか1項に記載のランプ。
The lamp according to any one of claims 1 to 8, wherein the first base further includes a biasing portion that biases toward a second surface that is a surface opposite to the first surface.
前記第1壁部及び前記第2壁部は、前記第1突出部及び前記第2突出部の少なくともいずれか一方の近傍に形成された切り欠き部を有する
請求項1〜9のいずれか1項に記載のランプ。
The said 1st wall part and the said 2nd wall part have a notch part formed in the vicinity of at least any one of the said 1st protrusion part and the said 2nd protrusion part. Lamp described in.
さらに、前記第1基台と前記発光モジュールとの間に配置された、金属からなる第2基台を備え、
前記発光モジュールは、前記第2基台上に載置される
請求項1〜10のいずれか1項に記載のランプ。
And a second base made of metal disposed between the first base and the light emitting module,
The lamp according to any one of claims 1 to 10, wherein the light emitting module is placed on the second base.
請求項1〜11のいずれか1項に記載のランプを備える
照明装置。
An illumination device comprising the lamp according to any one of claims 1 to 11.
JP2013544052A 2012-06-21 2013-05-22 Lamp and lighting device Active JP5942205B2 (en)

Priority Applications (1)

Application Number Priority Date Filing Date Title
JP2013544052A JP5942205B2 (en) 2012-06-21 2013-05-22 Lamp and lighting device

Applications Claiming Priority (4)

Application Number Priority Date Filing Date Title
JP2012140155 2012-06-21
JP2012140155 2012-06-21
PCT/JP2013/003268 WO2013190771A1 (en) 2012-06-21 2013-05-22 Lamp and lighting device
JP2013544052A JP5942205B2 (en) 2012-06-21 2013-05-22 Lamp and lighting device

Publications (2)

Publication Number Publication Date
JPWO2013190771A1 true JPWO2013190771A1 (en) 2016-02-08
JP5942205B2 JP5942205B2 (en) 2016-06-29

Family

ID=49768386

Family Applications (1)

Application Number Title Priority Date Filing Date
JP2013544052A Active JP5942205B2 (en) 2012-06-21 2013-05-22 Lamp and lighting device

Country Status (3)

Country Link
JP (1) JP5942205B2 (en)
CN (1) CN204313013U (en)
WO (1) WO2013190771A1 (en)

Families Citing this family (2)

* Cited by examiner, † Cited by third party
Publication number Priority date Publication date Assignee Title
CN106369367A (en) * 2015-07-23 2017-02-01 晶元光电股份有限公司 Light emitting device
JP6153176B1 (en) * 2016-08-10 2017-06-28 株式会社Luci Lead wire storage

Citations (8)

* Cited by examiner, † Cited by third party
Publication number Priority date Publication date Assignee Title
JP2008198398A (en) * 2007-02-08 2008-08-28 Sony Corp Backlight device and display device
JP3146172U (en) * 2008-08-26 2008-11-06 熱速得控股股▲ふん▼有限公司 LED lighting fixture
JP2008282950A (en) * 2007-05-10 2008-11-20 Calsonic Kansei Corp Circuit board fixing structure
JP2009086593A (en) * 2007-10-03 2009-04-23 Ricoh Co Ltd Illumination apparatus, image reading apparatus, and image forming apparatus
JP2010098302A (en) * 2008-09-22 2010-04-30 Toshiba Lighting & Technology Corp Light-emitting module, light-emitting device equipped with the same and lighting apparatus equipped with light-emitting device
JP2010257769A (en) * 2009-04-24 2010-11-11 Sharp Corp Lighting direction variable lighting device and vending machine
JP2012054164A (en) * 2010-09-02 2012-03-15 Sumitomo Bakelite Co Ltd Light source device and electronic equipment
JP2012069297A (en) * 2010-09-21 2012-04-05 Panasonic Corp Lamp and lighting system

Patent Citations (8)

* Cited by examiner, † Cited by third party
Publication number Priority date Publication date Assignee Title
JP2008198398A (en) * 2007-02-08 2008-08-28 Sony Corp Backlight device and display device
JP2008282950A (en) * 2007-05-10 2008-11-20 Calsonic Kansei Corp Circuit board fixing structure
JP2009086593A (en) * 2007-10-03 2009-04-23 Ricoh Co Ltd Illumination apparatus, image reading apparatus, and image forming apparatus
JP3146172U (en) * 2008-08-26 2008-11-06 熱速得控股股▲ふん▼有限公司 LED lighting fixture
JP2010098302A (en) * 2008-09-22 2010-04-30 Toshiba Lighting & Technology Corp Light-emitting module, light-emitting device equipped with the same and lighting apparatus equipped with light-emitting device
JP2010257769A (en) * 2009-04-24 2010-11-11 Sharp Corp Lighting direction variable lighting device and vending machine
JP2012054164A (en) * 2010-09-02 2012-03-15 Sumitomo Bakelite Co Ltd Light source device and electronic equipment
JP2012069297A (en) * 2010-09-21 2012-04-05 Panasonic Corp Lamp and lighting system

Also Published As

Publication number Publication date
CN204313013U (en) 2015-05-06
WO2013190771A1 (en) 2013-12-27
JP5942205B2 (en) 2016-06-29

Similar Documents

Publication Publication Date Title
JP5688553B2 (en) Illumination light source and illumination device
JP6089309B2 (en) Lamp and lighting device
WO2014030289A1 (en) Lamp and lighting device
JP5971504B2 (en) Illumination light source and illumination device
WO2014017068A1 (en) Straight tube lamp and lighting apparatus
JP5584841B2 (en) Illumination light source and illumination device
JP5658831B2 (en) Lamp and lighting device
JP6124054B2 (en) Illumination light source and illumination device
JP5942205B2 (en) Lamp and lighting device
JP2014072149A (en) Light source for lighting and lighting device
JP6135986B2 (en) Illumination light source and illumination device
JP2014072154A (en) Light source for lighting and lighting device
JP5884054B2 (en) Illumination light source and illumination device
JP2014072153A (en) Light source for lighting and lighting device
JP6112444B2 (en) Illumination light source and illumination device
JP6198127B2 (en) LIGHTING LIGHT MANUFACTURING METHOD, LIGHTING LIGHT SOURCE, AND LIGHTING DEVICE
JP5891402B2 (en) Illumination light source and illumination device
JP6123988B2 (en) Illumination light source and illumination device
JP5906405B2 (en) Illumination light source and illumination device
CN203585869U (en) Light source for lighting and lighting device
JP2015050167A (en) Illumination light source and illumination device
JP6052733B2 (en) Illumination light source and illumination device
JP2015050166A (en) Light source for lighting and lighting device
JP2015050165A (en) Light source for lighting and lighting device
JP2015050172A (en) Light source for lighting and lighting device

Legal Events

Date Code Title Description
A02 Decision of refusal

Free format text: JAPANESE INTERMEDIATE CODE: A02

Effective date: 20141118

A521 Request for written amendment filed

Free format text: JAPANESE INTERMEDIATE CODE: A523

Effective date: 20160212

A61 First payment of annual fees (during grant procedure)

Free format text: JAPANESE INTERMEDIATE CODE: A61

Effective date: 20160426

R151 Written notification of patent or utility model registration

Ref document number: 5942205

Country of ref document: JP

Free format text: JAPANESE INTERMEDIATE CODE: R151