JPWO2013145006A1 - Air conditioner - Google Patents

Air conditioner Download PDF

Info

Publication number
JPWO2013145006A1
JPWO2013145006A1 JP2014506999A JP2014506999A JPWO2013145006A1 JP WO2013145006 A1 JPWO2013145006 A1 JP WO2013145006A1 JP 2014506999 A JP2014506999 A JP 2014506999A JP 2014506999 A JP2014506999 A JP 2014506999A JP WO2013145006 A1 JPWO2013145006 A1 JP WO2013145006A1
Authority
JP
Japan
Prior art keywords
heat transfer
heat
heat exchanger
refrigerant
air
Prior art date
Legal status (The legal status is an assumption and is not a legal conclusion. Google has not performed a legal analysis and makes no representation as to the accuracy of the status listed.)
Pending
Application number
JP2014506999A
Other languages
Japanese (ja)
Inventor
正 有山
正 有山
航祐 田中
航祐 田中
博文 ▲高▼下
博文 ▲高▼下
博幸 岡野
博幸 岡野
Current Assignee (The listed assignees may be inaccurate. Google has not performed a legal analysis and makes no representation or warranty as to the accuracy of the list.)
Mitsubishi Electric Corp
Original Assignee
Mitsubishi Electric Corp
Priority date (The priority date is an assumption and is not a legal conclusion. Google has not performed a legal analysis and makes no representation as to the accuracy of the date listed.)
Filing date
Publication date
Application filed by Mitsubishi Electric Corp filed Critical Mitsubishi Electric Corp
Priority to JP2014506999A priority Critical patent/JPWO2013145006A1/en
Publication of JPWO2013145006A1 publication Critical patent/JPWO2013145006A1/en
Pending legal-status Critical Current

Links

Images

Landscapes

  • Air Conditioning Control Device (AREA)

Abstract

室外熱交換器103は、冷媒が流通する伝熱管外側の熱伝達率αoを調整する管外側熱伝達率調整手段と、冷媒が流通する伝熱管内側の熱伝達率αiを調整する管内側熱伝達率調整手段と、冷媒と熱媒体とが熱交換する伝熱面積Aを調整する伝熱面積調整手段とを備え、制御装置2は、伝熱管外側の熱伝達率αo、伝熱管内側の熱伝達率αi、及び伝熱面積Aを制御して、室外熱交換器103の熱交換量を制御する。The outdoor heat exchanger 103 includes a pipe outside heat transfer coefficient adjusting means for adjusting the heat transfer coefficient αo outside the heat transfer pipe through which the refrigerant flows, and a pipe inside heat transfer adjusting the heat transfer coefficient αi inside the heat transfer pipe through which the refrigerant flows. A heat transfer area adjusting means for adjusting a heat transfer area A for heat exchange between the refrigerant and the heat medium, and the control device 2 has a heat transfer rate αo outside the heat transfer tube and a heat transfer inside the heat transfer tube. By controlling the rate αi and the heat transfer area A, the heat exchange amount of the outdoor heat exchanger 103 is controlled.

Description

本発明は、冷媒を循環させる冷媒回路を備えた空気調和装置に関する。   The present invention relates to an air conditioner including a refrigerant circuit for circulating a refrigerant.

従来の空気調和装置においては、熱交換器が内部に複数の熱交換器を有する分割構造を有し、それぞれの熱交換器には電磁弁が設置された接続配管が接続された回路で構成されており、電磁弁の開閉を制御することにより、流入する冷媒の量を調整することで、熱交換器の熱交換量を制御するものが提案されている(例えば、特許文献1参照)。   In the conventional air conditioner, the heat exchanger has a divided structure having a plurality of heat exchangers inside, and each heat exchanger is configured by a circuit to which a connection pipe provided with an electromagnetic valve is connected. In addition, there has been proposed one that controls the heat exchange amount of a heat exchanger by adjusting the amount of refrigerant flowing in by controlling the opening and closing of a solenoid valve (see, for example, Patent Document 1).

また、流量可変手段によって熱交換器内部の冷媒流路を可変させることによって、可変する外部負荷に応じて冷房または暖房容量を適宜に調節するものが提案されている(例えば、特許文献2参照)。   Further, there has been proposed one that adjusts the cooling or heating capacity appropriately according to the variable external load by varying the refrigerant flow path inside the heat exchanger by the flow rate varying means (see, for example, Patent Document 2). .

WO2009/122476号公報WO2009 / 122476 特開平2006−170608号公報Japanese Patent Laid-Open No. 2006-170608

特許文献1に記載の技術は、分割した熱交換器への冷媒流入パターンを変化させる伝熱面積の制御と、ファンの風量制御による伝熱管外側の熱伝達率の制御とを行うことで、熱交換器の熱交換量を制御している。
しかし、熱交換器を流通する冷媒流量が低下した際には、ファンの風量制御による伝熱管外側の熱伝達率の制御では熱交換量の変化量が少なくなり、熱交分割パターンを変化させたときの熱交換量の変化が大きくなる。このため、所望の熱交換量とすることができない、という問題点があった。
また、例えばファンの下限風量が設定され、その下限風量で動作している場合、装置外部から流入した風や雨の影響などにより熱交換量が過大となっても、ファンの風量制御では熱交換量を低下させることができない、という問題点があった。
The technology described in Patent Document 1 controls the heat transfer area that changes the refrigerant inflow pattern into the divided heat exchangers and the heat transfer coefficient outside the heat transfer tube by controlling the air volume of the fan. The amount of heat exchange in the exchanger is controlled.
However, when the flow rate of the refrigerant flowing through the heat exchanger decreases, the amount of change in the heat exchange amount is reduced in the control of the heat transfer coefficient outside the heat transfer tube by controlling the air volume of the fan, and the heat exchange division pattern is changed. When the heat exchange amount changes. For this reason, there existed a problem that it could not be set as the desired heat exchange amount.
In addition, for example, when the fan's lower airflow is set and the fan is operating at that lower airflow, even if the heat exchange is excessive due to wind or rain that has flowed in from the outside of the device, the fan airflow control is used for heat exchange. There was a problem that the amount could not be reduced.

特許文献2に記載の技術は、流量可変手段によって熱交換器内部の冷媒流路を変更し、伝熱管内の伝熱面積を段階的に変化させることで熱交換量の制御を行っている。
しかし、伝熱管内の伝熱面積のみを変化させる方法では、連続的な熱交換量の制御が必要な場合に可変手段を多く必要とし、コストが掛かり、熱交換器が複雑な形状となってしまう、という問題点があった。
In the technique described in Patent Document 2, the heat exchange amount is controlled by changing the refrigerant flow path inside the heat exchanger by the flow rate varying means and changing the heat transfer area in the heat transfer tube stepwise.
However, the method of changing only the heat transfer area in the heat transfer tube requires a lot of variable means when continuous heat exchange control is required, which is costly and the heat exchanger has a complicated shape. There was a problem that.

本発明は、上記のような課題を解決するためになされたもので、熱交換器の熱交換量を所望の熱交換量とすることができる空気調和装置を得るものである。
また、熱交換器を流通する冷媒流量が低下し、伝熱管外側の熱伝達率の制御による熱交換量の変化が小さくなる場合でも、熱交換器の熱交換量を連続的に制御することができる空気調和装置を得るものである。
The present invention has been made to solve the above-described problems, and provides an air conditioner capable of setting a heat exchange amount of a heat exchanger to a desired heat exchange amount.
In addition, even when the flow rate of refrigerant flowing through the heat exchanger decreases and the change in the heat exchange amount due to the control of the heat transfer coefficient outside the heat transfer tube becomes small, the heat exchange amount of the heat exchanger can be controlled continuously An air conditioner that can be obtained is obtained.

本発明に係る空気調和装置は、圧縮機、絞り手段、及び熱交換器を少なくとも有し、冷媒を循環させる冷媒回路と、前記熱交換器の熱交換量を制御する制御手段とを備え、前記熱交換器は、前記冷媒が流通する伝熱管外側の熱伝達率(αo)を調整する管外側熱伝達率調整手段と、前記冷媒が流通する伝熱管内側の熱伝達率(αi)を調整する管内側熱伝達率調整手段と、前記冷媒と熱媒体とが熱交換する伝熱面積(A)を調整する伝熱面積調整手段とを備え、前記制御手段は、前記伝熱管外側の熱伝達率(αo)、前記伝熱管内側の熱伝達率(αi)、及び前記伝熱面積(A)を制御して、前記熱交換器の熱交換量を制御するものである。   An air conditioner according to the present invention includes at least a compressor, a throttle unit, and a heat exchanger, and includes a refrigerant circuit that circulates a refrigerant, and a control unit that controls a heat exchange amount of the heat exchanger, The heat exchanger adjusts the heat transfer coefficient (αi) outside the heat transfer tube through which the refrigerant flows, and the heat transfer coefficient (αi) inside the heat transfer tube through which the refrigerant flows. A heat transfer area adjusting means for adjusting a heat transfer area (A) for heat exchange between the refrigerant and the heat medium, and the control means includes a heat transfer coefficient outside the heat transfer pipe. (Αo), the heat transfer coefficient (αi) inside the heat transfer tube, and the heat transfer area (A) are controlled to control the heat exchange amount of the heat exchanger.

本発明は、伝熱管外側の熱伝達率(αo)、伝熱管内側の熱伝達率(αi)、及び伝熱面積(A)を制御することにより、熱交換器の熱交換量を所望の熱交換量とすることができる。   The present invention controls the heat transfer rate (αo) on the outside of the heat transfer tube, the heat transfer rate (αi) on the inside of the heat transfer tube, and the heat transfer area (A), thereby reducing the heat exchange amount of the heat exchanger to a desired heat amount. The amount can be exchanged.

実施の形態1に係る空気調和装置の冷房主体運転時の冷媒回路構成を示す冷媒回路図である。3 is a refrigerant circuit diagram illustrating a refrigerant circuit configuration during a cooling main operation of the air-conditioning apparatus according to Embodiment 1. FIG. 実施の形態1に係る空気調和装置の暖房主体運転時の冷媒回路構成を示す冷媒回路図である。It is a refrigerant circuit diagram which shows the refrigerant circuit structure at the time of heating main operation | movement of the air conditioning apparatus which concerns on Embodiment 1. FIG. 実施の形態1に係る室外熱交換器の構造を説明する図である。It is a figure explaining the structure of the outdoor heat exchanger which concerns on Embodiment 1. FIG. 実施の形態1に係る熱交換器処理能力の変化を説明する図である。It is a figure explaining the change of the heat exchanger processing capacity which concerns on Embodiment 1. FIG. 実施の形態1に係る熱交換量を調整する際の処理の流れを示すフローチャートである。4 is a flowchart showing a flow of processing when adjusting the heat exchange amount according to the first embodiment. 電磁弁を用いた流量制御を行う室外熱交換器の構造を説明する図である。It is a figure explaining the structure of the outdoor heat exchanger which performs flow control using a solenoid valve.

以下、図面に基づいて本発明の実施の形態について説明する。
実施の形態1.
図1は、実施の形態1に係る空気調和装置の冷房主体運転時の冷媒回路構成を示す冷媒回路図である。図1に基づいて、空気調和装置の冷媒回路構成について説明する。この空気調和装置は、ビルやマンション等に設置され、冷媒(空調用冷媒)を循環させる冷凍サイクル(ヒートポンプサイクル)を利用することで冷房負荷、暖房負荷を同時に供給できるものである。なお、図1では空調用冷凍サイクル1の冷房主体運転動作について説明する。なお、図1を含め、以下の図面では各構成部材の大きさの関係が実際のものとは異なる場合がある。
Hereinafter, embodiments of the present invention will be described with reference to the drawings.
Embodiment 1 FIG.
FIG. 1 is a refrigerant circuit diagram illustrating a refrigerant circuit configuration during cooling-main operation of the air-conditioning apparatus according to Embodiment 1. Based on FIG. 1, the refrigerant circuit structure of an air conditioning apparatus is demonstrated. This air conditioner is installed in a building, a condominium or the like, and can supply a cooling load and a heating load simultaneously by using a refrigeration cycle (heat pump cycle) for circulating a refrigerant (air conditioning refrigerant). In addition, FIG. 1 demonstrates the cooling main driving | operation operation | movement of the refrigerating cycle 1 for an air conditioning. In addition, in the following drawings including FIG. 1, the relationship of the size of each component may be different from the actual one.

[空調用冷凍サイクル1]
空調用冷凍サイクル1は、熱源機Aと、冷房負荷を担当する冷房室内機Bと、暖房負荷を担当する暖房室内機Cと、中継機Dと、によって構成されている。このうち、冷房室内機B、暖房室内機Cは、熱源機Aに対して並列となるように接続されて搭載されている。そして、熱源機Aと、冷房室内機B及び暖房室内機Cとの間に設置される中継機Dが冷媒の流れを切り換えることで、冷房室内機B、暖房室内機Cとしての機能を発揮させるようになっている。制御装置2は、空調用冷凍サイクル1の動作を統括制御する。
[Refrigeration cycle 1 for air conditioning]
The air conditioning refrigeration cycle 1 includes a heat source unit A, a cooling indoor unit B in charge of a cooling load, a heating indoor unit C in charge of a heating load, and a relay unit D. Among these, the cooling indoor unit B and the heating indoor unit C are connected and mounted in parallel to the heat source unit A. And the relay machine D installed between the heat source unit A, the cooling indoor unit B, and the heating indoor unit C switches the flow of the refrigerant so that the functions as the cooling indoor unit B and the heating indoor unit C are exhibited. It is like that. The control device 2 performs overall control of the operation of the air-conditioning refrigeration cycle 1.

[熱源機A]
熱源機Aは、空調用圧縮機101と、流路切替手段である四方弁102と、室外熱交換器103と、アキュムレータ104とが接続配管119により直列に接続されて構成されている。この熱源機Aは、冷房室内機B、暖房室内機Cに冷熱を供給する機能を有している。なお、室外熱交換器103の近傍に、この室外熱交換器103に空気(熱媒体)を供給するためのファン等の送風機を設けるとよい。
[Heat source machine A]
The heat source machine A is configured by an air conditioning compressor 101, a four-way valve 102 as a flow path switching unit, an outdoor heat exchanger 103, and an accumulator 104 connected in series by a connection pipe 119. The heat source unit A has a function of supplying cold heat to the cooling indoor unit B and the heating indoor unit C. A blower such as a fan for supplying air (heat medium) to the outdoor heat exchanger 103 may be provided in the vicinity of the outdoor heat exchanger 103.

そして、高圧側接続配管106と低圧側接続配管107とは、逆止弁105aの上流側と逆止弁105bの上流側を接続する第1接続配管130と、逆止弁105aの下流側と逆止弁105bの下流側を接続する第2接続配管131とで接続されている。つまり、高圧側接続配管106と第1接続配管130との接続部分aは、逆止弁105aを挟んで高圧側接続配管106と第2接続配管131との接続部分bよりも上流側になっている。低圧側接続配管107と第1接続配管130との接続部分cは、逆止弁105bを挟んで低圧側接続配管107と第2接続配管131との接続部分dよりも上流側になっている。   The high-pressure side connection pipe 106 and the low-pressure side connection pipe 107 are opposite to the first connection pipe 130 that connects the upstream side of the check valve 105a and the upstream side of the check valve 105b, and the downstream side of the check valve 105a. The second connection pipe 131 is connected to the downstream side of the stop valve 105b. That is, the connection part a between the high-pressure side connection pipe 106 and the first connection pipe 130 is upstream of the connection part b between the high-pressure side connection pipe 106 and the second connection pipe 131 across the check valve 105a. Yes. The connection portion c between the low pressure side connection pipe 107 and the first connection pipe 130 is upstream of the connection portion d between the low pressure side connection pipe 107 and the second connection pipe 131 with the check valve 105b interposed therebetween.

第1接続配管130には、低圧側接続配管107から高圧側接続配管106の方向のみに空調用冷媒の流通を許容する逆止弁105cが設けられている。第2接続配管131には、低圧側接続配管107から高圧側接続配管106の方向のみに空調用冷媒の流通を許容する逆止弁105dが設けられている。なお、図1では、冷房主体運転時における冷媒回路構成を示しているため、逆止弁105a及び逆止弁105bが開状態(黒塗りで示している)、逆止弁105c及び逆止弁105dが閉状態(白塗りで示している)となっている。   The first connection pipe 130 is provided with a check valve 105 c that allows the air-conditioning refrigerant to flow only in the direction from the low-pressure side connection pipe 107 to the high-pressure side connection pipe 106. The second connection pipe 131 is provided with a check valve 105 d that allows the air-conditioning refrigerant to flow only in the direction from the low-pressure side connection pipe 107 to the high-pressure side connection pipe 106. In FIG. 1, since the refrigerant circuit configuration at the time of cooling-main operation is shown, the check valve 105a and the check valve 105b are in an open state (shown in black), the check valve 105c and the check valve 105d. Is in a closed state (shown in white).

空調用圧縮機101は、空調用冷媒を吸入し、その空調用冷媒を圧縮して高温・高圧の状態にするものである。四方弁102は、空調用冷媒の流れを切り替えるものである。室外熱交換器103は、蒸発器や放熱器(凝縮器)として機能し、図示省略の送風機から供給される空気と空調用冷媒との間で熱交換を行ない、空調用冷媒を蒸発ガス化又は凝縮液化するものである。室外熱交換器103は、例えば伝熱管と多数のフィンとにより構成されるクロスフィン式のフィン・アンド・チューブ型熱交換器により構成される。アキュムレータ104は、四方弁102と空調用圧縮機101との間に配置され、過剰な空調用冷媒を貯留するものである。なお、アキュムレータ104は、過剰な空調用冷媒を貯留できる容器であればよい。   The air-conditioning compressor 101 sucks air-conditioning refrigerant and compresses the air-conditioning refrigerant to a high temperature / high pressure state. The four-way valve 102 switches the flow of the air conditioning refrigerant. The outdoor heat exchanger 103 functions as an evaporator or a radiator (condenser), performs heat exchange between air supplied from a blower (not shown) and the air conditioning refrigerant, and converts the air conditioning refrigerant into evaporated gas or Condensed liquid. The outdoor heat exchanger 103 is configured by, for example, a cross fin type fin-and-tube heat exchanger including heat transfer tubes and a large number of fins. The accumulator 104 is disposed between the four-way valve 102 and the air conditioning compressor 101, and stores excess air conditioning refrigerant. The accumulator 104 may be any container that can store excess air-conditioning refrigerant.

[冷房室内機B及び暖房室内機C]
冷房室内機B及び暖房室内機Cには、空調用絞り手段117と、室内熱交換器118とが、直列に接続されて搭載されている。また、冷房室内機B及び暖房室内機Cには、2台の空調用絞り手段117と、2台の室内熱交換器118とが、それぞれ並列に搭載されている場合を例に示している。冷房室内機Bは、熱源機Aからの冷熱の供給を受けて冷房負荷を担当し、暖房室内機Cは、熱源機Aからの冷熱の供給を受けて暖房負荷を担当する機能を有している。
[Cooling indoor unit B and heating indoor unit C]
The cooling indoor unit B and the heating indoor unit C are mounted with an air conditioning throttle means 117 and an indoor heat exchanger 118 connected in series. Further, in the cooling indoor unit B and the heating indoor unit C, an example is shown in which two air conditioning throttle means 117 and two indoor heat exchangers 118 are mounted in parallel. The cooling indoor unit B receives a supply of cold from the heat source unit A and takes charge of the cooling load, and the heating indoor unit C has a function of receiving the supply of cold heat from the heat source unit A and taking charge of the heating load. Yes.

つまり、実施の形態1では、中継機Dによって、冷房室内機Bが冷房負荷を担当するように決定され、暖房室内機Cが暖房負荷を担当するように決定された状態を示しているのである。なお、室内熱交換器118の近傍に、この室内熱交換器118に空気(熱媒体)を供給するためのファン等の送風機を設けるとよい。また、便宜的に、中継機Dから室内熱交換器118に接続している接続配管を接続配管133と、中継機Dから空調用絞り手段117に接続している接続配管を接続配管134と称して説明するものとする。   In other words, the first embodiment shows a state in which it is determined by the relay unit D that the cooling indoor unit B is in charge of the cooling load, and the heating indoor unit C is determined to be in charge of the heating load. . Note that a blower such as a fan for supplying air (heat medium) to the indoor heat exchanger 118 may be provided in the vicinity of the indoor heat exchanger 118. For convenience, the connection pipe connected from the relay D to the indoor heat exchanger 118 is referred to as a connection pipe 133, and the connection pipe connected from the relay D to the air conditioning throttle means 117 is referred to as a connection pipe 134. Shall be explained.

空調用絞り手段117は、減圧弁や膨張弁として機能し、空調用冷媒を減圧して膨張させるものである。この空調用絞り手段117は、開度が可変に制御可能なもの、たとえば電子式膨張弁による緻密な流量制御手段や、毛細管等の安価な冷媒流量調節手段等で構成するとよい。室内熱交換器118は、放熱器(凝縮器)や蒸発器として機能し、図示省略の送風手段から供給される空気と空調用冷媒との間で熱交換を行ない、空調用冷媒を凝縮液化又は蒸発ガス化するものである。室内熱交換器118は、例えば伝熱管と多数のフィンとにより構成されるクロスフィン式のフィン・アンド・チューブ型熱交換器により構成される。なお、空調用絞り手段117及び室内熱交換器118は、直列に接続されている。   The air conditioning throttle means 117 functions as a pressure reducing valve or an expansion valve, and decompresses and expands the air conditioning refrigerant. The air-conditioning throttle means 117 may be constituted by a controllable opening degree, for example, a precise flow rate control means using an electronic expansion valve, an inexpensive refrigerant flow rate control means such as a capillary tube, or the like. The indoor heat exchanger 118 functions as a radiator (condenser) or an evaporator, and performs heat exchange between air supplied from an air blower (not shown) and the air conditioning refrigerant to condense or liquefy the air conditioning refrigerant. Evaporative gasification. The indoor heat exchanger 118 is constituted by, for example, a cross fin type fin-and-tube heat exchanger constituted by heat transfer tubes and a large number of fins. The air conditioning throttle means 117 and the indoor heat exchanger 118 are connected in series.

[中継機D]
中継機Dは、冷房室内機B、暖房室内機Cのそれぞれと、熱源機Aとを、接続する機能を有する。また、中継機Dは、第1分配部109の弁手段109a又は弁手段109bの何れかを択一的に開閉することにより、室内熱交換器118を放熱器とするか蒸発器とするか、を決定する機能を有している。この中継機Dは、気液分離器108と、第1分配部109と、第2分配部110と、第1内部熱交換器111と、第1中継機用絞り手段112と、第2内部熱交換器113と、第2中継機用絞り手段114と、を備えている。
[Repeater D]
The relay unit D has a function of connecting the cooling indoor unit B and the heating indoor unit C to the heat source unit A. Further, the relay machine D selectively opens or closes either the valve means 109a or the valve means 109b of the first distribution unit 109, so that the indoor heat exchanger 118 is a radiator or an evaporator, It has a function to determine. The relay D includes a gas-liquid separator 108, a first distributor 109, a second distributor 110, a first internal heat exchanger 111, a first relay throttle means 112, and a second internal heat. An exchange 113 and a second relay squeezing means 114 are provided.

第1分配部109では、接続配管133が2つに分岐されており、その一方である接続配管133aが低圧側接続配管107に接続し、他方の接続配管133bが気液分離器108に接続している接続配管132に接続するようになっている。また、接続配管133aには、開閉制御されて冷媒の導通の有無が制御される弁手段109aが設けられている。接続配管133bには、開閉制御されて冷媒の導通の有無が制御される弁手段109bが設けられている。なお、弁手段109a及び弁手段109bの開閉状態を黒塗り(開状態)及び白塗り(閉状態)で表している。   In the first distribution unit 109, the connection pipe 133 is branched into two, one of which is the connection pipe 133 a connected to the low-pressure side connection pipe 107 and the other connection pipe 133 b is connected to the gas-liquid separator 108. The connection pipe 132 is connected. Further, the connecting pipe 133a is provided with valve means 109a that is controlled to be opened and closed to control the presence or absence of refrigerant. The connecting pipe 133b is provided with valve means 109b that is controlled to be opened and closed to control the presence or absence of refrigerant. The open / closed states of the valve means 109a and the valve means 109b are represented by black (open) and white (closed).

第2分配部110では、接続配管134が2つに分岐されており、その一方である接続配管134bが第1会合部115で接続され、他方の接続配管134aが第2会合部116で接続されるようになっている。また、接続配管134aには、冷媒の流通を一方のみに許容する逆止弁110aが設けられている。接続配管134bには、冷媒の流通を一方のみに許容する逆止弁110bが設けられている。なお、逆止弁110a及び逆止弁110bの開閉状態を黒塗り(開状態)及び白塗り(閉状態)で表している。   In the second distribution unit 110, the connection pipe 134 is branched into two, one of the connection pipes 134 b is connected at the first meeting part 115, and the other connection pipe 134 a is connected at the second meeting part 116. It has become so. The connection pipe 134a is provided with a check valve 110a that allows only one of the refrigerants to flow. The connection pipe 134b is provided with a check valve 110b that allows only one refrigerant to flow. The open / closed states of the check valve 110a and the check valve 110b are represented by black (open) and white (closed).

第1会合部115は、第2分配部110から第1中継機用絞り手段112及び第1内部熱交換器111を介して気液分離器108に接続している。第2会合部116は、第2分配部110と第2内部熱交換器113との間で分岐し、一方が第2内部熱交換器113を介して第2分配部110と第1中継機用絞り手段112との間における第1会合部115に接続され、他方(第2会合部116a)が第2中継機用絞り手段114、第2内部熱交換器113及び第1内部熱交換器111を介して低圧側接続配管107に接続されている。   The first meeting unit 115 is connected from the second distribution unit 110 to the gas-liquid separator 108 via the first relay squeezing means 112 and the first internal heat exchanger 111. The second meeting unit 116 branches between the second distribution unit 110 and the second internal heat exchanger 113, one of which is for the second distribution unit 110 and the first relay device via the second internal heat exchanger 113. The second meeting section 116a is connected to the first meeting section 115 between the throttling means 112, and the other (second meeting section 116a) is connected to the second relay throttling means 114, the second internal heat exchanger 113, and the first internal heat exchanger 111. To the low-pressure side connection pipe 107.

気液分離器108は、空調用冷媒をガス冷媒と液冷媒とに分離するものであり、高圧側接続配管106に設けられ、一方が第1分配部109の弁手段109aに接続され、他方が第1会合部115を経て第2分配部110に接続されている。第1分配部109は、弁手段109a又は弁手段109bの何れかが択一的に開閉され、室内熱交換器118に空調用冷媒を流入させる機能を有している。第2分配部110は、逆止弁110a及び逆止弁110bによって、空調用冷媒の流れをいずれか一方に許容する機能を有している。   The gas-liquid separator 108 separates the air-conditioning refrigerant into a gas refrigerant and a liquid refrigerant. The gas-liquid separator 108 is provided in the high-pressure side connection pipe 106, one of which is connected to the valve means 109 a of the first distribution unit 109, and the other. The first distributor 115 is connected to the second distributor 110. The first distribution unit 109 has a function of allowing one of the valve means 109a and the valve means 109b to be selectively opened and closed and causing the air conditioning refrigerant to flow into the indoor heat exchanger 118. The 2nd distribution part 110 has a function which permits the flow of the refrigerant for air-conditioning to either one by check valve 110a and check valve 110b.

第1内部熱交換器111は、気液分離器108と第1中継機用絞り手段112との間における第1会合部115に設けられている。第1内部熱交換器111は、第1会合部115を導通している空調用冷媒と、第2会合部116が分岐された第2会合部116aを導通している空調用冷媒との間で熱交換を実行するものである。第1中継機用絞り手段112は、第1内部熱交換器111と第2分配部110との間における第1会合部115に設けられており、空調用冷媒を減圧して膨張させるものである。この第1中継機用絞り手段112は、開度が可変に制御可能なもの、たとえば電子式膨張弁による緻密な流量制御手段や、毛細管等の安価な冷媒流量調節手段等で構成するとよい。   The first internal heat exchanger 111 is provided in the first meeting part 115 between the gas-liquid separator 108 and the first relay squeezing means 112. The first internal heat exchanger 111 is connected between the air conditioning refrigerant that is conducted through the first meeting part 115 and the air conditioning refrigerant that is conducted through the second meeting part 116a branched from the second meeting part 116. The heat exchange is performed. The first repeater throttle means 112 is provided in the first meeting section 115 between the first internal heat exchanger 111 and the second distribution section 110, and decompresses and expands the air-conditioning refrigerant. . The first repeater throttle means 112 may be configured with a variable opening degree controllable means, for example, a precise flow rate control means using an electronic expansion valve, an inexpensive refrigerant flow rate control means such as a capillary tube, or the like.

第2内部熱交換器113は、第2会合部116に設けられており、第2会合部116を導通している空調用冷媒と、第2会合部116が分岐された第2会合部116aを導通している空調用冷媒との間で熱交換を実行するものである。第2中継機用絞り手段114は、第2内部熱交換器113と第2分配部110との間における第2会合部116に設けられており、減圧弁や膨張弁として機能し、空調用冷媒を減圧して膨張させるものである。この第2中継機用絞り手段114は、第1中継機用絞り手段112と同様に、開度が可変に制御可能なもの、たとえば電子式膨張弁による緻密な流量制御手段や、毛細管等の安価な冷媒流量調節手段等で構成するとよい。   The second internal heat exchanger 113 is provided in the second meeting part 116, and includes an air conditioning refrigerant that is conducted through the second meeting part 116, and a second meeting part 116a from which the second meeting part 116 is branched. Heat exchange is performed with the air-conditioning refrigerant that is conducted. The second relay throttling means 114 is provided in the second meeting section 116 between the second internal heat exchanger 113 and the second distribution section 110, functions as a pressure reducing valve and an expansion valve, and is an air conditioning refrigerant. Is expanded under reduced pressure. As with the first relay unit throttle unit 112, the second relay unit throttle unit 114 can be controlled to have a variable opening, for example, a precise flow rate control unit using an electronic expansion valve, or a low cost such as a capillary tube. The refrigerant flow rate adjusting means may be used.

以上のように、空調用冷凍サイクル1は、空調用圧縮機101、四方弁102、室内熱交換器118、空調用絞り手段117及び室外熱交換器103が直列に接続されるとともに、空調用圧縮機101、四方弁102、及び室外熱交換器103が直列に接続されており、中継機Dを介して2台の室内熱交換器118が並列に接続されて第1冷媒回路を構成し、この第1冷媒回路に空調用冷媒を循環させることで成立している。   As described above, the air-conditioning refrigeration cycle 1 includes the air-conditioning compressor 101, the four-way valve 102, the indoor heat exchanger 118, the air-conditioning throttle means 117, and the outdoor heat exchanger 103 connected in series, and the air-conditioning compression cycle. Machine 101, four-way valve 102, and outdoor heat exchanger 103 are connected in series, and two indoor heat exchangers 118 are connected in parallel via relay D to form a first refrigerant circuit. This is established by circulating the air-conditioning refrigerant in the first refrigerant circuit.

なお、空調用圧縮機101は、吸入した冷媒を高圧状態に圧縮できるものであればよく、特にタイプを限定するものではない。たとえば、レシプロ、ロータリー、スクロールあるいはスクリューなどの各種タイプを利用して空調用圧縮機101を構成することができる。この空調用圧縮機101は、インバータにより回転数が可変に制御可能なタイプとして構成してもよく、回転数が固定されているタイプとして構成してもよい。また、空調用冷凍サイクル1を循環する冷媒の種類を特に限定するものではなく、たとえば二酸化炭素(CO)や炭化水素、ヘリウムなどの自然冷媒、HFC410AやHFC407C、HFC404Aなどの塩素を含まない代替冷媒、若しくは既存の製品に使用されているR22やR134aなどのフロン系冷媒のいずれを使用してもよい。The air conditioning compressor 101 is not particularly limited as long as it can compress the sucked refrigerant into a high pressure state. For example, the air-conditioning compressor 101 can be configured using various types such as reciprocating, rotary, scroll, or screw. The air-conditioning compressor 101 may be configured as a type in which the rotation speed can be variably controlled by an inverter, or may be configured as a type in which the rotation speed is fixed. Moreover, not particularly limited to the type of refrigerant circulating in the air conditioning refrigeration cycle 1, for example carbon dioxide (CO 2) and hydrocarbons, natural refrigerant such as helium, HFC410A and HFC407C, do not contain chlorine, such as HFC404A alternative Either a refrigerant or a fluorocarbon refrigerant such as R22 or R134a used in existing products may be used.

ここで図2に基づいて、空調用冷凍サイクル1の暖房主体運転動作について説明する。まず、空調用圧縮機101で高温・高圧にされた空調用冷媒は、空調用圧縮機101から吐出して、四方弁102を経由し、逆止弁105dを導通し、高圧側接続配管106に導かれ、過熱ガス状態で中継機Dの気液分離器108へ流入する。気液分離器108に流入した過熱ガス状態の空調用冷媒は、第1分配部109の弁手段109aが開いている回路に分配される。ここでは、過熱ガス状態の空調用冷媒は、暖房室内機Cに流入するようになっている。   Here, based on FIG. 2, the heating main operation | movement operation | movement of the refrigerating cycle 1 for an air conditioning is demonstrated. First, the air-conditioning refrigerant heated to a high temperature and high pressure by the air-conditioning compressor 101 is discharged from the air-conditioning compressor 101, passes through the four-way valve 102, passes through the check valve 105 d, and enters the high-pressure side connection pipe 106. It is guided and flows into the gas-liquid separator 108 of the repeater D in the superheated gas state. The superheated gas-conditioning refrigerant flowing into the gas-liquid separator 108 is distributed to a circuit in which the valve means 109a of the first distribution unit 109 is open. Here, the refrigerant for air conditioning in the superheated gas state flows into the heating indoor unit C.

暖房室内機Cに流入した空調用冷媒は、室内熱交換器118で放熱し(つまり、室内空気を暖め)、空調用絞り手段117で減圧され、第1会合部115で合流する。一方、気液分離器108に流入した過熱ガス状態の空調用冷媒の一部は、第1内部熱交換器111で第2中継機用絞り手段114にて低温・低圧に膨張した空調用冷媒と熱交換を行なうことにより過冷却度を得る。   The air-conditioning refrigerant that has flowed into the heating indoor unit C dissipates heat in the indoor heat exchanger 118 (that is, warms the room air), is depressurized by the air-conditioning throttle means 117, and merges at the first meeting unit 115. On the other hand, a part of the air-conditioning refrigerant in the superheated gas state that has flowed into the gas-liquid separator 108 is the air-conditioning refrigerant expanded to low temperature and low pressure by the second relay expansion means 114 in the first internal heat exchanger 111. The degree of supercooling is obtained by heat exchange.

それから、第1中継機用絞り手段112を通過して、空調用として利用された空調用冷媒(暖房室内機Cに流入し、室内熱交換器118で放熱した空調用冷媒)と第1会合部115で合流する。なお、第1中継機用絞り手段112を通る一部の過熱ガス状態の空調用冷媒は、第1中継機用絞り手段112を全閉にして、皆無にしてもよい。その後、第2内部熱交換器113で、第2中継機用絞り手段114にて低温・低圧に膨張した空調用冷媒と熱交換を行なうことにより過冷却度を得る。この空調用冷媒は、第2会合部116側と第2中継機用絞り手段114側とに分配される。   Then, the air conditioning refrigerant used for air conditioning (the air conditioning refrigerant that flows into the heating indoor unit C and radiates heat in the indoor heat exchanger 118) and the first meeting unit that passes through the first relay device throttle means 112 are used. Join at 115. It should be noted that a part of the superheated gas conditioning refrigerant that passes through the first repeater throttle means 112 may be eliminated by fully closing the first repeater throttle means 112. Thereafter, the second internal heat exchanger 113 performs heat exchange with the air-conditioning refrigerant expanded to low temperature and low pressure by the second relay throttle unit 114 to obtain a degree of supercooling. This refrigerant for air conditioning is distributed to the second meeting part 116 side and the second relay unit throttle means 114 side.

第2会合部116を導通する空調用冷媒は、逆止弁110aが流通する回路に分配される。ここでは、第2会合部116を導通する空調用冷媒は、冷房室内機Bに流入し、空調用絞り手段117にて低温・低圧に膨張され、室内熱交換器118で蒸発し、弁手段109aを経て低圧側接続配管107で合流する。また、第2中継機用絞り手段114を導通した空調用冷媒は、第2内部熱交換器113及び第1内部熱交換器111で熱交換を行なって蒸発し、低圧側接続配管107で冷房室内機Bを流出した空調用冷媒と合流する。そして、低圧側接続配管107で合流した空調用冷媒は、逆止弁105cを通って室外熱交換器103に導かれ、運転条件によっては残留している液冷媒を蒸発させ、四方弁102、アキュムレータ104を経て空調用圧縮機101へ戻る。   The air-conditioning refrigerant that conducts through the second meeting portion 116 is distributed to a circuit through which the check valve 110a flows. Here, the air-conditioning refrigerant that conducts through the second meeting section 116 flows into the cooling indoor unit B, is expanded to low temperature and low pressure by the air-conditioning throttle means 117, is evaporated by the indoor heat exchanger 118, and the valve means 109a. After that, the low pressure side connecting pipe 107 joins. The air-conditioning refrigerant that has passed through the second repeater throttle means 114 evaporates by exchanging heat in the second internal heat exchanger 113 and the first internal heat exchanger 111, and in the cooling chamber through the low-pressure side connection pipe 107. It merges with the air conditioning refrigerant that has flowed out of the machine B. The air-conditioning refrigerant merged in the low-pressure side connection pipe 107 is led to the outdoor heat exchanger 103 through the check valve 105c, and depending on the operating conditions, the remaining liquid refrigerant is evaporated, and the four-way valve 102, accumulator The process returns to the air conditioning compressor 101 via 104.

暖房室内機Cと冷房室内機Bの運転負荷のバランスによって、室外熱交換器103で蒸発させなければいけない冷媒の熱量(熱交換量)は異なる。すなわち、室外熱交換器103に必要とされる熱交換量は、暖房室内機Cの熱交換量と冷房室内機Bの熱交換量との差が大きくなる程、大きくなる。このため、暖房室内機Cと冷房室内機Bの双方で様々な負荷に対応するためには、室外熱交換器103の熱交換量(容量)を連続的に制御する必要がある。   Depending on the balance between the operating loads of the heating indoor unit C and the cooling indoor unit B, the amount of heat of the refrigerant (heat exchange amount) that must be evaporated by the outdoor heat exchanger 103 differs. That is, the heat exchange amount required for the outdoor heat exchanger 103 increases as the difference between the heat exchange amount of the heating indoor unit C and the heat exchange amount of the cooling indoor unit B increases. For this reason, in order to cope with various loads in both the heating indoor unit C and the cooling indoor unit B, it is necessary to continuously control the heat exchange amount (capacity) of the outdoor heat exchanger 103.

ここで、熱交換器の伝熱特性について説明する。
熱交換器の伝熱特性を表す基礎式として、数式1が知られている。
Here, the heat transfer characteristics of the heat exchanger will be described.
As a basic formula representing the heat transfer characteristics of the heat exchanger, Formula 1 is known.

Q=AK×dT (数式1)     Q = AK × dT (Formula 1)

上記の数式1において、Qは熱交換量、AKは熱交換器の熱コンダクタンス、dTは熱交換を行う物質間の温度差である。
ここで、熱交換器の熱コンダクタンスAKの関係式として、数式2が知られている。
In the above Equation 1, Q is the heat exchange amount, AK is the heat conductance of the heat exchanger, and dT is the temperature difference between the materials that perform heat exchange.
Here, Formula 2 is known as a relational expression of the thermal conductance AK of the heat exchanger.

1/AK=1/(A×αo)+1/(Ai×αi) (数式2)     1 / AK = 1 / (A × αo) + 1 / (Ai × αi) (Formula 2)

上記の数式2において、Aは熱交換器の管外側伝熱面積、Aiは熱交換器の管内側伝熱面積、αoは熱交換器の管外側熱伝達率、αiは熱交換器の管内側熱伝達率である。
なお、管外側熱伝達率αoは、本発明における「冷媒が流通する伝熱管外側の熱伝達率(αo)」に相当し、管内側熱伝達率αiは、本発明における「冷媒が流通する伝熱管内側の熱伝達率(αi)」に相当する。また、管外側伝熱面積Ao及び管内側伝熱面積Aiは、本発明における「冷媒と熱媒体とが熱交換する伝熱面積(A)」に相当する。
In the above formula 2, A is the heat transfer area outside the tube of the heat exchanger, Ai is the heat transfer area inside the tube of the heat exchanger, αo is the heat transfer coefficient outside the tube of the heat exchanger, and αi is the inside of the tube of the heat exchanger. Heat transfer coefficient.
The tube outside heat transfer coefficient αo corresponds to “the heat transfer coefficient outside the heat transfer tube through which the refrigerant flows (αo)” in the present invention, and the tube inside heat transfer coefficient αi corresponds to “the heat transfer coefficient through which the refrigerant flows” in the present invention. This corresponds to the heat transfer coefficient (αi) inside the heat pipe. The tube outer heat transfer area Ao and the tube inner heat transfer area Ai correspond to the “heat transfer area (A) in which heat is exchanged between the refrigerant and the heat medium” in the present invention.

この数式2に示されるように、熱交換器の熱コンダクタンスAKは、管外側伝熱面積Ao、管内側伝熱面積Ai、管外側熱伝達率αo、管内側熱伝達率αiによって決まり、この値を制御することにより熱交換器の熱交換量(処理能力)を制御することができる。   As shown in Equation 2, the heat conductance AK of the heat exchanger is determined by the tube outer heat transfer area Ao, the tube inner heat transfer area Ai, the tube outer heat transfer coefficient αo, and the tube inner heat transfer coefficient αi. It is possible to control the heat exchange amount (processing capacity) of the heat exchanger by controlling.

上記の数式2において、熱交換器の管外側伝熱面積Ao及び管外側熱伝達率αoの積と、管内側伝熱面積Ai及び管内側熱伝達率αiの積とのうちの小さい方が、熱交換器の熱コンダクタンスAKの値に与える影響が支配的となることが分かる。
このため、管外側熱伝達率αo、または管内側熱伝達率αiの片方の制御を行うだけでは、制御を行っていない方の熱伝達率が支配的となった時、制御側の熱伝達率を制御しても、熱コンダクタンスAKの変化させる効果が小さく、所望の熱交換量(処理能力)とすることができない場合がある。
また、実用的な観点では、管内側熱伝達率αi、及び管外側熱伝達率αoを調整する各手段(後述)には、制御可能な制御量の範囲(幅)が定まっているため、負荷や外乱等の影響にも対応するためには、管内側熱伝達率αiと管外側熱伝達率αoの両方を制御する必要がある。
In the above mathematical formula 2, the smaller of the product of the tube outer heat transfer area Ao and the tube outer heat transfer coefficient αo and the product of the tube inner heat transfer area Ai and the tube inner heat transfer coefficient αi of the heat exchanger, It can be seen that the influence on the value of the heat conductance AK of the heat exchanger becomes dominant.
For this reason, when only one of the tube outside heat transfer coefficient αo or the tube inside heat transfer coefficient αi is controlled, the heat transfer coefficient on the control side becomes dominant when the heat transfer coefficient on the other side is not controlled. However, there is a case where the effect of changing the thermal conductance AK is small and the desired heat exchange amount (processing capacity) cannot be achieved.
Also, from a practical viewpoint, each means (described later) for adjusting the tube inner heat transfer coefficient αi and the tube outer heat transfer coefficient αo has a controllable control amount range (width). In order to cope with the influence of the external disturbance and the like, it is necessary to control both the tube inner heat transfer coefficient αi and the tube outer heat transfer coefficient αo.

また、管外側伝熱面積Ao及び管内側伝熱面積Aiは、熱交換器の形状と、熱交換器内の冷媒の流路により定まる。すなわち、1つの熱交換器を、冷媒の流路が異なる複数の熱交換器に分割することで、各流路への冷媒の導通の有無により、管外側伝熱面積Ao及び管内側伝熱面積Aiを段階的に制御することが可能となる。なお、各流路への冷媒の導通の有無により、管外側伝熱面積Ao及び管内側伝熱面積Aiは共に変化し、各流路への冷媒の導通が一定であれば管外側伝熱面積Ao及び管内側伝熱面積Aiは一定である。以下の説明において、制御対象としての管外側伝熱面積Ao及び管内側伝熱面積Aiを総称して、熱交換器の伝熱面積Aと称する。
この熱交換器の伝熱面積Aを制御することで、負荷や外乱の影響を小さくすることができ、伝熱面積Aを制御しない場合と比較して、広い範囲で熱交換量の制御が可能となる。
The tube outer heat transfer area Ao and the tube inner heat transfer area Ai are determined by the shape of the heat exchanger and the flow path of the refrigerant in the heat exchanger. That is, by dividing one heat exchanger into a plurality of heat exchangers having different refrigerant flow paths, the pipe outer heat transfer area Ao and the pipe inner heat transfer area are determined depending on whether or not the refrigerant is conducted to each flow path. Ai can be controlled in stages. It should be noted that both the tube outer heat transfer area Ao and the tube inner heat transfer area Ai change depending on whether or not the refrigerant is conducted to each flow path, and if the refrigerant conduction to each flow path is constant, the tube outer heat transfer area. Ao and the heat transfer area Ai inside the tube are constant. In the following description, the pipe outer heat transfer area Ao and the pipe inner heat transfer area Ai as control objects are collectively referred to as a heat transfer area A of the heat exchanger.
By controlling the heat transfer area A of this heat exchanger, the influence of load and disturbance can be reduced, and the heat exchange amount can be controlled in a wider range than when the heat transfer area A is not controlled. It becomes.

このように、管内側熱伝達率αi、管外側熱伝達率αo、及び伝熱面積Aを制御することで、負荷の変動や外乱により、管外側熱伝達率αoまたは管内側熱伝達率αiの何れかの影響が支配的となった場合でも、熱交換器の熱交換量の制御が可能となる。また、伝熱面積Aを制御しない場合と比較して、管内側熱伝達率αi及び管外側熱伝達率αoの制御量が同一制御幅でも、広い範囲で熱交換量の制御が可能となる。   In this way, by controlling the tube inner heat transfer coefficient αi, the tube outer heat transfer coefficient αo, and the heat transfer area A, the tube outer heat transfer coefficient αo or the tube inner heat transfer coefficient αi can be reduced due to load fluctuation or disturbance. Even when any of the influences becomes dominant, the heat exchange amount of the heat exchanger can be controlled. In addition, as compared with the case where the heat transfer area A is not controlled, the heat exchange amount can be controlled in a wide range even if the control amounts of the tube inner heat transfer rate αi and the tube outer heat transfer rate αo are the same.

次に、本実施の形態の空気調和装置における、室外熱交換器103の管内側熱伝達率αi、管外側熱伝達率αo、及び伝熱面積Aを制御する構成および動作について説明する。   Next, the configuration and operation for controlling the tube inner heat transfer coefficient αi, the tube outer heat transfer coefficient αo, and the heat transfer area A of the outdoor heat exchanger 103 in the air conditioner of the present embodiment will be described.

なお、本実施の形態では、室外熱交換器103の熱交換量の制御を必要とする空気調和装置の一例として、冷房負荷および暖房負荷を同時に供給できる回路を例に挙げるが、熱交換器の熱交換量の制御を備えた冷媒回路はこれに限定するものではない。圧縮機、凝縮器として機能する熱交換器、絞り手段、蒸発器として機能する熱交換器を少なくとも有し、冷媒を循環させる冷媒回路において、任意の熱交換器の熱交換容量を制御するようにしても良い。また、一般的な冷房暖房切替え、冷房専用または暖房専用の空気調和装置の冷媒回路でもよい。   In this embodiment, as an example of an air conditioner that requires control of the heat exchange amount of the outdoor heat exchanger 103, a circuit that can supply a cooling load and a heating load at the same time is given as an example. The refrigerant circuit provided with the control of the heat exchange amount is not limited to this. A refrigerant circuit having at least a compressor, a heat exchanger functioning as a condenser, a throttling means, and a heat exchanger functioning as an evaporator, and controlling the heat exchange capacity of any heat exchanger in a refrigerant circuit that circulates the refrigerant. May be. Moreover, the refrigerant circuit of the air conditioning apparatus for general cooling / heating switching, cooling only, or heating only may be sufficient.

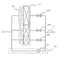
図3は、実施の形態1に係る室外熱交換器の構造を説明する図である。
図3では、室外熱交換器103の内部に、冷媒の流路が異なる複数の熱交換器(以下、分割熱交換器と称する)を有する分割構造となっている場合を例に示している。
なお、室外熱交換器103は、4つ熱交換器を組み合わせた分割構造としてもよく、1つの熱交換器を4分割した分割構造としてもよい。
なお、室外熱交換器103を構成する分割熱交換器の個数は特に限定するものではなく、管外側熱伝達率αo、管内側熱伝達率αiの制御器の制御幅によって変化する。
FIG. 3 is a diagram illustrating the structure of the outdoor heat exchanger according to the first embodiment.
In FIG. 3, the case where it has the division | segmentation structure which has several heat exchangers (henceforth a division | segmentation heat exchanger) from which the flow path of a refrigerant | coolant differs in the inside of the outdoor heat exchanger 103 is shown as an example.
The outdoor heat exchanger 103 may have a divided structure in which four heat exchangers are combined, or may have a divided structure in which one heat exchanger is divided into four.
In addition, the number of the division | segmentation heat exchangers which comprise the outdoor heat exchanger 103 is not specifically limited, It changes with the control width of the controller of pipe | tube outer side heat transfer coefficient (alpha) o and pipe | tube inner side heat transfer coefficient (alpha) i.

図3に示すように、接続配管119を複数に分岐させて、室外熱交換器103を構成している分割熱交換器のそれぞれに接続するようにしている。また、分岐された接続配管119のそれぞれには、制御装置2により開閉制御され、冷媒の導通有無を開閉制御する開閉弁である電磁弁209a、209b、209cが設置されている。
なお、電磁弁209a、209b、209cは、本発明における「伝熱面積調整手段」を構成する。
As shown in FIG. 3, the connection pipe 119 is branched into a plurality of parts and connected to each of the divided heat exchangers constituting the outdoor heat exchanger 103. In addition, electromagnetic valves 209a, 209b, and 209c, which are opening / closing valves that are opened / closed by the control device 2 and controlled to open / close the refrigerant, are installed in the branched connection pipes 119, respectively.
The solenoid valves 209a, 209b, and 209c constitute “heat transfer area adjusting means” in the present invention.

また、複数に分岐した接続配管119の一つを、分割熱交換器を迂回するバイパス回路300としている。そして、このバイパス回路300には、バイパス回路300を導通する流量を制御する流量調整手段である膨張弁210が設置されている。
なお、バイパス回路300及び膨張弁210は、本発明における「管内側熱伝達率調整手段」を構成する。
Further, one of the connection pipes 119 branched into a plurality is used as a bypass circuit 300 that bypasses the divided heat exchanger. The bypass circuit 300 is provided with an expansion valve 210 that is a flow rate adjusting means for controlling the flow rate through the bypass circuit 300.
The bypass circuit 300 and the expansion valve 210 constitute the “pipe inner heat transfer coefficient adjusting means” in the present invention.

また、室外熱交換器103は、室外熱交換器103を通る風量を制御するためのファン230を備えている。
なお、ファン230は、本発明における「管外側熱伝達率調整手段」を構成する。
Further, the outdoor heat exchanger 103 includes a fan 230 for controlling the amount of air passing through the outdoor heat exchanger 103.
The fan 230 constitutes “tube outside heat transfer coefficient adjusting means” in the present invention.

なお、図3の例では、管外側熱伝達率αoを制御する手段として、ファン230による風量制御を行う熱交換器を例としているが、本発明はこれに限るものではない。例えば、冷媒と水との熱交換を行うプレート式熱交換器のタイプにおいては、水側の水流量を制御するポンプが管外側熱伝達率αoを調整する管外側熱伝達率調整手段となる。   In the example of FIG. 3, a heat exchanger that controls the air volume by the fan 230 is taken as an example of the means for controlling the outside heat transfer coefficient αo, but the present invention is not limited to this. For example, in the type of plate heat exchanger that performs heat exchange between the refrigerant and water, a pump that controls the water flow rate on the water side serves as the outside heat transfer coefficient adjusting means that adjusts the outside heat transfer coefficient αo.

次に、室外熱交換器103の熱交換量の制御動作について説明する。
図4は、実施の形態1に係る熱交換器処理能力の変化を説明する図である。
図5は、実施の形態1に係る熱交換量を調整する際の処理の流れを示すフローチャートである。
なお、図4において、縦軸は処理能力比を示す。処理能力比が100%とは、冷房室内機Bの負荷が無く、冷媒の蒸発をすべて室外熱交換器103で行っている状態である。
また、処理能力比が0%は、冷房室内機Bの負荷が大きく、室外熱交換器103での負荷が無い状態である。横軸は風量比を示す。風量比が100%とは、ファン230が最大風量で運転する状態であり、風量比が0%とは、ファン230が停止している状態である。なお、ファン230の風量には下限風量が設定されている。この下限風量は、熱源機A内に設置した基板回路等の発熱体の放熱を確保するために設定されている。
以下、図5のフローチャートに添って、図4を参照しつつ説明する。
Next, the control operation of the heat exchange amount of the outdoor heat exchanger 103 will be described.
FIG. 4 is a diagram illustrating a change in heat exchanger processing capacity according to the first embodiment.
FIG. 5 is a flowchart showing a flow of processing when adjusting the heat exchange amount according to the first embodiment.
In FIG. 4, the vertical axis represents the processing capacity ratio. A processing capacity ratio of 100% is a state in which there is no load on the cooling indoor unit B and all the refrigerant is evaporated by the outdoor heat exchanger 103.
Further, when the processing capacity ratio is 0%, the cooling indoor unit B has a large load and there is no load on the outdoor heat exchanger 103. The horizontal axis indicates the air volume ratio. The air volume ratio of 100% is a state where the fan 230 is operated at the maximum air volume, and the air volume ratio of 0% is a state where the fan 230 is stopped. Note that a lower limit air volume is set for the air volume of the fan 230. This lower limit air volume is set in order to ensure heat dissipation from a heating element such as a circuit board installed in the heat source machine A.
Hereinafter, it will be described with reference to FIG. 4 according to the flowchart of FIG.

上述した運転動作時において、暖房室内機Cと冷房室内機Bの運転負荷が変動し、室外熱交換器103で必要となる処理能力(目標処理能力)が変化したとき、熱交換量を目標処理能力とする制御動作を開始する。   When the operation load of the heating indoor unit C and the cooling indoor unit B fluctuates during the above-described operation, and the processing capacity (target processing capacity) required by the outdoor heat exchanger 103 changes, the heat exchange amount is processed as a target process. Start the control action to be the ability.

(S101)
制御装置2は、ファン230の送風量を制御して、管外側熱伝達率αoの制御を行う。すなわち、室外熱交換器103の熱交換量を低下させる際には、ファン230の送風量を低下させて管外側熱伝達率αoを減少させる。室外熱交換器103の熱交換量を上昇させる際には、ファン230の送風量を上昇させて管外側熱伝達率αoを増加させる。
この制御により、図4の処理能力線401、402、または403で表されるように、ファン230の風量に応じて、室外熱交換器103の処理能力(熱交換量)が変化する。
なお、処理能力線401は、電磁弁209a、209b、及び209cが全て開状態の場合を示す。また、処理能力線402は、電磁弁209aが閉状態、電磁弁209b、及び209cが開状態の場合を示す。また、処理能力線403は、電磁弁209a、及び209bが閉状態、電磁弁209cが開状態の場合を示す。各電磁弁の制御については後述する。
(S101)
The control device 2 controls the air flow rate of the fan 230 to control the tube outside heat transfer coefficient αo. That is, when reducing the heat exchange amount of the outdoor heat exchanger 103, the blower amount of the fan 230 is reduced to reduce the outside heat transfer coefficient αo. When the heat exchange amount of the outdoor heat exchanger 103 is increased, the air flow rate of the fan 230 is increased to increase the tube outside heat transfer coefficient αo.
With this control, the processing capacity (heat exchange amount) of the outdoor heat exchanger 103 changes according to the air volume of the fan 230, as represented by the processing capacity line 401, 402, or 403 in FIG.
The processing capacity line 401 shows a case where the solenoid valves 209a, 209b, and 209c are all open. The processing capacity line 402 indicates a case where the electromagnetic valve 209a is in a closed state and the electromagnetic valves 209b and 209c are in an open state. A processing capacity line 403 indicates a case where the solenoid valves 209a and 209b are closed and the solenoid valve 209c is opened. The control of each solenoid valve will be described later.

制御装置2は、室外熱交換器103の処理能力(熱交換量)が目標処理能力となったか否かを判断する。
この判断は、例えば、暖房主体運転時の場合は空調用圧縮機101の吸入部の圧力が所定の圧力となっているか否かにより判断し、冷房主体運転時の場合は空調用圧縮機101の吐出部の圧力が所定の圧力となっているか否かで判断するとよい。
制御装置2は、室外熱交換器103の処理能力(熱交換量)が、目標処理能力となった場合には、熱交換量の制御動作を終了する。一方、ファン230の風量を最大風量から下限風量の範囲で制御しても目標処理能力とならない場合、ステップS102に進む。
The control device 2 determines whether or not the processing capacity (heat exchange amount) of the outdoor heat exchanger 103 has reached the target processing capacity.
This determination is made based on, for example, whether or not the pressure in the suction portion of the air conditioning compressor 101 is a predetermined pressure in the heating-main operation, and in the cooling-main operation, It may be determined based on whether or not the pressure of the discharge unit is a predetermined pressure.
When the processing capacity (heat exchange amount) of the outdoor heat exchanger 103 reaches the target processing capacity, the control device 2 ends the heat exchange amount control operation. On the other hand, if the target processing capacity is not reached even if the air volume of the fan 230 is controlled within the range from the maximum air volume to the lower limit air volume, the process proceeds to step S102.

(S102)
制御装置2は、膨張弁210の開度によりバイパス回路300を導通する冷媒量を制御して、管内側熱伝達率αiの制御を行う。すなわち、室外熱交換器103の熱交換量を低下させる際には、膨張弁210の開度を増加させ、バイパス回路300の流量を増加させることで室外熱交換器103内を流通する冷媒の流速を低下させ、管内側熱伝達率αiを減少させる。室外熱交換器103の熱交換量を上昇させる際には、膨張弁210の開度を低下させ、バイパス回路300の流量を低下させることで室外熱交換器103内を流通する冷媒の流速を増加させ、管内側熱伝達率αiを増加させる。
この制御により、図4の処理能力線501、502、または503で表されるように、バイパス回路300の流量に応じて、室外熱交換器103の処理能力(熱交換量)が変化する。
なお、処理能力線501は、電磁弁209a、209b、及び209cが全て開状態の場合を示す。また、処理能力線502は、電磁弁209aが閉状態、電磁弁209b、及び209cが開状態の場合を示す。また、処理能力線503は、電磁弁209a、及び209bが閉状態、電磁弁209cが開状態の場合を示す。各電磁弁の制御については後述する。
(S102)
The control device 2 controls the amount of refrigerant passing through the bypass circuit 300 based on the opening degree of the expansion valve 210 to control the pipe inner heat transfer coefficient αi. That is, when the heat exchange amount of the outdoor heat exchanger 103 is reduced, the flow rate of the refrigerant flowing through the outdoor heat exchanger 103 by increasing the opening degree of the expansion valve 210 and increasing the flow rate of the bypass circuit 300. To reduce the tube inner heat transfer coefficient αi. When increasing the heat exchange amount of the outdoor heat exchanger 103, the flow rate of the refrigerant flowing through the outdoor heat exchanger 103 is increased by decreasing the opening degree of the expansion valve 210 and decreasing the flow rate of the bypass circuit 300. To increase the tube inner heat transfer coefficient αi.
With this control, the processing capacity (heat exchange amount) of the outdoor heat exchanger 103 changes according to the flow rate of the bypass circuit 300, as represented by the processing capacity lines 501, 502, or 503 in FIG.
The processing capacity line 501 shows a case where the solenoid valves 209a, 209b, and 209c are all open. A processing capacity line 502 indicates a case where the electromagnetic valve 209a is in a closed state and the electromagnetic valves 209b and 209c are in an open state. A processing capacity line 503 indicates a case where the solenoid valves 209a and 209b are closed and the solenoid valve 209c is opened. The control of each solenoid valve will be described later.

制御装置2は、室外熱交換器103の処理能力(熱交換量)が目標処理能力となったか否かを判断する。
制御装置2は、室外熱交換器103の処理能力(熱交換量)が、目標処理能力となった場合には、熱交換量の制御動作を終了する。一方、膨張弁210の開度を全開から全閉の範囲で制御しても目標処理能力とならない場合、ステップS103に進む。
The control device 2 determines whether or not the processing capacity (heat exchange amount) of the outdoor heat exchanger 103 has reached the target processing capacity.
When the processing capacity (heat exchange amount) of the outdoor heat exchanger 103 reaches the target processing capacity, the control device 2 ends the heat exchange amount control operation. On the other hand, if the target processing capacity is not reached even if the opening degree of the expansion valve 210 is controlled in the range from fully open to fully closed, the process proceeds to step S103.

(S103)
制御装置2は、電磁弁209a、209b、及び209cの開閉状態を制御し、各分割熱交換器への冷媒の導通の有無を制御することで、熱交換器の伝熱面積Aの制御を行う。すなわち、室外熱交換器103の熱交換量を低下させる際には、電磁弁209a、209b、及び209cのうち開状態の電磁弁の数を減少させ、冷媒を導通させる分割熱交換器の数を減少させることで伝熱面積Aを減少させる。室外熱交換器103の熱交換量を上昇させる際には、電磁弁209a、209b、及び209cのうち開状態の電磁弁の数を増加させ、冷媒を導通させる分割熱交換器の数を増加させることで伝熱面積Aを増加させる。
例えば、電磁弁209a、209b、209cの開閉の順序は、処理能力(熱交換量)を増やす場合には、電磁弁209c、209b、209aの順番で開状態にし、処理能力(熱交換量)を減らす場合には、電磁弁209a、209b、209cの順番で閉状態にする。
例えば、電磁弁209a、209b、209cが全て開状態において、上記ステップS101、S102が実施されると、図4の処理能力線401、501で表されるように処理能力が変化する。そして、図4の境界601でステップS103が実行されると、電磁弁209aが閉状態に制御される。
電磁弁209aが閉状態、電磁弁209b、及び209cが開状態において、上記ステップS101、S102が実施されると、図4の処理能力線402、502で表されるように処理能力が変化する。そして、図4の境界602でステップS103が実行されると、電磁弁209bが閉状態に制御される。
電磁弁209a、及び209bが閉状態、電磁弁209cが開状態において、上記ステップS101、S102が実施されると、図4の処理能力線403、503で表されるように処理能力が変化する。そして、図4の境界603でステップS103が実行されると、電磁弁209cが閉状態に制御される。
(S103)
The control device 2 controls the heat transfer area A of the heat exchanger by controlling the open / close state of the electromagnetic valves 209a, 209b, and 209c, and controlling the presence or absence of the refrigerant to each divided heat exchanger. . That is, when reducing the heat exchange amount of the outdoor heat exchanger 103, the number of open solenoid valves among the solenoid valves 209a, 209b, and 209c is reduced, and the number of split heat exchangers that conduct the refrigerant is reduced. By reducing the heat transfer area A, the heat transfer area A is reduced. When increasing the heat exchange amount of the outdoor heat exchanger 103, the number of open solenoid valves among the solenoid valves 209a, 209b, and 209c is increased, and the number of split heat exchangers that conduct the refrigerant is increased. Thus, the heat transfer area A is increased.
For example, the order of opening and closing the solenoid valves 209a, 209b, and 209c is such that when the processing capacity (heat exchange amount) is increased, the solenoid valves 209c, 209b, and 209a are opened in the order of the processing capacity (heat exchange amount). When decreasing, it makes a closed state in order of electromagnetic valve 209a, 209b, 209c.
For example, when the above-described steps S101 and S102 are performed while all the solenoid valves 209a, 209b, and 209c are open, the processing capacity changes as represented by the processing capacity lines 401 and 501 in FIG. When step S103 is executed at the boundary 601 in FIG. 4, the electromagnetic valve 209a is controlled to be closed.
When the above steps S101 and S102 are performed in a state where the electromagnetic valve 209a is closed and the electromagnetic valves 209b and 209c are open, the processing capacity changes as represented by the processing capacity lines 402 and 502 in FIG. Then, when step S103 is executed at the boundary 602 in FIG. 4, the electromagnetic valve 209b is controlled to be closed.
When the above steps S101 and S102 are performed in a state where the electromagnetic valves 209a and 209b are closed and the electromagnetic valve 209c is opened, the processing capacity changes as represented by the processing capacity lines 403 and 503 in FIG. And if step S103 is performed in the boundary 603 of FIG. 4, the solenoid valve 209c will be controlled to a closed state.

なお、上記の動作説明では、管外側熱伝達率αoの制御(S101)、管内側熱伝達率αiの制御(S102)、伝熱面積Aの制御(S103)の順に行う場合を説明したが、本発明はこれに限るものではなく、任意の順序で実施しても良い。   In the above description of the operation, the case where the outside heat transfer coefficient αo control (S101), the inside pipe heat transfer coefficient αi control (S102), and the heat transfer area A control (S103) are described in this order. The present invention is not limited to this, and may be carried out in any order.

以上のように本実施の形態においては、管外側熱伝達率αo、管内側熱伝達率αi、及び伝熱面積Aを制御して、室外熱交換器103の熱交換量を制御するので、室外熱交換器103の熱交換量を所望の熱交換量とすることができる。
また、室外熱交換器103を流通する冷媒流量が低下し、管外側熱伝達率αoの制御による熱交換量の変化が小さくなる場合でも、熱交換量を連続的に制御することができる。
また、室外熱交換器103の熱交換量を負荷や外乱によらず連続的に制御することができる。
また、ファン230に下限風量が設定され、その下限風量で動作している場合、装置外部から流入した風や雨の影響などにより熱交換量が過大となっても、管内側熱伝達率αi、及び伝熱面積Aの制御により、所望の熱交換量とすることができる。
また、電磁弁209a、209b、209cの制御により、室外熱交換器103内を流通する冷媒を完全にバイパスすることができ、室外熱交換器103の処理能力(熱交換量)を0%まで低下させることが可能となる。
また、従来の管外側熱伝達率αoや伝熱面積Aのみの制御と比較して、管内側熱伝達率αi、管外側熱伝達率αo、及び伝熱面積Aの制御幅が少なくても、室外熱交換器103の熱交換量を広い範囲で制御可能となる。
As described above, in the present embodiment, the outside heat transfer coefficient αo, the inside pipe heat transfer coefficient αi, and the heat transfer area A are controlled to control the heat exchange amount of the outdoor heat exchanger 103. The heat exchange amount of the heat exchanger 103 can be set to a desired heat exchange amount.
Further, even when the flow rate of the refrigerant flowing through the outdoor heat exchanger 103 decreases and the change in the heat exchange amount due to the control of the outside heat transfer coefficient αo becomes small, the heat exchange amount can be controlled continuously.
Moreover, the heat exchange amount of the outdoor heat exchanger 103 can be continuously controlled regardless of the load or disturbance.
In addition, when a lower limit air volume is set for the fan 230 and the fan 230 is operating at the lower air volume, even if the heat exchange amount is excessive due to the influence of wind or rain flowing in from the outside of the apparatus, the pipe inner heat transfer coefficient αi, And by controlling the heat transfer area A, a desired heat exchange amount can be obtained.
Further, the refrigerant circulating in the outdoor heat exchanger 103 can be completely bypassed by controlling the solenoid valves 209a, 209b, and 209c, and the processing capacity (heat exchange amount) of the outdoor heat exchanger 103 is reduced to 0%. It becomes possible to make it.
In addition, compared with the conventional control of only the tube outer heat transfer coefficient αo and the heat transfer area A, the control width of the tube inner heat transfer coefficient αi, the tube outer heat transfer coefficient αo, and the heat transfer area A is small, The heat exchange amount of the outdoor heat exchanger 103 can be controlled in a wide range.

なお、上記の説明では、バイパス回路300に膨張弁210を設置する場合を説明したが、本発明はこれに限るものではなく、バイパス回路300を導通する流量を制御できる構成であればよい。一例を図6により説明する。   In the above description, the case where the expansion valve 210 is installed in the bypass circuit 300 has been described. However, the present invention is not limited to this, and any configuration may be used as long as the flow rate through the bypass circuit 300 can be controlled. An example will be described with reference to FIG.

図6は、電磁弁を用いた流量制御を行う室外熱交換器の構造を説明する図である。
図6に示す例では、バイパス回路300に接続する接続配管119をさらに複数に分岐させて、それぞれに開閉制御されて冷媒の導通有無を開閉制御する開閉弁である電磁弁220a、220b、220cが設置されている。
この電磁弁220a、220b、220cの開閉を切り替えることによってバイパス回路300の流路抵抗を変化させ、バイパス回路300を流れる冷媒流量を制御し、室外熱交換器103を流れる冷媒流量を制御することで、管内側熱伝達率αiを制御するようにしてもよい。これにより、バイパス回路300を導通する流量の制御手段として安価な電磁弁を使用することができる。
FIG. 6 is a diagram illustrating the structure of an outdoor heat exchanger that performs flow rate control using a solenoid valve.
In the example shown in FIG. 6, electromagnetic valves 220 a, 220 b, and 220 c that are open / close valves that branch off the connection pipe 119 connected to the bypass circuit 300 into a plurality of parts and are controlled to open / close to control whether the refrigerant is on or off. is set up.
By switching the opening and closing of the electromagnetic valves 220a, 220b, and 220c, the flow path resistance of the bypass circuit 300 is changed, the flow rate of refrigerant flowing through the bypass circuit 300 is controlled, and the flow rate of refrigerant flowing through the outdoor heat exchanger 103 is controlled. The pipe inner heat transfer coefficient αi may be controlled. Thereby, an inexpensive solenoid valve can be used as a flow rate control means for conducting the bypass circuit 300.

なお、本実施の形態においては、室外熱交換器103の熱交換量を制御する場合を説明したが、本発明はこれに限るものではなく、上述した技術思想を適用することで、室内熱交換器118の熱交換量を制御することも可能である。   In the present embodiment, the case of controlling the heat exchange amount of the outdoor heat exchanger 103 has been described. However, the present invention is not limited to this, and the indoor heat exchange can be performed by applying the technical idea described above. It is also possible to control the heat exchange amount of the vessel 118.

1 空調用冷凍サイクル、2 制御装置、101 空調用圧縮機、102 四方弁、103 室外熱交換器、104 アキュムレータ、105a 逆止弁、105b 逆止弁、105c 逆止弁、105d 逆止弁、106 高圧側接続配管、107 低圧側接続配管、108 気液分離器、109 第1分配部、109a 弁手段、109b 弁手段、110 第2分配部、110a 逆止弁、110b 逆止弁、111 第1内部熱交換器、112 第1中継機用絞り手段、113 第2内部熱交換器、114 第2中継機用絞り手段、115 第1会合部、116 第2会合部、116a 会合部、117 空調用絞り手段、118 室内熱交換器、119 接続配管、130 第1接続配管、131 第2接続配管、132 接続配管、133 接続配管、133a 接続配管、133b 接続配管、134 接続配管、134a 接続配管、134b 接続配管、209a 電磁弁、209b 電磁弁、209c 電磁弁、210 膨張弁、220a 電磁弁、220b 電磁弁、220c 電磁弁、230 ファン、300 バイパス回路、401 処理能力線、402 処理能力線、403 処理能力線、501 処理能力線、502 処理能力線、503 処理能力線、601 境界、602 境界、603 境界、A 熱源機、B 冷房室内機、C 暖房室内機、D 中継機、a 接続部分、b 接続部分、c 接続部分、d 接続部分。   DESCRIPTION OF SYMBOLS 1 Refrigeration cycle for air conditioning, 2 Control apparatus, 101 Compressor for air conditioning, 102 Four-way valve, 103 Outdoor heat exchanger, 104 Accumulator, 105a Check valve, 105b Check valve, 105c Check valve, 105d Check valve, 106 High-pressure side connection pipe, 107 Low-pressure side connection pipe, 108 Gas-liquid separator, 109 First distribution part, 109a Valve means, 109b Valve means, 110 Second distribution part, 110a Check valve, 110b Check valve, 111 First Internal heat exchanger, 112 1st relay squeezing means, 113 2nd internal heat exchanger, 114 2nd relay squeezing means, 115 1st meeting part, 116 2nd meeting part, 116a meeting part, 117 For air conditioning Throttle means, 118 indoor heat exchanger, 119 connection piping, 130 first connection piping, 131 second connection piping, 132 connection piping, 133 connection piping, 33a connection piping, 133b connection piping, 134 connection piping, 134a connection piping, 134b connection piping, 209a solenoid valve, 209b solenoid valve, 209c solenoid valve, 210 expansion valve, 220a solenoid valve, 220b solenoid valve, 220c solenoid valve, 230 fan , 300 Bypass circuit, 401 processing capacity line, 402 processing capacity line, 403 processing capacity line, 501 processing capacity line, 502 processing capacity line, 503 processing capacity line, 601 boundary, 602 boundary, 603 boundary, A heat source machine, B cooling Indoor unit, C heating indoor unit, D relay machine, a connection part, b connection part, c connection part, d connection part.

本発明に係る空気調和装置は、圧縮機、絞り手段、及び熱交換器を少なくとも有し、冷媒を循環させる冷媒回路と、前記熱交換器の熱交換量を制御する制御手段とを備え、前記熱交換器は、前記冷媒が流通する伝熱管外側の熱伝達率(αo)を調整する管外側熱伝達率調整手段と、前記冷媒が流通する伝熱管内側の熱伝達率(αi)を調整する管内側熱伝達率調整手段と、前記冷媒と熱媒体とが熱交換する伝熱面積(A)を調整する伝熱面積調整手段と、各々異なる容量を有する複数に分割された熱交換器と、を備え、前記制御手段は、前記伝熱管外側の熱伝達率(αo)、前記伝熱管内側の熱伝達率(αi)、及び前記伝熱面積(A)を制御して、前記熱交換器の熱交換量を制御するものである。 An air conditioner according to the present invention includes at least a compressor, a throttle unit, and a heat exchanger, and includes a refrigerant circuit that circulates a refrigerant, and a control unit that controls a heat exchange amount of the heat exchanger, The heat exchanger adjusts the heat transfer coefficient (αi) outside the heat transfer tube through which the refrigerant flows, and the heat transfer coefficient (αi) inside the heat transfer tube through which the refrigerant flows. A heat transfer area adjusting means for adjusting the heat transfer area (A) for heat exchange between the refrigerant and the heat medium , a plurality of divided heat exchangers each having a different capacity, The control means controls the heat transfer coefficient (αo) outside the heat transfer tube, the heat transfer coefficient (αi) inside the heat transfer tube, and the heat transfer area (A), and It controls the amount of heat exchange.

Claims (5)

圧縮機、絞り手段、及び熱交換器を少なくとも有し、冷媒を循環させる冷媒回路と、
前記熱交換器の熱交換量を制御する制御手段とを備え、
前記熱交換器は、
前記冷媒が流通する伝熱管外側の熱伝達率(αo)を調整する管外側熱伝達率調整手段と、
前記冷媒が流通する伝熱管内側の熱伝達率(αi)を調整する管内側熱伝達率調整手段と、
前記冷媒と熱媒体とが熱交換する伝熱面積(A)を調整する伝熱面積調整手段とを備え、
前記制御手段は、
前記伝熱管外側の熱伝達率(αo)、前記伝熱管内側の熱伝達率(αi)、及び前記伝熱面積(A)を制御して、前記熱交換器の熱交換量を制御する
ことを特徴とする空気調和装置。
A refrigerant circuit having at least a compressor, a throttle means, and a heat exchanger, and circulating the refrigerant;
Control means for controlling the heat exchange amount of the heat exchanger,
The heat exchanger is
A tube outside heat transfer coefficient adjusting means for adjusting a heat transfer coefficient (αo) outside the heat transfer tube through which the refrigerant flows;
Pipe inner heat transfer coefficient adjusting means for adjusting the heat transfer coefficient (αi) inside the heat transfer pipe through which the refrigerant flows;
A heat transfer area adjusting means for adjusting a heat transfer area (A) for heat exchange between the refrigerant and the heat medium,
The control means includes
Controlling the heat transfer rate of the heat exchanger by controlling the heat transfer rate (αo) outside the heat transfer tube, the heat transfer rate (αi) inside the heat transfer tube, and the heat transfer area (A). An air conditioner characterized.
前記熱交換器は、
前記管内側熱伝達率調整手段として、当該熱交換器に流入する前記冷媒を分岐して当該熱交換器を迂回させるバイパス流路と、前記バイパス流路の流量を調整する流量調整手段とを備え、
前記制御手段は、
前記バイパス流路の流量を制御して、前記伝熱管内側の熱伝達率(αi)を制御する
ことを特徴とする請求項1記載の空気調和装置。
The heat exchanger is
The pipe inner heat transfer coefficient adjusting means includes a bypass flow path for branching the refrigerant flowing into the heat exchanger to bypass the heat exchanger, and a flow rate adjusting means for adjusting the flow rate of the bypass flow path. ,
The control means includes
2. The air conditioner according to claim 1, wherein the heat transfer coefficient (αi) inside the heat transfer tube is controlled by controlling a flow rate of the bypass flow path.
前記熱交換器は、
前記熱媒体としての空気と前記冷媒とを熱交換し、
前記管外側熱伝達率調整手段として、当該熱交換器に前記空気を送風するファンを備え、
前記制御手段は、
前記ファンの送風量を制御して、前記伝熱管外側の熱伝達率(αo)を制御する
ことを特徴とする請求項1または2記載の空気調和装置。
The heat exchanger is
Heat exchange between the air as the heat medium and the refrigerant,
As the tube outside heat transfer coefficient adjusting means, a fan for blowing the air to the heat exchanger is provided,
The control means includes
3. The air conditioner according to claim 1, wherein the air flow rate of the fan is controlled to control a heat transfer coefficient (αo) outside the heat transfer tube. 4.
前記制御手段は、
前記熱交換器の熱交換量を低下させる際、前記ファンの送風量を低下させて前記伝熱管外側の熱伝達率(αo)を減少させ、
前記ファンの送風量が所定値を下回る場合、前記バイパス流路の流量を増加させて前記伝熱管内側の熱伝達率(αi)を減少させる
ことを特徴とする請求項2に従属する請求項3記載の空気調和装置。
The control means includes
When reducing the heat exchange amount of the heat exchanger, the air flow rate of the heat transfer tube (αo) is reduced by reducing the air flow rate of the fan,
3. The subordinate to claim 2, wherein when the air flow rate of the fan is lower than a predetermined value, the flow rate of the bypass passage is increased to decrease the heat transfer coefficient (αi) inside the heat transfer tube. The air conditioning apparatus described.
前記熱交換器は、
前記冷媒の流路が異なる複数の熱交換器に分割され、
前記伝熱面積調整手段として、前記複数の熱交換器のそれぞれの流路に開閉弁を備え、
前記制御手段は、
前記各開閉弁の開閉を制御して、前記伝熱面積(A)を制御する
ことを特徴とする請求項1〜4の何れか一項に記載の空気調和装置。
The heat exchanger is
The refrigerant flow path is divided into a plurality of different heat exchangers,
As the heat transfer area adjusting means, an on-off valve is provided in each flow path of the plurality of heat exchangers,
The control means includes
The air conditioner according to any one of claims 1 to 4, wherein the heat transfer area (A) is controlled by controlling opening and closing of the on-off valves.
JP2014506999A 2012-03-29 2012-03-29 Air conditioner Pending JPWO2013145006A1 (en)

Priority Applications (1)

Application Number Priority Date Filing Date Title
JP2014506999A JPWO2013145006A1 (en) 2012-03-29 2012-03-29 Air conditioner

Applications Claiming Priority (1)

Application Number Priority Date Filing Date Title
JP2014506999A JPWO2013145006A1 (en) 2012-03-29 2012-03-29 Air conditioner

Publications (1)

Publication Number Publication Date
JPWO2013145006A1 true JPWO2013145006A1 (en) 2015-08-03

Family

ID=53772711

Family Applications (1)

Application Number Title Priority Date Filing Date
JP2014506999A Pending JPWO2013145006A1 (en) 2012-03-29 2012-03-29 Air conditioner

Country Status (1)

Country Link
JP (1) JPWO2013145006A1 (en)

Citations (2)

* Cited by examiner, † Cited by third party
Publication number Priority date Publication date Assignee Title
JPH046372A (en) * 1990-04-23 1992-01-10 Mitsubishi Electric Corp air conditioner
JPH06265231A (en) * 1993-03-11 1994-09-20 Mitsubishi Heavy Ind Ltd Air conditioner

Patent Citations (2)

* Cited by examiner, † Cited by third party
Publication number Priority date Publication date Assignee Title
JPH046372A (en) * 1990-04-23 1992-01-10 Mitsubishi Electric Corp air conditioner
JPH06265231A (en) * 1993-03-11 1994-09-20 Mitsubishi Heavy Ind Ltd Air conditioner

Similar Documents

Publication Publication Date Title
WO2013145006A1 (en) Air conditioning device
JP6685409B2 (en) Air conditioner
CN111102770A (en) Air conditioning system capable of continuously heating
CN103229004B (en) air conditioner
JP3925545B2 (en) Refrigeration equipment
CN104364591B (en) Conditioner
JP6223469B2 (en) Air conditioner
JP4704728B2 (en) Refrigerant temperature control device and control method for air conditioner
JP6479181B2 (en) Air conditioner
EP3106768B1 (en) Heat source-side unit and air conditioning device
EP3144606B1 (en) Air conditioner
JP6880204B2 (en) Air conditioner
US10539343B2 (en) Heat source side unit and air-conditioning apparatus
CN104456731B (en) Multi-connected machine
JP5872052B2 (en) Air conditioner
KR20210100461A (en) Air conditioning apparatus
WO2021014520A1 (en) Air-conditioning device
WO2016189739A1 (en) Air conditioning device
JP6984048B2 (en) Air conditioner
JP6336066B2 (en) Air conditioner
KR20120114997A (en) Air conditoner
JP2011058749A (en) Air conditioner
KR20080084482A (en) Control method of air conditioner
JPWO2013145006A1 (en) Air conditioner
KR102136874B1 (en) Air conditioner

Legal Events

Date Code Title Description
A131 Notification of reasons for refusal

Free format text: JAPANESE INTERMEDIATE CODE: A131

Effective date: 20150609

A02 Decision of refusal

Free format text: JAPANESE INTERMEDIATE CODE: A02

Effective date: 20160712