JPWO2010092782A1 - Underground wall structure - Google Patents

Underground wall structure Download PDF

Info

Publication number
JPWO2010092782A1
JPWO2010092782A1 JP2010550445A JP2010550445A JPWO2010092782A1 JP WO2010092782 A1 JPWO2010092782 A1 JP WO2010092782A1 JP 2010550445 A JP2010550445 A JP 2010550445A JP 2010550445 A JP2010550445 A JP 2010550445A JP WO2010092782 A1 JPWO2010092782 A1 JP WO2010092782A1
Authority
JP
Japan
Prior art keywords
steel sheet
sheet pile
underground outer
pair
wall structure
Prior art date
Legal status (The legal status is an assumption and is not a legal conclusion. Google has not performed a legal analysis and makes no representation as to the accuracy of the status listed.)
Pending
Application number
JP2010550445A
Other languages
Japanese (ja)
Inventor
俊彦 坂本
俊彦 坂本
裕章 中山
裕章 中山
典佳 原田
典佳 原田
Current Assignee (The listed assignees may be inaccurate. Google has not performed a legal analysis and makes no representation or warranty as to the accuracy of the list.)
Nippon Steel Corp
Original Assignee
Nippon Steel Corp
Priority date (The priority date is an assumption and is not a legal conclusion. Google has not performed a legal analysis and makes no representation as to the accuracy of the date listed.)
Filing date
Publication date
Application filed by Nippon Steel Corp filed Critical Nippon Steel Corp
Publication of JPWO2010092782A1 publication Critical patent/JPWO2010092782A1/en
Pending legal-status Critical Current

Links

Images

Classifications

    • EFIXED CONSTRUCTIONS
    • E02HYDRAULIC ENGINEERING; FOUNDATIONS; SOIL SHIFTING
    • E02DFOUNDATIONS; EXCAVATIONS; EMBANKMENTS; UNDERGROUND OR UNDERWATER STRUCTURES
    • E02D5/00Bulkheads, piles, or other structural elements specially adapted to foundation engineering
    • E02D5/02Sheet piles or sheet pile bulkheads
    • E02D5/03Prefabricated parts, e.g. composite sheet piles
    • E02D5/04Prefabricated parts, e.g. composite sheet piles made of steel
    • EFIXED CONSTRUCTIONS
    • E02HYDRAULIC ENGINEERING; FOUNDATIONS; SOIL SHIFTING
    • E02DFOUNDATIONS; EXCAVATIONS; EMBANKMENTS; UNDERGROUND OR UNDERWATER STRUCTURES
    • E02D5/00Bulkheads, piles, or other structural elements specially adapted to foundation engineering
    • E02D5/02Sheet piles or sheet pile bulkheads
    • E02D5/03Prefabricated parts, e.g. composite sheet piles
    • E02D5/04Prefabricated parts, e.g. composite sheet piles made of steel
    • E02D5/08Locking forms; Edge joints; Pile crossings; Branch pieces

Landscapes

  • Engineering & Computer Science (AREA)
  • Structural Engineering (AREA)
  • Chemical & Material Sciences (AREA)
  • Composite Materials (AREA)
  • Life Sciences & Earth Sciences (AREA)
  • General Life Sciences & Earth Sciences (AREA)
  • Mining & Mineral Resources (AREA)
  • Paleontology (AREA)
  • Civil Engineering (AREA)
  • General Engineering & Computer Science (AREA)
  • Bulkheads Adapted To Foundation Construction (AREA)

Abstract

本発明の地下外壁構造は、それぞれの側端縁に設けられる継手部で互いに連結され、地盤に埋め込まれることで地盤側と地下室空間側とを区画する第1の鋼矢板および第2の鋼矢板と、前記継手部の前記地下室空間側を跨ぐように前記第1の鋼矢板と前記第2の鋼矢板の両方に接合される連結部材とを備え、前記連結部材が前記第1の鋼矢板と第2の鋼矢板の埋め込み方向に沿って設けられている。  The underground outer wall structure of the present invention is connected to each other by a joint portion provided at each side edge, and is embedded in the ground to partition the ground side and the basement space side into a first steel sheet pile and a second steel sheet pile. And a connecting member joined to both the first steel sheet pile and the second steel sheet pile so as to straddle the basement space side of the joint portion, and the connecting member includes the first steel sheet pile It is provided along the embedding direction of the second steel sheet pile.

Description

本発明は、地下外壁構造に関する。本発明は得特に、複数の鋼矢板からなる壁本体を備えた地下外壁構造に関する。
本願は、2009年2月10日に、日本に出願された特願2009−028769号に基づき優先権を主張し、その内容をここに援用する。
The present invention relates to an underground outer wall structure. The present invention particularly relates to an underground outer wall structure provided with a wall body made of a plurality of steel sheet piles.
This application claims priority on February 10, 2009 based on Japanese Patent Application No. 2009-028769 for which it applied to Japan, and uses the content here.

従来、建築物などの地下外壁としては、鉄筋コンクリート造の地下外壁(以下、RC壁と呼ぶ)が多用されている。このようなRC壁を構築する手順としては、親杭横矢板やソイルセメント壁等の地中連続壁による仮設土留めを用いて地下掘削を行い、その後、掘削した仮設土留めの内側にRC壁を構築する工法が一般的である。このような地下外壁の施工方法において、仮設土留め材は、地下外壁の構造体として見込まれておらず、RC壁の構築後に引き抜かれるかあるいは埋め殺される。したがって、施工コストの増加や工期の長期化につながってしまうという不都合がある。   Conventionally, reinforced concrete underground outer walls (hereinafter referred to as RC walls) are frequently used as underground outer walls of buildings and the like. As a procedure for constructing such an RC wall, underground excavation is performed using temporary earth retaining by underground continuous walls such as a main pile lateral sheet pile and soil cement wall, and then the RC wall is placed inside the excavated temporary earth retaining. The construction method is generally common. In such a construction method of the underground outer wall, the temporary earth retaining material is not expected as a structure of the underground outer wall and is pulled out or buried after the RC wall is constructed. Therefore, there is an inconvenience that the construction cost increases and the construction period becomes longer.

このような不都合を改善するために、仮設土留め材とRC壁とを一体化した合成構造によって、仮設土留め材を地下外壁の構造体として利用する技術が提案されている(例えば、特許文献1、2参照)。
特許文献1に記載の地下壁構造では、仮設土留めであるソイルセメント壁内に埋設される芯材であるH形鋼のフランジに頭付きスタッドを取り付け、この頭付きスタッドを埋め込むようにして後打ちのRC壁を構築することで、H形鋼とRC壁とが連結される。このように仮設土留め材の芯材とRC壁とを連結することで、土圧や水圧などの地下外壁の面外から作用する外力に対し、芯材およびRC壁が一体的に抵抗することができる。すなわち、芯材によってRC壁を補強することができ、仮設土留め材の芯材を地下外壁の構造体の一部として利用できるようになっている。
In order to improve such an inconvenience, a technique has been proposed in which the temporary earth retaining material is used as a structure of the underground outer wall by a composite structure in which the temporary earth retaining material and the RC wall are integrated (for example, Patent Documents). 1 and 2).
In the underground wall structure described in Patent Document 1, a headed stud is attached to a flange of an H-shaped steel, which is a core material embedded in a soil cement wall that is a temporary earth retaining, and this headed stud is embedded in the rear. The H-section steel and the RC wall are connected by constructing the punched RC wall. By connecting the core material of the temporary earth retaining material and the RC wall in this way, the core material and the RC wall integrally resist external forces acting from the outside of the underground outer wall such as earth pressure and water pressure. Can do. That is, the RC wall can be reinforced by the core material, and the core material of the temporary earth retaining material can be used as a part of the structure of the underground outer wall.

また、特許文献2に記載の技術は、仮設土留め材の一つである鋼矢板とRC壁とを一体化した合成構造に関する。この合成構造においては、鋼矢板に固定した孔あき鋼板ジベルを介してRC壁と鋼矢板とが連結される。このように、鋼矢板を地下外壁の構造体として利用することで、RC壁の構築後に鋼矢板を引き抜く必要がなくなる。また、鋼矢板による補強分だけRC壁の躯体数量の低減が見込める。従って、施工コストの削減や工期短縮を図ることができる。   Moreover, the technique of patent document 2 is related with the composite structure which integrated the steel sheet pile and RC wall which are one of the temporary earth retaining materials. In this composite structure, the RC wall and the steel sheet pile are connected via a perforated steel plate gibber fixed to the steel sheet pile. Thus, by using the steel sheet pile as a structure of the underground outer wall, it is not necessary to pull out the steel sheet pile after the RC wall is constructed. In addition, the number of RC walls can be reduced by the amount of reinforcement by the steel sheet pile. Therefore, it is possible to reduce the construction cost and the construction period.

日本国特許第3578210号公報Japanese Patent No. 3578210 日本国特許第3614087号公報Japanese Patent No. 3614087

特許文献1、2に記載された従来の合成構造の地下外壁において、仮設土留めを構成する芯材や鋼矢板は、面外方向に作用する荷重に対してRC壁の補強材として抵抗することが可能であるものの、地震時の面内荷重に対して抵抗することはできない。このため、地震時の面内荷重に対して抵抗するためにはRC壁が必須であり、従来の地下外壁構造としては、仮設土留めを用いて地下掘削を行った後にRC壁を構築することから、大幅な施工コスト削減や工期短縮を期待することができない。
一方、大幅なコスト削減や工期短縮を行うためには、従来の地下外壁構造においてRC壁を構築せずに、複数の鋼矢板のみで地下外壁を構成することも考えられる。しかしながら、この場合には、鋼矢板同士の連結部(継手部)が長手方向(上下方向)に拘束されていないため、地震時の面内荷重に対してせん断力を十分伝達できず、鋼矢板単独で構成した地下外壁を耐震壁として利用することができない。
ここで、鋼矢板の連結部におけるせん断耐力を向上させる方法として、例えば、連結部を直接溶接する方法や、連結部に丸棒を噛ませて溶接する方法などが考えられる。しかし、鋼矢板の連結部を直接溶接する方法では、連結部の嵌合状況に応じて溶接を行う間隙部の大きさが異なる。従って、高度な喉厚管理や強度管理を必要とするため、実施工への適用が困難であるという問題がある。また、隣り合う鋼矢板の継手部の現場溶接の精度は溶接者の技術に強く依存するため品質管理が難しく、地震等に対する安全性は不十分である。
In the underground outer wall of the conventional composite structure described in Patent Documents 1 and 2, the core material and steel sheet pile constituting the temporary earth retaining material resist the load acting on the out-of-plane direction as a reinforcing material for the RC wall. However, it cannot resist the in-plane load during an earthquake. For this reason, RC walls are indispensable to resist the in-plane load at the time of an earthquake, and as a conventional underground outer wall structure, an RC wall is constructed after performing underground excavation using temporary earth retaining. Therefore, it cannot be expected that the construction cost will be significantly reduced and the construction period will be shortened.
On the other hand, in order to significantly reduce the cost and the construction period, it is also conceivable to construct the underground outer wall only with a plurality of steel sheet piles without constructing the RC wall in the conventional underground outer wall structure. However, in this case, since the connection part (joint part) between the steel sheet piles is not restrained in the longitudinal direction (vertical direction), the shear force cannot be sufficiently transmitted to the in-plane load at the time of the earthquake. A single underground wall cannot be used as a seismic wall.
Here, as a method of improving the shear strength at the connecting portion of the steel sheet pile, for example, a method of directly welding the connecting portion, a method of welding a round bar in the connecting portion, or the like can be considered. However, in the method of directly welding the connecting portion of the steel sheet pile, the size of the gap portion to be welded differs depending on the fitting state of the connecting portion. Therefore, there is a problem that it is difficult to apply to the construction work because it requires high-level throat thickness management and strength management. Moreover, since the precision of the field welding of the joint part of an adjacent steel sheet pile strongly depends on a welder's technique, quality control is difficult and the safety | security with respect to an earthquake etc. is inadequate.

本発明の目的は、地震時の面内荷重に対して抵抗するためのRC壁を必要とせず、鋼矢板単独で地下外壁を構築できるように施工・強度管理が容易な継手拘束手段を用いて、耐震壁としての機能を持たせた地下外壁構造を提供すること、および大幅なコスト削減が実現できる地下外壁構造を提供することにある。   The purpose of the present invention is to use a joint restraint means that does not require an RC wall to resist the in-plane load during an earthquake and that allows easy construction and strength management so that an underground outer wall can be constructed with a steel sheet pile alone. An object of the present invention is to provide an underground outer wall structure that has a function as a seismic wall, and to provide an underground outer wall structure that can realize significant cost reduction.

本発明は、上述の課題を解決するために以下の手段を採用した。
(1)本発明の一態様は、それぞれの側端縁に設けられる継手部で互いに連結され、地盤に埋め込まれることで地盤側と地下室空間側とを区画する第1の鋼矢板および第2の鋼矢板と;前記継手部の前記地下室空間側を跨ぐように前記第1の鋼矢板と前記第2の鋼矢板の両方に接合される連結部材と;を備える地下外壁構造である。前記連結部材は、前記第1の鋼矢板と前記第2の鋼矢板の埋め込み方向に沿って設けられている。
(2)上記(1)に記載の地下外壁構造では、前記連結部材が、前記第1の鋼矢板と前記第2の鋼矢板の各々に接合される一対の接合部と;前記継手部の前記地下室空間側を覆うカバー部と;を備え、前記カバー部と前記継手部との間に隠蔽空間が形成されていても良い。
(3)上記(2)に記載の地下外壁構造では、前記一対の接合部が、前記第1の鋼矢板および前記第2の鋼矢板と前記連結部材とを溶接した溶接接合部であって、前記第1の鋼矢板および前記第2の鋼矢板の埋め込み方向に沿って連続して設けられるか、または前記埋め込み方向に沿って断続的に設けられていても良い。
(4)上記(2)又は(3)に記載の地下外壁構造では、前記カバー部が、断面L字形、断面U字形または断面半円筒形を有する鋼材であっても良い。
(5)上記(2)〜(4)のいずれかに記載の地下外壁構造では、前記第1の鋼矢板および前記第2の鋼矢板の前記地下室空間側における所定の高さ位置には、前記埋め込み方向に対し略垂直方向に延びる排水溝が設けられ、前記隠蔽空間の下端部が前記排水溝に連通されていても良い。
(6)上記(1)〜(5)のいずれかに記載の地下外壁構造では、前記第1の鋼矢板および前記第2の鋼矢板がそれぞれ、前記地下室空間側に位置して設けられる第1フランジと;前記第1フランジの両側端縁に連設される一対のウェブと;前記一対のウェブの先端縁から前記第1フランジと略平行かつ外方に延び、前記地盤側に位置して設けられる一対の第2フランジと;を備え、前記一対の第2フランジの先端縁に前記一対の継手部が設けられるハット形鋼矢板であり、前記第2フランジに前記連結部材が接合されていても良い。
(7)上記(1)〜(5)のいずれかに記載の地下外壁構造では、前記第1の鋼矢板および前記第2の鋼矢板はそれぞれ、前記地盤側に位置して設けられる第1フランジと;前記第1フランジの両側端縁に連設される一対のウェブと;前記一対のウェブの先端縁から前記第1フランジと略平行かつ外方に延び、前記地下室空間側に位置して設けられる一対の第2フランジと;を備え、前記一対の第2フランジの先端縁に前記一対の継手部が設けられるハット形鋼矢板であり、前記第2フランジに前記連結部材が接合されていても良い。
(8)上記(1)〜(5)のいずれかに記載の地下外壁構造では、前記第1の鋼矢板が、前記地盤側に位置して設けられる第1フランジと;前記第1のフランジの両側端縁に連設される一対の第1ウェブと;を備え、前記一対の第1ウェブの先端縁に前記一対の継手部が設けられる第1のU形鋼矢板であり、前記第2の鋼矢板が、前記地下室空間側に位置して設けられる第2フランジと;前記第2のフランジの両側端縁に連設される一対の第2ウェブと;を備え、前記一対の第2ウェブの先端縁に前記一対の継手部が設けられる第2のU形鋼矢板であり、前記第1ウェブおよび前記第2ウェブに前記連結部材が接合されていても良い。
The present invention employs the following means in order to solve the above-described problems.
(1) According to one aspect of the present invention, the first steel sheet pile and the second steel sheet are connected to each other by joint portions provided at the respective side edges and embedded in the ground to partition the ground side and the basement space side. An underground outer wall structure comprising: a steel sheet pile; and a connecting member joined to both the first steel sheet pile and the second steel sheet pile so as to straddle the basement space side of the joint portion. The connecting member is provided along the embedding direction of the first steel sheet pile and the second steel sheet pile.
(2) In the underground outer wall structure described in (1) above, the connecting member is a pair of joints joined to each of the first steel sheet pile and the second steel sheet pile; A cover portion covering the basement space side; and a concealing space may be formed between the cover portion and the joint portion.
(3) In the underground outer wall structure described in (2) above, the pair of joints is a welded joint that welds the first steel sheet pile, the second steel sheet pile, and the connecting member, It may be provided continuously along the embedding direction of the first steel sheet pile and the second steel sheet pile, or may be provided intermittently along the embedding direction.
(4) In the underground outer wall structure described in the above (2) or (3), the cover portion may be a steel material having an L-shaped section, a U-shaped section, or a semi-cylindrical section.
(5) In the underground outer wall structure according to any one of (2) to (4), the predetermined height position on the basement space side of the first steel sheet pile and the second steel sheet pile is A drainage groove extending in a direction substantially perpendicular to the embedding direction may be provided, and a lower end portion of the concealing space may be communicated with the drainage groove.
(6) In the underground outer wall structure according to any one of (1) to (5), the first steel sheet pile and the second steel sheet pile are each provided on the basement space side. A flange; a pair of webs connected to both side edges of the first flange; and extending from the leading edge of the pair of webs to be substantially parallel to the first flange and outward and located on the ground side A pair of second flanges, and a hat-shaped steel sheet pile in which the pair of joint portions are provided at the end edges of the pair of second flanges, and the connecting member is joined to the second flange. good.
(7) In the underground outer wall structure according to any one of (1) to (5), the first steel sheet pile and the second steel sheet pile are each provided on the ground side. A pair of webs connected to both side edges of the first flange; provided to extend from the leading edges of the pair of webs substantially parallel to the first flange and outward and located on the basement space side A pair of second flanges, and a hat-shaped steel sheet pile in which the pair of joint portions are provided at the end edges of the pair of second flanges, and the connecting member is joined to the second flange. good.
(8) In the underground outer wall structure according to any one of (1) to (5) above, the first steel sheet pile is provided on the ground side, and the first flange; A first U-shaped steel sheet pile in which the pair of joint portions are provided at the leading edges of the pair of first webs, A steel sheet pile comprising: a second flange provided on the basement space side; a pair of second webs connected to both side edges of the second flange; and a pair of second webs It is a 2nd U-shaped steel sheet pile in which a pair of above-mentioned joint part is provided in a tip edge, and the above-mentioned connecting member may be joined to the 1st web and the 2nd web.

上記(1)に記載の構成によれば、隣り合う鋼矢板の継手部を跨いで連結部材を接合し、この連結部材で鋼矢板同士を連結することで、隣り合う鋼矢板の継手部における上下方向(埋め込み方向)の相対変形、つまり鋼矢板同士のせん断変形を拘束することができる。従って、複数の鋼矢板を連結した壁本体が、その面内せん断力に対して十分抵抗できるようになり、壁本体を耐震壁として機能させることができる。これにより、従来のようなRC壁を鋼矢板からなる壁本体の内側(空間側)に構築しなくてもよくなり、RC壁の構築に要するコストや工期を大幅に削減することが可能となる。
また、鋼矢板の継手部を跨ぐ前面側(地下空間側)に連結部材を設けることで、連結部材の接合作業を前面側から実施することができ、鋼矢板の埋め込み後に前面側の地盤を掘削してから連結部材を後付けで接合することができる。従って、鋼矢板の埋め込み前にその表面から突出する余計な部材を設ける必要がないため、鋼矢板の埋め込み抵抗の増加を防止して良好な施工性が確保できる。
According to the configuration described in (1) above, the connecting members are joined across the joint portions of the adjacent steel sheet piles, and the steel sheet piles are connected by this connecting member, so that the upper and lower portions in the joint portions of the adjacent steel sheet piles. Relative deformation in the direction (embedding direction), that is, shear deformation between steel sheet piles can be constrained. Therefore, the wall main body in which a plurality of steel sheet piles are connected can sufficiently resist the in-plane shear force, and the wall main body can function as an earthquake-resistant wall. As a result, it is not necessary to construct a conventional RC wall on the inside (space side) of the wall main body made of steel sheet piles, and it becomes possible to significantly reduce the cost and construction period required to construct the RC wall. .
In addition, by providing a connecting member on the front side (underground space side) straddling the steel sheet pile joint, the connecting member can be joined from the front side, and the ground on the front side is excavated after embedding the steel sheet pile. Then, the connecting member can be joined later. Therefore, since it is not necessary to provide an extra member protruding from the surface before embedding the steel sheet pile, an increase in embedding resistance of the steel sheet pile can be prevented and good workability can be ensured.

上記(2)に記載の構成によれば、連結部材のカバー部で鋼矢板の継手部前面側(地下室空間側)を覆うことで、前面側から継手部を隠蔽することができる。このため、前面側の空間を地下室などに利用する際に壁本体に仕上げ材等を設けなくても、外観を良好にすることができる。さらに、壁本体の背面側に背面地盤がある場合には、この地盤中の地下水が継手部の間から前面側にしみ出す懸念があるが、カバー部で継手部を覆うことで、しみ出した地下水が前面側から見えなくでき、この場合にも壁本体の外観を良好にすることができる。   According to the structure as described in said (2), a joint part can be concealed from the front side by covering the joint part front side (basement space side) of a steel sheet pile with the cover part of a connection member. For this reason, when the space on the front side is used for a basement or the like, the appearance can be improved without providing a finishing material or the like on the wall body. Furthermore, when there is a back ground on the back side of the wall body, there is a concern that groundwater in this ground may seep out from between the joints to the front side, but it oozed out by covering the joints with the cover part Groundwater can be made invisible from the front side, and in this case, the appearance of the wall body can be improved.

上記(3)に記載の構成によれば、溶接によって連結部材を鋼矢板に接合することで、溶接時の喉厚管理や強度管理を比較的容易かつ確実に行うことができる。すなわち、鋼矢板の長手方向に沿った直線状に溶接接合部を形成でき、連結部材と鋼矢板とが交差した部位を溶接すればよいため、前面側から横向き姿勢でまっすぐに溶接棒を差し入れることができることから、管理が容易なすみ肉溶接やフレア溶接が採用できる。また、溶接接合部を鋼矢板の長手方向に沿って連続的または断続的に設けることで、必要とされるせん断強度に応じて溶接長さや溶接部の脚長を適宜に設定することができる。   According to the configuration described in (3) above, by joining the connecting member to the steel sheet pile by welding, throat thickness management and strength management during welding can be performed relatively easily and reliably. In other words, the weld joint can be formed in a straight line along the longitudinal direction of the steel sheet pile, and it is only necessary to weld the portion where the connecting member and the steel sheet pile intersect, so the welding rod is inserted straight from the front side in a horizontal posture. Therefore, fillet welding and flare welding that can be easily managed can be employed. Moreover, by providing the weld joint part continuously or intermittently along the longitudinal direction of the steel sheet pile, the weld length and the leg length of the weld part can be appropriately set according to the required shear strength.

上記(4)に記載の構成によれば、断面L字形、断面U字形または断面半円筒形の鋼材でカバー部を構成することで、このカバー部の開放端縁と鋼矢板の側面との交差部であり、前述のように直線状かつ前面側から作業しやすい位置に溶接接合部を設けることができ、溶接管理を容易かつ確実に行うことができる。   According to the configuration described in (4) above, the cover portion is made of a steel material having an L-shaped cross section, a U-shaped cross section, or a semi-cylindrical cross section, so that the open edge of the cover portion and the side surface of the steel sheet pile intersect. As described above, the weld joint can be provided at a position that is linear and easy to work from the front side, and welding management can be performed easily and reliably.

上記(5)に記載の構成によれば、前述のように背面地盤からの地下水が継手部の間から前面側(地下室空間側)にしみ出したとしても、この地下水を隠蔽空間から排水溝に導いて排水することができ、隠蔽空間を排水用の樋としても機能させることができる。   According to the configuration described in (5) above, even if groundwater from the back ground oozes out from between the joints to the front side (basement space side) as described above, this groundwater is transferred from the concealed space to the drainage ditch. It can be guided and drained, and the concealed space can also function as a drainage basin.

また、上記(6)〜(8)に記載の構成によれば、ハット形鋼矢板やU形鋼矢板によって凹凸を有した壁本体において、前面側から背面側(地盤側)に凹んだ部分に連結部材を接合することで、連結部材が前面側に突出しないようにでき、前面側の空間の有効利用を図ることができる。一方、前面側に突出した突部に連結部材を接合することで、この連結部材と前記排水溝とを直接連結することができ、その連結部分の構造を簡単化することができる。なお、凹凸のいずれの位置に連結部材を接合するかは、設計条件等に応じて適宜に選択することができる。   Moreover, according to the structure as described in said (6)-(8), in the wall main body which has an unevenness | corrugation with a hat-shaped steel sheet pile or a U-shaped steel sheet pile, it is in the part dented from the front side to the back side (ground side). By joining the connecting members, the connecting members can be prevented from protruding to the front side, and the space on the front side can be effectively used. On the other hand, by joining the connecting member to the protrusion protruding to the front side, the connecting member and the drainage groove can be directly connected, and the structure of the connecting portion can be simplified. In addition, it can be suitably selected according to design conditions etc. in which position of a concavity and convexity a connection member is joined.

以上のような本発明の地下外壁構造によれば、鋼矢板の連結部におけるせん断変形を連結部材にて拘束することが可能となるため、地震時に面内荷重を負担するRC壁を構築する必要がなくなり、鋼矢板単独で地下外壁を構築できるようになる。また、連結部材で鋼矢板の継手部前面を覆うことで背面から染み出した地下水を前面側から見えなくして美観を向上させ、排水溝に導き排水することが可能となる。   According to the underground outer wall structure of the present invention as described above, it is possible to constrain the shear deformation at the connecting portion of the steel sheet pile with the connecting member, so it is necessary to construct an RC wall that bears the in-plane load during an earthquake. There will be no steel sheet piles, and it will be possible to construct an underground outer wall by itself. Further, by covering the joint front surface of the steel sheet pile with the connecting member, the groundwater exuded from the rear surface is made invisible from the front surface side, the aesthetic appearance is improved, and the drainage can be led to the drainage groove and drained.

本発明の実施形態に係る地下外壁を示す断面図である。It is sectional drawing which shows the underground outer wall which concerns on embodiment of this invention. 同地下外壁の横断面図である。It is a cross-sectional view of the same underground outer wall. 同地下外壁の正面図である。It is a front view of the underground outer wall. 前記地下外壁の一部を拡大して示す横断面図である。It is a cross-sectional view which expands and shows a part of said underground outer wall. 前記地下外壁の一部を拡大して示す正面図である。It is a front view which expands and shows a part of said underground outer wall. 前記地下外壁の一部を拡大して示す縦断面図である。It is a longitudinal cross-sectional view which expands and shows a part of said underground outer wall. 図3A〜図3Cとは異なる連通構造を有する地下外壁を拡大して示す横断面図である。It is a cross-sectional view which expands and shows the underground outer wall which has a communication structure different from FIG. 3A-FIG. 3C. 図3A〜図3Cとは異なる連通構造を有する地下外壁を拡大して示す縦断面図である。It is a longitudinal cross-sectional view which expands and shows the underground outer wall which has a communication structure different from FIG. 3A-FIG. 3C. 本発明の変形例に係る地下外壁の壁本体を示す横断面図である。It is a cross-sectional view which shows the wall main body of the underground outer wall based on the modification of this invention. 本発明の変形例に係る地下外壁の壁本体を示す横断面図である。It is a cross-sectional view which shows the wall main body of the underground outer wall which concerns on the modification of this invention. 本発明の変形例に係る地下外壁の壁本体を示す横断面図である。It is a cross-sectional view which shows the wall main body of the underground outer wall based on the modification of this invention. 本発明の変形例に係る地下外壁を示す横断面図である。It is a cross-sectional view which shows the underground outer wall which concerns on the modification of this invention. 本発明の変形例に係る地下外壁を示す縦断面図である。It is a longitudinal cross-sectional view which shows the underground outer wall which concerns on the modification of this invention. 本発明の変形例に係る地下外壁を示す部分正面図である。It is a partial front view which shows the underground outer wall which concerns on the modification of this invention. 図7AのA−A線に沿って得られる断面図である。It is sectional drawing obtained along the AA line of FIG. 7A.

以下、本発明の好ましい実施形態について図面に基づいて説明する。尚、本発明において、鋼矢板等の上下方向(または長手方向)は、特に説明が無い限り、鋼矢板が地盤に埋め込まれる方向(略鉛直方向)を指す。
図1は、本発明の実施形態に係る地下外壁1を示す断面図である。図2A、図2Bは、地下外壁1を示す横断面図および正面図である。
図1、図2A、図2Bに示す地下外壁1は、前面側の空間である地下室空間Sと背面側の背面地盤Gとを区画する壁構造を有する。この地下外壁1は、地盤G中に埋め込まれる複数の鋼矢板2からなる壁本体3を有する。また、地下室空間Sは、壁本体3で側方を囲まれるとともに、地下室床スラブ4と1階床スラブ5とによって上下が区画されている。そして、地下室床スラブ4における壁本体3に沿った位置には、排水溝41が左右に延びて形成されている。
Hereinafter, preferred embodiments of the present invention will be described with reference to the drawings. In the present invention, the vertical direction (or longitudinal direction) of a steel sheet pile or the like refers to the direction in which the steel sheet pile is embedded in the ground (substantially vertical direction) unless otherwise specified.
FIG. 1 is a cross-sectional view showing an underground outer wall 1 according to an embodiment of the present invention. 2A and 2B are a cross-sectional view and a front view showing the underground outer wall 1.
1, 2 </ b> A, and 2 </ b> B have a wall structure that partitions a basement space S that is a space on the front side and a back ground G on the back side. The underground outer wall 1 has a wall body 3 composed of a plurality of steel sheet piles 2 embedded in the ground G. The basement space S is surrounded by the wall body 3 and is divided into upper and lower sections by the basement floor slab 4 and the first floor slab 5. And the drainage groove 41 is extended and formed in the position along the wall main body 3 in the basement floor slab 4. As shown in FIG.

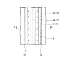
本実施形態において、鋼矢板2は、熱間圧延で製造され、断面中央に位置する第1フランジ21と、この第1フランジ21の両側端縁に連設される一対のウェブ22と、これら一対のウェブ22の先端縁から第1フランジ21と平行かつ外方に延びる一対の第2フランジ23と、これら一対の第2フランジ23の先端縁に設けられる一対の継手部24とを有したハット形鋼矢板である。これらの鋼矢板2は、それぞれ第1フランジ21が地下室空間S側に設けられ、一対の第2フランジ23が地盤G側に位置して設けられる。そして、地盤G側に位置する継手部24同士を嵌合させることで、隣り合う鋼矢板2同士が連結され、これにより壁本体3が連続的に形成される。   In the present embodiment, the steel sheet pile 2 is manufactured by hot rolling, and a first flange 21 located at the center of the cross section, a pair of webs 22 connected to both side edges of the first flange 21, and the pair A hat shape having a pair of second flanges 23 extending from the leading edge of the web 22 in parallel and outward to the first flange 21, and a pair of joint portions 24 provided at the leading edges of the pair of second flanges 23. It is a steel sheet pile. Each of these steel sheet piles 2 is provided with a first flange 21 provided on the basement space S side and a pair of second flanges 23 positioned on the ground G side. And the adjacent steel sheet piles 2 are connected by fitting the joint parts 24 located in the ground G side, Thereby, the wall main body 3 is formed continuously.

隣り合う鋼矢板2における継手部24を跨ぐ位置の地下室空間S側には、両方の鋼矢板2の第2フランジ23に接合される連結部材6が鋼矢板2の長手方向(上下方向)に沿って設けられている。この連結部材6は、断面L字形の鋼材(山形鋼、アングル材)からなり、継手部24の前面側を覆うカバー部61と、鋼矢板2の第2フランジ23にすみ肉溶接した溶接接合部62とを有する。連結部材6は、アングル材を地下室空間S側に凸にして設けられる。これにより、カバー部61と、隣り合う第2フランジ23および継手部24との間に隠蔽空間63が形成される。従って、継手部24が地下室空間S側から見えなくなる。   The connecting member 6 joined to the second flange 23 of both the steel sheet piles 2 is along the longitudinal direction (vertical direction) of the steel sheet piles 2 on the basement space S side of the adjacent steel sheet piles 2 across the joint portion 24. Is provided. This connecting member 6 is made of a steel material (an angle steel, an angle material) having an L-shaped cross section, and is a welded joint part that is fillet welded to the cover part 61 that covers the front side of the joint part 24 and the second flange 23 of the steel sheet pile 2. 62. The connecting member 6 is provided with an angle material projecting toward the basement space S side. Thereby, a concealing space 63 is formed between the cover portion 61 and the adjacent second flange 23 and joint portion 24. Therefore, the joint part 24 becomes invisible from the basement space S side.

連結部材6の溶接接合部62は、アングル材の開放端縁と鋼矢板2の第2フランジ23側面とを、地下室空間S側からすみ肉溶接して形成されている。すなわち、地盤Gに鋼矢板2を埋め込んだ後に地下室空間S側の地盤を掘削してから、後付けで連結部材6が鋼矢板2に接合されている。そして、溶接接合部62は、連結部材6の長手方向に沿って断続的に設けられている。なお、溶接接合部62としては、連結部材6の長手方向略全長に渡って連続的に設けられていてもよく、溶接接合部62の溶接長さとして、その全長によって所定の溶接強度が確保できる長さ以上であればよい。以上のように、隣り合う鋼矢板2の継手部24を跨いで第2フランジ23に連結部材6を接合したことで、この連結部材6によって隣り合う鋼矢板2間のせん断変形が拘束される。   The weld joint 62 of the connecting member 6 is formed by fillet welding the open end edge of the angle member and the side surface of the second flange 23 of the steel sheet pile 2 from the basement space S side. That is, after the steel sheet pile 2 is embedded in the ground G, the ground on the basement space S side is excavated, and then the connecting member 6 is joined to the steel sheet pile 2 later. The weld joint 62 is provided intermittently along the longitudinal direction of the connecting member 6. The weld joint 62 may be provided continuously over substantially the entire length of the connecting member 6 in the longitudinal direction. As the weld length of the weld joint 62, a predetermined weld strength can be secured by the entire length. It may be longer than the length. As described above, by joining the connecting member 6 to the second flange 23 across the joint portion 24 of the adjacent steel sheet piles 2, the shear deformation between the adjacent steel sheet piles 2 is restricted by the connecting member 6.

次に、連結部材6の下端部と地下室床スラブ4の排水溝41との連通構造を図3A〜図3Cを参照して説明する。
図3A〜図3Cは、地下室床スラブ4近傍の地下外壁1を拡大して示す横断面図、正面図および縦断面図である。
地下室床スラブ4において、排水溝41は、地下外壁1における鋼矢板2の第1フランジ21に沿って、この第1フランジ21よりも地下室空間S側に形成されている。そして、地下室床スラブ4は、鋼矢板2のウェブ22および第2フランジ23によって地盤G側に凹んだ部分に入り込んで突出した床突出部42を有して形成されている。
Next, a communication structure between the lower end portion of the connecting member 6 and the drainage groove 41 of the basement floor slab 4 will be described with reference to FIGS. 3A to 3C.
3A to 3C are a cross-sectional view, a front view, and a vertical cross-sectional view showing the underground outer wall 1 in the vicinity of the basement floor slab 4 in an enlarged manner.
In the basement floor slab 4, the drainage groove 41 is formed on the basement space S side of the first flange 21 along the first flange 21 of the steel sheet pile 2 in the underground outer wall 1. And the basement floor slab 4 has the floor protrusion part 42 which entered and protruded into the part dented to the ground G side by the web 22 and the 2nd flange 23 of the steel sheet pile 2 and is formed.

連結部材6の下端部は、床突出部42の上面位置近傍に位置して設けられる。この床突出部42の上面には、連結部材6の下方から排水溝41まで延びる連通溝43が形成されている。この連通溝43によって、連結部材6の隠蔽空間63の下端部と排水溝41とが連通されている。従って、地下外壁1の背面地盤Gの地下水が鋼矢板2の継手部24の間から地下室空間S側にしみ出したとしても、この地下水を隠蔽空間63内を落下させ、連通溝43を介して排水溝41まで導いて排水することができる。すなわち、隠蔽空間63を排水用の縦樋としても機能させることができる。また、排水量にもよるが、樋としての機能を発揮させるためには、継手の溶接を連続とすることが望ましい。更に、せん断力に応じた必要な溶接量を確保できるように、溶接脚長が調整されることが望ましい。   The lower end portion of the connecting member 6 is provided in the vicinity of the upper surface position of the floor protruding portion 42. A communication groove 43 extending from the lower side of the connecting member 6 to the drainage groove 41 is formed on the upper surface of the floor protrusion 42. By this communication groove 43, the lower end portion of the concealing space 63 of the connecting member 6 and the drainage groove 41 are communicated. Therefore, even if the groundwater of the back ground G of the underground outer wall 1 oozes out from between the joints 24 of the steel sheet pile 2 to the basement space S side, the groundwater falls in the concealed space 63 and passes through the communication groove 43. It can be led to the drainage groove 41 and drained. That is, the concealed space 63 can also function as a vertical drain for drainage. Further, although depending on the amount of drainage, it is desirable to continuously weld the joints in order to exhibit the function as a dredge. Furthermore, it is desirable to adjust the weld leg length so as to ensure a necessary welding amount according to the shearing force.

なお、本実施形態において、連結部材6の下端部と地下室床スラブ4の排水溝41との連通構造は、前述のものに限らず、以下の図4A、図4Bに示す構造が採用可能である。
図4A、図4Bに示されるように、地下室床スラブ4の床突出部42は、その上面が地盤G側から地下室空間S側に向かって下がる勾配の傾斜面44を有しても良い。この場合、傾斜面44の水上側に連結部材6の下端部が位置するとともに、傾斜面44の水下側に連続して排水溝41が設けられる。従って、鋼矢板2の継手部24の間からしみ出した地下水は、連結部材6の隠蔽空間63から傾斜面44に落下し、この傾斜面44の勾配に沿って排水溝41まで流れて排水される。
In the present embodiment, the communication structure between the lower end portion of the connecting member 6 and the drainage groove 41 of the basement floor slab 4 is not limited to the above-described structure, and the structures shown in FIGS. 4A and 4B below can be adopted. .
As shown in FIGS. 4A and 4B, the floor protrusion 42 of the basement floor slab 4 may have an inclined surface 44 whose upper surface is inclined downward from the ground G side toward the basement space S side. In this case, the lower end portion of the connecting member 6 is positioned on the water side of the inclined surface 44, and the drainage groove 41 is provided continuously on the water side of the inclined surface 44. Accordingly, the groundwater that has oozed out from between the joint portions 24 of the steel sheet pile 2 falls from the concealed space 63 of the connecting member 6 to the inclined surface 44 and flows along the gradient of the inclined surface 44 to the drain groove 41 and is drained. The

以上のような本実施形態の地下外壁1によれば、以下の作用、効果が得られる。
すなわち、隣り合う鋼矢板2における継手部24を跨いで連結部材6を接合したことで、隣り合う鋼矢板2同士が上下方向にずれるようなせん断変形が拘束され、連結した複数の鋼矢板2からなる壁本体3を耐震壁として機能させることができる。従って、壁本体3を仮設の土留めとしてではなく、本設の壁構造体として利用できるので、従来のようなRC壁を構築する必要がなく、施工コストを大幅に低減させることができる。更に、RC壁を構築するための工期や仮設土留めを引き抜くための工期が不要にできることから、地下構築に要する工期を大幅に短縮化することができるとともに、耐震性を向上させることができる。
According to the underground outer wall 1 of the present embodiment as described above, the following actions and effects can be obtained.
That is, by joining the connecting members 6 across the joint portions 24 in the adjacent steel sheet piles 2, shear deformation that causes the adjacent steel sheet piles 2 to deviate in the vertical direction is constrained, and from the plurality of connected steel sheet piles 2 The wall body 3 can be made to function as a seismic wall. Therefore, since the wall main body 3 can be used not as a temporary earth retaining wall but as a main wall structure, it is not necessary to construct an RC wall as in the prior art, and the construction cost can be greatly reduced. Furthermore, since the construction period for constructing the RC wall and the construction period for pulling out the temporary earth retaining can be eliminated, the construction period required for the underground construction can be greatly shortened and the earthquake resistance can be improved.

また、鋼矢板2の地下室空間S側に連結部材6が溶接接合されるので、その溶接作業を地下室空間S側から実施することができ、鋼矢板2を地盤Gに埋め込んで地下室空間S側の地盤を掘削した後に、連結部材6を後付けで接合することができる。従って、鋼矢板2の埋め込み前にその表面から突出する余計な部材を設ける必要がないため、鋼矢板2の埋め込み抵抗の増加を防止して良好な施工性が確保できる。更に、連結部材6の溶接作業を良好な作業姿勢で実施でき、溶接接合部62の品質を確保することができる。さらに、ハット形鋼矢板によって地盤G側に凹んだ位置の第2フランジ23に連結部材6が接合されるので、鋼矢板2の凹凸を利用して連結部材6を配置し、この連結部材6が地下室空間S側に突出しないようにでき、地下室空間Sの有効利用を図ることができる。   Moreover, since the connection member 6 is welded and joined to the basement space S side of the steel sheet pile 2, the welding operation can be carried out from the basement space S side, and the steel sheet pile 2 is embedded in the ground G and the basement space S side. After excavating the ground, the connecting member 6 can be joined by retrofitting. Therefore, since it is not necessary to provide an extra member protruding from the surface before embedding the steel sheet pile 2, an increase in embedding resistance of the steel sheet pile 2 can be prevented and good workability can be ensured. Furthermore, the welding operation of the connecting member 6 can be carried out with a good working posture, and the quality of the weld joint 62 can be ensured. Furthermore, since the connecting member 6 is joined to the second flange 23 at a position recessed to the ground G side by the hat-shaped steel sheet pile, the connecting member 6 is arranged using the unevenness of the steel sheet pile 2, and the connecting member 6 is The basement space S can be prevented from protruding toward the basement space S, and the basement space S can be effectively used.

また、鋼矢板2の継手部24が連結部材6のカバー部61によって地下室空間S側から覆われるので、地下室空間S側から見た際の地下外壁1の外観を良好にすることができる。さらに、継手部24がカバー部61で隠蔽されているので、背面地盤Gから地下水が継手部24からしみ出したとしても、しみ出した地下水が地下室空間S側から見えないようにでき、地下外壁1の外観をさらに良好にすることができる。   Moreover, since the joint part 24 of the steel sheet pile 2 is covered from the basement space S side by the cover part 61 of the connecting member 6, the appearance of the underground outer wall 1 when viewed from the basement space S side can be improved. Furthermore, since the joint part 24 is concealed by the cover part 61, even if groundwater oozes out from the back ground G, it can be prevented from seeing out the groundwater from the basement space S side. 1 can be further improved in appearance.

また、連結部材6であるアングル材の開放端縁と鋼矢板2の第2フランジ23側面との交差位置を地下室空間S側から溶接することで、この溶接部分が地下室空間S側から視認しやすく、かつ地下室空間S側から横向き姿勢でまっすぐに溶接棒を差し入れることができる。従って、溶接時ののど厚管理や強度管理が容易かつ確実に実施でき、溶接接合部62の強度を確保しつつ作業性も向上させることができる。   Moreover, this welding part is easy to visually recognize from the basement space S side by welding the intersection position of the open end edge of the angle material which is the connection member 6, and the 2nd flange 23 side surface of the steel sheet pile 2 from the basement space S side. In addition, the welding rod can be inserted straight from the basement space S side in a lateral posture. Therefore, throat thickness management and strength management during welding can be easily and reliably performed, and workability can be improved while ensuring the strength of the weld joint 62.

なお、本発明は、前記実施形態に限定されるものではなく、本発明の目的を達成できる他の構成等を含み、以下に示すような変形等も本発明に含まれる。
例えば、前記実施形態においては、地下外壁1について説明したが、本発明の壁構造は、地下外壁に限らず、地上に構築される壁に適用することも可能である。すなわち、鋼矢板の上端部を地盤面から地上に突出させておき、この突出した鋼矢板の継手部に跨って連結部材を接合してもよく、この場合には、鋼矢板の背面側に地盤が存在せず、外部空間または内部空間などの適宜な背面空間が位置してもよい。そして、背面側においても、前述と同様の連結部材を鋼矢板に接合してもよい。
In addition, this invention is not limited to the said embodiment, Including other structures etc. which can achieve the objective of this invention, the deformation | transformation etc. which are shown below are also contained in this invention.
For example, although the underground outer wall 1 has been described in the above embodiment, the wall structure of the present invention is not limited to the underground outer wall, but can be applied to a wall constructed on the ground. That is, the upper end portion of the steel sheet pile may be projected from the ground surface to the ground, and the connecting member may be joined across the joint portion of the projecting steel sheet pile. In this case, the ground is placed on the back side of the steel sheet pile. There may be an appropriate back space such as an external space or an internal space. And also on the back side, the same connecting member as described above may be joined to the steel sheet pile.

また、前記実施形態では、鋼矢板2に接合する連結部材6として、断面L字形の鋼材を利用したが、連結部材6の形状は特に限定されず、図5Aに示すような断面略U字形の鋼材(溝形鋼、チャンネル材)からなる連結部材6Aや、図5Bに示すような断面半円筒形の鋼材(鋼管、パイプ)からなる連結部材6Bなど、適宜なものが利用可能である。さらに、壁本体3を構成する鋼矢板としては、ハット形鋼矢板(鋼矢板2)に限らず、図5Cに示すようなU型鋼矢板(第1鋼矢板2Aおよび第2鋼矢板2B)や、Z形鋼矢板、I形鋼矢板など、適宜なものが利用可能である。   Moreover, in the said embodiment, although the steel material of a cross-section L shape was utilized as the connection member 6 joined to the steel sheet pile 2, the shape of the connection member 6 is not specifically limited, A cross-section substantially U-shaped as shown to FIG. 5A. Any suitable member can be used, such as a connecting member 6A made of steel (channel steel, channel material) or a connecting member 6B made of a steel material (steel pipe, pipe) having a semi-cylindrical cross section as shown in FIG. 5B. Furthermore, as a steel sheet pile which comprises the wall main body 3, not only a hat-shaped steel sheet pile (steel sheet pile 2) but U-shaped steel sheet piles (1st steel sheet pile 2A and 2nd steel sheet pile 2B) as shown in FIG. 5C, Appropriate materials such as a Z-shaped steel sheet pile and an I-shaped steel sheet pile can be used.

ここで、図5Cに示す変形例について詳述する。図5Cにおいて、第1鋼矢板2Aおよび第2鋼矢板2Bは、それぞれフランジ25と、このフランジ25の両側端縁に連続する一対のウェブ26と、これら一対のウェブ26の先端縁に設けられる一対の継手部27とを有したU形鋼矢板である。第1鋼矢板2Aは、そのフランジ25が背面側である地盤G側に位置して設けられ、第2鋼矢板2Bは、そのフランジ25が地下室空間S側に位置して設けられる。これら第1および第2の鋼矢板2A,2Bは交互に隣り合って互いの継手部27を嵌合することによって連結されている。そして、連結部材6は、隣り合う第1および第2の鋼矢板2A,2Bにおける継手部27を跨ぐ位置のウェブ26にそれぞれ固定されている。   Here, the modification shown in FIG. 5C will be described in detail. In FIG. 5C, the first steel sheet pile 2 </ b> A and the second steel sheet pile 2 </ b> B are each provided with a flange 25, a pair of webs 26 continuous with both side edges of the flange 25, and a pair provided at the leading edges of the pair of webs 26. This is a U-shaped steel sheet pile having a joint part 27. The first steel sheet pile 2A is provided with the flange 25 positioned on the ground G side which is the back side, and the second steel sheet pile 2B is provided with the flange 25 positioned on the basement space S side. These 1st and 2nd steel sheet piles 2A and 2B are connected by mutually adjoining and mutually fitting the joint part 27. FIG. And the connection member 6 is being fixed to the web 26 of the position which straddles the joint part 27 in the 1st and 2nd steel sheet piles 2A and 2B which adjoin each other.

また、前記実施形態では、隣り合う鋼矢板2の第2フランジ23および継手部24が地盤G側に向けて配置されていたが、鋼矢板2の設置方向は特に限定されず、以下の図6A、図6Bに示すように、第2フランジ23および継手部24が地下室空間S側に向けて配置されていてもよい。この場合には、連結部材6は、第2フランジ23よりもさらに地下室空間S側に突出して第2フランジ23に溶接接合されており、排水溝41の上方に連結部材6が位置することから、隠蔽空間63内を落下した地下水がそのまま連通溝41に流れ込む。   Moreover, in the said embodiment, although the 2nd flange 23 and joint part 24 of the adjacent steel sheet pile 2 were arrange | positioned toward the ground G side, the installation direction of the steel sheet pile 2 is not specifically limited, The following FIG. 6A 6B, the 2nd flange 23 and the coupling part 24 may be arrange | positioned toward the basement space S side. In this case, since the connecting member 6 protrudes further to the basement space S side than the second flange 23 and is welded to the second flange 23, the connecting member 6 is located above the drainage groove 41. The groundwater that has fallen in the concealed space 63 flows into the communication groove 41 as it is.

更に、第2フランジ部23(又はウェブ部26)、あるいは継手部24(又は継手部27)のうち、連結部材6で隠蔽される部分において、開口部7を形成しても良い。例えば、図7A、図7Bに示すように、丸穴71を第2フランジ部23のうち連結部材6で隠蔽される部分に形成してもよい。この構成によれば、地盤Gが水分を多く含む場合に、地下空間S側に水分を排出させることができる。開口部7の大きさは、特に限定されるものではないが、土砂が漏れない程度の大きさであることが好ましい。このような構成により、耐震壁としての機能と、壁にかかる水圧を緩和させる機能とを併せて発揮することができる。また、地盤の含有水分が開口部から排出されるため、地盤を良好な状態に維持することができる。開口部7は、スリットや、継手部に形成されたノッチであってもよい。   Furthermore, you may form the opening part 7 in the part concealed with the connection member 6 among the 2nd flange part 23 (or web part 26) or the joint part 24 (or joint part 27). For example, as shown in FIGS. 7A and 7B, the round hole 71 may be formed in a portion of the second flange portion 23 that is concealed by the connecting member 6. According to this configuration, when the ground G contains a lot of moisture, the moisture can be discharged to the underground space S side. Although the magnitude | size of the opening part 7 is not specifically limited, It is preferable that it is a magnitude | size which does not leak earth and sand. With such a configuration, the function as a seismic wall and the function of relaxing the water pressure applied to the wall can be exhibited together. Moreover, since the moisture content of the ground is discharged from the opening, the ground can be maintained in a good state. The opening 7 may be a slit or a notch formed in the joint.

その他、本発明を実施するための最良の構成、方法などは、以上の記載で開示されているが、本発明は、これに限定されるものではない。すなわち、本発明は、主に特定の実施形態に関して特に図示され、かつ説明されているが、本発明の技術的思想および目的の範囲から逸脱することなく、以上述べた実施形態に対し、形状、材質、数量、その他の詳細な構成において、当業者が様々な変形を加えることができる。
従って、上記に開示した形状、材質などを限定した記載は、本発明の理解を容易にするために例示的に記載したものであり、本発明を限定するものではないから、それらの形状、材質などの限定の一部もしくは全部の限定を外した部材の名称での記載は、本発明に含まれる。
In addition, the best configuration, method and the like for carrying out the present invention have been disclosed in the above description, but the present invention is not limited to this. That is, the invention has been illustrated and described with particular reference to certain specific embodiments, but without departing from the spirit and scope of the invention, Various modifications can be made by those skilled in the art in terms of materials, quantities, and other detailed configurations.
Therefore, the description limiting the shape, material, etc. disclosed above is an example for easy understanding of the present invention, and does not limit the present invention. The description by the name of the member which remove | excluded the limitation of some or all of such restrictions is included in this invention.

本発明によれば、地震時の面内荷重に対して抵抗するためのRC壁を必要とせず、鋼矢板単独で地下外壁を構築できるように施工ならびに強度管理が容易な継手拘束手段を用いて、耐震壁としての機能を持たせた地下外壁構造を提供することならびに大幅なコスト削減が実現できる地下外壁構造を提供することができる。従って、産業上の利用可能性は大きい。   According to the present invention, an RC wall for resisting in-plane load at the time of an earthquake is not required, and a joint restraint means that allows easy construction and strength management so that an underground outer wall can be constructed with a steel sheet pile alone. In addition, it is possible to provide an underground outer wall structure having a function as a seismic wall and an underground outer wall structure capable of realizing a significant cost reduction. Therefore, industrial applicability is great.

1…地下外壁
2…鋼矢板
2A…第1鋼矢板
2B…第2鋼矢板
3…壁本体
6,6A,6B…連結部材
21…第1フランジ
22…ウェブ
23…第2フランジ
24…継手部
25…フランジ
26…ウェブ
27…継手部
41…排水溝
61…カバー部
62…溶接接合部
63…隠蔽空間
G…地盤
S…地下室空間 7…開口部
71…丸穴
DESCRIPTION OF SYMBOLS 1 ... Underground outer wall 2 ... Steel sheet pile 2A ... 1st steel sheet pile 2B ... 2nd steel sheet pile 3 ... Wall main body 6, 6A, 6B ... Connection member 21 ... 1st flange 22 ... Web 23 ... 2nd flange 24 ... Joint part 25 ... Flange 26 ... Web 27 ... Fitting part 41 ... Drainage groove 61 ... Cover part 62 ... Welding joint 63 ... Concealment space G ... Ground S ... Basement space 7 ... Opening part 71 ... Round hole

Claims (13)

それぞれの側端縁に設けられる継手部で互いに連結され、地盤に埋め込まれることで地盤側と地下室空間側とを区画する第1の鋼矢板および第2の鋼矢板と;
前記継手部の前記地下室空間側を跨ぐように前記第1の鋼矢板と前記第2の鋼矢板の両方に接合される連結部材と;
を備え、
前記連結部材が前記第1の鋼矢板と前記第2の鋼矢板の埋め込み方向に沿って設けられていることを特徴とする地下外壁構造。
A first steel sheet pile and a second steel sheet pile that are connected to each other by joint portions provided at the respective side edges and are embedded in the ground to partition the ground side and the basement space side;
A connecting member joined to both the first steel sheet pile and the second steel sheet pile so as to straddle the basement space side of the joint portion;
With
The underground outer wall structure characterized in that the connecting member is provided along the embedding direction of the first steel sheet pile and the second steel sheet pile.
前記連結部材は、
前記第1の鋼矢板と前記第2の鋼矢板の各々に接合される一対の接合部と;
前記継手部の前記地下室空間側を覆うカバー部と;
を備え、
前記カバー部と前記継手部との間に隠蔽空間が形成されていることを特徴とする請求項1に記載の地下外壁構造。
The connecting member is
A pair of joints joined to each of the first steel sheet pile and the second steel sheet pile;
A cover portion covering the basement space side of the joint portion;
With
The underground outer wall structure according to claim 1, wherein a concealing space is formed between the cover portion and the joint portion.
前記一対の接合部は、前記第1の鋼矢板および前記第2の鋼矢板と前記連結部材とを溶接した溶接接合部であって、前記第1の鋼矢板および前記第2の鋼矢板の埋め込み方向に沿って連続して設けられるか、または前記埋め込み方向に沿って断続的に設けられていることを特徴とする請求項2に記載の地下外壁構造。   The pair of joints are weld joints obtained by welding the first steel sheet pile and the second steel sheet pile and the connecting member, and embedding the first steel sheet pile and the second steel sheet pile. The underground outer wall structure according to claim 2, wherein the underground outer wall structure is provided continuously along a direction or intermittently along the embedding direction. 前記カバー部は、断面L字形、断面U字形または断面半円筒形を有する鋼材であることを特徴とする請求項2に記載の地下外壁構造。   The underground outer wall structure according to claim 2, wherein the cover portion is a steel material having an L-shaped cross section, a U-shaped cross section, or a semi-cylindrical cross section. 前記第1の鋼矢板および前記第2の鋼矢板の前記地下室空間側における所定の高さ位置には、前記埋め込み方向に対し略垂直方向に延びる排水溝が設けられ、前記隠蔽空間の下端部が前記排水溝に連通されていることを特徴とする請求項2に記載の地下外壁構造。   A drainage groove extending in a direction substantially perpendicular to the embedding direction is provided at a predetermined height position on the basement space side of the first steel sheet pile and the second steel sheet pile, and a lower end portion of the concealing space is The underground outer wall structure according to claim 2, wherein the underground outer wall structure communicates with the drainage groove. 前記カバー部は、断面L字形、断面U字形または断面半円筒形を有する鋼材であることを特徴とする請求項3に記載の地下外壁構造。   4. The underground outer wall structure according to claim 3, wherein the cover portion is a steel material having an L-shaped cross section, a U-shaped cross section, or a semi-cylindrical cross section. 前記第1の鋼矢板および前記第2の鋼矢板の前記地下室空間側における所定の高さ位置には、前記埋め込み方向に対し略垂直方向に延びる排水溝が設けられ、前記隠蔽空間の下端部が前記排水溝に連通されていることを特徴とする請求項3に記載の地下外壁構造。   A drainage groove extending in a direction substantially perpendicular to the embedding direction is provided at a predetermined height position on the basement space side of the first steel sheet pile and the second steel sheet pile, and a lower end portion of the concealing space is The underground outer wall structure according to claim 3, wherein the underground outer wall structure communicates with the drainage groove. 前記第1の鋼矢板および前記第2の鋼矢板の前記地下室空間側における所定の高さ位置には、前記埋め込み方向に対し略垂直方向に延びる排水溝が設けられ、前記隠蔽空間の下端部が前記排水溝に連通されていることを特徴とする請求項4に記載の地下外壁構造。   A drainage groove extending in a direction substantially perpendicular to the embedding direction is provided at a predetermined height position on the basement space side of the first steel sheet pile and the second steel sheet pile, and a lower end portion of the concealing space is The underground outer wall structure according to claim 4, wherein the underground outer wall structure is communicated with the drainage groove. 前記第1の鋼矢板および前記第2の鋼矢板の前記地下室空間側における所定の高さ位置には、前記埋め込み方向に対し略垂直方向に延びる排水溝が設けられ、前記隠蔽空間の下端部が前記排水溝に連通されていることを特徴とする請求項5に記載の地下外壁構造。   A drainage groove extending in a direction substantially perpendicular to the embedding direction is provided at a predetermined height position on the basement space side of the first steel sheet pile and the second steel sheet pile, and a lower end portion of the concealing space is The underground outer wall structure according to claim 5, wherein the underground outer wall structure communicates with the drainage groove. 前記第1の鋼矢板および前記第2の鋼矢板の前記地下室空間側における所定の高さ位置には、前記埋め込み方向に対し略垂直方向に延びる排水溝が設けられ、前記隠蔽空間の下端部が前記排水溝に連通されていることを特徴とする請求項6に記載の地下外壁構造。   A drainage groove extending in a direction substantially perpendicular to the embedding direction is provided at a predetermined height position on the basement space side of the first steel sheet pile and the second steel sheet pile, and a lower end portion of the concealing space is The underground outer wall structure according to claim 6, wherein the underground outer wall structure communicates with the drainage groove. 前記第1の鋼矢板および前記第2の鋼矢板はそれぞれ、
前記地下室空間側に位置して設けられる第1フランジと;
前記第1フランジの両側端縁に連設される一対のウェブと;
前記一対のウェブの先端縁から前記第1フランジと略平行かつ外方に延び、前記地盤側に位置して設けられる一対の第2フランジと;
を備え、前記一対の第2フランジの先端縁に前記一対の継手部が設けられるハット形鋼矢板であり、
前記第2フランジに前記連結部材が接合されていることを特徴とする請求項1から請求項10のいずれか1項に記載の地下外壁構造。
Each of the first steel sheet pile and the second steel sheet pile is
A first flange provided on the basement space side;
A pair of webs connected to both side edges of the first flange;
A pair of second flanges extending substantially parallel to the first flange from the leading edges of the pair of webs and extending outward, and located on the ground side;
A hat-shaped steel sheet pile in which the pair of joint portions are provided at the end edges of the pair of second flanges,
The underground outer wall structure according to any one of claims 1 to 10, wherein the connecting member is joined to the second flange.
前記第1の鋼矢板および前記第2の鋼矢板はそれぞれ、
前記地盤側に位置して設けられる第1フランジと;
前記第1フランジの両側端縁に連設される一対のウェブと;
前記一対のウェブの先端縁から前記第1フランジと略平行かつ外方に延び、前記地下室空間側に位置して設けられる一対の第2フランジと;
を備え、前記一対の第2フランジの先端縁に前記一対の継手部が設けられるハット形鋼矢板であり、
前記第2フランジに前記連結部材が接合されていることを特徴とする請求項1から請求項10のいずれか1項に記載の地下外壁構造。
Each of the first steel sheet pile and the second steel sheet pile is
A first flange provided on the ground side;
A pair of webs connected to both side edges of the first flange;
A pair of second flanges extending substantially parallel to the first flange from the leading edges of the pair of webs and extending outward and provided on the basement space side;
A hat-shaped steel sheet pile in which the pair of joint portions are provided at the end edges of the pair of second flanges,
The underground outer wall structure according to any one of claims 1 to 10, wherein the connecting member is joined to the second flange.
前記第1の鋼矢板は、
前記地盤側に位置して設けられる第1フランジと;
前記第1のフランジの両側端縁に連設される一対の第1ウェブと;
を備え、前記一対の第1ウェブの先端縁に前記一対の継手部が設けられる第1のU形鋼矢板であり、
前記第2の鋼矢板は、
前記地下室空間側に位置して設けられる第2フランジと;
前記第2のフランジの両側端縁に連設される一対の第2ウェブと;
を備え、前記一対の第2ウェブの先端縁に前記一対の継手部が設けられる第2のU形鋼矢板であり、
前記第1ウェブおよび前記第2ウェブに前記連結部材が接合されていることを特徴とする請求項1から請求項10のいずれか1項に記載の地下外壁構造。
The first steel sheet pile is
A first flange provided on the ground side;
A pair of first webs connected to both side edges of the first flange;
A first U-shaped steel sheet pile in which the pair of joint portions are provided at the leading edges of the pair of first webs,
The second steel sheet pile is
A second flange provided on the basement space side;
A pair of second webs connected to both side edges of the second flange;
A second U-shaped steel sheet pile in which the pair of joint portions are provided at the tip edges of the pair of second webs,
The underground outer wall structure according to any one of claims 1 to 10, wherein the connecting member is joined to the first web and the second web.
JP2010550445A 2009-02-10 2010-02-08 Underground wall structure Pending JPWO2010092782A1 (en)

Applications Claiming Priority (3)

Application Number Priority Date Filing Date Title
JP2009028769 2009-02-10
JP2009028769 2009-02-10
PCT/JP2010/000737 WO2010092782A1 (en) 2009-02-10 2010-02-08 Underground outer wall structure

Publications (1)

Publication Number Publication Date
JPWO2010092782A1 true JPWO2010092782A1 (en) 2012-08-16

Family

ID=42561632

Family Applications (1)

Application Number Title Priority Date Filing Date
JP2010550445A Pending JPWO2010092782A1 (en) 2009-02-10 2010-02-08 Underground wall structure

Country Status (2)

Country Link
JP (1) JPWO2010092782A1 (en)
WO (1) WO2010092782A1 (en)

Families Citing this family (6)

* Cited by examiner, † Cited by third party
Publication number Priority date Publication date Assignee Title
JP2012087484A (en) * 2010-10-15 2012-05-10 Nippon Steel Corp Junction structure of deck plates and roof structure having the junction structure
JP5454494B2 (en) * 2011-03-02 2014-03-26 新日鐵住金株式会社 Underground wall structure
JP5633524B2 (en) * 2012-01-12 2014-12-03 新日鐵住金株式会社 Steel sheet pile underground wall structure
JP6374736B2 (en) * 2014-09-17 2018-08-15 大成建設株式会社 Underground structure and construction method of underground structure
CN110593291A (en) * 2019-09-26 2019-12-20 南京金宸建筑设计有限公司 Pile-wall integrated basement exterior wall
CN112591041A (en) * 2020-11-27 2021-04-02 中船第九设计研究院工程有限公司 Dock water stopping component and preparation and installation method thereof

Citations (4)

* Cited by examiner, † Cited by third party
Publication number Priority date Publication date Assignee Title
JPH04149311A (en) * 1990-10-11 1992-05-22 Fudo Constr Co Ltd Bonding structure of steel underground continuous wall
JPH09100541A (en) * 1995-07-31 1997-04-15 Sumitomo Metal Ind Ltd Underground structure and asymmetric U-shaped steel sheet pile
JP2004124554A (en) * 2002-10-03 2004-04-22 Sekisui Chem Co Ltd Basement structure
JP2005139756A (en) * 2003-11-07 2005-06-02 Nippon Steel Corp Wall

Patent Citations (4)

* Cited by examiner, † Cited by third party
Publication number Priority date Publication date Assignee Title
JPH04149311A (en) * 1990-10-11 1992-05-22 Fudo Constr Co Ltd Bonding structure of steel underground continuous wall
JPH09100541A (en) * 1995-07-31 1997-04-15 Sumitomo Metal Ind Ltd Underground structure and asymmetric U-shaped steel sheet pile
JP2004124554A (en) * 2002-10-03 2004-04-22 Sekisui Chem Co Ltd Basement structure
JP2005139756A (en) * 2003-11-07 2005-06-02 Nippon Steel Corp Wall

Also Published As

Publication number Publication date
WO2010092782A1 (en) 2010-08-19

Similar Documents

Publication Publication Date Title
JPWO2010092782A1 (en) Underground wall structure
KR20190123639A (en) Steel Assembly Pile
JP2009019373A (en) Combined steel sheet piles for preserving earth retaining walls or constructions and preserving earth retaining walls or constructions
JP4757959B2 (en) Steel sheet pile wall and its construction method
JP2021161817A (en) Joining structure and joining method
JP4389570B2 (en) Connection structure of steel wall and reinforced concrete slab
JP4790865B2 (en) Underground wall structure
JPH09125417A (en) Underground wall and asymmetric closed section steel sheet pile
JP5633524B2 (en) Steel sheet pile underground wall structure
JP5835110B2 (en) Quay-quake-proof structure and quake-quake-proof reinforcement method
JP2005120781A (en) Synthetic wall structure
JP6836853B2 (en) Brace joint structure
JP6292028B2 (en) Embankment reinforcement structure
JP4830589B2 (en) Core material, soil cement wall, soil cement wall pile, method of building soil cement wall
KR100657656B1 (en) Ground stabilization pile and its manufacturing method
JP2018040146A (en) Tunnel reinforcing structure and method for constructing tunnel reinforcing structure
JP2006112045A (en) Concrete retaining wall and its construction method
JP2010095907A (en) Reinforcing structure and reinforcing method for existing foundation
JP4880074B2 (en) Underground wall structure
KR20120113521A (en) Anchor and reinforced retainaing wall using the same
JP4384551B2 (en) Steel sheet pile
JP2018031108A (en) Wall structure
JP4716216B2 (en) Pile head joint structure
JP4017726B2 (en) Connection structure of piece members that make up the underground structure
JP4982352B2 (en) Reinforcement structure for joint between wall and floor or beam, construction method for joint between wall and floor or beam, reinforcement method for joint between wall and floor or beam

Legal Events

Date Code Title Description
A02 Decision of refusal

Free format text: JAPANESE INTERMEDIATE CODE: A02

Effective date: 20120104