JP7694160B2 - 車体構造 - Google Patents

車体構造 Download PDF

Info

Publication number
JP7694160B2
JP7694160B2 JP2021092532A JP2021092532A JP7694160B2 JP 7694160 B2 JP7694160 B2 JP 7694160B2 JP 2021092532 A JP2021092532 A JP 2021092532A JP 2021092532 A JP2021092532 A JP 2021092532A JP 7694160 B2 JP7694160 B2 JP 7694160B2
Authority
JP
Japan
Prior art keywords
vehicle
floor
battery
battery case
load transmission
Prior art date
Legal status (The legal status is an assumption and is not a legal conclusion. Google has not performed a legal analysis and makes no representation as to the accuracy of the status listed.)
Active
Application number
JP2021092532A
Other languages
English (en)
Other versions
JP2022184589A (ja
Inventor
丈広 亀井
隆之 木村
Current Assignee (The listed assignees may be inaccurate. Google has not performed a legal analysis and makes no representation or warranty as to the accuracy of the list.)
Mazda Motor Corp
Original Assignee
Mazda Motor Corp
Priority date (The priority date is an assumption and is not a legal conclusion. Google has not performed a legal analysis and makes no representation as to the accuracy of the date listed.)
Filing date
Publication date
Application filed by Mazda Motor Corp filed Critical Mazda Motor Corp
Priority to JP2021092532A priority Critical patent/JP7694160B2/ja
Priority to US17/693,560 priority patent/US12263883B2/en
Priority to CN202210364744.6A priority patent/CN115489618B/zh
Priority to EP22173487.4A priority patent/EP4098522B1/en
Publication of JP2022184589A publication Critical patent/JP2022184589A/ja
Application granted granted Critical
Publication of JP7694160B2 publication Critical patent/JP7694160B2/ja
Active legal-status Critical Current
Anticipated expiration legal-status Critical

Links

Images

Classifications

    • BPERFORMING OPERATIONS; TRANSPORTING
    • B62LAND VEHICLES FOR TRAVELLING OTHERWISE THAN ON RAILS
    • B62DMOTOR VEHICLES; TRAILERS
    • B62D25/00Superstructure or monocoque structure sub-units; Parts or details thereof not otherwise provided for
    • B62D25/20Floors or bottom sub-units
    • BPERFORMING OPERATIONS; TRANSPORTING
    • B62LAND VEHICLES FOR TRAVELLING OTHERWISE THAN ON RAILS
    • B62DMOTOR VEHICLES; TRAILERS
    • B62D25/00Superstructure or monocoque structure sub-units; Parts or details thereof not otherwise provided for
    • B62D25/20Floors or bottom sub-units
    • B62D25/2009Floors or bottom sub-units in connection with other superstructure subunits
    • B62D25/2018Floors or bottom sub-units in connection with other superstructure subunits the subunits being front structures
    • BPERFORMING OPERATIONS; TRANSPORTING
    • B60VEHICLES IN GENERAL
    • B60KARRANGEMENT OR MOUNTING OF PROPULSION UNITS OR OF TRANSMISSIONS IN VEHICLES; ARRANGEMENT OR MOUNTING OF PLURAL DIVERSE PRIME-MOVERS IN VEHICLES; AUXILIARY DRIVES FOR VEHICLES; INSTRUMENTATION OR DASHBOARDS FOR VEHICLES; ARRANGEMENTS IN CONNECTION WITH COOLING, AIR INTAKE, GAS EXHAUST OR FUEL SUPPLY OF PROPULSION UNITS IN VEHICLES
    • B60K1/00Arrangement or mounting of electrical propulsion units
    • BPERFORMING OPERATIONS; TRANSPORTING
    • B60VEHICLES IN GENERAL
    • B60KARRANGEMENT OR MOUNTING OF PROPULSION UNITS OR OF TRANSMISSIONS IN VEHICLES; ARRANGEMENT OR MOUNTING OF PLURAL DIVERSE PRIME-MOVERS IN VEHICLES; AUXILIARY DRIVES FOR VEHICLES; INSTRUMENTATION OR DASHBOARDS FOR VEHICLES; ARRANGEMENTS IN CONNECTION WITH COOLING, AIR INTAKE, GAS EXHAUST OR FUEL SUPPLY OF PROPULSION UNITS IN VEHICLES
    • B60K1/00Arrangement or mounting of electrical propulsion units
    • B60K1/04Arrangement or mounting of electrical propulsion units of the electric storage means for propulsion
    • BPERFORMING OPERATIONS; TRANSPORTING
    • B62LAND VEHICLES FOR TRAVELLING OTHERWISE THAN ON RAILS
    • B62DMOTOR VEHICLES; TRAILERS
    • B62D21/00Understructures, i.e. chassis frame on which a vehicle body may be mounted
    • B62D21/11Understructures, i.e. chassis frame on which a vehicle body may be mounted with resilient means for suspension, e.g. of wheels or engine; sub-frames for mounting engine or suspensions
    • BPERFORMING OPERATIONS; TRANSPORTING
    • B62LAND VEHICLES FOR TRAVELLING OTHERWISE THAN ON RAILS
    • B62DMOTOR VEHICLES; TRAILERS
    • B62D21/00Understructures, i.e. chassis frame on which a vehicle body may be mounted
    • B62D21/15Understructures, i.e. chassis frame on which a vehicle body may be mounted having impact absorbing means, e.g. a frame designed to permanently or temporarily change shape or dimension upon impact with another body
    • BPERFORMING OPERATIONS; TRANSPORTING
    • B62LAND VEHICLES FOR TRAVELLING OTHERWISE THAN ON RAILS
    • B62DMOTOR VEHICLES; TRAILERS
    • B62D25/00Superstructure or monocoque structure sub-units; Parts or details thereof not otherwise provided for
    • B62D25/20Floors or bottom sub-units
    • B62D25/2009Floors or bottom sub-units in connection with other superstructure subunits
    • B62D25/2045Floors or bottom sub-units in connection with other superstructure subunits the subunits being fire walls
    • BPERFORMING OPERATIONS; TRANSPORTING
    • B60VEHICLES IN GENERAL
    • B60KARRANGEMENT OR MOUNTING OF PROPULSION UNITS OR OF TRANSMISSIONS IN VEHICLES; ARRANGEMENT OR MOUNTING OF PLURAL DIVERSE PRIME-MOVERS IN VEHICLES; AUXILIARY DRIVES FOR VEHICLES; INSTRUMENTATION OR DASHBOARDS FOR VEHICLES; ARRANGEMENTS IN CONNECTION WITH COOLING, AIR INTAKE, GAS EXHAUST OR FUEL SUPPLY OF PROPULSION UNITS IN VEHICLES
    • B60K1/00Arrangement or mounting of electrical propulsion units
    • B60K2001/001Arrangement or mounting of electrical propulsion units one motor mounted on a propulsion axle for rotating right and left wheels of this axle
    • BPERFORMING OPERATIONS; TRANSPORTING
    • B60VEHICLES IN GENERAL
    • B60KARRANGEMENT OR MOUNTING OF PROPULSION UNITS OR OF TRANSMISSIONS IN VEHICLES; ARRANGEMENT OR MOUNTING OF PLURAL DIVERSE PRIME-MOVERS IN VEHICLES; AUXILIARY DRIVES FOR VEHICLES; INSTRUMENTATION OR DASHBOARDS FOR VEHICLES; ARRANGEMENTS IN CONNECTION WITH COOLING, AIR INTAKE, GAS EXHAUST OR FUEL SUPPLY OF PROPULSION UNITS IN VEHICLES
    • B60K1/00Arrangement or mounting of electrical propulsion units
    • B60K1/04Arrangement or mounting of electrical propulsion units of the electric storage means for propulsion
    • B60K2001/0405Arrangement or mounting of electrical propulsion units of the electric storage means for propulsion characterised by their position
    • B60K2001/0438Arrangement under the floor
    • BPERFORMING OPERATIONS; TRANSPORTING
    • B60VEHICLES IN GENERAL
    • B60YINDEXING SCHEME RELATING TO ASPECTS CROSS-CUTTING VEHICLE TECHNOLOGY
    • B60Y2304/00Optimising design; Manufacturing; Testing
    • B60Y2304/03Reducing weight
    • BPERFORMING OPERATIONS; TRANSPORTING
    • B60VEHICLES IN GENERAL
    • B60YINDEXING SCHEME RELATING TO ASPECTS CROSS-CUTTING VEHICLE TECHNOLOGY
    • B60Y2304/00Optimising design; Manufacturing; Testing
    • B60Y2304/07Facilitating assembling or mounting
    • B60Y2304/072Facilitating assembling or mounting by preassembled subunits
    • BPERFORMING OPERATIONS; TRANSPORTING
    • B60VEHICLES IN GENERAL
    • B60YINDEXING SCHEME RELATING TO ASPECTS CROSS-CUTTING VEHICLE TECHNOLOGY
    • B60Y2306/00Other features of vehicle sub-units
    • B60Y2306/01Reducing damages in case of crash, e.g. by improving battery protection

Landscapes

  • Engineering & Computer Science (AREA)
  • Chemical & Material Sciences (AREA)
  • Combustion & Propulsion (AREA)
  • Transportation (AREA)
  • Mechanical Engineering (AREA)
  • Body Structure For Vehicles (AREA)
  • Arrangement Or Mounting Of Propulsion Units For Vehicles (AREA)

Description

本発明は、電気自動車の車体構造に関する。
例えば走行用モータを備えた自動車の場合、走行用モータに電力を供給するためのバッテリユニットが搭載されており、このバッテリユニットは走行用モータによる航続可能距離を伸ばすために大容量化されている。
特許文献1に開示されている電気自動車のバッテリユニットはフロア下の広範囲に搭載されている。この自動車の車体の前部には、車両前後方向に延びる左右一対のフロントサイドメンバと、当該フロントサイドメンバの下方において車両前後方向に延びるアンダーメンバとが設けられている。また、フロア下のバッテリユニットはケース本体部を備えている。ケース本体部の前壁からは、車両前方へ延びる左右一対の前部延出部が当該前壁に鋳物で一体的に形成されている。各前部延出部の前端部には、アンダーメンバの後端部が接続されており、前部延出部とアンダーメンバとが車両前後方向に連続している。
特許文献1では、アンダーメンバが前部延出部よりも変形しやすく構成されており、したがって、車両が障害物等に前面衝突した場合、まず、アンダーメンバが変形して衝突荷重が吸収される。アンダーメンバの変形によって吸収しきれなかった衝突荷重は、ケース本体部の前部延出部の変形によって吸収される。つまり、特許文献1では、前面衝突時にアンダーメンバ及びケース本体部の前部延出部を衝撃吸収部材として積極的に変形させることによって衝突荷重を2段階で吸収し、ケース本体部の変形を抑制している。
特開2018-158688号公報
上述したように、特許文献1では、比較的小荷重で変形するアンダーメンバと、比較的大荷重で変形する前部延出部とを車両前後方向に組み合わせることで、衝突荷重がケース本体部に伝達しないようにしてケース本体部の変形を抑制している。
ところが、自動車においては衝突安全性の更なる向上が求められている。特に、大きな衝突荷重が車体に入力した際に、その衝突荷重によるキャビンの変形を抑制することはもちろんのこと、電気自動車においては搭載されている大容量のバッテリセルを保護することも求められている。一方、車体の軽量化についても強い要求があるので、衝突安全性の更なる向上と、車体の軽量化とを如何にして両立させるかが課題となっている。
この点、特許文献1の場合、車体下部ではアンダーメンバと前部延出部とを変形させて衝突荷重を吸収させようとしているので、より大きな衝突荷重が入力した場合に対処しようとすると、アンダーメンバの上方に位置しているフロントサイドメンバの強度を高めなければならず、そのため、車体重量が増加する懸念がある。また、フロントサイドメンバの強度を高めると、フロントサイドメンバの後端部から車体に対して局所的に集中荷重が入力されることになるので、その部分の補強も必要になり、車体重量の更なる増加を招く可能性がある。
本発明は、かかる点に鑑みてなされたものであり、その目的とするところは、前面衝突時の衝突荷重を車体及びバッテリケースに分散して伝達することで、車体を構成している各部材の強度を最適化して車両全体の軽量化を実現することにある。
上記目的を達成するために、本開示の第1の側面では、走行用モータを備えるとともに、当該走行用モータに電力を供給するバッテリが収容されたバッテリケースがフロアパネルの下方に配設された電気自動車の車体構造を前提とすることができる。車体構造は、車室と当該車室の前方の空間とを車両前後方向に仕切るとともに、下端部が前記フロアパネルの車両前端部に接続されたダッシュパネルと、前記ダッシュパネルの車幅方向両側からそれぞれ車両前方へ向けて延びる左右一対のフロントサイドフレームと、前記フロアパネルの車幅方向両端部において車両前後方向に延びるように配設される左右一対のサイドシルと、左右の前記フロントサイドフレームの車両後部からそれぞれ前記フロアパネルの上面に沿って左右の前記サイドシルまで延びる第1前後方向荷重伝達部材と、左右の前記フロントサイドフレームの車両後部からそれぞれ前記フロアパネルの下面に沿って前記バッテリケースの車両前部に向かって延びる第2前後方向荷重伝達部材とを備えている。
この構成によれば、前面衝突時の衝突荷重がフロントサイドフレームに入力されると、当該フロントサイドフレームの車両後部から第1前後方向荷重伝達部材を介してサイドシルに伝達され、また、第2前後方向荷重伝達部材を介してバッテリケースに伝達される。これにより、第1前後方向荷重伝達部材を介してサイドシルに伝達される衝突荷重のルートと、第2前後方向荷重伝達部材を介してバッテリケースに伝達される衝突荷重のルートが形成されるので、衝突荷重がサイドシルとバッテリケースとの両方で分散して吸収される。また、第1前後方向荷重伝達部材及び第2前後方向荷重伝達部材はフロアパネルに沿っているので、第1前後方向荷重伝達部材及び第2前後方向荷重伝達部材に入力された衝突荷重はその一部がフロアパネルにも伝達されて当該フロアパネルによっても吸収される。
本開示の第2の側面では、前記バッテリケースから前記フロントサイドフレームの下方を車両前方へ延びるフレーム部材を備えている。
この構成によれば、前面衝突時の衝突荷重がフレーム部材にも入力する。フレーム部材に入力した衝突荷重はバッテリケースに伝達されて吸収される。
本開示の第3の側面では、前記フレーム部材の上方に前記第2前後方向荷重伝達部材が配設されている。
この構成によれば、フレーム部材と第2前後方向荷重伝達部材とが上下方向に並んだ状態で配設されるので、フレーム部材から伝達された衝突荷重と、第2前後方向荷重伝達部材から伝達された衝突荷重とをバッテリケースの下側及び上側に分散させることができる。
本開示の第4の側面では、前記フロアパネルの下面には、車幅方向に延びるとともに、左側の前記第2前後方向荷重伝達部材の車両後部と右側の前記第2前後方向荷重伝達部材の車両後部とを繋ぐクロスメンバが配設されている。
この構成によれば、左側の第2前後方向荷重伝達部材と右側の第2前後方向荷重伝達部材とがクロスメンバで連結されるので、衝突荷重が入力した時に両方の第2前後方向荷重伝達部材の後部のずれが抑制される。これにより、衝突荷重を両方の第2前後方向荷重伝達部材からバッテリケースに伝達することができる。
本開示の第5の側面では、前記バッテリケースの車幅方向中央には、車両前後方向に延びる中央メンバが設けられ、左側の前記第2前後方向荷重伝達部材の車両後部は、前記中央メンバよりも車体左側に位置付けられ、右側の前記第2前後方向荷重伝達部材の車両後部は、前記中央メンバよりも車体右側に位置付けられている。
この構成によれば、左側の第2前後方向荷重伝達部材からバッテリケースに伝達された衝突荷重と、右側の第2前後方向荷重伝達部材からバッテリケースに伝達された衝突荷重との両方を中央メンバで吸収することができる。
本開示の第6の側面では、前記バッテリケースの車両前部には、上方へ突出する突出部が設けられ、前記第2前後方向荷重伝達部材の車両後部と、前記突出部とは、車両前後方向視で互いに重複している。
この構成によれば、衝突荷重が第2前後方向荷重伝達部材から突出部を介してバッテリケースに確実に伝達される。
本開示の第7の側面では、前記突出部が車幅方向に連続して延びているので、前面衝突時に、第2前後方向荷重伝達部材の車両後部が多少車幅方向に変位したとしても、衝突荷重が突出部に確実に入力されるようになる。
本開示の第8の側面では、前記第2前後方向荷重伝達部材の車両後部と、前記突出部とは、車両前後方向に所定間隔をあけて配置されている。
この構成によれば、通常走行時には、第2前後方向荷重伝達部材とバッテリケースの突出部とが接触しないので、干渉音等の発生が回避される。一方、前面衝突時に第2前後方向荷重伝達部材が後方へ移動すると、第2前後方向荷重伝達部材の後部が突出部に接触するので、衝突荷重が突出部に確実に入力されるようになる。つまり、上記所定間隔とは、通常走行時には第2前後方向荷重伝達部材と突出部とが接触せず、前面衝突時には第2前後方向荷重伝達部材の後部が突出部に接触するように設定された間隔である。
以上説明したように、フロントサイドフレームの後部からフロアパネルの上面に沿ってサイドシルまで延びる第1前後方向荷重伝達部材と、フロントサイドフレームの後部からフロアパネルの下面に沿ってバッテリケースの前部に向かって延びる第2前後方向荷重伝達部材とを備えているので、前面衝突時の衝突荷重を車体及びバッテリケースに分散して伝達することができる。これにより、車体を構成している各部材の強度を最適化して車両全体の軽量化を実現できる。
本発明の実施形態に係る電気自動車の側面図である。 電気自動車を下部構造体と上部構造体とに分割した状態を示す側面図である。 下部構造体を上方から見た斜視図である。 下部構造体の平面図である。 小型のバッテリケースを備えた下部構造体の図4相当図である。 前部中央メンバの高さを高くした場合の下部構造体の左側面図である。 電気自動車の左右方向中央部の断面図である。 電気自動車を前方から見た断面図である。 電気自動車を後方から見た断面図である。 電気自動車の前席部分を通る断面を示す前方からの斜視図である。 フロアパネル、前席シート、前席乗員、バッテリユニットを模式的に示す図である。 図10におけるC部を拡大して前方から見た図である。 電気自動車の後部の断面を示す下方からの斜視図である。 変形例に係るフロアパネル、バッテリユニットを模式的に示す図である。
以下、本発明の実施形態を図面に基づいて詳細に説明する。尚、以下の好ましい実施形態の説明は、本質的に例示に過ぎず、本発明、その適用物或いはその用途を制限することを意図するものではない。
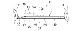
図1は、本発明の実施形態に係る車体構造Aを備えた電気自動車1の左側面図である。この電気自動車1は、図2に示すように、下部構造体2と、上部構造体3とを備えており、下部構造体2及び上部構造体3によって車体構造Aが構成されている。図2では、ドア、ボンネットフード、フロントフェンダ、ウインドガラス、バンパー、前後の灯火装置等が取り外された状態を示している。尚、この実施形態の説明では、車両前側を単に「前」といい、車両後側を単に「後」といい、車両右側を単に「右」といい、車両左側を単に「左」というものとする。車両の左右方向が車幅方向である。
図1に示すように、電気自動車1は、乗用自動車である。図2に示すように、乗員の居住スペースとなる車室R1内の前側には前席シートS1が設けられ、車室R1内の前席シートS1の後方には後席シートS2が設けられている。後席シートS2の後方には、必要に応じて荷室R2が設けられている。車室R1及び荷室R2は、上部構造体3に設けられている。尚、車室R内には、前席シートS1のみが設けられていてもよいし、後席シートS2の後方に3列目シート(図示せず)が設けられていてもよい。
一方、電気自動車1の前部である車室R1よりも前方の空間は、例えば動力室R3とすることができる。すなわち、車体構造Aは、駆動輪を駆動するための動力を発生する走行用モータMと、当該走行用モータMに電力を供給するバッテリB(図4にのみ示す)が収容されたバッテリケース10とを備えている。走行用モータMのみ、または走行用モータMと減速機や変速機等とによってパワートレインPTが構成されている。図1及び図2では、パワートレインPTが動力室R3にのみ設けられている場合を示しているが、パワートレインPTは荷室R2の下方空間R4に設けられていてもよい(後部のパワートレインについては図示せず)。パワートレインPTが動力室R3にのみ設けられている場合には前輪Fのみが駆動される。下方空間R4にパワートレインPTが設けられている場合には後輪Rのみが駆動される。この場合、動力室R3は荷室空間等として利用することができる。また、動力室R3と下方空間R4との両方にパワートレインPTが設けられている場合には4輪駆動車となる。バッテリケース10は、後述するフロアパネル70の下方に配設されている。
図3及び図4に示すように、下部構造体2は、バッテリケース10と、バッテリケース10の前方において前方へ向かって延びる前部フレーム部材11と、バッテリケース10の後方において後方へ向けて延びる後部フレーム部材12とを備えている。図3では、左側の前輪F、後輪R、サスペンションアーム等を省略している。
一般的な電気自動車の場合、バッテリケースを車体とは別体としてフロア下に着脱可能にしている場合が多いが、本実施形態では、バッテリケース10だけではなく、そのバッテリケース10に前部フレーム部材11及び後部フレーム部材12を一体化しておき、前部フレーム部材11及び後部フレーム部材12もバッテリケース10と共に、上部構造体3に対して着脱可能になっている。
具体的には、本実施形態の電気自動車1は、バッテリケース10を有する下部構造体2と、車室R1や荷室R2を形成する上部構造体3とに上下分割可能に構成されている。上下分割可能とは、溶接や接着等を用いることなく、下部構造体2を上部構造体3に対してボルト及びナットやネジ等の締結部材を利用して一体化することである。これにより、電気自動車1がユーザの手に渡ってから整備や修理を行う際に、必要に応じて下部構造体2を上部構造体3から分離することができるので、メンテナンス性が良好になる。
ここで、自動車の車体構造として、ラダーフレームタイプの車体構造が知られている。ラダーフレームタイプの車体構造の場合、ラダーフレームとキャビンとに上下分割可能になっているが、ラダーフレームは前後方向に連続して延びているものであることから、前面衝突時及び後面衝突時に主に衝突荷重を受ける。側面衝突時には、ラダーフレームは補助的に衝突荷重を受けるだけであり、主に衝突荷重を受けるのはキャビンである。このように、ラダーフレームタイプの車体構造では、前面衝突時及び後面衝突時と、側面衝突時とで衝突荷重を受ける部材が分かれているのが通常である。
これに対し、本実施形態の電気自動車1の場合、フレーム部材11、12を有する下部構造体2と上部構造体3とが分割可能になっているが、前面衝突時及び後面衝突時と、側面衝突時の両方の場合で、衝突荷重を下部構造体2及び上部構造体3で受けることにより、当該衝突荷重を両構造体2、3に分散して吸収可能している点で、従来のラダーフレームタイプの車体構造とはその技術的思想が大きく相違している。以下、下部構造体2及び上部構造体3の構造と、作用効果について順に説明する。
(下部構造体)
まず、下部構造体2について説明する。図3及び図4に示すように、下部構造体2は、バッテリケース10、前部フレーム11及び後部フレーム12の他にも、パワートレインPT、前輪F、後輪R、前側サスペンション装置13及び後側サスペンション装置14も備えている。前側サスペンション装置13及び後側サスペンション装置14の形式は特に問わない。
バッテリケース10は、後述するフロアパネル70の下方において、フロアパネル70の左端部近傍から右端部近傍に渡るとともに、フロアパネル70の前端部近傍から後端部近傍に渡るように形成された大型のケースである。このように、バッテリケース10をフロアパネル70の下方領域の広範囲に設けることで、図4に示すように大容量のバッテリBを電気自動車1に搭載することが可能になる。バッテリBは、例えばリチウムイオン電池や全固体電池等であってもよいし、他の二次電池であってもよい。また、バッテリBは、いわゆるバッテリセルであってもよいし、複数のバッテリセルを収容したバッテリパックであってもよい。
バッテリケース10は、左側方メンバ20と、右側方メンバ21と、前端部メンバ22と、後端部メンバ23と、底板24とを備えている。左側方メンバ20、右側方メンバ21、前端部メンバ22及び後端部メンバ23は、例えばアルミニウム合金製の押出材等で構成されているが、その他にもアルミニウム合金製板材や鋼板のプレス成形材で構成されていてもよい。底板24も押出材で構成することができる。以下の説明で「押出材」という場合はアルミニウム合金製の押出材であり、また、「プレス成形材」という場合はアルミニウム合金製板材や鋼板のプレス成形材である。また、各部材は、例えば鋳物で構成されていてもよい。
左側方メンバ20、右側方メンバ21、前端部メンバ22及び後端部メンバ23の各々の長手方向に直交する方向の断面形状は、全て矩形状とされている。また、左側方メンバ20、右側方メンバ21、前端部メンバ22及び後端部メンバ23は、全て同じ高さに配置されていて、略水平に延びている。
左側方メンバ20は、バッテリケース1の左端部に設けられ、前後方向に延びている。右側方メンバ21は、バッテリケース1の右端部に設けられ、前後方向に延びている。また、前端部メンバ22は、バッテリケース1の前端部に設けられ、左右方向に延びている。前端部メンバ22の左端部と、左側方メンバ20の前端部とが接続され、前端部メンバ22の右端部と、右側方メンバ21の前端部とが接続されている。後端部メンバ23は、バッテリケース1の後端部に設けられ、左右方向に延びている。後端部メンバ23の左端部と、左側方メンバ20の後端部とが接続され、後端部メンバ23の右端部と、右側方メンバ21の後端部とが接続されている。底板24は、略水平に延びており、左側方メンバ20、右側方メンバ21、前端部メンバ22及び後端部メンバ23の下面に固定されている。したがって、左側方メンバ20、右側方メンバ21、前端部メンバ22、後端部メンバ23及び底板24により、バッテリBを収容するバッテリ収容空間S(図3に示す)が区画形成される。
搭載するバッテリBの容量に応じてバッテリ収容空間Sの大きさを変えることができる。バッテリ収容空間Sの大きさは、左側方メンバ20、右側方メンバ21、前端部メンバ22及び後端部メンバ23の長さ及び底板24の形状を変えることで容易に変更可能となっている。例えば、小型車でホイールベースが短く、トレッドが狭い場合には、左側方メンバ20、右側方メンバ21、前端部メンバ22及び後端部メンバ23を短くし、それに合わせて底板24の形状を小さくすることでバッテリ収容空間Sが小型車に応じて小さくなる(図5参照)。一方、大型車の場合には、左側方メンバ20、右側方メンバ21、前端部メンバ22及び後端部メンバ23を長くし、それに合わせて底板24の形状を大きくすることでバッテリ収容空間Sが大型車に応じて大きくなる。左側方メンバ20、右側方メンバ21、前端部メンバ22及び後端部メンバ23が押出材で構成されている場合には、長さの変更が容易に行える。また、底板24も押出材で構成することができ、これにより形状の変更が容易に行える。
バッテリ収容空間Sの上部は、図示しない蓋体で閉塞してもよいし、後述するフロアパネル70で閉塞してもよい。バッテリ収容空間Sには、バッテリB以外にも、バッテリBを冷却する冷却装置やバッテリBを加温する加温装置等(温調装置)を設けることもできる。また、バッテリBの電力は、図示しない制御装置を介して走行用モータMに供給されるようになっている。さらに、図示しない充電ソケットを介してバッテリBの充電が可能になっている。
図3に示すように、バッテリケース10の内部には、左右方向に延びる補強部材として、第1~第3バッテリ側クロスメンバ25A、25B、25Cが設けられている。第1~第3バッテリ側クロスメンバ25A、25B、25Cの高さは全て同じであり、左側方メンバ20等の高さと略同じである。バッテリ側クロスメンバ25A、25B、25Cは、押出材で構成されていてもよいし、プレス成形材で構成されていてもよい。この実施形態では、3本のバッテリ側クロスメンバ25A、25B、25Cが設けられているが、バッテリケース10の前後方向の寸法に応じてバッテリ側クロスメンバ25A、25B、25Cの数を増減することができる。
第1~第3バッテリ側クロスメンバ25A、25B、25Cは、前後方向に互いに間隔をあけて配置されており、第1バッテリ側クロスメンバ25Aが最も前に、第3バッテリ側クロスメンバ25Cが最も後に位置付けられている。各バッテリ側クロスメンバ25A、25B、25Cの下部は、底板24の上面に固定されている。また、各バッテリ側クロスメンバ25A、25B、25Cの左端部は、左側方メンバ20の内面(右側面)に固定され、各バッテリ側クロスメンバ25A、25B、25Cの右端部は、右側方メンバ21の内面(左側面)に固定されている。つまり、バッテリ側クロスメンバ25A、25B、25Cは、左側方メンバ20と右側方メンバ21とを繋ぐ部材である。
上記図5は、図4に示すバッテリケース10よりも前後方向の寸法が短く設定された小型のバッテリケース10を備えた下部構造体2の例を示しているが、この図5に示す例では、前後方向の寸法が短くなったことにより、第3バッテリ側クロスメンバ25Cを省略している。反対に、図示しないが、第4バッテリ側クロスメンバを設けることもできる。
バッテリケース10の内部には、前後方向に延びる補強部材として、前部中央メンバ(前部補強メンバ)26と、第1~第3後部中央メンバ(後部補強メンバ)27~29とが設けられている。前部中央メンバ26及び第1~第3後部中央メンバ27~29は、略同じ高さに配置され、バッテリケース10の左右方向中央に設けられている。前部中央メンバ26及び第1~第3後部中央メンバ27~29の下端部が底板24の上面に取り付けられている。
前部中央メンバ26は、前端部メンバ22と第1バッテリ側クロスメンバ25Aとの間に配置されており、前部中央メンバ26の前端部が前端部メンバ22の左右方向中央部に固定され、前部中央メンバ26の後端部が第1バッテリ側クロスメンバ25Aの左右方向中央部に固定されている。したがって、前端部メンバ22は、左側方メンバ20及び右側方メンバ21の前端部と前部中央メンバ26の前端部とを繋ぐように延びる部材である。
第1後部中央メンバ27は、第1バッテリ側クロスメンバ25Aと第2バッテリ側クロスメンバ25Bとの間に配置されており、第1後部中央メンバ27の前端部が第1バッテリ側クロスメンバ25Aの左右方向中央部に固定され、第1後部中央メンバ27の後端部が第2バッテリ側クロスメンバ25Bの左右方向中央部に固定されている。また、第2後部中央メンバ28は、第2バッテリ側クロスメンバ25Bと第3バッテリ側クロスメンバ25Cとの間に配置されており、第2後部中央メンバ28の前端部が第2バッテリ側クロスメンバ25Bの左右方向中央部に固定され、第2後部中央メンバ28の後端部が第3バッテリ側クロスメンバ25Cの左右方向中央部に固定されている。また、第3後部中央メンバ29は、第3バッテリ側クロスメンバ25Cと後端部メンバ23との間に配置されており、第3後部中央メンバ29の前端部が第3バッテリ側クロスメンバ25Cの左右方向中央部に固定され、第3後部中央メンバ29の後端部が後端部メンバ23の左右方向中央部に固定されている。したがって、第1~第3バッテリ側クロスメンバ25A、25B、25Cと、前部中央メンバ26及び第1~第3後部中央メンバ27~29とが、バッテリケース10の内部において格子状に配設されて互いに連結されることになるので、バッテリケース10の補強効果がより一層高まる。
平面視で前後方向に延びる仮想直線を想定したとき、前部中央メンバ26及び第1~第3後部中央メンバ27~29は、その仮想直線上に配置されるように各々の左右方向の位置が設定されている。つまり、前部中央メンバ26の後方への仮想延長線上に、第1~第3後部中央メンバ27~29は位置するように設けられている。尚、前部中央メンバ26及び第1~第3後部中央メンバ27~29は、前後方向に連続した1つの部材で構成されていてもよい。
図6は、前部中央メンバ26の高さを第1~第3後部中央メンバ27~29(図6には示さず)の高さよりも高くした例を示す図である。詳細は後述するが、上部構造体3のフロアパネル70は、前部フロア部70aが後部フロア部70bよりも上方に位置している。前部フロア部70aの下方に前部中央メンバ26が設けられ、また、後部フロア部70bの下方に第1~第3後部中央メンバ27~29が設けられている。前部中央メンバ26の上端部は、後部フロア部70bよりも上に位置するように形成されている。言い換えると、後部フロア部70bが相対的に低くなっていることに対応するように、第1~第3後部中央メンバ27~29の上端部は、前部中央メンバ26の上端部よりも下に位置している。このとき、第1バッテリ側クロスメンバ25Aを前部フロア部70aの下方に設けてもよく、この場合、第1バッテリ側クロスメンバ25Aの上端部が第2、第3バッテリ側クロスメンバ25B、25Cよりも上に位置するように形成することができる。
図3及び図4に示すように、前部フレーム部材11は左右一対設けられており、後述する左右のフロントサイドフレーム72の下方において略水平に直線状に延びている。各前部フレーム部材11は、例えば押出材やプレス成形材等で構成することができる。この実施形態では、各前部フレーム部材11を押出材で構成しているので、前後方向に直交する方向の断面形状は前端部から後端部まで略等しくなっている。
左側の前部フレーム部材11は、バッテリケース10の前部を構成している前端部メンバ22の左右方向中央よりも左寄りの部位に接続されており、この接続部位は、バッテリケース10の左側方メンバ20よりも右側に位置している。また、右側の前部フレーム部材11は、前端部メンバ22の左右方向中央よりも右寄りの部位に接続されており、この接続部位は、バッテリケース10の右側方メンバ21よりも左側に位置している。これにより、左右の前部フレーム部材11の間隔は、所定の間隔となり、左右の前部フレーム部材11の間にパワートレインPTの下部を配置することが可能になる。左右の前部フレーム部材11の間隔は、バッテリケース10の左側方メンバ20と右側方メンバ21との間隔よりも狭く設定されている。
左右の前部フレーム部材11の高さは略同じである。また、左右の前部フレーム部材11と、バッテリケース10の前部中央メンバ26、左側方メンバ20及び右側方メンバ21とは、略同じ高さに配設されている。
各前部フレーム部材11におけるバッテリケース10側(後側)は、当該バッテリケース10に対して左右方向に互いに離間した複数部位で接続されている。具体的には、右の前部フレーム部材11の後端部は、前端部メンバ22に接続されており、さらに、前部フレーム部材11の後端部よりも前に離れた部位は、外側接続部(一方接続部)30及び内側接続部(他方接続部)31によって前端部メンバ22に接続されている。これにより、前面衝突時に前部フレーム部材11に入力した衝突荷重をバッテリケース10の複数箇所に分散して伝達することができる。
外側接続部30及び内側接続部31は、例えば押出材やプレス成形材等からなる高剛性な部材で構成されており、筒状、板状、柱状をなしている。平面視で、外側接続部30及び内側接続部31の幅は、前部フレーム部材11の幅よりも広く設定されており、これより、上記衝突荷重の分散効果がより一層高まる。尚、外側接続部30及び内側接続部31の幅は、前部フレーム部材11の幅と同じにしてもよいし、前部フレーム部材11の幅よりも狭くしてもよい。
右の外側接続部30は、右の前部フレーム部材11よりも右側(車幅方向外側)において当該前部フレーム部材11と略同じ高さに設けられ、後端部に近づくほど右側に位置するように、平面視で前後方向に対して傾斜している。右の外側接続部30の前端部は、前部フレーム部材11における前後方向中央と後端部との間の部位(前後方向中途部)に接続されている。外側接続部30は、前部フレーム部材11との接続部位から右側かつ後方、つまり上部構造体3が有するサイドシル73(後述する)側へ向かって延びている。そして、右の外側接続部30の後端部は、前端部メンバ22における前部フレーム部材11の後端部から右方向に離間した部位に接続されている。外側接続部30と前部フレーム部材11との接続構造、及び外側接続部30と前端部メンバ22との接続構造は、例えばボルト及びナット等の締結部材を用いた接続構造であってもよいし、溶接や接着等を用いた接続構造であってもよい。
右の内側接続部31は、右の前部フレーム部材11よりも左側(車幅方向内側)において当該前部フレーム部材11と略同じ高さに設けられ、後端部に近づくほど左側に位置するように、平面視で前後方向に対して傾斜している。右の内側接続部31の前端部は、前部フレーム部材11における前後方向中央と後端部との間の部位(前後方向中途部)に接続されている。右の内側接続部31は、前部フレーム部材11との接続部位から左側かつ後方、つまりバッテリケース10の左右方向中央へ向かって延びている。そして、内側接続部31の後端部は、前端部メンバ22における前部フレーム部材11の後端部から左方向に離間した部位に接続されている。内側接続部31と前部フレーム部材11との接続構造、及び内側接続部31と前端部メンバ22との接続構造は、外側接続部30の接続構造と同様にすることができる。
この実施形態では、右の前部フレーム部材11を前端部メンバ22に対して左右方向に互いに離間した3箇所で連結しているが、これに限らず、外側接続部30と内側接続部31との一方を省略して2箇所で連結してもよいし、前部フレーム部材11の後端部を前端部メンバ22に連結することなく、外側接続部30及び内側接続部31のみで前端部メンバ22に連結してもよい。
尚、左の前部フレーム部材11も右の前部フレーム部材11と同様に、前端部メンバ22に連結することができる。左の前部フレーム部材11の連結構造は、右の前部フレーム部材11のものに対して左右対称構造とすることができる。
図3に示すように、下部構造体2のバッテリケース10よりも前方には、中間連結メンバ49と前部連結メンバ50と後部連結メンバ51とが前後方向に間隔をあけて設けられている。前部連結メンバ50は、左の前部フレーム部材11の前部から右の前部フレーム部材11の前部まで車幅方向に延び、左の前部フレーム部材11と右の前部フレーム部材11とを連結する部材である。また、後部連結メンバ51は、左の前部フレーム部材11の後部から右の前部フレーム部材11の後部まで車幅方向に延び、左の前部フレーム部材11と右の前部フレーム部材11とを連結する部材である。前部連結メンバ50及び後部連結メンバ51は、例えば押出材やプレス成形材等で構成されている。左右の前部フレーム部材11を前部連結メンバ50及び後部連結メンバ51で連結することで、平面視で枠型のフレーム構造になる。
また、中間連結メンバ49は、前部連結メンバ50と後部連結メンバ51との間に設けられており、左の前部フレーム部材11の前部から右の前部フレーム部材11の前部まで車幅方向に延び、左の前部フレーム部材11と右の前部フレーム部材11とを連結する部材である。中間連結メンバ49は、必要に応じて設ければよく、省略してもよい。
前部連結メンバ50は、左の前部フレーム部材11の上面から右の前部フレーム部材11の上面まで延びるとともに、両前部フレーム部材11の上面よりも上方へ突出するように配設されている。一方、後部連結メンバ51は、左右の前部フレーム部材11の間に配置されており、後部連結メンバ51の左端部が左の前部フレーム部材11の側面に接続され、後部連結メンバ51の右端部が右の前部フレーム部材11の側面に接続されている。前部連結メンバ50及び後部連結メンバ51は、前部フレーム部材11に対して締結部材によって固定してもよいし、溶接や接着等によって固定してもよい。
前部連結メンバ50及び後部連結メンバ51の前後方向の寸法は、前部フレーム部材11の左右方向の寸法よりも長く設定されている。これにより、両連結メンバ50、51による前部フレーム部材11の連結強度を高めることができる。
図4に示すように、パワートレインPTは前部連結メンバ50よりも後方に配置されている。具体的には、平面視で、前部連結メンバ50と後部連結メンバ51との間にパワートレインPTが配置されている。下部構造体2には、パワートレインPTの出力を左右の前輪Fにそれぞれ伝達するドライブシャフト52が左右に設けられている。
また、前側サスペンション装置13の一部を構成している左右のサスペンションアーム13aは、ブラケット13bを介して左右の前部フレーム部材11にそれぞれ揺動自在に支持されている。ブラケット13bは、左右の前部フレーム部材11と後部連結メンバ51との接続部位に設けられている。
下部構造体2には、左の前部フレーム部材11を左のフロントサイドフレーム72(後述する)に連結する2つの左側連結部53、54が前後方向に互いに間隔をあけて設けられるとともに、右の前部フレーム部材11を右のフロントサイドフレーム72(後述する)に連結する2つの右側連結部55、56が前後方向に互いに間隔をあけて設けられている。左側連結部53、54及び右側連結部55、56は、上下方向に延びる板材、筒状部材、柱状部材等で構成することができる。この実施形態では、左側連結部53、54及び右側連結部55、56をプレス成形材で構成しているが、押出材等で構成してもよい。また、左側連結部53、54の数は、2つに限られるものではなく、3つ以上を前後方向に互いに間隔をあけて設けてもよい。右側連結部55、56についても同様である。
前の左側連結部53は、前部連結メンバ50における左の前部フレーム部材11との接続部位に設けられている。具体的には、左の前部フレーム部材11の前部と、前部連結メンバ50の左端部とが上下方向に重なって配置されており、前部連結メンバ50の左端部が左の前部フレーム部材11の前部に接続されているので、前部連結メンバ50の左端部によって接続部位が構成されている。この前部連結メンバ50の左端部に前の左側連結部53の下端部が取り付けられている。
また、前の右側連結部55は、前部連結メンバ50における右の前部フレーム部材11との接続部位に設けられている。具体的には、右の前部フレーム部材11の前部と、前部連結メンバ50の右端部とが上下方向に重なって配置されており、前部連結メンバ50の右端部が右の前部フレーム部材11の前部に接続されているので、前部連結メンバ50の右端部によって接続部位が構成されている。この前部連結メンバ50の右端部に前の右側連結部55の下端部が取り付けられている。
後の左側連結部54は、左の前部フレーム部材11における中間連結メンバ49との接続部位に設けられている。後の左側連結部54の下端部は、左の前部フレーム部材11に取り付けられており、左のドライブシャフト52よりも後側に配置されている。また、後の右側連結部56は、右の前部フレーム部材11における中間連結メンバ49との接続部位に設けられている。後の右側連結部56の下端部は、右の前部フレーム部材11に取り付けられており、右のドライブシャフト52よりも後側に配置されている。これにより、前後の左側連結部53、54の間隔及び前後の右側連結部55、56の間隔を広げることができる。
右の前部フレーム部材11は、図8に示す右のフロントサイドフレーム72よりも左側(車幅方向内側)に配設され、また、左の前部フレーム部材11は、図2に示す左のフロントサイドフレーム72よりも右側(車幅方向内側)に配設されている。これにより、左右のフロントサイドフレーム72の間隔が左右の前部フレーム部材11の間隔よりも広くなる。左右のフロントサイドフレーム72の間には、走行用モータMを含むパワートレインPTが搭載されている。
図3に示すように、右側連結部55、56は、上側へ行くほど右側(車幅方向外側)に位置するように形成されている。これは、右のフロントサイドフレーム72が右の前部フレーム部材11の上方において当該前部フレーム部材11よりも右側に位置付けられていることによる。左側連結部53、54も同様に、上側へ行くほど左側(車幅方向外側)に位置するように形成されている。
後部フレーム部材12は前部フレーム部材11と同様に左右一対設けられており、略水平に直線状に後方へ向かって延びている。各後部フレーム部材12は、例えば押出材やプレス成形材等で構成することができる。この実施形態では、各後部フレーム部材12を押出材で構成している。
左側の後部フレーム部材12は、バッテリケース10の後部を構成している後端部メンバ23の左右方向中央よりも左寄りの部位に接続されており、この接続部位は、バッテリケース10の左側方メンバ20よりも右側に位置している。また、右側の後部フレーム部材12は、後端部メンバ23の左右方向中央よりも右寄りの部位に接続されており、この接続部位は、バッテリケース10の右側方メンバ21よりも左側に位置している。後部フレーム部材12の後端部メンバ23への接続構造は、上述した前部フレーム部材11の前端部メンバ22への接続構造と同様にすることができる。
また、図5に示す形態では、左右の後部フレーム部材12の前端部を後端部メンバ23に接続するとともに、接続部材60によって後部フレーム部材12の前後方向中間部分を後端部メンバ23に接続している。これにより、後部フレーム部材12におけるバッテリケース10側は、当該バッテリケース10に対して左右方向に互いに離間した複数部位で接続されることになる。
後側サスペンション装置14の一部を構成している左右のサスペンションアーム14aは、ブラケット14bを介して左右の後部フレーム部材12にそれぞれ揺動自在に支持されている。
(上部構造体)
次に、上部構造体3について説明する。図7~図10に示すように、上部構造体3は、フロアパネル70と、ダッシュパネル71と、左右一対のフロントサイドフレーム72と、左右一対のサイドシル73とを備えている。図7~図10では、ドア、ボンネットフード、フロントフェンダ、ウインドガラス、バンパー、前後の灯火装置、一部のシート、内装材等が取り外された状態を示している。
フロアパネル70は、車室R1の床面を構成するものであり、前後方向に延びるとともに左右方向にも延びる鋼板等からなる。フロアパネル70の上方空間が車室R1となる。車室R1の上部にはルーフ80が設けられている。また、図2に示すように、上部構造体3の左側部には、前部開口部3a及び後部開口部3bが形成されている。図1に示すように、前部開口部3a及び後部開口部3bはそれぞれフロントドア81及びリヤドア82によって開閉自在となっている。尚、図示しないが、上部構造体3の右側にもフロントドアと、リヤドアとが開閉自在に配設されている。
ダッシュパネル71は、車室R1と動力室R3とを前後方向に仕切るための部材である。このダッシュパネル71は、例えば鋼板等で構成されており、左右方向に延びるとともに上下方向にも延びている。図7~図9に示すように、上部構造体3の前部の左右両側には、それぞれ、左右の前輪Fを収容するためのフロントホイールハウス部85(図7~図9では右側のもののみ示す)が設けられている。ダッシュパネル71の左端部は左のフロントホイールハウス部85(図2に示す)に接続され、また、ダッシュパネル71の右端部は右のフロントホイールハウス部85(図7~図9に示す)に接続されている。
図11に模式的に示すように、フロアパネル70は、前部フロア部70aと、後部フロア部70bとを備えている。さらに、図10に示すように、フロアパネル70は、その後部にキックアップ部70cも備えている。前部フロア部70a、後部フロア部70b及びキックアップ部70cは、1枚の板材で一体成形されていてもよいし、互いに別の板材で成形されていてもよい。別の板材で成形されている場合には、複数の板材を接合することによって1枚のフロアパネル70を構成することができる。
図11に示すように、前部フロア部70aは、フロアパネル70の前側部分を構成しており、前側へ行くほど上に位置するように傾斜ないし湾曲している。前部フロア部70aの前端部がダッシュパネル71の下端部に接続されている。したがって、フロアパネル70は、ダッシュパネル71の下端部から後方へ延びるように設けられる。
後部フロア部70bは、前部フロア部70aの後端部から後方へ延びるように形成されており、フロアパネル70の前後方向中間部分を構成している。下部構造体2のバッテリケース10の前部は、前部フロア部70aの直下方に位置しており、また、バッテリケース10の後部は、後部フロア部70bの直下方に位置している。したがって、バッテリケース10は、前部フロア部70aの下方から後部フロア部70bの下方に達するように形成されており、これにより、フロアパネル70下の大部分にバッテリBを搭載することができる。
フロアパネル70の前後方向中間部分は、前部フロア部70aよりも低くなっている。つまり、前部フロア部70aは、後部フロア部70bの前方に設けられ、当該後部フロア部70bよりも上方に位置している。後部フロア部70bの前側部分には、前席シートS1を固定するためのシート固定部100の少なくとも一部が取り付けられる。シート固定部100は、例えばブラケット等で構成されている。シート固定部100の少なくとも後部が後部フロア部70bに取り付けられていればよく、シート固定部100の全部が後部フロア部70bに取り付けられていてもよい。シート固定部100の少なくとも後部を後部フロア部70bに取り付けることで、前席シートS1を低くレイアウトすることができるので、前席乗員Pのヒップポイントを下げることができ、その結果、前席乗員Pの頭上スペースに余裕が生まれ、居住性が高まる。また、ヒップポイントが低くなるということは、前席乗員Pの着座位置が下がるということであり、これにより、乗車状態における車両の重心高が下がる。この実施形態では、シート固定部100の全部を後部フロア部70bに取り付けているので、前席シートS1をより一層低くレイアウトすることができる。
前席シートS1に前席乗員Pとしての運転者が着座すると、前席乗員Pの踵P1は、前部フロア部70aに置かれることになる。踵P1が置かれる前部フロア部70aが後部フロア部70bに比べて上に位置付けられるので、踵P1が、一般的な自動車(前部フロア部と後部フロア部とが同じ高さの自動車)の操作姿勢に比べて高い位置に置かれることになる。このようなレイアウトにより、前席乗員Pの上腿P2と下腿P3とが大きく開いた姿勢となる。図11における符号101は、上腿P2の中心線を示し、符号102は、下腿P3の中心線を示しており、中心線101と、中心線102とのなす角度(上腿P2と下腿P3との開角α)が125゜~150゜の範囲となるように、前部フロア部70aと後部フロア部70bとの高さの差を設定している。
このように高さの差を設定することで、下腿P3と前部フロア部70aとのなす角度(中心線101と前部フロア部70aとのなす角度β)が小さくなるので、ペダル操作時に踵P1に入力される上下方向の分力が小さくなり、ブレーキペダル103の操作性が向上する。具体的に説明すると、前席乗員Pがブレーキペダル103を踏み込むときには、斜め下向きの力Fを踵P1が前部フロア部70aに対して作用させることになる。この力Fを鉛直方向の力と水平方向の力とに分けると、それぞれ力F1と力F2となる。上述したように、角度βが小さくなっているので、踵P1から入力される上下方向の分力F1が小さくなる。このことで、例えばブレーキペダル103からアクセルペダル(図示せず)への踏み替え操作やその反対の踏み替え操作等が素早く、かつ、正確に行えるようになり、その結果、ペダルの操作性が向上する。
また、後部フロア部70bには後席乗員の足が置かれることがある。後部フロア部70bが前部フロア部70aよりも低くなっていることで、後席乗員の足元スペースが拡大し、後席乗員の居住性も良好になる。
図7~図9に示すように、キックアップ部70cは、フロアパネル70の後側部分を構成しており、後部フロア部70bの後端部に接続されている。キックアップ部70cは、後部フロア部70bよりも上方に位置しており、キックアップ部70cと後部フロア部70bとの間には上下方向に延びる縦板部70dが形成されている。キックアップ部70cの高さは、前部フロア部70aよりも高く設定されている。キックアップ部70cの上面には、後席シートS2(図2に示す)が取り付けられている。キックアップ部70cの下には、バッテリBを配設してもよいし、電気自動車1の制御装置等(図示せず)を配設してもよい。
フロアパネル70には、当該フロアパネル70に沿って左右方向に延びるフロア側クロスメンバ110が取り付けられている。フロア側クロスメンバ110は、フロアパネル70の後部フロア部70bの上面に対して例えば溶接されている。フロア側クロスメンバ110の形状は特に限定されるものではないが、本実施形態では、上方に膨出するとともに下方に開放されており、左右方向両端部に渡って略同じ断面形状となっている。フロア側クロスメンバ110を後部フロア部70bに取り付けることで、フロア側クロスメンバ110及び後部フロア部70bによって閉断面が形成される。フロア側クロスメンバ110の左端部は、左のサイドシル73の車幅方向内面近傍に位置しており、また、フロア側クロスメンバ110の右端部は、右のサイドシル73の車幅方向内面近傍に位置している。尚、フロア側クロスメンバ110は、後部フロア部70bの下面に取り付けられていてもよい。
図7~図9に示すように、左右のフロントサイドフレーム72は、車体前部に配設されており、前後方向に延びる高強度な部材である。図7~図9では、右のフロントサイドフレーム72のみ示しており、また、図2では左のフロントサイドフレーム72を示している。すなわち、左右のフロントサイドフレーム72は、フロアパネル70よりも前方に位置付けられるとともに、フロアパネル70よりも上方に位置付けられており、具体的にはダッシュパネル71の下部における左右両側からそれぞれ前方に向けて延びるように配設されている。
左右のフロントサイドフレーム72は左右対称構造であり、例えば複数のプレス成形材を接合することによって構成することや、押出材で構成することができる。各フロントサイドフレーム72の前後方向に直交する方向の断面は、下部構造体2の前部フレーム部材11の同方向の断面よりも大きく設定されている。これにより、各フロントサイドフレーム72が前部フレーム部材11に比べて太く高強度な部材となる。
左右のフロントサイドフレーム72の前端部は、それぞれ、前面衝突時に圧縮変形して衝突エネルギを吸収するクラッシュカン72aを有している。クラッシュカン72aは、前後方向に延びる筒状の金属製部材である。左右のクラッシュカン72aの前端部には、左右方向に延びるフロントバンパーレインフォースメント86が固定されている。
図8に示すように、下部構造体2の前に位置する右側連結部55の上部は、右のクラッシュカン72aに連結されている。また、下部構造体2の前に位置する左側連結部53(図2に示す)の上部は、左のクラッシュカン72aに連結されている。クラッシュカン72aがフロントサイドフレーム72の前端部にあるので、そのクラッシュカン72aに左側連結部53の上部を連結することで、左側連結部53の連結部位を車体の前端に近い部位に設定することができる。これにより、左側連結部53、54の前後方向の間隔を広げることができるので、左側連結部53、54によって前部フレーム部材11をフロントサイドフレーム72に連結することの作用効果がより一層顕著なものになる。右側連結部55、56についても同様である。左側連結部53、54及び右側連結部55、56のフロンドサイドフレーム72への連結構造は、例えばボルト及びナット等の締結部材を用いた構造である。尚、前の左側連結部53及び右側連結部55は、フロントサイドフレーム72におけるクラッシュカン72aよりも後の部位に連結してもよい。
また、図5に示すように、後の右側連結部56の下部がドライブシャフト52よりも後で前部フレーム部材11に連結され、また、図8に示すように、後の右側連結部56の上部は、フロントサイドフレーム72の前後方向中央よりも後寄りの部位に連結されている。これにより、右側連結部55、56の前後方向の間隔をより一層広げることができる。左側連結部53、54についても同様である。
左右のサイドシル73は、それぞれフロアパネル70の左右両端部において前後方向に延びるように配設される。図12に示すように、左のサイドシル73の上下方向中間部にフロアパネル70の左端部が接続されており、サイドシル73の上側部分はフロアパネル70の接続部位から上方へ突出し、またサイドシル73の下側部分はフロアパネル70の接続部位から下方へ突出している。フロアパネル70の下方にはバッテリケース10が配置されるので、車両側面視では、サイドシル73の下側部分と、バッテリケース10とが重複するように配置される。また、右のサイドシル73も同様にフロアパネル70の右端部と接続されている。
左右のサイドシル73は左右対称構造である。以下、図12に基づいて、左のサイドシル73の詳細構造について説明する。左のサイドシル73は、プレス成形材からなるインナ部材90とアウタ部材91とを備えている。インナ部材90は、サイドシル73の車室内側部分を構成する部材であり、車室内側へ膨出するとともに前後方向に長く形成されている。アウタ部材91は、サイドシル73の車室外側部分を構成する部材であり、車室外側へ膨出するとともに前後方向に長く形成されている。インナ部材90及びアウタ部材91の上部同士が接合されるとともに、インナ部材90及びアウタ部材91の下部同士が接合されることによって内部が中空状のサイドシル73が構成されている。
サイドシル73の車幅方向内側の下部には、車幅方向外側へ窪む第1凹部73aが前後方向に延びるように形成されている。第1凹部73aは、下方及び車幅方向内方へ向けて開放されている。下部構造体2のバッテリケース10の車幅方向外側は、第1凹部73aに嵌まるように形成されている。具体的には、バッテリケース10の左側方メンバ20が、第1凹部73aの下方から当該第1凹部73aに入るようになっている。これにより、バッテリケース10の車幅方向の寸法を長く確保できるとともに、バッテリケース10の下方への突出量を少なくすることができる。
サイドシル73の内部には、前後方向に延びるとともに、車幅方向外側から内側へ向かう荷重を車幅方向内側へ向けて伝達するための中空状の側方荷重伝達部材120が設けられている。側方荷重伝達部材120が荷重伝達を行うのは、通常走行時の荷重は想定しておらず、電気自動車1の側方から障害物が衝突した側面衝突時のように、電気自動車1の側部の部材が変形する程度の極めて大きな荷重である。
側方荷重伝達部材120は、例えば押出材で構成することができ、サイドシル73の前端部から後端部まで連続している。側方荷重伝達部材120は、サイドシル73に対して適宜箇所において固定されている。側方荷重伝達部材120のサイドシル73に対する固定構造は、特に限定されるものではないが、例えばボルト及びナット、リベット等の締結部材を用いた構造を挙げることができる。
側方荷重伝達部材120は、側面衝突時の荷重を車幅方向内側へ伝達することができるように、高い剛性を有しているので、圧縮力だけでなく、曲げ力や捻り力にも強く、通常走行時にサイドシル73を補強して車体剛性の向上に寄与する補強部材としても機能する。このような側方荷重伝達部材120は、サイドシル73の内部において当該サイドシル73を補強する部材であることから、インナーレインフォースメントと呼ぶことができる。
側方荷重伝達部材120は、上壁部121と、外側壁部122と、内側上部縦壁部123と、内側下部縦壁部124と、中間壁部125と、下壁部126とを有している。上壁部121は、車幅方向に延びており、サイドシル73の内部において上端部近傍に配置される。外側壁部122は、上壁部121の車幅方向外端部から下方へ延びており、サイドシル73の内部において車幅方向外端部近傍に配置される。外側壁部122の上端部は、フロア側クロスメンバ110の上端部よりも上方に位置している。外側壁部122の下端部は、バッテリケース10の内部に設けられている第2バッテリ側クロスメンバ25Bの上端部よりも下方に位置している。尚、図示しないが、第1バッテリ側クロスメンバ25A及び第3バッテリ側クロスメンバ25Cと側方荷重伝達部材120との位置関係も略同じである。
内側上部縦壁部123は、上壁部121の車幅方向内端部から下方へ延びており、サイドシル73の内部において車幅方向内端部近傍に配置される。内側上部縦壁部123の上端部は、フロア側クロスメンバ110の上端部よりも上方に位置している。内側上部縦壁部123の下端部は、後部フロア部70bよりも下方かつ第2バッテリ側クロスメンバ25Bの上端部よりも上方に位置している。
中間壁部125は、内側上部縦壁部123の下端部から車幅方向外側へ向けて延びている。中間壁部125の車幅方向外端部は、上壁部121の車幅方向中央よりも内側寄りに位置している。内側下部縦壁部124は、中間壁部125の車幅方向内端部から下方へ延びている。内側下部縦壁部124の下端部は、第2バッテリ側クロスメンバ25Bの上端部よりも下方に位置している。内側下部縦壁部124の上下方向の寸法は、内側上部縦壁部123の上下方向の寸法よりも短く設定されている。
内側下部縦壁部124及び中間壁部125により、側方荷重伝達部材120の車室内側の下部は、サイドシル73の第1凹部73aに対応するように車幅方向外側へ窪む第2凹部120aが形成される。サイドシル73の第1凹部73aが形成された部分が、側方荷重伝達部材120の第2凹部120aに嵌まるようになっている。
下壁部126は、内側下部縦壁部124の下端部から外側壁部122の下端部まで延びている。下壁部126の車幅方向の寸法は、中間壁部125の車幅方向の寸法よりも長く設定されている。
車両側面視では、側方荷重伝達部材120の上側部分がフロア側クロスメンバ110と重複しており、また、側方荷重伝達部材120の下側部分が第2バッテリ側クロスメンバ25Bと重複している。すなわち、側方荷重伝達部材120は、車両側面視でフロア側クロスメンバ110と重複するとともに上下方向に延びる内側上部縦壁部(第1縦壁部)123と、車両側面視でバッテリケース10と重複するとともに上下方向に延びる内側下部縦壁部(第2縦壁部)124とを有している。尚、内側上部縦壁部123の下部は、バッテリケース10の上部と重複させてもよい。
側方荷重伝達部材120の内部には、第1~第4リブ131~134が一体に形成されている。第1リブ131は、中間壁部125から上方に離れた箇所において車幅方向に延びており、第1リブ131の車幅方向内端部は内側上部縦壁部123の上下方向中間部と接続されている。第1リブ131は車幅方向外側へ行くほど上に位置するように傾斜している。
第2リブ132は、第1リブ131から下方に離れた箇所において車幅方向に延びており、第2リブ132の車幅方向内端部は内側下部縦壁部124の上端部と接続されている。第2リブ132の車幅方向外端部は、外側壁部122の上下方向中間部と接続されている。第1リブ131及び第2リブ132は、略水平に延びていてもよいし、車幅方向内側へ行くほど上に位置するように傾斜していてもよいし、車幅方向外側へ行くほど上に位置するように傾斜していてもよい。
第3リブ133は、内側下部縦壁部124の上端部から上方へ延びている。第3リブ133の上端部は、上壁部121の車幅方向中間部と接続されている。第3リブ133は、上側へ行くほど車幅方向外側に位置するように傾斜している。第3リブ133の上下方向中間部に、第1リブ131の車幅方向外端部が接続されている。
第4リブ134は、第2リブ132から上方に離れた箇所において車幅方向に延びている。第4リブ134の車幅方向内端部は第3リブ133の上下方向中間部に接続されている。第4リブ134の車幅方向外端部は外側壁部122の上下方向中間部に接続されている。第4リブ134の車幅方向内端部と、第1リブ131の車幅方向外端部とは、第3リブ133を介して接続されており、第1リブ131と第4リブ134とによって車幅方向に連続した1つのリブを構成している。側方荷重伝達部材120の内部に形成するリブの数や形状は、上述したものに限られず、リブの数は3つ以下であってもよいし、5つ以上であってもよい。
バッテリケース10は、サイドシル73に固定されるとともに、側方荷重伝達部材120に直接固定されている。バッテリケース10の左側方メンバ20には、上下方向に延びる金属製の筒状部材140が複数固定されている。筒状部材140の前後方向の間隔は、例えば数十cm程度に設定することができる。複数の筒状部材140は、図2に示すように、前後方向に互いに間隔をあけて配置されている。各筒状部材140には、ボルト141が下方から差し込まれるようになっている。
一方、サイドシル73における第1凹部73aの内面に相当する部位には、ボルト141の軸部が挿通可能となるように開口している。同様に、側方荷重伝達部材120の中間壁部125にもボルト141の軸部が挿通可能となるように開口しており、両開口は一致している。側方荷重伝達部材120の内部には、ナット142が収容されている。ナット142は、側方荷重伝達部材120の中間壁部125の上面に固定されている。開口及びナット142の数と位置は、筒状部材140の数と位置に対応している。
したがって、各ボルト141を筒状部材140に差し込んで、サイドシル73の開口及び側方荷重伝達部材120の開口に挿通してナット142に螺合させて締め込むことで、バッテリケース10の左側の複数箇所を側方荷重伝達部材120及びサイドシル73に固定することができる。バッテリケース10の右側についても同様に固定することができる。
本実施形態では、側方荷重伝達部材120が一体成形されたものである場合について説明したが、これに限らず、側方荷重伝達部材120は複数の部材を組み合わせて構成されていてもよい。図示しないが、例えば、側方荷重伝達部材120の車幅方向内側部分と外側部分とを別々に成形した後、一体化した2分割構造であってもよい。また、側方荷重伝達部材120は3分割構造であってもよい。
図7等に示すように、上部構造体3は、左右一対のヒンジピラー150を備えている。右のヒンジピラー150は、右のサイドシル73の前端部から上方に延びている。また、図2に示すように、左のヒンジピラー150は、左のサイドシル73の前端部から上方に延びている。左右のヒンジピラー150には、それぞれ左右のフロントドア81(図1に示す)が取り付けられている。
また、図10に示すように、上部構造体3は、左右一対のセンターピラー157も備えている。右のセンターピラー157は、右のサイドシル73の前後方向中間部から上方に延びている。また、図2に示すように、左のセンターピラー157は、左のサイドシル73の前後方向中間部から上方に延びている。左右のセンターピラー157には、それぞれ左右のリヤドア82(図1に示す)が取り付けられている。
図9に示すように、上部構造体3は、左右一対のフロアレインフォースメント(第1前後方向荷重伝達部材)151を備えている。フロアレインフォースメント151は、前部フロア部70aの上面に沿って前後方向に延びている。右のフロアレインフォースメント151の前端部は、右のフロントサイドフレーム72の後端部に接続されている。右のフロアレインフォースメント151の後端部は、右のサイドシル73の前端部に接続されている。したがって、フロントサイドフレーム72とサイドシル73とがフロアレインフォースメント151によって接続されるので、例えばフロントサイドフレーム72に対して前面衝突時の衝突荷重が入力すると、フロアレインフォースメント151を介してサイドシル73へ伝達される。
フロアレインフォースメント151は、上方へ膨出するとともに下方に開放されており、この膨出した形状が前端部から後端部まで連続している。フロアレインフォースメント151を前部フロア部70aの上面に取り付けることで、フロアレインフォースメント151及び前部フロア部70aによって閉断面が形成される。
サイドシル73がフロントサイドフレーム72よりも車幅方向外側に位置しているので、フロアレインフォースメント151は後側へ行くほど車幅方向外側に位置するように、平面視で湾曲しながら延びている。このフロアレインフォースメント151の湾曲形状は、フロントホイールハウス部85の下端部の形状と対応している。つまり、フロアレインフォースメント151はフロントホイールハウス部85の下端部に沿って延びていて、当該フロントホイールハウス部85と接続されて一体化されている。尚、左のフロアレインフォースメント(図示せず)は右のものと左右対称構造である。
フロアレインフォースメント151が前部フロア部70aの上面に取り付けられる一方、下部構造体2の外側接続部30(図3等に示す)は前部フロア部70aよりも下方に位置しているので、フロアレインフォースメント151と、外側接続部30とは上下方向に互いに離間した位置関係となる。同様に、フロアレインフォースメント151と、内側接続部31とも、上下方向に互いに離間した位置関係となる。
また、平面視では、右のフロアレインフォースメント151におけるサイドシル73側の部位(フロアレインフォースメント151の後端部)と、右の外側接続部30におけるバッテリケース10側の部位(外側接続部30の後端部)とは、互いに重複している。フロアレインフォースメント151の後端部は、サイドシル73に接続される部位であることから、サイドシル73に隣接するように配置されることになる。一方、外側接続部30はバッテリケース10に接続される部材であることから、サイドシル73から離れてしまうことになるが、平面視で、外側接続部30の後端部が、フロアレインフォースメント151の後端部と重複するということは、外側接続部30の後端部をサイドシル73に接近させることができるということである。よって、前方からの衝突荷重を、外側接続部30を介してサイドシル73側へ向かって確実に作用させることができる。左側についても同様である。
右のフロアレインフォースメント151の後端部と、右のヒンジピラー150の基端部(下端部)とは、前後方向について同じ位置に配置されている。すなわち、サイドシル73におけるヒンジピラー150の基端部近傍は、特に剛性が高い部分であり、この特に剛性の高い部分にフロアレインフォースメント151の後端部を接続することで、衝突荷重をサイドシル73で効率よく吸収できるようになる。
図7に示すように、上部構造体3は、左右一対の下部荷重伝達部材(第2前後方向荷重伝達部材)152を備えている。下部構造体2の前部フレーム部材11の上方に下部荷重伝達部材152が配設されており、前部フレーム部材11と下部荷重伝達部材152とは上下方向に互いに離れている。また、下部荷重伝達部材152は、前部フロア部70aの下面に沿って前後方向に延びている。図11に模式的に示すように、右の下部荷重伝達部材152の前端部は、右のフロントサイドフレーム72の後端部に接続されている。そして、下部荷重伝達部材152は、バッテリケース10の前部に向かって延びているので、例えばフロントサイドフレーム72に対して前面衝突時の衝突荷重が後方へ向けて入力すると、その衝突荷重は下部荷重伝達部材152を介してバッテリケース10の前部へ伝達される。左の下部荷重伝達部材152は右のものと左右対称である。
下部荷重伝達部材152は、下方へ膨出するとともに上方に開放されており、この膨出した形状が前端部から後端部まで連続している。下部荷重伝達部材152を前部フロア部70aの下面に取り付けることで、下部荷重伝達部材152及び前部フロア部70aによって閉断面が形成される。
右の下部荷重伝達部材152の後部は、バッテリケース10内の前部中央メンバ26よりも右側かつ右側方メンバ21よりも左側に位置付けられている。また、左の下部荷重伝達部材152の後部は、バッテリケース10内の前部中央メンバ26よりも左側かつ左側方メンバ20よりも右側に位置付けられている。
図7~図9に示すように、前部フロア部70aの下面には、左右方向に延びるとともに、左の下部荷重伝達部材152の後部と右の下部荷重伝達部材152の後部とを繋ぐクロスメンバ153が配設されている。クロスメンバ153は、下方に膨出するとともに上方に開放されており、左右方向両端部に渡って略同じ断面形状となっている。クロスメンバ153を前部フロア部70aの下面に取り付けることで、クロスメンバ153及び前部フロア部70aによって閉断面が形成される。クロスメンバ153を配設することで、前面衝突時の衝突荷重を左右の下部荷重伝達部材152が受けた時に、下部荷重伝達部材152の後部が左右方向に変位するのを抑制することができる。
図11に示すように、バッテリケース10の前部を構成している前端部メンバ22は、クロスメンバ153の真下に配置されている。前端部メンバ22は、クロスメンバ153に対して図示しないボルト及びナットによって締結されている。前端部メンバ22の締結構造は、左側方メンバ20のサイドシル73への締結構造と同様にすることができる。
バッテリケース10の前部には、上方へ突出する突出部22aが設けられている。具体的には、前端部メンバ22におけるクロスメンバ153よりも後の部位に突出部22aが設けられている。この突出部22aは、下部荷重伝達部材152の後部よりも後に位置している。また、突出部22aは、その上端部がクロスメンバ153の下面よりも上方に位置するとともに、下部荷重伝達部材152の後部の下面よりも上方に位置するように形成されている。これにより、前後方向視で、クロスメンバ153及び下部荷重伝達部材152と、突出部22aとが互いに重複する。突出部22aは、前面衝突時に衝突荷重によって下部荷重伝達部材152が後退した時、下部荷重伝達部材152から衝突荷重が伝達される部分である。
突出部22aは、左右方向に連続して延びている。すなわち、前面衝突時には、下部荷重伝達部材152の後部が多少左右方向に変位することも考えられるが、突出部22aが左右方向に連続していることで、下部荷重伝達部材152の後部が左右方向に変位したとしても、衝突荷重が突出部22aに確実に入力されるようになる。尚、突出部22aは、左右方向に連続したものに限定されず、不連続に形成されていて、前後方向視で少なくとも一部が下部荷重伝達部材152の後部と重複していればよい。
突出部22aは、前端部メンバ22と一体成形されていてもよいし、別部材で構成されていてもよい。前端部メンバ22が押出材である場合には、突出部22aを容易に一体成形することができる。突出部22aは、例えば底板24に固定されていてもよいし、左側方メンバ20や右側方メンバ21等に固定されていてもよい。突出部22aは、例えば板状(リブ状)、棒状、筒状等のいずれの形状であってもよい。突出部22aをリブ状として前端部メンバ22と一体成形することで、前端部メンバ22の補強効果を得ることもできる。
下部荷重伝達部材152の後部と、突出部22aとは、前後方向に所定間隔をあけて配置されている。所定間隔をあけておくことで、通常走行時には、下部荷重伝達部材152と突出部22aとが接触しないので、干渉音等の発生が回避される。一方、前面衝突時に下部荷重伝達部材152が後方へ移動すると、下部荷重伝達部材152の後部が突出部22aに接触するので、衝突荷重が突出部22aに確実に入力されるようになる。つまり、上記所定間隔とは、通常走行時には下部荷重伝達部材152と突出部22aとが接触せず、前面衝突時には下部荷重伝達部材152の後部が突出部22aに接触するように設定された間隔であり、例えば数mm~数cm程度とすることができる。尚、下部荷重伝達部材152の後部と、突出部22aとを当接させてもよい。また、下部荷重伝達部材152の後部と、突出部22aとを締結部材によって結合してもよい。
また、図6に示す形態では、バッテリケース10内の前部中央メンバ26が前部フロア部70aの下方に設けられていて、第1~第3後部中央メンバ27~29に比べて高さが高くなっている。従って、前部中央メンバ26の上下方向の寸法が長くなるので、大断面の前部中央メンバ26がバッテリケース10の前部に位置することになる。これにより、下部荷重伝達部材152から伝達された衝突荷重をバッテリケース10の前部で受けたときに、バッテリケース10の変形が抑制される。
(バッテリケースの後部と上部構造体との連結構造)
図13に示すように、バッテリケース10の後部と上部構造体3とは連結部材160によって連結されている。この連結構造を説明する前に、上部構造体3の後側の構造について説明する。上部構造体3の後部の左右両側には、それぞれ、左右の後輪Rを収容するためのリヤホイールハウス部170(図7~図9では右側のもののみ示す)が設けられている。フロアパネル70における荷室R2の床面を構成する荷室フロア部70eは、キックアップ部70cの後部から後方へ延びており、後部フロア部70bよりも上方に位置している。後部フロア部70bを第1フロア部とし、キックアップ部70c及び荷室フロア部70eを相対的に高い第2フロア部とする。荷室フロア部70eの左端部は左のリヤホイールハウス部170(図2に示す)の下部に接続され、また、荷室フロア部70eの右端部は右のリヤホイールハウス部170(図7~図9に示す)に接続されている。
図7~図9に示すように、キックアップ部70cの下面には、左右方向に延びるリヤクロスメンバ(第1クロスメンバ)171が取り付けられている。リヤクロスメンバ171は、下方へ膨出するとともに上方に開放されており、この膨出した形状が左端部から右端部まで連続している。リヤクロスメンバ171をキックアップ部70cの下面に取り付けることで、リヤクロスメンバ171及びキックアップ部70cによって閉断面が形成される。
キックアップ部70cの上面には、リヤクロスメンバ171の直上方において左右方向に延びるリヤフロア側クロスメンバ172が取り付けられている。リヤフロア側クロスメンバ172は、上方へ膨出するとともに下方に開放されており、この膨出した形状が左端部から右端部まで連続している。リヤフロア側クロスメンバ172をキックアップ部70cの上面に取り付けることで、リヤフロア側クロスメンバ172及びキックアップ部70cによって閉断面が形成される。平面視で、リヤフロア側クロスメンバ172とリヤクロスメンバ171とが重複している。
また、リヤフロア側クロスメンバ172の右端部は、右のリヤホイールハウス部170と接続され、リヤフロア側クロスメンバ172の左端部は、左のリヤホイールハウス部170と接続されている。また、リヤフロア側クロスメンバ172の右端部には、右のリヤホイールハウス部170に沿って上方へ延びる側部レインフォースメント173の下端部が接続されている。また、リヤフロア側クロスメンバ172の左端部には、左のリヤホイールハウス部170に沿って上方へ延びる側部レインフォースメント(図示せず)の下端部が接続されている。そして、右の側部レインフォースメント173の上部と、左の側部レインフォースメントの上部とは、左右方向に延びる接続部材174(図8及び図9に示す)によって接続されている。つまり、リヤフロア側クロスメンバ172、左右の側部レインフォースメント173及び接続部材174によって環状構造が形成されている。環状構造は、ルーフ80側まで設けられたレインフォースメント(図示せず)を利用して形成されていてもよい。
一方、図13に示すように、バッテリケース10は、ケース側クロスメンバ(第2クロスメンバ)180を有している(図2~図6では省略)。ケース側クロスメンバ180は、左右方向に延びており、バッテリケース10の後部を構成している後端部メンバ23に取り付けられている。後端部メンバ23の上方にケース側クロスメンバ180が位置している。ケース側クロスメンバ180と、リヤクロスメンバ171とは、上下方向に対向するように配置されている。
図13に示すように、連結部材160は、バッテリケース10の後端部メンバ23と、キックアップ部70cとを連結するための部材である。これにより、バッテリケース10を利用してキックアップ部70cが補強されるので、キックアップ部70cの剛性が向上する。キックアップ部70cの剛性が向上することで、フロアパネル70全体の剛性も向上する。この実施形態では、連結部材160が左右方向及び上下方向に延びる板材で構成されているが、これに限らず、上下方向や斜めに延びる閉断面状のメンバ、軸状部材、筒状部材等であってもよい。また、連結部材160は複数設けられていてもよい。
連結部材160の上部は、リヤクロスメンバ171の下部に固定されている。これにより、バッテリケース10及びキックアップ部70cがリヤクロスメンバ171を介して連結部材160により連結されることになる。すなわち、リヤクロスメンバ171が設けられていることによって剛性が向上した部分に、連結部材160の上部を固定することができるので、連結部材160のキックアップ部70cへの固定強度を高めることができる。連結部材160の上部の固定構造は、例えばボルト及びナット(図示せず)等の締結部材を使用した着脱可能な締結構造を用いることができる。尚、連結部材160の上部をキックアップ部70cに直接連結してもよい。
また、連結部材160の下部は、バッテリケース10の一部を構成しているケース側クロスメンバ180に固定されている。これにより、バッテリケース10における剛性が向上した部分に、連結部材160の下部を固定することができるので、連結部材160のバッテリケース10への固定強度を高めることができる。尚、連結部材160の下部をバッテリケース10に対して上記締結部材によって着脱可能に固定してもよい。連結部材160は、上部構造体3側の構成部材としてもよいし、下部構造体2側の構成部材としてもよい。
(上部構造体と下部構造体のクロスメンバの位置関係)
図14は、実施形態の変形例に係り、上部構造体3と下部構造体2のクロスメンバの位置関係を示す模式図である。上部構造体3のフロアパネル70の上面には、車幅方向に延びる第1~第3フロア側クロスメンバ110A、110B、110Cが取り付けられており、また、フロアパネル70の下面には、クロスメンバ153が取り付けられている。クロスメンバ153はフロアパネル70に取り付けられるのでフロア側クロスメンバである。
第1フロア側クロスメンバ110Aは、上述したクロスメンバ110であり、クロスメンバ153から後方に離れて配置されている。第2フロア側クロスメンバ110Bは、第1フロア側クロスメンバ110Aから後方に離れて配置されている。第3フロア側クロスメンバ110Cは、第2フロア側クロスメンバ110Bから後方に離れて配置されている。一方、下部構造体2のバッテリケース10には、上述した第1~第3バッテリ側クロスメンバ25A、25B、25Cが設けられている。側面視では、クロスメンバ153、第1~第3フロア側クロスメンバ110A、110B、110Cと第1~第3バッテリ側クロスメンバ25A、25B、25Cとが、サイドシル73(図10等に示す)と重複している。
車両側面視で、クロスメンバ153及び第1~第3フロア側クロスメンバ110A、110B、110Cと、第1~第3バッテリ側クロスメンバ25A、25B、25Cとが車両前後方向にずれている。すなわち、車両前側から後側へ向かって順に、クロスメンバ153、第1バッテリ側クロスメンバ25A、第1フロア側クロスメンバ110A、第2バッテリ側クロスメンバ25B、第2フロア側クロスメンバ110B、第3バッテリ側クロスメンバ25C、第3フロア側クロスメンバ110Cが位置しており、クロスメンバ153、第1~第3フロア側クロスメンバ110A、110B、110Cと第1~第3バッテリ側クロスメンバ25A、25B、25Cとが前後方向に交互に設けられている。
例えば、第1フロア側クロスメンバ110Aと第2フロア側クロスメンバ110Bとに着目した時、第1フロア側クロスメンバ110Aよりも前かつ第2フロア側クロスメンバ110Bよりも後に第2バッテリ側クロスメンバ25Bが位置している。一方、第1バッテリ側クロスメンバ25Aと第2バッテリ側クロスメンバ25Bとに着目した時、第1バッテリ側クロスメンバ25Aよりも後かつ第2バッテリ側クロスメンバ25Bよりも前に第1フロア側クロスメンバ110Aが位置している。このような位置関係にあることを、「車両前後方向にずれている」という。
また、「車両前後方向にずれている」とは、別の形態を含んでいてもよい。例えば、第1フロア側クロスメンバ110Aの前後方向の中心と、第2バッテリ側クロスメンバ25Bの前後方向の中心とが前後方向にオフセットしている形態を含むことができる。この場合、図14に示す形態も含まれているが、例えば第1フロア側クロスメンバ110Aの後部と、第2バッテリ側クロスメンバ25Bの前部とが、平面視で重複する位置関係にある形態も含まれる。
また、例えば第1フロア側クロスメンバ110Aの前部が第2バッテリ側クロスメンバ25Bの前部よりも前に位置している形態、及び第2バッテリ側クロスメンバ25Bの後部が第1フロア側クロスメンバ110Aの後部よりも後に位置している形態も、「車両前後方向にずれている」に含まれる。
側面衝突時には、クロスメンバ153及び第1~第3フロア側クロスメンバ110A、110B、110Cと、第1~第3バッテリ側クロスメンバ25A、25B、25Cとで衝突荷重を受けることができる。クロスメンバ153及び第1~第3フロア側クロスメンバ110A、110B、110Cと、第1~第3バッテリ側クロスメンバ25A、25B、25Cとが上述したように車両前後方向にずれていることで、例えば障害物がポールのような細い物であっても、いずれかのフロア側クロスメンバ153、110A、110B、110Cとバッテリ側クロスメンバ25A、25B、25Cに対して障害物の衝突荷重を入力させることができる。
車両側面視で、ヒンジピラー150(図14に仮想線で示す)と非重複の領域にあるフロア側クロスメンバ110A、110B、110C及びバッテリ側クロスメンバ25A、25B、25Cのみ前後方向にずれている。つまり、ヒンジピラー150よりも後側に位置するフロア側クロスメンバ110A、110B、110C及びバッテリ側クロスメンバ25A、25B、25Cが前後方向にずれている。すなわち、ヒンジピラー150がある部位は側方からの衝突荷重に対する強度は高いので、フロア側クロスメンバ及びバッテリ側クロスメンバが前後方向にずれていなくても、ヒンジピラー150によって衝突荷重を受けることができる。
同様に、車両側面視で、センターピラー157と非重複の領域にあるフロア側クロスメンバ110A、110C及びバッテリ側クロスメンバ25A、25B、25Cのみ前後方向にずれていてもよい。
(前面衝突時の作用効果)
次に、上記のように構成された電気自動車1が前面衝突した場合について説明する。前面衝突時の衝突荷重は、フロントバンパーレインフォースメント86を介して左右のフロントサイドフレーム72に入力される。また、前面衝突時の衝突荷重は、左右の前部フレーム部材11にも入力される。
前部フレーム部材11については、当該前部フレーム部材11の前後方向に離れた複数の部位がそれぞれ左側連結部53、54によって左のフロントサイドフレーム72に連結されているので、衝突荷重が入力された左の前部フレーム部材11が安定するとともに左右方向や上下方向に傾き難くなる。右の前部フレーム部材11も同様である。これにより、衝突荷重が左右の前部フレーム部材11によってバッテリケース10の前部に対して直線的に伝達される。
このとき、前部フレーム部材11が外側接続部30及び内側接続部31により、バッテリケース10に対して左右方向に互いに離間した複数部位で接続されているので、前部フレーム部材11に入力された衝突荷重はバッテリケース10における左右方向に離間した複数部位に入力される。バッテリケース10は前後方向に延びる前部中央メンバ26及び左側方メンバ20、右側方メンバ21を備えているので、左右方向に離間した複数部位に入力された衝突荷重は、前部中央メンバ26及び左側方メンバ20、右側方メンバ21に分散して伝達される。これにより、バッテリケース10を積極的に利用して衝突荷重の吸収が可能になるので、下部構造体2での衝突荷重の吸収量を高めることができ、その分、フロントサイドフレーム72の強度やフロントサイドフレーム72の後端部近傍の部材の強度を最適化して車両全体の軽量化を実現することができる。
また、フロントサイドフレーム72に入力された衝突荷重は、フロアレインフォースメント151を介してサイドシル73に伝達される。また、前部フレーム部材11に入力された衝突荷重は、外側接続部30がサイドシル73側へ向かって延びているので、外側接続部30を介してサイドシル73側へ向けても作用させることができる。このとき、フロアレインフォースメント151と外側接続部30とが上下方向に離れているので、フロントサイドフレーム72からサイドシル73に伝達される衝突荷重のルートと、前部フレーム部材11からサイドシル73側へ向けて作用する衝突荷重のルートとは別ルートになり、従って、衝突荷重が複数のルートでサイドシル73に伝達される。このサイドシル73は、車体を構成する部材の中でも特に高剛性な部材であることから、衝突荷重をサイドシル73によって吸収することができる。
また、フロントサイドフレーム72に入力された衝突荷重は、当該フロントサイドフレーム72の後部からフロアレインフォースメント151及び下部荷重伝達部材152の両方を介してバッテリケース10に伝達される。これにより、下部荷重伝達部材152を介してバッテリケース10に伝達される衝突荷重のルートも形成されるので、衝突荷重がサイドシル73とバッテリケース10との両方で分散して吸収される。また、フロアレインフォースメント151及び下部荷重伝達部材152はフロアパネル70に沿っているので、フロアレインフォースメント151及び下部荷重伝達部材152に入力された衝突荷重はその一部がフロアパネル70にも伝達されて当該フロアパネル70によっても吸収される。
尚、オフセット前面衝突の場合には、左右いずれか一方に大きな衝突荷重が入力されることになるが、この場合も、本実施形態は有効である。また、後突の場合も、後部フレーム部材12を備えているので、同様な作用効果を奏することができる。
(側面衝突時の作用効果)
次に、上記のように構成された電気自動車1が側面衝突した場合について説明する。側面衝突時の衝突荷重はサイドシル73に対して車幅方向外側から内側へ向けて入力されることになる。このサイドシル73の内部には、側方荷重伝達部材120が設けられているので、側方荷重伝達部材120に対して車幅方向外側から内側へ向けて衝突荷重が入力される。このとき、側方荷重伝達部材120の内側上部縦壁部123がフロア側のクロスメンバ110、153と重複し、内側下部縦壁部124がバッテリケース10と重複しているので、衝突荷重はフロア側のクロスメンバ110、153及びバッテリケース10に分散して伝達される。フロア側のクロスメンバ110、153はフロアパネル70に取り付けられた状態で車幅方向に延びているので、側方からの荷重に対する耐力が大きく、このことによって衝突荷重の一部が吸収されてバッテリケース10に入力される衝突荷重が低減され、バッテリBが保護される。また、バッテリケース10に第1~第3バッテリ側クロスメンバ25A、25B、25Cや前端部メンバ22及び後端部メンバ23が設けられているので、バッテリケース10によっても衝突荷重を吸収することができる。
また、例えばポールのような障害物が車両の側方から衝突した時には、図14に示すように、クロスメンバ153及び第1~第3フロア側クロスメンバ110A、110B、110Cと、第1~第3バッテリ側クロスメンバ25A、25B、25Cとが車両前後方向にずれていることで、いずれかのクロスメンバに衝突荷重を入力させることができる。尚、細いポールが、第1フロア側クロスメンバ110Aと第2バッテリ側クロスメンバ25Bとの間に衝突する場合が考えられる。この場合には、高強度な側方荷重伝達部材120がそのポールの衝突荷重を受けた後、衝突荷重を、少なくとも第1フロア側クロスメンバ110Aと第2バッテリ側クロスメンバ25Bに分散して吸収することができる。
さらに、障害物が大径のポールや自動車等であった場合には、フロア側クロスメンバ110A、110B、110Cとバッテリ側クロスメンバ25A、25B、25Cの両方に衝突荷重が入力することになるので、衝突荷重がフロアパネル70及びバッテリケース10に分散して伝達する。
上述の実施形態はあらゆる点で単なる例示に過ぎず、限定的に解釈してはならない。さらに、特許請求の範囲の均等範囲に属する変形や変更は、全て本発明の範囲内のものである。
以上説明したように、本発明に係る車体構造は、走行用モータ及びバッテリを搭載した電気自動車に適している。
1 電気自動車
10 バッテリケース
11 前部フレーム部材
20 左側方メンバ
21 右側方メンバ
22 前端部メンバ
22a 突出部
25A、25B、25C 第1~第3バッテリ側クロスメンバ
26 前部中央メンバ(前部補強メンバ)
27~29 第1~第3後部中央メンバ(後部補強メンバ)
30 外側接続部(一方接続部)
31 内側接続部(他方接続部)
53、54 左側連結部
55、56 右側連結部
70 フロアパネル
70a 前部フロア部
70b 後部フロア部(第1フロア部)
70c キックアップ部(第2フロア部)
72 フロントサイドフレーム
73 サイドシル
100 シート固定部
110A、110B、110C 第1~第3フロア側クロスメンバ
120 側方荷重伝達部材(インナーレインフォースメント)
123 内側上部縦壁部(第1縦壁部)
124 内側下部縦壁部(第2縦壁部)
150 ヒンジピラー
151 フロアレインフォースメント(第1前後方向荷重伝達部材)
152 下部荷重伝達部材(第2前後方向荷重伝達部材)
153 クロスメンバ
160 連結部材
170 リヤホイールハウス部
171 リヤクロスメンバ(第1クロスメンバ)
180 ケース側クロスメンバ(第2クロスメンバ)
A 車体構造
B バッテリ
M 走行用モータ

Claims (7)

  1. 走行用モータを備えるとともに、当該走行用モータに電力を供給するバッテリが収容されたバッテリケースがフロアパネルの下方に配設された電気自動車の車体構造において、
    車室と当該車室の前方の空間とを車両前後方向に仕切るとともに、下端部が前記フロアパネルの車両前端部に接続されたダッシュパネルと、
    前記ダッシュパネルの車幅方向両側からそれぞれ車両前方へ向けて延びる左右一対のフロントサイドフレームと、
    前記フロアパネルの車幅方向両端部において車両前後方向に延びるように配設される左右一対のサイドシルと、
    左右の前記フロントサイドフレームの車両後部からそれぞれ前記フロアパネルの上面に沿って左右の前記サイドシルまで延びる第1前後方向荷重伝達部材と、
    左右の前記フロントサイドフレームの車両後部からそれぞれ前記フロアパネルの下面に沿って前記バッテリケースの車両前部に向かって延びる第2前後方向荷重伝達部材とを備え
    前記バッテリケースの車両前部には、上方へ突出する突出部が設けられ、
    前記第2前後方向荷重伝達部材の車両後部と、前記突出部とは、車両前後方向視で互いに重複している車体構造。
  2. 請求項1に記載の車体構造において、
    前記バッテリケースから前記フロントサイドフレームの下方を車両前方へ延びるフレーム部材を備えている車体構造。
  3. 請求項2に記載の車体構造において、
    前記フレーム部材の上方に前記第2前後方向荷重伝達部材が配設されている車体構造。
  4. 請求項1から3のいずれか1つに記載の車体構造において、
    前記フロアパネルの下面には、車幅方向に延びるとともに、左側の前記第2前後方向荷重伝達部材の車両後部と右側の前記第2前後方向荷重伝達部材の車両後部とを繋ぐクロスメンバが配設されている車体構造。
  5. 請求項1から4のいずれか1つに記載の車体構造において、
    前記バッテリケースの車幅方向中央には、車両前後方向に延びる中央メンバが設けられ、
    左側の前記第2前後方向荷重伝達部材の車両後部は、前記中央メンバよりも車体左側に位置付けられ、
    右側の前記第2前後方向荷重伝達部材の車両後部は、前記中央メンバよりも車体右側に位置付けられている車体構造。
  6. 請求項に記載の車体構造において、
    前記突出部は、車幅方向に連続して延びている車体構造。
  7. 請求項に記載の車体構造において、
    前記第2前後方向荷重伝達部材の車両後部と、前記突出部とは、車両前後方向に所定間隔をあけて配置されている車体構造。
JP2021092532A 2021-06-01 2021-06-01 車体構造 Active JP7694160B2 (ja)

Priority Applications (4)

Application Number Priority Date Filing Date Title
JP2021092532A JP7694160B2 (ja) 2021-06-01 2021-06-01 車体構造
US17/693,560 US12263883B2 (en) 2021-06-01 2022-03-14 Vehicle-body structure of electric automotive vehicle
CN202210364744.6A CN115489618B (zh) 2021-06-01 2022-04-08 车身结构
EP22173487.4A EP4098522B1 (en) 2021-06-01 2022-05-16 Vehicle-body structure of electric automotive vehicle

Applications Claiming Priority (1)

Application Number Priority Date Filing Date Title
JP2021092532A JP7694160B2 (ja) 2021-06-01 2021-06-01 車体構造

Publications (2)

Publication Number Publication Date
JP2022184589A JP2022184589A (ja) 2022-12-13
JP7694160B2 true JP7694160B2 (ja) 2025-06-18

Family

ID=81654990

Family Applications (1)

Application Number Title Priority Date Filing Date
JP2021092532A Active JP7694160B2 (ja) 2021-06-01 2021-06-01 車体構造

Country Status (4)

Country Link
US (1) US12263883B2 (ja)
EP (1) EP4098522B1 (ja)
JP (1) JP7694160B2 (ja)
CN (1) CN115489618B (ja)

Families Citing this family (7)

* Cited by examiner, † Cited by third party
Publication number Priority date Publication date Assignee Title
JP7707662B2 (ja) * 2021-06-01 2025-07-15 マツダ株式会社 車体構造
US20230070279A1 (en) * 2021-09-09 2023-03-09 Oshkosh Corporation Chassis with structural battery compartment
CN115892231B (zh) * 2021-09-30 2025-11-04 马自达汽车株式会社 车体构造
US20230339302A1 (en) * 2022-04-21 2023-10-26 GM Global Technology Operations LLC Vehicle frame with an integrated battery enclosure
JP7726153B2 (ja) * 2022-08-10 2025-08-20 トヨタ自動車株式会社 車体構造
FR3151823B1 (fr) * 2023-08-04 2025-06-20 Psa Automobiles Sa Ensemble de soubassement pour véhicule automobile électrifié
DE102024111140B3 (de) 2024-04-22 2025-06-05 Audi Aktiengesellschaft Kühlvorrichtungsanordnung

Citations (3)

* Cited by examiner, † Cited by third party
Publication number Priority date Publication date Assignee Title
JP2009193942A (ja) 2008-02-18 2009-08-27 Nissan Motor Co Ltd 車両のバッテリ搭載構造
JP2018158688A (ja) 2017-03-23 2018-10-11 トヨタ自動車株式会社 車両下部構造
US20200114747A1 (en) 2017-06-30 2020-04-16 Byd Company Limited Vehicle body structure and vehicle

Family Cites Families (30)

* Cited by examiner, † Cited by third party
Publication number Priority date Publication date Assignee Title
JPS63306985A (ja) * 1987-06-08 1988-12-14 Mazda Motor Corp 自動車の車体構造
JPS6458688A (en) 1987-08-31 1989-03-06 Babcock Hitachi Kk Apparatus for removing moisture of clinker hopper
JP3480286B2 (ja) * 1997-12-08 2003-12-15 日産自動車株式会社 電気自動車のバッテリフレーム構造
JP2001130450A (ja) * 1999-11-04 2001-05-15 Suzuki Motor Corp 自動車の車体前部構造
US8702161B2 (en) * 2010-12-22 2014-04-22 Tesla Motors, Inc. System for absorbing and distributing side impact energy utilizing an integrated battery pack and side sill assembly
WO2012105717A1 (ja) * 2011-02-03 2012-08-09 帝人株式会社 車両骨格部材
WO2012105389A1 (ja) * 2011-02-03 2012-08-09 帝人株式会社 車両用フロア構造
WO2013073464A1 (ja) * 2011-11-14 2013-05-23 本田技研工業株式会社 バッテリの車載構造
US9259998B1 (en) * 2014-10-20 2016-02-16 Honda Motor Co., Ltd. Vehicle body structure
KR101703596B1 (ko) 2015-07-24 2017-02-07 현대자동차 주식회사 전방 차체 구조
KR102261275B1 (ko) * 2015-08-26 2021-06-04 현대자동차 주식회사 센터 플로워 차체 구조
JP6101768B1 (ja) * 2015-09-30 2017-03-22 富士重工業株式会社 衝突荷重緩和構造体
US10112470B2 (en) * 2017-01-11 2018-10-30 GM Global Technology Operations LLC Structural enhancements of an electric vehicle
CN109204500B (zh) 2017-06-30 2020-08-25 比亚迪股份有限公司 车身结构和车辆
JP6816664B2 (ja) * 2017-06-30 2021-01-20 トヨタ自動車株式会社 車体前部構造
JP6930267B2 (ja) * 2017-07-25 2021-09-01 トヨタ自動車株式会社 車両側部構造
US10780923B2 (en) * 2018-07-13 2020-09-22 Ford Global Technologies, Llc Vehicle platform
JP7014075B2 (ja) * 2018-07-19 2022-02-01 トヨタ自動車株式会社 車体側部構造
CN109249992B (zh) * 2018-10-16 2024-07-16 河南御捷时代汽车有限公司 一种电动汽车前舱结构
JP7167630B2 (ja) * 2018-10-30 2022-11-09 トヨタ自動車株式会社 車両前部構造
DE102018127368A1 (de) * 2018-11-02 2020-05-07 Benteler Automobiltechnik Gmbh Schweller und Fahrzeugrahmen einer Fahrzeugkarosserie und Verfahren zur Herstellung eines Schwellers
JP7099310B2 (ja) * 2018-12-26 2022-07-12 株式会社オートネットワーク技術研究所 蓄電装置の車両搭載構造
WO2020148563A1 (ja) * 2019-01-18 2020-07-23 日産自動車株式会社 車体構造
JP7167883B2 (ja) * 2019-09-02 2022-11-09 トヨタ自動車株式会社 バッテリフレーム
DE102019123846A1 (de) * 2019-09-05 2021-03-11 Bayerische Motoren Werke Aktiengesellschaft Energiespeicher-Bodengruppe für einen Kraftwagen
CN211196386U (zh) 2019-11-19 2020-08-07 广州汽车集团股份有限公司 一种纯电动车钢制车身
JP7248609B2 (ja) * 2020-02-05 2023-03-29 トヨタ自動車株式会社 車両構造
KR20220096102A (ko) * 2020-12-30 2022-07-07 현대자동차주식회사 리어 플로어 사이드 멤버 어셈블리
JP7694161B2 (ja) * 2021-06-01 2025-06-18 マツダ株式会社 車体構造
JP2024073902A (ja) * 2022-11-18 2024-05-30 マツダ株式会社 車両の下部車体構造

Patent Citations (3)

* Cited by examiner, † Cited by third party
Publication number Priority date Publication date Assignee Title
JP2009193942A (ja) 2008-02-18 2009-08-27 Nissan Motor Co Ltd 車両のバッテリ搭載構造
JP2018158688A (ja) 2017-03-23 2018-10-11 トヨタ自動車株式会社 車両下部構造
US20200114747A1 (en) 2017-06-30 2020-04-16 Byd Company Limited Vehicle body structure and vehicle

Also Published As

Publication number Publication date
JP2022184589A (ja) 2022-12-13
US20220379962A1 (en) 2022-12-01
US12263883B2 (en) 2025-04-01
EP4098522A1 (en) 2022-12-07
CN115489618B (zh) 2025-04-04
CN115489618A (zh) 2022-12-20
EP4098522B1 (en) 2024-01-10

Similar Documents

Publication Publication Date Title
JP7694161B2 (ja) 車体構造
JP7694160B2 (ja) 車体構造
JP7676964B2 (ja) 車体構造
JP7779024B2 (ja) 車体構造
JP7707662B2 (ja) 車体構造
JP7694419B2 (ja) 車体前部構造
JP7694418B2 (ja) 車体前部構造
JP7703906B2 (ja) 車体構造
JP7639556B2 (ja) 車体構造
JP7700701B2 (ja) 電動車両
JP7775653B2 (ja) 車体構造
EP4234301B1 (en) Vehicle-body front structure
JP7700699B2 (ja) 車体前部構造
JP7700697B2 (ja) 車体前部構造
JP7687242B2 (ja) 車体前部構造
JP7677184B2 (ja) 車体前部構造
JP7700696B2 (ja) 車体前部構造
JP7700698B2 (ja) 車体前部構造
JP7740057B2 (ja) 車体前部構造
JP2022184584A (ja) 車体構造

Legal Events

Date Code Title Description
A621 Written request for application examination

Free format text: JAPANESE INTERMEDIATE CODE: A621

Effective date: 20240423

A977 Report on retrieval

Free format text: JAPANESE INTERMEDIATE CODE: A971007

Effective date: 20250120

A131 Notification of reasons for refusal

Free format text: JAPANESE INTERMEDIATE CODE: A131

Effective date: 20250128

A521 Request for written amendment filed

Free format text: JAPANESE INTERMEDIATE CODE: A523

Effective date: 20250313

TRDD Decision of grant or rejection written
A01 Written decision to grant a patent or to grant a registration (utility model)

Free format text: JAPANESE INTERMEDIATE CODE: A01

Effective date: 20250507

A61 First payment of annual fees (during grant procedure)

Free format text: JAPANESE INTERMEDIATE CODE: A61

Effective date: 20250520

R150 Certificate of patent or registration of utility model

Ref document number: 7694160

Country of ref document: JP

Free format text: JAPANESE INTERMEDIATE CODE: R150