JP7628905B2 - Column-beam joint method and column-beam joint structure - Google Patents

Column-beam joint method and column-beam joint structure Download PDF

Info

Publication number
JP7628905B2
JP7628905B2 JP2021113263A JP2021113263A JP7628905B2 JP 7628905 B2 JP7628905 B2 JP 7628905B2 JP 2021113263 A JP2021113263 A JP 2021113263A JP 2021113263 A JP2021113263 A JP 2021113263A JP 7628905 B2 JP7628905 B2 JP 7628905B2
Authority
JP
Japan
Prior art keywords
precast
column
shear key
members
side shear
Prior art date
Legal status (The legal status is an assumption and is not a legal conclusion. Google has not performed a legal analysis and makes no representation as to the accuracy of the status listed.)
Active
Application number
JP2021113263A
Other languages
Japanese (ja)
Other versions
JP2023009741A (en
Inventor
直樹 永元
健治 田野
健太郎 松永
Current Assignee (The listed assignees may be inaccurate. Google has not performed a legal analysis and makes no representation or warranty as to the accuracy of the list.)
Sumitomo Mitsui Construction Co Ltd
Original Assignee
Sumitomo Mitsui Construction Co Ltd
Priority date (The priority date is an assumption and is not a legal conclusion. Google has not performed a legal analysis and makes no representation as to the accuracy of the date listed.)
Filing date
Publication date
Application filed by Sumitomo Mitsui Construction Co Ltd filed Critical Sumitomo Mitsui Construction Co Ltd
Priority to JP2021113263A priority Critical patent/JP7628905B2/en
Publication of JP2023009741A publication Critical patent/JP2023009741A/en
Application granted granted Critical
Publication of JP7628905B2 publication Critical patent/JP7628905B2/en
Active legal-status Critical Current
Anticipated expiration legal-status Critical

Links

Images

Landscapes

  • Joining Of Building Structures In Genera (AREA)
  • Reinforcement Elements For Buildings (AREA)

Description

本発明は、プレキャストコンクリート構造の柱梁接合方法及び、プレキャストコンクリート造の柱梁接合構造に関する。 The present invention relates to a method for joining columns and beams in a precast concrete structure and a structure for joining columns and beams in a precast concrete structure.

従来、RC構造に比べて高い弾性耐力を有する構造物としてプレストレストコンクリート構造物が知られている(特許文献1)。このプレストレストコンクリート構造物では、大梁受け用顎が一体成形された多数のプレキャストコンクリート柱がコンクリートの基礎上に立設され、端部に突起を有するプレキャストコンクリート大梁が大梁受け用顎に支持されて各柱間に架設される。大梁受け用顎と突起との接合面には充填材が設けられ、PC鋼線が緊張されることにより、プレストレスを付与されたプレキャストコンクリート大梁がプレキャストコンクリート柱に緊張定着される。 Prestressed concrete structures are known as structures with higher elastic strength than RC structures (Patent Document 1). In these prestressed concrete structures, a large number of precast concrete columns with integrally molded girder support jaws are erected on a concrete foundation, and precast concrete girders with protrusions at their ends are supported by the girder support jaws and erected between each of the columns. Filler is provided at the joint between the girder support jaws and the protrusions, and the prestressed precast concrete girders are tensioned and fixed to the precast concrete columns by tensioning the PC steel wires.

また工期を短縮することのできる建物の施工方法として、複数のアンボンドプレキャストプレストレストコンクリート柱を用いた方法が知られている(特許文献2)。この方法では、複数のアンボンドプレキャストプレストレストコンクリート柱を含む建物のコア部について所定階層が施工された後に、建物の外周部について所定階層が施工される。 A method using multiple unbonded precast prestressed concrete columns is also known as a building construction method that can shorten the construction period (Patent Document 2). In this method, a predetermined story is constructed on the core of a building that includes multiple unbonded precast prestressed concrete columns, and then a predetermined story is constructed on the outer periphery of the building.

特開平5-280092号公報Japanese Patent Application Publication No. 5-280092 特開2020-56165号公報JP 2020-56165 A

しかしながら、特許文献1に記載のプレストレストコンクリート構造物では、大梁受け用顎が柱の外面から突出するようにプレキャストコンクリート柱に一体成形される。プレキャストコンクリート梁は、大梁受け用顎を受容するための凹部が形成されることによって端部が突起形状とされる。このように大梁受け用顎がプレキャストコンクリート柱に突出形成さると、施工の自由度が制限される。また、大梁受け用顎や突起が柱や大梁に一体形成されるため、これらプレキャストコンクリート部材の製作コストが高くなる。また、プレキャストコンクリート柱は大梁受け用顎が一体形成されたことにより嵩張るため、運搬コストも高くなる。 However, in the prestressed concrete structure described in Patent Document 1, the girder support jaws are integrally formed with the precast concrete columns so that they protrude from the outer surface of the column. The ends of the precast concrete beams are formed with recesses for receiving the girder support jaws, giving them a protruding shape. When the girder support jaws are formed protrudingly on the precast concrete columns in this way, the freedom of construction is limited. In addition, because the girder support jaws and protrusions are integrally formed with the columns and girder, the manufacturing costs of these precast concrete members are high. In addition, because the precast concrete columns are bulky due to the integral formation of the girder support jaws, the transportation costs are also high.

一方、特許文献2に記載の建物の施工方法では、コア部の柱はアンボンドプレキャストプレストレストコンクリート柱として施工されるが、コア部の梁は鉄筋コンクリート梁である。したがって、施工の自由度向上やコスト低減において改良の余地がある。なお、特許文献2の段落[0022]には、コア部の梁がアンボンドプレキャストプレストレストコンクリート梁、プレキャストプレストレストコンクリート梁等でもよいことが開示されているが、柱梁接合部の具体的な構成や柱梁の具体的な施工方法は示されていない。 On the other hand, in the building construction method described in Patent Document 2, the columns in the core section are constructed as unbonded precast prestressed concrete columns, but the beams in the core section are reinforced concrete beams. Therefore, there is room for improvement in terms of increasing the freedom of construction and reducing costs. Paragraph [0022] of Patent Document 2 discloses that the beams in the core section may be unbonded precast prestressed concrete beams, precast prestressed concrete beams, etc., but does not disclose the specific configuration of the column-beam joints or the specific construction method for the columns and beams.

本発明は、以上の背景に鑑み、プレキャストコンクリート構造物における施工の自由度を向上し、且つコストを低減することを課題とする。 In view of the above background, the present invention aims to improve the flexibility of construction in precast concrete structures and reduce costs.

上記課題を解決するために本発明のある態様は、プレキャストコンクリート構造の柱梁接合方法であって、凹形状の柱側シアキー(21)を有するプレキャスト柱部材(12)を所定の位置に立設するステップ(図5(A))と、前記プレキャスト柱部材に着脱可能な仮支持部材(23)を取り付けるステップ(図5(A))と、凹形状の梁側シアキー(20)を端面に有するプレキャスト梁部材(13)の端部を前記仮支持部材の上に載置し、前記柱側シアキーと前記梁側シアキーとを対向させるステップ(図5(B))と、前記プレキャスト梁部材と前記プレキャスト柱部材との間に形成される空隙(G)に充填材(14)を充填するステップ(図5(C))と、前記プレキャスト梁部材と前記プレキャスト柱部材とに亘るように緊張材(15)を配置するステップ(図5(D))と、前記充填材が硬化した後に、前記緊張材に緊張力を付与することで前記プレキャスト梁部材及び前記プレキャスト柱部材にプレストレスを導入するステップ(図5(D))とを備える。 In order to solve the above problem, one aspect of the present invention is a method for joining columns and beams in a precast concrete structure, comprising the steps of erecting a precast column member (12) having a concave-shaped column-side shear key (21) at a predetermined position (FIG. 5(A)), attaching a removable temporary support member (23) to the precast column member (FIG. 5(A)), and placing an end of a precast beam member (13) having a concave-shaped beam-side shear key (20) on its end face on the temporary support member, and attaching the column-side shear key and the beam-side shear key to the precast column member (FIG. 5(A)). The method includes a step of opposing the precast beam member and the precast column member (FIG. 5(B)), a step of filling the gap (G) formed between the precast beam member and the precast column member with a filler (14) (FIG. 5(C)), a step of arranging a tension member (15) so as to span the precast beam member and the precast column member (FIG. 5(D)), and a step of applying tension to the tension member after the filler has hardened to introduce prestress into the precast beam member and the precast column member (FIG. 5(D)).

この態様によれば、柱側シアキー及び梁側シアキーが凹形状であるため、上方及び水平方向のどちらからもプレキャスト梁部材の配置が可能であり、施工の自由度が制限されない。また、着脱可能な仮支持部材をプレキャスト柱部材に取り付け、プレキャスト梁部材の端部を仮支持部材の上に載置できるため、施工が容易である。更に、柱側シアキー及び梁側シアキーが凹形状であるため、プレキャスト柱部材及びプレキャスト梁部材に突部を形成する場合に比べ、それらプレキャスト部材の製造コスト及び運搬コストを低減することができる。 According to this embodiment, since the column side shear key and the beam side shear key are concave, the precast beam members can be positioned from both above and horizontally, and the freedom of construction is not limited. In addition, since a removable temporary support member can be attached to the precast column member and the end of the precast beam member can be placed on the temporary support member, construction is easy. Furthermore, since the column side shear key and the beam side shear key are concave, the manufacturing costs and transportation costs of the precast members can be reduced compared to when protrusions are formed on the precast column members and the precast beam members.

上記の態様において、前記緊張材に前記緊張力が与えられた後に、前記仮支持部材を撤去するステップ(図5(E))を更に備えてもよい。 In the above embodiment, the method may further include a step of removing the temporary support member after the tension is applied to the tension member (FIG. 5(E)).

この態様によれば、仮支持部材を転用することができるため、材料コストを低減することができる。また、仮支持部材を撤去することで、柱梁接合部の外観が向上する。柱梁接合部をボード等で覆う場合には、仮支持部材を撤去することで、デッドスペースを小さくすることができる。 According to this aspect, the temporary support members can be reused, which reduces material costs. In addition, removing the temporary support members improves the appearance of the column-beam joint. When covering the column-beam joint with a board or the like, removing the temporary support members can reduce dead space.

上記課題を解決するために本発明の他の態様は、プレキャストコンクリート造の柱梁接合構造(11)であって、所定の位置に立設され、凹形状の柱側シアキー(21)を外面に有するプレキャスト柱部材(12)と、凹形状の梁側シアキー(20)を端面に有し、前記梁側シアキーが前記柱側シアキーに対向するように配置されたプレキャスト梁部材(13)と、前記プレキャスト梁部材と前記プレキャスト柱部材との間に形成される空隙(G)に充填された充填材(14)と、前記プレキャスト梁部材と前記プレキャスト柱部材とに亘るように配置され、前記プレキャスト梁部材及び前記プレキャスト柱部材にプレストレスを導入する緊張材(15)とを備える。 In order to solve the above problem, another aspect of the present invention is a precast concrete beam-column joint structure (11), which includes a precast column member (12) erected at a predetermined position and having a concave column-side shear key (21) on its outer surface, a precast beam member (13) having a concave beam-side shear key (20) on its end surface and arranged so that the beam-side shear key faces the column-side shear key, a filler (14) filled in a gap (G) formed between the precast beam member and the precast column member, and a tension member (15) arranged to span the precast beam member and the precast column member and introduce prestress into the precast beam member and the precast column member.

この態様によれば、柱側シアキー及び梁側シアキーが凹形状であるため、柱梁接合構造構築時の施工の自由度が制限されない。また、柱側シアキー及び梁側シアキーが凹形状であるため、プレキャスト柱部材及びプレキャスト梁部材に突部を形成する場合に比べ、それらプレキャスト部材の製造コスト及び運搬コストを低減することができる。 According to this embodiment, the column side shear key and the beam side shear key are concave, so the freedom of construction when constructing a column-beam joint structure is not limited. In addition, because the column side shear key and the beam side shear key are concave, the manufacturing and transportation costs of the precast members can be reduced compared to when protrusions are formed on the precast column members and precast beam members.

上記の態様において、前記プレキャスト柱部材における前記プレキャスト梁部材の下方の部分には、前記プレキャスト梁部材を仮支持するための仮支持部材(23)を着脱可能に保持する保持部材(22)が設けられてもよい。 In the above embodiment, a retaining member (22) may be provided in the lower portion of the precast beam member in the precast column member to detachably hold a temporary support member (23) for temporarily supporting the precast beam member.

この態様によれば、プレキャスト梁部材を仮支持するための仮支持部材をプレキャスト柱部材に取り付け、プレキャスト梁部材の端部を仮支持部材の上に載置できるため、施工が容易である。 According to this aspect, the temporary support member for temporarily supporting the precast beam member can be attached to the precast column member, and the end of the precast beam member can be placed on the temporary support member, making construction easy.

上記の態様において、前記プレキャスト梁部材には、前記緊張材を挿通するべく長手方向に延びる梁側貫通孔(18)が形成され、前記プレキャスト柱部材には、前記梁側貫通孔に整合する位置にて水平方向に延びる柱側貫通孔(19)が形成され、前記梁側貫通孔と前記柱側貫通孔とが前記空隙から区画されて互いに連通しており、前記緊張材が前記梁側貫通孔及び前記柱側貫通孔に挿通され、前記プレキャスト梁部材及び前記プレキャスト柱部材に対してアンボンド状態とされてもよい。 In the above aspect, the precast beam member has a beam side through hole (18) extending in the longitudinal direction to insert the tension member, and the precast column member has a column side through hole (19) extending in the horizontal direction at a position aligned with the beam side through hole, the beam side through hole and the column side through hole are partitioned by the gap and communicate with each other, and the tension member is inserted into the beam side through hole and the column side through hole, and the precast beam member and the precast column member may be in an unbonded state.

この態様によれば、柱梁接合部がアンボンドプレストレストコンクリート構造になる。そのため、ボンド構造の場合に比べて、柱梁接合構造の弾性変形性能を高くすることができる。また、緊張材を撤去することによってプレキャスト梁部材とプレキャスト柱部材とを分離できるため、プレキャスト部材の再利用が可能あり、柱梁接合構造のライフサイクルコストを低減できる。更に、プレキャスト部材を再利用することにより、新たに部材を構築する場合に比べてCO排出などの環境負荷を低減できる。 According to this embodiment, the column-beam joint is an unbonded prestressed concrete structure. Therefore, the elastic deformation performance of the column-beam joint structure can be improved compared to the case of a bonded structure. In addition, since the precast beam member and the precast column member can be separated by removing the tension member, the precast members can be reused, and the life cycle cost of the column-beam joint structure can be reduced. Furthermore, by reusing the precast members, the environmental load such as CO2 emissions can be reduced compared to the case of constructing new members.

上記の態様において、前記柱側シアキー及び前記梁側シアキーは、立断面において奥に向けて低くなる上面(20a、21a)を備えてもよい。 In the above embodiment, the column side shear key and the beam side shear key may have upper surfaces (20a, 21a) that become lower toward the back in the vertical section.

この態様によれば、充填材を空隙に充填する際に空隙内に空気溜まりが生じることが抑制される。 This aspect prevents air pockets from forming in the gap when filling the gap with the filler.

上記の態様において、前記柱側シアキー及び前記梁側シアキーは、平断面において一対の側面(20b、21b)が奥に向けて広がる形状をしていてもよい。 In the above embodiment, the column side shear key and the beam side shear key may have a pair of side surfaces (20b, 21b) that widen toward the back in plan cross section.

この態様によれば、柱側シアキー及び梁側シアキーがありほぞになり、充填材のプレキャスト梁部材及びプレキャスト柱部材に対する結合力が強固になる。したがって、仮に緊張材が破断し、緊張力による接合が解除されたとしても、プレキャスト梁部材のプレキャスト柱部材からの落下が抑制される。 According to this embodiment, the column side shear key and the beam side shear key become dovetails, and the bonding force of the filler to the precast beam member and the precast column member is strong. Therefore, even if the tension material breaks and the connection by the tension force is released, the precast beam member is prevented from falling from the precast column member.

上記の態様において、前記充填材が、無収縮モルタル、繊維補強モルタル又は低弾性高じん性モルタルであってもよい。 In the above embodiment, the filler may be non-shrink mortar, fiber-reinforced mortar, or low-elasticity, high-toughness mortar.

この態様によれば、充填材が破損し難くなるため、プレキャスト梁部材のプレキャスト柱部材に対する結合力が向上する。 According to this aspect, the filler is less likely to break, improving the bonding strength of the precast beam member to the precast column member.

以上の態様によれば、プレキャストコンクリート構造物における施工の自由度を向上し、且つコストを低減することができる。 The above aspects improve the flexibility of construction in precast concrete structures and reduce costs.

第1実施形態に係る建物の正面図Front view of the building according to the first embodiment 図1に示す建物の立断面図Elevation section of the building shown in Figure 1 図2の要部拡大図Enlarged view of the main part of Figure 2 図3中のIV―IV断面線に沿う平断面図A cross-sectional view taken along the line IV-IV in Figure 3. 第1実施形態に係る建物の構築手順を示す図FIG. 1 is a diagram showing a procedure for constructing a building according to the first embodiment; 第2実施形態に係る柱梁接合構造の正面図Front view of a column-beam joint structure according to a second embodiment

以下、図面を参照して本発明の実施形態について説明する。本発明は、鉄筋コンクリート又は鉄骨鉄筋コンクリートからなるラーメン構造の建物1に適用される。 The following describes an embodiment of the present invention with reference to the drawings. The present invention is applied to a building 1 with a rigid-frame structure made of reinforced concrete or steel-reinforced concrete.

≪第1実施形態≫
まず、図1~図5を参照して本発明の第1実施形態を説明する。図1は第1実施形態に係る建物1の正面図である。図1に示すように、建物1は、1対の柱2と、1対の柱2に延在方向の両端部が接合される梁3とを備えている。柱2は、平面視で互いに直交するX方向及びY方向に所定の間隔を空けて所定の位置に配置される。柱2は、X方向及びY方向の少なくとも一方に3列以上に設けられてもよい。梁3はX方向及びY方向のそれぞれに延在するように設けられる。また、梁3は、建物1の階層ごとに鉛直方向の所定の位置に設けられ、床(図示せず)を支持する。梁3の端部は柱梁接合構造11によって柱2に接合されている。
First Embodiment
First, a first embodiment of the present invention will be described with reference to Figs. 1 to 5. Fig. 1 is a front view of a building 1 according to the first embodiment. As shown in Fig. 1, the building 1 includes a pair of columns 2 and a beam 3 whose both ends in the extension direction are joined to the pair of columns 2. The columns 2 are arranged at predetermined positions at a predetermined interval in the X direction and the Y direction which are orthogonal to each other in a plan view. The columns 2 may be provided in three or more rows in at least one of the X direction and the Y direction. The beams 3 are provided so as to extend in each of the X direction and the Y direction. In addition, the beams 3 are provided at predetermined positions in the vertical direction for each story of the building 1, and support floors (not shown). The ends of the beams 3 are joined to the columns 2 by a column-beam joint structure 11.

柱2は、少なくとも1つのプレキャスト柱部材12を含んでいる。プレキャスト柱部材12は、下方に構築された下部柱や基礎の上等の所定の位置に立設される。プレキャスト柱部材12は、1階層の階高と同じ長さとされてもよく、1階層の階高よりも長い長さとされてもよい。或いは、プレキャスト柱部材12は1階層の階高よりも短い長さとされてもよい。プレキャスト柱部材12は、アンボンド緊張材によって下方の下部柱や基礎等に接合されることが好ましい。 The column 2 includes at least one precast column member 12. The precast column member 12 is erected at a predetermined position, such as on a lower column or foundation constructed below. The precast column member 12 may be the same length as the floor height of one story, or may be longer than the floor height of one story. Alternatively, the precast column member 12 may be shorter than the floor height of one story. The precast column member 12 is preferably joined to the lower lower column or foundation below by an unbonded tendon.

梁3は、1つのプレキャスト梁部材13により構成される。プレキャスト梁部材13は、1対のプレキャスト柱部材12間距離よりも若干短い長さとされている。プレキャスト梁部材13は、1対のプレキャスト柱部材12間に配置される。したがって、プレキャスト梁部材13の端部とこれに対向するプレキャスト柱部材12との間には空隙G(図5(B)参照)が形成される。この空隙Gには充填材14が充填される。充填材14の充填後、プレキャスト梁部材13は、両端を1対のプレキャスト柱部材12に接合され、1対のプレキャスト柱部材12に掛け渡される。 The beam 3 is composed of one precast beam member 13. The precast beam member 13 has a length slightly shorter than the distance between a pair of precast column members 12. The precast beam member 13 is placed between a pair of precast column members 12. Therefore, a gap G (see FIG. 5(B)) is formed between the end of the precast beam member 13 and the opposing precast column member 12. This gap G is filled with a filler material 14. After filling with the filler material 14, the precast beam member 13 has both ends joined to a pair of precast column members 12 and is spanned across the pair of precast column members 12.

プレキャスト柱部材12及びプレキャスト梁部材13は、プレキャストコンクリートを用いて工場で予め製作され、建設現場に搬入される。充填材14は、時間経過に伴って硬化する流動性材料であり、例えば、モルタルやセメントミルクであってよい。硬化後に充填材14が破損し難くなるように、充填材14として繊維補強モルタルや低弾性高じん性モルタルを採用することが好ましい。 The precast column members 12 and the precast beam members 13 are fabricated in advance in a factory using precast concrete and transported to the construction site. The filler 14 is a fluid material that hardens over time, and may be, for example, mortar or cement milk. It is preferable to use fiber-reinforced mortar or low-elasticity, high-toughness mortar as the filler 14 so that the filler 14 is less likely to break after hardening.

このように柱梁接合構造11は、プレキャスト梁部材13の一端とプレキャスト柱部材12との接合構造であり、プレキャスト梁部材13の両端に構成される。本実施形態では、一方のプレキャスト柱部材12から他方のプレキャスト柱部材12に亘るように配置される緊張材15により、プレキャスト梁部材13の各端部が対応するプレキャスト柱部材12に圧着接合される。これにより、柱梁接合構造11はプレストレストコンクリート造とされる。 In this way, the beam-column joint structure 11 is a joint structure between one end of a precast beam member 13 and a precast column member 12, and is configured at both ends of the precast beam member 13. In this embodiment, each end of the precast beam member 13 is pressure-joined to the corresponding precast column member 12 by a tension member 15 arranged to span from one precast column member 12 to the other precast column member 12. This makes the beam-column joint structure 11 a prestressed concrete structure.

具体的には、プレキャスト梁部材13の上部及び下部に複数の緊張材15が配置される。各緊張材15は、緊張力を付与された状態で、定着具16によってプレキャスト柱部材12の外側の外面に両端部を定着される。これにより、プレキャスト柱部材12及びプレキャスト梁部材13にプレストレスが導入されると共に、プレキャスト梁部材13の各端部が対応するプレキャスト柱部材12に圧着される。 Specifically, multiple tendons 15 are arranged on the upper and lower parts of the precast beam member 13. Both ends of each tendon 15 are fixed to the outer surface of the outside of the precast column member 12 by fasteners 16 while tension is applied. This introduces prestress to the precast column member 12 and the precast beam member 13, and each end of the precast beam member 13 is crimped to the corresponding precast column member 12.

緊張材15は、PC鋼棒、PC鋼線、PC鋼より線、又は、アラミド繊維、炭素繊維若しくはガラス繊維等の繊維強化プラスチック製の棒若しくはケーブル等を素材とする。緊張材15は、プレキャスト柱部材12及びプレキャスト梁部材13に対して接着されないアンボンド緊張材とすることが好ましい。緊張材15をアンボンドとすることにより、地震終了後の残留変形が小さくなる。 The tension members 15 are made of PC steel rods, PC steel wires, PC steel strands, or rods or cables made of fiber-reinforced plastic such as aramid fiber, carbon fiber, or glass fiber. It is preferable that the tension members 15 are unbonded tension members that are not bonded to the precast column members 12 and the precast beam members 13. By making the tension members 15 unbonded, residual deformation after the end of an earthquake is reduced.

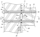
図2は、図1に示す建物1の立断面図である。図2に示すように、プレキャスト梁部材13には、緊張材15を挿通するための梁側貫通孔18が形成されている。梁側貫通孔18は、プレキャスト梁部材13の長手方向に沿って水平に延びている。プレキャスト柱部材12には、挿通するための柱側貫通孔19が形成されている。柱側貫通孔19は、梁側貫通孔18に整合する位置にて水平方向に延びており、梁側貫通孔18に連続している。 Figure 2 is an elevational cross-sectional view of the building 1 shown in Figure 1. As shown in Figure 2, the precast beam member 13 has a beam-side through hole 18 for inserting the tendon 15. The beam-side through hole 18 extends horizontally along the longitudinal direction of the precast beam member 13. The precast column member 12 has a column-side through hole 19 for insertion. The column-side through hole 19 extends horizontally at a position aligned with the beam-side through hole 18 and is continuous with the beam-side through hole 18.

プレキャスト梁部材13の両端面には凹形状の梁側シアキー20が形成されている。プレキャスト柱部材12の内側の外面における梁側シアキー20に対向する位置には、凹形状の柱側シアキー21が形成されている。 A concave beam side shear key 20 is formed on both end faces of the precast beam member 13. A concave column side shear key 21 is formed in a position opposite the beam side shear key 20 on the inner outer surface of the precast column member 12.

図3は図2の要部拡大図である。図3に示すように、プレキャスト柱部材12におけるプレキャスト梁部材13の下方の部分には、複数の埋込アンカー22が設けられている。埋込アンカー22は、プレキャスト梁部材13の下方にてプレキャスト柱部材12の外面にねじ孔を開口させている。埋込アンカー22は、ねじ孔に螺合するボルトBと協働してブラケット23を着脱可能に保持する保持部材である。 Figure 3 is an enlarged view of the main part of Figure 2. As shown in Figure 3, a plurality of embedded anchors 22 are provided in the portion of the precast column member 12 below the precast beam member 13. The embedded anchors 22 have threaded holes opened on the outer surface of the precast column member 12 below the precast beam member 13. The embedded anchors 22 are holding members that cooperate with bolts B that screw into the threaded holes to detachably hold the brackets 23.

ブラケット23は、プレキャスト梁部材13をプレキャスト柱部材12に接合する際に仮支持するための仮支持部材である。ブラケット23は、例えば山形鋼や溝形鋼、H形鋼等の形鋼から構成されてよい。ブラケット23は、プレキャスト柱部材12の建て込み前に取り付け、プレキャスト梁部材13の接合後に取り外すとよい。 The bracket 23 is a temporary support member for temporarily supporting the precast beam member 13 when joining it to the precast column member 12. The bracket 23 may be made of shaped steel such as an angle steel, a channel steel, or an H-shaped steel. The bracket 23 may be attached before erecting the precast column member 12 and removed after joining the precast beam member 13.

この構成により、プレキャスト梁部材13を仮支持するためのブラケット23をプレキャスト柱部材12に取り付け、プレキャスト梁部材13の端部をブラケット23の上に載置できるため、施工が容易になる。 This configuration allows the brackets 23 for temporarily supporting the precast beam members 13 to be attached to the precast column members 12, and the ends of the precast beam members 13 to be placed on the brackets 23, making construction easier.

上記のようにプレキャスト梁部材13の端部とプレキャスト柱部材12との間に形成される空隙G(図5(B)参照)には充填材14が充填される。充填材14が緊張材15に付着することを防止するために、プレキャスト梁部材13とプレキャスト柱部材12との間には付着防止材24が設けられている。付着防止材24は、円環状をなし、梁側貫通孔18と柱側貫通孔19とを空隙Gから区画して連通させる。これにより、空隙Gに充填される充填材14が梁側貫通孔18及び柱側貫通孔19に流入することが防止される。付着防止材24は、プレキャスト梁部材13とプレキャスト柱部材12との間に圧縮状態で配設された弾性部材であってよい。他の実施形態では、付着防止材24は、空隙Gを横切るように配置されて梁側貫通孔18及び柱側貫通孔19に挿入される円筒部材であってもよい。 As described above, the gap G (see FIG. 5B) formed between the end of the precast beam member 13 and the precast column member 12 is filled with the filler 14. In order to prevent the filler 14 from adhering to the tension member 15, an anti-adhesion material 24 is provided between the precast beam member 13 and the precast column member 12. The anti-adhesion material 24 has an annular shape and partitions the beam side through hole 18 and the column side through hole 19 from the gap G and communicates them. This prevents the filler 14 filled in the gap G from flowing into the beam side through hole 18 and the column side through hole 19. The anti-adhesion material 24 may be an elastic member disposed in a compressed state between the precast beam member 13 and the precast column member 12. In another embodiment, the anti-adhesion material 24 may be a cylindrical member disposed across the gap G and inserted into the beam side through hole 18 and the column side through hole 19.

付着防止材24が設けられ、緊張材15がアンボンド状態とされることで、柱梁接合部はアンボンドプレストレストコンクリート構造となる。これにより、ボンド構造の場合に比べて、柱梁接合構造11の弾性変形性能が高くなる。また、緊張材15を撤去することによってプレキャスト梁部材13とプレキャスト柱部材12とを分離することができる。そのため、これらプレキャスト部材の再利用が可能であり、柱梁接合構造11のライフサイクルコストを低減できる。更に、プレキャスト部材を再利用することにより、新たに部材を構築する場合に比べてCO排出などの環境負荷が低減される。 By providing the adhesion prevention material 24 and putting the tendons 15 in an unbonded state, the column-beam joint becomes an unbonded prestressed concrete structure. This improves the elastic deformation performance of the column-beam joint structure 11 compared to a bonded structure. In addition, the precast beam members 13 and the precast column members 12 can be separated by removing the tendons 15. This makes it possible to reuse these precast members, thereby reducing the life cycle cost of the column-beam joint structure 11. Furthermore, by reusing the precast members, environmental impacts such as CO2 emissions are reduced compared to constructing new members.

図3の立断面において、梁側シアキー20の上面20aは空隙G側から奥に向けて低くなっている。柱側シアキー21の上面21aも、空隙G側から奥に向けて低くなっている。そのため、充填材14を空隙Gに充填する際に空隙G内に空気溜まりが生じることが抑制される。梁側シアキー20の底面及び柱側シアキー21の底面は、図3の立断面において空隙G側から奥に向けて高くなっている。 In the vertical cross section of FIG. 3, the upper surface 20a of the beam-side shear key 20 becomes lower from the gap G side toward the back. The upper surface 21a of the column-side shear key 21 also becomes lower from the gap G side toward the back. Therefore, air pockets are prevented from forming in the gap G when the filler 14 is filled into the gap G. In the vertical cross section of FIG. 3, the bottom surfaces of the beam-side shear key 20 and the column-side shear key 21 become higher from the gap G side toward the back.

図4は図3中のIV―IV断面線に沿う平断面図である。図4に示すように、平断面において、梁側シアキー20は一対の側面20bが奥に向けて広がる形状をしている。柱側シアキー21も、一対の側面21bが奥に向けて広がる形状をしている。これにより、梁側シアキー20及び柱側シアキー21がありほぞになり、充填材14のプレキャスト梁部材13及びプレキャスト柱部材12に対する結合力が強固になる。したがって、仮に緊張材15が破断し、緊張力による接合が解除されたとしても、プレキャスト梁部材13のプレキャスト柱部材12からの落下が抑制される。 Figure 4 is a plan cross-sectional view taken along the IV-IV cross-sectional line in Figure 3. As shown in Figure 4, in plan cross-section, the beam-side shear key 20 has a pair of side surfaces 20b that diverge toward the back. The column-side shear key 21 also has a pair of side surfaces 21b that diverge toward the back. This makes the beam-side shear key 20 and the column-side shear key 21 into dovetail tenons, strengthening the bonding force of the filler 14 to the precast beam member 13 and the precast column member 12. Therefore, even if the tension member 15 breaks and the connection caused by the tension force is released, the precast beam member 13 is prevented from falling from the precast column member 12.

ここで、実施形態では充填材14として破損し難い繊維補強モルタルが採用されている。そのため、プレキャスト梁部材13のプレキャスト柱部材12に対する結合力が向上している。他の実施形態では、繊維補強モルタルの代わりに無収縮モルタルや低弾性高じん性モルタルが充填材14として採用されてもよい。これによってもプレキャスト梁部材13のプレキャスト柱部材12に対する結合力が向上する。 In this embodiment, fiber-reinforced mortar, which is less likely to break, is used as the filler 14. This improves the bonding strength of the precast beam member 13 to the precast column member 12. In other embodiments, non-shrink mortar or low-elasticity, high-toughness mortar may be used as the filler 14 instead of the fiber-reinforced mortar. This also improves the bonding strength of the precast beam member 13 to the precast column member 12.

建物1の柱梁接合構造11は以上のように構成されている。次に、このようなプレキャストコンクリート構造の柱梁接合方法について説明する。図5は第1実施形態に係る建物1の構築手順を示す図である。建物1は作業者によって以下の手順(ステップ)により構築される。 The beam-column joint structure 11 of the building 1 is constructed as described above. Next, a method for joining beams and columns in such a precast concrete structure will be described. Figure 5 is a diagram showing the construction procedure for the building 1 according to the first embodiment. The building 1 is constructed by workers through the following steps.

建物1の構築に先立ち、上記の構成のプレキャスト柱部材12及びプレキャスト梁部材13を必要な数だけ用意する。上記のようにプレキャスト柱部材12には、凹形状の柱側シアキー21が形成されているものの、梁受け用顎のような突起は形成されていない。そのため、プレキャスト柱部材12は嵩張らないことから運搬コストを低減できる。また、プレキャスト梁部材13には、凹形状の梁側シアキー20が形成されているものの、梁受け用顎の上に載置される突起形状部が端部に形成されていない。このようにプレキャスト柱部材12及びプレキャスト梁部材13に突起形状部が形成されないため、これらプレキャストコンクリート部材の製造コストを低減できる。 Prior to constructing the building 1, the required number of precast column members 12 and precast beam members 13 with the above configuration are prepared. As described above, the precast column members 12 have a concave column side shear key 21 formed therein, but no protrusions such as beam support jaws are formed therein. Therefore, the precast column members 12 are not bulky, and transportation costs can be reduced. In addition, the precast beam members 13 have a concave beam side shear key 20 formed therein, but no protrusions at their ends are formed to rest on the beam support jaws. In this way, no protrusions are formed on the precast column members 12 and precast beam members 13, and therefore the manufacturing costs of these precast concrete members can be reduced.

建物1の構築現場においては、図5(A)に示すように、プレキャスト柱部材12を所定の位置に立設する。ブラケット23は、プレキャスト柱部材12の建て込みの前にプレキャスト柱部材12に取り付けておくとよい。或いは、プレキャスト柱部材12を所定の位置に立設した後、プレキャスト柱部材12にブラケット23を取り付けてもよい。 At the construction site of the building 1, the precast column member 12 is erected in a predetermined position as shown in FIG. 5(A). The bracket 23 may be attached to the precast column member 12 before the precast column member 12 is erected. Alternatively, the bracket 23 may be attached to the precast column member 12 after the precast column member 12 is erected in a predetermined position.

次に、図5(B)に示すように、プレキャスト梁部材13を図示しないクレーンで吊り上げて1対のプレキャスト柱部材12の間に配置し、プレキャスト梁部材13の両端部をブラケット23の上に載置する。その際、柱側シアキー21及び梁側シアキー20が凹形状であるため、上方及び水平方向のどちらからもプレキャスト梁部材13の配置が可能であり、施工の自由度が制限されない。また、プレキャスト梁部材13を仮支持するためのブラケット23が着脱可能にプレキャスト柱部材12に取り付けられることにより、施工の自由度が向上する。またブラケット23がプレキャスト柱部材12に取り付けられることにより、プレキャスト梁部材13の端部をブラケット23の上に載置できる。よって、施工が容易である。 Next, as shown in FIG. 5(B), the precast beam member 13 is lifted by a crane (not shown) and placed between a pair of precast column members 12, and both ends of the precast beam member 13 are placed on the brackets 23. At this time, since the column side shear key 21 and the beam side shear key 20 are concave, the precast beam member 13 can be placed from both above and horizontally, and the freedom of construction is not restricted. In addition, the bracket 23 for temporarily supporting the precast beam member 13 is detachably attached to the precast column member 12, which improves the freedom of construction. In addition, since the bracket 23 is attached to the precast column member 12, the end of the precast beam member 13 can be placed on the bracket 23. This makes construction easy.

プレキャスト梁部材13がブラケット23上の所定の位置に配置されると、梁側シアキー20と柱側シアキー21とが互いに対向する。図5では省略しているが、プレキャスト梁部材13を所定の位置に配置する際、付着防止材24(図3参照)を所定の位置に配置する。 When the precast beam member 13 is placed in a predetermined position on the bracket 23, the beam side shear key 20 and the column side shear key 21 face each other. Although not shown in Figure 5, when the precast beam member 13 is placed in a predetermined position, an anti-adhesion material 24 (see Figure 3) is placed in a predetermined position.

その後、図5(C)に示すように、プレキャスト梁部材13とプレキャスト柱部材12との間に形成される空隙Gに充填材14を充填する。図5(D)に示すように、プレキャスト梁部材13と前記プレキャスト柱部材とに亘るように緊張材15を配置する。充填材14が硬化した後に、緊張材15に緊張力を付与することでプレキャスト梁部材13及びプレキャスト柱部材12にプレストレスを導入する。これにより、プレストレストコンクリート造の柱梁接合構造11が構築される。なお、緊張材15の配置は、図5(C)での充填材14の充填前に行ってもよい。 Then, as shown in FIG. 5(C), filler 14 is filled into the gap G formed between the precast beam member 13 and the precast column member 12. As shown in FIG. 5(D), tensioning members 15 are placed across the precast beam member 13 and the precast column member. After the filler 14 has hardened, tension is applied to the tensioning members 15 to introduce prestress into the precast beam member 13 and the precast column member 12. This results in the construction of a prestressed concrete beam-column joint structure 11. Note that the tensioning members 15 may be placed before filling with the filler 14 in FIG. 5(C).

その後、図5(E)に示すように、ブラケット23を撤去する。ブラケット23は、プレキャスト梁部材13の接合後に撤去することで、他の接合箇所に転用することができる。そのため、材料コストが低減される。また、ブラケット23を撤去することで、柱梁接合部の外観が向上する。柱梁接合部をボード等で覆う場合には、ブラケット23を撤去することで、デッドスペースを小さくすることができる。 Then, as shown in FIG. 5(E), the bracket 23 is removed. By removing the bracket 23 after joining the precast beam members 13, it can be reused for other joints. This reduces material costs. Furthermore, removing the bracket 23 improves the appearance of the column-beam joint. If the column-beam joint is to be covered with a board or the like, removing the bracket 23 can reduce the dead space.

≪第2実施形態≫
次に、図6を参照して本発明の第2実施形態を説明する。図6に示すように、本実施形態では、プレキャスト梁部材13の両端部が、連続しない緊張材15によって1対のプレキャスト柱部材12に圧着により接合される点において第1実施形態と異なる。以下、具体的に説明する。
Second Embodiment
Next, a second embodiment of the present invention will be described with reference to Fig. 6. As shown in Fig. 6, this embodiment differs from the first embodiment in that both ends of a precast beam member 13 are joined to a pair of precast column members 12 by pressure bonding with discontinuous tendons 15. This will be described in detail below.

プレキャスト梁部材13は、長手方向の中間部に比べて拡幅した梁拡幅部31を両端に備えている。梁拡幅部31は、プレキャスト梁部材13の端面と相反する側に定着具16を係止する肩面31aを形成する。肩面31aはプレキャスト梁部材13の断面において幅方向の両側に形成される。 The precast beam member 13 has beam widening sections 31 at both ends that are wider than the middle section in the longitudinal direction. The beam widening sections 31 form shoulder surfaces 31a that engage the fasteners 16 on the side opposite the end faces of the precast beam member 13. The shoulder surfaces 31a are formed on both sides in the width direction in the cross section of the precast beam member 13.

プレキャスト梁部材13がこのように構成され、プレキャスト梁部材13の両端が、連続しない独立した緊張材15によってプレキャスト柱部材12に圧着されても、第1実施形態と同様の作用効果が奏される。 Even if the precast beam member 13 is configured in this manner and both ends of the precast beam member 13 are crimped to the precast column member 12 by discontinuous, independent tension members 15, the same effect as in the first embodiment can be achieved.

以上で具体的な実施形態の説明を終えるが、本発明は上記実施形態に限定されることなく、幅広く変形実施することができる。例えば、各部材や部位の具体的構成や配置、数量、素材、手順など、本発明の趣旨を逸脱しない範囲であれば適宜変更することができる。一方、上記実施形態に示した各構成要素は必ずしも全てが必須ではなく、適宜選択することができる。 Although the description of the specific embodiment is now complete, the present invention is not limited to the above embodiment and can be modified in a wide range of ways. For example, the specific configuration and arrangement of each member or part, the quantity, materials, procedures, etc. can be changed as appropriate without departing from the spirit of the present invention. On the other hand, not all of the components shown in the above embodiment are necessarily required and can be selected as appropriate.

11 :柱梁接合構造
12 :プレキャスト柱部材
13 :プレキャスト梁部材
14 :充填材
15 :緊張材
18 :梁側貫通孔
19 :柱側貫通孔
20 :梁側シアキー
20a :上面
20b :側面
21 :柱側シアキー
21a :上面
21b :側面
22 :埋込アンカー(保持部材)
23 :ブラケット(仮支持部材)
G :空隙
11: Column-beam joint structure 12: Precast column member 13: Precast beam member 14: Filler material 15: Tendon 18: Beam-side through hole 19: Column-side through hole 20: Beam-side shear key 20a: Top surface 20b: Side surface 21: Column-side shear key 21a: Top surface 21b: Side surface 22: Embedded anchor (retaining member)
23: Bracket (temporary support member)
G: gap

Claims (6)

プレキャストコンクリート構造の柱梁接合方法であって、
凹形状の柱側シアキーを有するプレキャスト柱部材を所定の位置に立設するステップと、
前記プレキャスト柱部材に着脱可能な仮支持部材を取り付けるステップと、
凹形状の梁側シアキーを端面に有するプレキャスト梁部材の端部を前記仮支持部材の上に載置し、前記柱側シアキーと前記梁側シアキーとを対向させるステップと、
前記プレキャスト梁部材と前記プレキャスト柱部材との間に形成される空隙に充填材を充填するステップと、
前記プレキャスト梁部材と前記プレキャスト柱部材とに亘るように緊張材を配置するステップと、
前記充填材が硬化した後に、前記緊張材に緊張力を付与することで前記プレキャスト梁部材及び前記プレキャスト柱部材にプレストレスを導入するステップとを備え
前記柱側シアキー及び前記梁側シアキーは、立断面において奥に向けて低くなる上面を備え、平断面において一対の側面が奥に向けて広がる形状をしている、柱梁接合方法。
A method for joining columns and beams in a precast concrete structure, comprising the steps of:
A step of erecting a precast column member having a concave column side shear key at a predetermined position;
attaching a removable temporary support member to the precast column member;
placing an end of a precast beam member having a concave beam side shear key on an end surface thereof on the temporary support member, and arranging the column side shear key and the beam side shear key opposite each other;
filling a gap formed between the precast beam member and the precast column member with a filler material;
placing tendons across the precast beam members and the precast column members;
and after the filler has hardened, applying tension to the tendons to prestress the precast beam members and the precast column members ;
The column-beam joining method, wherein the column-side shear key and the beam-side shear key have an upper surface that is lower toward the back in a vertical cross section, and a pair of side surfaces have a shape that widens toward the back in a horizontal cross section.
前記緊張材に前記緊張力が与えられた後に、前記仮支持部材を撤去するステップを更に備える請求項1に記載の柱梁接合方法。 The beam-column joining method according to claim 1, further comprising a step of removing the temporary support member after the tension is applied to the tendon. プレキャストコンクリート造の柱梁接合構造であって、
所定の位置に立設され、凹形状の柱側シアキーを外面に有するプレキャスト柱部材と、
凹形状の梁側シアキーを端面に有し、前記梁側シアキーが前記柱側シアキーに対向するように配置されたプレキャスト梁部材と、
前記プレキャスト梁部材と前記プレキャスト柱部材との間に形成される空隙に充填された充填材と、
前記プレキャスト梁部材と前記プレキャスト柱部材とに亘るように配置され、前記プレキャスト梁部材及び前記プレキャスト柱部材にプレストレスを導入する緊張材とを備え
前記柱側シアキー及び前記梁側シアキーは、立断面において奥に向けて低くなる上面を備え、平断面において一対の側面が奥に向けて広がる形状をしている、柱梁接合構造。
A precast concrete beam-column joint structure,
A precast column member that is erected at a predetermined position and has a concave column side shear key on an outer surface;
A precast beam member having a concave beam side shear key at an end surface, the beam side shear key being arranged to face the column side shear key;
A filler material filled in a gap formed between the precast beam member and the precast column member;
a tendon arranged across the precast beam member and the precast column member to introduce prestress into the precast beam member and the precast column member ;
The column-side shear key and the beam-side shear key have an upper surface that is lower toward the back in a vertical cross section, and a pair of side surfaces that widen toward the back in a horizontal cross section. This is a column- beam joint structure.
前記プレキャスト柱部材における前記プレキャスト梁部材の下方の部分には、前記プレキャスト梁部材を仮支持するための仮支持部材を着脱可能に保持する保持部材が設けられている請求項3に記載の柱梁接合構造。 The beam-column joint structure according to claim 3, wherein a retaining member is provided in the lower portion of the precast beam member in the precast column member, for removably holding a temporary support member for temporarily supporting the precast beam member. 前記プレキャスト梁部材には、前記緊張材を挿通するべく長手方向に延びる梁側貫通孔が形成され、前記プレキャスト柱部材には、前記梁側貫通孔に整合する位置にて水平方向に延びる柱側貫通孔が形成され、前記梁側貫通孔と前記柱側貫通孔とが前記空隙から区画されて互いに連通しており、
前記緊張材が前記梁側貫通孔及び前記柱側貫通孔に挿通され、前記プレキャスト梁部材及び前記プレキャスト柱部材に対してアンボンド状態とされている請求項3又は請求項4に記載の柱梁接合構造。
a beam-side through hole extending in a longitudinal direction for inserting the tension member is formed in the precast beam member, a column-side through hole extending in a horizontal direction at a position aligned with the beam-side through hole is formed in the precast column member, the beam-side through hole and the column-side through hole are partitioned by the gap and communicate with each other,
A column-beam joint structure as described in claim 3 or claim 4, wherein the tension member is inserted into the beam side through hole and the column side through hole, and is in an unbonded state with respect to the precast beam member and the precast column member.
前記充填材が、無収縮モルタル、繊維補強モルタル又は低弾性高じん性モルタルである請求項3~のいずれか1項に記載の柱梁接合構造。 The column-beam joint structure according to any one of claims 3 to 5 , wherein the filler is a non-shrink mortar, a fiber-reinforced mortar or a low-elasticity, high-toughness mortar.
JP2021113263A 2021-07-08 2021-07-08 Column-beam joint method and column-beam joint structure Active JP7628905B2 (en)

Priority Applications (1)

Application Number Priority Date Filing Date Title
JP2021113263A JP7628905B2 (en) 2021-07-08 2021-07-08 Column-beam joint method and column-beam joint structure

Applications Claiming Priority (1)

Application Number Priority Date Filing Date Title
JP2021113263A JP7628905B2 (en) 2021-07-08 2021-07-08 Column-beam joint method and column-beam joint structure

Publications (2)

Publication Number Publication Date
JP2023009741A JP2023009741A (en) 2023-01-20
JP7628905B2 true JP7628905B2 (en) 2025-02-12

Family

ID=85118226

Family Applications (1)

Application Number Title Priority Date Filing Date
JP2021113263A Active JP7628905B2 (en) 2021-07-08 2021-07-08 Column-beam joint method and column-beam joint structure

Country Status (1)

Country Link
JP (1) JP7628905B2 (en)

Citations (2)

* Cited by examiner, † Cited by third party
Publication number Priority date Publication date Assignee Title
JP2000291134A (en) 1999-04-01 2000-10-17 Shimizu Corp Precast member joint structure
JP2002309669A (en) 2001-04-12 2002-10-23 Kurosawa Construction Co Ltd Joint construction between column and beam

Family Cites Families (3)

* Cited by examiner, † Cited by third party
Publication number Priority date Publication date Assignee Title
JPS5235811U (en) * 1975-09-05 1977-03-14
JP2677144B2 (en) * 1992-12-10 1997-11-17 鹿島建設株式会社 Construction method for column-beam joints
JP2999735B2 (en) * 1997-03-11 2000-01-17 黒沢建設株式会社 Connection tube and sheath

Patent Citations (2)

* Cited by examiner, † Cited by third party
Publication number Priority date Publication date Assignee Title
JP2000291134A (en) 1999-04-01 2000-10-17 Shimizu Corp Precast member joint structure
JP2002309669A (en) 2001-04-12 2002-10-23 Kurosawa Construction Co Ltd Joint construction between column and beam

Also Published As

Publication number Publication date
JP2023009741A (en) 2023-01-20

Similar Documents

Publication Publication Date Title
US11680401B2 (en) Precast wall panels and method of erecting a high-rise building using the panels
KR100797194B1 (en) Concrete composite column and building construction method using the same
KR101505579B1 (en) Prestressed precast concrete using pipe rack or beam column joint structure and construction method of the same
KR100830241B1 (en) Composite method of upper and lower light weight composite wall and concrete floor slab of lightweight composite structural system using adapter
KR100830240B1 (en) Composite method of upper and lower light weight composite wall and concrete floor slab of lightweight composite structural system using adapter
JP2005097946A (en) Construction method of bridge pier
JPH09209451A (en) Joint construction of up and down columns with beam and joint method
JP7585139B2 (en) Dwelling space unit and method for constructing a building incorporating the dwelling space unit
JP7628905B2 (en) Column-beam joint method and column-beam joint structure
JP2006132303A (en) Fixing structure of steel frame stud to reinforced concrete beam
JP3039295B2 (en) Manufacturing method of prefabricated member of mixed structure
KR102197994B1 (en) Construction method using beam-reinforced deck plate
JP2008266902A (en) Wall unit and shear wall
JPH0882002A (en) RC structure and construction method thereof
JPH06173343A (en) Column-beam joint structure in laminated lumber structure
KR101576865B1 (en) Construction method of slab for bridge without support bar using converse T-type beams
JP3851563B2 (en) Frame reinforcement structure and its construction method
JPS63268834A (en) Method for constructing body of multi-storied building and reinforcing bar connected cylinder used therein
JPH06158716A (en) Construction method of building with precast concrete member
JP2006169837A (en) Reinforced concrete column beam connection structure
JP2025082022A (en) Wall junction structure for building
JP6358602B2 (en) Reinforcement structure and reinforcement method for existing columns
JPS5913621B2 (en) block panel
JP2025086460A (en) Building beam-column joint structure
JP2003161041A (en) Seismic reinforcement structure of existing building and its construction method

Legal Events

Date Code Title Description
A621 Written request for application examination

Free format text: JAPANESE INTERMEDIATE CODE: A621

Effective date: 20240112

A977 Report on retrieval

Free format text: JAPANESE INTERMEDIATE CODE: A971007

Effective date: 20240828

A131 Notification of reasons for refusal

Free format text: JAPANESE INTERMEDIATE CODE: A131

Effective date: 20240903

A521 Request for written amendment filed

Free format text: JAPANESE INTERMEDIATE CODE: A523

Effective date: 20241024

TRDD Decision of grant or rejection written
A01 Written decision to grant a patent or to grant a registration (utility model)

Free format text: JAPANESE INTERMEDIATE CODE: A01

Effective date: 20250121

A61 First payment of annual fees (during grant procedure)

Free format text: JAPANESE INTERMEDIATE CODE: A61

Effective date: 20250130

R150 Certificate of patent or registration of utility model

Ref document number: 7628905

Country of ref document: JP

Free format text: JAPANESE INTERMEDIATE CODE: R150