JP7607500B2 - 杭と柱との接合構造及びその施工方法 - Google Patents

杭と柱との接合構造及びその施工方法 Download PDF

Info

Publication number
JP7607500B2
JP7607500B2 JP2021066920A JP2021066920A JP7607500B2 JP 7607500 B2 JP7607500 B2 JP 7607500B2 JP 2021066920 A JP2021066920 A JP 2021066920A JP 2021066920 A JP2021066920 A JP 2021066920A JP 7607500 B2 JP7607500 B2 JP 7607500B2
Authority
JP
Japan
Prior art keywords
pile
column
joint structure
base plate
concrete
Prior art date
Legal status (The legal status is an assumption and is not a legal conclusion. Google has not performed a legal analysis and makes no representation as to the accuracy of the status listed.)
Active
Application number
JP2021066920A
Other languages
English (en)
Other versions
JP2022162221A (ja
Inventor
哲二郎 亀田
航平 久保田
辰弥 池田
光寿 吉永
淳一 田村
行夫 村上
Current Assignee (The listed assignees may be inaccurate. Google has not performed a legal analysis and makes no representation or warranty as to the accuracy of the list.)
JFE Steel Corp
JFE Civil Engineering and Construction Corp
Original Assignee
JFE Steel Corp
JFE Civil Engineering and Construction Corp
Priority date (The priority date is an assumption and is not a legal conclusion. Google has not performed a legal analysis and makes no representation as to the accuracy of the date listed.)
Filing date
Publication date
Application filed by JFE Steel Corp, JFE Civil Engineering and Construction Corp filed Critical JFE Steel Corp
Priority to JP2021066920A priority Critical patent/JP7607500B2/ja
Publication of JP2022162221A publication Critical patent/JP2022162221A/ja
Application granted granted Critical
Publication of JP7607500B2 publication Critical patent/JP7607500B2/ja
Active legal-status Critical Current
Anticipated expiration legal-status Critical

Links

Images

Landscapes

  • Foundations (AREA)

Description

本発明は、中空断面を有する杭と柱との接合構造及びその施工方法に関する。
杭と上部構造物とを接合する方法としては、鉄筋コンクリート製の基礎フーチングや基礎梁等を介して接合する方法が、多く用いられるが、配筋が繁雑になったり地盤の掘削土量が増えたりするため、コストの低減や工期の短縮が阻害される。
そこで、基礎フーチングや基礎梁を不要として、掘削土量を削減すべく、例えば特許文献1には、杭頭接合金物を杭頭部に固定し、これを柱脚のベースプレートと締結することで杭頭と柱脚とを接合する、杭と柱の接合構造および工法が開示されている。この方法では、柱脚部をベースプレートの下方に延長しておき、杭頭部の中空部に挿入して、コンクリートを充填し固定することで、杭と柱とを確実強固かつ簡便に接合できる。また、柱のレベル調整、及び杭の位置ずれの修正を、容易に行える。
また、特許文献2には、鉄骨柱またはコンクリート充填鋼管柱の柱脚に接合されたベースプレートと、その下側に接合された鋼管とから構成されたキャップ鋼管(接合治具)を、鋼管杭または既製コンクリート杭の頭部に被せ、その隙間にコンクリートを充填して、杭と柱を一体化させることで剛接合とする、杭と上部構造物との接合構造及び接合方法が開示されている。
特開2001-295286号公報 特開2007-009438号公報
日本建築学会編、「各種合成構造設計指針・同解説2010」、日本建築学会、2010年11月、P.38
しかし、特許文献1に開示される接合構造では、杭と柱との定着強度を確保して剛接合するため、杭頭部の中空部に挿入される柱脚部延長部分に、スタッドを設ける必要がある。また、杭頭部に固定される杭頭接合金物の形状が複雑であり、その製作に手間がかかる。さらに、杭頭部の中空部に柱脚部を挿入して柱を建て込むときに、柱をワイヤで仮支持する必要もある。
また、特許文献2に開示される接合構造では、杭と柱とを剛接合すべく、キャップ鋼管の径は杭径+300mm程度、キャップ鋼管内への杭の埋込長さは、杭径の1.5倍程度以上を確保する必要があるため、杭径が大きくなるにつれて、杭に被せるキャップ鋼管の径及び高さも大きくなり、その結果、掘削土量が多くなり、キャップ鋼管の現場への搬入にも労力を要することとなる。
本発明は、上記課題を解決するためになされたものであって、フーチングや基礎梁を不要として、掘削土量及び使用鉄骨量を削減して、構造の簡素化及びコストダウンを図るとともに、杭と柱との接合形態を特許文献1又は特許文献2のように剛接合とせず、半剛接合とすることで、上方の柱から接合部に伝達される曲げモーメントを低減して、合理性及び経済性を高めることができる、杭と柱との接合構造及びその施工方法を提供することを目的とする。
上記課題を解決するための手段は、以下の通りである。
[1] 中空断面を有する杭と柱との接合構造であって、前記柱の下端部には、ベースプレートと、該ベースプレートから下方に延出し前記杭の上端部内に挿入される、前記柱よりも小さい外寸を有するシアキーとが設けられ、前記杭の前記上端部から前記ベースプレートの下面までの空間に、前記シアキーの周囲を覆うようにコンクリートが充填される、杭と柱との接合構造。
[2] 前記シアキーには、側方に突出する支圧板が設けられ、前記杭の上端部には、杭の内面よりも内方に突出する突出部が設けられている、[1]に記載の杭と柱との接合構造。
[3] 前記突出部は、前記杭の上端の周方向の複数箇所に固定されるずれ止めプレートからなる、[2]に記載の杭と柱との接合構造。
[4] 前記突出部は、前記杭の上端に設けられる端板からなる、[2]に記載の杭と柱との接合構造。
[5] 前記ベースプレートと、前記シアキーとの間を補剛するスチフナが設けられている、[1]~[4]のいずれかに記載の杭と柱との接合構造。
[6] 前記ベースプレートの下面に、前記コンクリートと係合する係合部が設けられている、[1]~[5]のいずれかに記載の杭と柱との接合構造。
[7] 前記杭の上端部を取り囲むように地盤上に設置されたアンカーフレームをさらに備え、前記アンカーフレームに設けられたアンカーボルトに前記ベースプレートが締結されることにより、前記柱の前記杭に対する位置決めがなされている、[1]~[6]のいずれかに記載の杭と柱との接合構造。
[8] [1]~[6]のいずれかに記載の杭と柱との接合構造の施工方法であって、地盤に設置された前記杭の前記上端部内に、前記柱の前記シアキーが挿入されるように、前記柱を建て込み、前記杭の前記上端部の外周を取り囲むように型枠を設置して、前記杭の前記上端部から前記ベースプレートの下面までの空間に、前記シアキーの周囲を覆うようにコンクリートを充填する、杭と柱との接合構造の施工方法。
[9] [7]に記載の杭と柱との接合構造の施工方法であって、地盤に設置された前記杭の前記上端部を取り囲むように、地盤上に前記アンカーフレームを設置し、前記杭の前記上端部内に、前記柱の前記シアキーが挿入されるように、前記柱を建て込み、前記杭の前記上端部の外周を取り囲むように型枠を設置して、前記杭の前記上端部から前記ベースプレートの下面までの空間に、前記シアキーの周囲を覆うようにコンクリートを充填する、杭と柱との接合構造の施工方法。
[10] 前記型枠は捨て型枠である、[8]又は[9]に記載の杭と柱との接合構造の施工方法。
本発明の杭と柱との接合構造及びその施工方法によれば、掘削土量の削減、使用鉄骨量の削減等により構造の簡素化、コストダウンを図るとともに、接合形態を半剛接合に調整することで、上方の柱から接合部に伝達される曲げモーメントを低減して、合理性及び経済性をさらに高めることができる。
また、シアキーの外寸が柱の外寸よりも小さいので、杭に対する柱の偏心に対応しやすくなり、設計の自由度及び施工性が高められる。
図1は、本発明の杭と柱との接合構造が適用される建築物の一例を示す斜視図である。 図2は、本発明の杭と柱との接合構造の一例を示す縦断面図である。 図3(a)及び図3(b)は、本発明の杭と柱との接合構造の一例の要部を示す拡大図である。 図4は、本発明の杭と柱との接合構造の他の一例を示す縦断面図である。 図5は、本発明の杭と柱との接合構造のさらに他の一例を示す縦断面図である。 図6は、本発明の杭と柱との接合構造のさらに他の一例を示す縦断面図である。 図7は、本発明の杭と柱との接合構造のさらに他の一例を示す縦断面図である。 図8(a)及び図8(b)は、本発明の杭と柱との接合構造の施工方法の手順を示す平面図及び縦断面図である。 図9(a)及び図9(b)は、本発明の杭と柱との接合構造の施工方法の手順を示す平面図及び縦断面図である。 図10(a)及び図10(b)は、本発明の杭と柱との接合構造の施工方法の手順を示す平面図及び縦断面図である。 図11(a)及び図11(b)は、本発明の杭と柱との接合構造の施工方法の手順を示す平面図及び縦断面図である。 図12(a)及び図12(b)は、本発明の杭と柱との接合構造の施工方法の手順を示す平面図及び縦断面図である。 図13(a)及び図13(b)は、本発明の杭と柱との接合構造の施工方法の手順を示す平面図及び縦断面図である。 図14(a)及び図14(b)は、本発明の杭と柱との接合構造の応力伝達機構を示す図である。 図15(a)及び図15(b)は、本発明の杭と柱との接合構造の応力伝達機構を示す図である。 図16(a)及び図16(b)は、本発明の杭と柱との接合構造の応力伝達機構を示す図である。 図17(a)~図17(c)は、本発明の杭と柱との接合構造の応力伝達機構を示す図である。
以下、図面を参照して、本発明の杭と柱との接合構造及びその施工方法の実施形態について、具体的に説明する。
<杭と柱との接合構造>
[第一の実施形態]
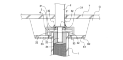
図1に、本発明の第一の実施形態の杭と柱との接合構造が適用された建築物の斜視図を示す。また、図2に、第一の実施形態の杭と柱との接合構造の縦断面図を示す。
図1に示すように、第一の実施形態の杭と柱との接合構造は、低層の鉄骨造建築物の鉄骨柱2と、中空断面を有するPHC杭(遠心成形プレストレスト高強度コンクリート杭)1とが接合される箇所に用いられる。図1に示すように、この鉄骨造建築物の鉄骨柱2の柱脚には基礎梁やフーチングが設けられず、鉄骨柱2の各々の柱脚にPHC杭1が直接接合されている。
具体的には、図2に示すように、地盤Gの根切り部分にPHC杭1が、その上部が地盤Gの表面から突出する状態に建て込まれている。地盤Gの根切り部分において、PHC杭1の周囲には、砕石61が敷きこまれ、さらに捨てコンクリート62が打設されている。
一方、鉄骨柱2の下端部には、ベースプレート21と、ベースプレート21から下方に延出して中空断面を有するPHC杭1の上端部内に挿入される、鉄骨柱2よりも小さい外寸を有するシアキー23とが設けられている。シアキー23は、その強度を確保する観点から、継目無鋼管から構成されることが好ましいが、他の鋼管や形鋼等から構成されていても良い。
図2に示すように、シアキー23の下端には、シアキー23の側方に突出する支圧板24が設けられている。また、ベースプレート21とシアキー23には、両者の間を補剛するスチフナ26が設けられており、ベースプレート21の耐力及び剛性が高められている。
そして、図2に示すように、PHC杭1の上端部からベースプレート21の下面までの空間に、シアキー23の周囲を覆うようにコンクリート4が充填されることで、PHC杭1と鉄骨柱2とが接合されている。
さらに、本実施形態の杭と柱との接合構造は、PHC杭1の上端部を取り囲むように、地盤Gの根切り部分の捨てコンクリート62の上に設置された、建方用アンカーフレーム3を備えている。建方用アンカーフレーム3は、あと施工アンカー33により、地盤Gの根切り部分の捨てコンクリート62に固定されている。
建方用アンカーフレーム3には、全ねじボルトからなるアンカーボルト31が設けられており、このアンカーボルト31にベースプレート21が、ナット32で締結されることにより、鉄骨柱2のPHC杭1に対する位置決めをするために設けられる。建方用アンカーフレーム3は、例えば、断面サイズL-100×100×13の山形鋼を組合わせて構成されている。
図3(a)に示すように、PHC杭1の上端に設けられるリング状の端板の周方向の複数箇所には、PHC杭1の内面よりも内側に突出するように、ずれ止めプレート(突出部)11が、端部金具に設けられる杭掛止部材(図示せず)を避けるようにして、隅肉溶接により固定されている。または、ずれ止めプレート11に代えて、図3(b)に示すように、PHC杭1の上端に設けられる端板12(突出部)を、PHC杭1の内面よりも内方に突出するように形成しても良い。または、ずれ止めプレート11又は端板12に代えて、またはこれらに加えて、PHC杭1の上端部の内面に水平リブ(図示せず)を形成しても良い。ずれ止めプレート11、端板12、及び水平リブの少なくとも一つを設けることにより、後述するように、鉄骨柱2からPHC杭1に軸方向引張力が作用するときに、シアキー23の下端に設けられる支圧板24との間にコンクリートストラットが形成され、より大きな引張力に耐えうる接合構造となる。
また、本実施形態において、PHC杭1の上端部の内面に、超高圧洗浄等によって目荒らしを施しても良い。このようにすると、鉄骨柱2からPHC杭1に軸方向引張力が作用するときに、引抜に対する摩擦抵抗力がさらに高められる。
鉄骨柱2の柱脚の周囲には、必要に応じて床スラブ7が設けられていてもよい。
なお、本実施形態において、支圧板24、ずれ止めプレート11、端板12、水平リブは、必ずしも必須でなく、例えば鉄骨柱2が大きな引抜力が作用しない部位に設けられる場合等には、これらを省略してもよい。本実施形態のように、支圧板24、ずれ止めプレート11、端板12、水平リブを設けることにより、後述するように、鉄骨柱2からPHC杭1に軸方向引張力が作用するときに、シアキー23の下端に設けられる支圧板24との間にコンクリートストラットが形成され、より大きな軸方向引張力に耐えうる接合構造となる。
また、本実施形態において、スチフナ26は必ずしも必須でないが、杭と柱との接合形態を半剛接合に調整すべく、必要に応じて本実施形態のようにスチフナ26を設けてベースプレート21の耐力及び剛性を高めると好ましい。
[第二の実施形態]
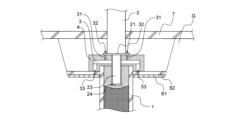
図4に、本発明の第二の実施形態の杭と柱との接合構造の縦断面図を示す。
図4に示すように、本実施形態の杭と柱との接合構造では、第一の実施形態の杭と柱との接合構造におけるスチフナ26が省略されている。他の点については、本実施形態の杭と柱との接合構造は、第一の実施形態の杭と柱との接合構造と同様に構成されている。
本実施形態のように、ベースプレート21とシアキー23の間を補剛するスチフナ26を省略することにより、杭と柱との接合剛性を低めに調整して、上方の鉄骨柱2から接合部に伝達される曲げモーメントを小さくすることができる。併せて、ベースプレート21を降伏させて、曲げ変形させることにより、十分な塑性変形能力を確保することができる。
[第三の実施形態]
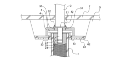
図5に、本発明の第三の実施形態の杭と柱との接合構造の縦断面図を示す。
図5に示すように、本実施形態の杭と柱との接合構造では、第二の実施形態の杭と柱との接合構造におけるシアキー23の下端に設けられ側方に突出する支圧板24に加えて、シアキー23の中間部にも、シアキー23の側方に突出する支圧板25が設けられている。
他の点については、本実施形態の杭と柱との接合構造は、第二の実施形態の杭と柱との接合構造と同様に構成されている。
本実施形態のように、シアキー23の側方に突出する支圧板を、複数箇所に設けることにより、さらに大きな軸方向引張力に耐えうる接合構造となる。
[第四の実施形態]
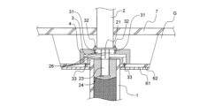
図6に、本発明の第四の実施形態の杭と柱との接合構造の縦断面図を示す。
図6に示すように、本実施形態の杭と柱との接合構造では、第二の実施形態の杭と柱との接合構造における鉄骨柱2のベースプレート21の下面に、コンクリート4と係合する係合部22が設けられている。係合部22には、例えばサイズ25×32×450程度のフラットバーを用いることができる。
他の点については、本実施形態の杭と柱との接合構造は、第二の実施形態の杭と柱との接合構造と同様に構成されている。
本実施形態のように、鉄骨柱2のベースプレート21の下面に、コンクリート4と係合する係合部22を設けることにより、後述するように、鉄骨柱2からPHC杭1に軸方向引張力又はせん断力が作用するときに、シアキー23の下端に設けられる支圧板24との間にコンクリートストラットが形成され、より大きな軸方向引張力及びせん断力に耐えうる接合構造となる。
[第五の実施形態]
図7に、本発明の第五の実施形態の杭と柱との接合構造の縦断面図を示す。
図7に示すように、本実施形態の杭と柱との接合構造では、第四の実施形態の杭と柱との接合構造において、PHC杭1の上端部の外周に、補強バンド13が巻かれている。補強バンド13は、鋼板、鋼線、又は炭素繊維等からなるワイヤを、PHC杭1の上端部の外周に巻き付けることで、構成できる。
他の点については、本実施形態の杭と柱との接合構造は、第四の実施形態の杭と柱との接合構造と同様に構成されている。
本実施形態のように、PHC杭1の上端部の外周に、補強バンド13が巻かれていることにより、PHC杭1の上端部の内面に水平方向に作用する荷重への耐力が高められ、さらに大きなせん断力に耐えうる接合構造となる。
上記各実施形態の杭と柱との接合構造においては、ベースプレート21の板厚、係合部22のサイズ、シアキー23の径、肉厚及びPHC杭1の上端部への挿入深さ、支圧板24、25の板厚、突出幅、数及び配置、スチフナ26の板厚、数及び配置、ずれ止めプレート11の板厚、数及び配置、端板12の板厚及び突出幅等の各構成要素の形状、並びにこれら各構成要素の強度等を変更することにより、杭と柱との接合構造の耐力及び剛性、具体的には圧縮耐力、引張耐力、曲げ耐力、せん断耐力、圧縮剛性、引張剛性、曲げ剛性、せん断剛性を所望の大きさに調整することができる。
このような調整を行うことで、例えば杭と柱との接合構造の接合形態を半剛接合とすれば、接合部に生じる曲げ力が低減され、接合構造全体の経済設計が可能となる。
また、例えば鉄骨柱2の間にブレースが設けられる場合には、PHC杭1と鉄骨柱2との間に大きな軸方向引張力が作用しやすいため、この大きな軸方向引張力に耐えるように、ベースプレート21の板厚等の大きさを設定することが好ましい。
<杭と柱との接合構造の施工方法>
上記各実施形態の杭と柱との接合構造の施工方法について、図8~図13を参照して説明する。以下では、第二の実施形態の杭と柱との接合構造を施工する場合について、説明する。
まず、図8(a)の平面図及び図8(b)の縦断面図に示すように、地盤Gを根切りして、PHC杭1を建て込む。このとき、PHC杭1の上部が、根切り部の地盤Gの表面から突出するようにする。
次に、PHC杭1の上端部(例えば、PHC杭1の上端から700mm程度の部分)の内部の土壌を、掘削して除去する。地盤Gの根切り部分には、PHC杭1の周囲を取り囲むように、砕石61を敷き詰め、捨てコンクリート62を打設する。
次に、図9(a)の平面図及び図9(b)の縦断面図に示すように、PHC杭1の上端に設けられるリング状の端板の周方向の複数箇所に、PHC杭1の内面よりも内側に突出するように、ずれ止めプレート11を、端部金具に設けられる杭掛止部材(図示せず)を避けるようにして、現場隅肉溶接により固定する。
次に、図10(a)の平面図及び図10(b)の縦断面図に示すように、地盤Gに設置されたPHC杭1の上端部を取り囲むように、地盤G上に建方用アンカーフレーム3を設置し、あと施工アンカー33により、地盤Gの根切り部分の捨てコンクリート62に固定する。
このとき、図10(a)及び図10(b)に示すように、建築物の設計や、施工現場の状況等に応じて、PHC杭1の杭芯に対して建方用アンカーフレーム3の中心軸が、所定寸法(例えば80mm)だけ水平方向に偏心するようにして、建方用アンカーフレーム3を設置しても良い。このとき、捨てコンクリート62上の柱芯位置に墨出しを行い、この墨出しに建方用アンカーフレーム3の中心軸を合わせて、捨てコンクリート62に固定する。
建方用アンカーフレーム3は、鉄骨柱2のPHC杭1に対する位置決めをするために、鉄骨柱2の柱脚部の一節を仮支持するために設けられる。
次に、図11(a)の平面図及び図11(b)の縦断面図に示すように、PHC杭1の上端部内に、鉄骨柱2のシアキー23が、例えばPHC杭1の頂部から500mm程度の深さまで挿入されるようにして、鉄骨柱2を建て込む。そして、PHC杭のレベルを調整し、建方用アンカーフレーム3のアンカーボルト31に、ナット32により締結して、仮固定する。
次に、図12(a)の平面図及び図12(b)の縦断面図に示すように、PHC杭1の上端部の外周を取り囲むように、例えば円形捨て型枠(捨て型枠)5を設置する。さらに、図13(a)の平面図及び図13(b)の縦断面図に示すように、PHC杭1の上端部から鉄骨柱2のベースプレート21の下面までの空間に、シアキー23の周囲を覆うようにコンクリート4を充填して硬化させることにより、杭と柱との接合構造の施工が完了する。その後、必要に応じて、図13(b)に示すように、鉄骨柱2の柱脚の周囲に床スラブ7を設けてもよい。
円形捨て型枠5に代えて、再利用可能な型枠を用いても良いが、捨て型枠を用いることにより、作業の安全性や効率を高めることができる。また、型枠の形状は、必ずしも円形に限られず、PHC杭1の上端部の外周を取り囲むように設置可能な形状であれば、適宜形状を変更しても良い。
<杭と柱との接合構造における応力伝達機構>
上記各実施形態の杭と柱との接合構造に外力が作用するときの、コンクリート4を介した応力伝達機構について、図14~図17を参照して説明する。
(軸方向圧縮力が作用する場合)
図14(a)の縦断面図及び図14(b)の平面図に、鉄骨柱2からPHC杭1に軸方向圧縮力が作用するときに、コンクリート4内において鉄骨柱2のベースプレート21からPHC杭1の上端に設けられるリング状の端板へと圧縮力を伝達するコンクリートストラットが形成される領域を、灰色の網掛けで示す。
図14(a)に灰色の網掛けで示すように、上述のコンクリートストラットが、PHC杭1の上端に設けられる端板の直上部分、及びこの直上部分からPHC杭1の径方向両側に45度の範囲内に形成されるものとして、力学モデルを想定し、杭と柱との接合構造の圧縮耐力の評価を行うことができる。
(軸方向引張力が作用する場合)
図15(a)の縦断面図及び図15(b)の平面図に、鉄骨柱2からPHC杭1に軸方向引張力が作用するときに、コンクリート4内において鉄骨柱2のシアキー23の下端に設けられる支圧板24からPHC杭1の上端に設けられるずれ止めプレート11へと圧縮力を伝達するコンクリートストラットが形成される領域を、灰色の網掛けで示す。
図15(a)に灰色の網掛けで示すように、上述のコンクリートストラットが、シアキー23から側方に突出する支圧板24の突出部分の直上部分及びこの直上部分からPHC杭1の径方向外側に45度の範囲、かつずれ止めプレート11のうちPHC杭1の内面から内方に突出する部分の直下部分及びこの直下部分からPHC杭1の径方向内側に45度の範囲に形成されるものとして、力学モデルを想定し、杭と柱との接合構造の引張耐力の評価を行うことができる。
(せん断力が作用する場合)
図16(a)の縦断面図及び図16(b)の平面図に、鉄骨柱2とPHC杭1との間にせん断力が作用するときに、コンクリート4内において鉄骨柱2のベースプレート21下面に設けられる係合部22からPHC杭1の上端部の内面へと圧縮力を伝達するコンクリートストラットが形成される領域を、灰色の網掛けで示す。
図16(a)に灰色の網掛けで示すように、上述のコンクリートストラットが、鉄骨柱2のベースプレート21の下面に設けられる係合部22の水平方向横側部分及びこの横側部分から斜め下方45度の範囲、かつPHC杭1の上端部の内面の水平方向横側部分及びこの横側部分から斜め上方45度の範囲に形成されるものとして、力学モデルを想定し、杭と柱との接合構造のせん断耐力の評価を行うことができる。この力学モデルは、非特許文献1の内容に基づいている。
(曲げ力と軸方向力が同時に作用する場合)
図17(a)~図17(c)の縦断面図に、鉄骨柱2とPHC杭1との間に、曲げ力と軸方向力が同時に作用するときに、コンクリート4内において圧縮力を伝達するコンクリートストラットが形成される領域を、灰色の網掛けで示す。図17(a)~図17(c)はそれぞれ、曲げ力が比較的小さい場合、中程度の場合、比較的大きい場合を示す。
曲げ力が比較的小さい場合は、図17(a)に示すように、コンクリート4内において、鉄骨柱2のベースプレート21の下面の全体からPHC杭1の上端部の片側へと圧縮力を伝達するコンクリートストラットが形成される。
曲げ力が中程度の場合は、図17(b)に示すように、コンクリート4内において、鉄骨柱2のベースプレート21の下面のうち片側の一部からPHC杭1の上端部の片側へと圧縮力を伝達するコンクリートストラットが形成される。図17(b)に示す場合は、図17(a)に示す場合に比べて、コンクリート4中にコンクリートストラットが形成される領域は、より限定的となる。
曲げ力が比較的大きい場合は、図17(c)に示すように、コンクリート4内において、鉄骨柱2のベースプレート21の下面の片側の局部(ごく一部)から、PHC杭1の上端部の片側へと圧縮力を伝達するコンクリートストラットが形成される。図17(c)に示す場合は、鉄骨柱2のシアキー23の位置からPHC杭1に対して、軸方向引張力(引抜力)が作用する。
この場合は、シアキー23が一本のアンカーボルトに相当するものとして、露出柱脚と同様の力学モデルを想定できる。そして、シアキー23とPHC杭1との間、図15(a)に示した場合と同様のコンクリートストラットがさらに形成される。
また、ベースプレート21とシアキー23との接合部が異幅仕口に相当するものとして、ベースプレート21の面外曲げ変形を評価することで、鉄骨柱2とシアキー23との接合部の曲げ剛性を評価できる。
このような力学モデルを想定することで、杭と柱との接合構造の曲げ耐力の評価を行うことができる。
上記各実施形態の杭と柱との接合構造によれば、フーチングや基礎梁が不要となることにより掘削土量及び使用鉄骨量を削減して、構造の簡素化及びコストダウンを図るとともに、接合形態を半剛接合とすることで接合部に生じる曲げ力を低減して、合理性及び経済性を高めることができる。
なお、上記各実施形態では、PHC杭1と鉄骨柱2との接合構造について説明したが、本発明の杭と柱との接合構造はこれに限られず、例えば、PRC杭(遠心成形プレストレスト鉄筋高強度コンクリート杭)、SC杭(遠心成形外殻鋼管付きコンクリート杭)、鋼管杭等、中空断面を有する種々の既製杭と、下端部にベースプレートを備える種々の柱との接合構造にも適用可能である。
また、上記各実施形態では、建築物の基礎梁が省略されている例について説明したが、鉄骨柱の柱脚の間を連結する鉄骨からなる基礎梁が設けられる場合も、本発明を同様に適用可能である。
1 PHC杭(杭)
11 ずれ止めプレート(突出部)
12 端板(突出部)
13 補強バンド
2 鉄骨柱(柱)
21 ベースプレート
22 係合部
23 シアキー
24、25 支圧板
26 スチフナ
3 アンカーフレーム
31 アンカーボルト
32 ナット
33 あと施工アンカー
4 コンクリート
5 円形捨て型枠(捨て型枠)
61 砕石
62 捨てコンクリート
7 床スラブ
G 地盤

Claims (8)

  1. 中空断面を有する杭と柱との接合構造であって、
    前記柱の下端部には、ベースプレートと、該ベースプレートから下方に延出し前記杭の上端部内に挿入される、前記柱よりも小さい外寸を有するシアキーとが設けられ、
    前記杭の前記上端部から前記ベースプレートの下面までの空間に、前記シアキーの周囲を覆うようにコンクリートが充填され
    前記杭が建て込まれる地盤の根切り部分に前記杭の上端部を取り囲むように設置されたアンカーフレームをさらに備え、
    前記アンカーフレームに設けられたアンカーボルトに前記ベースプレートが締結されることにより、前記柱の前記杭に対する位置決めがなされている、杭と柱との接合構造。
  2. 前記シアキーには、側方に突出する支圧板が設けられ、
    前記杭の上端部には、杭の内面よりも内方に突出する突出部が設けられている、請求項1に記載の杭と柱との接合構造。
  3. 前記突出部は、前記杭の上端の周方向の複数箇所に固定されるずれ止めプレートからなる、請求項2に記載の杭と柱との接合構造。
  4. 前記突出部は、前記杭の上端に設けられる端板からなる、請求項2に記載の杭と柱との接合構造。
  5. 前記ベースプレートと、前記シアキーとの間を補剛するスチフナが設けられている、請求項1~4のいずれかに記載の杭と柱との接合構造。
  6. 前記ベースプレートの下面に、前記コンクリートと係合する係合部が設けられている、請求項1~5のいずれかに記載の杭と柱との接合構造。
  7. 請求項に記載の杭と柱との接合構造の施工方法であって、
    前記杭が建て込まれる地盤の根切り部分に前記杭の前記上端部を取り囲むように、前記アンカーフレームを設置し、
    前記杭の前記上端部内に、前記柱の前記シアキーが挿入されるように、前記柱を建て込み、
    前記アンカーフレームに設けられたアンカーボルトに前記ベースプレートを締結することにより、前記柱の前記杭に対する位置決めを行い、
    前記杭の前記上端部の外周を取り囲むように型枠を設置して、前記杭の前記上端部から前記ベースプレートの下面までの空間に、前記シアキーの周囲を覆うようにコンクリートを充填する、杭と柱との接合構造の施工方法。
  8. 前記型枠は捨て型枠である、請求項に記載の杭と柱との接合構造の施工方法。
JP2021066920A 2021-04-12 2021-04-12 杭と柱との接合構造及びその施工方法 Active JP7607500B2 (ja)

Priority Applications (1)

Application Number Priority Date Filing Date Title
JP2021066920A JP7607500B2 (ja) 2021-04-12 2021-04-12 杭と柱との接合構造及びその施工方法

Applications Claiming Priority (1)

Application Number Priority Date Filing Date Title
JP2021066920A JP7607500B2 (ja) 2021-04-12 2021-04-12 杭と柱との接合構造及びその施工方法

Publications (2)

Publication Number Publication Date
JP2022162221A JP2022162221A (ja) 2022-10-24
JP7607500B2 true JP7607500B2 (ja) 2024-12-27

Family

ID=83720808

Family Applications (1)

Application Number Title Priority Date Filing Date
JP2021066920A Active JP7607500B2 (ja) 2021-04-12 2021-04-12 杭と柱との接合構造及びその施工方法

Country Status (1)

Country Link
JP (1) JP7607500B2 (ja)

Families Citing this family (1)

* Cited by examiner, † Cited by third party
Publication number Priority date Publication date Assignee Title
JP7774536B2 (ja) * 2022-09-27 2025-11-21 Jfeシビル株式会社 柱と杭との接合構造

Citations (5)

* Cited by examiner, † Cited by third party
Publication number Priority date Publication date Assignee Title
JP2002194748A (ja) 2000-12-22 2002-07-10 Shimizu Corp 基礎の施工方法および建築物の基礎構造
JP2004019332A (ja) 2002-06-19 2004-01-22 Jfe Steel Kk 鋼管柱と鋼管杭の接合構造および工法
JP2009280985A (ja) 2008-05-20 2009-12-03 Kumagai Gumi Co Ltd 杭と柱との結合構造体
JP2012136858A (ja) 2010-12-27 2012-07-19 Mitsubishi Heavy Ind Ltd 1柱1杭基礎構造
JP2020070569A (ja) 2018-10-29 2020-05-07 株式会社竹中工務店 杭柱接合構造、及び杭柱接合構造の施工方法

Patent Citations (5)

* Cited by examiner, † Cited by third party
Publication number Priority date Publication date Assignee Title
JP2002194748A (ja) 2000-12-22 2002-07-10 Shimizu Corp 基礎の施工方法および建築物の基礎構造
JP2004019332A (ja) 2002-06-19 2004-01-22 Jfe Steel Kk 鋼管柱と鋼管杭の接合構造および工法
JP2009280985A (ja) 2008-05-20 2009-12-03 Kumagai Gumi Co Ltd 杭と柱との結合構造体
JP2012136858A (ja) 2010-12-27 2012-07-19 Mitsubishi Heavy Ind Ltd 1柱1杭基礎構造
JP2020070569A (ja) 2018-10-29 2020-05-07 株式会社竹中工務店 杭柱接合構造、及び杭柱接合構造の施工方法

Also Published As

Publication number Publication date
JP2022162221A (ja) 2022-10-24

Similar Documents

Publication Publication Date Title
CN109944250B (zh) 非永久竖向支承体系的基坑顺逆结合施工方法
CN109339229B (zh) 一种穿孔浆锚预制装配式钢管混凝土框架结构
KR100969586B1 (ko) 기초 및 벽체의 크기가 최소화된 라멘교 및 그 시공방법
KR20110103000A (ko) 콘크리트 충전유닛을 이용한 강합성 중공 프리캐스트 교각 접합구조물 및 그 시공방법
KR20090094971A (ko) 지하구조물 역타설 시공방법
CN112030720A (zh) 预制盖梁与墩柱承插式连接结构及施工方法
KR101006411B1 (ko) Cft 기둥을 이용한 철골조 역타설 시스템 및 방법
JP2001262774A (ja) 鋼コンクリート複合構造部材
KR101187174B1 (ko) 접합부에서의 전단결합 증진 구조를 가지는 그라우트-재킷을 이용한 기둥의 접합구조 및 이를 위한 받침장치
JP7607500B2 (ja) 杭と柱との接合構造及びその施工方法
JP5456627B2 (ja) 杭と鉄骨柱との接合構造および接合方法
KR102639094B1 (ko) 콘 파괴에 대한 저항력이 향상된 강재 기둥 기초 연결구조 및 그 시공방법
JP2023029562A (ja) 杭基礎構造
KR101200993B1 (ko) 기둥 선시공 공법을 위한 콘크리트 단위 기둥 부재 및 이를 이용한 영구기둥 선시공 방법
JP2010261270A (ja) 複合構造および複合構造建築物の施工方法
JPH1121908A (ja) 仮締切工法および仮締切構造体
JP4576067B2 (ja) 杭頭部と鋼製地中梁の接合構造
JP2009019356A (ja) 橋脚とフーチングとの接合構造及び方法
JP3787109B2 (ja) 杭基礎、及びその施工方法
JP4612422B2 (ja) 構造物の施工方法とこれに使用される基礎構造
JP2008075425A (ja) 杭と柱の接合構造
JP2021134522A (ja) 地下構造体施工方法
JP2007297861A (ja) 橋脚と杭との接合部構造
JP2009019362A (ja) 杭と柱の接合構造
JP7774536B2 (ja) 柱と杭との接合構造

Legal Events

Date Code Title Description
A621 Written request for application examination

Free format text: JAPANESE INTERMEDIATE CODE: A621

Effective date: 20240305

A977 Report on retrieval

Free format text: JAPANESE INTERMEDIATE CODE: A971007

Effective date: 20240830

A131 Notification of reasons for refusal

Free format text: JAPANESE INTERMEDIATE CODE: A131

Effective date: 20240903

A521 Request for written amendment filed

Free format text: JAPANESE INTERMEDIATE CODE: A523

Effective date: 20241101

TRDD Decision of grant or rejection written
A01 Written decision to grant a patent or to grant a registration (utility model)

Free format text: JAPANESE INTERMEDIATE CODE: A01

Effective date: 20241203

A61 First payment of annual fees (during grant procedure)

Free format text: JAPANESE INTERMEDIATE CODE: A61

Effective date: 20241217

R150 Certificate of patent or registration of utility model

Ref document number: 7607500

Country of ref document: JP

Free format text: JAPANESE INTERMEDIATE CODE: R150