JP7561829B2 - スイングアウトマストを有する伸縮ジブ - Google Patents

スイングアウトマストを有する伸縮ジブ Download PDF

Info

Publication number
JP7561829B2
JP7561829B2 JP2022508579A JP2022508579A JP7561829B2 JP 7561829 B2 JP7561829 B2 JP 7561829B2 JP 2022508579 A JP2022508579 A JP 2022508579A JP 2022508579 A JP2022508579 A JP 2022508579A JP 7561829 B2 JP7561829 B2 JP 7561829B2
Authority
JP
Japan
Prior art keywords
mast
inner box
telescopic jib
jib
box
Prior art date
Legal status (The legal status is an assumption and is not a legal conclusion. Google has not performed a legal analysis and makes no representation as to the accuracy of the status listed.)
Active
Application number
JP2022508579A
Other languages
English (en)
Other versions
JP2022544253A (ja
Inventor
クリスチャン モリッツ アーバン
Current Assignee (The listed assignees may be inaccurate. Google has not performed a legal analysis and makes no representation or warranty as to the accuracy of the list.)
Tadano Demag GmbH
Original Assignee
Tadano Demag GmbH
Priority date (The priority date is an assumption and is not a legal conclusion. Google has not performed a legal analysis and makes no representation as to the accuracy of the date listed.)
Filing date
Publication date
Application filed by Tadano Demag GmbH filed Critical Tadano Demag GmbH
Publication of JP2022544253A publication Critical patent/JP2022544253A/ja
Application granted granted Critical
Publication of JP7561829B2 publication Critical patent/JP7561829B2/ja
Active legal-status Critical Current
Anticipated expiration legal-status Critical

Links

Images

Classifications

    • BPERFORMING OPERATIONS; TRANSPORTING
    • B66HOISTING; LIFTING; HAULING
    • B66CCRANES; LOAD-ENGAGING ELEMENTS OR DEVICES FOR CRANES, CAPSTANS, WINCHES, OR TACKLES
    • B66C23/00Cranes comprising essentially a beam, boom, or triangular structure acting as a cantilever and mounted for translatory of swinging movements in vertical or horizontal planes or a combination of such movements, e.g. jib-cranes, derricks, tower cranes
    • B66C23/18Cranes comprising essentially a beam, boom, or triangular structure acting as a cantilever and mounted for translatory of swinging movements in vertical or horizontal planes or a combination of such movements, e.g. jib-cranes, derricks, tower cranes specially adapted for use in particular purposes
    • B66C23/36Cranes comprising essentially a beam, boom, or triangular structure acting as a cantilever and mounted for translatory of swinging movements in vertical or horizontal planes or a combination of such movements, e.g. jib-cranes, derricks, tower cranes specially adapted for use in particular purposes mounted on road or rail vehicles; Manually-movable jib-cranes for use in workshops; Floating cranes
    • B66C23/42Cranes comprising essentially a beam, boom, or triangular structure acting as a cantilever and mounted for translatory of swinging movements in vertical or horizontal planes or a combination of such movements, e.g. jib-cranes, derricks, tower cranes specially adapted for use in particular purposes mounted on road or rail vehicles; Manually-movable jib-cranes for use in workshops; Floating cranes with jibs of adjustable configuration, e.g. foldable
    • BPERFORMING OPERATIONS; TRANSPORTING
    • B66HOISTING; LIFTING; HAULING
    • B66CCRANES; LOAD-ENGAGING ELEMENTS OR DEVICES FOR CRANES, CAPSTANS, WINCHES, OR TACKLES
    • B66C23/00Cranes comprising essentially a beam, boom, or triangular structure acting as a cantilever and mounted for translatory of swinging movements in vertical or horizontal planes or a combination of such movements, e.g. jib-cranes, derricks, tower cranes
    • B66C23/62Constructional features or details
    • B66C23/64Jibs
    • B66C23/70Jibs constructed of sections adapted to be assembled to form jibs or various lengths
    • B66C23/701Jibs constructed of sections adapted to be assembled to form jibs or various lengths telescopic
    • BPERFORMING OPERATIONS; TRANSPORTING
    • B66HOISTING; LIFTING; HAULING
    • B66CCRANES; LOAD-ENGAGING ELEMENTS OR DEVICES FOR CRANES, CAPSTANS, WINCHES, OR TACKLES
    • B66C23/00Cranes comprising essentially a beam, boom, or triangular structure acting as a cantilever and mounted for translatory of swinging movements in vertical or horizontal planes or a combination of such movements, e.g. jib-cranes, derricks, tower cranes
    • B66C23/62Constructional features or details
    • B66C23/82Luffing gear
    • B66C23/821Bracing equipment for booms
    • B66C23/826Bracing equipment acting at an inclined angle to vertical and horizontal directions
    • BPERFORMING OPERATIONS; TRANSPORTING
    • B66HOISTING; LIFTING; HAULING
    • B66CCRANES; LOAD-ENGAGING ELEMENTS OR DEVICES FOR CRANES, CAPSTANS, WINCHES, OR TACKLES
    • B66C23/00Cranes comprising essentially a beam, boom, or triangular structure acting as a cantilever and mounted for translatory of swinging movements in vertical or horizontal planes or a combination of such movements, e.g. jib-cranes, derricks, tower cranes
    • B66C23/62Constructional features or details
    • B66C23/82Luffing gear
    • B66C23/821Bracing equipment for booms
    • B66C23/826Bracing equipment acting at an inclined angle to vertical and horizontal directions
    • B66C23/828Bracing equipment acting at an inclined angle to vertical and horizontal directions where the angle is adjustable
    • BPERFORMING OPERATIONS; TRANSPORTING
    • B66HOISTING; LIFTING; HAULING
    • B66CCRANES; LOAD-ENGAGING ELEMENTS OR DEVICES FOR CRANES, CAPSTANS, WINCHES, OR TACKLES
    • B66C2700/00Cranes
    • B66C2700/03Cranes with arms or jibs; Multiple cranes
    • B66C2700/0321Travelling cranes
    • B66C2700/0357Cranes on road or off-road vehicles, on trailers or towed vehicles; Cranes on wheels or crane-trucks
    • B66C2700/0364Cranes on road or off-road vehicles, on trailers or towed vehicles; Cranes on wheels or crane-trucks with a slewing arm
    • B66C2700/0371Cranes on road or off-road vehicles, on trailers or towed vehicles; Cranes on wheels or crane-trucks with a slewing arm on a turntable

Landscapes

  • Engineering & Computer Science (AREA)
  • Mechanical Engineering (AREA)
  • Jib Cranes (AREA)

Description

本発明は、基本ボックスと、少なくとも1つの内側ボックスと、折り畳み可能な少なくとも1つのマストとを有する伸縮ジブに関する。
独国実用新案第20219126号明細書から、伸縮部の1つにブレースマストを有するクレーンの伸縮ジブのためのブレース装置が知られている。
独国実用新案第202014006460号明細書からも同様のブレース装置が知られている。
さらに、独国特許出願公開第2258807号明細書から、伸縮ジブを有する移動式クレーンが既に知られており、これは、従来の方法において、基本ボックスと、押し込みおよび押し出し可能な少なくとも1つの内側ボックスとを備える。さらに、最も内側の内側ボックスには、先端ジブと呼ばれる押し込みおよび押し出し可能なさらなる内側ボックスが配置されている。延長された先端ジブは、ブレース位置に折り畳み可能な2つのマストを介して伸縮ジブに対して支持されることができる。この目的のために、2つのマストは、最も内側の内側ボックスのローラヘッドに旋回可能に取り付けられ、先端ジブが引き込まれたときに基本ボックスの上部の非動作位置に配置されることができる。
双方の開示によれば、ブレースマストは、それぞれ伸縮部の頭部に配置され、したがって、それらは取り付けまたは取り外しが可能である。ブレースマストを備えていない伸縮ジブに関連して、そのような伸縮ジブは、特にブレースマストが負荷を持ち上げるために必要とされない場合、取り扱いが困難であるという欠点を有する。伸縮ジブの輸送および取り付けのための費用もより高い。
したがって、本発明の目的は、より低い取り扱い、輸送および取り付け費用による耐負荷能力の増加が可能になる伸縮ジブを提供することである。
この目的は、請求項1の特徴を備える伸縮ジブによって達成される。従属請求項2から21および以下の説明は、本発明の有利な実施形態を説明する。請求項20および21は、本発明にかかる伸縮ジブの用途を記載する。
本発明によれば、基本ボックス、少なくとも1つの内側ボックス、および折り畳み可能な少なくとも1つのマストを有する伸縮ジブの場合、内側ボックスがマストとともに基本ボックス内に押し込まれることができるようにマストが内側ボックス上に配置されるという点で、耐負荷能力の単純化された増加が達成される。
換言すれば、内側ボックスおよび折り畳み式マストは、それらの共通のクリアランスプロファイルが基本ボックスの受け入れ断面よりも小さくなるように形成される。このようにして、展開式マスト、内側ボックスおよび基本ボックスの任意の断面形状が原理的に可能である。したがって、マストは、前記内側ボックスが伸縮式に基本ボックス内に押し込まれたときに、輸送位置または非動作位置において内側ボックス上に留まることができ、したがって、面倒に取り付けまたは取り外しする必要がない。その非動作位置において、好ましくは全ての位置において、マストは、好ましくは、基本ボックスおよび内側ボックスの全長を超えて突出しない、すなわち、内側ボックスが基本ボックスに押し込まれても突出しない。
マストが必要に応じて展開され、例えば伸縮ジブ頭部に関連して支持されることで、耐負荷能力の増加が容易に達成されることができる。ジブ延長部が伸縮ジブ頭部に取り付けられ、次いで、マストがジブ延長部に関連して支持されることも可能である。このようにして、レバーアームが、伸縮ジブまたはジブ延長部とマストとの間、特にマストの長手方向位置、例えば、ブレース装置が関節接合されるマスト端部との間に生成される。したがって、マストおよび関連するブレース装置は、伸縮ジブ、好ましくはその伸縮ジブ頭部に保持力を加えるための補助として使用される。そのため、通常運転時(マストなし)よりも大きな負荷の昇降が可能となる。本発明に関して、ブレースはまた、予張力付与も含む。
本発明にかかる伸縮ジブにより、輸送および取り付けのためのコストおよび時間に関する費用が削減されることができる。さらに、マストが基本ボックスの断面を超えて突出しないため、後退位置における伸縮ジブのコンパクトな構造が達成される。本発明にかかる伸縮ジブでは、耐負荷能力を増加させるための装置を備えていない伸縮ジブと比較して制限が生じないため、ブレースブラケットを備えた従来技術の伸縮ジブと比較して耐負荷能力を増加させることなく、特に使用中に取り扱いが容易になる。
特に有利な方法では、伸縮部とも呼ばれる複数の内側ボックスが、互いに内側に、且つ基本ボックス内に一緒に配置されるように設置され、マストは、最も内側の内側ボックス上に配置され、マストとともに最も内側の内側ボックスは、折り畳み位置において2番目に内側の内側ボックス内に押し込まれることができる。この実施形態では、最も内側の内側ボックスおよび折り畳み式マストは、それらの共通のクリアランスプロファイルが2番目に内側の、すなわち次に外側の内側ボックスの受け入れ断面よりも小さくなるように形成される。折り畳み可能なマストは、このボックスが2番目に内側の内側ボックスに押し込まれたときに、最も内側の内側ボックスに留まることができる。その非動作位置において、好ましくは全ての位置において、マストは、基本ボックスおよび全ての内側ボックスの全長を超えて突出しない、すなわち、全ての内側ボックスが基本ボックス内に押し込まれても突出しない。
代替的な実施形態では、最後の内側ボックスの部品は、マストの部品、特にケーブルプーリを有する頭部部品とともに、2番目に内側の内側ボックスから突出する。これは、さらに大きなプーリおよびより大きなケーブル直径がブレース装置に使用されることができるという利点を有する。
一実施形態では、マストがC字形であり且つ内側ボックスを部分的に取り囲むように設置される。このようにして、マストがねじれに耐性があり、しかも内側ボックスのクリアランスプロファイルが拡張されないことが保証される。本発明に関して、C字形とは、マストが、内側ボックスの長手方向に延び、好ましくは平面である基部と、そこから周方向に広がり、好ましくは直線状である肢部とを備えることを意味する。マストは、例えば半シェルの形態であり、内側ボックスを部分的に取り囲むことができる。しかしながら、肢部の他の周囲角度も可能である。あるいは、マストは、全体的または部分的に中空体として形成されることもできる。
さらなる実施形態では、内側マストがさらなるマストを備えるように設置される。折り畳み可能な双方のマストは、好ましくは、内側ボックスの周囲に、および/またはその長手方向に関して、鏡像配置の中間軸上に配置される。
構造的に簡単な方法で、展開位置のマスト間に形成される広がり角度が調整可能であるように設置される。調整は、好ましくは、内側ボックスの周囲の展開式継手の対応する配置によって実行される。
特に好ましい態様では、接続手段、好ましくはケーブルまたはストラットが、展開位置でマストの間に配置され、それぞれの場合にマスト、好ましくはその自由端に固定される。この接続手段により、好ましくは、負荷の上昇および/または下降中に調整された広がり角度が変化しないことが保証される。さらに、マストの横方向の曲がりは、接続手段によって低減される。ケーブルが使用される場合、このケーブルは、マストが折り畳まれ、伸縮ジブが引き込まれた状態で、その上に取り付けられて一緒に輸送されることができるように配置される。
有利な態様では、1つのマストまたは各マストは、好ましくはその自由端に配置される偏向手段、好ましくはプーリを備える。これは、マストが折り畳まれ、伸縮ジブが引き込まれた状態で、マストがその上に取り付けられた状態で一緒に輸送されることができるように配置される。偏向手段は、マストの支持に使用される接続手段、特にケーブルを偏向させる役割を果たす。あるいは、偏向手段は、伸縮ジブ頭部または伸縮ジブ足部の領域に配置されることができる。
特に有利な方法では、1つのマストまたは各マストが、接続手段によって伸縮ジブ頭部に対して展開位置で支持されることができるように設置される。接続手段は、マストが折り畳まれ、伸縮ジブが引き込まれた状態で、その上に取り付けられて一緒に輸送されることができるように配置されることができる。
構造的に簡単な方法で、接続手段がロッドまたはケーブルであり、したがってマスト先端が伸縮ジブ頭部に向かう方向に予め設定された距離に配置され、および/または接続手段がケーブルであり、したがってマストが、マストと伸縮ジブ頭部との間の角度が10度から170度、好ましくは30度から110度の範囲で可変に調整可能であるように支持されることができるように設置される。したがって、マストの、特にマスト先端の、内側ボックスからの距離、内側ボックスへのマストの固定位置、および内側ボックス上のマストの関節のタイプのために、マストと内側ボックスとの間の角度も、基本的に個別の方法で選択されることができる。このようにして、マストと伸縮ジブとの間の所望のレバーアーム、または負荷を昇降させるために必要なレバーアームが調整されることができる。ブレース装置にロッドが使用される場合、距離または角度は、ロッドの取り付け前に選択されることになる。ケーブルが使用される場合、動作中でも距離または角度が変更されることができる。距離または角度を調整するために、ケーブル長は、特に内側ボックス上のウインチによって変更される。この目的のために、偏向手段は、マストに使用されることもできる。
1つのマストまたは各マストが、好ましくは伸縮可能なシリンダおよび/またはケーブルプルを備える補助装置によって立設可能であることも特に有利である。この目的のために、補助装置は、内側ボックスの一方の端部に配置されて固定され、マストの他方の端部に配置されて固定される。固定具は、好ましくは回転関節式に取り付けられ、したがって、マストの立設中に行われる補助装置とマストとの間の角度の変化が可能になる。マストの対応するブレースの場合、補助装置は、負荷の上昇および/または下降中に無負荷である。マストが折り畳まれると、補助装置は、マストと実質的に平行に延在する。1つの補助装置のみによって複数のマストが立設されることも可能である。
あるいは、少なくとも1つのマストが使用されて、適切な内側ボックスの伸縮シリンダの伸縮運動および場合によっては対応して割り当てられたケーブルの引き込みによってマストを立設させることができる。換言すれば、対応する内側ボックスを延長することによって、さらなる活動を必要とせずにマストが立設されることができる。この目的のために、折り畳み可能なマストは、好ましくは、内側ボックスの外側への伸縮が接続手段の予張力をもたらすように伸縮ジブに接続手段によってその自由端で接続され、したがって、マストは、内側ボックスが完全に伸長されるときに所望の方法で支持される。例えば補助装置などの他の装置および/または装置との組み合わせが可能である。
マストがさらなる内側ボックスに配置され、好ましくはC字形であり、さらなる内側ボックスを部分的に取り囲むという点で、伸縮ジブの耐負荷能力のさらなる柔軟な増加のために有利に設置されることができる。本発明に関して、さらなる内側ボックスは、最も内側の内側ボックスから離れた任意の内側ボックスであると理解されるべきである。したがって、耐負荷能力のさらなる増加が必要な場合、これは、さらなる内側ボックスに折り畳み可能な1つまたは複数のマストによって達成されることができる。上述したように、マストのC字形の形態は、マストが圧縮時に剛性であることを保証するが、内側ボックスのクリアランスプロファイルを著しく拡張しない。このマストはまた、前記ボックスが次に最も外側の内側ボックスまたは基本ボックスに押し込まれたときに内側ボックス上に留まることができるように設置される。
このマストは、最も内側の内側ボックスへのマストの設置に有利に適用可能である。この目的のために、さらなる内側ボックス上のマストが最初に立設され、次に最も内側の内側ボックス上にマストが立設されることが好ましい。
1つの有利な実施形態では、マストまたは各マストの足部は、マストが取り付けられている次の最も内側の内側ボックスに対して、基本ボックスまたは内側ボックスの1つの重複の領域に隣接して配置される。配置点または関節の位置は、好ましくは、開始またはリア軸受から始まる内側ボックスの全長の約10から35%に配置される。換言すれば、マストの足部は、基本ボックスまたは次に外側の内側ボックスに対して重複領域に隣接する領域に配置されることが好ましく、その位置で関節接合されることが好ましい。このようにして、可能な限り最大のマスト長が確保されることができ、および/または伸縮ジブの負荷の静的な軽減に関して可能な限り最良の結果が達成されることができる。原理的には、伸縮ジブ頭部の方向または次の最も内側の内側ボックスに向けられた内側ボックスの半分に対する重複領域の方向におけるマストの足部の配置が可能である。そのような変形例の場合、ブレースは、必ずしも伸縮ジブの頭部で行われるのではなく、好ましくは追加的に取り付けられたジブ延長部で行われる。
張力付与フレームおよび好ましくはケーブルを備える接続手段によって、1つのマストまたは各マストが立設されて支持されることができるように特に有利な方法で設置される。張力付与フレームは、例えば基本ボックス上に配置されたウインチフレームを備える。しかしながら、ウインチフレームを伸縮ジブとは独立して配置することも可能である。伸縮ジブ頭部または伸縮ジブ足部の領域内の接続手段に所定の力で予張力付与する1つまたは複数のブレースシリンダは、ウインチフレームとともに、またはウインチフレームなしで使用されることができる。あるいは、例えばケーブルまたはロッドを介して、張力付与フレームなしの接続手段によってのみ実行されるように支持することも可能である。上述した変形例の組み合わせも可能である。
構造的に簡単な方法で、張力付与フレームは、好ましくは複数のケーブルリービング用のラッフィングケーブルクロス部材を備える。ラッフィングケーブルクロス部材によって、非常に大きな斜めの引っ張りなしにケーブルの案内を確実にすることが可能である。さらに、接続手段は、有利には、伸縮ジブの旋回軸の領域において、折り畳むことができるマストと張力付与フレームとの間の偏向手段を介して偏向されることができる。
一実施形態では、1つのマストまたは各マストが、好ましくはケーブルを備える接続手段によって伸縮ジブの足部軸受に対して支持されることができるように設置される。伸縮ジブは、足部軸受によってラッフィング可能に取り付けられる。あるいは、1つのマストまたは各マストは、伸縮ジブの基本ボックスに対して支持されることができる。しかしながら、伸縮ジブ上の任意の他の位置に対する支持も可能である。
有利には、伸縮ジブ、好ましくは基本ボックスに追加のマストが配置され、さらなるマストが取り付けられることができ、折り畳み可能な1つのマストまたは各マストが追加のマストを介して接続手段によって支持されるおよび/または張力付与されるように設置されることができる。本発明に関して 「取り付けられることができる」 とは、この追加のマストが、内側ボックスのうちの1つを基本ボックスに、または次に最も外側の内側ボックスのうちの1つに挿入されることができないことを意味する。取り付けられることができる追加のマストは、伸縮ジブの動作位置に取り付けられる。
本発明はまた、本発明にかかる伸縮ジブを備える車両クレーンに関する。このタイプの伸縮ジブは、取り扱い、輸送、および取り付けの点でより低い費用に対する耐負荷能力の増加を保証し、特に伸縮ジブが引き込まれた状態でクレーンが走行しているときに、車両クレーンのより高いレベルの安全性を保証する。この場合、車両クレーンは、道路またはレール上を走行することができる移動式クレーンまたはクローラクレーンであると理解される。
1つの有利な実施形態では、1つのマストまたは各マストが、接続手段によって車両クレーンの上部構造に対して支持されることができるように設置される。伸縮ジブは、好ましくは上部構造に配置された足部軸受によってラッフィング可能に取り付けられる。伸縮ジブは、ラッフィングされることができ、したがって、ラッフィングシリンダによって立設されることができる。車両クレーンは、負荷を上昇および/または下降させるための昇降機構と、好ましくは、上述したようにマストが支持されることができる張力付与フレームとを備える。車両クレーンはまた、上部構造が回転接続部を介して垂直回転軸を中心に回転することができるように配置された下部キャリッジを備える。車両クレーンはまた、運転室および/または上部構造上のさらなるキャビンを有する。しかしながら、クレーンを遠隔制御することも可能であり、したがって、1つの(運転者の)キャビンのみが必要であるか、またはキャビンが不要である。
本発明にかかる伸縮ジブの他の用途も可能であり、例えば、船またはレールバウンドもしくはレールガイド式クレーンに固定して設置される。
本発明の例示的な実施形態は、図面および以下の説明を参照してより詳細に説明される。
図1は、折り畳みマストおよび内側ボックスが基本ボックス内に部分的に押し込まれた伸縮ジブの概略側面図を示している。 図2は、マストが90度展開された、図1にかかる伸縮ジブの概略側面図を示している。 図3は、マストが傾斜して展開された、図1にかかる伸縮ジブの概略側面図を示している。 図4は、複数の内側ボックスおよび展開式マストを有する伸縮ジブの概略側面図を示している。 図5は、輸送位置または非動作位置におけるC字形マストを有する内側ボックスの概略斜視図を示している。 図6は、図5にかかる内側ボックスの概略断面図(I-I)を示している。 図7は、図5にかかる内側ボックスの概略断面図(II-II)を示している。 図8は、複数の内側ボックスと、最も内側の内側ボックス上の2つの展開式マストとを有する伸縮ジブの概略側面図を示している。 図9は、2つのマストが輸送位置または非動作位置にある内側ボックスの概略斜視図を示している。 図10は、図9にかかる内側ボックスの概略断面図(III-III)を示している。 図11は、複数の内側ボックス、最も内側にある展開式マスト、および3番目に内側のボックスにある展開式マストを有する伸縮ジブの概略側面図を示している。 図12は、複数の内側ボックスおよび2つの取り付けられた追加のマストを有する伸縮ジブの概略側面図を示している。 図13は、足部軸受および張力付与フレームを有する図4にかかる伸縮ジブの概略側面図を示している。 図14は、本発明にかかる伸縮ジブを用いて道路を走行することができる車両クレーンの概略側面図を示している。
図1は、伸縮ジブ10の概略側面図を示している。これは、基本ボックス11と、基本ボックス11内に配置された内側ボックス12と、伸縮ジブ頭部13とを備える。内側ボックス12は、基本ボックス11内に部分的に押し込まれて示されている。折り畳み可能であり、折り畳まれた非動作位置に示されているマスト20が、内側ボックス12に配置されている。したがって、マスト20は、内側ボックス12上に位置する非動作位置にある。非動作位置において、マスト20は、その長手方向を内側ボックス12の長手方向と平行にして延在している。折り畳まれた非動作位置において、内側ボックス12は、マスト20とともに基本ボックス11内に押し込まれることができることが非常に明らかである。内側ボックス12および折り畳みマスト20は、共通のクリアランスプロファイルが基本ボックス11の受け入れ断面よりも小さくなるように形成されている。したがって、マスト20は、このボックスが基本ボックス11に伸縮式に押し込まれたときに、内側ボックス12上に留まることができる。いかなる位置においても、マスト20は、基本ボックス11および内側ボックス12の全長を超えて突出しない、すなわち、内側ボックス12が基本ボックス11内に押し込まれても突出しない。伸縮ジブ10の図示された位置では、このジブは、耐負荷能力を増加させることなく、重量Fで図示されていない負荷を上昇および/または下降させるために使用されることができる。この目的のために、図示されていないリフトケーブルが伸縮ジブ頭部13上で偏向される。
代替的な実施形態では、最後の内側ボックス12、12’の展開式マスト20の部品、特に展開式マスト20のケーブルプーリを有するヘッド部品は、2番目に内側の内側ボックス12’’から突出する。これは、さらに大きなケーブルプーリおよびより大きなケーブル直径がブレース装置に使用されることができるという利点をもたらす。
図2および図3は、それぞれ、展開式マスト20を有する図1にかかる伸縮ジブ10の概略側面図を示している。折り畳み可能なマスト20によって、伸縮ジブ10の耐負荷能力を高めることができる。内側ボックス12は、基本ボックス11から完全に延出され、マスト20は展開される。マスト20を伸縮可能に形成することも可能である。接続手段40、50は、マスト20の自由端で係合する。接続手段40、50は、マスト20とともに、伸縮ジブ10のためのブレース装置を形成する。
接続手段40は、伸縮ジブ頭部13に接続され、特にそれに締結される。接続手段40の機能はまた、マスト20が下方に反転するのを防止することである。接続手段40は、ロッド、シリンダ、および/またはケーブルとすることができる。ロッドが使用される場合、マスト20は、伸縮ジブ頭部13から予め設定された距離に配置される。マスト20と伸縮ジブ10との間の距離または角度bは、ロッドの取り付け前に選択されることになる。ケーブルが使用される場合、マスト20は、角度bが10度から170度の間、好ましくは30度から110度の間の範囲で可変に調整されることができるように支持されることができる。したがって、ケーブルが使用される場合、動作中であっても距離または角度bが変更されることができる。距離または角度bを調整するために、ケーブル長は、特に内側ボックス12上のウインチによって変更される。この目的のために、偏向手段60がマスト20に使用されることもできる(図5参照)。ケーブルが使用される場合、接続手段40は、マスト20が折り畳まれ、伸縮ジブ10が引き込まれた状態で、その上に取り付けられて一緒に輸送されることができるように配置される。
図2において、マスト20は、b=90度の角度で、すなわち伸縮ジブ10に対して直角に展開され、下方に突出する。これとは対照的に、図3に示すマスト20は、b<90度、例えば60度の角度で展開されている。
接続手段50は、基本ボックス11に接続され、特に基本ボックスに締結される。あるいは、それはまた、張力付与フレーム80および/または足部軸受14に接続されることもできる(図13参照)。接続手段50は、好ましくは変更可能な長さであり、したがってケーブルである。接続手段50の機能はまた、マスト20が上方に反転するのを防止することである。
内側ボックス12が完全に伸長した位置にあるとき、マスト20は、基本ボックス11に対して重複領域に隣接する内側ボックス12の領域にその足部を置いて配置されることが非常に明らかである。このようにして、可能な限り最大のマスト長が確保されることができ、および/または伸縮ジブ10の負荷の静的な軽減に関して可能な限り最良の結果が達成されることができる。原則として、伸縮ジブ頭部13に向かって押される位置にマスト20の足部を配置することも可能である。
図4は、複数の内側ボックス12’、12’’、12’’’、12’’’’および展開式マスト20を有する伸縮ジブ10の概略側面図を示している。内側ボックス12または内側ボックス12に関する全ての説明は、内側ボックス12’、12’’、12’’’、12’’’’にも等しく適用される。内側ボックス12は、それぞれ、互いに内側に、基本ボックス11内に一緒に配置され、完全に延在している。マスト20は、最も内側の内側ボックス12’に配置されている。最も内側の内側ボックス12’は、マスト20とともに折り畳み位置で、2番目に内側の内側ボックス12’’内に押し込まれることができる。この実施形態では、最も内側の内側ボックス12’および折り畳みマスト20は、それらの共通のクリアランスプロファイルが2番目に内側の内側ボックス12’’の受け入れ断面よりも小さくなるように形成される。マスト20は、最も内側の内側ボックス12’が2番目に内側の内側ボックス12’’に押し込まれたときに、最も内側の内側ボックス’上に留まることができる。好ましい場合には、マスト20が基本ボックス11および全ての内側ボックス12の全長を超えて突出する位置はなく、すなわち全ての内側ボックス12が基本ボックス11に押し込まれても突出しない。
最も内側の内側ボックス12’が完全に伸長した位置にあるとき、マスト20は、その足部が最も内側の内側ボックス12’の、2番目に内側の内側ボックス12’’に対する重複領域に隣接する領域に配置されることが非常に明らかである。このようにして、可能な限り最大のマスト長が確保されることができ、および/または伸縮ジブ10の負荷の静的な軽減に関して可能な限り最良の結果が達成されることができる。原則として、伸縮ジブ頭部13に向かって配向された最も内側の内側ボックス12’の半分にマスト20の足部を配置することも可能である。
そうでなければ、図1から図3に関する記述は、図4に示す実施形態にも適用される。
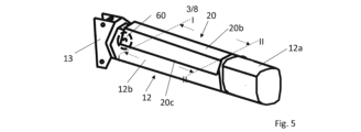
図5は、内側ボックス12の概略斜視図を示している。複数の内側ボックス12を有する伸縮ジブ10は、最も内側の内側ボックス12’である。内側ボックス12の一端には、伸縮ジブ頭部13が配置されている。内側ボックス12の他端には、基本ボックス11または2番目に内側の内側ボックス12’’に対する重複領域12aがある。内側ボックス12は、主支持部12bと重複領域12aとからなる。主支持部12bは、重複領域12aに隣接し、場合によっては伸縮ジブ頭部13の対向配置にある。主支持部12bは、内側ボックス12の断面が小さい領域である。重複領域12aおよび主支持部12bの断面は、図では長方形および六角形として簡略化して示されている。しかしながら、双方の断面は、好ましくは相互に調整された形状を有し、好ましくは図6にかかる断面図に示すように丸みを帯びている。
マスト20は、主支持部12bの領域に配置されている。マスト20は、C字形であり、この時点で示されている非動作位置において内側ボックス12を上方から部分的に取り囲む。このようにして、マスト20が圧縮時に剛性であるが、内側ボックス12のクリアランスプロファイルを拡張しないことが保証され、そのため、双方が一緒に基本ボックス11または2番目に内側の内側ボックス12’’内に押し込まれることができる。C字形と呼ばれるマスト20は、内側ボックス12の長手方向に延在する平坦な基部20bと、基部から周方向に広がり、好ましくは直線状である肢部20cとを備える。したがって、マスト20は、略半シェル状であり、内側ボックス12を上方から部分的に取り囲む。肢部20cの他の周囲角度も可能である。
マスト20は、図示しない1つまたは2つの展開式継手20aを介して内側ボックス12に連接されている。2つの偏向手段60(前方のもののみが示されている)は、マスト20の自由端に回転可能に取り付けられる。偏向手段60は、マスト20が折り畳まれ、伸縮ジブ10が引き込まれた状態で、それらがその上に取り付けられて一緒に輸送されることができるように配置される。偏向手段60は、いずれの場合も、好ましくはプーリであり、伸縮ジブ頭部13に対するマスト20の支持に使用される接続手段40、好ましくはケーブルを偏向させるのに役立つ。あるいは、偏向手段60は、いずれの場合も伸縮ジブ頭部13に配置されることができる。
マスト20は、好ましくは伸縮可能なシリンダおよび/またはケーブルプルを備える補助装置70(図示せず)によって立設されることができる。この目的のために、補助装置70は、内側ボックス12の一方の端部に配置されて固定され、マスト20の他方の端部に配置されて固定される。固定具は、好ましくは回転関節式に取り付けられ、したがって、マスト20の立設中に行われる補助装置70とマスト20との間の角度の変化が可能になる。したがって、マストが支持されるとき、補助装置70は、負荷の上昇および/または下降の間、無負荷である。マスト20が折り畳まれると、補助装置70は、マストと略平行に延在する。
図6は、図5にかかる内側ボックス12の概略断面図(I-I)を示している。マスト20および内側ボックス12の主支持部12bの周囲のC字形の設計は、非常に見やすい。
図7は、図5にかかる内側ボックス12の概略断面図(II-II)を示している。マスト20が内側ボックス12の重複領域12aの補強壁に関節式に接続される2つの展開式継手20aは、非常に見やすい。
図8は、複数の内側ボックス12’、12’’、12’’’、12’’’’を有する伸縮ジブ10の概略側面図を示している。内側ボックス12または内側ボックス12に関する全ての説明は、内側ボックス12’、12’’、12’’’、12’’’’にも等しく適用される。この実施形態では、折り畳み可能な2つのマスト20、20’が、最も内側の内側ボックス12’上に配置され、展開されて示されている。マスト20、20’は、最も内側の内側ボックス12’の周囲に、その長手方向に対して鏡像として、中軸上に配置されている。このようにして、マスト20、20’は、互いに隣接して、且つ互いに対してV字形に、展開位置に配置される。展開位置において、マスト20、20’の間に広がり角度aが形成される。広がり角度aは、内側ボックス20の周囲に設けられた展開式継手12aの配置によって調整されることができる。接続手段40、50は、各マスト20、20’の自由端でそれぞれ係合する。接続手段40、50は、マスト20、20’とともに、伸縮ジブ10のためのブレース装置を形成する。さらに、接続手段30、好ましくはケーブルまたはストラットが、展開位置においてマスト20の間に配置され、それぞれの場合にマスト20、20’、好ましくはその自由端に固定される。この接続手段30によって、負荷の上昇および/または下降中に調整された広がり角度aが変化しないことが保証される。さらに、マスト20、20’の横方向の曲がりは、接続手段30によって低減される。ケーブルまたは複数のケーブルが接続手段30、40、50として使用される場合、ケーブルのそれぞれは、マスト20、20’が折り畳まれ、伸縮ジブ10が引き込まれた状態で、その上に取り付けられて一緒に輸送されることができるように配置される。
図9は、折り畳み可能な2つのマスト20、20’を有する内側ボックス12の概略斜視図を示している。複数の内側ボックス12を有する伸縮ジブ10は、最も内側の内側ボックス12’である。内側ボックス12の一端には、伸縮ジブ頭部13が配置されている。内側ボックス12の他端には、基本ボックス11または次に外側の内側ボックス12’’に対する重複領域12aがある。内側ボックス12は、主支持部12bと重複領域12aとからなる。主支持部12bは、重複領域12aに隣接し、場合によっては伸縮ジブ頭部13の対向配置にある。主支持部12bは、内側ボックス12の断面が小さい領域である。重複領域12aおよび主支持部12bの断面は、図では長方形および六角形として簡略化して示されている。しかしながら、双方の断面は、好ましくは相互に調整された形状を有し、図10にかかる断面図に示すように丸みを帯びていることが好ましい。
主支持部12bの領域では、2つのマスト20、20’が、この場合に示されている非動作位置に配置されており、それぞれが主支持部12bの片側にある。マスト20、20’は、いずれの場合も展開式継手20aを介して内側ボックス12に関節式に接続される。偏向手段60は、各マスト20、20’の自由端に回転可能に取り付けられる。偏向手段60は、マスト20、20’が折り畳まれ、伸縮ジブ10が引き込まれた状態で、それらがその上に取り付けられて一緒に輸送されることができるように配置される。偏向手段60は、いずれの場合も、好ましくはプーリであり、伸縮ジブ頭部13に対してマスト20、20’を支持するために使用される接続手段40を偏向させるように機能する。あるいは、偏向手段60は、いずれの場合も伸縮ジブ頭部13に配置されることができる。
各マスト20、20’は、好ましくは伸縮可能なシリンダを備える補助装置70によって立設されることができる。この目的のために、補助装置70は、内側ボックス12の一方の端部に配置されて固定され、マスト20、20’の他方の端部に配置されて固定される。固定具は、好ましくは回転関節式に取り付けられ、したがって、マスト20、20’の立設中に行われる補助装置70とマスト20、20’との間の角度の変化が可能になる。したがって、マストが支持されるとき、補助装置70は、負荷の上昇および/または下降の間、無負荷である。マスト20、20’が折り畳まれると、補助装置70は、マストと略平行に延在する。
あるいは、マスト20、20’は、例えば、図示されていない張力付与フレーム80によって立設されることができる。
図10は、図9にかかる内側ボックス12の概略断面図(III-III)を示している。内側ボックス12の主支持部12bの両側に配置されたマスト20は、非常に見やすい。
図11は、複数の内側ボックス12’、12’’、12’’’、12’’’’を有する伸縮ジブ10の概略側面図を示している。内側ボックス12または内側ボックス12に関する全ての説明は、内側ボックス12’、12’’、12’’’、12’’’’にも等しく適用される。最も内側の内側ボックス12’に配置されたマスト20に加えて、伸縮ジブ10の耐負荷能力をさらに柔軟に高めるために、さらなる内側ボックス12、すなわち3番目に内側の内側ボックス12’’’にさらなるマスト21が配置される。折り畳み可能なこのさらなるマスト21は、好ましくはC字形である。しかしながら、マスト20、20’について上述したように、2つの独立したマスト21を有する実施形態も可能である。したがって、耐負荷能力のさらなる増加が必要な場合、これは、さらなるマスト21またはマスト21によって達成されることができる。各マスト21は、折り畳み可能であり、場合によっては伸縮式にすることができる。このマスト21はまた、前記ボックスが次に最も外側の、最も内側の4番目の内側ボックス12’’’’に押し込まれたときに、3番目に内側の内側ボックス12’’’上に留まることができるように設置される。マスト21は、マスト20を立設するために使用されることができる。この目的のために、マスト21は、好ましくは最初に立設され、次いでマスト20が立設されることができる。双方のマストは、好ましくは、接続手段50を使用して立設される。マスト20、21の間にさらなる接続手段を使用し、それによってマスト20、21が互いに対して支持されることも可能である。この場合、マスト21は、接続手段50を使用して立設され、マスト20は、さらなる接続手段を用いて立設される。
3番目に内側の内側ボックス12’’’が完全に伸長した位置にあるとき、マスト21は、4番目に内側の内側ボックス12’’’’に対して重複領域に隣接する3番目に内側の内側ボックス12’’’の領域にその足部が配置されることが非常に明らかである。原則として、2番目に内側の内側ボックス12’’に対して重複領域12aに向かって配向された3番目に内側の内側ボックス12’’’の半分におけるマスト20の足部の配置も可能である。
そうでなければ、図4に関する記述は、図11に示す実施形態にも適用される。
図12は、複数の内側ボックス12’、12’’、12’’’、12’’’’、折り畳み可能な2つのマスト20、20’、および2つの取り付けられた追加のマスト22、22’を有する伸縮ジブ10の概略側面図を示している。接続手段40、50は、その自由端でそれぞれ各展開式マスト20、20’と係合する。折り畳み可能なマスト20、20’は、それぞれ、接続手段50によって取り付けられた追加のマスト22、22’に接続され、それに対して支持されることができる。2つの取り付けられた追加のマスト22、22’のそれぞれに配置された張力付与フレーム80は、接続手段50に予張力付与するために使用される。取り付けられた追加のマスト22、22’は、接続手段51によって伸縮ジブ10に接続される。接続手段40、50、51は、マスト20、20’および追加のマスト22、22’とともに、伸縮ジブ10のためのブレース装置を形成する。
そうでなければ、図8に関する記述は、図12に示す実施形態にも適用される。
図13は、足部軸受14および張力付与フレーム80を有する図4にかかる伸縮ジブ10の概略側面図を示している。伸縮ジブ10は、足部軸受14によってラッフィング可能に取り付けられる。マスト20は、好ましくはケーブルを備える張力付与フレーム80および接続手段50によって立設されて支持されることができる。張力付与フレーム80は、足部軸受14上に配置されたウインチフレームを備える。しかしながら、ウインチフレームを基本ボックス11上に配置することも可能である。あるいは、例えばケーブルまたはロッドを介して、張力付与フレーム80なしで接続手段50によってのみ実行されることを試みることも可能である。張力付与フレーム80は、好ましくは複数のケーブルリービングのためのラッフィングケーブルクロス部材を備える。ラッフィングケーブルクロス部材によって、かなりの量の斜めの引っ張りなしにケーブルの案内を確実にすることが可能である。伸縮ジブ頭部または伸縮ジブ足部の領域内の接続手段に所定の力で予張力付与する1つまたは複数のブレースシリンダは、ウインチフレームとともに、またはウインチフレームなしで使用されることができる。
そうでなければ、図4に関する記述は、図12に示す実施形態にも適用される。
図14は、下部キャリッジ101と、垂直回転軸を中心に回転接続部107を介して下部キャリッジ101上で回転することができるように配置された上部構造102とを有する、道路上を走行することができる車両クレーン100、特に移動式クレーンの概略側面図を示している。上部構造102および下部キャリッジ101は、代替的に、互いに堅固に取り付けられてもよい。本発明にかかる伸縮ジブ10は、足部軸受12を介して上部構造102に取り付けられ、ラッフィングシリンダ108によってラッフィング可能にされることができる。伸縮ジブ10は立設して示されているが、特に道路走行のために、内側ボックス12が完全に引き込まれたときに下部キャリッジ101上に置かれることもできる。
伸縮ジブ10は、基本ボックス11の形態で概略的に示されており、簡略化のために図示されていないが、互いに内側に配置され、伸縮可能な複数の内側ボックス12を有する。図示の伸縮ジブ頭部13は、最も内側の内側ボックス12’に配置されている。耐負荷能力を高めるために、伸縮ジブ10は、上述したように、マスト20および/またはマスト21および/または追加のマスト22を備えることができる。伸縮ジブ10のマスト20、20’、21、22、22’は、上部構造102および/またはその上に配置された足部軸受14に対して支持および/または偏向されることができる。支持は、例えば、上部構造102、伸縮ジブ10および/または追加のマスト22、22’に配置されることができる張力付与フレーム80によって行うことができる。図示されていない負荷は、上部構造102にも配置された持ち上げ機構によって持ち上げられることができる。
下部キャリッジ101は、道路走行に適した2つのゴムタイヤ付き車輪106をそれぞれ備える9つの車両軸105をさらに備える。下部キャリッジ101は、当然ながら、9つよりも多いまたは少ない車両軸105を備えることができ、あるいは履帯を備えることができる。車両クレーン100は、運転室104を有する。
本発明の原理は、クローラクレーンにも適用されることができることは自明である。さらに、例えば船舶に固定して設置される伸縮ジブ10の他の用途も可能である。
10 伸縮ジブ
11 基本ボックス
12 内側ボックス
12’ 最も内側の内側ボックス
12’’ 2番目に内側の内側ボックス
12’’’ 3番目に内側の内側ボックス
12’’’’ 4番目に内側の内側ボックス
12a 重複領域
12b 主支持部
13 伸縮ジブ頭部
14 足部軸受
20,20’ マスト
20a 展開式継手
20b 基部
20c 肢部
21 マスト
22,22’ 追加のマスト
30 接続手段(マスト間)
40(伸縮ジブ頭部への)接続手段
50(張力付与フレーム、上部構造、足部軸受への)接続手段
51(追加のマストと伸縮ジブとの間の)接続手段
60 偏向手段
70 補助装置
80 張力付与フレーム
100 車両クレーン
101 下部キャリッジ
102 上部構造
104 運転室
105 車両軸
106 車輪
107 回転接続部
108 ラッフィングシリンダ
F 負荷
a 広がり角度
b 角度

Claims (21)

  1. 基本ボックス(11)と、少なくとも1つの内側ボックス(12)と、折り畳み可能な少なくとも1つのマスト(20、20’、21)とを有する伸縮ジブ(10)であって、
    前記マスト(20、20’、21)が、前記内側ボックス(12)が折り畳み位置において前記マスト(20、20’、21)とともに前記基本ボックス(11)に押し込まれることができるように、前記内側ボックス(12)上に配置されていることを特徴とする
    伸縮ジブ(10)。
  2. 複数の内側ボックス(12)が、互いに内側に、且つ前記基本ボックス(11)内に一緒に配置され、前記マスト(20、20’)が、最も内側の前記内側ボックス(12’)上に配置され、前記マスト(20、20’)とともに最も内側の前記内側ボックス(12’)が、前記折り畳み位置において2番目に内側の前記内側ボックス(12’’)内に押し込まれることができることを特徴とする
    請求項1に記載の伸縮ジブ(10)。
  3. 前記内側ボックス(12、12’)が、前記内側ボックス(12、12’)の長手方向に見て、第1のマスト(20)に加えて前記内側ボックス(12、12’)上に関節接合された少なくとも1つのさらなるマスト(20’)を備えることを特徴とする
    請求項1に記載の伸縮ジブ(10)。
  4. 前記第1のマスト(20)および前記さらなるマスト(20’)が、それぞれ、前記第1のマスト(20)と前記さらなるマスト(20’)の展開位置において広がり角度(a)を形成し、前記広がり角度(a)が調整可能であることを特徴とする
    請求項3に記載の伸縮ジブ(10)。
  5. マスト(21)が、さらなる内側ボックス(12’’’)上に配置されていることを特徴とする
    請求項1に記載の伸縮ジブ(10)。
  6. 前記さらなる内側ボックス(12’’’)上のこのマスト(21)が、最も内側の前記内側ボックス(12’)上の前記マスト(20)の立設に使用されることができることを特徴とする
    請求項5に記載の伸縮ジブ(10)。
  7. 前記マスト(20、20’、21)が、C字形であり、前記内側ボックス(12、12’、12’’、12’’’、12’’’’)を部分的に取り囲むことを特徴とする
    請求項1に記載の伸縮ジブ(10)。
  8. 前記第1のマスト(20)と前記さらなるマスト(20’)の展開位置における前記マスト(20、20’、21)の間に、ケーブルまたはストラットである接続手段(30)が配置され、前記マスト(20、20’、21)の自由端にそれぞれ固定されることを特徴とする
    請求項3に記載の伸縮ジブ(10)。
  9. 前記1つのまたは各マスト(20、20’、21)が、その自由端に配置されるプーリを備えることを特徴とする
    請求項3に記載の伸縮ジブ(10)。
  10. 前記1つのマストまたは各マスト(20、20’、21)が、接続手段(40)によって伸縮ジブ頭部(13)に対して前記第1のマスト(20)と前記さらなるマスト(20’)の展開位置において支持されることができることを特徴とする
    請求項に記載の伸縮ジブ(10)。
  11. 前記接続手段(40)がロッドであり、したがって前記マスト(20、20’、21)が、前記伸縮ジブ頭部(13)から予め設定された距離に配置され、および/または前記接続手段(40)がケーブルであり、したがって前記マスト(20)が、前記マスト(20、20’、20)と前記伸縮ジブ(10)との間の角度(b)が10度から170度の間の範囲で可変に調整可能であるように支持されることができることを特徴とする
    請求項10に記載の伸縮ジブ(10)。
  12. 助装置(70)によって、1つのマストまたは各マスト(20、20’、21)が立設されることができることを特徴とする
    請求項1に記載の伸縮ジブ(10)。
  13. 前記1つのマストまたは各マスト(20、21)が、前記各マスト(20、20’、21)が配置される内側ボックス(12’、12’’、12’’’、12’’’)の伸縮運動によって立設されることができることを特徴とする
    請求項1に記載の伸縮ジブ(10)。
  14. 前記マストまたは各マスト(20、20’、21)の足部が、前記基本ボックス(11)または次の最も外側の内側ボックス(12’、12’’、12’’’、12’’’’)に隣接する前記内側ボックス(12’、12’’’)の領域に配置され、前記領域が、前記内側ボックス(12’、12’’、12’’’、12’’’’)の全長の10から35%になることを特徴とする
    請求項1に記載の伸縮ジブ(10)。
  15. 前記1つのマストまたは各マスト(20、20’、21)が、1つのまたは複数のケーブルを備える張力付与フレーム(80)および接続手段(50)によって立設されて支持されることができることを特徴とする
    請求項1に記載の伸縮ジブ(10)。
  16. 前記張力付与フレーム(80)が、ラッフィングケーブルクロス部材を備え、前記接続手段(50)が、偏向手段を介して前記伸縮ジブ(10)の旋回軸の領域で前記マスト(20、20’、21)と前記張力付与フレーム(80)との間で偏向されることができることを特徴とする
    請求項15に記載の伸縮ジブ(10)。
  17. 前記1つのマストまたは各マスト(20、21)が、接続手段(50)によって前記伸縮ジブ(10)の足部軸受(14)に対して支持されることができることを特徴とする
    請求項1に記載の伸縮ジブ(10)。
  18. 追加のマスト(22)が、前記基本ボックス(11)に配置され、前記追加のマスト(22)を介して接続手段(50)によって1つのマストまたは各マスト(20、20’、21)が支持および/または予張力付与されることができることを特徴とする
    請求項1に記載の伸縮ジブ(10)。
  19. 最後の前記内側ボックス(12、12’)の前記マスト(20)の部品が、2番目に内側の前記内側ボックス(12’’)から突出していることを特徴とする
    請求項1に記載の伸縮ジブ(10)。
  20. 請求項1から19のいずれか一項に記載の伸縮ジブ(10)を備える
    車両クレーン(100)。
  21. 1つのマストまたは各マスト(20、20’、21)が、接続手段(50)によって前記車両クレーン(100)の上部構造(102)に対して支持されることができることを特徴とする
    請求項20に記載の車両クレーン(100)。
JP2022508579A 2019-08-16 2020-08-11 スイングアウトマストを有する伸縮ジブ Active JP7561829B2 (ja)

Applications Claiming Priority (3)

Application Number Priority Date Filing Date Title
DE102019122071.8A DE102019122071B3 (de) 2019-08-16 2019-08-16 Teleskopausleger mit ausklappbarem Mast
DE102019122071.8 2019-08-16
PCT/EP2020/072451 WO2021032529A1 (de) 2019-08-16 2020-08-11 Teleskopausleger mit ausklappbarem mast

Publications (2)

Publication Number Publication Date
JP2022544253A JP2022544253A (ja) 2022-10-17
JP7561829B2 true JP7561829B2 (ja) 2024-10-04

Family

ID=72088067

Family Applications (1)

Application Number Title Priority Date Filing Date
JP2022508579A Active JP7561829B2 (ja) 2019-08-16 2020-08-11 スイングアウトマストを有する伸縮ジブ

Country Status (5)

Country Link
US (1) US12240738B2 (ja)
JP (1) JP7561829B2 (ja)
AT (1) AT526869B1 (ja)
DE (1) DE102019122071B3 (ja)
WO (1) WO2021032529A1 (ja)

Families Citing this family (1)

* Cited by examiner, † Cited by third party
Publication number Priority date Publication date Assignee Title
CN116588830A (zh) * 2023-03-09 2023-08-15 湖南中联重科履带起重机有限公司 桅杆辅助扳杆系统、方法及起重机

Citations (7)

* Cited by examiner, † Cited by third party
Publication number Priority date Publication date Assignee Title
DE202005003207U1 (de) 2005-02-28 2006-07-13 Liebherr-Werk Ehingen Gmbh Fahrzeugkran
DE202005016743U1 (de) 2005-10-25 2007-03-29 Liebherr-Werk Ehingen Gmbh Kran
JP2011195236A (ja) 2010-03-18 2011-10-06 Tadano Ltd ブーム付き作業機
CN102602827A (zh) 2012-03-14 2012-07-25 中联重科股份有限公司 起重机的超起装置和起重机
CN104528552A (zh) 2014-12-31 2015-04-22 中联重科股份有限公司 超起装置及其操作方法和起重机
DE102016007203A1 (de) 2016-06-14 2017-12-14 Liebherr-Werk Ehingen Gmbh Abspannung für einen Kran
WO2018029306A1 (de) 2016-08-10 2018-02-15 Terex Global Gmbh Teleskopausleger mit abspannsystem für einen mobilkran und abspannverfahren hierfür

Family Cites Families (15)

* Cited by examiner, † Cited by third party
Publication number Priority date Publication date Assignee Title
US2698096A (en) 1953-05-04 1954-12-28 Lillie V Hughes Drag line extensible boom
GB1262553A (en) 1969-08-21 1972-02-02 Coles Crane Ltd A telescopic crane boom
US3620379A (en) * 1969-12-29 1971-11-16 Jean Fauchere Telescopic jib with a telescopic inclinable end member for cranes
DE2258807A1 (de) * 1972-12-01 1974-06-06 Krupp Gmbh Teleskopierbarer ausleger, vorzugsweise eines auto- oder mobilkranes
US4982853A (en) * 1989-02-09 1991-01-08 Hikoma Seisakusho Co., Ltd. Reinforcement mechanism for multi-stage telescopic boom
JPH0796438B2 (ja) * 1989-02-09 1995-10-18 株式会社彦間製作所 多段ブーム支持機構
DE9311778U1 (de) * 1993-08-06 1994-12-08 Liebherr-Werk Ehingen Gmbh, 89584 Ehingen Mobilkran
DE10062517C2 (de) * 2000-12-11 2002-12-05 Demag Mobile Cranes Gmbh & Co Teleskopausleger
DE20203443U1 (de) * 2002-01-02 2003-05-15 Liebherr-Werk Ehingen Gmbh, 89584 Ehingen Teleskopausleger
EP1369373B1 (de) * 2002-06-05 2007-02-14 Liebherr-Werk Ehingen GmbH Teleskopausleger eines Krans
DE20219126U1 (de) * 2002-12-10 2004-04-15 Liebherr-Werk Ehingen Gmbh Teleskopausleger
CN102209394B (zh) 2010-03-30 2015-09-16 中兴通讯股份有限公司 终端调度信息的上报方法和装置
DE202014006460U1 (de) * 2014-08-11 2015-11-12 Liebherr-Werk Ehingen Gmbh Teleskopausleger eines Krans mit Abspannung sowie Kran
CN104555760B (zh) * 2014-12-26 2016-07-27 长沙中联消防机械有限公司 伸缩臂架结构和工程车辆
CN108100872B (zh) * 2017-10-14 2019-04-02 乐清日盛建设有限公司 一种机械吊装装置

Patent Citations (7)

* Cited by examiner, † Cited by third party
Publication number Priority date Publication date Assignee Title
DE202005003207U1 (de) 2005-02-28 2006-07-13 Liebherr-Werk Ehingen Gmbh Fahrzeugkran
DE202005016743U1 (de) 2005-10-25 2007-03-29 Liebherr-Werk Ehingen Gmbh Kran
JP2011195236A (ja) 2010-03-18 2011-10-06 Tadano Ltd ブーム付き作業機
CN102602827A (zh) 2012-03-14 2012-07-25 中联重科股份有限公司 起重机的超起装置和起重机
CN104528552A (zh) 2014-12-31 2015-04-22 中联重科股份有限公司 超起装置及其操作方法和起重机
DE102016007203A1 (de) 2016-06-14 2017-12-14 Liebherr-Werk Ehingen Gmbh Abspannung für einen Kran
WO2018029306A1 (de) 2016-08-10 2018-02-15 Terex Global Gmbh Teleskopausleger mit abspannsystem für einen mobilkran und abspannverfahren hierfür

Also Published As

Publication number Publication date
US12240738B2 (en) 2025-03-04
AT526869A5 (de) 2024-06-15
JP2022544253A (ja) 2022-10-17
AT526869B1 (de) 2024-08-15
DE102019122071B3 (de) 2020-09-17
WO2021032529A1 (de) 2021-02-25
US20220219952A1 (en) 2022-07-14

Similar Documents

Publication Publication Date Title
US8308000B2 (en) Vehicle mounted crane
JP5297624B2 (ja) 可変位置カウンタウエイトユニットを装備している自走式リフトクレーン及びその操作方法
US3939988A (en) Tower crane
US3938670A (en) Tower crane
JP5276867B2 (ja) 可変位置カウンタウエイトユニットを装備している自走式リフトクレーン及びその操作方法
JP2721998B2 (ja) クレーン
US5897101A (en) Collapsible engine hoist
US3944081A (en) Tower crane
JP7715502B2 (ja) ブレーシング装置を備える車両クレーン用のジブシステムと車両クレーンのブレーシング装置をリギングおよびデリギングする方法
US5597078A (en) Mobile crane
US3045837A (en) Rotary tower crane
CN109476467B (zh) 具有配重调整装置的起重机及调整起重机上的配重的方法
US3934729A (en) Tower crane
US20060283826A1 (en) Lifting appliance
GB2096097A (en) Telescopic jib cranes
JP7561829B2 (ja) スイングアウトマストを有する伸縮ジブ
KR102536517B1 (ko) 크레인 차량
US11465887B2 (en) Support for the rear anchoring line of a telescopic crane
JP2002507530A (ja) リングリフトクレーン
RU2193007C2 (ru) Складная мачта из трех элементов с устройством складывания и раскладывания для башенного крана
US11884521B2 (en) Mobile crane with a luffing main boom and with an additional boom system
JPH02117591A (ja) 互いに連接された2個または3個の要素からなるブームを有する折りたたみ可能なクレーン
JP2022120477A (ja) 起伏アシスト装置
JP2024035824A (ja) 取り外し可能な取り付け上部構造を有する車両クレーンおよびそのリギング方法
US11618656B2 (en) Mobile crane having a separable a frame

Legal Events

Date Code Title Description
A621 Written request for application examination

Free format text: JAPANESE INTERMEDIATE CODE: A621

Effective date: 20230518

A977 Report on retrieval

Free format text: JAPANESE INTERMEDIATE CODE: A971007

Effective date: 20240513

A131 Notification of reasons for refusal

Free format text: JAPANESE INTERMEDIATE CODE: A131

Effective date: 20240521

A521 Request for written amendment filed

Free format text: JAPANESE INTERMEDIATE CODE: A523

Effective date: 20240801

TRDD Decision of grant or rejection written
A01 Written decision to grant a patent or to grant a registration (utility model)

Free format text: JAPANESE INTERMEDIATE CODE: A01

Effective date: 20240827

A61 First payment of annual fees (during grant procedure)

Free format text: JAPANESE INTERMEDIATE CODE: A61

Effective date: 20240924

R150 Certificate of patent or registration of utility model

Ref document number: 7561829

Country of ref document: JP

Free format text: JAPANESE INTERMEDIATE CODE: R150