JP7543170B2 - Steel earth retaining panel and earth retaining structure using said steel earth retaining panel - Google Patents

Steel earth retaining panel and earth retaining structure using said steel earth retaining panel Download PDF

Info

Publication number
JP7543170B2
JP7543170B2 JP2021028682A JP2021028682A JP7543170B2 JP 7543170 B2 JP7543170 B2 JP 7543170B2 JP 2021028682 A JP2021028682 A JP 2021028682A JP 2021028682 A JP2021028682 A JP 2021028682A JP 7543170 B2 JP7543170 B2 JP 7543170B2
Authority
JP
Japan
Prior art keywords
steel
earth retaining
retaining
plate
panel
Prior art date
Legal status (The legal status is an assumption and is not a legal conclusion. Google has not performed a legal analysis and makes no representation as to the accuracy of the status listed.)
Active
Application number
JP2021028682A
Other languages
Japanese (ja)
Other versions
JP2022129843A (en
Inventor
省吾 長岡
馨 松岡
翔悟 原
Current Assignee (The listed assignees may be inaccurate. Google has not performed a legal analysis and makes no representation or warranty as to the accuracy of the list.)
JFE Metal Products and Engineering Inc
Original Assignee
JFE Metal Products and Engineering Inc
Priority date (The priority date is an assumption and is not a legal conclusion. Google has not performed a legal analysis and makes no representation as to the accuracy of the date listed.)
Filing date
Publication date
Application filed by JFE Metal Products and Engineering Inc filed Critical JFE Metal Products and Engineering Inc
Priority to JP2021028682A priority Critical patent/JP7543170B2/en
Publication of JP2022129843A publication Critical patent/JP2022129843A/en
Application granted granted Critical
Publication of JP7543170B2 publication Critical patent/JP7543170B2/en
Active legal-status Critical Current
Anticipated expiration legal-status Critical

Links

Images

Landscapes

  • Pit Excavations, Shoring, Fill Or Stabilisation Of Slopes (AREA)

Description

本発明は、鋼製土留パネル及び該鋼製土留パネルを用いた土留構造物に関する。 The present invention relates to a steel earth retaining panel and an earth retaining structure using the steel earth retaining panel.

従来、例えば特許文献1に開示されているように、地面を掘削して形成された鉛直の掘削孔に波付け鋼板を組み立てて構築された土留構造物が知られている。土留構造物は、掘削孔の壁面に沿って複数の波付け鋼板を環状に配置して形成された構造体を、孔軸方向に積み重ねて構築される。 As disclosed in Patent Document 1, for example, there is a known earth retaining structure constructed by assembling corrugated steel plates in a vertical borehole formed by excavating the ground. The earth retaining structure is constructed by stacking structures formed by arranging multiple corrugated steel plates in a ring shape along the wall surface of the borehole in the axial direction of the hole.

土留構造物は、掘削孔の深度が深くなるにつれて地山側からの土圧が大きくなり、波付け鋼板だけでは剛性が足りない場合がある。また、深度の深さにかかわらず、土質の条件等により、土圧が大きい場合もある。更に、孔軸方向の深度が深くなるにつれて、上方に配置された構造体の自重が下方に配置された構造体に作用する。このため、土留構造物では、深度が深い箇所において、上下に隣り合う波付け鋼板の間に補強リングと呼ばれるH形鋼を挟み込み剛性を高めている。 As the depth of an excavation hole increases, the earth pressure from the ground increases, and corrugated steel plates alone may not provide enough rigidity. In addition, regardless of the depth, the earth pressure may be high depending on the soil conditions. Furthermore, as the depth in the direction of the hole axis increases, the weight of the structure placed above acts on the structure placed below. For this reason, in soil retaining structures, in deeper areas, H-shaped steel called reinforcing rings are sandwiched between adjacent corrugated steel plates above and below to increase rigidity.

しかしながら、補強リングの施工は、煩雑で手間が掛かるため、工期が長引き工費が嵩む問題がある。そのため、補強リングを省略できる土留構造物の構築が望まれている。例えば土圧が小さく補強リングが不要である掘削孔の深度が浅い部分には、掘削孔の壁面に沿って複数の波付け鋼板を環状に配置して構造体を構築し、土圧が大きく補強リングが必要となる掘削孔の深度が深い部分では、掘削孔の壁面に沿って複数の鋼製土留パネルを環状に配置して構造体を構築することが考えられる。鋼製土留パネルは、波付け鋼板よりも剛性が高い製品である。この鋼製土留パネルは、掘削孔の壁面に面するスキンプレートと、スキンプレートの上端及び下端に設けられて上面及び下面を形成する主桁と、スキンプレートの左右の両端に設けられて左右の側面を形成する継手板と、を備えている。鋼製土留パネルは、スキンプレート、主桁及び継手板で、掘削孔の孔内部に向かって開口する凹状に形成されている。スキンプレート、主桁及び継手板は、それぞれ溶接で固定されている。 However, the construction of the reinforcing ring is complicated and time-consuming, which lengthens the construction period and increases the construction costs. Therefore, it is desirable to construct an earth retaining structure that can omit the reinforcing ring. For example, in a shallow part of a borehole where the earth pressure is small and a reinforcing ring is not necessary, a structure can be constructed by arranging multiple corrugated steel plates in a ring shape along the wall surface of the borehole, and in a deep part of a borehole where the earth pressure is large and a reinforcing ring is necessary, a structure can be constructed by arranging multiple steel earth retaining panels in a ring shape along the wall surface of the borehole. The steel earth retaining panel is a product with higher rigidity than the corrugated steel plate. This steel earth retaining panel is equipped with a skin plate facing the wall surface of the borehole, main girders provided at the upper and lower ends of the skin plate to form the upper and lower surfaces, and joint plates provided at both the left and right ends of the skin plate to form the left and right side surfaces. The steel earth retaining panel is formed in a concave shape that opens toward the inside of the borehole by the skin plate, main girders, and joint plates. The skin plates, main girders and joint plates are each fixed by welding.

特開2020-066845号公報JP 2020-066845 A

上記構成の鋼製土留パネルとしては、止水性を有する構造が知られている。止水性を有する構造とするためには、スキンプレートと主桁との接合部、及びスキンプレートと継手板との接合部を鋼製土留パネルの外面側から溶接する必要がある。スキンプレートと主桁との間の隙間、及びスキンプレートと継手板との隙間を外面側から完全に塞ぎ、該隙間に地下水が侵入する事態を防止するためである。 A steel retaining panel with the above-mentioned configuration is known to have a structure with water-stopping properties. To achieve a water-stopping structure, the joints between the skin plate and the main girder, and between the skin plate and the joint plate, must be welded from the outer surface of the steel retaining panel. This is to completely seal the gaps between the skin plate and the main girder, and between the skin plate and the joint plate, from the outer surface, to prevent groundwater from entering the gaps.

しかしながら、スキンプレートと主桁との接合部、及びスキンプレートと継手板との接合部を鋼製土留パネルの外面側から溶接する作業において、該鋼製土留パネルの下部に位置する接合部分を溶接するためには、組み立て途中の鋼製土留パネルを反転させなければならない。鋼製土留パネルを反転させなければ、溶接できない箇所があるためである。また、溶接作業の安全性を確保すると共に、溶接精度を高めるためでもある。このような重量のある鋼製土留パネルを反転させつつ溶接を行う作業が、作業者にとって大きな負担となっていた。また、接合部の全体に亘って隙間なく溶接する必要があるため、溶接しなければならない箇所が多くなり、溶接の工数が増えて製造の手間とコストが掛かるおそれがある。 However, in the process of welding the joints between the skin plate and the main girder, and the joints between the skin plate and the joint plate from the outer surface side of the steel earth retaining panel, the steel earth retaining panel must be turned over in the middle of assembly in order to weld the joints located at the bottom of the steel earth retaining panel. This is because there are some parts that cannot be welded unless the steel earth retaining panel is turned over. This is also to ensure the safety of the welding work and to increase the welding accuracy. The work of welding such heavy steel earth retaining panels while turning them over was a heavy burden for the workers. In addition, since the entire joint needs to be welded without any gaps, the number of parts that need to be welded increases, which may increase the welding man-hours and manufacturing costs.

一方、波付け鋼板は、止水性を有さない構造である。このような止水性を有さない波付け鋼板を用いて構築される土留構造物は、例えば地下水の影響を受け難く、止水性を必要としない場所に構築されるものである。つまり、波付け鋼板と共に使用され、或いは波付け鋼板に代えて使用される鋼製土留パネルも、止水性を有する必要がない。 On the other hand, corrugated steel plates are structures that do not have water-stopping properties. Retaining structures constructed using such corrugated steel plates that do not have water-stopping properties are constructed in places that are, for example, less susceptible to the effects of groundwater and do not require water-stopping properties. In other words, steel retaining panels that are used together with corrugated steel plates or in place of corrugated steel plates also do not need to have water-stopping properties.

本発明は、上記の課題を解決するものであり、止水性を必要としない土留構造物に使用されるものであり、スキンプレートと主桁との接合部、及びスキンプレートと継手板との接合部を溶接するに際し、鋼製土留パネルの外面側から溶接する作業の一部又は全部を省略することができ、溶接作業の作業性を高め、製造の手間とコストを軽減することができる、鋼製土留パネル及び該鋼製土留パネルを用いた土留構造物を提供することを目的とする。 The present invention aims to solve the above problems and provide a steel earth retaining panel and an earth retaining structure using the steel earth retaining panel, which is used in an earth retaining structure that does not require watertightness, and which can omit some or all of the welding work from the outer surface side of the steel earth retaining panel when welding the joints between the skin plate and the main girder and the joints between the skin plate and the joint plate, thereby improving the workability of the welding work and reducing the manufacturing effort and cost.

本発明に係る鋼製土留パネルは、地面を掘削して形成された掘削孔に設置されて土留構造物を構築するために用いられる鋼製土留パネルであって、前記掘削孔の壁面に面するスキンプレートと、前記スキンプレートの上端及び下端に設けられ、上面及び下面を形成する主桁と、前記スキンプレートの左右の両端に設けられ、左右の側面を形成する継手板と、を備え、前記掘削孔の内部に向かって開口する凹状に形成されており、前記スキンプレートと前記主桁との接合部、及び前記スキンプレートと前記継手板との接合部のうち、いずれか一方又は双方が、前記凹状の凹内部側から溶接されて接合された構成であり、上下の前記主桁の間に設けられ、前記凹状の形状を保持する形状保持部材を更に備え、前記形状保持部材と前記スキンプレートとの接合部は、前記凹状の凹内部側から溶接されて接合された構成であり、前記形状保持部材と前記スキンプレートとの接合部は、上下方向に沿って左右交互に形成されている The steel earth-retaining panel of the present invention is a steel earth-retaining panel used to construct an earth-retaining structure by being installed in a borehole formed by excavating the ground, and comprises a skin plate facing the wall surface of the borehole, main girders provided at the upper and lower ends of the skin plate and forming the upper and lower surfaces, and joint plates provided at both left and right ends of the skin plate and forming the left and right side surfaces, and is formed in a concave shape that opens toward the inside of the borehole, and either one or both of the joints between the skin plate and the main girders and the joints between the skin plate and the joint plates are welded and joined from the concave inner side of the concave shape , and further comprises a shape-retaining member provided between the upper and lower main girders and which retains the shape of the concave shape, and the joints between the shape-retaining members and the skin plate are welded and joined from the concave inner side of the concave shape, and the joints between the shape-retaining members and the skin plate are formed alternately left and right along the vertical direction .

本発明に係る土留構造物は、地面を掘削して形成された掘削孔に、複数の鋼製土留パネルを設置して構築される土留構造物であって、前記掘削孔の壁面に沿って、複数の前記鋼製土留パネルを配置して形成された構造体が、孔軸方向に少なくとも1段以上構築された第1土留構造部を備え、複数の前記鋼製土留パネルは、上記鋼製土留パネルを少なくとも1つ有しているものである。 The retaining structure of the present invention is constructed by installing multiple steel retaining panels in a borehole formed by excavating the ground, and the structure formed by arranging the multiple steel retaining panels along the wall surface of the borehole includes a first retaining structure section constructed in at least one stage in the axial direction of the borehole, and the multiple steel retaining panels each include at least one of the steel retaining panels.

本発明では、スキンプレートと主桁との接合部、及びスキンプレートと継手板との接合部のうち、いずれか一方又は双方が、凹状の凹内部側から溶接されて接合された構成なので、鋼製土留パネルの外面側から溶接する作業の一部又は全部を省略することができる。よって、溶接作業の作業効率を高めることができ、製造の手間とコストを軽減することができる。 In the present invention, either or both of the joints between the skin plate and the main girder and the joints between the skin plate and the joint plate are welded from the inside of the concave shape, so that it is possible to omit some or all of the welding work from the outer surface side of the steel retaining panel. This makes it possible to increase the efficiency of the welding work and reduce the manufacturing effort and costs.

実施の形態に係る土留構造物を模式的に示した斜視図である。1 is a perspective view showing a schematic diagram of an earth retaining structure according to an embodiment of the present invention; 実施の形態に係る波付け鋼板の一例としてライナープレートを示した斜視図である。FIG. 2 is a perspective view showing a liner plate as an example of a corrugated steel plate according to the embodiment. 実施の形態に係る波付け鋼板の一例としてライナープレートを示した縦断面図である。FIG. 2 is a longitudinal sectional view showing a liner plate as an example of a corrugated steel plate according to the embodiment. 実施の形態に係る波付け鋼板の一例としてプランクプレートを示した斜視図である。FIG. 2 is a perspective view showing a plank plate as an example of a corrugated steel plate according to an embodiment. 実施の形態に係る波付け鋼板の一例としてプランクプレートを示した縦断面図である。FIG. 2 is a vertical cross-sectional view showing a plank plate as an example of a corrugated steel plate according to an embodiment. 実施の形態に係る鋼製土留パネルを示した斜視図である。FIG. 2 is an oblique view showing a steel retaining panel according to an embodiment of the present invention. 実施の形態に係る鋼製土留パネルを示した平断面図である。1 is a cross-sectional plan view showing a steel retaining panel according to an embodiment of the present invention. (A)は実施の形態に係る鋼製土留パネルを示した正面図、(B)は該鋼製土留パネルを示した左側面図である。1A is a front view showing a steel earth-retaining panel according to an embodiment of the present invention, and FIG. 1B is a left side view showing the steel earth-retaining panel. 図8に示したI部を側面方向から見た断面図である。9 is a cross-sectional view of part I shown in FIG. 8 as seen from the side. 図8に示したII部の拡大図である。FIG. 9 is an enlarged view of part II shown in FIG. 8 . 図8に示したIII-III線矢視断面図である。9 is a cross-sectional view taken along line III-III in FIG. 8. 図8に示したII部を側面方向から見た断面図である。9 is a cross-sectional view of part II shown in FIG. 8 as seen from the side. 実施の形態に係る鋼製土留パネルの形状保持部材の変形例1を示した説明図である。An explanatory diagram showing modified example 1 of the shape retention member of the steel retaining panel in the embodiment. 実施の形態に係る鋼製土留パネルの形状保持部材の変形例2を示した説明図である。An explanatory diagram showing modified example 2 of the shape retention member of the steel retaining panel in the embodiment. 実施の形態に係る土留構造物の構築工法の一例を模式的に示した説明図である。FIG. 2 is an explanatory diagram showing a schematic example of a construction method for a retaining structure according to an embodiment of the present invention. 実施の形態に係る土留構造物における第1土留構造部の一例を示した平断面図である。A cross-sectional plan view showing an example of a first retaining structure part in an earth retaining structure according to an embodiment of the present invention. 実施の形態に係る鋼製土留パネルの変形例1を示した平断面図である。A cross-sectional plan view showing modified example 1 of a steel retaining panel according to an embodiment of the present invention. (A)は図17に示した鋼製土留パネルの正面図、(B)は該鋼製土留パネルの左側面図である。17A is a front view of the steel earth retaining panel shown in FIG. 17, and FIG. 17B is a left side view of the steel earth retaining panel. 図17に示した鋼製土留パネルを用いた土留構造物における第1土留構造部の一例を示した平断面図である。This is a cross-sectional plan view showing an example of a first retaining structure portion in a retaining structure using the steel retaining panel shown in Figure 17. 図19に示したA部の拡大図である。FIG. 20 is an enlarged view of part A shown in FIG. 19 . 図19に示した土留構造物の第1土留構造部を構築する手順を模式的に示した説明図である。FIG. 20 is an explanatory diagram showing a schematic diagram of the procedure for constructing the first retaining structure portion of the retaining structure shown in FIG. 19 . 図19に示した土留構造物の構築工法の特徴を具体的に示した説明図である。FIG. 20 is an explanatory diagram specifically showing the features of the construction method for the retaining structure shown in FIG. 19. 実施の形態に係る鋼製土留パネルの変形例2を示した平面図である。A plan view showing modified example 2 of the steel retaining panel of the embodiment. 図23に示した鋼製土留パネルの左側面の拡大図である。FIG. 24 is an enlarged view of the left side of the steel retaining panel shown in FIG. 23. 図23に示した鋼製土留パネルを用いた土留構造物の要部を模式的に示した拡大図である。This is an enlarged schematic diagram showing a main part of a retaining structure using the steel retaining panel shown in Figure 23. 実施の形態に係る土留構造物の変形例を模式的に示した斜視図である。FIG. 13 is a perspective view showing a schematic diagram of a modified example of the earth retaining structure according to the embodiment. 実施の形態に係る鋼製土留パネルの変形例を示した斜視図である。FIG. 11 is an oblique view showing a modified example of a steel retaining panel according to an embodiment of the present invention.

以下、図面を参照して、本発明の実施の形態について説明する。なお、各図中、同一又は相当する部分には、同一符号を付して、その説明を適宜省略又は簡略化する。また、各図に記載の構成について、その形状、大きさ、及び配置等は、本発明の範囲内で適宜変更することができる。 Below, an embodiment of the present invention will be described with reference to the drawings. In each drawing, the same or corresponding parts are given the same reference numerals, and their description will be omitted or simplified as appropriate. In addition, the shape, size, arrangement, etc. of the configurations shown in each drawing may be changed as appropriate within the scope of the present invention.

実施の形態.
図1は、実施の形態に係る土留構造物を模式的に示した斜視図である。図1に示すように、土留構造物100は、地面を掘削して形成された鉛直の掘削孔に波付け鋼板2と鋼製土留パネル1を設置して構築された構成である。土留構造物100は、例えば建築構造物の基礎を構築するための立坑又は地中に構築される集水井等の土木構造物を構築する際に構築されるものである。具体的には、土留構造物100は、第2土留構造部102と、第1土留構造部101と、を備えている。第2土留構造部102は、平面視が円弧状の波付け鋼板2が環状に配置されて形成された構造体102Aを、孔軸方向に4段積み重ねて構築された構成である。第2土留構造部102は、波付け鋼板2を千鳥状に配置して組み立てられている。第1土留構造部101は、平面視が円弧状の鋼製土留パネル1が環状に配置されて形成された構造体101Aを、孔軸方向に2段積み重ねて構築された構成である。第1土留構造部101も、鋼製土留パネル1を千鳥状に配置して組み立てられている。土留構造物100は、一例として平面視が円形状とした構成である。
Embodiment
FIG. 1 is a perspective view showing a schematic diagram of an earth retaining structure according to an embodiment. As shown in FIG. 1, the earth retaining structure 100 is constructed by installing a corrugated steel plate 2 and a steel earth retaining panel 1 in a vertical excavation hole formed by excavating the ground. The earth retaining structure 100 is constructed when constructing a civil engineering structure such as a shaft for constructing the foundation of an architectural structure or a drainage well constructed in the ground. Specifically, the earth retaining structure 100 includes a second earth retaining structure portion 102 and a first earth retaining structure portion 101. The second earth retaining structure portion 102 is constructed by stacking four structures 102A formed by arranging corrugated steel plates 2 in a circular shape in a plan view in a circular shape in the hole axis direction. The second earth retaining structure portion 102 is assembled by arranging the corrugated steel plates 2 in a staggered manner. The first earth retaining structure 101 is constructed by stacking two layers of structures 101A in the hole axis direction, each structure being formed by arranging steel earth retaining panels 1 in a circular arc shape in plan view. The first earth retaining structure 101 is also assembled by arranging the steel earth retaining panels 1 in a staggered pattern. The earth retaining structure 100 is, as an example, configured to be circular in plan view.

なお、第1土留構造部101及び第2土留構造部102の段数は、図示した構成に限定されず、それぞれ少なくとも1段以上あればよい。また、図1に示した土留構造物100の周方向における波付け鋼板2及び鋼製土留パネル1の個数は、一例であってこれに限定されない。 The number of stages of the first retaining structure 101 and the second retaining structure 102 is not limited to the configuration shown in the figure, and each may have at least one stage. Also, the number of corrugated steel plates 2 and steel retaining panels 1 in the circumferential direction of the retaining structure 100 shown in Figure 1 is an example and is not limited to this.

図2は、実施の形態に係る波付け鋼板の一例としてライナープレートを示した斜視図である。図3は、実施の形態に係る波付け鋼板の一例としてライナープレートを示した縦断面図である。図4は、実施の形態に係る波付け鋼板の一例としてプランクプレートを示した斜視図である。図5は、実施の形態に係る波付け鋼板の一例としてプランクプレートを示した縦断面図である。 Figure 2 is a perspective view showing a liner plate as an example of a corrugated steel plate according to the embodiment. Figure 3 is a vertical cross-sectional view showing a liner plate as an example of a corrugated steel plate according to the embodiment. Figure 4 is a perspective view showing a plank plate as an example of a corrugated steel plate according to the embodiment. Figure 5 is a vertical cross-sectional view showing a plank plate as an example of a corrugated steel plate according to the embodiment.

波付け鋼板2は、例えば図2及び図3に示したライナープレート2Aや、図4及び図5に示したプランクプレート2Bで構成されている。ライナープレート2Aは、波形断面がサインカーブ状に形成された構成である。プランクプレート2Bは、波形断面が矩形状に形成された構成である。波付け鋼板2には、図2~図5に示すように、上端縁及び下端縁に沿って設けられた円弧状の周方向フランジ部20と、円弧方向の両端縁に沿って設けられた軸方向フランジ部21と、が設けられている。周方向フランジ部20は、波付け鋼板2の上端縁及び下端縁から掘削孔の内部に向かって突出するように曲げ加工されて形成されている。軸方向フランジ部21は、波付け鋼板2の円弧方向の両端縁にプレートを溶接して形成されている。 The corrugated steel plate 2 is composed of, for example, a liner plate 2A shown in Figs. 2 and 3, or a plank plate 2B shown in Figs. 4 and 5. The liner plate 2A has a configuration in which the corrugated cross section is formed in a sine curve shape. The plank plate 2B has a configuration in which the corrugated cross section is formed in a rectangular shape. As shown in Figs. 2 to 5, the corrugated steel plate 2 has an arc-shaped circumferential flange portion 20 provided along the upper and lower edges, and an axial flange portion 21 provided along both ends in the arc direction. The circumferential flange portion 20 is formed by bending so as to protrude from the upper and lower edges of the corrugated steel plate 2 toward the inside of the drilling hole. The axial flange portion 21 is formed by welding a plate to both ends in the arc direction of the corrugated steel plate 2.

波付け鋼板2は、例えば厚さが2.7mm~7mm程度である。図1に示す土留構造物100では、上から1段目及び2段目にライナープレート2Aからなる波付け鋼板2が用いられ、上から3段目及び4段目にプランクプレート2Bからなる波付け鋼板2が用いられている。土留構造物100では、掘削孔の深度が深くなるにつれて地山側からの土圧が大きく、更に上方に配置された構造体102Aの自重が下方に配置された構造体102Aに作用する。そのため、ライナープレート2Aよりも剛性が高いプランクプレート2Bを、土留構造物100の3段目及び4段目に用いている。なお、第2土留構造部102は、すべての段をライナープレート2Aで構成してもよいし、すべての段をプランクプレート2Bで構成してもよい。 The corrugated steel plate 2 has a thickness of, for example, about 2.7 mm to 7 mm. In the retaining structure 100 shown in FIG. 1, the first and second stages from the top are made of corrugated steel plates 2 made of liner plates 2A, and the third and fourth stages from the top are made of corrugated steel plates 2 made of plank plates 2B. In the retaining structure 100, the earth pressure from the ground increases as the depth of the excavation hole increases, and the weight of the structure 102A arranged above acts on the structure 102A arranged below. For this reason, plank plates 2B, which are more rigid than the liner plates 2A, are used in the third and fourth stages of the retaining structure 100. Note that all stages of the second retaining structure 102 may be made of liner plates 2A, or all stages may be made of plank plates 2B.

周方向フランジ部20には、孔軸方向に積み重ねた上下に隣り合う波付け鋼板2同士、又は波付け鋼板2と鋼製土留パネル1とを連結するための連結孔20aが円弧方向に沿って複数形成されている。上下に隣り合う波付け鋼板2は、周方向フランジ部20を突き合わせ、例えば連結孔20aに挿通したボルトの軸部をナットで締結することで連結される。なお、上下に隣り合う波付け鋼板2の周方向フランジ部20を連結する手段は、例えばクリップ等の連結具を用いてもよい。また、図示した連結孔20aの個数は一例であって、これに限定されるものではない。 The circumferential flange portion 20 has a plurality of connecting holes 20a formed along the arc direction for connecting adjacent corrugated steel plates 2 stacked in the hole axis direction, or connecting the corrugated steel plate 2 and the steel retaining panel 1. The vertically adjacent corrugated steel plates 2 are connected by butting the circumferential flange portions 20 together and fastening the shafts of bolts inserted into the connecting holes 20a with nuts, for example. The means for connecting the circumferential flange portions 20 of adjacent corrugated steel plates 2 may be, for example, a connector such as a clip. The number of connecting holes 20a shown in the figure is an example and is not limited to this.

軸方向フランジ部21には、掘削孔の周方向に配置した左右に隣り合う波付け鋼板2同士を連結するための連結孔21aが上下方向に沿って複数形成されている。左右に隣り合う波付け鋼板2は、軸方向フランジ部21を突き合わせ、連結孔21aに挿通したボルトの軸部をナットで締結することで連結される。なお、左右に隣り合う波付け鋼板2の軸方向フランジ部21を連結する手段は、例えばクリップ等の連結具を用いてもよい。また、図示した連結孔21aの個数は一例であって、これに限定されるものではない。 The axial flange portion 21 has multiple connection holes 21a formed in the vertical direction to connect adjacent corrugated steel plates 2 arranged in the circumferential direction of the drilled hole. Adjacent corrugated steel plates 2 are connected by butting the axial flange portions 21 together and fastening the shaft portions of bolts inserted into the connection holes 21a with nuts. The means for connecting the axial flange portions 21 of adjacent corrugated steel plates 2 may be, for example, a connector such as a clip. The number of connection holes 21a shown in the figure is an example and is not limited to this.

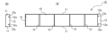
図6は、実施の形態に係る鋼製土留パネルを示した斜視図である。図7は、実施の形態に係る鋼製土留パネルを示した平断面図である。図8の(A)は実施の形態に係る鋼製土留パネルを示した正面図、(B)は該鋼製土留パネルを示した左側面図である。図9は、図8に示したI部を側面方向から見た断面図である。図10は、図8に示したII部の拡大図である。図11は、図8に示したIII-III線矢視断面図である。図12は、図8に示したII部を側面方向から見た断面図である。 Figure 6 is a perspective view showing a steel earth retaining panel according to an embodiment. Figure 7 is a plan cross-sectional view showing a steel earth retaining panel according to an embodiment. Figure 8 (A) is a front view showing a steel earth retaining panel according to an embodiment, and (B) is a left side view showing the steel earth retaining panel. Figure 9 is a cross-sectional view of part I shown in Figure 8, seen from the side. Figure 10 is an enlarged view of part II shown in Figure 8. Figure 11 is a cross-sectional view taken along the line III-III shown in Figure 8. Figure 12 is a cross-sectional view of part II shown in Figure 8, seen from the side.

鋼製土留パネル1は、図6~図8に示すように、掘削孔の壁面に面する円弧状のスキンプレート10と、スキンプレート10の上端及び下端に設けられて上面及び下面を形成する円弧状の主桁11と、スキンプレート10の円弧方向の両端に設けられて左右の側面を形成する継手板12と、を有している。鋼製土留パネル1は、スキンプレート10、主桁11及び継手板12によって、掘削孔の内部に向かって開口する凹状に形成されている。スキンプレート10、主桁11及び継手板12は、それぞれ溶接で固定されている。主桁11の桁高は、掘削孔の土質及び深度等によって仕様が変わるが、例えば150mm~400mm程度である。また、孔軸方向における鋼製土留パネル1の高さは、例えば土留構造物100を構築する作業者の安全性と効率を考慮して、500mmを標準とし、500mm~1000mm程度範囲で設計される。 As shown in Figs. 6 to 8, the steel earth retaining panel 1 has an arc-shaped skin plate 10 facing the wall of the borehole, arc-shaped main girders 11 that are provided at the upper and lower ends of the skin plate 10 to form the upper and lower surfaces, and joint plates 12 that are provided at both ends of the skin plate 10 in the arc direction to form the left and right side surfaces. The steel earth retaining panel 1 is formed into a concave shape that opens toward the inside of the borehole by the skin plate 10, main girders 11, and joint plates 12. The skin plate 10, main girders 11, and joint plates 12 are each fixed by welding. The girder height of the main girders 11 varies depending on the soil quality and depth of the borehole, but is, for example, about 150 mm to 400 mm. The height of the steel earth retaining panel 1 in the hole axis direction is designed to be in the range of about 500 mm to 1000 mm, with 500 mm as the standard, taking into account the safety and efficiency of the workers who construct the earth retaining structure 100.

鋼製土留パネル1は、図9~図11に示すように、スキンプレート10と主桁11との接合部10a、及びスキンプレート10と継手板12との接合部10bが、凹状の凹内部側から溶接されて接合された構成である。つまり、スキンプレート10と主桁11との接合部10a、及びスキンプレート10と継手板12との接合部10bは、鋼製土留パネル1の外面側から溶接された構成ではない。 As shown in Figures 9 to 11, the steel retaining panel 1 is configured such that the joint 10a between the skin plate 10 and the main girder 11, and the joint 10b between the skin plate 10 and the joint plate 12 are welded from the inside of the concave recess. In other words, the joint 10a between the skin plate 10 and the main girder 11, and the joint 10b between the skin plate 10 and the joint plate 12 are not welded from the outer surface side of the steel retaining panel 1.

例えば、一般的な鋼製土留パネルとして、止水性を有する構造が知られている。止水性を有する構造とするためには、スキンプレート10と主桁11との接合部、及びスキンプレート10と継手板12との接合部を鋼製土留パネル1の外面側から溶接する必要がある。スキンプレート10と主桁11との間の隙間、及びスキンプレート10と継手板12との隙間を外面側から完全に塞ぎ、該隙間に地下水が侵入する事態を防止するためである。 For example, a structure with water-stopping properties is known as a typical steel retaining panel. In order to achieve a water-stopping structure, the joints between the skin plate 10 and the main girder 11 and the joints between the skin plate 10 and the joint plate 12 must be welded from the outer surface of the steel retaining panel 1. This is to completely seal the gaps between the skin plate 10 and the main girder 11 and the gaps between the skin plate 10 and the joint plate 12 from the outer surface, preventing groundwater from entering the gaps.

しかしながら、スキンプレート10と主桁11との接合部、及びスキンプレート10と継手板12との接合部を鋼製土留パネル1の外面側から溶接する作業において、該鋼製土留パネル1の下部に位置する接合部分を溶接するためには、組み立て途中の鋼製土留パネル1を反転させなければならない。鋼製土留パネル1を反転させなければ、溶接できない箇所があるためである。また、溶接作業の安全性を確保すると共に、溶接精度を高めるためでもある。このような重量のある鋼製土留パネル1を反転させつつ溶接を行う作業が、作業者にとって大きな負担となっていた。また、接合部の全体に亘って隙間なく溶接する必要があるため、溶接しなければならない箇所が多くなり、溶接の工数が増えて製造の手間とコストが掛かるおそれがある。 However, in the work of welding the joints between the skin plate 10 and the main girder 11 and the joints between the skin plate 10 and the joint plate 12 from the outer surface side of the steel earth retaining panel 1, in order to weld the joints located at the bottom of the steel earth retaining panel 1, the steel earth retaining panel 1 must be turned over in the middle of assembly. This is because there are some parts that cannot be welded unless the steel earth retaining panel 1 is turned over. This is also to ensure the safety of the welding work and to increase the welding accuracy. The work of welding while turning over such a heavy steel earth retaining panel 1 was a heavy burden for the workers. In addition, since it is necessary to weld the entire joint without any gaps, the number of parts that need to be welded increases, which may increase the welding man-hours and increase the manufacturing effort and cost.

一方、波付け鋼板2は、止水性を有さない構造である。このような止水性を有さない波付け鋼板2を用いて構築される土留構造物100は、例えば地下水の影響を受け難く、止水性を必要としない場所に構築される。つまり、波付け鋼板2と共に使用され、或いは波付け鋼板2に代えて使用される鋼製土留パネル1も、止水性を有する必要がない。 On the other hand, the corrugated steel plate 2 is a structure that does not have water-stopping properties. The retaining structure 100 constructed using such a corrugated steel plate 2 that does not have water-stopping properties is constructed in a place that is, for example, not easily affected by groundwater and does not require water-stopping properties. In other words, the steel retaining panel 1 used together with the corrugated steel plate 2 or used in place of the corrugated steel plate 2 also does not need to have water-stopping properties.

すなわち、本実施の形態1に係る鋼製土留パネル1では、止水性を必要としない土留構造物100に使用されるものであり、スキンプレート10と主桁11との接合部10a、及びスキンプレート10と継手板12との接合部10bが、凹状の凹内部側から溶接されて接合された構成とし、鋼製土留パネル1の外面側から溶接する作業を省略したものである。 In other words, the steel retaining panel 1 according to this embodiment 1 is used in a retaining structure 100 that does not require watertightness, and the joint 10a between the skin plate 10 and the main girder 11, and the joint 10b between the skin plate 10 and the joint plate 12 are welded from the inside of the concave shape, eliminating the need to weld from the outer surface of the steel retaining panel 1.

接合部10aは、接合強度を高めるために、円弧方向に沿って隙間なく連続して設けることが望ましいが、十分な接合強度を得ることができれば、円弧方向に沿って部分的に設けてもよい。同様に、接合部10bも、接合強度を高めるために、上下方向に沿って隙間なく連続して設けることが望ましいが、十分な接合強度を得ることができれば、上下方向に沿って部分的に設けてもよい。 It is desirable that the joint 10a be provided continuously without gaps along the arc direction to increase the joint strength, but it may be provided partially along the arc direction if sufficient joint strength can be obtained. Similarly, it is desirable that the joint 10b be provided continuously without gaps along the vertical direction to increase the joint strength, but it may be provided partially along the vertical direction if sufficient joint strength can be obtained.

なお、鋼製土留パネル1は、接合部10a及び接合部10bの双方が、凹内部側から溶接されて接合された構成に限定されない。鋼製土留パネル1は、接合部10a及び接合部10bのうち、いずれか一方の接合部(10a又は10b)が、凹内部側から溶接されて接合された構成でもよい。この場合であっても、鋼製土留パネル1の外面側から溶接する作業の一部を省略することができるので、溶接作業の作業効率を高めることができ、製造の手間とコストを軽減することができる。 The steel earth retaining panel 1 is not limited to a configuration in which both joints 10a and 10b are welded from the inside of the recess. The steel earth retaining panel 1 may be configured in which either one of joints 10a and 10b (10a or 10b) is welded from the inside of the recess. Even in this case, some of the welding work from the outer surface side of the steel earth retaining panel 1 can be omitted, which can increase the efficiency of the welding work and reduce the manufacturing effort and cost.

また、図11に示すように、上記理由と同様の理由に基づき、主桁11と継手板12との接合部10cも、凹内部側から溶接されて接合された構成である。 As shown in FIG. 11, for the same reasons as above, the joint 10c between the main girder 11 and the joint plate 12 is also welded from the inside of the recess to join them.

主桁11には、図6及び図7に示すように、孔軸方向に積み重ねた上下に隣り合う鋼製土留パネル1同士、又は鋼製土留パネル1と波付け鋼板2とを連結するための連結孔11aが複数形成されている。上下に隣り合う鋼製土留パネル1は、主桁11を突き合わせ、連結孔11aに挿通したボルトの軸部をナットで締結することで連結される。また、上下に隣り合う鋼製土留パネル1と波付け鋼板2は、主桁11と周方向フランジ部20とを突き合わせ、連結孔11a及び20aに挿通したボルトの軸部をナットで締結することで連結される。 As shown in Figures 6 and 7, the main girder 11 has multiple connection holes 11a for connecting adjacent steel retaining panels 1 stacked vertically in the hole axis direction, or connecting the steel retaining panels 1 and the corrugated steel plate 2. Vertically adjacent steel retaining panels 1 are connected by butting the main girder 11 and fastening the shanks of bolts inserted into the connection holes 11a with nuts. Vertically adjacent steel retaining panels 1 and the corrugated steel plate 2 are connected by butting the main girder 11 and the circumferential flange portion 20 and fastening the shanks of bolts inserted into the connection holes 11a and 20a with nuts.

なお、連結孔11aの孔径は、連結孔20aの孔径よりも大きくすることが好ましい。構造体102Aは、施工誤差が生じたり、波付け鋼板2の剛性が低いことに起因して、真円度の誤差が生じたりする場合がある。構造体102Aの施工誤差及び真円度の誤差が生じてしまうと、連結孔11aと連結孔20aの位置が若干ずれて、連結孔11a及び20aにボルトを挿通させることが困難となる場合がある。つまり、連結孔11aの孔径を連結孔20aの孔径よりも大きくすることで、波付け鋼板2によって形成された構造体102Aの施工誤差及び真円度の誤差を連結孔11aで吸収することができ、連結孔11a及び20aにボルトを挿通させることができる。なお、連結孔11aの位置、大きさ及び個数は、図示した限りではなく、鋼製土留パネル1の形状及び大きさ等に応じて、適宜変更して形成するものとする。 The diameter of the connecting hole 11a is preferably larger than the diameter of the connecting hole 20a. The structure 102A may have an error in roundness due to construction errors or low rigidity of the corrugated steel plate 2. If construction errors and roundness errors occur in the structure 102A, the positions of the connecting holes 11a and 20a may be slightly misaligned, making it difficult to insert bolts into the connecting holes 11a and 20a. In other words, by making the diameter of the connecting hole 11a larger than the diameter of the connecting hole 20a, the construction errors and roundness errors of the structure 102A formed by the corrugated steel plate 2 can be absorbed by the connecting hole 11a, and the bolts can be inserted into the connecting holes 11a and 20a. The position, size, and number of the connecting holes 11a are not limited to those shown in the figure, and may be appropriately changed and formed according to the shape and size of the steel retaining panel 1.

また、図6及び図7に示すように、上下の主桁11には、工具を差し込んで抉るための抉り孔11bが、円弧方向に間隔をあけて複数形成されている。抉るとは、例えば隙間などに物を差し入れてねじることを意味する。工具とは、一例としてシノ棒等の棒状部材である。抉り孔11bは、上下に隣り合う鋼製土留パネル1同士、又は鋼製土留パネル1と波付け鋼板2とを連結するための連結孔11aの位置を一致させる作業を行うために設けられている。なお、抉り孔11bは、上下の主桁11のうち、いずれか一方にのみ設けてもよいし、双方ともに省略してもよい。また、抉り孔11bの位置、大きさ及び個数は、図示した限りではなく、適宜変更して形成するものとする。 As shown in Figs. 6 and 7, the upper and lower main girders 11 have a plurality of gouging holes 11b spaced apart in the arc direction for inserting a tool to gouge the gap. Gouging means, for example, inserting an object into a gap and twisting it. One example of a tool is a rod-shaped member such as a steel rod. The gouging holes 11b are provided to align the positions of the connecting holes 11a for connecting adjacent steel retaining panels 1 vertically, or connecting a steel retaining panel 1 and a corrugated steel plate 2. The gouging holes 11b may be provided in only one of the upper and lower main girders 11, or both may be omitted. The position, size, and number of the gouging holes 11b are not limited to those shown in the figures, and may be changed as appropriate.

継手板12には、図6及び図8に示すように、掘削孔の周方向に配置した左右に隣り合う鋼製土留パネル1を連結するための連結孔12aが複数形成されている。左右に隣り合う鋼製土留パネル1は、継手板12を突き合わせ、連結孔12aに挿通したボルトの軸部をナットで締結することで連結される。なお、図示した連結孔12aの個数は一例であって、これに限定されるものではない。 As shown in Figures 6 and 8, the joint plate 12 has multiple connection holes 12a for connecting adjacent steel retaining panels 1 arranged in the circumferential direction of the excavation hole. Adjacent steel retaining panels 1 are connected by butting the joint plates 12 together and fastening the shafts of the bolts inserted into the connection holes 12a with nuts. The number of connection holes 12a shown in the figure is an example and is not limited to this.

また、図6及び図8に示すように、左右の継手板12には、工具を差し込んで抉るための抉り孔12bが形成されている。工具とは、一例としてシノ棒等の棒状部材である。抉り孔12bは、左右に隣り合う鋼製土留パネル1の連結孔12aの位置を一致させる作業を行うために設けられている。なお、抉り孔12bは、上下に隣り合う鋼製土留パネル1同士、又は鋼製土留パネル1と波付け鋼板2とを連結するための連結孔11aの位置を一致させる際に利用してもよい。また、抉り孔12bは、左右の継手板12のうち、いずれか一方にのみ設けてもよいし、双方ともに省略してもよい。また、抉り孔12bの位置、大きさ及び個数は、図示した限りではなく、適宜変更して形成するものとする。 6 and 8, the left and right joint plates 12 are provided with gouging holes 12b for inserting a tool to gouge the holes. The tool is, for example, a rod-shaped member such as a chisel. The gouging holes 12b are provided for the purpose of aligning the positions of the connecting holes 12a of the steel retaining panels 1 adjacent to each other on the left and right. The gouging holes 12b may also be used to align the positions of the connecting holes 11a for connecting the steel retaining panels 1 adjacent to each other on the top and bottom, or the steel retaining panels 1 and the corrugated steel plate 2. The gouging holes 12b may be provided in only one of the left and right joint plates 12, or both may be omitted. The positions, sizes, and numbers of the gouging holes 12b are not limited to those shown in the drawings, and may be changed as appropriate.

また、鋼製土留パネル1は、図6~図8、図10及び図12に示すように、上下の主桁11との間に配置され、製造時、運搬時、及び施工時における該鋼製土留パネル1の形状を保持する形状保持部材13を有している。形状保持部材13は、例えば厚さが6mm程度の鋼板からなる板状部材で構成されている。形状保持部材13は、鋼製土留パネル1の形状を保持できる強度を有していればよいため、例えば継手板12の厚さよりも薄くてもよい。また、形状保持部材13は、図示例の場合、円弧方向に間隔をあけて4つ配置されている。なお、形状保持部材13の厚さ及び設置個数は、図示例に限定されず、例えば鋼製土留パネル1の大きさ及び形状等を考慮して決定される。 As shown in Figures 6 to 8, 10 and 12, the steel earth retaining panel 1 has shape retaining members 13 that are arranged between the upper and lower main girders 11 and retain the shape of the steel earth retaining panel 1 during manufacturing, transportation and construction. The shape retaining members 13 are formed of plate-like members made of steel plates with a thickness of, for example, about 6 mm. The shape retaining members 13 only need to have the strength to retain the shape of the steel earth retaining panel 1, so they may be thinner than the thickness of the joint plate 12, for example. In the illustrated example, four shape retaining members 13 are arranged at intervals in the arc direction. The thickness and number of shape retaining members 13 are not limited to the illustrated example and are determined taking into consideration, for example, the size and shape of the steel earth retaining panel 1.

形状保持部材13は、図10及び図12に示すように、スキンプレート10の内面との接合部13a、及び上下の主桁11との接合部13bが、凹状の凹内部側から溶接されて接合された構成である。接合部13aは、上下方向に沿って左右交互に所定の溶接長で形成されている。これは、形状保持部材13の歪みを防止するためである。但し、接合部13aは、形状保持部材13の右側又は左側にのみ設けて、接合の手間を省いた構成でもよい。また、接合部13aは、上下方向に沿って連続して設けてもよいし、部分的に設けてもよい。同様に、接合部13bは、掘削孔の径方向に沿って連続して設けてもよいし、部分的に設けてもよい。 As shown in Figures 10 and 12, the shape-retaining member 13 has a structure in which the joints 13a with the inner surface of the skin plate 10 and the joints 13b with the upper and lower main girders 11 are welded from the inside of the concave recess. The joints 13a are formed with a predetermined weld length, alternating left and right along the vertical direction. This is to prevent distortion of the shape-retaining member 13. However, the joints 13a may be provided only on the right or left side of the shape-retaining member 13, eliminating the need for joining. The joints 13a may be provided continuously along the vertical direction or partially. Similarly, the joints 13b may be provided continuously along the radial direction of the drilling hole or partially.

なお、形状保持部材13は、スキンプレート10の内面との接合部13aを省略し、上下の主桁11との接合部13bのみが、凹内部側から溶接されて接合された構成としてもよい。つまり、形状保持部材13をスキンプレート10に必ずしも溶接する必要がないことを意味している。これは、形状保持部材13が、鋼製土留パネル1の強度を高める目的で設けたものではなく、鋼製土留パネル1の製造時、運搬時、及び施工時において、該鋼製土留パネル1の形状を保持する目的で設けたものであり、最小限の溶接固定で十分だからである。これにより、溶接作業の手間とコストを削減でき、生産性を高めることができる。 The shape-retaining member 13 may be configured such that the joint 13a with the inner surface of the skin plate 10 is omitted, and only the joints 13b with the upper and lower main girders 11 are welded from the inside of the recess. In other words, it is not necessary to weld the shape-retaining member 13 to the skin plate 10. This is because the shape-retaining member 13 is not provided for the purpose of increasing the strength of the steel earth-retaining panel 1, but for the purpose of maintaining the shape of the steel earth-retaining panel 1 during its manufacture, transportation, and construction, and therefore minimal welding and fixing is sufficient. This reduces the effort and cost of welding work and increases productivity.

図13は、実施の形態に係る鋼製土留パネルの形状保持部材の変形例1を示した説明図である。図13に示した形状保持部材14は、例えば外径が6mm程度の鉄筋棒からなる棒状部材である。この形状保持部材14は、円弧方向に間隔をあけて複数配置される。形状保持部材14は、上下の主桁11との接合部14bのみが、凹内部側から溶接されて接合されている。なお、形状保持部材14の外径及び配置する個数は、例えば鋼製土留パネル1の大きさ及び形状等を考慮して決定される。 Figure 13 is an explanatory diagram showing modified example 1 of the shape retention member of the steel earth retaining panel according to the embodiment. The shape retention member 14 shown in Figure 13 is a rod-shaped member made of a reinforcing bar with an outer diameter of about 6 mm. A plurality of these shape retention members 14 are arranged at intervals in the arc direction. Only the joints 14b of the shape retention members 14 to the upper and lower main girders 11 are welded from the inside of the recess. The outer diameter and number of the shape retention members 14 to be arranged are determined taking into consideration, for example, the size and shape of the steel earth retaining panel 1.

図14は、実施の形態に係る鋼製土留パネルの形状保持部材の変形例2を示した説明図である。図14に示した形状保持部材15は、例えば2つの鉄筋棒15a及び15bを組み合わせて形成され、上下の主桁11の間に設けられた構成である。一方の鉄筋棒15aは一端が上部の主桁11に溶接されて固定され、他方の鉄筋棒15bは一端が下部の主桁11に溶接されて固定されている。一方の鉄筋棒15aの他端と、他方の鉄筋棒15bの他端は、互いに溶接で固定されている。形状保持部材15を2つの鉄筋棒15a及び15bで構成する理由は、上下の主桁11に間に嵌まるように長さを調整して設置するためである。なお、形状保持部材15は、図14に示すように、スキンプレート10の内面から所定の距離をあけた位置に設けてもよいが、例えばスキンプレート10の内面に近接させた位置に設けてもよい。また、形状保持部材15は、2本の鉄筋棒15a及び15bに限定されず、例えば2枚の鋼板で構成してもよい。 Figure 14 is an explanatory diagram showing a modified example 2 of the shape retention member of the steel earth retaining panel according to the embodiment. The shape retention member 15 shown in Figure 14 is formed, for example, by combining two reinforcing bars 15a and 15b, and is configured to be provided between the upper and lower main girders 11. One end of one reinforcing bar 15a is fixed by welding to the upper main girder 11, and one end of the other reinforcing bar 15b is fixed by welding to the lower main girder 11. The other end of one reinforcing bar 15a and the other end of the other reinforcing bar 15b are fixed to each other by welding. The reason why the shape retention member 15 is composed of two reinforcing bars 15a and 15b is that the length is adjusted so that it fits between the upper and lower main girders 11 and is installed. The shape retention member 15 may be provided at a position spaced a predetermined distance from the inner surface of the skin plate 10 as shown in Figure 14, but may also be provided in a position close to the inner surface of the skin plate 10, for example. Furthermore, the shape-retaining member 15 is not limited to two reinforcing bars 15a and 15b, but may be made of, for example, two steel plates.

次に、上記土留構造物100の構築工法の一例を、図15及び図16に基づいて説明する。図15は、実施の形態に係る土留構造物の構築工法の一例を模式的に示した説明図である。図16は、実施の形態に係る土留構造物における第1土留構造部の一例を示した平断面図である。図16に示す矢印は、各鋼製土留パネル1の範囲を示している。 Next, an example of a construction method for the above-mentioned earth retaining structure 100 will be described with reference to Figures 15 and 16. Figure 15 is an explanatory diagram that shows a schematic diagram of an example of a construction method for an earth retaining structure according to an embodiment. Figure 16 is a plan cross-sectional view that shows an example of a first earth retaining structure part in an earth retaining structure according to an embodiment. The arrows in Figure 16 indicate the range of each steel earth retaining panel 1.

本実施の形態に係る土留構造物100の構築工法では、第2土留構造部102を構築した後、該第2土留構造部102の下部に第1土留構造部101を構築する。先ず、図15(A)に示すように、地面200に土留構造物100を構築するための掘削孔201を形成する。掘削孔201は、土留構造物100の外径よりも例えば20cm程度の大きい外径で形成される。掘削孔201の深さは、一例として0.5m~1.5m程度である。そして、掘削孔201の壁面に沿って波付け鋼板2を環状に配置して構造体102Aを組み立てる。 In the construction method for the earth retaining structure 100 according to this embodiment, after constructing the second earth retaining structure 102, the first earth retaining structure 101 is constructed below the second earth retaining structure 102. First, as shown in FIG. 15(A), a borehole 201 for constructing the earth retaining structure 100 is formed in the ground 200. The borehole 201 is formed with an outer diameter, for example, about 20 cm larger than the outer diameter of the earth retaining structure 100. The depth of the borehole 201 is, for example, about 0.5 m to 1.5 m. Then, the structure 102A is assembled by placing the corrugated steel plate 2 in a ring shape along the wall surface of the borehole 201.

構造体102Aは、掘削孔201の壁面の周方向に沿って波付け鋼板2を順に配置し、左右に隣り合う波付け鋼板2をボルト及びナットで連結して組み立てられる。上段の構造体102Aの波付け鋼板2と、下段の構造体102Aの波付け鋼板2とは、ボルト及びナットで連結される。なお、上段の構造体102Aの波付け鋼板2と下段の構造体102Aの波付け鋼板2は、千鳥配置となるように、周方向の位置をずらして配置される。このように、構造体102Aを孔軸方向に沿って複数段積み重ねて(図示例の場合は3段)第2土留構造部102の一部が構築される。 The structure 102A is assembled by arranging the corrugated steel plates 2 in order along the circumferential direction of the wall surface of the borehole 201, and connecting adjacent corrugated steel plates 2 on the left and right with bolts and nuts. The corrugated steel plates 2 of the upper structure 102A and the corrugated steel plates 2 of the lower structure 102A are connected with bolts and nuts. The corrugated steel plates 2 of the upper structure 102A and the corrugated steel plates 2 of the lower structure 102A are arranged with their circumferential positions shifted so as to form a staggered arrangement. In this way, a part of the second retaining structure 102 is constructed by stacking the structures 102A in multiple layers (three layers in the illustrated example) along the hole axis direction.

次に、図15(B)に示すように、最上段に位置する構造体102Aを地面200に設置した井桁300で固定した後、構造体102Aの外側の掘削孔201を掘削土で埋め戻す。なお、最上段に位置する構造体102Aを地面200に固定する手段は、井桁300に限定されず、例えばコンクリートを用いてもよい。 Next, as shown in FIG. 15(B), the structure 102A located at the top is fixed to the ground 200 with a lattice 300, and then the excavation hole 201 outside the structure 102A is backfilled with excavated soil. Note that the means for fixing the structure 102A located at the top to the ground 200 is not limited to the lattice 300, and concrete may be used, for example.

そして、図15(C)に示すように、地盤を掘削しつつ、構造体102A及び101Aを組み立てて第2土留構造部102及び第1土留構造部101を構築し、所定の深度まで掘り進める。なお、最上段に位置する構造体102Aを井桁300で固定した後は、最下段の構造体102Aの下端に、掘削孔201の壁面の周方向に沿って波付け鋼板2を配置し、該波付け鋼板2を最下段の波付け鋼板2にボルト及びナットで連結するとともに、左右に隣り合う波付け鋼板2同士をボルト及びナットで連結して、構造体102Aを構築していく。また、波付け鋼板2と掘削孔201との間には、裏込注入材として、コンクリート又はモルタルが充填される。 As shown in FIG. 15(C), the ground is excavated while assembling the structures 102A and 101A to construct the second retaining structure 102 and the first retaining structure 101, and excavation is continued to a predetermined depth. After the structure 102A located at the top is fixed with the lattice 300, a corrugated steel plate 2 is placed at the bottom end of the structure 102A at the bottom along the circumferential direction of the wall surface of the excavation hole 201, and the corrugated steel plate 2 is connected to the corrugated steel plate 2 at the bottom with bolts and nuts, and adjacent corrugated steel plates 2 on the left and right are connected to each other with bolts and nuts to construct the structure 102A. In addition, concrete or mortar is filled between the corrugated steel plate 2 and the excavation hole 201 as a backfill injection material.

図15(C)に示すように、第1土留構造部101は、第2土留構造部102を構築した後、該第2土留構造部102の下端に構築される。構造体101Aは、図16に示すように、掘削孔201の壁面の周方向に沿って鋼製土留パネル1を順に配置して組み立てられる。掘削孔201の壁面に配置された鋼製土留パネル1は、上段の波付け鋼板2又は上段の鋼製土留パネル1にボルト及びナットで連結されるとともに、左右に隣り合う鋼製土留パネル1にボルト及びナットで連結される。なお、上段の波付け鋼板2又は上段の鋼製土留パネル1と下段の鋼製土留パネル1とは、千鳥配置となるように、周方向の位置をずらして配置される。このように、構造体101Aを孔軸方向に沿って複数段積み重ねて第1土留構造部101が構築される。なお、鋼製土留パネル1と掘削孔201との間には、裏込注入材として、コンクリート又はモルタルが充填される。また、各構造体101Aにおいて周方向に最後に配置される鋼製土留パネル1は、他の鋼製土留パネル1よりも、円弧方向の長さを0mm~6mm程度、より好ましくは3mm程度短くすることが好ましい。最後に配置される鋼製土留パネル1を、既に配置した左右の鋼製土留パネル1によって形成されたスペースに挿入しやすくし、組み立ての作業性を高めるためである。 As shown in FIG. 15(C), the first retaining structure 101 is constructed at the lower end of the second retaining structure 102 after the second retaining structure 102 is constructed. As shown in FIG. 16, the structure 101A is assembled by arranging the steel retaining panels 1 in order along the circumferential direction of the wall surface of the borehole 201. The steel retaining panels 1 arranged on the wall surface of the borehole 201 are connected to the upper corrugated steel plate 2 or the upper steel retaining panel 1 with bolts and nuts, and are connected to the adjacent steel retaining panels 1 on the left and right with bolts and nuts. The upper corrugated steel plate 2 or the upper steel retaining panel 1 and the lower steel retaining panel 1 are arranged with their circumferential positions shifted so as to be staggered. In this way, the first retaining structure 101 is constructed by stacking the structures 101A in a plurality of stages along the hole axis direction. In addition, concrete or mortar is filled between the steel earth retaining panel 1 and the excavation hole 201 as a backfill injection material. In addition, it is preferable that the steel earth retaining panel 1 placed last in the circumferential direction in each structure 101A has a length in the arc direction that is about 0 mm to 6 mm shorter than the other steel earth retaining panels 1, and more preferably about 3 mm shorter. This is to make it easier to insert the steel earth retaining panel 1 placed last into the space formed by the left and right steel earth retaining panels 1 that have already been placed, and to improve the workability of assembly.

なお、第2土留構造部102は、図示した4段に限定されず、1段以上あればよい。また、第1土留構造部101を構成する各構造体101Aは、図示した6つの鋼製土留パネル1で形成された構成に限定されず、6つ以外の個数で形成してもよい。また、本実施の形態に係る土留構造物100では、波付け鋼板2で構築した第2土留構造部102と、鋼製土留パネル1で構築した第1土留構造部101と、を有する構成に限定されず、図示は省略したが、鋼製土留パネル1で構築した第1土留構造部101のみで構成してもよい。 The second retaining structure 102 is not limited to the four stages shown in the figure, and may have one or more stages. Furthermore, each structure 101A constituting the first retaining structure 101 is not limited to the configuration formed by the six steel retaining panels 1 shown in the figure, and may be formed with a number other than six. Furthermore, the retaining structure 100 according to this embodiment is not limited to a configuration having the second retaining structure 102 constructed with corrugated steel plates 2 and the first retaining structure 101 constructed with steel retaining panels 1, and although not shown in the figure, it may be composed of only the first retaining structure 101 constructed with steel retaining panels 1.

図17は、実施の形態に係る鋼製土留パネルの変形例1を示した平断面図である。図18の(A)は図17に示した鋼製土留パネルの正面図、(B)は該鋼製土留パネルの左側面図である。図19は、図17に示した鋼製土留パネルを用いた土留構造物における第1土留構造部の一例を示した平断面図である。図20は、図19に示したA部の拡大図である。図21は、図19に示した土留構造物の第1土留構造部を構築する手順を模式的に示した説明図である。図22は、図19に示した土留構造物の構築工法の特徴を具体的に示した説明図である。なお、図21及び図22に示した括弧書きの数字は、鋼製土留パネル1Aのピースの番号を示している。 Figure 17 is a plan cross-sectional view showing a modified example 1 of a steel earth retaining panel according to an embodiment. Figure 18 (A) is a front view of the steel earth retaining panel shown in Figure 17, and (B) is a left side view of the steel earth retaining panel. Figure 19 is a plan cross-sectional view showing an example of a first earth retaining structure part in an earth retaining structure using the steel earth retaining panel shown in Figure 17. Figure 20 is an enlarged view of part A shown in Figure 19. Figure 21 is an explanatory diagram showing a schematic diagram of the procedure for constructing the first earth retaining structure part of the earth retaining structure shown in Figure 19. Figure 22 is an explanatory diagram showing in detail the characteristics of the construction method of the earth retaining structure shown in Figure 19. Note that the numbers in parentheses shown in Figures 21 and 22 indicate the numbers of the pieces of the steel earth retaining panel 1A.

鋼製土留パネル1Aは、図17及び図18に示すように、平面視が円弧状とされ、円弧方向における両端面が、掘削孔201の径方向に対して傾斜して形成された構成である。具体的には、鋼製土留パネル1Aは、平面視において、主桁11の円弧方向における両端部及び継手板12が、掘削孔201の径方向に対して傾斜して形成されている。つまり、図19及び図20に示すように、複数の鋼製土留パネル1Aを環状に配置して構築された構造体101Aでは、周方向に隣り合う鋼製土留パネル1Aが突き合わさる端面の組が、掘削孔201の径方向に対して傾斜して形成されている。なお、掘削孔201の径方向に対して傾斜して形成されているとは、後述するように、既に設置された左右の鋼製土留パネル1A及び1Aの間に形成されたスペースに、最後に設置される鋼製土留パネル1Aを、構造体101Aの内側から周方向にスライドさせて嵌め込むことができる程度に傾斜して形成されていることを意味する。 As shown in Figs. 17 and 18, the steel earth retaining panel 1A is arc-shaped in plan view, and both end faces in the arc direction are inclined relative to the radial direction of the excavation hole 201. Specifically, in plan view, the steel earth retaining panel 1A has both end portions in the arc direction of the main girder 11 and the joint plate 12 inclined relative to the radial direction of the excavation hole 201. In other words, as shown in Figs. 19 and 20, in a structure 101A constructed by arranging multiple steel earth retaining panels 1A in a ring shape, the pair of end faces where the steel earth retaining panels 1A adjacent in the circumferential direction butt against each other are inclined relative to the radial direction of the excavation hole 201. Incidentally, inclined relative to the radial direction of the excavation hole 201 means that the steel earth retaining panel 1A to be installed last is inclined to such an extent that it can be slid circumferentially from the inside of the structure 101A into the space formed between the already installed left and right steel earth retaining panels 1A and 1A.

図17及び図18に示した鋼製土留パネル1Aを用いて土留構造物100を構築するには、図21(A)に示すように、第6ピースの鋼製土留パネル1Aを1つ残して、第1ピースから第5ピースの鋼製土留パネル1Aを掘削孔201の壁面の周方向に沿って順に組み立てて構造体101Aの一部を構築する。第1ピースから第5ピースの鋼製土留パネル1Aは、上段の波付け鋼板2又は上段の鋼製土留パネル1Aにボルト及びナットで連結するとともに、左右に隣り合う鋼製土留パネル1A同士をボルト及びナットで連結する。 To construct an earth retaining structure 100 using the steel earth retaining panels 1A shown in Figures 17 and 18, as shown in Figure 21 (A), the first to fifth pieces of steel earth retaining panels 1A are assembled in order along the circumferential direction of the wall surface of the excavation hole 201, leaving one sixth piece of steel earth retaining panel 1A, to construct a part of the structure 101A. The first to fifth pieces of steel earth retaining panels 1A are connected to the upper corrugated steel plate 2 or the upper steel earth retaining panel 1A with bolts and nuts, and adjacent steel earth retaining panels 1A on the left and right are connected to each other with bolts and nuts.

そして、図21(B)に示すように、第1ピースの鋼製土留パネル1Aと第5ピースの鋼製土留パネル1Aとの間に形成されたスペースSに、残した第6ピースの鋼製土留パネル1Aを、構造体101Aの内側から周方向にスライドさせて挿入する。このとき、図22に示すように、第5ピースの鋼製土留パネル1Aにおける一方の継手板12に対して、第6ピースの鋼製土留パネル1Aにおける一方の継手板12をスライドさせる。第6ピースの鋼製土留パネル1Aの一端側を、第1ピースの鋼製土留パネル1Aと第5ピースの鋼製土留パネル1Aとの間のスペースSにスライドさせて挿入した後、図21(C)及び図22に示すように、第6ピースの鋼製土留パネル1Aの他端側を、構造体101Aの内側から外側(図中の矢印Xの方向)に向かって押し込み、当該スペースSに嵌め込む。そして、第6ピースの鋼製土留パネル1Aを、上段の波付け鋼板2又は鋼製土留パネル1Aにボルト及びナットで連結するとともに、左右に隣り合う鋼製土留パネル1Aにボルト及びナットで連結する。 21(B), the remaining sixth piece of steel earth retaining panel 1A is inserted into the space S formed between the first piece of steel earth retaining panel 1A and the fifth piece of steel earth retaining panel 1A by sliding it in the circumferential direction from the inside of the structure 101A. At this time, as shown in FIG. 22, one joint plate 12 of the sixth piece of steel earth retaining panel 1A is slid relative to one joint plate 12 of the fifth piece of steel earth retaining panel 1A. After one end of the sixth piece of steel earth retaining panel 1A is slid into the space S between the first piece of steel earth retaining panel 1A and the fifth piece of steel earth retaining panel 1A, as shown in FIG. 21(C) and FIG. 22, the other end of the sixth piece of steel earth retaining panel 1A is pushed from the inside of the structure 101A toward the outside (the direction of the arrow X in the figure) and fitted into the space S. Then, the sixth piece of steel retaining panel 1A is connected to the upper corrugated steel plate 2 or steel retaining panel 1A with bolts and nuts, and is also connected to the adjacent steel retaining panels 1A on the left and right with bolts and nuts.

図17及び図18に示した鋼製土留パネル1A及び該鋼製土留パネル1Aを用いた土留構造物100では、平面視が円弧状とされ、円弧方向における両端面が、掘削孔201の径方向に対して傾斜して形成された鋼製土留パネル1Aを用いているので、最後に設置される鋼製土留パネル1Aを、既に設置された左右の鋼製土留パネル1Aの間に形成されたスペースSに、構造体101Aの内側から周方向にスライドさせて嵌め込むことができ、施工性を向上させることができる。 The steel earth retaining panel 1A and the earth retaining structure 100 using the steel earth retaining panel 1A shown in Figures 17 and 18 use a steel earth retaining panel 1A that is arc-shaped when viewed from above and has both end faces in the arc direction that are inclined relative to the radial direction of the excavation hole 201. This allows the last steel earth retaining panel 1A to be installed to be slid circumferentially from the inside of the structure 101A into the space S formed between the left and right steel earth retaining panels 1A that have already been installed, improving workability.

なお、構造体101Aを形成する鋼製土留パネル1Aは、図19に示すように、周方向に隣り合う鋼製土留パネル1Aが突き合わさる端面の組のうち、すべての組が掘削孔201の径方向に対して傾斜して形成された構成としてもよいし、図示することは省略したが、少なくとも1つ以上の組が、掘削孔201の径方向に対して傾斜して形成された構成としてもよい。 The steel retaining panels 1A forming the structure 101A may be configured such that, as shown in FIG. 19, all pairs of end faces where adjacent steel retaining panels 1A in the circumferential direction butt together are inclined relative to the radial direction of the excavation hole 201, or, although not shown in the figure, at least one or more pairs may be configured to be inclined relative to the radial direction of the excavation hole 201.

図23は、実施の形態に係る鋼製土留パネルの変形例2を示した平面図である。図24は、図23に示した鋼製土留パネルの左側面の拡大図である。図25は、図23に示した鋼製土留パネルを用いた土留構造物の要部を模式的に示した拡大図である。 Figure 23 is a plan view showing modified example 2 of the steel earth retaining panel according to the embodiment. Figure 24 is an enlarged view of the left side of the steel earth retaining panel shown in Figure 23. Figure 25 is an enlarged view showing a schematic of the main parts of the earth retaining structure using the steel earth retaining panel shown in Figure 23.

図23~図25に示す鋼製土留パネル1Bのように、上下の主桁11は、その外端縁11cがスキンプレート10の外面よりも掘削孔201の壁面に向かって突き出すように設けてもよい。ここで言う外端縁11cとは、スキンプレート10の外面よりも掘削孔201の壁面に向かって突き出している部分をいう。主桁11の外端縁11cの突き出す長さは、一例として25mm程度である。上下の主桁11の外端縁11cと、スキンプレート10の外面とで、土留構造物100の外面と掘削孔201との間に充填される裏込注入材202が入り込む凹状のスペースSが形成される。つまり、鋼製土留パネル1Bは、凹状のスペースSによって、掘削孔201の壁面と鋼製土留パネル1Bとの間に充填されて硬化した裏込注入材202が引っ掛かる定着代を形成することができ、裏込注入材202の定着性を高めることができる。 As shown in Figures 23 to 25, the upper and lower main girders 11 may be provided so that their outer edges 11c protrude toward the wall surface of the excavation hole 201 beyond the outer surface of the skin plate 10. The outer edges 11c here refer to the parts that protrude toward the wall surface of the excavation hole 201 beyond the outer surface of the skin plate 10. The protruding length of the outer edges 11c of the main girders 11 is, for example, about 25 mm. The outer edges 11c of the upper and lower main girders 11 and the outer surface of the skin plate 10 form a concave space S into which the backfill injection material 202 filled between the outer surface of the earth retaining structure 100 and the excavation hole 201 enters. In other words, the steel earth retaining panel 1B can form a fixing allowance for the backfill injection material 202 filled and hardened between the wall surface of the excavation hole 201 and the steel earth retaining panel 1B to be caught by the concave space S, thereby improving the fixing ability of the backfill injection material 202.

なお、図示することは省略したが、鋼製土留パネル1Bは、上部の主桁11及び下部の主桁11のうち、いずれか一方の外端縁11cが、スキンプレート10の外面よりも掘削孔201の壁面に向かって突き出すように構成してもよい。この場合であっても、該突き出した主桁11の外端縁11cとスキンプレート10の外面とで、凹状のスペースSが形成されるので、掘削孔201の壁面と鋼製土留パネル1Bとの間に充填されて硬化した裏込注入材202が引っ掛かる定着代を形成することができ、裏込注入材202の定着性を高めることができる。 Although not shown in the figures, the steel retaining panel 1B may be configured so that the outer edge 11c of either the upper or lower main girder 11 protrudes toward the wall surface of the excavation hole 201 beyond the outer surface of the skin plate 10. Even in this case, a concave space S is formed between the outer edge 11c of the protruding main girder 11 and the outer surface of the skin plate 10, so that a fixing space can be formed on which the backfill injection material 202 filled and hardened between the wall surface of the excavation hole 201 and the steel retaining panel 1B can be caught, thereby improving the fixing property of the backfill injection material 202.

また、図23~図25に示した鋼製土留パネル1Bの特徴は、図17及び図18に示した鋼製土留パネル1Aの形状に適用した場合を示しているが、図6~図8に示した鋼製土留パネル1の形状に適用することもできる。 The features of the steel earth retaining panel 1B shown in Figures 23 to 25 are shown when applied to the shape of the steel earth retaining panel 1A shown in Figures 17 and 18, but can also be applied to the shape of the steel earth retaining panel 1 shown in Figures 6 to 8.

図26は、実施の形態に係る土留構造物の変形例を模式的に示した斜視図である。図27は、実施の形態に係る鋼製土留パネルの変形例を示した斜視図である。 Figure 26 is a perspective view showing a modified example of an earth retaining structure according to the embodiment. Figure 27 is a perspective view showing a modified example of a steel earth retaining panel according to the embodiment.

本実施の形態に係る土留構造物100は、図1に示した平面視において円形状とした構成に限定されない。土留構造物100は、図26に示すように、地面を掘削して形成された鉛直の掘削孔に波付け鋼板2と鋼製土留パネル1Cを設置して、平面視が矩形状に構築された構成としてもよい。具体的には、土留構造物100は、平面視が直線状の波付け鋼板2が矩形状に配置されて形成された構造体102Aを、孔軸方向に4段積み重ねて構築された第2土留構造部102と、平面視が直線状の鋼製土留パネル1Cが矩形状に配置されて形成された構造体101Aを、孔軸方向に2段積み重ねて構築された第1土留構造部101と、を有している。第2土留構造部102は、波付け鋼板2を千鳥状に配置して組み立てられている。また、第1土留構造部101も、鋼製土留パネル1を千鳥状に配置して組み立てられている。図26に示す波付け鋼板2は、図4及び図5に示したプランクプレート2Bを用いているが、図2及び図3に示したライナープレート2Aを用いてもよい。なお、第1土留構造部101及び第2土留構造部102の段数は、図示した構成に限定されず、それぞれ少なくとも1段以上あればよい。また、図26に示した各構造体102A及び101Aを構成する波付け鋼板2及び鋼製土留パネル1Cの個数は、一例である。 The earth retaining structure 100 according to this embodiment is not limited to the circular shape in plan view shown in FIG. 1. The earth retaining structure 100 may be constructed in a rectangular shape in plan view by installing a corrugated steel plate 2 and a steel earth retaining panel 1C in a vertical excavation hole formed by excavating the ground, as shown in FIG. 26. Specifically, the earth retaining structure 100 has a second earth retaining structure 102 constructed by stacking four structures 102A formed by arranging the corrugated steel plate 2 in a rectangular shape in plan view in the hole axis direction, and a first earth retaining structure 101 constructed by stacking two structures 101A formed by arranging the steel earth retaining panels 1C in a rectangular shape in plan view in the hole axis direction. The second earth retaining structure 102 is assembled by arranging the corrugated steel plate 2 in a staggered manner. The first earth retaining structure 101 is also assembled by arranging the steel earth retaining panels 1 in a staggered manner. The corrugated steel plate 2 shown in FIG. 26 uses the plank plate 2B shown in FIG. 4 and FIG. 5, but the liner plate 2A shown in FIG. 2 and FIG. 3 may also be used. The number of stages of the first retaining structure 101 and the second retaining structure 102 is not limited to the configuration shown in the figure, and each may have at least one stage. Also, the number of corrugated steel plates 2 and steel retaining panels 1C that make up each structure 102A and 101A shown in FIG. 26 is one example.

鋼製土留パネル1Cは、図27に示すように、掘削孔の壁面に面する平板状のスキンプレート10と、スキンプレート10の上端及び下端に設けられて上面及び下面を形成する平板状の主桁11と、スキンプレート10の左右の両端に設けられて左右の側面を形成する継手板12と、を有している。鋼製土留パネル1Cは、掘削孔201の内部に向かって開口する凹状に形成された構成である。スキンプレート10、主桁11及び継手板12は、それぞれ溶接で固定されている。なお、拡大して図示することは省略したが、図26に示した第1土留構造部101の矩形の角部には、L字形に加工したコーナー部用の鋼製土留パネル1Cが配置されている。 As shown in FIG. 27, the steel earth retaining panel 1C has a flat skin plate 10 facing the wall of the excavation hole, flat main girders 11 provided at the upper and lower ends of the skin plate 10 to form the upper and lower surfaces, and joint plates 12 provided at both left and right ends of the skin plate 10 to form the left and right side surfaces. The steel earth retaining panel 1C is configured to be concave and open toward the inside of the excavation hole 201. The skin plate 10, main girders 11, and joint plates 12 are each fixed by welding. Although not shown enlarged, an L-shaped steel earth retaining panel 1C for the corner portion is placed at the rectangular corner of the first earth retaining structure 101 shown in FIG. 26.

このように、本実施の形態に係る土留構造物100は、波付け鋼板2及び鋼製土留パネル1Cの形状を変形させることで、種々の形状に構築することができる。なお、土留構造物100は、図1に示す円形状及び図26に示す矩形状に限定されず、例えば平面視において、小判のような形をした長円形状や、馬蹄形のようにU字状等でもよい。波付け鋼板2及び鋼製土留パネル1Cは、土留構造物100の形状に応じた形状で構成するものとする。 In this way, the retaining structure 100 according to this embodiment can be constructed in various shapes by modifying the shape of the corrugated steel plate 2 and the steel retaining panel 1C. The retaining structure 100 is not limited to the circular shape shown in FIG. 1 and the rectangular shape shown in FIG. 26, but may be, for example, an oval shape like an oval coin in plan view, or a U-shape like a horseshoe. The corrugated steel plate 2 and the steel retaining panel 1C are configured in a shape that corresponds to the shape of the retaining structure 100.

以上のように、本実施の形態に係る鋼製土留パネル1は、掘削孔201の壁面に面するスキンプレート10と、スキンプレート10の上端及び下端に設けられ、上面及び下面を形成する主桁11と、スキンプレート10の左右の両端に設けられ、左右の側面を形成する継手板12と、を備えている。鋼製土留パネル1は、掘削孔201の内部に向かって開口する凹状に形成されており、スキンプレート10と主桁11との接合部10a、及びスキンプレート10と継手板12との接合部10bのうち、いずれか一方又は双方が、凹状の凹内部側から溶接されて接合された構成である。よって、本実施の形態に係る鋼製土留パネル1は、鋼製土留パネル1の外面側から溶接する作業の一部又は全部を省略することができるので、溶接作業の作業効率を高めることができ、製造の手間とコストを軽減することができる。 As described above, the steel earth retaining panel 1 according to this embodiment includes a skin plate 10 facing the wall surface of the excavation hole 201, a main girder 11 provided at the upper and lower ends of the skin plate 10 to form the upper and lower surfaces, and a joint plate 12 provided at both the left and right ends of the skin plate 10 to form the left and right side surfaces. The steel earth retaining panel 1 is formed in a concave shape that opens toward the inside of the excavation hole 201, and either or both of the joint portion 10a between the skin plate 10 and the main girder 11 and the joint portion 10b between the skin plate 10 and the joint plate 12 are welded and joined from the inside of the concave shape. Therefore, the steel earth retaining panel 1 according to this embodiment can omit part or all of the welding work from the outer surface side of the steel earth retaining panel 1, thereby improving the work efficiency of the welding work and reducing the manufacturing effort and cost.

また、主桁11と継手板12との接合部10cは、凹状の凹内部側から溶接されて接合された構成である。よって、本実施の形態に係る鋼製土留パネル1は、鋼製土留パネル1の外面側から溶接する作業の一部又は全部を省略することができるので、溶接作業の作業効率を高めることができ、製造の手間とコストを軽減することができる。 The joint 10c between the main girder 11 and the joint plate 12 is welded from the inside of the concave shape. Therefore, the steel retaining panel 1 according to this embodiment can omit some or all of the welding work from the outer surface side of the steel retaining panel 1, which can increase the efficiency of the welding work and reduce the manufacturing effort and cost.

また、鋼製土留パネル1は、上下の主桁11の間に設けられ、凹状の形状を保持する形状保持部材13を備えている。よって、本実施の形態に係る鋼製土留パネル1及び該鋼製土留パネル1を用いた土留構造物100では、製造時、運搬時、及び施工時において、該鋼製土留パネル1の形状を保持することができるので、施工性を向上させることができ、工期の短縮に寄与することができる。 The steel earth retaining panel 1 is also provided with a shape retaining member 13 that is provided between the upper and lower main girders 11 and that maintains the concave shape. Therefore, in the steel earth retaining panel 1 according to this embodiment and the earth retaining structure 100 that uses the steel earth retaining panel 1, the shape of the steel earth retaining panel 1 can be maintained during manufacturing, transportation, and construction, improving workability and contributing to shortening the construction period.

また、形状保持部材13は、板状部材又は棒状部材とされ、主桁11にのみ溶接されて固定されている。これは、形状保持部材13が、鋼製土留パネル1の強度を高める目的で設けたものではなく、鋼製土留パネル1の製造時、運搬時、及び施工時において、該鋼製土留パネル1の形状を保持する目的で設けたものであり、最小限の溶接固定で十分だからである。よって、本実施の形態に係る鋼製土留パネル1は、溶接作業の手間とコストを削減でき、生産性を高めることができる。 The shape-retaining members 13 are plate- or rod-shaped members, and are welded and fixed only to the main girder 11. This is because the shape-retaining members 13 are not provided for the purpose of increasing the strength of the steel earth-retaining panel 1, but for the purpose of maintaining the shape of the steel earth-retaining panel 1 during its manufacture, transportation, and construction, and therefore minimal welding and fixing is sufficient. Therefore, the steel earth-retaining panel 1 of this embodiment can reduce the effort and cost of welding work and increase productivity.

また、形状保持部材15は、2つの部材15a及び15bを組み合わせて形成されている。形状保持部材15は、一方の部材15aの一端が一方の主桁11に固定され、他方の部材15bの一端が他方の主桁11に固定されており、一方の部材15aと他方の部材15bの他端同士が固定されて、上下の主桁11の間に設けられている。つまり、形状保持部材15は、上下の主桁11に間に嵌まるように長さを調整して設置することができる。よって、本実施の形態に係る鋼製土留パネル1は、土留構造物100の施工性の向上に寄与することができる。 The shape-retaining member 15 is formed by combining two members 15a and 15b. One end of the member 15a is fixed to one main girder 11, and one end of the member 15b is fixed to the other main girder 11, and the other ends of the member 15a and the member 15b are fixed to each other, and the shape-retaining member 15 is provided between the upper and lower main girders 11. In other words, the length of the shape-retaining member 15 can be adjusted and installed so that it fits between the upper and lower main girders 11. Therefore, the steel earth-retaining panel 1 according to this embodiment can contribute to improving the workability of the earth-retaining structure 100.

以上に、鋼製土留パネル(1、1A、1B、1C)及び土留構造物100を実施の形態に基づいて説明したが、鋼製土留パネル(1、1A、1B、1C)及び土留構造物100は、上述した実施の形態の構成に限定されるものではない。例えば図15に基づいて説明した土留構造物100の構築工法は、一例であって、上記実施の形態に限定されない。また、形状保持部材(13、14、15)は、図示した構成に限定されず、鋼製土留パネル1の形状を保持することができれば、どのような部材を用いてもよく、どのような構成でもよい。要するに、鋼製土留パネル(1、1A、1B、1C)及び土留構造物100は、その技術的思想を逸脱しない範囲において、当業者が通常に行う設計変更及び応用のバリエーションの範囲を含むものである。 Although the steel earth retaining panels (1, 1A, 1B, 1C) and the earth retaining structure 100 have been described above based on the embodiment, the steel earth retaining panels (1, 1A, 1B, 1C) and the earth retaining structure 100 are not limited to the configuration of the above-mentioned embodiment. For example, the construction method of the earth retaining structure 100 described based on FIG. 15 is one example and is not limited to the above-mentioned embodiment. In addition, the shape retaining members (13, 14, 15) are not limited to the configuration shown in the figure, and any member may be used and any configuration may be used as long as the shape of the steel earth retaining panel 1 can be maintained. In short, the steel earth retaining panels (1, 1A, 1B, 1C) and the earth retaining structure 100 include the range of design changes and application variations that are normally made by a person skilled in the art, within the scope of their technical concept.

1、1A、1B、1C 鋼製土留パネル、2 波付け鋼板、2A ライナープレート、2B プランクプレート、10 スキンプレート、10a、10b、10c 接合部、11 主桁、11a 連結孔、11b 抉り孔、11c 外端縁、12 継手板、12a 連結孔、12b 抉り孔、13 形状保持部材、13a、13b 接合部、14 形状保持部材、14b 接合部、15 形状保持部材、15a、15b 鉄筋棒(部材)、20 周方向フランジ部、20a 連結孔、21 軸方向フランジ部、21a 連結孔、100 土留構造物、101 第1土留構造部、101A 構造体、102 第2土留構造部、102A 構造体、200 地面、201 掘削孔、202 裏込注入材、300 井桁、S スペース。 1, 1A, 1B, 1C Steel retaining panel, 2 Corrugated steel plate, 2A Liner plate, 2B Plank plate, 10 Skin plate, 10a, 10b, 10c Joint, 11 Main girder, 11a Connection hole, 11b Drilled hole, 11c Outer edge, 12 Joint plate, 12a Connection hole, 12b Drilled hole, 13 Shape retaining member, 13a, 13b Joint, 14 Shape retaining member, 14b Joint, 15 Shape retaining member, 15a, 15b Reinforcement bar (member), 20 Circumferential flange, 20a Connection hole, 21 Axial flange, 21a Connection hole, 100 Retaining structure, 101 First retaining structure, 101A Structure, 102 Second retaining structure, 102A Structure, 200 Ground, 201 borehole, 202 backfill injection material, 300 grid, S space.

Claims (5)

地面を掘削して形成された掘削孔に設置されて土留構造物を構築するために用いられる鋼製土留パネルであって、
前記掘削孔の壁面に面するスキンプレートと、
前記スキンプレートの上端及び下端に設けられ、上面及び下面を形成する主桁と、
前記スキンプレートの左右の両端に設けられ、左右の側面を形成する継手板と、を備え、
前記掘削孔の内部に向かって開口する凹状に形成されており、前記スキンプレートと前記主桁との接合部、及び前記スキンプレートと前記継手板との接合部のうち、いずれか一方又は双方が、前記凹状の凹内部側から溶接されて接合された構成であり、
上下の前記主桁の間に設けられ、前記凹状の形状を保持する形状保持部材を更に備え、
前記形状保持部材と前記スキンプレートとの接合部は、前記凹状の凹内部側から溶接されて接合された構成であり、
前記形状保持部材と前記スキンプレートとの接合部は、上下方向に沿って左右交互に形成されている、鋼製土留パネル。
A steel earth retaining panel used to construct an earth retaining structure by being installed in a borehole formed by excavating the ground,
A skin plate facing a wall surface of the borehole;
A main girder provided at the upper end and the lower end of the skin plate and forming an upper surface and a lower surface;
A joint plate is provided at both left and right ends of the skin plate to form left and right side surfaces,
The borehole is formed in a concave shape that opens toward the inside of the borehole, and one or both of the joint between the skin plate and the main girder and the joint between the skin plate and the joint plate are welded and joined from the concave inner side of the concave shape ,
Further, a shape retention member is provided between the upper and lower main beams and retains the concave shape,
The joint between the shape-retaining member and the skin plate is configured to be joined by welding from the concave inner side of the concave shape,
A steel retaining panel, in which the joints between the shape retention member and the skin plate are formed alternately left and right along the vertical direction.
前記主桁と前記継手板との接合部は、前記凹状の凹内部側から溶接されて接合された構成である、請求項1に記載の鋼製土留パネル。 The steel retaining panel according to claim 1, in which the joint between the main girder and the joint plate is welded from the inside of the recess. 前記形状保持部材は、2つの部材を組み合わせて形成されており、一方の部材の一端が一方の主桁に固定され、他方の部材の一端が他方の主桁に固定されており、一方の部材と他方の部材の他端同士が固定されて、一対の前記主桁の間に設けられている、請求項又はに記載の鋼製土留パネル。 The shape retention member is formed by combining two members, one end of one member is fixed to one main girder and one end of the other member is fixed to the other main girder, and the other ends of the one member and the other member are fixed to each other, and the shape retention member is disposed between a pair of the main girders.A steel earth retaining panel as described in claim 1 or 2 . 地面を掘削して形成された掘削孔に、複数の鋼製土留パネルを設置して構築される土留構造物であって、
前記掘削孔の壁面に沿って、複数の前記鋼製土留パネルを配置して形成された構造体が、孔軸方向に少なくとも1段以上構築された第1土留構造部を備え、
複数の前記鋼製土留パネルは、請求項1~のいずれか一項に記載の鋼製土留パネルを少なくとも1つ有している、土留構造物。
A retaining structure constructed by installing a plurality of steel retaining panels in a borehole formed by excavating the ground,
A structure formed by arranging a plurality of the steel earth retaining panels along the wall surface of the borehole includes a first earth retaining structure portion constructed in at least one stage in the hole axial direction;
A retaining structure, wherein the plurality of steel retaining panels include at least one steel retaining panel according to any one of claims 1 to 3 .
前記掘削孔の壁面に沿って、複数の波付け鋼板を配置して形成された構造体が、孔軸方向に少なくとも1段以上構築された第2土留構造部を更に備えており、
前記第1土留構造部は、前記第2土留構造部の下方に構築されている、請求項に記載の土留構造物。
A structure formed by arranging a plurality of corrugated steel plates along the wall surface of the borehole further includes a second retaining structure constructed in at least one stage in the hole axial direction,
The earth retaining structure according to claim 4 , wherein the first earth retaining structural portion is constructed below the second earth retaining structural portion.
JP2021028682A 2021-02-25 2021-02-25 Steel earth retaining panel and earth retaining structure using said steel earth retaining panel Active JP7543170B2 (en)

Priority Applications (1)

Application Number Priority Date Filing Date Title
JP2021028682A JP7543170B2 (en) 2021-02-25 2021-02-25 Steel earth retaining panel and earth retaining structure using said steel earth retaining panel

Applications Claiming Priority (1)

Application Number Priority Date Filing Date Title
JP2021028682A JP7543170B2 (en) 2021-02-25 2021-02-25 Steel earth retaining panel and earth retaining structure using said steel earth retaining panel

Publications (2)

Publication Number Publication Date
JP2022129843A JP2022129843A (en) 2022-09-06
JP7543170B2 true JP7543170B2 (en) 2024-09-02

Family

ID=83150672

Family Applications (1)

Application Number Title Priority Date Filing Date
JP2021028682A Active JP7543170B2 (en) 2021-02-25 2021-02-25 Steel earth retaining panel and earth retaining structure using said steel earth retaining panel

Country Status (1)

Country Link
JP (1) JP7543170B2 (en)

Families Citing this family (1)

* Cited by examiner, † Cited by third party
Publication number Priority date Publication date Assignee Title
JP7685904B2 (en) * 2021-08-11 2025-05-30 Jfe建材株式会社 Earth retaining structure

Citations (2)

* Cited by examiner, † Cited by third party
Publication number Priority date Publication date Assignee Title
JP2006159581A (en) 2004-12-07 2006-06-22 Nippon Steel Corp Synthetic segment manufacturing method and synthetic segment
JP2021000749A (en) 2019-06-21 2021-01-07 大東工機株式会社 Segment production method, and segment production system

Family Cites Families (3)

* Cited by examiner, † Cited by third party
Publication number Priority date Publication date Assignee Title
JPS5164440A (en) * 1974-12-02 1976-06-03 Kawasaki Steel Co Naraiyosetsuhoho oyobi naraiyosetsusochi
JPH09268873A (en) * 1996-04-01 1997-10-14 Nippon Steel Metal Prod Co Ltd Liner plate and its assembly method
JPH09273377A (en) * 1996-04-04 1997-10-21 Nippon Kokan Light Steel Kk Segment for shaft ring

Patent Citations (2)

* Cited by examiner, † Cited by third party
Publication number Priority date Publication date Assignee Title
JP2006159581A (en) 2004-12-07 2006-06-22 Nippon Steel Corp Synthetic segment manufacturing method and synthetic segment
JP2021000749A (en) 2019-06-21 2021-01-07 大東工機株式会社 Segment production method, and segment production system

Also Published As

Publication number Publication date
JP2022129843A (en) 2022-09-06

Similar Documents

Publication Publication Date Title
JP4943218B2 (en) Steel material for underground continuous wall, underground continuous wall, and method for constructing underground continuous wall
KR200452946Y1 (en) Welded H type steel sheet pile and integrated composite order wall
JP7543170B2 (en) Steel earth retaining panel and earth retaining structure using said steel earth retaining panel
JP7543164B2 (en) Earth retaining structures
JP6070118B2 (en) Retaining wall structure, method for constructing retaining wall structure
JP7543163B2 (en) Steel earth retaining panel and earth retaining structure using said steel earth retaining panel
JP2022078398A (en) Corrugated steel plate, and wall structure
JP7588526B2 (en) Steel earth retaining panel and earth retaining structure using said steel earth retaining panel
JP7634399B2 (en) Earth retaining structures
JP7543162B2 (en) Steel earth retaining panel, earth retaining structure using said steel earth retaining panel, and construction method for said earth retaining structure
KR101275468B1 (en) The structure assembly for building a tunnel and building method thereof
JP7706344B2 (en) Earth retaining panel and earth retaining structure using said earth retaining panel
JP7653798B2 (en) Corrugated steel plate and earth retaining structure using said corrugated steel plate
JP7706342B2 (en) Earth retaining panel
JP2024042759A (en) Earth retaining panel, earth retaining structure, and construction method for earth retaining structure
JP7149868B2 (en) Synthetic segments, toroids, structures and skin plates
JP7219529B2 (en) Combination structure of steel materials, shoring structure and construction method
KR101238640B1 (en) Pre-founded Column having Bearing-Shear Band for Top-Down or Common Construction
JP2024075832A (en) Earth retaining panel, earth retaining structure using earth retaining panel, and method for manufacturing earth retaining panel
JP2025093549A (en) Earth retaining panel
JP2024075856A (en) Earth retaining panel
JP2024051658A (en) Earth retaining panel, earth retaining structure, and construction method for earth retaining structure
JP2024051659A (en) Earth retaining panel, earth retaining structure, and construction method for earth retaining structure
KR101797982B1 (en) Pipe structure with reinforcing bar and construction method of concrete file using the same
JP3921380B2 (en) Construction method of underground structure and its reinforcement structure

Legal Events

Date Code Title Description
A80 Written request to apply exceptions to lack of novelty of invention

Free format text: JAPANESE INTERMEDIATE CODE: A80

Effective date: 20210308

A621 Written request for application examination

Free format text: JAPANESE INTERMEDIATE CODE: A621

Effective date: 20231101

A977 Report on retrieval

Free format text: JAPANESE INTERMEDIATE CODE: A971007

Effective date: 20240516

A131 Notification of reasons for refusal

Free format text: JAPANESE INTERMEDIATE CODE: A131

Effective date: 20240521

A521 Request for written amendment filed

Free format text: JAPANESE INTERMEDIATE CODE: A523

Effective date: 20240722

TRDD Decision of grant or rejection written
A01 Written decision to grant a patent or to grant a registration (utility model)

Free format text: JAPANESE INTERMEDIATE CODE: A01

Effective date: 20240806

A61 First payment of annual fees (during grant procedure)

Free format text: JAPANESE INTERMEDIATE CODE: A61

Effective date: 20240821

R150 Certificate of patent or registration of utility model

Ref document number: 7543170

Country of ref document: JP

Free format text: JAPANESE INTERMEDIATE CODE: R150