JP7543162B2 - Steel earth retaining panel, earth retaining structure using said steel earth retaining panel, and construction method for said earth retaining structure - Google Patents

Steel earth retaining panel, earth retaining structure using said steel earth retaining panel, and construction method for said earth retaining structure Download PDF

Info

Publication number
JP7543162B2
JP7543162B2 JP2021026188A JP2021026188A JP7543162B2 JP 7543162 B2 JP7543162 B2 JP 7543162B2 JP 2021026188 A JP2021026188 A JP 2021026188A JP 2021026188 A JP2021026188 A JP 2021026188A JP 7543162 B2 JP7543162 B2 JP 7543162B2
Authority
JP
Japan
Prior art keywords
steel
earth retaining
retaining
panel
retaining panel
Prior art date
Legal status (The legal status is an assumption and is not a legal conclusion. Google has not performed a legal analysis and makes no representation as to the accuracy of the status listed.)
Active
Application number
JP2021026188A
Other languages
Japanese (ja)
Other versions
JP2022127939A (en
Inventor
省吾 長岡
馨 松岡
翔悟 原
Current Assignee (The listed assignees may be inaccurate. Google has not performed a legal analysis and makes no representation or warranty as to the accuracy of the list.)
JFE Metal Products and Engineering Inc
Original Assignee
JFE Metal Products and Engineering Inc
Priority date (The priority date is an assumption and is not a legal conclusion. Google has not performed a legal analysis and makes no representation as to the accuracy of the date listed.)
Filing date
Publication date
Application filed by JFE Metal Products and Engineering Inc filed Critical JFE Metal Products and Engineering Inc
Priority to JP2021026188A priority Critical patent/JP7543162B2/en
Publication of JP2022127939A publication Critical patent/JP2022127939A/en
Application granted granted Critical
Publication of JP7543162B2 publication Critical patent/JP7543162B2/en
Active legal-status Critical Current
Anticipated expiration legal-status Critical

Links

Images

Landscapes

  • Pit Excavations, Shoring, Fill Or Stabilisation Of Slopes (AREA)

Description

特許法第30条第2項適用 令和2年11月10日に株式会社交通建設 府中支店 会議室にて説明を行った。Application of Article 30, Paragraph 2 of the Patent Act. An explanation was given in the conference room of Kotsu Kensetsu Co., Ltd.'s Fuchu Branch on November 10, 2020.

特許法第30条第1項適用 令和3年1月25日に東京都清瀬市下宿2-553付近にて工法の施工を実施した。Application of Article 30, Paragraph 1 of the Patent Act The construction method was carried out on January 25, 2021 near Shimojuku 2-553, Kiyose City, Tokyo.

本発明は、鋼製土留パネル、該鋼製土留パネルを用いた土留構造物、及び該土留構造物の構築工法に関する。 The present invention relates to a steel retaining panel, a retaining structure using the steel retaining panel, and a construction method for the retaining structure.

従来、例えば特許文献1に開示されているように、地面を掘削して形成された鉛直の掘削孔に波付け鋼板を組み立てて構築された土留構造物が知られている。土留構造物は、掘削孔の壁面に沿って波付け鋼板をリング状に配置して形成された環状体を、孔軸方向に積み重ねて構築される。 As disclosed in Patent Document 1, for example, there is a known earth retaining structure constructed by assembling corrugated steel plates in a vertical borehole formed by excavating the ground. The earth retaining structure is constructed by stacking annular bodies formed by arranging corrugated steel plates in a ring shape along the wall surface of the borehole in the axial direction of the hole.

土留構造物は、掘削孔の深度が深くなるにつれて地山側からの土圧が大きくなり、波付け鋼板だけでは剛性が足りない場合がある。また、孔軸方向の深度が深くなるにつれて、上方に配置された環状体の自重が下方に配置された環状体に作用する。このため、土留構造物では、深度が深い箇所において、上下に隣り合う波付け鋼板の間に補強リングと呼ばれるH形鋼を挟み込み剛性を高めている。 As the depth of an excavation hole increases, the earth pressure from the ground increases, and corrugated steel plates alone may not be strong enough. Also, as the hole axial depth increases, the weight of the rings placed above acts on the rings placed below. For this reason, in soil retaining structures, H-shaped steel called reinforcing rings are sandwiched between adjacent corrugated steel plates above and below in deep places to increase the rigidity.

しかしながら、補強リングの施工は、煩雑で手間が掛かるため、工期が長引き工費が嵩む問題がある。そのため、補強リングを省略できる土留構造物の構築が望まれている。例えば土圧が小さく補強リングが不要である掘削孔の深度が浅い部分には、円弧状の波付け鋼板で環状体を構築し、土圧が大きく補強リングが必要となる掘削孔の深度が深い部分では、円弧状の鋼製土留パネルで環状体を構築することが考えられる。鋼製土留パネルは、波付け鋼板よりも剛性が高い製品である。鋼製土留パネルは、例えば掘削孔の壁面に面する円弧状のスキンプレートと、スキンプレートの上端及び下端に設けられ、上面及び下面を形成する円弧状の主桁と、スキンプレートの円弧方向における両端に設けられ、円弧方向の両端面を形成する継手板と、を有する構成である。 However, the construction of the reinforcing rings is complicated and time-consuming, which lengthens the construction period and increases the construction costs. Therefore, there is a demand for the construction of an earth retaining structure that can omit the reinforcing rings. For example, in the shallow part of the excavation hole where the earth pressure is small and a reinforcing ring is not necessary, a ring-shaped body can be constructed with an arc-shaped corrugated steel plate, and in the deep part of the excavation hole where the earth pressure is large and a reinforcing ring is necessary, a ring-shaped body can be constructed with an arc-shaped steel earth retaining panel. The steel earth retaining panel is a product with higher rigidity than the corrugated steel plate. The steel earth retaining panel is configured to have, for example, an arc-shaped skin plate that faces the wall surface of the excavation hole, arc-shaped main girders that are provided at the upper and lower ends of the skin plate and form the upper and lower surfaces, and joint plates that are provided at both ends in the arc direction of the skin plate and form both end faces in the arc direction.

特開2020-066845号公報JP 2020-066845 A

円弧状の波付け鋼板を用いてリング状の環状体を構築する場合、掘削孔の壁面の周方向に沿って複数の波付け鋼板を順に配置し、隣り合う波付け鋼板同士を連結する。このとき、壁面の周方向において最後に配置される波付け鋼板は、既に設置した左右の波付け鋼板の間のスペースに、環状体の内側から外側に向かって嵌め込むように設置される。波付け鋼板は、板厚が薄く円弧の内径面と外径面の寸法差が小さいため、既に設置した左右の波付け鋼板の間のスペースに、環状体の内側から外側に向かって容易に嵌め込むことができる。 When constructing a ring-shaped annular body using arc-shaped corrugated steel plates, multiple corrugated steel plates are arranged in sequence along the circumferential direction of the wall surface of the borehole, and adjacent corrugated steel plates are connected to each other. At this time, the corrugated steel plate arranged last along the circumferential direction of the wall surface is installed so as to fit from the inside to the outside of the annular body into the space between the left and right corrugated steel plates already installed. Since the corrugated steel plate is thin and the dimensional difference between the inner diameter surface and the outer diameter surface of the arc is small, it can be easily fitted from the inside to the outside of the annular body into the space between the left and right corrugated steel plates already installed.

一方、円弧状の鋼製土留パネルを用いてリング状の環状体を構築する場合においても、掘削孔の壁面の周方向に沿って複数の鋼製土留パネルに順に配置し、隣り合う鋼製土留パネルを連結する。このとき、壁面の周方向において最後に配置される鋼製土留パネルは、既に設置した左右の鋼製土留パネルの間のスペースに、環状体の内側から外側に向かって嵌め込むことができない。鋼製土留パネルは、主桁の桁高が大きく、円弧の内径側と外径側とで寸法差が大きいため、既に設置した左右の鋼製土留パネルの間のスペースに、環状体の内側から外側に向かって嵌め込もうとすると、外面の両端が左右の鋼製土留パネルの内面に突き当たってしまうからである。そこで、当該スペースの周囲の壁面を拡張掘削し、できた拡張空間を利用して環状体の外側から内側に向かって、鋼製土留パネルをスペースに嵌め込む方法が採用されている。当該孔は、最後の鋼製土留パネルを設置した後に埋め戻される。このように、鋼製土留パネルを用いてリング状の環状体を構築する場合においても、最後の鋼製土留パネルを設置するための孔を壁面に形成する必要があるので、施工が煩雑で手間が掛かり、工期が長引き工費が嵩む問題がある。 On the other hand, even when constructing a ring-shaped annular body using arc-shaped steel earth retaining panels, they are placed in order on multiple steel earth retaining panels along the circumferential direction of the wall of the excavation hole, and adjacent steel earth retaining panels are connected. In this case, the steel earth retaining panel placed last in the circumferential direction of the wall cannot be fitted from the inside to the outside of the annular body into the space between the already installed left and right steel earth retaining panels. This is because the girder height of the main girder of the steel earth retaining panel is large and there is a large difference in dimensions between the inner diameter side and the outer diameter side of the arc, so if an attempt is made to fit the steel earth retaining panel from the inside to the outside of the annular body into the space between the already installed left and right steel earth retaining panels, both ends of the outer surface will abut against the inner surfaces of the left and right steel earth retaining panels. Therefore, a method is adopted in which the wall surface surrounding the space is expanded and excavated, and the steel earth retaining panel is fitted into the space from the outside to the inside of the annular body using the expanded space created. The hole is backfilled after the last steel earth retaining panel is installed. Even when constructing a ring-shaped structure using steel retaining panels, holes must be drilled into the wall to install the final steel retaining panel, making construction complicated and time-consuming, lengthening the construction period and increasing construction costs.

本発明は、上記の課題を解決するものであり、掘削孔の壁面の周方向に沿って鋼製土留パネルを順に配置して土留構造物を構築する場合において、施工性を向上させることができる鋼製土留パネル、該鋼製土留パネルを用いた土留構造物、及び該土留構造物の構築工法を提供することを目的とする。 The present invention aims to solve the above problems, and aims to provide a steel earth retaining panel that can improve workability when constructing an earth retaining structure by arranging steel earth retaining panels in sequence along the circumferential direction of the wall surface of a borehole, an earth retaining structure using the steel earth retaining panel, and a construction method for the earth retaining structure.

本発明に係る鋼製土留パネルは、地面を掘削して形成された掘削孔に配置されて、リング状の土留構造物を構築するために用いられる鋼製土留パネルであって、平面視が円弧状とされ、円弧方向における少なくとも一方の端面が、前記掘削孔の径方向に対して傾斜して形成されており、前記掘削孔の壁面に面する円弧状のスキンプレートと、前記スキンプレートの上端及び下端に設けられ、上面及び下面を形成する円弧状の主桁と、を有しており、上下の前記主桁のそれぞれの外端縁は、前記スキンプレートの外面よりも前記掘削孔の壁面に向かって突き出しており、前記主桁のそれぞれの前記外端縁と、前記スキンプレートの前記外面とで、凹状のスペースが形成されるものである。 The steel earth retaining panel of the present invention is a steel earth retaining panel that is placed in an excavation hole formed by excavating the ground and is used to construct a ring-shaped earth retaining structure, and has an arc-shaped plan view, with at least one end face in the arc direction being formed at an angle relative to the radial direction of the excavation hole, and has an arc-shaped skin plate facing the wall surface of the excavation hole, and arc-shaped main girders provided at the upper and lower ends of the skin plate and forming the upper and lower surfaces, and the outer edges of the upper and lower main girders protrude toward the wall surface of the excavation hole more than the outer surface of the skin plate, and a concave space is formed between the outer edges of the main girders and the outer surface of the skin plate .

本発明に係る土留構造物は、地面を掘削して形成された掘削孔に、平面視が円弧状である鋼製土留パネルを設置して構築される土留構造物であって、前記掘削孔の壁面に沿って、複数の前記鋼製土留パネルをリング状に配置して形成された環状体が、孔軸方向に少なくとも1段以上構築された第1土留構造部を備え、各前記環状体を構成する複数の前記鋼製土留パネルは、上記構成の鋼製土留パネルを少なくとも2つ有しており、周方向に隣り合う前記鋼製土留パネルが突き合わさる端面の組のうち、少なくとも1つの組が、前記掘削孔の径方向に対して傾斜して形成されているものである。 The retaining structure according to the present invention is constructed by installing steel retaining panels that are arc-shaped in plan view in a borehole formed by excavating the ground, and includes a first retaining structure section in which a ring-shaped body formed by arranging a plurality of the steel retaining panels in a ring shape along the wall surface of the borehole is constructed in at least one stage in the axial direction of the borehole, and each of the plurality of steel retaining panels that constitute the ring-shaped body has at least two steel retaining panels of the above configuration, and at least one of the pairs of end faces where the steel retaining panels that are adjacent in the circumferential direction butt together is formed at an angle to the radial direction of the borehole.

本発明に係る土留構造物の構築方法は、上記構成の土留構造物の構築工法であって、上記構成の鋼製土留パネルを1つ残して、他の鋼製土留パネルを掘削孔の壁面の周方向に沿って順に組み立てて環状体の一部を構築する工程と、周方向に沿って順に組み立てた鋼製土留パネルのうち両端に位置する鋼製土留パネルの間に形成されたスペースに、残した前記鋼製土留パネルを前記環状体の内側から周方向に沿ってスライドさせて一端側を挿入し、他端側を径方向に向かって押し込んで嵌め込む工程と、を有するものである。 The method for constructing an earth retaining structure according to the present invention is a method for constructing an earth retaining structure of the above configuration, and includes the steps of: leaving one steel earth retaining panel of the above configuration and assembling the other steel earth retaining panels in order along the circumferential direction of the wall surface of the excavation hole to construct a part of a ring-shaped body; and sliding the remaining steel earth retaining panel circumferentially from the inside of the ring-shaped body into the space formed between the steel earth retaining panels located at both ends of the steel earth retaining panels assembled in order along the circumferential direction, inserting one end of the remaining steel earth retaining panel, and pushing the other end in the radial direction to fit it in.

本発明では、平面視が円弧状とされ、円弧方向における少なくとも一方の端面が、掘削孔の径方向に対して傾斜して形成された鋼製土留パネルを用いているので、最後に設置される鋼製土留パネルを、既に設置された左右の鋼製土留パネルの間に形成されたスペースに、環状体の内側から周方向にスライドさせて嵌め込むことができる。よって、当該スペースの周囲の壁面を拡張掘削する必要がないので、工期の短縮及び工費の削減を図ることができ施工性を向上させることができる。 In the present invention, a steel retaining panel is used that is arc-shaped in plan view and at least one end face in the arc direction is formed at an angle relative to the radial direction of the excavation hole, so that the steel retaining panel to be installed last can be slid circumferentially from the inside of the ring-shaped body into the space formed between the left and right steel retaining panels that have already been installed. This eliminates the need to excavate the wall surface surrounding the space, shortening the construction period and reducing construction costs, and improving workability.

実施の形態1に係る土留構造物を模式的に示した斜視図である。1 is a perspective view showing a schematic view of an earth retaining structure according to a first embodiment of the present invention; 実施の形態1に係る波付け鋼板の一例としてライナープレートを示した斜視図である。FIG. 2 is a perspective view showing a liner plate as an example of a corrugated steel plate according to the first embodiment. 実施の形態1に係る波付け鋼板の一例としてライナープレートを示した縦断面図である。FIG. 2 is a longitudinal cross-sectional view showing a liner plate as an example of a corrugated steel plate according to the first embodiment. 実施の形態1に係る波付け鋼板の一例としてプランクプレートを示した斜視図である。FIG. 2 is a perspective view showing a plank plate as an example of a corrugated steel plate according to the first embodiment. 実施の形態1に係る波付け鋼板の一例としてプランクプレートを示した縦断面図である。FIG. 2 is a longitudinal sectional view showing a plank plate as an example of a corrugated steel plate according to the first embodiment. 実施の形態1に係る鋼製土留パネルを示した斜視図である。1 is an oblique view showing a steel retaining panel according to embodiment 1. FIG. 実施の形態1に係る鋼製土留パネルを示した平断面図である。A cross-sectional plan view showing a steel retaining panel for embodiment 1. (A)は実施の形態1に係る鋼製土留パネルを示した正面図、(B)は該鋼製土留パネルを示した左側面図である。1A is a front view showing a steel earth-retaining panel according to embodiment 1, and FIG. 1B is a left side view showing the steel earth-retaining panel. 実施の形態1に係る土留構造物における第1土留構造部の一例を示した平断面図である。A cross-sectional plan view showing an example of a first retaining structure portion in the retaining structure of embodiment 1. 図9に示したA部の拡大図である。FIG. 10 is an enlarged view of part A shown in FIG. 9 . 実施の形態1に係る土留構造物の構築工法の一例を模式的に示した説明図である。FIG. 2 is an explanatory diagram illustrating a schematic example of a construction method for a retaining structure according to the first embodiment. 実施の形態1に係る土留構造物の第1土留構造部を構築する手順を模式的に示した説明図である。1 is an explanatory diagram showing a schematic diagram of the procedure for constructing a first retaining structure portion of the retaining structure of embodiment 1. FIG. 実施の形態1に係る土留構造物の構築工法の特徴を具体的に示した説明図である。FIG. 2 is an explanatory diagram specifically showing the features of the construction method for the retaining structure according to the first embodiment. 従来の土留構造物の構築工法の一例を模式的に示した説明図である。FIG. 1 is an explanatory diagram showing a schematic diagram of an example of a conventional construction method for a retaining structure. 実施の形態1に係る鋼製土留パネルの変形例を示した平面図である。A plan view showing a modified example of the steel retaining panel of embodiment 1. 図15に示した鋼製土留パネルの左側面の拡大図である。FIG. 16 is an enlarged view of the left side of the steel retaining panel shown in FIG. 15 . 図15に示した鋼製土留パネルを用いた土留構造物の要部を模式的に示した拡大図である。16 is an enlarged schematic diagram showing a main portion of a retaining structure using the steel retaining panel shown in FIG. 15. 実施の形態2に係る土留構造物における第1土留構造部の一例を示した平断面図である。A cross-sectional plan view showing an example of a first retaining structure portion in an earth retaining structure according to embodiment 2. 実施の形態2における第1鋼製土留パネルを示した平断面図である。A cross-sectional plan view showing the first steel retaining panel in embodiment 2. (A)は実施の形態2における第1鋼製土留パネルを示した正面図、(B)は該第1鋼製土留パネルを示した左側面図である。1A is a front view showing the first steel earth-retaining panel in embodiment 2, and FIG. 1B is a left side view showing the first steel earth-retaining panel. 実施の形態2における第2鋼製土留パネルを示した平断面図である。A cross-sectional plan view showing the second steel retaining panel in embodiment 2. (A)は実施の形態2における第2鋼製土留パネルを示した正面図、(B)は該第2鋼製土留パネルを示した左側面図、(C)は該第2鋼製土留パネルを示した右側面図である。(A) is a front view showing the second steel earth-retaining panel in embodiment 2, (B) is a left side view showing the second steel earth-retaining panel, and (C) is a right side view showing the second steel earth-retaining panel. 実施の形態2における第3鋼製土留パネルを示した平断面図である。A cross-sectional plan view showing the third steel retaining panel in embodiment 2. (A)は実施の形態2における第3鋼製土留パネルを示した正面図、(B)は該第3鋼製土留パネルを示した左側面図、(C)は該第3鋼製土留パネルを示した右側面図である。(A) is a front view showing the third steel earth-retaining panel in embodiment 2, (B) is a left side view showing the third steel earth-retaining panel, and (C) is a right side view showing the third steel earth-retaining panel. 実施の形態2に係る土留構造物における第1土留構造部の変形例を示した平断面図である。A cross-sectional plan view showing a modified example of the first retaining structure part in the retaining structure of embodiment 2. 実施の形態2の変形例における鋼製土留パネルを示した平断面図である。A cross-sectional plan view showing a steel retaining panel in a modified example of embodiment 2. (A)は図26に示した第3鋼製土留パネルの正面図、(B)は該第3鋼製土留パネルの左側面図、(C)は該第3鋼製土留パネルの右側面図である。(A) is a front view of the third steel earth-retaining panel shown in Figure 26, (B) is a left side view of the third steel earth-retaining panel, and (C) is a right side view of the third steel earth-retaining panel.

以下、図面を参照して、本発明の実施の形態について説明する。なお、各図中、同一又は相当する部分には、同一符号を付して、その説明を適宜省略又は簡略化する。また、各図に記載の構成について、その形状、大きさ、及び配置等は、本発明の範囲内で適宜変更することができる。 Below, an embodiment of the present invention will be described with reference to the drawings. In each drawing, the same or corresponding parts are given the same reference numerals, and their description will be omitted or simplified as appropriate. In addition, the shape, size, arrangement, etc. of the configurations shown in each drawing may be changed as appropriate within the scope of the present invention.

実施の形態1.
先ず、実施の形態1に係る鋼製土留パネル1、該鋼製土留パネル1を用いた土留構造物100、及び該土留構造物100の構築工法を、図1~図14に基づいて説明する。図1は、実施の形態1に係る土留構造物を模式的に示した斜視図である。
Embodiment 1.
First, a steel earth retaining panel 1 according to a first embodiment, an earth retaining structure 100 using the steel earth retaining panel 1, and a construction method for the earth retaining structure 100 will be described with reference to Figures 1 to 14. Figure 1 is a perspective view showing a schematic view of the earth retaining structure according to the first embodiment.

図1に示すように、土留構造物100は、地面を掘削して形成された鉛直の掘削孔に波付け鋼板2と鋼製土留パネル1とを設置して構築された構成である。土留構造物100は、例えば建築構造物の基礎を構築するための立坑又は地中に構築される集水井等の土木構造物を構築する際に構築されるものである。具体的には、土留構造物100は、第2土留構造部102と、第1土留構造部101と、を備えている。第2土留構造部102は、平面視が円弧状の波付け鋼板2がリング状に配置されて形成された環状体102Aを、孔軸方向に4段積み重ねて構築された構成である。第2土留構造部102は、波付け鋼板2を千鳥状に配置して組み立てられている。第1土留構造部101は、平面視が円弧状の鋼製土留パネル1がリング状に配置されて形成された環状体101Aを、孔軸方向に2段積み重ねて構築された構成である。第1土留構造部101も、鋼製土留パネル1を千鳥状に配置して組み立てられている。なお、第1土留構造部101及び第2土留構造部102の段数は、図示した構成に限定されず、それぞれ少なくとも1段以上あればよい。また、図1に示した土留構造物100の周方向における波付け鋼板2及び鋼製土留パネル1の個数は、一例である。また、リング状とは、例えば楕円形状等も含むものとする。 As shown in FIG. 1, the retaining structure 100 is constructed by installing a corrugated steel plate 2 and a steel retaining panel 1 in a vertical borehole formed by excavating the ground. The retaining structure 100 is constructed when constructing a civil engineering structure such as a shaft for constructing the foundation of an architectural structure or a drainage well constructed underground. Specifically, the retaining structure 100 includes a second retaining structure 102 and a first retaining structure 101. The second retaining structure 102 is constructed by stacking four layers of annular bodies 102A formed by arranging corrugated steel plates 2 in a ring shape in a plan view in a ring shape in the hole axis direction. The second retaining structure 102 is assembled by arranging the corrugated steel plates 2 in a staggered pattern. The first retaining structure 101 is constructed by stacking two layers of annular bodies 101A formed by arranging steel retaining panels 1 in a ring shape in a plan view in a ring shape in the hole axis direction. The first retaining structure 101 is also assembled by arranging the steel retaining panels 1 in a staggered pattern. The number of stages of the first retaining structure 101 and the second retaining structure 102 is not limited to the configuration shown in the figure, and each may have at least one stage. The number of corrugated steel plates 2 and steel retaining panels 1 in the circumferential direction of the retaining structure 100 shown in Figure 1 is one example. The ring shape also includes, for example, an elliptical shape.

図2は、実施の形態1に係る波付け鋼板の一例としてライナープレートを示した斜視図である。図3は、実施の形態1に係る波付け鋼板の一例としてライナープレートを示した縦断面図である。図4は、実施の形態1に係る波付け鋼板の一例としてプランクプレートを示した斜視図である。図5は、実施の形態1に係る波付け鋼板の一例としてプランクプレートを示した縦断面図である。 Figure 2 is a perspective view showing a liner plate as an example of a corrugated steel plate according to the first embodiment. Figure 3 is a vertical cross-sectional view showing a liner plate as an example of a corrugated steel plate according to the first embodiment. Figure 4 is a perspective view showing a plank plate as an example of a corrugated steel plate according to the first embodiment. Figure 5 is a vertical cross-sectional view showing a plank plate as an example of a corrugated steel plate according to the first embodiment.

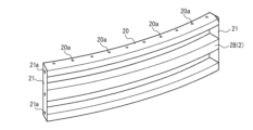
波付け鋼板2は、例えば図2及び図3に示したライナープレート2Aや、図4及び図5に示したプランクプレート2Bで構成されている。ライナープレート2Aは、波形断面がサインカーブ状に形成された構成である。プランクプレート2Bは、波形断面が矩形状に形成された構成である。波付け鋼板2には、図2~図5に示すように、上端縁及び下端縁に沿って設けられた円弧状の周方向フランジ部20と、円弧方向の両端縁に沿って設けられた軸方向フランジ部21と、が設けられている。周方向フランジ部20は、波付け鋼板2上端縁及び下端縁から掘削孔の内部に向かって突出するように曲げ加工されて形成されている。軸方向フランジ部21は、波付け鋼板2の円弧方向の両端縁にプレートを溶接して形成されている。 The corrugated steel plate 2 is, for example, a liner plate 2A shown in FIG. 2 and FIG. 3 or a plank plate 2B shown in FIG. 4 and FIG. 5. The liner plate 2A has a configuration in which the corrugated cross section is formed in a sine curve shape. The plank plate 2B has a configuration in which the corrugated cross section is formed in a rectangular shape. As shown in FIG. 2 to FIG. 5, the corrugated steel plate 2 is provided with an arc-shaped circumferential flange portion 20 provided along the upper end edge and the lower end edge, and an axial flange portion 21 provided along both ends in the arc direction. The circumferential flange portion 20 is formed by bending so as to protrude from the upper end edge and the lower end edge of the corrugated steel plate 2 toward the inside of the drilling hole. The axial flange portion 21 is formed by welding a plate to both ends in the arc direction of the corrugated steel plate 2.

波付け鋼板2は、例えば厚さが2.7mm~7mm程度である。図1に示す土留構造物100では、上から1段目及び2段目にライナープレート2Aからなる波付け鋼板2が用いられ、上から3段目及び4段目にプランクプレート2Bからなる波付け鋼板2が用いられている。土留構造物100では、掘削孔の深度が深くなるにつれて地山側からの土圧が大きく、更に上方に配置された環状体102Aの自重が下方に配置された環状体102Aに作用する。そのため、ライナープレート2Aよりも剛性が高いプランクプレート2Bを、土留構造物100の3段目及び4段目に用いている。なお、第2土留構造部102は、すべての段をライナープレート2Aで構成してもよいし、すべての段をプランクプレート2Bで構成してもよい。 The corrugated steel plate 2 has a thickness of, for example, about 2.7 mm to 7 mm. In the retaining structure 100 shown in FIG. 1, the first and second stages from the top are made of corrugated steel plates 2 made of liner plates 2A, and the third and fourth stages from the top are made of corrugated steel plates 2 made of plank plates 2B. In the retaining structure 100, as the depth of the excavation hole increases, the earth pressure from the ground increases, and the weight of the ring-shaped body 102A arranged above acts on the ring-shaped body 102A arranged below. For this reason, plank plates 2B, which are more rigid than the liner plates 2A, are used in the third and fourth stages of the retaining structure 100. Note that all stages of the second retaining structure 102 may be made of liner plates 2A, or all stages may be made of plank plates 2B.

周方向フランジ部20には、孔軸方向に積み重ねた上下に隣り合う波付け鋼板2同士、又は波付け鋼板2と鋼製土留パネル1とを連結するための連結孔20aが円弧方向に沿って複数形成されている。上下に隣り合う波付け鋼板2は、周方向フランジ部20を突き合わせ、例えば連結孔20aに挿通したボルトの軸部をナットで締結することで連結される。なお、上下に隣り合う波付け鋼板2の周方向フランジ部20を連結する手段は、例えばクリップ等の連結具を用いてもよい。また、図示した連結孔20aの個数は一例であって、これに限定されるものではない。 The circumferential flange portion 20 has a plurality of connecting holes 20a formed along the arc direction for connecting adjacent corrugated steel plates 2 stacked in the hole axis direction, or connecting the corrugated steel plate 2 and the steel retaining panel 1. The vertically adjacent corrugated steel plates 2 are connected by butting the circumferential flange portions 20 together and fastening the shafts of bolts inserted into the connecting holes 20a with nuts, for example. The means for connecting the circumferential flange portions 20 of adjacent corrugated steel plates 2 may be, for example, a connector such as a clip. The number of connecting holes 20a shown in the figure is an example and is not limited to this.

軸方向フランジ部21には、掘削孔の周方向に配置した左右に隣り合う波付け鋼板2同士を連結するための連結孔21aが上下方向に沿って複数形成されている。左右に隣り合う波付け鋼板2は、軸方向フランジ部21を突き合わせ、連結孔21aに挿通したボルトの軸部をナットで締結することで連結される。なお、左右に隣り合う波付け鋼板2の軸方向フランジ部21を連結する手段は、例えばクリップ等の連結具を用いてもよい。また、図示した連結孔21aの個数は一例であって、これに限定されるものではない。 The axial flange portion 21 has multiple connection holes 21a formed in the vertical direction to connect adjacent corrugated steel plates 2 arranged in the circumferential direction of the drilled hole. Adjacent corrugated steel plates 2 are connected by butting the axial flange portions 21 together and fastening the shaft portions of bolts inserted into the connection holes 21a with nuts. The means for connecting the axial flange portions 21 of adjacent corrugated steel plates 2 may be, for example, a connector such as a clip. The number of connection holes 21a shown in the figure is an example and is not limited to this.

図6は、実施の形態1に係る鋼製土留パネルを示した斜視図である。図7は、実施の形態1に係る鋼製土留パネルを示した平断面図である。図8の(A)は実施の形態1に係る鋼製土留パネルを示した正面図、(B)は該鋼製土留パネルを示した左側面図である。図9は、実施の形態1に係る土留構造物における第1土留構造部の一例を示した平断面図である。図9に示す矢印は、各鋼製土留パネル1の範囲を示している。図10は、図9に示したA部の拡大図である。 Figure 6 is a perspective view showing a steel earth retaining panel according to the first embodiment. Figure 7 is a plan cross-sectional view showing a steel earth retaining panel according to the first embodiment. Figure 8 (A) is a front view showing a steel earth retaining panel according to the first embodiment, and (B) is a left side view showing the steel earth retaining panel. Figure 9 is a plan cross-sectional view showing an example of a first earth retaining structure part in an earth retaining structure according to the first embodiment. The arrows in Figure 9 indicate the range of each steel earth retaining panel 1. Figure 10 is an enlarged view of part A shown in Figure 9.

鋼製土留パネル1は、図6~図8に示すように、掘削孔の壁面に面する円弧状のスキンプレート10と、スキンプレート10の上端及び下端に設けられて上面及び下面を形成する円弧状の主桁11と、スキンプレート10の円弧方向における両端に設けられて円弧方向の両端面を形成する継手板12と、を有しており、掘削孔の内部に向かって開口する凹状に形成されている。スキンプレート10、主桁11及び継手板12は、それぞれ溶接で固定されている。主桁11の桁高は、掘削孔の土質及び深度等によって仕様が変わるが、例えば150mm~400mm程度である。また、孔軸方向における鋼製土留パネル1の高さは、例えば土留構造物100を構築する作業者の安全性と効率を考慮して、500mmを標準とし、500mm~1000mm程度範囲で設計される。 As shown in Figures 6 to 8, the steel earth retaining panel 1 has an arc-shaped skin plate 10 facing the wall of the borehole, an arc-shaped main girder 11 provided at the upper and lower ends of the skin plate 10 to form the upper and lower surfaces, and joint plates 12 provided at both ends of the skin plate 10 in the arc direction to form both end faces in the arc direction, and is formed in a concave shape that opens toward the inside of the borehole. The skin plate 10, main girder 11, and joint plates 12 are each fixed by welding. The girder height of the main girder 11 varies depending on the soil quality and depth of the borehole, but is, for example, about 150 mm to 400 mm. In addition, the height of the steel earth retaining panel 1 in the hole axis direction is designed to be in the range of about 500 mm to 1000 mm, with 500 mm as the standard, taking into consideration the safety and efficiency of the workers who construct the earth retaining structure 100.

また、鋼製土留パネル1は、上部の主桁11と下部の主桁11との間に配置され、製造時、運搬時、及び施工時における鋼製土留パネル1の形状を保持する形状保持部材13を有している。形状保持部材13は、例えば図示したように鋼板等から成る板状部材、又は図示省略の鉄筋棒等から成る棒状部材で構成されている。形状保持部材13は、図示例の場合、円弧方向に間隔を開けて4つ配置されている。なお、形状保持部材13の形状及び設置個数は、図示例に限定されず、例えば鋼製土留パネル1の大きさ及び形状等を考慮して決定される。 The steel earth retaining panel 1 also has a shape retention member 13 that is disposed between the upper and lower main girders 11 and that retains the shape of the steel earth retaining panel 1 during manufacture, transportation, and construction. The shape retention member 13 is composed of, for example, a plate-shaped member made of a steel plate or the like as shown in the figure, or a rod-shaped member made of a reinforcing bar or the like not shown in the figure. In the illustrated example, four shape retention members 13 are disposed at intervals in the arc direction. Note that the shape and number of shape retention members 13 are not limited to the illustrated example, and are determined taking into consideration, for example, the size and shape of the steel earth retaining panel 1, etc.

主桁11には、孔軸方向に積み重ねた上下に隣り合う鋼製土留パネル1同士、又は鋼製土留パネル1と波付け鋼板2とを連結するための連結孔11aが複数形成されている。上下に隣り合う鋼製土留パネル1は、主桁11を突き合わせ、連結孔11aに挿通したボルトの軸部をナットで締結することで連結される。また、上下に隣り合う鋼製土留パネル1と波付け鋼板2は、主桁11と周方向フランジ部20とを突き合わせ、連結孔11a及び20aに挿通したボルトの軸部をナットで締結することで連結される。 The main girder 11 has multiple connection holes 11a for connecting adjacent steel retaining panels 1 stacked in the hole axis direction, or connecting the steel retaining panels 1 and the corrugated steel plate 2. Vertically adjacent steel retaining panels 1 are connected by butting the main girders 11 together and fastening the shanks of bolts inserted into the connection holes 11a with nuts. Vertically adjacent steel retaining panels 1 and the corrugated steel plate 2 are connected by butting the main girder 11 and the circumferential flange portion 20 together and fastening the shanks of bolts inserted into the connection holes 11a and 20a with nuts.

なお、連結孔11aの孔径は、連結孔20aの孔径よりも大きくすることが好ましい。環状体102Aは、施工誤差が生じたり、波付け鋼板2の剛性が低いことに起因して、真円度の誤差が生じたりする場合がある。環状体102Aの施工誤差及び真円度の誤差が生じてしまうと、連結孔11aと連結孔20aの位置が若干ずれて、連結孔11a及び20aにボルトを挿通させることが困難となる場合がある。つまり、連結孔11aの孔径を連結孔20aの孔径よりも大きくすることで、波付け鋼板2によって形成された環状体102Aの施工誤差及び真円度の誤差を連結孔11aで吸収することができ、連結孔11a及び20aにボルトを挿通させることができる。なお、連結孔11aの位置、大きさ及び個数は、図示した限りではなく、鋼製土留パネル1の形状及び大きさ等に応じて、適宜変更して形成するものとする。 The diameter of the connecting hole 11a is preferably larger than the diameter of the connecting hole 20a. The annular body 102A may have an error in roundness due to construction errors or low rigidity of the corrugated steel plate 2. If construction errors and roundness errors occur in the annular body 102A, the positions of the connecting holes 11a and 20a may be slightly misaligned, making it difficult to insert bolts into the connecting holes 11a and 20a. In other words, by making the diameter of the connecting hole 11a larger than the diameter of the connecting hole 20a, the construction errors and roundness errors of the annular body 102A formed by the corrugated steel plate 2 can be absorbed by the connecting hole 11a, and the bolts can be inserted into the connecting holes 11a and 20a. The position, size, and number of the connecting holes 11a are not limited to those shown in the figure, and may be appropriately changed and formed according to the shape and size of the steel retaining panel 1.

また、図6及び図7に示すように、上下の主桁11には、工具を差し込んで抉るための抉り孔11bが、円弧方向に間隔をあけて複数形成されている。抉るとは、例えば隙間などに物を差し入れてねじることを意味する。工具とは、一例としてシノ棒等の棒状部材である。抉り孔11bは、上下に隣り合う鋼製土留パネル1同士、又は鋼製土留パネル1と波付け鋼板2とを連結するための連結孔11aの位置を一致させる作業を行うために設けられている。なお、抉り孔11bは、上下の主桁11のうち、いずれか一方にのみ設けてもよいし、双方ともに省略してもよい。また、抉り孔11bの位置、大きさ及び個数は、図示した限りではなく、適宜変更して形成するものとする。 As shown in Figs. 6 and 7, the upper and lower main girders 11 have a plurality of gouging holes 11b spaced apart in the arc direction for inserting a tool to gouge the gap. Gouging means, for example, inserting an object into a gap and twisting it. One example of a tool is a rod-shaped member such as a steel rod. The gouging holes 11b are provided to align the positions of the connecting holes 11a for connecting adjacent steel retaining panels 1 vertically, or connecting a steel retaining panel 1 and a corrugated steel plate 2. The gouging holes 11b may be provided in only one of the upper and lower main girders 11, or both may be omitted. The position, size, and number of the gouging holes 11b are not limited to those shown in the figures, and may be changed as appropriate.

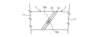
継手板12には、掘削孔の周方向に配置した左右に隣り合う鋼製土留パネル1を連結するための連結孔12aが複数形成されている。左右に隣り合う鋼製土留パネル1は、継手板12を突き合わせ、連結孔12aに挿通したボルトの軸部をナットで締結することで連結される。なお、図示した連結孔12aの個数は一例であって、これに限定されるものではない。 The joint plate 12 has multiple connection holes 12a for connecting adjacent steel retaining panels 1 arranged circumferentially around the excavation hole. Adjacent steel retaining panels 1 are connected by butting the joint plates 12 together and fastening the shafts of the bolts inserted into the connection holes 12a with nuts. The number of connection holes 12a shown in the figure is an example and is not limited to this.

また、図6及び図8に示すように、左右の継手板12には、工具を差し込んで抉るための抉り孔12bが形成されている。工具とは、一例としてシノ棒等の棒状部材である。抉り孔12bは、左右に隣り合う鋼製土留パネル1の連結孔12aの位置を一致させる作業を行うために設けられている。なお、抉り孔12bは、上下に隣り合う鋼製土留パネル1同士、又は鋼製土留パネル1と波付け鋼板2とを連結するための連結孔11aの位置を一致させる際に利用してもよい。また、抉り孔12bは、左右の継手板12のうち、いずれか一方にのみ設けてもよいし、双方ともに省略してもよい。また、抉り孔12bの位置、大きさ及び個数は、図示した限りではなく、適宜変更して形成するものとする。 6 and 8, the left and right joint plates 12 are provided with gouging holes 12b for inserting a tool to gouge the holes. The tool is, for example, a rod-shaped member such as a chisel. The gouging holes 12b are provided for the purpose of aligning the positions of the connecting holes 12a of the steel retaining panels 1 adjacent to each other on the left and right. The gouging holes 12b may also be used to align the positions of the connecting holes 11a for connecting the steel retaining panels 1 adjacent to each other on the top and bottom, or the steel retaining panels 1 and the corrugated steel plate 2. The gouging holes 12b may be provided in only one of the left and right joint plates 12, or both may be omitted. The positions, sizes, and numbers of the gouging holes 12b are not limited to those shown in the drawings, and may be changed as appropriate.

鋼製土留パネル1は、図6及び図7に示すように、平面視が円弧状とされ、円弧方向における両端面が、掘削孔の径方向に対して傾斜して形成されている。具体的には、鋼製土留パネル1は、平面視において、主桁11の円弧方向における両端部、及び継手板12が、掘削孔の径方向に対して傾斜して形成されている。つまり、図9及び図10に示すように、複数の鋼製土留パネル1をリング状に配置して構築された環状体101Aでは、周方向に隣り合う鋼製土留パネル1が突き合わさる端面の組が、掘削孔の径方向に対して傾斜して形成されている。なお、掘削孔の径方向に対して傾斜して形成されているとは、後述するように、既に設置された左右の鋼製土留パネル1及び1の間に形成されたスペースに、最後に設置される鋼製土留パネル1を、環状体101Aの内側から周方向にスライドさせて嵌め込むことができる程度に傾斜して形成されていることを意味する。 As shown in Figs. 6 and 7, the steel earth retaining panel 1 is arc-shaped in plan view, and both end faces in the arc direction are inclined with respect to the radial direction of the excavation hole. Specifically, in plan view, both ends of the main girder 11 in the arc direction and the joint plate 12 of the steel earth retaining panel 1 are inclined with respect to the radial direction of the excavation hole. In other words, as shown in Figs. 9 and 10, in an annular body 101A constructed by arranging a plurality of steel earth retaining panels 1 in a ring shape, the pair of end faces where the steel earth retaining panels 1 adjacent in the circumferential direction butt together are inclined with respect to the radial direction of the excavation hole. Note that inclination with respect to the radial direction of the excavation hole means that the steel earth retaining panel 1 to be installed last is inclined to such an extent that it can be slid circumferentially from the inside of the annular body 101A into the space formed between the already installed left and right steel earth retaining panels 1 and 1.

次に、上記土留構造物100の構築工法を図11~図13に基づいて説明する。図11は、実施の形態1に係る土留構造物の構築工法の一例を模式的に示した説明図である。図12は、実施の形態1に係る土留構造物の第1土留構造部を構築する手順を模式的に示した説明図である。図13は、実施の形態1に係る土留構造物の構築工法の特徴を具体的に示した説明図である。なお、図12及び図13に示す括弧書きの数字は、鋼製土留パネル1のピースの番号を示している。 Next, the construction method of the earth retaining structure 100 will be described with reference to Figures 11 to 13. Figure 11 is an explanatory diagram that shows a schematic example of a construction method of the earth retaining structure according to the first embodiment. Figure 12 is an explanatory diagram that shows a schematic procedure for constructing the first earth retaining structure part of the earth retaining structure according to the first embodiment. Figure 13 is an explanatory diagram that shows specific features of the construction method of the earth retaining structure according to the first embodiment. Note that the numbers in parentheses shown in Figures 12 and 13 indicate the numbers of the pieces of the steel earth retaining panel 1.

本実施の形態1に係る土留構造物100の構築工法では、第2土留構造部102を構築した後に、第2土留構造部102の下部に第1土留構造部101を構築する。先ず、図11(A)に示すように、地面200に土留構造物100を構築するための掘削孔201を形成する。掘削孔201は、土留構造物100の外径よりも例えば20cm程度の大きい外径で形成される。掘削孔201の深さは、一例として0.5m~1.5m程度である。そして、掘削孔201の壁面に沿って円弧状の波付け鋼板2をリング状に配置して環状体102Aを組み立てる。 In the construction method for the earth retaining structure 100 according to the first embodiment, after constructing the second earth retaining structure portion 102, the first earth retaining structure portion 101 is constructed below the second earth retaining structure portion 102. First, as shown in FIG. 11(A), a borehole 201 for constructing the earth retaining structure 100 is formed in the ground 200. The borehole 201 is formed with an outer diameter, for example, about 20 cm larger than the outer diameter of the earth retaining structure 100. The depth of the borehole 201 is, for example, about 0.5 m to 1.5 m. Then, a circular body 102A is assembled by arranging arc-shaped corrugated steel plates 2 in a ring shape along the wall surface of the borehole 201.

環状体102Aは、掘削孔201の壁面の周方向に沿って波付け鋼板2を順に配置し、左右に隣り合う波付け鋼板2をボルト及びナットで連結して組み立てられる。このとき、壁面の周方向において最後に配置される波付け鋼板2は、左右の波付け鋼板2の間に形成されたスペースに、環状体102Aの内側から外側に向かって嵌め込むように設置される。波付け鋼板2は、板厚が薄く円弧の内径面と外径面の寸法差が小さいため、左右の波付け鋼板2の間に形成されたスペースに、環状体102Aの内側から外側に向かって嵌め込むことができる。上段の環状体102Aの波付け鋼板2と、下段の環状体102Aの波付け鋼板2とは、ボルト及びナットで連結される。なお、上段の波付け鋼板2と下段の波付け鋼板2とは、千鳥配置となるように、周方向の位置をずらして配置される。このように、環状体102Aを孔軸方向に沿って複数段積み重ねて(図示例の場合は3段)第2土留構造部102の一部が構築される。 The annular body 102A is assembled by sequentially arranging the corrugated steel plates 2 along the circumferential direction of the wall surface of the borehole 201, and connecting the adjacent corrugated steel plates 2 on the left and right with bolts and nuts. At this time, the corrugated steel plate 2 arranged last in the circumferential direction of the wall surface is installed so as to be fitted from the inside to the outside of the annular body 102A into the space formed between the left and right corrugated steel plates 2. Since the corrugated steel plate 2 has a thin plate thickness and a small dimensional difference between the inner diameter surface and the outer diameter surface of the arc, it can be fitted from the inside to the outside of the annular body 102A into the space formed between the left and right corrugated steel plates 2. The corrugated steel plate 2 of the upper annular body 102A and the corrugated steel plate 2 of the lower annular body 102A are connected with bolts and nuts. The corrugated steel plate 2 of the upper stage and the corrugated steel plate 2 of the lower stage are arranged with the circumferential positions shifted so as to be staggered. In this way, a portion of the second retaining structure 102 is constructed by stacking the annular bodies 102A in multiple tiers (three tiers in the illustrated example) along the hole axis direction.

次に、図11(B)に示すように、最上段に位置する環状体102Aを地面200に設置した井桁300で固定した後、環状体102Aの外側の掘削孔201を掘削土で埋め戻す。なお、最上段に位置する環状体102Aを地面に固定する手段は、井桁300に限定されず、例えばコンクリートを用いてもよい。そして、図11(C)に示すように、地盤を掘削しつつ、環状体102A及び101Aを組み立てて第2土留構造部102及び第1土留構造部101を構築し、所定の深度まで掘り進める。なお、最上段に位置する環状体102Aを井桁300で固定した後は、最下段の環状体102Aの下端に、掘削孔201の壁面の周方向に沿って波付け鋼板2を配置し、該波付け鋼板2を最下段の波付け鋼板2にボルト及びナットで連結するとともに、左右に隣り合う波付け鋼板2同士をボルト及びナットで連結して、環状体102Aを構築していく。また、波付け鋼板2と掘削孔201との間には、裏込注入材として、コンクリート又はモルタルが充填される。 Next, as shown in Figure 11 (B), the topmost ring-shaped body 102A is fixed with a lattice 300 installed on the ground 200, and the excavation hole 201 outside the ring-shaped body 102A is then backfilled with excavated soil. Note that the means for fixing the topmost ring-shaped body 102A to the ground is not limited to the lattice 300, and concrete may be used, for example. Then, as shown in Figure 11 (C), the ground is excavated while assembling the ring-shaped bodies 102A and 101A to construct the second retaining structure 102 and the first retaining structure 101, and digging is continued to a predetermined depth. After the topmost ring-shaped body 102A is fixed with the lattice 300, a corrugated steel plate 2 is placed at the bottom end of the bottommost ring-shaped body 102A along the circumferential direction of the wall surface of the drilled hole 201, and the corrugated steel plate 2 is connected to the bottommost corrugated steel plate 2 with bolts and nuts, and adjacent corrugated steel plates 2 on the left and right are connected to each other with bolts and nuts to construct the ring-shaped body 102A. In addition, concrete or mortar is filled between the corrugated steel plate 2 and the drilled hole 201 as a backfill injection material.

第1土留構造部101は、円弧状の波付け鋼板2をリング状に配置して形成された環状体102Aを、孔軸方向に4段積み重ねて第2土留構造部102を構築した後、該第2土留構造部102の下端に構築される。なお、図12に示した第1土留構造部101の構成する各環状体101Aは、一例として同形同大の6つの鋼製土留パネル1で構成されている。 The first retaining structure 101 is constructed at the bottom end of the second retaining structure 102 after the second retaining structure 102 is constructed by stacking four annular bodies 102A, formed by arranging arc-shaped corrugated steel plates 2 in a ring shape, in the hole axis direction. Each annular body 101A constituting the first retaining structure 101 shown in FIG. 12 is, as an example, composed of six steel retaining panels 1 of the same shape and size.

具体的には、先ず、図12(A)に示すように、第6ピースの鋼製土留パネル1を1つ残して、第1ピースから第5ピースの鋼製土留パネル1を掘削孔201の壁面の周方向に沿って順に組み立てて環状体101Aの一部を構築する。第1ピースから第5ピースの鋼製土留パネル1は、上段の波付け鋼板2又は上段の鋼製土留パネル1にボルト及びナットで連結するとともに、左右に隣り合う鋼製土留パネル1同士をボルト及びナットで連結される。なお、上段の波付け鋼板2又は上段の鋼製土留パネル1と下段の鋼製土留パネル1とは、千鳥配置となるように、周方向の位置をずらして配置される。 Specifically, as shown in FIG. 12(A), the first to fifth pieces of steel earth retaining panels 1 are assembled in order along the circumferential direction of the wall surface of the excavation hole 201, leaving one sixth piece of steel earth retaining panel 1, to construct a part of the annular body 101A. The first to fifth pieces of steel earth retaining panels 1 are connected to the upper corrugated steel plate 2 or the upper steel earth retaining panel 1 with bolts and nuts, and adjacent steel earth retaining panels 1 on the left and right are connected to each other with bolts and nuts. The upper corrugated steel plate 2 or the upper steel earth retaining panel 1 and the lower steel earth retaining panel 1 are staggered in the circumferential position so as to form a staggered arrangement.

そして、図12(B)に示すように、第1ピースの鋼製土留パネル1と第5ピースの鋼製土留パネル1との間に形成されたスペースSに、残した第6ピースの鋼製土留パネル1を、環状体101Aの内側から周方向にスライドさせて挿入する。このとき、図13に示すように、第5ピースの鋼製土留パネル1における一方の継手板12に対して、第6ピースの鋼製土留パネル1における一方の継手板12をスライドさせる。第6ピースの鋼製土留パネル1の一端側を、第1ピースの鋼製土留パネル1と第5ピースの鋼製土留パネル1との間のスペースSにスライドさせて挿入した後、図12(C)及び図13に示すように、第6ピースの鋼製土留パネル1の他端側を、環状体101Aの内側から外側(図中の矢印Xの方向)に向かって押し込み、当該スペースSに嵌め込む。そして、第6ピースの鋼製土留パネル1を、上段の波付け鋼板2又は鋼製土留パネル1にボルト及びナットで連結するとともに、左右に隣り合う鋼製土留パネル1にボルト及びナットで連結する。なお、鋼製土留パネル1と掘削孔との間には、裏込注入材として、コンクリート又はモルタルが充填される。また、最後に設置される第6ピースの鋼製土留パネル1は、他の鋼製土留パネル1よりも、円弧方向の長さを例えば0mm~6mm程度、より好ましくは3mm程度短くすることが好ましい。第6ピースの鋼製土留パネル1を、スペースSに挿入しやすくし、組み立ての作業性を高めるためである。 Then, as shown in FIG. 12(B), the remaining sixth piece of steel earth retaining panel 1 is inserted into the space S formed between the first piece of steel earth retaining panel 1 and the fifth piece of steel earth retaining panel 1 by sliding it circumferentially from the inside of the annular body 101A. At this time, as shown in FIG. 13, one joint plate 12 of the sixth piece of steel earth retaining panel 1 is slid relative to one joint plate 12 of the fifth piece of steel earth retaining panel 1. After one end side of the sixth piece of steel earth retaining panel 1 is slid and inserted into the space S between the first piece of steel earth retaining panel 1 and the fifth piece of steel earth retaining panel 1, as shown in FIG. 12(C) and FIG. 13, the other end side of the sixth piece of steel earth retaining panel 1 is pushed from the inside of the annular body 101A toward the outside (the direction of the arrow X in the figure) and fitted into the space S. The sixth piece of steel earth retaining panel 1 is then connected to the upper corrugated steel plate 2 or steel earth retaining panel 1 with bolts and nuts, and is also connected to the adjacent steel earth retaining panels 1 on the left and right with bolts and nuts. Concrete or mortar is filled between the steel earth retaining panel 1 and the excavation hole as a backfill injection material. The sixth piece of steel earth retaining panel 1, which is installed last, is preferably shorter in the arc direction than the other steel earth retaining panels 1, for example, by about 0 mm to 6 mm, and more preferably by about 3 mm. This is to make it easier to insert the sixth piece of steel earth retaining panel 1 into the space S and to improve the workability of assembly.

図14は、従来の土留構造物の構築工法の一例を模式的に示した説明図である。なお、図14に示す括弧書きの数字は、鋼製土留パネル3のピースの番号を示している。 Figure 14 is an explanatory diagram that shows a schematic example of a conventional construction method for an earth retaining structure. The numbers in parentheses in Figure 14 indicate the numbers of the pieces of the steel earth retaining panel 3.

図14に示す鋼製土留パネル3は、平面視において、主桁の円弧方向における両端面及び継手板が、掘削孔の径方向に向いた構成である。従来の土留構造物100の構築工法における第1土留構造部の環状体の構築は、先ず、第1ピースから第5ピースの鋼製土留パネル3を、環状体の内側から掘削孔201の壁面の周方向に沿って順に組み立てる。最後に配置される第6ピースの鋼製土留パネル3は、既に設置した第1ピースの鋼製土留パネル3と第5ピースの鋼製土留パネル3との間のスペースSに、環状体の内側から外側に向かって嵌め込むことができない。鋼製土留パネル3は、主桁の桁高が大きく、円弧の内径側と外径側とで寸法差が大きい。そのため、既に設置した第1ピースの鋼製土留パネル3と第5ピースの鋼製土留パネル3との間のスペースSに、第6ピースの鋼製土留パネル3を環状体の内側から外側に向かって嵌め込もうとすると、第6ピースの鋼製土留パネル3の外面の両端が、第1ピースの鋼製土留パネル3の内面又は第5ピースの鋼製土留パネル3の内面に突き当たってしまうからである。そこで、図14に示すように、当該スペースSの周囲の壁面を拡張掘削し、できた拡張空間202を利用して環状体の外側から内側(図中の矢印Yの方向)に向かって、鋼製土留パネル3をスペースSに嵌め込む方法が採用されている。当該拡張空間202は、最後の鋼製土留パネル3を設置した後に埋め戻される。 In the steel earth retaining panel 3 shown in FIG. 14, in plan view, both end faces and joint plates in the arc direction of the main girder are configured to face the radial direction of the excavation hole. In the construction method of the conventional earth retaining structure 100, the annular body of the first earth retaining structure part is constructed by first assembling the first to fifth pieces of steel earth retaining panels 3 in order from the inside of the annular body along the circumferential direction of the wall surface of the excavation hole 201. The sixth piece of steel earth retaining panel 3, which is placed last, cannot be fitted from the inside to the outside of the annular body into the space S between the first piece of steel earth retaining panel 3 and the fifth piece of steel earth retaining panel 3 that have already been installed. The steel earth retaining panel 3 has a large girder height of the main girder, and there is a large dimensional difference between the inner diameter side and the outer diameter side of the arc. Therefore, if the sixth piece of steel earth retaining panel 3 is to be fitted from the inside to the outside of the ring body into the space S between the first piece of steel earth retaining panel 3 and the fifth piece of steel earth retaining panel 3 that have already been installed, both ends of the outer surface of the sixth piece of steel earth retaining panel 3 will hit the inner surface of the first piece of steel earth retaining panel 3 or the inner surface of the fifth piece of steel earth retaining panel 3. Therefore, as shown in FIG. 14, a method is adopted in which the wall surface surrounding the space S is expanded and excavated, and the steel earth retaining panel 3 is fitted into the space S from the outside to the inside of the ring body (in the direction of arrow Y in the figure) using the expanded space 202 that is created. The expanded space 202 is backfilled after the last steel earth retaining panel 3 is installed.

このように、従来の土留構造物の構築工法では、各環状体において最後に設置される鋼製土留パネルを設置するための拡張空間202を壁面に形成する必要があるため、施工が煩雑で手間が掛かり、工期が長引き工費が嵩む問題があった。 As described above, the conventional construction method for earth retaining structures requires the creation of an expansion space 202 in the wall of each ring body to accommodate the steel earth retaining panel that is installed last, which makes construction complicated and time-consuming, lengthens the construction period, and increases construction costs.

また、鋼製土留パネル3は、地上に設置したクレーン等で吊った状態で掘削孔201の内部に降ろされ、掘削孔201の壁面の周方向に沿って配置されることになる。しかし、鋼製土留パネル3をクレーン等で吊った状態で拡張空間202に配置し、環状体の外側から内側に向かって移動させる場合、既に設置した上部の波付け鋼板又は上部の鋼製土留パネルにクレーンの吊り紐が障害となり、鋼製土留パネル3を吊り紐で上手く吊ることができないおそれがある。 The steel retaining panel 3 is lowered into the borehole 201 while suspended by a crane or the like installed on the ground, and is arranged along the circumferential direction of the wall of the borehole 201. However, if the steel retaining panel 3 is placed in the expansion space 202 while suspended by a crane or the like, and moved from the outside to the inside of the annular body, the crane's hoisting cord may get in the way of the upper corrugated steel plate or upper steel retaining panel that has already been installed, and the steel retaining panel 3 may not be able to be properly hoisted by the hoisting cord.

一方、本実施の形態1に係る鋼製土留パネル1、該鋼製土留パネル1を用いた土留構造物100、及び該土留構造物100の構築工法では、平面視が円弧状とされ、円弧方向における両端面が、掘削孔の径方向に対して傾斜して形成された鋼製土留パネル1を用いているので、最後に設置される鋼製土留パネル1を、既に設置された左右の鋼製土留パネル1の間に形成されたスペースSに、環状体101Aの内側から周方向にスライドさせて嵌め込むことができる。つまり、当該スペースSの周囲の壁面を拡張掘削する必要がないので、工期の短縮及び工費の削減を図ることができ、施工性を向上させることができる。 On the other hand, in the steel earth retaining panel 1 according to the first embodiment, the earth retaining structure 100 using the steel earth retaining panel 1, and the construction method for the earth retaining structure 100, a steel earth retaining panel 1 is used that is arc-shaped in plan view and has both end faces in the arc direction formed at an incline relative to the radial direction of the excavation hole. Therefore, the steel earth retaining panel 1 to be installed last can be slid circumferentially from the inside of the annular body 101A into the space S formed between the left and right steel earth retaining panels 1 already installed. In other words, since there is no need to excavate the wall surface surrounding the space S, it is possible to shorten the construction period and reduce construction costs, and improve workability.

なお、第2土留構造部102は、図示した4段に限定されず、1段以上あればよい。また、第1土留構造部101の構成する各環状体101Aは、図示した6つの鋼製土留パネル1で形成された構成に限定されず、6つ以外の個数で形成してもよい。また、本実施の形態1に係る土留構造物100では、波付け鋼板2で構築した第2土留構造部102と、鋼製土留パネル1で構築した第1土留構造部101と、を有する構成に限定されず、図示は省略したが、鋼製土留パネル1で構築した第1土留構造部101のみで構成してもよい。 The second retaining structure 102 is not limited to the four stages shown in the figure, and may have one or more stages. Furthermore, each annular body 101A constituting the first retaining structure 101 is not limited to the configuration formed by the six steel retaining panels 1 shown in the figure, and may be formed by a number other than six. Furthermore, the retaining structure 100 according to the first embodiment is not limited to a configuration having the second retaining structure 102 constructed of corrugated steel plates 2 and the first retaining structure 101 constructed of steel retaining panels 1, and although not shown in the figure, it may be composed of only the first retaining structure 101 constructed of steel retaining panels 1.

図15は、実施の形態1に係る鋼製土留パネルの変形例を示した平面図である。図16は、図15に示した鋼製土留パネルの左側面の拡大図である。図17は、図15に示した鋼製土留パネルを用いた土留構造物の要部を模式的に示した拡大図である。 Figure 15 is a plan view showing a modified example of the steel earth retaining panel according to embodiment 1. Figure 16 is an enlarged view of the left side of the steel earth retaining panel shown in Figure 15. Figure 17 is an enlarged view showing a schematic of the main parts of an earth retaining structure using the steel earth retaining panel shown in Figure 15.

図15~図17に示すように、上部の主桁11は、その外端縁11cがスキンプレート10の外面よりも掘削孔201の壁面に向かって突き出すように設けてもよい。また、下部の主桁11も、その外端縁11cがスキンプレート10の外面よりも掘削孔201の壁面に向かって突き出すように設けられている。ここで言う外端縁11cとは、スキンプレート10の外面よりも掘削孔201の壁面に向かって突き出している部分をいう。主桁11の外端縁11cの突き出す長さは、一例として25mm程度である。上下の主桁11の外端縁11cと、スキンプレート10の外面とで、土留構造物100の外面と掘削孔201との間に充填される裏込注入材203が入り込む凹状のスペースSが形成される。つまり、鋼製土留パネル1は、凹状のスペースSによって、掘削孔201の壁面と鋼製土留パネル1との間に充填されて硬化した裏込注入材203が引っ掛かる定着代を形成することができ、裏込注入材203の定着性を高めることができる。 15 to 17, the upper main girder 11 may be provided so that its outer edge 11c protrudes toward the wall of the borehole 201 beyond the outer surface of the skin plate 10. The lower main girder 11 is also provided so that its outer edge 11c protrudes toward the wall of the borehole 201 beyond the outer surface of the skin plate 10. The outer edge 11c here refers to the part that protrudes toward the wall of the borehole 201 beyond the outer surface of the skin plate 10. The protruding length of the outer edge 11c of the main girder 11 is, for example, about 25 mm. The outer edges 11c of the upper and lower main girders 11 and the outer surface of the skin plate 10 form a concave space S into which the backfill injection material 203 filled between the outer surface of the earth retaining structure 100 and the borehole 201 enters. In other words, the steel retaining panel 1 can form an anchorage gap for the backfill injection material 203 that has been filled between the wall surface of the excavation hole 201 and the steel retaining panel 1 and hardened, by using the concave space S, thereby improving the anchorage of the backfill injection material 203.

なお、図示することは省略したが、鋼製土留パネル1は、上部の主桁11及び下部の主桁11のうち、いずれか一方の外端縁11cが、スキンプレート10の外面よりも掘削孔201の壁面に向かって突き出すように構成してもよい。この場合であっても、該突き出した主桁11の外端縁11cとスキンプレート10の外面とで、凹状のスペースSが形成されるので、掘削孔201の壁面と鋼製土留パネル1との間に充填されて硬化した裏込注入材203が引っ掛かる定着代を形成することができ、裏込注入材203の定着性を高めることができる。 Although not shown in the figures, the steel retaining panel 1 may be configured so that the outer edge 11c of either the upper or lower main girder 11 protrudes toward the wall surface of the excavation hole 201 beyond the outer surface of the skin plate 10. Even in this case, a concave space S is formed between the outer edge 11c of the protruding main girder 11 and the outer surface of the skin plate 10, so that a fixing allowance can be formed for the backfill injection material 203 that has been filled and hardened between the wall surface of the excavation hole 201 and the steel retaining panel 1 to catch on, thereby improving the fixing ability of the backfill injection material 203.

実施の形態2.
次に、本実施の形態2に係る鋼製土留パネル、該鋼製土留パネルを用いた土留構造物、及び該土留構造物の構築工法を、図1~図17を参照しつつ、図18~図24に基づいて説明する。図18は、実施の形態2に係る土留構造物における第1土留構造部の一例を示した平断面図である。図18に示す矢印は、各鋼製土留パネル1A~1Cの範囲を示している。なお、実施の形態1と同一の構成要素については、同一の符号を付して、その説明を適宜省略する。
Embodiment 2.
Next, a steel earth retaining panel according to the second embodiment, an earth retaining structure using the steel earth retaining panel, and a construction method for the earth retaining structure will be described based on Figs. 18 to 24 with reference to Figs. 1 to 17. Fig. 18 is a plan sectional view showing an example of a first earth retaining structural part in the earth retaining structure according to the second embodiment. The arrows shown in Fig. 18 indicate the ranges of the steel earth retaining panels 1A to 1C. Note that the same components as those in the first embodiment are given the same reference numerals, and their description will be omitted as appropriate.

本実施の形態2に係る土留構造物も、図1に示すように、円弧状の波付け鋼板2がリング状に配置されて形成された環状体102Aを、孔軸方向に複数段積み重ねて構築された第2土留構造部102と、円弧状の鋼製土留パネル1がリング状に配置して形成された環状体101Aを、孔軸方向に複数段積み重ねて構築された第1土留構造部101と、を備えている。なお、第1土留構造部101及び第2土留構造部102の段数は、図示した構成に限定されず、少なくとも1段以上あればよい。また、リング状とは、例えば楕円状等も含むものとする。 As shown in FIG. 1, the earth retaining structure according to the second embodiment also includes a second earth retaining structure 102 constructed by stacking multiple annular bodies 102A formed by arranging arc-shaped corrugated steel plates 2 in a ring shape in the hole axis direction, and a first earth retaining structure 101 constructed by stacking multiple annular bodies 101A formed by arranging arc-shaped steel earth retaining panels 1 in a ring shape in the hole axis direction. The number of stages of the first earth retaining structure 101 and the second earth retaining structure 102 is not limited to the configuration shown in the figure, and may be at least one stage. The ring shape also includes, for example, an elliptical shape.

本実施の形態2に係る土留構造物は、図18に示すように、第1土留構造部101の環状体101Aを構築する鋼製土留パネル1において、周方向に隣り合う鋼製土留パネル1が突き合わさる端面の組のうち1つの組が、掘削孔の径方向に対して傾斜して形成された構成であることを特徴としている。 As shown in FIG. 18, the retaining structure according to the second embodiment is characterized in that, in the steel retaining panels 1 constituting the annular body 101A of the first retaining structure 101, one of the pairs of end faces where adjacent steel retaining panels 1 in the circumferential direction butt together is formed at an incline with respect to the radial direction of the excavation hole.

本実施の形態2に係る鋼製土留パネル1も、掘削孔の壁面に面する円弧状のスキンプレート10と、スキンプレート10の上端及び下端に設けられて上面及び下面を形成する円弧状の主桁11と、円弧方向における両端面を形成する継手板12と、を有しており、掘削孔の内部に向かって開口する凹状に形成された構成である。 The steel retaining panel 1 according to the second embodiment also has an arc-shaped skin plate 10 that faces the wall of the excavation hole, arc-shaped main girders 11 that are provided at the upper and lower ends of the skin plate 10 and form the upper and lower surfaces, and joint plates 12 that form both end faces in the arc direction, and is configured in a concave shape that opens toward the inside of the excavation hole.

本実施の形態2に係る土留構造物では、各環状体101Aが3種類の鋼製土留パネルを組み合わせて構成されている。図18に示した環状体101Aでは、5つの第1鋼製土留パネル1Aと、1つの第2鋼製土留パネル1Bと、1つの第3鋼製土留パネル1Cとからなる7つの鋼製土留パネル1を有している。第1鋼製土留パネル1A、第2鋼製土留パネル1B、及び第3鋼製土留パネル1Cは、主桁11の円弧方向における端面及び継手板12の向きがそれぞれ異なる。 In the earth-retaining structure according to the second embodiment, each annular body 101A is constructed by combining three types of steel earth-retaining panels. The annular body 101A shown in FIG. 18 has seven steel earth-retaining panels 1 consisting of five first steel earth-retaining panels 1A, one second steel earth-retaining panel 1B, and one third steel earth-retaining panel 1C. The first steel earth-retaining panel 1A, the second steel earth-retaining panel 1B, and the third steel earth-retaining panel 1C each have a different orientation of the end face and joint plate 12 in the arc direction of the main girder 11.

図19は、実施の形態2における第1鋼製土留パネルを示した平断面図である。図20の(A)は実施の形態2における第1鋼製土留パネルを示した正面図、(B)は該第1鋼製土留パネルを示した左側面図である。第1鋼製土留パネル1Aは、すべて同形同大で構成されている。第1鋼製土留パネル1Aは、図19及び図20に示すように、平面視において、主桁11の円弧方向における端面及び継手板12が、掘削孔の径方向に向いた構成である。なお、第1鋼製土留パネル1Aは、円弧方向の長さをすべて同一にする必要はない。また、第1鋼製土留パネル1Aは、図示した5つに限定されない。第1鋼製土留パネル1Aは、掘削孔の形状及び大きさに応じて、円弧方向に長さ及び個数を適宜変更して設けるものとする。 Figure 19 is a plan cross-sectional view showing the first steel earth retaining panel in embodiment 2. Figure 20 (A) is a front view showing the first steel earth retaining panel in embodiment 2, and (B) is a left side view showing the first steel earth retaining panel. The first steel earth retaining panels 1A are all constructed with the same shape and size. As shown in Figures 19 and 20, the first steel earth retaining panels 1A are configured such that the end faces in the arc direction of the main girder 11 and the joint plate 12 face the radial direction of the excavation hole in a plan view. Note that the first steel earth retaining panels 1A do not need to have the same length in the arc direction. In addition, the number of first steel earth retaining panels 1A is not limited to the five shown in the figure. The length and number of the first steel earth retaining panels 1A in the arc direction are appropriately changed depending on the shape and size of the excavation hole.

図21は、実施の形態2における第2鋼製土留パネルを示した平断面図である。図22の(A)は実施の形態2における第2鋼製土留パネルを示した正面図、(B)は該第2鋼製土留パネルを示した左側面図、(C)は該第2鋼製土留パネルを示した右側面図である。第2鋼製土留パネル1Bは、円弧方向の長さが、例えば第1鋼製土留パネル1Aの円弧方向の長さの略半分である。第2鋼製土留パネル1Bは、図21及び図22に示すように、平面視において、円弧方向における左端面が掘削孔の径方向に対して傾斜して形成されている。具体的には、第2鋼製土留パネル1Bは、平面視において、主桁11の円弧方向における左端部、及び円弧方向の左端面を形成する継手板12が、掘削孔の径方向に対して傾斜して形成されている。 21 is a plan cross-sectional view showing the second steel earth retaining panel in the second embodiment. FIG. 22 (A) is a front view showing the second steel earth retaining panel in the second embodiment, (B) is a left side view showing the second steel earth retaining panel, and (C) is a right side view showing the second steel earth retaining panel. The length of the second steel earth retaining panel 1B in the arc direction is, for example, approximately half the length of the first steel earth retaining panel 1A in the arc direction. As shown in FIG. 21 and FIG. 22, the second steel earth retaining panel 1B is formed so that the left end surface in the arc direction is inclined relative to the radial direction of the excavation hole in a plan view. Specifically, the second steel earth retaining panel 1B is formed so that the left end portion in the arc direction of the main girder 11 and the joint plate 12 forming the left end surface in the arc direction are inclined relative to the radial direction of the excavation hole in a plan view.

図23は、実施の形態2における第3鋼製土留パネルを示した平断面図である。図24の(A)は実施の形態2における第3鋼製土留パネルを示した正面図、(B)は該第3鋼製土留パネルを示した左側面図、(C)は該第3鋼製土留パネルを示した右側面図である。第3鋼製土留パネル1Cは、円弧方向の長さが、例えば第1鋼製土留パネル1Aの円弧方向の長さの略半分である。第3鋼製土留パネル1Cは、図23及び図24に示すように、平面視において、円弧方向における右端面が掘削孔の径方向に対して傾斜して形成されている。具体的には、第3鋼製土留パネル1Cは、平面視において、主桁11の円弧方向における右端部、及び円弧方向の右端面を形成する継手板12が、掘削孔の径方向に対して傾斜して形成されている。 23 is a plan cross-sectional view showing the third steel earth retaining panel in the second embodiment. FIG. 24 (A) is a front view showing the third steel earth retaining panel in the second embodiment, (B) is a left side view showing the third steel earth retaining panel, and (C) is a right side view showing the third steel earth retaining panel. The third steel earth retaining panel 1C has a length in the arc direction that is, for example, approximately half the length in the arc direction of the first steel earth retaining panel 1A. As shown in FIG. 23 and FIG. 24, the third steel earth retaining panel 1C is formed so that the right end surface in the arc direction is inclined relative to the radial direction of the excavation hole in a plan view. Specifically, the third steel earth retaining panel 1C is formed so that the right end portion in the arc direction of the main girder 11 and the joint plate 12 forming the right end surface in the arc direction are inclined relative to the radial direction of the excavation hole in a plan view.

次に、本実施の形態2に係る上記土留構造物100の構築工法を、図18を参照して説明する。本実施の形態2に係る上記土留構造物100の構築工法における第2土留構造部102を構築する工程は、上記実施の形態1と同じである。 Next, the construction method of the retaining structure 100 according to the second embodiment will be described with reference to FIG. 18. The process of constructing the second retaining structure portion 102 in the construction method of the retaining structure 100 according to the second embodiment is the same as that in the first embodiment.

第1土留構造部101は、円弧状の波付け鋼板2をリング状に配置して形成された環状体102Aを、孔軸方向に複数段積み重ねて第2土留構造部102を構築した後、該第2土留構造部102の下端に構築される。 The first retaining structure 101 is constructed at the bottom end of the second retaining structure 102 after the second retaining structure 102 is constructed by stacking multiple layers of annular bodies 102A, formed by arranging arc-shaped corrugated steel plates 2 in a ring shape, in the hole axis direction.

第1土留構造部101の環状体101Aの構築は、先ず、5つの第1鋼製土留パネル1Aを掘削孔の壁面の周方向に沿って順に配置し、上段の波付け鋼板2又は上段の鋼製土留パネル1にボルト及びナットで連結するとともに、左右に隣り合う第1鋼製土留パネル1A同士をボルト及びナットで連結する。そして、5つの第1鋼製土留パネル1Aのうち、周方向の両端に位置する第1鋼製土留パネル1Aの間に第2鋼製土留パネル1Bを配置し、該第2鋼製土留パネル1Bを、上段の波付け鋼板2又は上段の鋼製土留パネル1にボルト及びナットで連結するとともに、左側において隣り合う第1鋼製土留パネル1Aにボルト及びナットで連結する。そして、第1鋼製土留パネル1Aと第2鋼製土留パネル1Bの間に形成されたスペースに、第3鋼製土留パネル1Cを嵌め込む。第3鋼製土留パネル1Cは、第1鋼製土留パネル1Aと第2鋼製土留パネル1Bの間に形成されたスペースに、環状体101Aの内側から周方向にスライドさせて挿入する。このとき、第2鋼製土留パネル1Bにおける傾斜した継手板12に対して、第3鋼製土留パネル1Cの傾斜した継手板12をスライドさせる。そして、第3鋼製土留パネル1Cの傾斜した一端側を、第1鋼製土留パネル1Aと第2鋼製土留パネル1Bの間に形成されたスペースにスライドさせて挿入した後、第3鋼製土留パネル1Cの他端側を、環状体101Aの内側から外側に向かって押し込み、当該スペースに嵌め込む。そして、第3鋼製土留パネル1Cを、上段の波付け鋼板2又は上段の鋼製土留パネル1にボルト及びナットで連結するとともに、左右に隣り合う第1鋼製土留パネル1Aと第2鋼製土留パネル1Bとにボルト及びナットで連結する。また、鋼製土留パネル(1A~1C)と掘削孔との間には、裏込注入材として、コンクリート又はモルタルが充填される。 The construction of the ring-shaped body 101A of the first earth retaining structure 101 is carried out by first arranging the five first steel earth retaining panels 1A in order along the circumferential direction of the wall surface of the excavation hole, connecting them to the upper corrugated steel plate 2 or the upper steel earth retaining panel 1 with bolts and nuts, and connecting the first steel earth retaining panels 1A adjacent to each other on the left and right with bolts and nuts. Then, a second steel earth retaining panel 1B is arranged between the first steel earth retaining panels 1A located at both ends of the circumferential direction among the five first steel earth retaining panels 1A, and the second steel earth retaining panel 1B is connected to the upper corrugated steel plate 2 or the upper steel earth retaining panel 1 with bolts and nuts, and connected to the first steel earth retaining panel 1A adjacent to the left side with bolts and nuts. Then, a third steel earth retaining panel 1C is fitted into the space formed between the first steel earth retaining panel 1A and the second steel earth retaining panel 1B. The third steel earth-retaining panel 1C is inserted into the space formed between the first steel earth-retaining panel 1A and the second steel earth-retaining panel 1B by sliding it circumferentially from the inside of the annular body 101A. At this time, the inclined joint plate 12 of the third steel earth-retaining panel 1C is slid relative to the inclined joint plate 12 of the second steel earth-retaining panel 1B. Then, after sliding one inclined end side of the third steel earth-retaining panel 1C into the space formed between the first steel earth-retaining panel 1A and the second steel earth-retaining panel 1B, the other end side of the third steel earth-retaining panel 1C is pushed from the inside to the outside of the annular body 101A and fitted into the space. The third steel retaining panel 1C is then connected to the upper corrugated steel plate 2 or the upper steel retaining panel 1 with bolts and nuts, and is also connected to the first steel retaining panel 1A and the second steel retaining panel 1B adjacent to each other on the left and right with bolts and nuts. In addition, concrete or mortar is filled between the steel retaining panels (1A to 1C) and the excavation holes as a backfill injection material.

なお、5つの第1鋼製土留パネル1Aのうち、周方向の両端に位置する第1鋼製土留パネル1Aの間に第3鋼製土留パネル1Cを配置して、第1鋼製土留パネル1Aにボルト及びナットで連結した後、第1鋼製土留パネル1Aと第3鋼製土留パネル1Cの間に形成されたスペースに、第2鋼製土留パネル1Bを嵌め込んでもよい。 In addition, a third steel earth retaining panel 1C may be placed between the first steel earth retaining panels 1A located at both ends of the circumference among the five first steel earth retaining panels 1A, and connected to the first steel earth retaining panel 1A with bolts and nuts, and then the second steel earth retaining panel 1B may be fitted into the space formed between the first steel earth retaining panel 1A and the third steel earth retaining panel 1C.

このように、本実施の形態2に係る鋼製土留パネル(1A~1C)、該鋼製土留パネル(1A~1C)を用いた土留構造物100、及び該土留構造物100の構築工法においても、平面視が円弧状とされ、円弧方向における両端面が、掘削孔の径方向に対して傾斜して形成された鋼製土留パネル1を用いているので、最後に設置される第3鋼製土留パネル1Cを、既に設置された左右の第1鋼製土留パネル1A及び第2鋼製土留パネル1Bの間に形成されたスペースに、環状体101Aの内側から周方向にスライドさせて嵌め込むことができる。つまり、当該スペースの周囲の壁面を拡張掘削する必要がないので、工期の短縮及び工費の削減を図ることができ、施工性を向上させることができる。 In this way, the steel earth retaining panels (1A-1C) according to the second embodiment, the earth retaining structure 100 using the steel earth retaining panels (1A-1C), and the construction method for the earth retaining structure 100 also use a steel earth retaining panel 1 that is arc-shaped in plan view and has both end faces in the arc direction inclined relative to the radial direction of the excavation hole. Therefore, the third steel earth retaining panel 1C, which is installed last, can be slid circumferentially from the inside of the ring-shaped body 101A into the space formed between the already installed first steel earth retaining panel 1A and second steel earth retaining panel 1B on the left and right. In other words, since there is no need to excavate the wall surface around the space, the construction period can be shortened, construction costs can be reduced, and workability can be improved.

なお、図示することは省略したが、環状体101Aを形成する鋼製土留パネル1において、周方向に隣り合う鋼製土留パネル1が突き合わさる端面の組のうち、2つ以上の組が、掘削孔の径方向に対して傾斜して形成された構成としてもよい。 Although not shown in the figures, in the steel retaining panels 1 forming the annular body 101A, two or more of the pairs of end faces where adjacent steel retaining panels 1 in the circumferential direction butt together may be configured to be inclined relative to the radial direction of the excavation hole.

次に、図25~図27に基づいて、本実施の形態2に係る鋼製土留パネル(1A~1C)、該鋼製土留パネル(1A~1C)を用いた土留構造物100の変形例を説明する。図25は、実施の形態2に係る土留構造物における第1土留構造部の変形例を示した平断面図である。図25に示す矢印は、各鋼製土留パネル(1A~1C)の範囲を示している。図26は、実施の形態2の変形例における鋼製土留パネルを示した平断面図である。図27の(A)は図26に示した第3鋼製土留パネルの正面図、(B)は該第3鋼製土留パネルの左側面図、(C)は該第3鋼製土留パネルの右側面図である。 Next, based on Figs. 25 to 27, we will explain modified examples of the steel earth retaining panels (1A to 1C) according to the second embodiment and the earth retaining structure 100 using the steel earth retaining panels (1A to 1C). Fig. 25 is a cross-sectional plan view showing a modified example of the first earth retaining structure part in the earth retaining structure according to the second embodiment. The arrows in Fig. 25 indicate the range of each steel earth retaining panel (1A to 1C). Fig. 26 is a cross-sectional plan view showing a steel earth retaining panel in a modified example of the second embodiment. Fig. 27 (A) is a front view of the third steel earth retaining panel shown in Fig. 26, (B) is a left side view of the third steel earth retaining panel, and (C) is a right side view of the third steel earth retaining panel.

図25~図27に示した本実施の形態2の変形例は、第2鋼製土留パネル1Bにおける円弧方向の長さを、第3鋼製土留パネル1Cと比べて非常に短くしたことを特徴としている。一例として、第2鋼製土留パネル1Bと第3鋼製土留パネル1Cを組み合わせた円弧方向の長さが、第1鋼製土留パネル1Aと略同じ長さである。第2鋼製土留パネル1Bの円弧方向の長さは、第3鋼製土留パネル1Cの円弧方向の長さの1/9程度である。 The modified example of the second embodiment shown in Figures 25 to 27 is characterized in that the length in the arc direction of the second steel earth retaining panel 1B is much shorter than that of the third steel earth retaining panel 1C. As an example, the length in the arc direction of the second steel earth retaining panel 1B and the third steel earth retaining panel 1C combined is approximately the same as that of the first steel earth retaining panel 1A. The length in the arc direction of the second steel earth retaining panel 1B is approximately 1/9 of the length in the arc direction of the third steel earth retaining panel 1C.

本実施の形態2の変形例では、第2鋼製土留パネル1Bを第3鋼製土留パネル1Cと比べて非常に短くして軽量化を図った構成なので、第2鋼製土留パネル1Bを、左右の第1鋼製土留パネル1A及び第3鋼製土留パネル1Cの間に形成されたスペースに、スライドさせて嵌め込む作業が容易となり、施工性をより向上させることができる。 In this modified version of the second embodiment, the second steel earth retaining panel 1B is made much shorter and lighter than the third steel earth retaining panel 1C, which makes it easier to slide the second steel earth retaining panel 1B into the space formed between the left and right first steel earth retaining panel 1A and third steel earth retaining panel 1C, further improving workability.

以上に、鋼製土留パネル1、土留構造物100及び該土留構造物100の構築工法を実施の形態に基づいて説明したが、鋼製土留パネル1、土留構造物100及び該土留構造物100の構築工法は、上述した実施の形態の構成に限定されるものではない。例えば図11に基づいて説明した土留構造物100の構築工法は、一例であって、上記実施の形態に限定されない。要するに、鋼製土留パネル1、土留構造物100及び該土留構造物100の構築工法は、その技術的思想を逸脱しない範囲において、当業者が通常に行う設計変更及び応用のバリエーションの範囲を含むものである。 The steel retaining panel 1, the retaining structure 100, and the construction method for the retaining structure 100 have been described above based on the embodiment, but the steel retaining panel 1, the retaining structure 100, and the construction method for the retaining structure 100 are not limited to the configuration of the above-mentioned embodiment. For example, the construction method for the retaining structure 100 described based on FIG. 11 is one example and is not limited to the above-mentioned embodiment. In short, the steel retaining panel 1, the retaining structure 100, and the construction method for the retaining structure 100 include the range of design changes and application variations that are normally made by a person skilled in the art, within the scope that does not deviate from the technical concept.

1 鋼製土留パネル、1A 第1鋼製土留パネル、1B 第2鋼製土留パネル、1C 第3鋼製土留パネル、2 波付け鋼板、2A ライナープレート、2B プランクプレート、3 鋼製土留パネル、10 スキンプレート、11 主桁、11a 連結孔、11b 抉り孔、11c 外端縁、12 継手板、12a 連結孔、12b 抉り孔、13 形状保持部材、20 周方向フランジ部、20a 連結孔、21 軸方向フランジ部、21a 連結孔、100 土留構造物、101 第1土留構造部、101A 環状体、102 第2土留構造部、102A 環状体、200 地面、201 掘削孔、202 拡張空間、203 裏込注入材、300 井桁。 1 Steel retaining panel, 1A First steel retaining panel, 1B Second steel retaining panel, 1C Third steel retaining panel, 2 Corrugated steel plate, 2A Liner plate, 2B Plank plate, 3 Steel retaining panel, 10 Skin plate, 11 Main girder, 11a Connection hole, 11b Drilled hole, 11c Outer edge, 12 Joint plate, 12a Connection hole, 12b Drilled hole, 13 Shape retaining member, 20 Circumferential flange portion, 20a Connection hole, 21 Axial flange portion, 21a Connection hole, 100 Retaining structure, 101 First retaining structure portion, 101A Ring-shaped body, 102 Second retaining structure portion, 102A Ring-shaped body, 200 Ground, 201 Excavation hole, 202 Expansion space, 203 Backfill injection material, 300 Well.

Claims (7)

地面を掘削して形成された掘削孔に配置されて、リング状の土留構造物を構築するために用いられる鋼製土留パネルであって、
平面視が円弧状とされ、円弧方向における少なくとも一方の端面が、前記掘削孔の径方向に対して傾斜して形成されており、
前記掘削孔の壁面に面する円弧状のスキンプレートと、
前記スキンプレートの上端及び下端に設けられ、上面及び下面を形成する円弧状の主桁と、
を有しており、
上下の前記主桁のそれぞれの外端縁は、前記スキンプレートの外面よりも前記掘削孔の壁面に向かって突き出しており、
前記主桁のそれぞれの前記外端縁と、前記スキンプレートの前記外面とで、凹状のスペースが形成される、鋼製土留パネル。
A steel earth retaining panel used to construct a ring-shaped earth retaining structure by being placed in a borehole formed by excavating the ground,
The plan view is arc-shaped, and at least one end face in the arc direction is inclined with respect to the radial direction of the drilling hole,
An arc-shaped skin plate facing the wall surface of the borehole;
An arc-shaped main girder is provided at the upper end and the lower end of the skin plate and forms an upper surface and a lower surface;
It has
The outer edges of the upper and lower main girders protrude toward the wall surface of the borehole beyond the outer surface of the skin plate,
A steel retaining panel in which a concave space is formed between the outer edge of each of the main girders and the outer surface of the skin plate .
記スキンプレートの円弧方向における両端に設けられ、円弧方向の両端面を形成する継手板を更に有しており、
平面視において、前記主桁の円弧方向における端面及び前記継手板が、前記掘削孔の径方向に対して傾斜して形成されている、請求項1に記載の鋼製土留パネル。
The skin plate further includes a joint plate provided at both ends in the arc direction and forming both end faces in the arc direction,
The steel retaining panel according to claim 1, wherein, in a plan view, the end faces of the main girder in the arc direction and the joint plates are formed at an incline with respect to the radial direction of the excavation hole.
上下の前記主桁の間に設けられ、形状を保持する形状保持部材を更に備えている、請求項1又は2に記載の鋼製土留パネル。 The steel retaining panel according to claim 1 or 2, further comprising a shape retention member provided between the upper and lower main girders and configured to retain the shape. 地面を掘削して形成された掘削孔に、平面視が円弧状である鋼製土留パネルを設置して構築される土留構造物であって、
前記掘削孔の壁面に沿って、複数の前記鋼製土留パネルをリング状に配置して形成された環状体が、孔軸方向に少なくとも1段以上構築された第1土留構造部を備え、
各前記環状体を構成する複数の前記鋼製土留パネルは、請求項1~3のいずれか一項に記載の鋼製土留パネルを少なくとも2つ有しており、周方向に隣り合う前記鋼製土留パネルが突き合わさる端面の組のうち、少なくとも1つの組が、前記掘削孔の径方向に対して傾斜して形成されている、土留構造物。
A retaining structure constructed by installing a steel retaining panel having an arc-shaped plan view in a borehole formed by excavating the ground,
A ring-shaped structure formed by arranging a plurality of the steel earth retaining panels in a ring shape along the wall surface of the borehole includes a first earth retaining structure portion constructed in at least one stage in the hole axial direction;
A retaining structure, wherein each of the multiple steel retaining panels constituting the annular body has at least two steel retaining panels as described in any one of claims 1 to 3, and at least one of the pairs of end faces where adjacent steel retaining panels in the circumferential direction butt together is formed at an incline with respect to the radial direction of the excavation hole.
各前記環状体を形成する前記鋼製土留パネルにおいて、周方向に隣り合う前記鋼製土留パネルが突き合わさる端面のすべての組が、前記掘削孔の径方向に対して傾斜して形成されている、請求項4に記載の土留構造物。 The retaining structure according to claim 4, wherein all pairs of end faces where adjacent steel retaining panels in the circumferential direction butt together in the steel retaining panels forming each annular body are formed at an incline with respect to the radial direction of the excavation hole. 前記掘削孔の壁面に沿って、平面視が円弧状である複数の波付け鋼板をリング状に配置して形成された環状体が、孔軸方向に少なくとも1段以上構築された第2土留構造部を更に備えており、
前記第1土留構造部は、前記第2土留構造部の下方に構築されている、請求項4又は5に記載の土留構造物。
A second retaining structure is further provided, in which a ring-shaped body formed by arranging a plurality of corrugated steel plates having an arc-shaped plan view in a ring shape along the wall surface of the borehole is constructed in at least one stage in the hole axial direction,
The earth retaining structure according to claim 4 or 5, wherein the first earth retaining structural portion is constructed below the second earth retaining structural portion.
請求項4~6のいずれか一項に記載の土留構造物の構築工法であって、
請求項1又は2に記載の鋼製土留パネルを1つ残して、他の鋼製土留パネルを掘削孔の壁面の周方向に沿って順に組み立てて環状体の一部を構築する工程と、
周方向に沿って順に組み立てた鋼製土留パネルのうち両端に位置する鋼製土留パネルの間に形成されたスペースに、残した前記鋼製土留パネルを前記環状体の内側から周方向に沿ってスライドさせて一端側を挿入し、他端側を径方向に向かって押し込んで嵌め込む工程と、を有する、土留構造物の構築工法。
A method for constructing an earth retaining structure according to any one of claims 4 to 6,
A step of assembling the remaining steel earth retaining panels, except for one of the steel earth retaining panels according to claim 1 or 2, in sequence along the circumferential direction of the wall surface of the borehole to construct a part of the annular body;
A method for constructing an earth retaining structure, comprising the steps of: sliding the remaining steel earth retaining panel circumferentially from the inside of the annular body to insert one end of the steel earth retaining panel into a space formed between the steel earth retaining panels located at both ends of the steel earth retaining panels which are assembled in sequence along the circumferential direction, and then pushing the other end in the radial direction to fit it in.
JP2021026188A 2021-02-22 2021-02-22 Steel earth retaining panel, earth retaining structure using said steel earth retaining panel, and construction method for said earth retaining structure Active JP7543162B2 (en)

Priority Applications (1)

Application Number Priority Date Filing Date Title
JP2021026188A JP7543162B2 (en) 2021-02-22 2021-02-22 Steel earth retaining panel, earth retaining structure using said steel earth retaining panel, and construction method for said earth retaining structure

Applications Claiming Priority (1)

Application Number Priority Date Filing Date Title
JP2021026188A JP7543162B2 (en) 2021-02-22 2021-02-22 Steel earth retaining panel, earth retaining structure using said steel earth retaining panel, and construction method for said earth retaining structure

Publications (2)

Publication Number Publication Date
JP2022127939A JP2022127939A (en) 2022-09-01
JP7543162B2 true JP7543162B2 (en) 2024-09-02

Family

ID=83060876

Family Applications (1)

Application Number Title Priority Date Filing Date
JP2021026188A Active JP7543162B2 (en) 2021-02-22 2021-02-22 Steel earth retaining panel, earth retaining structure using said steel earth retaining panel, and construction method for said earth retaining structure

Country Status (1)

Country Link
JP (1) JP7543162B2 (en)

Citations (3)

* Cited by examiner, † Cited by third party
Publication number Priority date Publication date Assignee Title
JP2003148082A (en) 2001-11-12 2003-05-21 Kato Construction Co Ltd Method for building underground sunk structure and its reinforcing structure
US20110129300A1 (en) 2009-11-30 2011-06-02 Dimillo Tony Steel liners for tunnels
JP2020125642A (en) 2019-02-05 2020-08-20 Jfeスチール株式会社 Composite segment, annular body, structure and skin plate

Family Cites Families (3)

* Cited by examiner, † Cited by third party
Publication number Priority date Publication date Assignee Title
JPH0312815Y2 (en) * 1986-03-12 1991-03-26
JPH09268873A (en) * 1996-04-01 1997-10-14 Nippon Steel Metal Prod Co Ltd Liner plate and its assembly method
JPH09273377A (en) * 1996-04-04 1997-10-21 Nippon Kokan Light Steel Kk Segment for shaft ring

Patent Citations (3)

* Cited by examiner, † Cited by third party
Publication number Priority date Publication date Assignee Title
JP2003148082A (en) 2001-11-12 2003-05-21 Kato Construction Co Ltd Method for building underground sunk structure and its reinforcing structure
US20110129300A1 (en) 2009-11-30 2011-06-02 Dimillo Tony Steel liners for tunnels
JP2020125642A (en) 2019-02-05 2020-08-20 Jfeスチール株式会社 Composite segment, annular body, structure and skin plate

Also Published As

Publication number Publication date
JP2022127939A (en) 2022-09-01

Similar Documents

Publication Publication Date Title
JP6456181B2 (en) Steel pipe joint mechanism and connection method
JP6381939B2 (en) Cut beam device and retaining support
AU2011368478B2 (en) Batch-installation-type large-caliber underwater casing installation structure using sheet pile and method for constructing same
CN112502163B (en) An assembled underground continuous wall capable of being implemented at low headroom and a construction method thereof
JP2013174103A (en) Hat-shaped steel sheet pile and structure using the same
JP7543164B2 (en) Earth retaining structures
JP7543162B2 (en) Steel earth retaining panel, earth retaining structure using said steel earth retaining panel, and construction method for said earth retaining structure
JP7543170B2 (en) Steel earth retaining panel and earth retaining structure using said steel earth retaining panel
JPWO2020217481A1 (en) How to build a tunnel support
JP7588526B2 (en) Steel earth retaining panel and earth retaining structure using said steel earth retaining panel
JP7543163B2 (en) Steel earth retaining panel and earth retaining structure using said steel earth retaining panel
JP2022078398A (en) Corrugated steel plate, and wall structure
JP7634399B2 (en) Earth retaining structures
JP6768477B2 (en) How to build an underground structure
JP2023140927A (en) Construction method of underground structure and underground structure
JP7653798B2 (en) Corrugated steel plate and earth retaining structure using said corrugated steel plate
US7887247B2 (en) Underground earth retention strut construction method using horizontal frame structure
JP6948908B2 (en) Construction method of segments, buried structures and buried structures
JP7706342B2 (en) Earth retaining panel
JP2024042759A (en) Earth retaining panel, earth retaining structure, and construction method for earth retaining structure
JP7706344B2 (en) Earth retaining panel and earth retaining structure using said earth retaining panel
JP2024051659A (en) Earth retaining panel, earth retaining structure, and construction method for earth retaining structure
JP2024075856A (en) Earth retaining panel
JP7249895B2 (en) Corrugated structure and construction method of the corrugated structure
JP2024051658A (en) Earth retaining panel, earth retaining structure, and construction method for earth retaining structure

Legal Events

Date Code Title Description
A80 Written request to apply exceptions to lack of novelty of invention

Free format text: JAPANESE INTERMEDIATE CODE: A80

Effective date: 20210308

A621 Written request for application examination

Free format text: JAPANESE INTERMEDIATE CODE: A621

Effective date: 20231101

A977 Report on retrieval

Free format text: JAPANESE INTERMEDIATE CODE: A971007

Effective date: 20240410

A131 Notification of reasons for refusal

Free format text: JAPANESE INTERMEDIATE CODE: A131

Effective date: 20240507

A521 Request for written amendment filed

Free format text: JAPANESE INTERMEDIATE CODE: A523

Effective date: 20240703

TRDD Decision of grant or rejection written
A01 Written decision to grant a patent or to grant a registration (utility model)

Free format text: JAPANESE INTERMEDIATE CODE: A01

Effective date: 20240806

A61 First payment of annual fees (during grant procedure)

Free format text: JAPANESE INTERMEDIATE CODE: A61

Effective date: 20240821

R150 Certificate of patent or registration of utility model

Ref document number: 7543162

Country of ref document: JP

Free format text: JAPANESE INTERMEDIATE CODE: R150