JP6925226B2 - Led点灯装置 - Google Patents

Led点灯装置 Download PDF

Info

Publication number
JP6925226B2
JP6925226B2 JP2017200334A JP2017200334A JP6925226B2 JP 6925226 B2 JP6925226 B2 JP 6925226B2 JP 2017200334 A JP2017200334 A JP 2017200334A JP 2017200334 A JP2017200334 A JP 2017200334A JP 6925226 B2 JP6925226 B2 JP 6925226B2
Authority
JP
Japan
Prior art keywords
thermistor
transistor
led
voltage
lighting device
Prior art date
Legal status (The legal status is an assumption and is not a legal conclusion. Google has not performed a legal analysis and makes no representation as to the accuracy of the status listed.)
Active
Application number
JP2017200334A
Other languages
English (en)
Other versions
JP2019075270A (ja
Inventor
川瀬 公崇
公崇 川瀬
Current Assignee (The listed assignees may be inaccurate. Google has not performed a legal analysis and makes no representation or warranty as to the accuracy of the list.)
Nikkiso Co Ltd
Original Assignee
Nikkiso Co Ltd
Priority date (The priority date is an assumption and is not a legal conclusion. Google has not performed a legal analysis and makes no representation as to the accuracy of the date listed.)
Filing date
Publication date
Application filed by Nikkiso Co Ltd filed Critical Nikkiso Co Ltd
Priority to JP2017200334A priority Critical patent/JP6925226B2/ja
Publication of JP2019075270A publication Critical patent/JP2019075270A/ja
Application granted granted Critical
Publication of JP6925226B2 publication Critical patent/JP6925226B2/ja
Active legal-status Critical Current
Anticipated expiration legal-status Critical

Links

Images

Landscapes

  • Circuit Arrangement For Electric Light Sources In General (AREA)
  • Led Devices (AREA)

Description

本発明は、可視光や紫外光を照射するLED点灯装置に関する。
従来、可視光や紫外光を照射するLED点灯装置が知られている。例えば、特許文献1には、複数の発光素子(LED)を直列に接続して構成された液晶表示パネルのバックライト光源装置が記載されている。特許文献1に記載のバックライト光源装置は光源駆動回路を備えている。光源駆動回路は、複数のLEDそれぞれに、1つのツェナーダイオードを逆並列に接続してなり、電源回路により複数のLEDに定電流を付加するように構成されている。
特許文献1に記載の光源駆動回路は、あるLEDがオープン故障した場合、故障したLEDに逆並列に接続したツェナーダイオードが降伏し、電流をバイパスさせるように構成されている。このツェナーダイオードのツェナー電圧は、LEDの順方向電圧よりも大きな値としている。
特開2009−059835号公報
本発明者は可視光や紫外光を出力するLED点灯装置について以下の認識を得た。
ツェナーダイオードのツェナー電圧Vzを、LEDの順方向の電圧Vfよりも大きく設定する構成では、例えば、電圧Vfが6Vであるとするとツェナー電圧Vzはマージンを考慮して電圧Vfの2倍の12(V)に設定することが考えられる。複数のLEDに流れる電流を350(mA)とすると、LEDがオープン故障した場合には、この電流はツェナーダイオードに流れる。このときツェナーダイオードは12×0.35=4.2(W)の電力損失が生じる。4.2(W)の電力損失に耐えうるツェナーダイオードとしては、相応に大容量のものを使用することが望ましい。大容量のツェナーダイオードは相応に大型で高価であると考えられる。したがって、複数のLEDそれぞれに大容量のツェナーダイオードを接続すると、LED点灯装置が大型化することが考えられる。
ツェナーダイオードの電力損失を減らすために、ツェナー電圧Vzを小さくすることが考えられる。しかし、ツェナー電圧Vzが電圧Vfに近づくと、これらの電圧のバラツキや温度特性によりLEDが正常であるにもかかわらずツェナーダイオードが降伏して誤動作を生じる可能性が高まる問題がある。
これらから、本発明者は、LEDのバイパス回路を小型化してLED点灯装置の大型化を抑制する観点で改善する課題があることを認識した。
本発明の目的は、このような課題に鑑みてなされたもので、大型化を抑制することが可能なLED点灯装置を提供することにある。
上記課題を解決するために、本発明のある態様のLED点灯装置は、LEDと別のLEDとを直列接続してなるLED列を点灯するLED点灯装置であって、LEDのアノードおよびカソードの間の電圧差に応じて分圧電圧を生成する分圧回路と、アノードおよびカソードの間を導通するためのバイポーラ型またはMOS型のトランジスタと、を備える。分圧回路は、トランジスタに熱的に結合された第1サーミスタを含む。第1サーミスタは、トランジスタが導通して発熱するとき、トランジスタのベース−コレクタ間電圧またはゲート−ドレイン間電圧を減らすように設けられている。
この態様によると、トランジスタが発熱するときトランジスタのコレクタ−エミッタ間電圧またはゲート−ドレイン間電圧を減らしてトランジスタの電力損失を小さくすることができる。
なお、以上の構成要素の任意の組み合わせや、本発明の構成要素や表現を方法、システムなどの間で相互に置換したものもまた、本発明の態様として有効である。
本発明によれば、大型化を抑制することが可能なLED点灯装置を提供することができる。
第1実施形態に係るLED点灯装置の構成の一例を示す回路図である。 比較例に係るLED点灯装置のバイパス回路を示す回路図である。 図1のLED点灯装置のバイパス回路の一例を示す回路図である。 第2実施形態に係るLED点灯装置のバイパス回路の一例を示す回路図である。 第3実施形態に係るLED点灯装置のバイパス回路の一例を示す回路図である。 第4実施形態に係るLED点灯装置のバイパス回路の一例を示す回路図である。 第5実施形態に係るLED点灯装置のバイパス回路の一例を示す回路図である。
以下、本発明を好適な実施の形態をもとに各図面を参照しながら説明する。実施の形態、変形例では、同一または同等の構成要素、部材には、同一の符号を付するものとし、適宜重複した説明は省略する。また、各図面における部材の寸法は、理解を容易にするために適宜拡大、縮小して示される。また、各図面において実施の形態を説明する上で重要ではない部材の一部は省略して表示する。
また、第1、第2などの序数を含む用語は多様な構成要素を説明するために用いられるが、この用語は一つの構成要素を他の構成要素から区別する目的でのみ用いられ、この用語によって構成要素が限定されるものではない。
[第1実施形態]
本発明の第1実施形態に係るLED点灯装置100について説明する。図1は、第1実施形態に係るLED点灯装置100の構成の一例を示す回路図である。LED点灯装置100は、殺菌や消毒をするための紫外光や一般照明のための可視光を出力するLED列90を点灯させるための点灯装置として機能する。LED列90は複数のLED10を直列接続して構成される。図1の例では、LED列90は直列に接続された10個のLED10を含んでいる。なお、本明細書の説明において、「電気的に接続」されることを単に「接続」されると表記する。また、本明細書において温度は摂氏温度により表記される。
LED点灯装置100は、電流供給回路50と、LED10それぞれに並列に接続された複数のバイパス回路12と、を含んでいる。図1の例では、LED点灯装置100は10個のバイパス回路12を含んでいる。LED点灯装置100は、電流供給回路50からLED列90に定電流である駆動電流Idを供給する。図1の例では、駆動電流Idは350mAである。駆動電流Idが直列に接続された10個のLED10に流れることにより、LED列90は点灯する。このような定常動作時にはバイパス回路12は動作しないように構成されている。
LED点灯装置100では、あるLED10がオープン故障した場合、故障したLED10に並列接続されたバイパス回路12が導通して駆動電流Idをバイパスさせるように構成されている。このように構成されることにより、一つのLED10がオープン故障しても、残りのLED10には駆動電流Idが流れ、その点灯を継続することができる。この場合、LED点灯装置100は多少光量が減るとしても使用することは可能である。
第1実施形態のバイパス回路12を説明する前に、比較例に係るLED点灯装置600について説明する。LED点灯装置600は、LED点灯装置100に対して、バイパス回路の構成が異なり他の構成は同様である。したがってバイパス回路について説明する。本発明者は、LED点灯装置を研究する過程でバイパス回路にトランジスタを用いるバイパス回路612を案出した。LED点灯装置600は、バイパス回路12の代わりにバイパス回路612を備える。図2は、比較例のバイパス回路612を示す回路図である。バイパス回路612は、分圧回路614と、NMOS型のトランジスタQ26と、を含んでいる。なお、NMOS型のトランジスタは、Nチャネル型のMOSFETと称されることがある。
分圧回路614は、LED10のアノードAおよびカソードKの間の電圧差V1を抵抗R16、R18とで分圧して、その接続点Cpに分圧された電圧Vgを生成する。電圧VgはゲートG26−ソースS26間に印加される。トランジスタQ26は、ゲートG26が抵抗R16、R18の接続点Cpに接続され、ドレインD26がアノードAに接続され、ソースS26がカソードKに接続されている。電圧VgがトランジスタQ26のしきい値Vtに達すると、トランジスタQ26は導通して駆動電流Idをバイパスして流す。なお、この明細書において、抵抗R16、R18などの抵抗は、サーミスタ以外の抵抗器を意味しており、固定抵抗器、可変抵抗器、半固定抵抗器などの受動素子の他、抵抗と同様に機能する能動素子を含む。また、トランジスタのしきい値は、そのトランジスタを導通(”オン”とも称される)させる際のゲート−ソース間またはベース−エミッタ間に印加される電圧を意味している。
LED10が正常である定常時には、電圧Vgがしきい値Vtを超えないように、トランジスタQ26のしきい値Vtおよび抵抗R16、R18の抵抗値が設定されている。一例として、これらの値は、電圧差V1がLED10の順方向の電圧Vfの2倍を超えたら電圧Vgがしきい値Vtを超えるように設定されている。電圧Vfが6(V)でしきい値Vtが2(V)である場合、V1=2×6=12(V)のとき電圧Vgが2(V)になるように、抵抗R16は5(kΩ)、抵抗R18は1(kΩ)に設定されている。電圧差V1が電圧Vfと等しく6(V)であるときは、電圧Vgは1(V)であり、トランジスタQ26は非導通状態である。
LED10がオープン故障すると、LED10のアノードAおよびカソードKの間の電圧差V1は6(V)から上昇し12(V)に近づく。このため、電圧Vgがしきい値Vtである2(V)に近づきトランジスタQ26は導通を開始する。トランジスタQ26が導通し、電流値がId近くまで上昇すると概ね12(V)で平衡状態になる。このとき、トランジスタQ26には、12(V)×0.35(A)=4.2(W)の電力損失が発生する。なお、厳密には、電流値は分圧回路に流れる電流(例えば2mA)を差し引くことになるが、ここでは分圧回路に流れる電流はないものとして説明する。以下の説明についても同様である。
4.2(W)の電力損失に耐えうるトランジスタとしては、相応に大電力型のものを使用することになる。大電力型のトランジスタは相応に大型で高価であると考えられる。したがって、複数のLEDそれぞれに大電力型のトランジスタを接続すると、LED点灯装置が大型化することが考えられる。
本発明者は、比較例の検討結果を踏まえ、トランジスタの電力損失を低減することが可能なバイパス回路を案出した。このバイパス回路は、トランジスタに熱的に結合されたサーミスタを分圧回路に含む。トランジスタが導通して発熱すると、サーミスタの抵抗値が変化してトランジスタのゲート−ドレイン間電圧が減少する。ゲート−ドレイン間電圧が減少するとドレイン−ソース間が減少し、トランジスタの電力損失が減少する。電力損失が減れば、その分トランジスタを小型化し、ひいてはLED点灯装置の大型化を抑制することができる。
以下、このように案出された第1実施形態のバイパス回路の具体的な構成を説明する。
第1実施形態に係るLED点灯装置100のバイパス回路12について説明する。図3は、LED点灯装置100のバイパス回路12の一例を示す回路図である。バイパス回路12は、分圧回路14と、NMOS型のトランジスタQ26と、を含んでいる。分圧回路14は、LED10のアノードAおよびカソードKの間の電圧差V1を第1サーミスタTh16と抵抗R18とで分圧して、その接続点Cpに分圧された電圧Vgを生成する。電圧VgはゲートG26−ソースS26間に印加される。図3の例では、第1サーミスタTh16の接続点Cpと反対側の端子はアノードAに接続されている。抵抗R18の接続点Cpと反対側の端子はカソードKに接続されている。トランジスタQ26のゲートG26は、第1サーミスタTh16と抵抗R18の接続点Cpに接続されている。トランジスタQ26のドレインD26はアノードAに接続されている。トランジスタQ26のソースS26はカソードKに接続されている。電圧VgがトランジスタQ26のしきい値Vtを超えると、トランジスタQ26は導通して駆動電流Idをバイパスして流す。
(第1サーミスタ)
第1サーミスタTh16は、その素子温度が上昇すると抵抗値が指数関数的に減少するNTCサーミスタであってもよい。第1サーミスタTh16は、そのB定数を選択することにより、所望の温度特性を得ることができる。第1サーミスタTh16は、一例として、その温度が10℃高くなる度に抵抗値が半分になるような温度特性を備える。第1サーミスタTh16は、トランジスタQ26に熱的に結合されている。具体的には、第1サーミスタTh16は、基板上においてトランジスタQ26の近傍に配置される。第1サーミスタTh16の温度上昇は、トランジスタQ26の電力損失を、トランジスタQ26の内部素子から第1サーミスタTh16の内部素子までの熱抵抗で除することにより算出することができる。
このように構成されたバイパス回路12の動作を説明する。LED10が正常である定常時には、電圧Vgがしきい値Vtを超えないように、トランジスタQ26のしきい値および第1サーミスタTh16、抵抗R18の抵抗値が設定されている。一例として、これらの値は、電圧差V1が電圧Vfの2倍を超えたら電圧Vgがしきい値Vtを超えるように設定されている。電圧Vfが6(V)でしきい値Vtが2(V)である場合、V1=2×6=12(V)のとき電圧Vgが2(V)になるように、常温(25℃)での第1サーミスタTh16の抵抗値は5(kΩ)、抵抗R18の抵抗値は1(kΩ)に設定されている。電圧差V1が電圧Vfに等しく6(V)であるときは、電圧Vgは1(V)であり、トランジスタQ26は非導通状態である。
LED10がオープン故障すると、LED10のアノードAおよびカソードKの間の電圧差V1は6(V)から上昇し12(V)に近づく。このため、電圧Vgがしきい値Vtである2(V)に近づきトランジスタQ26は導通を開始する。トランジスタQ26が導通し、電流値がId近くまで上昇すると概ね12(V)で平衡状態になる。このとき、トランジスタQ26には、12(V)×0.35(A)=4.2(W)の電力損失が発生する。ここまでは、比較例と同様である。
トランジスタQ26に電力損失が発生すると、熱抵抗に応じて第1サーミスタTh16が温度上昇し、その分抵抗値が減少する。第1サーミスタTh16の抵抗値が減少すると、トランジスタQ26のゲートG26−ドレインD26間の電圧が減少する。ゲート―ドレイン間電圧が減少すると、トランジスタQ26のドレイン―ソース間電圧が減少し、ドレイン電流が同じ場合に電力損失が減少する。例えば、第1サーミスタTh16の温度上昇が10℃でその抵抗値が半分の2.5(kΩ)に減少した状態で平衡した場合、バイパス回路12は、概ね電圧差V1が7(V)となる。この場合、トランジスタQ26の電力損失は、7(V)×0.35(A)=2.45(W)に減少する。例えば、第1サーミスタTh16の温度上昇が20℃でその抵抗値が1/4の1.25(kΩ)に減少した状態で平衡した場合、バイパス回路12は、概ね電圧差V1が4.5(V)となる。この場合、トランジスタQ26の電力損失は、4.5(V)×0.35(A)=1.575(W)に減少する。
第1サーミスタTh16のB定数は、所望の電力損失と熱抵抗とをパラメータとしてシミュレーションにより設定することができる。また、熱抵抗は、トランジスタQ26に所定の電力損失を生じさせたときの第1サーミスタTh16の抵抗変化に基づいて特定することができる。
次に、このように構成されたLED点灯装置100の作用・効果を説明する。
第1実施形態に係るLED点灯装置100は、LED10と別のLEDとを直列接続してなるLED列90を点灯するLED点灯装置であって、LED10のアノードAおよびカソードKの間の電圧差V1に応じて分圧された電圧Vgを生成する分圧回路14と、アノードAおよびカソードKの間を導通するためのトランジスタであって、分圧された電圧Vgに応じて導通抵抗が変化するNMOS型のトランジスタQ26と、を備え、分圧回路14は、トランジスタQ26に熱的に結合された第1サーミスタTh16を含み、第1サーミスタTh16は、トランジスタQ26が導通して発熱するとき、トランジスタQ26のゲートG26−ドレインD26間の電圧を減らすように設けられている。この構成によれば、第1サーミスタTh16を含まない場合にくらべて、トランジスタQ26の電力損失を小さくして、その分小型のトランジスタを採用してLED点灯装置の小型化を図ることができる。
第1実施形態に係るLED点灯装置100では、分圧回路14は、抵抗R18を含み、トランジスタQ26のドレインD26を第1端子と、トランジスタQ26のゲートG26を第2端子と、トランジスタQ26のソースS26を第3端子と、いうとき、抵抗R18は、第1端子と第3端子の一方である第3端子と第2端子との間に接続され、第1サーミスタTh16は、第1端子と第3端子の他方である第1端子と、第2端子と、の間に接続されている。この構成によれば、少ない部品点数により分圧回路14を構成することができるので、LED点灯装置の小型化を図ることができる。
[第2実施形態]
次に、第2実施形態に係るLED点灯装置200について説明する。LED点灯装置200は、LED点灯装置100に対して、バイパス回路の構成が異なり他の構成は同様である。したがってバイパス回路について説明する。LED点灯装置200のバイパス回路212は、第1実施形態のバイパス回路12に対して、抵抗R18の代わりに第2サーミスタTh18を含む点で相違する。
図4は、LED点灯装置200のバイパス回路212の一例を示す回路図である。バイパス回路212は、分圧回路214と、NMOS型のトランジスタQ26と、を含んでいる。分圧回路214は、LED10のアノードAおよびカソードKの間の電圧差V1を第1サーミスタTh16および第2サーミスタTh18とで分圧して、その接続点Cpに分圧された電圧Vgを生成する。電圧VgはゲートG26−ソースS26間に印加される。図4の例では、第1サーミスタTh16の接続点Cpと反対側の端子はアノードAに接続されている。第2サーミスタTh18の接続点Cpと反対側の端子はカソードKに接続されている。トランジスタQ26のゲートG26は、第1サーミスタTh16と第2サーミスタTh18の接続点Cpに接続されている。トランジスタQ26のドレインD26はアノードAに接続されている。トランジスタQ26のソースS26はカソードKに接続されている。電圧VgがトランジスタQ26のしきい値Vtに達すると、トランジスタQ26は導通して駆動電流Idをバイパスして流す。
(第2サーミスタ)
第2サーミスタTh18は、その素子温度が上昇すると抵抗値が指数関数的に減少するNTCサーミスタであってもよい。第2サーミスタTh18は、B定数を選択することにより、所望の温度特性を得ることができる。第2サーミスタTh18は、一例として、その温度が10℃高くなる度に抵抗値が半分になるような温度特性を備える。第2サーミスタTh18は、LED10に熱的に結合されている。具体的には、第2サーミスタTh18は、基板上においてLED10の近傍に配置される。第2サーミスタTh18の温度上昇は、LED10の電力損失を、LED10の内部素子から第2サーミスタTh18の内部素子までの熱抵抗で除することにより算出することができる。第2サーミスタTh18のB定数は第1サーミスタTh16のB定数と異なっていてもよいが、図4の例では同じに設定されている。
第1サーミスタTh16に関連する動作は、第1実施形態のバイパス回路12と同様であり、重複する説明を省く。ここでは、主に第2サーミスタTh18に関連する動作について説明する。第2サーミスタTh18は、LED10が導通して発熱するとき、トランジスタQ26のゲートG26−ソースS26間の電圧Vgを減らすように設けられている。
LED10が正常である定常時において、LED10に電力損失が発生すると、熱抵抗に応じて第2サーミスタTh18が温度上昇し、その分抵抗値が減少する。第2サーミスタTh18の抵抗値が減少すると、トランジスタQ26のゲートG26−ソースS26間の電圧Vgが減少する。電圧Vgが減少すると、トランジスタQ26が導通するしきい値Vtまでのマージンが大きくなる。例えば、第1サーミスタTh16が常温(25℃)のままで、第2サーミスタTh18のみが10℃温度上昇した場合、第2サーミスタTh18の抵抗値が半分の0.5(kΩ)に減少する。この場合、電圧差V1が6(V)であると、電圧Vgは0.55(V)に減少する。つまり、LED10が正常である定常時において、第2サーミスタTh18は、トランジスタQ26が誤って動作する可能性を低くする機能を果たす。
第2サーミスタTh18のB定数は、所望の電力損失と熱抵抗とをパラメータとしてシミュレーションにより設定することができる。また、熱抵抗は、LED10に所定の電力損失を生じさせたときの第2サーミスタTh18の抵抗変化に基づいて特定することができる。
第2実施形態に係るLED点灯装置200は、第1実施形態に係るLED点灯装置100と同様の作用・効果を奏する。加えて、第2実施形態に係るLED点灯装置200は、以下の作用効果を奏する。
第2実施形態に係るLED点灯装置200では、分圧回路214は、LED10に熱的に結合された第2サーミスタTh18を含み、第2サーミスタTh18は、LED10が導通して発熱するとき、トランジスタQ26のゲートG26−ソースS26間の電圧Vgを減らすように設けられている。この構成によれば、第2サーミスタTh18を備えない場合と比較して、LED10が正常である定常時において、トランジスタQ26が誤って動作する可能性を低くすることができる。特に、LED10が導通して発熱することにより第1サーミスタTh16が温度上昇した場合に、第2サーミスタTh18を備えることにより、トランジスタQ26が誤って動作する可能性を低くすることができる。また、雰囲気温度の上昇により第1サーミスタTh16が温度上昇した場合に、第2サーミスタTh18も同様に温度上昇するので、雰囲気温度の影響を略打ち消して電圧Vgの変動を抑制することができる。
第2実施形態に係るLED点灯装置200では、トランジスタQ26のドレインD26を第1端子と、トランジスタのゲートG26を第2端子と、トランジスタのソースS26を第3端子と、いうとき、第2サーミスタTh18は、第1端子と第2端子の一方である第3端子と第2端子との間に接続され、第1サーミスタTh16は、第1端子と第2端子の他方である第1端子と第2端子との間に接続されている。この構成によれば、少ない部品点数により分圧回路214を構成することができるので、LED点灯装置の小型化を図ることができる。
第2実施形態に係るLED点灯装置200では、第1サーミスタTh16および第2サーミスタTh18はNTCサーミスタである。この構成によれば、雰囲気温度の上昇により第1サーミスタTh16の抵抗値が減少した場合に、第2サーミスタTh18の抵抗値も同様に減少するので、雰囲気温度の影響を略打ち消して電圧Vgの変動を抑制することができる。
[第3実施形態]
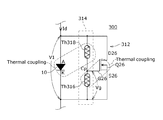
次に、第3実施形態に係るLED点灯装置300について説明する。LED点灯装置300は、LED点灯装置200に対して、バイパス回路の構成が異なり他の構成は同様である。したがってバイパス回路について説明する。LED点灯装置300のバイパス回路312は、第1サーミスタTh316および第2サーミスタTh318がPTCサーミスタである。
図5は、LED点灯装置300のバイパス回路312の一例を示す回路図である。バイパス回路312は、分圧回路314と、NMOS型のトランジスタQ26と、を含んでいる。分圧回路314は、LED10のアノードAおよびカソードKの間の電圧差V1を第2サーミスタTh318および第1サーミスタTh316とで分圧して、その接続点Cpに分圧された電圧Vgを生成する。電圧VgはゲートG26−ソースS26間に印加される。図5の例では、第2サーミスタTh318の接続点Cpと反対側の端子はアノードAに接続されている。第1サーミスタTh316の接続点Cpと反対側の端子はカソードKに接続されている。つまり、第1サーミスタTh316と第2サーミスタTh318の接続位置が第2実施形態の場合と逆になっている。
トランジスタQ26のゲートG26は、第2サーミスタTh318と第1サーミスタTh316の接続点Cpに接続されている。トランジスタQ26のドレインD26はアノードAに接続されている。トランジスタQ26のソースS26はカソードKに接続されている。電圧VgがトランジスタQ26のしきい値Vtに達すると、トランジスタQ26は導通して駆動電流Idをバイパスして流す。
(PTCサーミスタ)
第1サーミスタTh316および第2サーミスタTh318は、その素子温度が上昇すると抵抗値が上昇するPTCサーミスタであってもよい。第1サーミスタTh316は、トランジスタQ26に熱的に結合されている。第2サーミスタTh318は、LED10に熱的に結合されている。具体的には、第1サーミスタTh316は、基板上においてトランジスタQ26の近傍に配置され、第2サーミスタTh318は、基板上においてLED10の近傍に配置される。
LED10がオープン故障した場合に、トランジスタQ26に電力損失が発生すると、熱抵抗に応じて第1サーミスタTh316が温度上昇し、その分抵抗値が増加する。第1サーミスタTh316の抵抗値が増加すると、Th316に流れる電流が減少するため、トランジスタQ26のゲート―ドレイン間電圧が減少し、ドレイン電流が同じ場合に電力損失が減少する。
LED10が正常である定常時において、LED10に電力損失が発生すると、熱抵抗に応じて第2サーミスタTh318が温度上昇し、その分抵抗値が増加する。第2サーミスタTh318の抵抗値が増加すると、トランジスタQ26のゲートG26−ソースS26間の電圧Vgが減少する。電圧Vgが減少すると、トランジスタQ26が導通するしきい値Vtまでのマージンが大きくなる。つまり、LED10が正常である定常時において、第2サーミスタTh318は、トランジスタQ26が誤って動作する可能性を低くする機能を果たす。
第1サーミスタTh316および第2サーミスタTh318のB定数は、所望の電力損失と熱抵抗とをパラメータとしてシミュレーションにより設定することができる。
第3実施形態に係るLED点灯装置300は、第2実施形態に係るLED点灯装置200と同様の作用・効果を奏する。加えて、第3実施形態に係るLED点灯装置300は、以下の作用効果を奏する。
第3実施形態に係るLED点灯装置300では、第1サーミスタTh316および第2サーミスタTh318はPTCサーミスタである。この構成によれば、雰囲気温度の上昇により第1サーミスタTh316の抵抗値が増加した場合に、第2サーミスタTh318の抵抗値も同様に増加するので、雰囲気温度の影響を略打ち消して電圧Vgの変動を抑制することができる。
[第4実施形態]
次に、第4実施形態に係るLED点灯装置400について説明する。LED点灯装置400は、LED点灯装置200に対して、バイパス回路の構成が異なり他の構成は同様である。したがってバイパス回路について説明する。LED点灯装置400のバイパス回路412は、NMOS型のトランジスタQ26の代わりに、PMOS型のトランジスタQ426を備える。なお、PMOS型のトランジスタは、Pチャネル型のMOSFETと称されることがある。
図6は、LED点灯装置400のバイパス回路412の一例を示す回路図である。バイパス回路412は、分圧回路414と、PMOS型のトランジスタQ426と、を含んでいる。分圧回路414は、LED10のアノードAおよびカソードKの間の電圧差V1を第1サーミスタTh16と、第2サーミスタTh18とで分圧して、その接続点Cpに分圧された電圧Vgを生成する。電圧VgはゲートG426−ソースS426間に印加される。図6の例では、第1サーミスタTh16の接続点Cpと反対側の端子はカソードKに接続されている。第2サーミスタTh18の接続点Cpと反対側の端子はアノードAに接続されている。トランジスタQ426のゲートG426は、第1サーミスタTh16と第2サーミスタTh18の接続点Cpに接続されている。トランジスタQ426のドレインD426はカソードKに接続されている。トランジスタQ426のソースS426はアノードAに接続されている。電圧VgがトランジスタQ426のしきい値Vtを達すると、トランジスタQ426は導通して駆動電流Idをバイパスして流す。
第1サーミスタTh16は、トランジスタQ426に熱的に結合されている。第2サーミスタTh18は、LED10に熱的に結合されている。具体的には、第1サーミスタTh16は、基板上においてトランジスタQ426の近傍に配置され、第2サーミスタTh18は、基板上においてLED10の近傍に配置される。
LED10がオープン故障した場合に、トランジスタQ426に電力損失が発生すると、熱抵抗に応じて第1サーミスタTh16が温度上昇し、その分抵抗値が減少する。第1サーミスタTh16の抵抗値が減少すると、トランジスタQ426のゲートG426−ドレインD426間の電圧が減少する。ソース―ドレイン間電圧が減少すると、トランジスタQ426のドレイン―ソース間電圧が減少し、ドレイン電流が同じ場合に電力損失が減少する。
LED10が正常である定常時において、LED10に電力損失が発生すると、熱抵抗に応じて第2サーミスタTh18が温度上昇し、その分抵抗値が減少する。第2サーミスタTh18の抵抗値が減少すると、トランジスタQ426のゲートG426−ソースS426間の電圧Vgが減少する。電圧Vgが減少すると、トランジスタQ26が導通するしきい値Vtまでのマージンが大きくなる。つまり、LED10が正常である定常時において、第2サーミスタTh18は、トランジスタQ426が誤って動作する可能性を低くする機能を果たす。
第1サーミスタTh16および第2サーミスタTh18のB定数は、所望の電力損失と熱抵抗とをパラメータとしてシミュレーションにより設定することができる。
第4実施形態に係るLED点灯装置400は、第2実施形態に係るLED点灯装置200と同様の作用・効果を奏する。
[第5実施形態]
次に、第5実施形態に係るLED点灯装置500について説明する。LED点灯装置500は、LED点灯装置200に対して、バイパス回路の構成が異なり他の構成は同様である。したがってバイパス回路について説明する。LED点灯装置500のバイパス回路512は、NMOS型のトランジスタQ26の代わりに、NPNバイポーラ型のトランジスタQ526を備える。バイポーラ型のトランジスタQ526のしきい値Vtは、例えば0.7(V)であり、NMOS型のトランジスタQ26のしきい値より低い場合が多い。
図7は、LED点灯装置500のバイパス回路512の一例を示す回路図である。バイパス回路512は、分圧回路514と、NPNバイポーラ型のトランジスタQ526と、を含んでいる。分圧回路514は、LED10のアノードAおよびカソードKの間の電圧差V1を第1サーミスタTh16と、第2サーミスタTh18とで分圧して、その接続点Cpに分圧された電圧Vgを生成する。電圧VgはベースB526−エミッタE526間に印加される。図7の例では、第1サーミスタTh16の接続点Cpと反対側の端子はアノードAに接続されている。第2サーミスタTh18の接続点Cpと反対側の端子はカソードKに接続されている。トランジスタQ526のベースB526は、第1サーミスタTh16と第2サーミスタTh18の接続点Cpに接続されている。ベースB526は、抵抗を介して接続点Cpに接続されてもよい。トランジスタQ526のコレクタC526はアノードAに接続されている。トランジスタQ526のエミッタE526はカソードKに接続されている。電圧VgがトランジスタQ526のしきい値Vtに達すると、トランジスタQ526は導通して駆動電流Idをバイパスして流す。
第1サーミスタTh16は、トランジスタQ526に熱的に結合されている。第2サーミスタTh18は、LED10に熱的に結合されている。具体的には、第1サーミスタTh16は、基板上においてトランジスタQ526の近傍に配置され、第2サーミスタTh18は、基板上においてLED10の近傍に配置される。
LED10がオープン故障した場合に、トランジスタQ526に電力損失が発生すると、熱抵抗に応じて第1サーミスタTh16が温度上昇し、その分抵抗値が減少する。第1サーミスタTh16の抵抗値が減少すると、トランジスタQ526のベースB526−コレクタC526間の電圧が減少する。ベース―コレクタ電圧が減少すると、トランジスタQ526のコレクタ―エミッタ間電圧が減少し、コレクタ電流が同じ場合に電力損失が減少する。
LED10が正常である定常時において、LED10に電力損失が発生すると、熱抵抗に応じて第2サーミスタTh18が温度上昇し、その分抵抗値が減少する。第2サーミスタTh18の抵抗値が減少すると、トランジスタQ526のベースB526−エミッタE526間の電圧Vgが減少する。電圧Vgが減少すると、トランジスタQ526が導通するしきい値Vtまでのマージンが大きくなる。つまり、LED10が正常である定常時において、第2サーミスタTh18は、トランジスタQ526が誤って動作する可能性を低くする機能を果たす。
第1サーミスタTh16および第2サーミスタTh18のB定数は、所望の電力損失と熱抵抗とをパラメータとしてシミュレーションにより設定することができる。
第5実施形態に係るLED点灯装置500は、第2実施形態に係るLED点灯装置200と同様の作用・効果を奏する。
以上、本発明の各実施形態をもとに説明した。これらの実施形態は例示であり、いろいろな変形および変更が本発明の特許請求の範囲内で可能なこと、またそうした変形例および変更も本発明の特許請求の範囲にあることは当業者に理解されるところである。従って、本明細書での記述および図面は限定的ではなく例証的に扱われるべきものである。
以下、変形例について説明する。変形例の図面および説明では、実施形態と同一または同等の構成要素、部材には、同一の符号を付する。実施形態と重複する説明を適宜省略し、第1実施形態と相違する構成について重点的に説明する。
(第1変形例)
第5実施形態の説明では、バイパス回路512がNPNバイポーラ型のトランジスタQ526を備える例について説明したが、これに限られない。バイパス回路はNPNバイポーラ型のトランジスタに代えてPNPバイポーラ型のトランジスタを備えてもよい。この場合、トランジスタのエミッタおよび第2サーミスタの接続点Cpと反対側の端子はアノードAに接続し、トランジスタのコレクタおよび第1サーミスタの接続点Cpと反対側の端子はカソードKに接続するようにしてもよい。
(第2変形例)
各実施形態の説明では、第1サーミスタと第2サーミスタは、単独でLED10のアノードAまたはカソードKと、接続点Cpと、の間に接続される例について説明したが、これに限られない。第1サーミスタ、第2サーミスタは他の電気素子または電子素子と組み合わされた状態で用いられてもよい。例えば、第1サーミスタ、第2サーミスタは、抵抗と直列または並列に接続されて用いられてもよい。第1サーミスタ、第2サーミスタはダイオードなどの半導体素子と接続されて用いられてもよい。
上述の各変形例は各実施形態と同様の作用・効果を奏する。
上述した各実施形態と変形例の任意の組み合わせもまた本発明の実施形態として有用である。組み合わせによって生じる新たな実施形態は、組み合わされる各実施形態および変形例それぞれの効果をあわせもつ。
10・・LED、 12・・バイパス回路、 14・・分圧回路、 18・・抵抗、 50・・電流供給回路、 90・・LED列、 100・・LED点灯装置、 D26・・ドレイン、 G26・・ゲート、 Q26・・トランジスタ、 R16・・抵抗、 R18・・抵抗、 S26・・ソース、 Th16・・第1サーミスタ、
Th18・・第2サーミスタ。

Claims (6)

  1. LEDと別のLEDとを直列接続してなるLED列を点灯するLED点灯装置であって、
    前記LEDのアノードおよびカソードの間の電圧差に応じて分圧電圧を生成する分圧回路と、
    前記アノードおよび前記カソードの間を導通するためのバイポーラ型またはMOS型のトランジスタと、
    を備え、
    前記分圧回路は、前記トランジスタに熱的に結合された第1サーミスタを含み、
    前記第1サーミスタは、前記トランジスタが導通して発熱するとき、前記トランジスタのコレクタ−エミッタ間電圧またはドレイン−ソース間電圧を減らすように設けられていることを特徴とするLED点灯装置。
  2. 前記分圧回路は、抵抗を含み、
    前記トランジスタのコレクタまたはドレインを第1端子と、前記トランジスタのベースまたはゲートを第2端子と、前記トランジスタのエミッタまたはソースを第3端子と、いうとき、
    前記抵抗は、前記第1端子と前記第3端子の一方と前記第2端子との間に接続され、
    前記第1サーミスタは、前記第1端子と前記第3端子の他方と前記第2端子との間に接続されることを特徴とする請求項1に記載のLED点灯装置。
  3. LEDと別のLEDとを直列接続してなるLED列を点灯するLED点灯装置であって、
    前記LEDのアノードおよびカソードの間の電圧差に応じて分圧電圧を生成する分圧回路と、
    前記アノードおよび前記カソードの間を導通するためのバイポーラ型またはMOS型のトランジスタと、
    を備え、
    前記分圧回路は、前記トランジスタに熱的に結合された第1サーミスタを含み、
    前記第1サーミスタは、前記トランジスタが導通して発熱するとき、前記トランジスタのコレクタ−エミッタ間電圧またはドレイン−ソース間電圧を減らすように設けられており、
    前記分圧回路は、前記LEDに熱的に結合された第2サーミスタを含み、
    前記第2サーミスタは、前記LEDが導通して発熱するときまたは雰囲気温度が上昇したとき、前記トランジスタのベース−エミッタ間電圧またはゲート−ソース間電圧を減らすように設けられていることを特徴とするLED点灯装置。
  4. 前記トランジスタのコレクタまたはドレインを第1端子と、前記トランジスタのベースまたはゲートを第2端子と、前記トランジスタのエミッタまたはソースを第3端子と、いうとき、
    前記第2サーミスタは、前記第1端子と前記第3端子の一方と前記第2端子との間に接続され、
    前記第1サーミスタは、前記第1端子と前記第3端子の他方と前記第2端子との間に接続されることを特徴とする請求項3に記載のLED点灯装置。
  5. 前記第1サーミスタおよび前記第2サーミスタはNTCサーミスタであることを特徴とする請求項3または4に記載のLED点灯装置。
  6. 前記第1サーミスタおよび前記第2サーミスタはPTCサーミスタであることを特徴とする請求項3または4に記載のLED点灯装置。
JP2017200334A 2017-10-16 2017-10-16 Led点灯装置 Active JP6925226B2 (ja)

Priority Applications (1)

Application Number Priority Date Filing Date Title
JP2017200334A JP6925226B2 (ja) 2017-10-16 2017-10-16 Led点灯装置

Applications Claiming Priority (1)

Application Number Priority Date Filing Date Title
JP2017200334A JP6925226B2 (ja) 2017-10-16 2017-10-16 Led点灯装置

Publications (2)

Publication Number Publication Date
JP2019075270A JP2019075270A (ja) 2019-05-16
JP6925226B2 true JP6925226B2 (ja) 2021-08-25

Family

ID=66544314

Family Applications (1)

Application Number Title Priority Date Filing Date
JP2017200334A Active JP6925226B2 (ja) 2017-10-16 2017-10-16 Led点灯装置

Country Status (1)

Country Link
JP (1) JP6925226B2 (ja)

Family Cites Families (2)

* Cited by examiner, † Cited by third party
Publication number Priority date Publication date Assignee Title
JP2010114216A (ja) * 2008-11-05 2010-05-20 Sharp Corp Led照明装置
JP2014146423A (ja) * 2013-01-25 2014-08-14 Panasonic Corp 電流バイパス回路、照明用光源及び照明装置

Also Published As

Publication number Publication date
JP2019075270A (ja) 2019-05-16

Similar Documents

Publication Publication Date Title
US10306725B2 (en) Light source drive device and vehicle lamp
US20100122976A1 (en) Thermistor with 3 terminals, thermistor-transistor, circuit for controlling heat of power transistor using the thermistor-transistor, and power system including the circuit
JP2010193034A (ja) 過電流保護回路
US10111291B2 (en) Lighting circuit and vehicular lamp
CN101730335A (zh) 发光二极管驱动电路及其晶体管开关模块
WO2017025026A1 (en) Protection circuit for a driving circuit
CN101883460A (zh) 低压差(ldo)电流调整器
CN102065603B (zh) 负载驱动电路及多负载反馈电路
JP6925226B2 (ja) Led点灯装置
JP2010193033A (ja) 過電流保護回路
US11395386B2 (en) Semiconductor device
TW201339784A (zh) 穩壓電路及電子裝置
KR20110104819A (ko) 발광 다이오드 어레이 회로
JP2017005185A (ja) 電流駆動回路および発光装置
US12058792B2 (en) Vehicle lamp
WO2017025027A1 (en) Driving circuit for supplying constant current
US20100127653A1 (en) Fan controlling circuit
US20120074865A1 (en) Light emitting diode driving device
JP6132091B2 (ja) Led駆動回路および配線基板
JP2019040691A (ja) 発光素子の駆動装置、発光装置
JP7184183B2 (ja) Led駆動回路
JP6393674B2 (ja) 半導体集積回路及び定電流駆動システム
JP2007142139A (ja) Ledの駆動制御装置
JP6102394B2 (ja) 負荷駆動回路
JP6626296B2 (ja) 発光ダイオード点灯装置

Legal Events

Date Code Title Description
A621 Written request for application examination

Free format text: JAPANESE INTERMEDIATE CODE: A621

Effective date: 20200428

A977 Report on retrieval

Free format text: JAPANESE INTERMEDIATE CODE: A971007

Effective date: 20210219

A131 Notification of reasons for refusal

Free format text: JAPANESE INTERMEDIATE CODE: A131

Effective date: 20210302

A521 Request for written amendment filed

Free format text: JAPANESE INTERMEDIATE CODE: A523

Effective date: 20210419

TRDD Decision of grant or rejection written
A01 Written decision to grant a patent or to grant a registration (utility model)

Free format text: JAPANESE INTERMEDIATE CODE: A01

Effective date: 20210720

A61 First payment of annual fees (during grant procedure)

Free format text: JAPANESE INTERMEDIATE CODE: A61

Effective date: 20210803

R150 Certificate of patent or registration of utility model

Ref document number: 6925226

Country of ref document: JP

Free format text: JAPANESE INTERMEDIATE CODE: R150

R250 Receipt of annual fees

Free format text: JAPANESE INTERMEDIATE CODE: R250

R250 Receipt of annual fees

Free format text: JAPANESE INTERMEDIATE CODE: R250