JP6755102B2 - 外壁パネルの地組架台および外壁面材の施工方法 - Google Patents

外壁パネルの地組架台および外壁面材の施工方法 Download PDF

Info

Publication number
JP6755102B2
JP6755102B2 JP2016040020A JP2016040020A JP6755102B2 JP 6755102 B2 JP6755102 B2 JP 6755102B2 JP 2016040020 A JP2016040020 A JP 2016040020A JP 2016040020 A JP2016040020 A JP 2016040020A JP 6755102 B2 JP6755102 B2 JP 6755102B2
Authority
JP
Japan
Prior art keywords
wall panel
wall
frame
parent
assembled
Prior art date
Legal status (The legal status is an assumption and is not a legal conclusion. Google has not performed a legal analysis and makes no representation as to the accuracy of the status listed.)
Active
Application number
JP2016040020A
Other languages
English (en)
Other versions
JP2017155489A (ja
Inventor
雅司 大久保
雅司 大久保
洋輔 小濱
洋輔 小濱
智美 添田
智美 添田
栄紀 鴨下
栄紀 鴨下
智洋 藤沼
智洋 藤沼
Current Assignee (The listed assignees may be inaccurate. Google has not performed a legal analysis and makes no representation or warranty as to the accuracy of the list.)
Fujita Corp
Daiwa House Industry Co Ltd
Original Assignee
Fujita Corp
Daiwa House Industry Co Ltd
Priority date (The priority date is an assumption and is not a legal conclusion. Google has not performed a legal analysis and makes no representation as to the accuracy of the date listed.)
Filing date
Publication date
Application filed by Fujita Corp, Daiwa House Industry Co Ltd filed Critical Fujita Corp
Priority to JP2016040020A priority Critical patent/JP6755102B2/ja
Publication of JP2017155489A publication Critical patent/JP2017155489A/ja
Application granted granted Critical
Publication of JP6755102B2 publication Critical patent/JP6755102B2/ja
Active legal-status Critical Current
Anticipated expiration legal-status Critical

Links

Images

Landscapes

  • Conveying And Assembling Of Building Elements In Situ (AREA)

Description

この発明は、物流施設等の鉄骨系建物等における建物躯体に取り付けられる複数枚の外壁面材を、地上等で下地フレームに組み付けて下地一体型の外壁パネルとする作業に用いる外壁パネルの地組架台、およびこの地組架台を用いた外壁面材の施工方法に関する。
物流施設、コンビニエンスストア等の建物の外壁において、ロックウール等の不燃断熱材を鋼板で挟み込んだ金属サンドイッチパネル等の横長の外壁面材を上下に複数枚並べて構築するものがある。このような外壁を施工するのに、従来は、建物躯体に下地となる胴縁を先行して取り付けている。
特許第5059567号公報 特開2004−346601号公報 特開平1−182466号公報 実開平1−85379号公報 特許第4709321号公報 特開2012−057370号公報 特開平9−96025号公報 特開2004−68523号公報 特開平6−180034号公報 特開平8−246677号公報
上記した従来の施工方法では、足場が必要であり、外壁面材の荷揚げ、胴縁への外壁面材のビス留め、および目地部へのシーリングを建物躯体の屋外側から行う必要がある。また、外壁面材の取付け施工の間、足場を解体できないことから、例えば外構工事など足場に影響する工事が滞留するなどの問題がある。
そこで、上記各問題を解消するために、図17のように、予め地上で縦胴縁36に複数の外壁面材33を取り付けて大判化された外壁パネル31Aとしておき、この外壁パネル31Aを揚重装置で持ち上げて建物躯体に取り付けることを考えた。しかし、大判化された外壁パネル31Aは施工精度が必要であり、製作精度が要求される。精度が出ていない外壁パネル31Aをそのまま建物躯体に取り付けた場合、建物の外観の仕上がりが大きく損なわれる。このため、建物躯体への取付け時に外壁パネル31Aの変形を調整する必要があり、その調整作業に時間がかかる。
この発明の目的は、地上等で下地フレームに複数枚の外壁面材を組み付けて下地一体型の外壁パネルとする作業が容易に行え、精度良く外壁パネルを組み立てることができる外壁パネルの地組架台、およびこの地組架台を用いて行う外壁面材の施工方法を提供することである。
この発明の外壁パネルの地組架台は、建物躯体への取付け状態で上下方向に並ぶ複数枚の外壁面材と下地フレームとで形成され、前記下地フレームは、前記外壁面材の横幅方向に延びる上下の親胴縁と、互いに前記横幅方向に間隔を開けて配置され上下方向に延びる複数本の縦胴縁とが連結されたものであり、前記各外壁面材が前記複数本の縦胴縁に組み付けられた外壁パネルを、
前記建物躯体の外壁面材取付け箇所とは別の場所で組み立てる作業に用いられる地組架台であって、
自立する地組架台本体と、
この地組架台本体にそれぞれ取り付けられ、前記外壁パネルに組み立てられる前の前記下地フレームの前記上下の親胴縁を、前記外壁パネルに組立て後の配置関係でかつ前記外壁パネルに組立て後と同じ姿勢でそれぞれ保持する複数の上側保持手段と下側保持手段とを備える。
この構成の地組架台によると、複数の上側保持手段と下側保持手段により、組立て後の外壁パネルにおける上下の親胴縁の配置で組み立て前の上下の親胴縁を保持できる。このため、下地フレームに複数の外壁面材を取り付けた下地一体型の外壁パネルを容易に地組みすることができる。外壁パネルは、建物躯体に取り付けられる状態と同じ姿勢で組み上がる。このため、建物躯体への外壁パネルの取付け作業性が良い。
下地フレームは、外壁面材の横幅方向に延びる上下の親胴縁と、互いに横幅方向に間隔を開けて配置され上下方向に延びる複数本の縦胴縁とが連結されたものである。このため、面内方向の変形に対する剛性が高い。建物躯体への取付けに際して、外壁パネルを揚重装置で吊り上げたときに、外壁パネルが平行四辺形等に変形しがたい。このため、建物躯体への取付け時に外壁パネルの変形を調整する作業が削減でき、建物躯体に外壁パネルを効率良く取り付けることができる。
このように組み上がった外壁パネルを吊り上げ、その下地フレームの親胴縁を建物躯体に設けられたファスナー等に取り付ける。この取付け作業は、建物の屋内側から、スラブや梁等の上で行える。また、個々の外壁面材を屋外側から胴縁にビス止めする作業が不要になる。そのため、建物躯体への外壁面材の取付け施工において、足場の設置が不要で、足場に起因する工事の遅延などを少なくすることができる。外壁面材間の縦目地等の目地処理の作業は、その目地構造によっては、外壁パネルの施工後に屋外から行うことが必要な場合があるが、目地処理だけであれば、簡単で処理時間も短いため、高所作業車またはゴンドラを用いることで、足場の設置が不要となる。
前記構成において、前記地組架台本体に、互いに上側および下側に位置する上側水平桟と下側水平桟とが架設され、前記上側水平桟に複数の前記上側保持手段が設けられ、かつ前記下側水平桟に複数の前記下側保持手段が設けられている
上側水平桟と下側水平桟とを設けて上側保持手段と下側保持手段とを取り付けると、これら保持手段の設置が簡素な構造で行うことができる。
前記構成において、前記外壁パネルは、前記上側の親胴縁に、上下に貫通する位置決め孔と固定用ねじ孔とを有するファスナーが、前記外壁面材の取り付けられる面と反対側に突出して設けられ、前記上側保持手段は、前記上側水平桟から上方に突出し前記ファスナーの前記位置決め孔に下方から挿通される位置決めピンと、前記ファスナーの前記固定用ねじ孔に上方から螺着されたボルトの前記固定用ねじ孔から突出した部分が螺着される仮止め用ねじ孔とを有し、前記下側保持手段は、前記下側水平桟から上方に突出し、前記下側の親胴縁の底面に設けられたピン孔に嵌るダボピンで構成されている。
この構成によると、上側保持手段の位置決めピンに上側の親胴縁に設けられたファスナーの位置決め孔を挿入し、その状態でファスナーの固定用ねじ孔に上方からボルトを螺着し、そのボルトの固定用ねじ孔から突出した部分を上側保持手段の仮止め用ねじ孔に螺着させる。また、下側保持手段のダボピンに、下側の親胴縁の底面に設けられたピン孔を嵌め込む。これにより、上側の親胴縁と下側の親胴縁が、外壁パネルに組立て後と同じ配置関係で、かつ外壁パネルに組立て後と同じ姿勢で保持される。これらの作業は容易であり、上側の親胴縁と下側の親胴縁の保持を効率良く行える。
この発明の外壁面材の施工方法は、建物躯体への取付け状態で上下方向に並ぶ複数枚の外壁面材を、前記外壁面材の横幅方向に延びる上下の親胴縁と互いに前記横幅方向に間隔を開けて配置され上下方向に延びる複数本の縦胴縁とが連結された下地フレームを介して前記建物躯体に取り付ける外壁面材の施工方法であって、
この発明の外壁パネルの地組架台を用い、
前記建物躯体の外壁面材取付け箇所とは別の場所に設置された地組架台上で前記複数枚の外壁面材を前記下地フレームに組み付けて立ち姿勢の外壁パネルとする外壁パネル地組過程と、
前記外壁パネルを前記地組架台から揚重装置で吊り上げて前記建物躯体の前記外壁面材取付け箇所へ運搬し前記下地フレームを前記建物躯体に固定する外壁パネル設置過程とでなり、
前記外壁パネル地組過程は、前記下地フレームの上下の親胴縁を前記外壁パネルに組立て後の配置関係でかつ前記外壁パネルに組立て後と同じ姿勢でそれぞれ保持させる親胴縁保持過程と、
保持された前記下地フレームの前記上下の親胴縁と互いに連結するように前記複数本の縦胴縁とを組み付ける縦胴縁組付け過程と、
組み付けられた前記複数本の縦胴縁に前記複数枚の外壁面材を取り付ける外壁面材取付け過程とを含む。
この施工方法によると、外壁パネルを地組みし、この外壁パネルの下地フレームを建物躯体に取り付けるため、その取付け作業が建物の屋内側から、スラブや梁等の上で行える。また、個々の外壁面材を屋外側から胴縁にビス止めする作業が不要になる。そのため足場の設置が不要で、足場に起因する工事の遅延などを少なくすることができる。
また、下地フレームは、上下の親胴縁と複数本の縦胴縁とが組み合わされている。そのため、面内方向の変形に対する剛性が高く、外壁パネルを揚重装置で持ち上げたときに、外壁パネルが平行四辺形等に変形しがたい。このため、建物躯体への取付け時に外壁パネルの変形を調整する作業が削減でき、外壁パネルを効率良く建物躯体に取り付けることができる。
この発明の外壁パネルの地組架台は、地上等で下地フレームに複数枚の外壁面材を組み付けて下地一体型の外壁パネルとする作業が容易に行え、精度良く外壁パネルを組み立てることができる。
この発明の外壁面材の施工方法は、地上等で下地フレームに複数枚の外壁面材を組み付けて下地一体型の外壁パネルとする作業が容易に行え、その組み立てた外壁パネルを効率良く建物躯体に取り付けることができる。
この発明の一実施形態にかかる外壁パネルの地組架台の正面図である。 同地組架台の平面図である。 同地組架台の側面図である。 同地組架台の上側水平桟の一部および外壁パネルの上側の親胴縁の一部の平面図である。 同上側水平桟の一部および同上側の親胴縁の側面断面図である。 同地組架台のパネル受け梁および下側水平桟の側面断面図に下側の親胴縁の側面断面図を加えた図である。 同地組架台で組み立てられた外壁パネルを屋内側から見た斜視図である。 外壁面材の断面図である。 上下に隣合う外壁パネルの境界部分の断面図である。 この発明の外壁面材の施工方法における外壁パネル地組過程の第1段階を示す説明図である。 同外壁パネル地組過程の第2段階を示す説明図である。 同外壁パネル地組過程の第3段階を示す説明図である。 上側水平桟とこの上側水平桟の上側保持手段に保持された上側の親胴縁とを示す平面図に部分拡大図を加えた図である。 外壁パネルを建物躯体に取り付ける作業の説明図である。 建物の外壁付近を示す部分断面図である。 同外壁パネルを吊り上げたときの状態を示す図である。 試案の外壁パネルの斜視図である。
この発明の一実施形態を図面と共に説明する。
図1はこの実施形態にかかる外壁パネルの地組架台の正面図、図2はその平面図、図3はその側面図である。この外壁パネルの地組架台1は、図7に示す外壁パネル31を、建物躯体の外壁面材取付け箇所とは別の場所、例えば地上で組み立てる作業に用いられる。
図7は外壁パネル31を室内側から見た斜視図である。この外壁パネル31は、建物躯体への取付け用の下地となる下地フレーム32に、建物躯体への取付け状態で上下方向に並ぶ複数枚の外壁面材33を組み付けた大判の下地一体型の外壁パネルである。下地フレーム32は、外壁面材33の横幅方向に延びる横架材である上下の親胴縁34,35と、互いに前記横幅方向に間隔を開けて配置され上下方向に延びる複数本の縦胴縁36とが連結されたものであり、複数本の縦胴縁36に各外壁面材33が組み付けられる。
外壁面材33としては、例えば図8に示すように、ロックウール等の不燃断熱材37を鋼板38,39で挟み込んだ金属サンドイッチパネルが用いられる。2枚の外壁面材33を上下に並べた場合、図9のように、下段に位置する外壁面材33の上端面に形成された横幅方向に長い凹部33aに上段に位置する外壁面材33の下端面に形成された横幅方向に長い凸部33bが嵌り込むことで、上下の外壁面材33が互いに面外方向に位置ずれしないように組み合わされる。
図1〜図3において、地組架台1は、自立する地組架台本体2と、この地組架台本体2にそれぞれ取り付けられた複数の上側保持手段3と下側保持手段4とを備える。上側保持手段3と下側保持手段4は、外壁パネル31(図7)に組み立てられる前の上下の親胴縁34,35(図7)を、外壁パネル31に組立て後の配置関係でかつ外壁パネル31に組立て後と同じ姿勢でそれぞれ保持するものである。
地組架台本体2は、地組架台1の主要部となる架構であって、左右一対の前後方向基礎梁5、前後一対の左右方向基礎梁6、4本の外支柱7、4本の内支柱8、前後一対のパネル受け梁9、左右一対の前後方向上端梁10、前後一対の左右方向上端梁11、複数の左右方向中間梁12、および複数の前後方向補強梁13で構成される。これらの梁5,6,9,10,11,12,13および支柱7,8は、H形鋼などの鋼材からなる。なお、以下の説明では、図2における紙面の上下方向を「前後方向」とし、紙面の左右方向を「左右方向」とする。
具体的には、左右一対の前後方向基礎梁5は、図2の平面図に示すように、地盤G上に左右に所定間隔を隔てて互いに平行に配置されている。また、前後一対の左右方向基礎梁6は、図3の側面図に示すように、地盤G上に前後に所定間隔を隔てて互いに平行に配置され、かつ図1の正面図に示すように、一対の前後方向基礎梁5間に架設されている。前後方向基礎梁5および左右方向基礎梁6は、アンカーなどの固定具(図示せず)で地盤Gに固定される。地盤Gの表面は、地組架台1で組み付けられる外壁パネル31の組立精度向上のために、地均しをするか、あるいはコンクリートなどで均しておき、水平性を保っておくのが望ましい。
図1および図3に示すように、4本の外支柱7は、前後方向基礎梁5と左右方向基礎梁6との各交差位置からそれぞれ垂直に立ち上がるように設けられている。また、4本の内支柱8は、一対の左右方向基礎梁6における長さ方向に離れた2箇所からそれぞれ垂直に立ち上がるように設けられている。そして、前列の外支柱7および内支柱8の下端部の前面に前側のパネル受け梁9が固定され、後列の外支柱7および内支柱8の下端部の後面に後側のパネル受け梁9が固定されている。
左右の前後方向上端梁10は、左側2本の外支柱7の上端の上、および右側2本の外支柱7の上端の上にそれぞれ設置されている。前後の左右方向上端梁11は、前側2本の内支柱8の上端の上、および後側2本の内支柱8の上端の上にそれぞれ設置され、各両端が左右の前後方向上端梁10の側面にそれぞれ結合されている。各左右方向中間梁12は、左右に並ぶ外支柱7および内支柱8の各上下中間部間にそれぞれ架設されている。各前後方向補強梁13は、前後に並ぶ2本の外支柱7の上端部間および上下中間部間、並びに前後に並ぶ2本の内支柱8の上端部間および上下中間部間にそれぞれ架設されている。
このように各梁5,6,9,10,11,12,13および各支柱7,8を箱形フレーム状に組むことで、地組架台本体2の剛性が確保されている。この図の例のように、前後方向基礎梁5は、外壁パネル31の地組み時に外壁面材33に働く風応力などを考慮して長めに設計することで、安全性を向上させるのが望ましい。
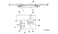
図1に示すように、前側2本の内支柱8の上部間、および後側2本の内支柱8の上部間にはそれぞれ上側水平桟14が架設され、この上側水平桟14の例えば左右2箇所に前記上側保持手段3がそれぞれ設けられている。上側水平桟14は、例えばH形鋼からなる。
図の例では、前側2本の内支柱8の上部間に架設された前側の上側水平桟14Aと、後側2本の内支柱8の上部間に架設された後側の上側水平桟14Bとは、高さ位置が互いに異なっている。縦寸法が大きい外壁パネル31(図7)を地組みする場合は、前側の上側水平桟14Aに設けられた上側保持手段3で上側の親胴縁34(図7)を保持し、縦寸法が小さい外壁パネル31を地組みする場合は、後側の上側水平桟14Bに設けられた上側保持手段3で上側の親胴縁34を保持する。つまり、この地組架台1は、前面側と背面側とで、縦寸法が異なる2種類の外壁パネル31の地組みが可能である。
図4は上側水平桟14の一部および外壁パネル31の上側の親胴縁34の一部の平面図、図5は上側水平桟14の一部および上側の親胴縁34の断面図である。図4に示すように、内支柱8の内側面に固定されたL型金物15に、上側水平桟14の左右端部が複数のボルト16によって結合されている。ボルト16が挿通されるボルト挿通孔17は前後方向に長いルーズ孔であり、上側水平桟14は、内支柱8に対して前後に位置調節が可能に結合される。
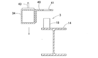
上側保持手段3は、上側水平桟14から上方に突出した位置決めピン18と、上下に貫通する仮止め用ねじ孔19とを備える。これら位置決めピン18と仮止め用ねじ孔19は、上側水平桟14における左右端部付近で、かつ上側の親胴縁34が配置される側の端縁近くに設けられている。
上側の親胴縁34には、外壁面材33の取り付けられる面と反対側に突出してファスナー40が固定されている。このファスナー40には、位置決めピン18と仮止め用ねじ孔19に対応する位置関係で、上下に貫通する位置決め孔41と固定用ねじ孔42とが設けられている。図の例の位置決め孔41は、前後方向および左右方向の寸法が位置決めピン18の直径と同じかまたは若干大きい正方形である。ファスナー40は、外壁パネル31(図7)の地組み時以外に、組み立てられた外壁パネル31を建物躯体に取り付ける際にも利用される。なお、上側の親胴縁34の上面には、パネルピン43が上方に突出して設けられている。このパネルピン43は、組み立てられた外壁パネル31を上下に並べて建物躯体に取り付ける場合に、上下の外壁パネル31の位置決めに用いられる。
図1〜図3において、パネル受け梁9の上に下側水平桟20が設置されている。図6の側面断面図に示すように、下側水平桟20は、例えば角形鋼管20aの側面に、この角形鋼管20aよりも上面高さが低い溝形鋼20bを溶接で接合したものである。図1、図2において、下側水平桟20の左右方向に離れた4箇所に、下側保持手段4として、上方に突出するダボピン21が設けられている。図6において、下側の親胴縁35の底面には、ダボピン21が嵌るピン孔44が設けられている。
次に、地組架台1を用いた外壁面材の施工方法について説明する。
この施工方法は、図14、図15のように建物躯体50への取付け状態で上下方向に並ぶ複数枚の外壁面材33を、下地フレーム32を介して建物躯体50に取付ける施工方法であって、以下の外壁パネル地組過程と、外壁パネル設置過程とでなる。
外壁パネル地組過程は、建物躯体50の外壁面材取付け箇所とは別の場所、例えば地上に設置された地組架台1上で複数枚の外壁面材33(図7)を下地フレーム32(図7)に組み付けて垂直姿勢の外壁パネル31(図7)とする過程である。この外壁パネル地組過程は、具体的には、図10、図11のように、上下の親胴縁34,35を、外壁パネル31に組立て後の配置関係でかつ外壁パネル31に組立て後と同じ姿勢でそれぞれ保持させる親胴縁保持過程と、図12のように、保持された上下の親胴縁34,35に、これら上下の親胴縁34,35を互いに連結するように複数本の縦胴縁36を組み付ける縦胴縁組付け過程と、組み付けられた複数本の縦胴縁36に複数枚の外壁面材33を取り付ける外壁面材取付け過程とを有する。
前記親胴縁保持過程における上側の親胴縁34の保持作業は次のように行う。まず、図5のように、水平に保持した上側の親胴縁34を地組架台1の上側水平桟14の上方から下降させて、上側の親胴縁34に設けられたファスナー40の位置決め孔41を、上側水平桟14の上側保持手段3である位置決めピン41に挿通させる。次に、上側水平桟14の上側保持手段3である仮止め用ねじ孔19(図4)とファスナー40の固定用ねじ孔42(図4)に、上方からボルト23(図13)をねじ込む。これにより、上側の親胴縁34が、外壁パネル31に組立て後と同じ姿勢で上側水平桟14に保持される。
前記親胴縁保持過程における下側の親胴縁35の保持作業は次のように行う。すなわち、図6のように、水平に保持した下側の親胴縁35を地組架台1の下側水平桟20の上方から下降させて、下側の親胴縁35のピン孔44に、下側水平桟20の下側保持手段4であるダボピン21を挿通させる。これにより、下側の親胴縁35が位置決めされる。下側の親胴縁35は、下側水平桟20の上に載置された状態で、外壁パネル31に組立て後と同じ姿勢で保持される。上下の親胴縁34,35は、外壁パネル31に組立て後の配置関係になっている。
前記縦胴縁組付け過程は、上側保持手段3と下側保持手段4に保持された上下の親胴縁34,35に対して複数本の縦胴縁36を組み付けて、下地フレーム32とする。この下地フレーム32は、横方向の親胴縁34,35と縦方向の縦胴縁36とを組み合わせた構成であるので、面内方向の変形に対する剛性が高い。
なお、地組架台1が設置される場所の周囲にスペース的に余裕があれば、上下の親胴縁34,35と複数の縦胴縁36とを下地フレーム32の状態に仮組みしてから地組架台1に取り付けてもよい。その場合、作業時間を短縮させて、施工スピードを向上させることができる。
この後の前記外壁面材取付け過程では、高所作業車に取り付けられた揚重装置(図示せず)、または地組架台1に取り付けられた揚重装置(図示せず)を用いて、地組架台1に保持された下地フレーム32の縦胴縁36に、複数枚の外壁面材33を上下方向に並べてビス留めすることで、図7に示す外壁パネル31とする。縦胴縁36への外壁面材33の組付けには、例えばドリル付きタッピングビスが用いられる。
前記外壁面材設置過程では、図14のように、外壁パネル31をクレーン等の揚重装置51を用いて作業者52が補助しながら地組架台1から吊り上げて、建物躯体50の外壁面材取付け箇所へ運搬し、外壁パネル31の下地フレーム32の親胴縁34,35を建物躯体50に固定する。この固定は、例えば図15に示すように、建物躯体50のスラブ53の端部や耐風梁54に設けられたファスナー55に、建物の屋内側からボルト等で親胴縁34,35(図7)を取り付けることで行う。上下に並ぶ外壁パネル31同士は、連結板56等で下地フレーム32を連結する。これらの作業は、スラブ53上等から行える。
地組架台1から外壁パネル31を吊り上げる際には、上側保持手段3である仮止め用ねじ孔19にねじ込まれたボルト23(図13)を外しておく。この状態で外壁パネル31を吊り上げると、上側保持手段3である位置決めピン18が上側の親胴縁34の位置決め孔41から抜けると共に、下側保持手段4であるダボピン21が下側の親胴縁35のピン孔44から抜ける。
このように、上記構成の地組架台1を用いた外壁面材の施工方法によると、外壁パネル地組過程において、複数の上側保持手段3と下側保持手段4により、組立て後の外壁パネル31における上下の親胴縁34,35の配置で組立て前の上下の親胴縁34,35を保持できるため、下地フレーム32に複数の外壁面材33を取り付けた外壁パネル31を容易に地組みすることができる。この外壁パネル31は、建物躯体50に取り付けられる状態と同じ姿勢で組み上がる。このため、外壁パネル31の建物躯体50への取付け作業性が良い。
下地フレーム32は、外壁面材33の横幅方向に延びる上下の親胴縁34,35と、互いに横幅方向に間隔を開けて配置され上下方向に延びる複数本の縦胴縁36とが連結された構成であるため、面内方向の変形に対する剛性が高い。そのため、建物躯体50への取付けに際して、外壁パネル31を揚重装置51で持ち上げたときに、図16に鎖線で示すように、外壁パネル31が平行四辺形等に変形しがたい。このため、建物躯体50への取付け時に外壁パネル31の変形を調整する作業が削減でき、外壁パネル31を効率良く建物躯体50に取り付けることができる。
建物躯体50へはこのように組み立てられた外壁パネル31を吊り上げ、その下地フレーム32を、建物躯体50に設けられたファスナー55等に取り付けることになる。この取付け作業は、建物の屋内側から、スラブ53や梁等の上で行え、また個々の外壁面材33を屋外側から胴縁にビス止めする作業が不要になる。そのため、建物躯体50への外壁面材33の取付け施工において、足場の設置が不要となる。このため、躯体工事終了後は足場の早期解体が見込め、足場費用の削減が期待できる。また、早期の足場撤去により、これまで外部足場の撤去時期に影響していた工事(例えば外構工事など)の早期着手ができることで、全体工期の短縮が期待できる。また、従来、高所で作業を行っていた外壁面材33のビス留めなども、地組架台1で作業できることから、作業効率の向上が見込め、人員コストの削減も可能となる。
外壁面材33間の縦目地等の目地処理の作業は、目地の構造によっては、外壁パネル31の施工後に屋外から行うことが必要な場合があるが、目地処理だけであれば、簡単で処理時間も短いため、高所作業車またはゴンドラ(いずれも図示せず)を用いることで、足場の設置が不要となる。
なお、上記実施形態の地組架台1は、地組架台本体2の前後両面に上側保持手段3と下側保持手段4が設けられ、地組架台1の前後両面で外壁パネル31の組立てが可能な構成であるが、これに限らず、地組架台本体2の前後片面だけに上端保持手段3と下側保持手段4を設けて、前後片面だけで外壁パネル31を組み立てる構成としてもよい。
1…地組架台
2…地組架台本体
3…上側保持手段
4…下側保持手段
5…前後方向基礎梁
6…左右方向基礎梁
7…外支柱
8…内支柱
9…パネル受け梁
10…前後方向上端梁
11…左右方向上端梁
14…上側水平桟
18…位置決めピン
19…仮止め用ねじ孔
20…下側水平桟
21…ダボピン
23…ボルト
31…外壁パネル
32…下地フレーム
33…外壁面材
34…上側の親胴縁
35…下側の親胴縁
36…縦胴縁
40…ファスナー
41…位置決め孔
42…固定用ねじ孔
50…建物躯体
51…揚重装置

Claims (2)

  1. 建物躯体への取付け状態で上下方向に並ぶ複数枚の外壁面材と下地フレームとで形成され、前記下地フレームは、前記外壁面材の横幅方向に延びる上下の親胴縁と、互いに前記横幅方向に間隔を開けて配置され上下方向に延びる複数本の縦胴縁とが連結されたものであり、前記各外壁面材が前記複数本の縦胴縁に組み付けられた外壁パネルを、
    前記建物躯体の外壁面材取付け箇所とは別の場所で組み立てる作業に用いられる地組架台であって、
    自立する地組架台本体と、
    この地組架台本体にそれぞれ取り付けられ、前記外壁パネルに組み立てられる前の前記下地フレームの前記上下の親胴縁を、前記外壁パネルに組立て後の配置関係でかつ前記外壁パネルに組立て後と同じ姿勢でそれぞれ保持する複数の上側保持手段と下側保持手段とを備え、
    前記地組架台本体に、互いに上側および下側に位置する上側水平桟と下側水平桟とが架設され、前記上側水平桟に複数の前記上側保持手段が設けられ、かつ前記下側水平桟に複数の前記下側保持手段が設けられ、
    前記外壁パネルは、前記上側の親胴縁に、上下に貫通する位置決め孔と固定用ねじ孔とを有するファスナーが、前記外壁面材の取り付けられる面と反対側に突出して設けられ、前記上側保持手段は、前記上側水平桟から上方に突出し前記ファスナーの前記位置決め孔に下方から挿通される位置決めピンと、前記ファスナーの前記固定用ねじ孔に上方から螺着されたボルトの前記固定用ねじ孔から突出した部分が螺着される仮止め用ねじ孔とを有し、前記下側保持手段は、前記下側水平桟から上方に突出し、前記下側の親胴縁の底面に設けられたピン孔に嵌るダボピンで構成される外壁パネルの地組架台。
  2. 建物躯体への取付け状態で上下方向に並ぶ複数枚の外壁面材を、前記外壁面材の横幅方向に延びる上下の親胴縁と互いに前記横幅方向に間隔を開けて配置され上下方向に延びる複数本の縦胴縁とが連結した下地フレームを介して前記建物躯体に取り付ける外壁面材の施工方法であって、
    請求項1に記載の外壁パネルの地組架台を用い、
    前記建物躯体の外壁面材取付け箇所とは別の場所に設置された前記地組架台上で前記複数枚の外壁面材を前記下地フレームに組み付けて立ち姿勢の外壁パネルとする外壁パネル地組過程と、
    前記外壁パネルを前記地組架台から揚重装置で吊り上げて前記建物躯体の前記外壁面材取付け箇所へ運搬し前記下地フレームを前記建物躯体に固定する外壁パネル設置過程とでなり、
    前記外壁パネル地組過程は、前記下地フレームの上下の親胴縁を前記外壁パネルに組立て後の配置関係でかつ前記外壁パネルに組立て後と同じ姿勢でそれぞれ保持させる親胴縁保持過程と、
    保持された前記下地フレームの前記上下の親胴縁に互いに連結するように前記複数本の縦胴縁を組み付ける縦胴縁組付け過程と、
    組み付けられた前記複数本の縦胴縁に前記複数枚の外壁面材を取り付ける外壁面材取付け過程とを含む、
    外壁面材の施工方法。
JP2016040020A 2016-03-02 2016-03-02 外壁パネルの地組架台および外壁面材の施工方法 Active JP6755102B2 (ja)

Priority Applications (1)

Application Number Priority Date Filing Date Title
JP2016040020A JP6755102B2 (ja) 2016-03-02 2016-03-02 外壁パネルの地組架台および外壁面材の施工方法

Applications Claiming Priority (1)

Application Number Priority Date Filing Date Title
JP2016040020A JP6755102B2 (ja) 2016-03-02 2016-03-02 外壁パネルの地組架台および外壁面材の施工方法

Publications (2)

Publication Number Publication Date
JP2017155489A JP2017155489A (ja) 2017-09-07
JP6755102B2 true JP6755102B2 (ja) 2020-09-16

Family

ID=59808246

Family Applications (1)

Application Number Title Priority Date Filing Date
JP2016040020A Active JP6755102B2 (ja) 2016-03-02 2016-03-02 外壁パネルの地組架台および外壁面材の施工方法

Country Status (1)

Country Link
JP (1) JP6755102B2 (ja)

Families Citing this family (2)

* Cited by examiner, † Cited by third party
Publication number Priority date Publication date Assignee Title
JP7542977B2 (ja) * 2020-03-31 2024-09-02 大和ハウス工業株式会社 外壁パネルの作製方法および開口設備地組架台
JP7433118B2 (ja) * 2020-04-01 2024-02-19 東急建設株式会社 壁面ユニットの施工方法及び作業台

Family Cites Families (5)

* Cited by examiner, † Cited by third party
Publication number Priority date Publication date Assignee Title
JPS60228040A (ja) * 1984-04-26 1985-11-13 Sekisui Chem Co Ltd 外壁材の組み立て方法
JP2562398Y2 (ja) * 1991-12-27 1998-02-10 株式会社フジタ 方立用位置決め固定具
US8615938B2 (en) * 2010-04-21 2013-12-31 Peter Stephen Arbour Cast curtain wall unit for assembling a cast curtain wall and cast curtain wall assembled from the same
JP6271399B2 (ja) * 2014-11-17 2018-01-31 株式会社フジタ 外壁パネルの取付け構造
JP6129810B2 (ja) * 2014-11-17 2017-05-17 株式会社フジタ 外壁パネルの地組架台および施工方法

Also Published As

Publication number Publication date
JP2017155489A (ja) 2017-09-07

Similar Documents

Publication Publication Date Title
JP6129810B2 (ja) 外壁パネルの地組架台および施工方法
US11035114B2 (en) Pillar fixing metal fitting
KR102310267B1 (ko) 유닛블록 시스템
KR101711614B1 (ko) 철골기둥과 철골 보의 접합구조
KR101948307B1 (ko) 건물 외벽 시공방법
JP6667940B2 (ja) 外壁の外壁パネル・柱割付け構造および割付け施工方法
JP6271399B2 (ja) 外壁パネルの取付け構造
JP6755102B2 (ja) 外壁パネルの地組架台および外壁面材の施工方法
JP5183606B2 (ja) 機器の基礎施工に用いるアンカーボルトのユニット構造物とそれを用いた機器の基礎施工方法
JP5512112B2 (ja) 床構造およびユニット式建物の施工方法
JP2019116823A (ja) 外壁の施工方法
JP3762689B2 (ja) 壁枠パネルと床スラブ基礎との結合構造
JP2010084477A (ja) 制震構造
EP1561874A1 (en) Connecting device and node for buildings with prefabricated elements
JP6970610B2 (ja) 建物の施工方法
JP2007239388A (ja) ドーム構築用金具とドーム構築方法
JP6999412B2 (ja) 外壁パネルの施工時構造体および外壁の施工方法
JP7363873B2 (ja) 建築物のリフォーム方法
JP5438411B2 (ja) 吊り階段構造、建物ユニット、ユニット建物、ユニット建物の構築方法、及び吊りロッドパネルの製造方法
JP7433118B2 (ja) 壁面ユニットの施工方法及び作業台
JP6552239B2 (ja) 家屋の外壁施工方法
JP2020002668A (ja) スタータ部材、外壁および外壁の施工方法
JP5465607B2 (ja) 基礎の施工方法
JP3055431U (ja) 鉄骨造建築用の複合柱材
JP3244102U (ja) スチールハウスの基礎構造およびそれに用いるアンカーセット

Legal Events

Date Code Title Description
A621 Written request for application examination

Free format text: JAPANESE INTERMEDIATE CODE: A621

Effective date: 20190220

A977 Report on retrieval

Free format text: JAPANESE INTERMEDIATE CODE: A971007

Effective date: 20191217

A131 Notification of reasons for refusal

Free format text: JAPANESE INTERMEDIATE CODE: A131

Effective date: 20191224

A521 Request for written amendment filed

Free format text: JAPANESE INTERMEDIATE CODE: A523

Effective date: 20200221

A131 Notification of reasons for refusal

Free format text: JAPANESE INTERMEDIATE CODE: A131

Effective date: 20200602

A521 Request for written amendment filed

Free format text: JAPANESE INTERMEDIATE CODE: A523

Effective date: 20200713

TRDD Decision of grant or rejection written
A01 Written decision to grant a patent or to grant a registration (utility model)

Free format text: JAPANESE INTERMEDIATE CODE: A01

Effective date: 20200811

A61 First payment of annual fees (during grant procedure)

Free format text: JAPANESE INTERMEDIATE CODE: A61

Effective date: 20200825

R150 Certificate of patent or registration of utility model

Ref document number: 6755102

Country of ref document: JP

Free format text: JAPANESE INTERMEDIATE CODE: R150

R250 Receipt of annual fees

Free format text: JAPANESE INTERMEDIATE CODE: R250