JP6708896B2 - 介護用パンツを着用した排泄と、入浴が出来る介護用ベッド - Google Patents

介護用パンツを着用した排泄と、入浴が出来る介護用ベッド Download PDF

Info

Publication number
JP6708896B2
JP6708896B2 JP2018200415A JP2018200415A JP6708896B2 JP 6708896 B2 JP6708896 B2 JP 6708896B2 JP 2018200415 A JP2018200415 A JP 2018200415A JP 2018200415 A JP2018200415 A JP 2018200415A JP 6708896 B2 JP6708896 B2 JP 6708896B2
Authority
JP
Japan
Prior art keywords
bed
floor
nursing
care
pants
Prior art date
Legal status (The legal status is an assumption and is not a legal conclusion. Google has not performed a legal analysis and makes no representation as to the accuracy of the status listed.)
Active
Application number
JP2018200415A
Other languages
English (en)
Other versions
JP2020058752A (ja
Inventor
諒吉 渡邊
諒吉 渡邊
Current Assignee (The listed assignees may be inaccurate. Google has not performed a legal analysis and makes no representation or warranty as to the accuracy of the list.)
Individual
Original Assignee
Individual
Priority date (The priority date is an assumption and is not a legal conclusion. Google has not performed a legal analysis and makes no representation as to the accuracy of the date listed.)
Filing date
Publication date
Application filed by Individual filed Critical Individual
Priority to JP2018200415A priority Critical patent/JP6708896B2/ja
Publication of JP2020058752A publication Critical patent/JP2020058752A/ja
Application granted granted Critical
Publication of JP6708896B2 publication Critical patent/JP6708896B2/ja
Active legal-status Critical Current
Anticipated expiration legal-status Critical

Links

Images

Landscapes

  • Professional, Industrial, Or Sporting Protective Garments (AREA)
  • Undergarments, Swaddling Clothes, Handkerchiefs Or Underwear Materials (AREA)
  • Invalid Beds And Related Equipment (AREA)
  • Devices For Medical Bathing And Washing (AREA)
  • Orthopedics, Nursing, And Contraception (AREA)

Description

本発明は、オムツに代わる介護用パンツを着用して排泄洗浄が出来、また更に、入浴も出来る様にした介護用ベッドに関する。
排泄と入浴は、介護分野に於いては最も深刻な問題の一つであり、厳しい介護を経験された方々を初め、多くの関係者がこの問題を解決すべく様々な特色のある提案が数多くなされている。
古くから中国では、穴あきズボン又は尻開きパンツなどと呼ばれる尻部が開いている子供用のズボンで、しゃがんで直ぐに排泄が出来る様にしたものがあり、一方、国内に於いても形状が類似している前側が開閉式のパンツや、穴あき下着等がある。
また臀部をオムツ状のカップで被い、排泄物排出管と洗浄水吐出菅を接続して排泄検知機器や吸引装置などにより、排泄物を排出し、そして臀部を洗浄するという提案も多い。
更に、ベッドが椅子状に変化して臀部の床面が便座になり、設けられた水洗洗浄便器に排泄し洗浄するという提案が最も多くなされており、高度な機構の優れた提案も多い。
そして、ベッド床面マットの下に浴槽を備え、マットを取り外し、スライド式リフトで被介護者を浴槽に降ろして入浴させる優れた提案などもある。
特許第6103735号公報 特開2015−073891号公報
カタログ、波動ベッドLagoon、HIZUKI カタログ、浴槽付き介護ベッド夢神楽
中国式の穴あきパンツや穴あきズボン等はシンプルで、しゃがみこんで排泄するには便利であるが、介護用としては着脱が不便で外見上の印象も悪く、穴の開いただけのパンツをそのまま介護用として使用する事は不可能である。また優れた水洗洗浄便座付介護用ベッドや浴槽付き介護用ベッドの提案も多くあり、それぞれ大いに貢献されているが、オムツ着用排泄に伴う被介護者及び介護者双方にとっての大きな負担の存在や、また可能であれば就寝と排泄と入浴を、負担が伴う移動を少なくして一つのベッドで済ませる事が望ましい被介護者も多数存在する状況下であるが未だ解決されてない。
本発明は、これらの状況を鑑みてベッドではオムツの着用を廃止し、オムツに代わる介護用穴あきパンツを着用してシンプルな機構で排泄洗浄が出来、且つ、入浴も出来る介護用ベッドを実現させるためのものである。
本発明は上記目的を達成するために、まず排泄に関する課題を解決するための請求項1の発明である第1の解決手段として、オムツに代えて半ズボンやトランクスに類する形状で着用者身体の大と小の排泄物の前後二か所の出口に相当する部分の周辺が切除かれ空白となって間が繋がり、前側の空白部に比べ後ろ側の空白部が大きくなっており前後二つの空白部の上方に介護用パッドの掛け止め部(2)を設けた、排泄物が通過する穴あき介護用パンツ(1)を着用する様にした。
そして、一般通常パンツ等の腹側が開閉式になっているのと同様に、該介護用パンツは腹側のみならず左右の大腿部に相当する部分の前側も、ボタンやファスナー等で開閉出来る様にした。着用する場合は開いた状態で左右の分断端部をそれぞれベッド上に座した被介護者の背後腰部から腹側と、大腿部側後方から取手(4)を持ち、前側に向け巻く様にして取り付け開閉部を閉じる様にした。
さらに前後の空白部を覆い隠す開閉式又は着脱式の前被い(5)と後ろ被い(6)を、留め具又は設けたポケット(7)に収め備え置き、前被い(5)は取り出して被着し、後ろ被い(6)は収納したままベッドに横臥或は座る様にした。
次に、この排泄に関する課題の解決を補完する請求項2の発明である第2の解決手段として、床面が起伏及び昇降する電動式介護用ベッドの足側床面(8)を、起伏作動しない左右の横端部(8−イ)及び(8−ロ)と、足側床面として下降及び復帰上昇作動する腰側床面(9)に近い部分(8−ハ)と反対に遠い部分(8−ニ)の四つの床面部分で構成し、下降及び復帰上昇作動支点をベッド使用者である被介護者の足先方向に設けて、足側床面が伏せ下降すると足元が陥没し堀こたつ状態になる様にした。
そして腰側床面(9)の左右両横の床面部分(9−イ)及び(9−ロ)は、ベッドの縦方向を軸支点にして端部を上方に引き起こし可能な機構にした。
更に、ベッド使用者の臀部に相当する床面部分を柔軟防水材質にして中心部に開閉扉(11)を設け、その下に排泄汚水類とシャワー等入浴汚水類の二種類の汚水類を受け止め排出するための水洗洗浄便器を設置し、そのうえで、この介護用ベッドにて、請求項1の発明の介護用パンツ(1)を着用する様にした。
上記請求項1の発明である第1の排泄問題解決手段による作用は、着用者身体の二つの排泄物の出口に相当する周辺部分を切除いた穴あき介護用パンツ(1)を使用する事で、被介護者は下着またはオムツを脱いだり穿いたりせずとも該介護用パンツを着用したままで排泄が出来、排泄物は付着せず通過する。
また、腹側と大腿部相当部分の前側を開閉式にする事により、被介護者は腰を上げずに座したままで介護用パンツ(1)の着脱が出来る様になる。そして、ベッドを離れる場合など必要に応じて介護用パッドの掛け止め部(2)に介護用パッドを取り付ければ、前被い(5)及び後ろ被い(6)の被着により、恥じらいを感じる事無くオムツ機能付きの一般通常パンツとして使用出来る。
次に、請求項2の発明である第2の排泄問題解決手段による作用は、介護用ベッドの足側床面(8)を、起伏作動しない左右の横端部(8−イ)及び(8−ロ)と、足側床面として下降及び復帰上昇作動する腰側床面(9)に近い部分(8−ハ)と遠い部分(8−ニ)の四つの床面部分で構成し、尚更に、足側床面(8)の下降及び復帰上昇作動支点を被介護者の足先に相当する方向に設ける事により、足側床面が伏せ下降すると足元の床面部分(8−ハ)が陥没して堀こたつ状態になって被介護者は排泄に適した姿勢になり、また、ベッド床面の起伏作動に際して掛蒲団等の脱落や乱れが少ない。
そして又、腰側床面(9)の左右両横の床面部分(9−イ)及び(9−ハ)は、ベッドの縦方向を軸支点にして端部を上方に引き起こす事が出来るので、腰を支え身体が安定し排泄の際には排泄汚れを防げる。
更に、ベッド使用者の臀部に相当する部分を柔軟防水材質にした事で清潔さを保ち易く、また開閉扉(11)の下に排泄汚水類とシャワー等入浴汚水類の二種類の汚水類に対応する水洗洗浄便器を設置する事で排泄のみに留まらず、入浴にも利用出来る。
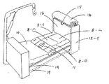
それから次に、入浴に関する課題を解決するための請求項3の発明である入浴解決手段として、電動式介護用ベッドに被介護者身体の昇降及び移動を行う介護用リフトを備え、ベッドの前後枠(12−イ)及び(12−ロ)の一方または双方に、ベッド周辺からベッド上に載置する簡易浴槽(13)の内壁周辺までを覆って、シャワー等入浴で発生する飛散湯水等を漏れなく浴槽内に収集する為の、浴槽の内壁周縁に沿った形状で中央部分が空いていて掛け止め部(21−イ)を配設している飛沫収集シート(14)と、ベッド床面を覆って敷設する排水口用の穴(15)を有し折り畳み式に連結された簡易浴槽載置床板(16)を備え付けた
そしてまたベッド台枠(17)の両横側には、飛沫収集シート(14)用の伸縮掛止部材(18)を張着している嵩上げ板(19)を備え付け、左右両横の高さをベッド床面と同等またはそれ以上に切り替え変更させて、簡易浴槽載置床板(16)の敷設を可能にし、且つ、簡易浴槽(13)の位置ずれを防ぐ様にした。
しかる後に、該介護用ベッド上に、ベッド床面の外形に準ずる大きさ形の、排水口が筒状になっているベッド用簡易浴槽(13)を載置する様にした。そのうえで、請求項2の発明の介護用ベッド機構を用いる様にした。
上記請求項3の発明である入浴問題解決手段による作用は、介護用リフトを用い被介護者を吊上げて身体とベッド床面との間に隙間距離を設け、その間に、排泄汚水類とシャワー等入浴汚水類の排出口である開閉扉(11)を開いて、ベッド台枠両横の嵩上げ板(19)を引き起こしベッド両横の高さを高く切り替え、ベッド前後枠(12)に収納されている簡易浴槽載置床板(16)を引き出してベッド床面上に敷設すれば、瞬時にベッド用簡易浴槽(13)を載置することが出来る。
その後、被介護者をベッド用簡易浴槽(13)に降ろし入れ、シャワー等入浴の準備と並行して伸縮掛止部材(18)を両方のベッド前後枠(12)上部に掛け止めし、これに、飛沫収集シート(14)を、ベッド周辺と簡易浴槽(13)内壁までの隙間を覆う様に掛け止めする事で、請求項2の発明の介護用ベッド機構を用い、給湯機器等からの湯水の供給を受けてシャワー等入浴が出来る様になる。
上述した様に、本発明による介護用パンツ(1)を着用し本発明の介護用ベッドにて排泄が容易に出来て、なお更に入浴も可能となり、従来は就寝と排泄、または就寝と入浴と、別々に対応していたものをシンプルな機構でありながら一台で三役を済ませる事が出来るので、介護難易度が様々な被介護者全てに適応するのは無理としても、オムツ着用排泄による出口塞がれ不快感やオムツ交換に伴う負担や恥ずかしさ等を軽減し、介護分野に於ける厳しい現状を改善して、より多くの被介護者並びに介護者等関係者に貢献出来る様になる。
介護用パンツの斜視図 介護用パンツの展開斜視図 介護用パンツの前被い引き出し斜視図 両被いを広げた介護用パンツの後ろ側の斜視図 介護用ベッドの斜視図 介護用ベッド足側床面と腰側床面の変化時の斜視図 簡易浴槽の載置床板敷設時の斜視図 飛沫収集シートの斜視図 簡易浴槽の斜視図
発明を実施するための形態を実施例に基づいて図面を参照して説明する。
まず、排泄に関する課題を解決する発明の内、請求項1の発明を実施するための形態を実施例に基づいて図面を参照にして説明すると、半ズボンやトランクスに類する形状の介護用パンツの、着用者身体の大小二つの排泄物出口に相当する部分の周辺を大と小の排泄に応じて切除き大と小の空白にして間を繋げ、前後二つの空白部の上方に介護用パッドの掛け止め部(2)を設け、前側のみならず、前側空白部から両足膝頭方向に向けて大腿部側の前側も分断し、且つ、分断箇所を互いに繋ぎ合わせるボタンやファスナー等の掛け止め(3)や取手(4)を設けるのであるが、この掛け止め(3)は、前被い(5)と後ろ被い(6)用の物も含めて、ボタンに限らずファスナー、テープ止め、ホック等でも良く、また、取手(4)は突出布片等でも良くて、大きさ形や、取り付け箇所は、問わない。図1及び図2参照。
そして、該介護用パンツ(1)又は該介護用パンツに設けた留め具及びポケット(7)に、前被い(5)及び後ろ被い(6)の片端を縫い付け又は掛け止めし、別の片端から折り畳み或いは巻いて収納して備え、空白部を被う際は引き出して掛け止めし被着するが、ポケットも含め前被い(5)と後ろ被い(6)は着脱式でも良く、空白部を被うに足れば大きさ形は問わないし、前被いと後ろ被いを一体化したものでも良い。後ろ被い用のポケット等は後方に設けても良い。図3及び図4参照。
次に同じく排泄に関する課題を解決する発明の内、請求項2の発明を実施するための形態を実施例に基づいて図面を参照にして説明すると、本発明の介護用ベッドは既存の、床面が起伏及び昇降する電動式介護用ベッドと基本作動機構は同じであるが、足側床面(8)は左右の横端部(8−イ)及び(8−ロ)と、腰側床面(9)に近い部分(8−ハ)と遠い部分(8−ニ)の四つの床面部分で構成し、この内の両横端部は他の二つの床面部分と分離していて起伏せず、足側床面(8−ハ)部分と(8−ニ)部分は連結されて下降及び復帰上昇作動するが、この作動支点をベッド使用者の足先に相当する方向のベッド床面支え枠に設けた。図5及び図6参照。
そして腰側床面(9)の左右両横の床面部分(9−イ)及び(9−ロ)は、一般に普及の片開きハッチと類似の形状で、自動又は手動でロック取手を握り持ち、端部を上方に引き起こしが出来る様にし、更に、ベッド使用者の臀部に相当する部分は柔軟防水材質で中心部にアクチュエター等を用いた開閉扉(11)を設け、その下に排泄汚水類とシャワー等入浴汚水類の二種類の汚水類を受け止め排出する為の水洗洗浄便器を設置した。図5及び図6参照。
それから次に、入浴に関する課題を解決するための、請求項3の発明を実施するための形態を実施例に基づいて図面を参照にして説明すると、電動式介護用ベッドの傍らに介護用リフトを備え、ベッドの前後枠(12−イ)又は(12−ロ)のどちらか一方の上部に、ベッド周辺からベッド上に載置する簡易浴槽(13)の内壁周辺までを覆い浴槽内壁周縁に沿った形状で中央部分が空いていて、掛け止め部(21−イ)を配設してある飛沫収集シート(14)を、折り畳み或は巻く等して備え付けた。図5及び図8参照。
更に両方の前後枠(12−イ)と(12−ロ)内に、ベッド床面を覆って敷設して接合部に排水口用の穴(15)を有する折り畳み式に連結された簡易浴槽の載置床板(16)を分担して収納させ、そしてベッド台枠(17)の両横側に、飛沫収集シート(14)用の伸縮掛止部材(18)を掛け止めしている高さを切り替える嵩上げ板(19)を備え付けた。図5及び図7参照。
その上で図9に示す様に、ベッド床面の外形に準ずる大きさ形の簡易浴槽であって、排水が容易な平板栓(20)を備え、内壁側に飛沫収集シート(14)用の掛け止め部(21−ロ)を配設して、汚水類を確実に水洗洗浄便器に受け流せる様に底裏面の排水口が筒状になっているベッド用簡易浴槽(13)を載置する様にした。
このベッド用簡易浴槽(13)は、空気を注入して膨張させるビニールプール式のものや、FRP等その他の材質のものでも良く、又、平板栓(20)は、排水する時に介護者の手が被介護者身体の大腿部に干渉するのを防ぐためのもので、水平角度を変更させて開閉する方式や、平板栓の三方を蟻溝で囲い一方を紐等で引いて開閉する方式でも良い。
本発明に係る介護用パンツ及び介護用ベッドは、工業的に量産する事が可能であるため、産業上の利用可能性を有する。
1 介護用パンツ
2 介護用パッド掛け止め部
3 介護用パンツ掛け止め
4 介護用パンツ取手
5 前被い
6 後ろ被い
7 被い用ポケット
8 足側床面
9 腰側床面
10 背側床面
11 開閉扉
12 前後枠
13 簡易浴槽
14 飛沫収集シート
15 排水口用穴
16 載置床板
17 ベッド台枠
18 伸縮掛止部材
19 嵩上げ板
20 簡易浴槽平板栓
21 飛沫収集シート用掛け止め部

Claims (3)

  1. 半ズボンやトランクスに類する形状で、着用者身体の大と小の排泄物の前後二か所の出口に相当する部分の周辺が切除かれ空白になって二つの空白部の間が繋がり、前側の空白部に比べ後ろ側の空白部が大きくなっており、前後二つの空白部の上方に介護用パッドの掛け止め部を設けた介護用パンツであって、該パンツの腹側上部から前側の空白部に向け切れて、更に、同空白部から該パンツ着用者の両足の膝頭方向に向けて左右の大腿部側の前側も切れており、これらの分断箇所を互いに繋ぎ合わせる掛け止め及び取手を設け、且つ、前後の空白部を被うための前被いと後ろ被いを、留め具又はポッケットを設け収納し、備えている介護用パン
  2. 床面が起伏及び昇降する電動式介護用ベッドであって、足側床面の下降及び復帰上昇作動支点をベッド使用者の足先に相当する方向に設け、足側床面の下降時には左右の横端床面部を残して中央部が陥没して掘炬燵に類する形状に変化するものでありそして又、腰側床面の左右両横床面部は、縦方向を軸支点にして夫々の端部を上方に引き起こす事が出来る機構にしており、更にベッド使用者の臀部に相当する床面部分は柔軟防水材質で中心部に開閉扉を設け、その下に排泄汚水類とシャワー等入浴汚水類の二種類の汚水類を受け止め排出するための水洗洗浄便器を設置し、請求項1の介護用パンツを着用して使用する排泄が可能な介護用ベッド。
  3. 吊用具を用いて被介護者身体の昇降及び移動を行う介護用リフトを備えた電動式介護用ベッドであって、ベッドの前後ろにある前後枠の一方または双方に、ベッド周辺からベッド上に載置する簡易浴槽の内壁周辺までを覆うための、浴槽の内壁周縁に沿った形状で中央部分が空いていて掛け止め部を配設してある飛沫収集シートと、ベッド床面を覆って敷設する排水口用の穴を有する折り畳み式に連結された簡易浴槽の載置床板とを備え付け、また更にベッド台枠の両横側には、飛沫収集シート用の伸縮掛止め部材を掛け止めしている嵩上げ板を備え付けて、左右両横の高さをベッド床面と同等以上に切り替える機構にしており、この当該ベッドの上に、排水用の平板栓を備えた、内壁側に飛沫収集シート用の掛け止め部を配設した底裏面の排水口が筒状になっているベッド用簡易浴槽を載置して、給湯機器等からの湯水を用いシャワー等入浴が出来る様にした請求項2の介護用ベッド。
JP2018200415A 2018-10-05 2018-10-05 介護用パンツを着用した排泄と、入浴が出来る介護用ベッド Active JP6708896B2 (ja)

Priority Applications (1)

Application Number Priority Date Filing Date Title
JP2018200415A JP6708896B2 (ja) 2018-10-05 2018-10-05 介護用パンツを着用した排泄と、入浴が出来る介護用ベッド

Applications Claiming Priority (1)

Application Number Priority Date Filing Date Title
JP2018200415A JP6708896B2 (ja) 2018-10-05 2018-10-05 介護用パンツを着用した排泄と、入浴が出来る介護用ベッド

Publications (2)

Publication Number Publication Date
JP2020058752A JP2020058752A (ja) 2020-04-16
JP6708896B2 true JP6708896B2 (ja) 2020-06-10

Family

ID=70219807

Family Applications (1)

Application Number Title Priority Date Filing Date
JP2018200415A Active JP6708896B2 (ja) 2018-10-05 2018-10-05 介護用パンツを着用した排泄と、入浴が出来る介護用ベッド

Country Status (1)

Country Link
JP (1) JP6708896B2 (ja)

Cited By (1)

* Cited by examiner, † Cited by third party
Publication number Priority date Publication date Assignee Title
WO2022219374A1 (en) * 2021-04-14 2022-10-20 Alzaabi Ahmed Barrier garments

Family Cites Families (3)

* Cited by examiner, † Cited by third party
Publication number Priority date Publication date Assignee Title
JP3085889U (ja) * 2001-11-07 2002-05-24 株式会社ビルメン鹿児島 介護用股下なしのパンツ
JP2004000414A (ja) * 2002-03-26 2004-01-08 Oji Paper Co Ltd 吸収性物品ならびにこれを構成するパンツ本体および吸収パッド
JP2010070896A (ja) * 2008-09-19 2010-04-02 Ryoichi Nakao 前後カバーを有する切欠きパンツ

Cited By (1)

* Cited by examiner, † Cited by third party
Publication number Priority date Publication date Assignee Title
WO2022219374A1 (en) * 2021-04-14 2022-10-20 Alzaabi Ahmed Barrier garments

Also Published As

Publication number Publication date
JP2020058752A (ja) 2020-04-16

Similar Documents

Publication Publication Date Title
JP4709851B2 (ja) トイレ訓練及びトイレ装置
WO2014193108A1 (ko) 영유아용 비데
TWI604815B (zh) Portable toilet
JP6708896B2 (ja) 介護用パンツを着用した排泄と、入浴が出来る介護用ベッド
US3648296A (en) Sitz bath
JP3209782U (ja) 介護用ベッド
KR102320648B1 (ko) 환자용 침대의 용변처리 자동화 장치
JP2012000421A (ja) 便槽つき自力排泄ベッド
KR101186534B1 (ko) 자동승강식 변기시트와 착탈식 오물차단막이 구비된 좌변기
JP2022014414A (ja) 臀部側マット部分の後方が下降する、排泄の出来る介護用ベッド
CN107165243A (zh) 一种多用式方便器
JP5945059B1 (ja) 介護用シャワー椅子
KR20070038705A (ko) 욕조가 달린 침대
JP2009225882A (ja) 介護用ベッド装置
KR200359358Y1 (ko) 환자용 기능성 침대
JP7083693B2 (ja) 車椅子
CN208609969U (zh) 可便溺的护理衣裤
JP2017127596A (ja) ベットにおける排泄物の処理方法
JP3209321U (ja) 医療用マットレスパッド及び汚物容器
JP3745986B2 (ja) ストーマ便の処理装置
CN111714018B (zh) 一种便携式卫生装置
CN214343046U (zh) 一种清理大小便的护理床
JP2021106852A (ja) トイレ付車いす及び前記車いす用衣服
KR100665067B1 (ko) 노약자 및 장애인용 화장실의 좌변기
JP3506075B2 (ja) 股間洗浄装置

Legal Events

Date Code Title Description
A621 Written request for application examination

Free format text: JAPANESE INTERMEDIATE CODE: A621

Effective date: 20181121

A521 Request for written amendment filed

Free format text: JAPANESE INTERMEDIATE CODE: A523

Effective date: 20190218

A977 Report on retrieval

Free format text: JAPANESE INTERMEDIATE CODE: A971007

Effective date: 20191004

A131 Notification of reasons for refusal

Free format text: JAPANESE INTERMEDIATE CODE: A131

Effective date: 20191105

A521 Request for written amendment filed

Free format text: JAPANESE INTERMEDIATE CODE: A523

Effective date: 20191220

TRDD Decision of grant or rejection written
A01 Written decision to grant a patent or to grant a registration (utility model)

Free format text: JAPANESE INTERMEDIATE CODE: A01

Effective date: 20200414

A61 First payment of annual fees (during grant procedure)

Free format text: JAPANESE INTERMEDIATE CODE: A61

Effective date: 20200423

R150 Certificate of patent or registration of utility model

Ref document number: 6708896

Country of ref document: JP

Free format text: JAPANESE INTERMEDIATE CODE: R150

R250 Receipt of annual fees

Free format text: JAPANESE INTERMEDIATE CODE: R250

R250 Receipt of annual fees

Free format text: JAPANESE INTERMEDIATE CODE: R250