JP6699747B2 - 冷却装置 - Google Patents

冷却装置 Download PDF

Info

Publication number
JP6699747B2
JP6699747B2 JP2018547029A JP2018547029A JP6699747B2 JP 6699747 B2 JP6699747 B2 JP 6699747B2 JP 2018547029 A JP2018547029 A JP 2018547029A JP 2018547029 A JP2018547029 A JP 2018547029A JP 6699747 B2 JP6699747 B2 JP 6699747B2
Authority
JP
Japan
Prior art keywords
heat transfer
cooling device
heat
heat insulating
transfer section
Prior art date
Legal status (The legal status is an assumption and is not a legal conclusion. Google has not performed a legal analysis and makes no representation as to the accuracy of the status listed.)
Active
Application number
JP2018547029A
Other languages
English (en)
Other versions
JPWO2018078796A1 (ja
Inventor
康敬 落合
康敬 落合
守 濱田
守 濱田
彰 森井
彰 森井
雄一郎 伊藤
雄一郎 伊藤
洋助 出雲
洋助 出雲
浩志郎 ▲高▼野
浩志郎 ▲高▼野
百合子 荒津
百合子 荒津
Current Assignee (The listed assignees may be inaccurate. Google has not performed a legal analysis and makes no representation or warranty as to the accuracy of the list.)
Mitsubishi Electric Corp
Original Assignee
Mitsubishi Electric Corp
Priority date (The priority date is an assumption and is not a legal conclusion. Google has not performed a legal analysis and makes no representation as to the accuracy of the date listed.)
Filing date
Publication date
Application filed by Mitsubishi Electric Corp filed Critical Mitsubishi Electric Corp
Publication of JPWO2018078796A1 publication Critical patent/JPWO2018078796A1/ja
Application granted granted Critical
Publication of JP6699747B2 publication Critical patent/JP6699747B2/ja
Active legal-status Critical Current
Anticipated expiration legal-status Critical

Links

Images

Classifications

    • FMECHANICAL ENGINEERING; LIGHTING; HEATING; WEAPONS; BLASTING
    • F25REFRIGERATION OR COOLING; COMBINED HEATING AND REFRIGERATION SYSTEMS; HEAT PUMP SYSTEMS; MANUFACTURE OR STORAGE OF ICE; LIQUEFACTION SOLIDIFICATION OF GASES
    • F25BREFRIGERATION MACHINES, PLANTS OR SYSTEMS; COMBINED HEATING AND REFRIGERATION SYSTEMS; HEAT PUMP SYSTEMS
    • F25B21/00Machines, plants or systems, using electric or magnetic effects
    • F25B21/02Machines, plants or systems, using electric or magnetic effects using Peltier effect; using Nernst-Ettinghausen effect
    • FMECHANICAL ENGINEERING; LIGHTING; HEATING; WEAPONS; BLASTING
    • F25REFRIGERATION OR COOLING; COMBINED HEATING AND REFRIGERATION SYSTEMS; HEAT PUMP SYSTEMS; MANUFACTURE OR STORAGE OF ICE; LIQUEFACTION SOLIDIFICATION OF GASES
    • F25DREFRIGERATORS; COLD ROOMS; ICE-BOXES; COOLING OR FREEZING APPARATUS NOT OTHERWISE PROVIDED FOR
    • F25D11/00Self-contained movable devices, e.g. domestic refrigerators
    • HELECTRICITY
    • H10SEMICONDUCTOR DEVICES; ELECTRIC SOLID-STATE DEVICES NOT OTHERWISE PROVIDED FOR
    • H10NELECTRIC SOLID-STATE DEVICES NOT OTHERWISE PROVIDED FOR
    • H10N10/00Thermoelectric devices comprising a junction of dissimilar materials, i.e. devices exhibiting Seebeck or Peltier effects
    • H10N10/10Thermoelectric devices comprising a junction of dissimilar materials, i.e. devices exhibiting Seebeck or Peltier effects operating with only the Peltier or Seebeck effects
    • H10N10/13Thermoelectric devices comprising a junction of dissimilar materials, i.e. devices exhibiting Seebeck or Peltier effects operating with only the Peltier or Seebeck effects characterised by the heat-exchanging means at the junction

Landscapes

  • Engineering & Computer Science (AREA)
  • Physics & Mathematics (AREA)
  • Mechanical Engineering (AREA)
  • Thermal Sciences (AREA)
  • General Engineering & Computer Science (AREA)
  • Chemical & Material Sciences (AREA)
  • Combustion & Propulsion (AREA)
  • Devices That Are Associated With Refrigeration Equipment (AREA)

Description

この発明は、冷却装置に関する。
特許文献1に、冷却装置が記載されている。特許文献1に記載された冷却装置は、食品等を収納するための断熱容器の内部を冷却する。この冷却装置は、圧縮機、凝縮器及び蒸発器を備える。圧縮機及び凝縮器は、断熱容器の外に配置される。蒸発器は、断熱容器の内部に配置される。
日本実開昭59−84386号公報
特許文献1に記載された冷却装置では、圧縮機及び凝縮器が断熱容器の外に配置される。また、蒸発器が断熱容器の内部に配置される。このため、断熱容器の蓋を閉めると、冷媒を通すための配管が蓋に挟まれる。配管を通すための溝を蓋に形成する必要があり、専用の断熱容器にしか適用できないといった問題があった。
この発明は、上述のような課題を解決するためになされた。この発明の目的は、種々な種類の断熱容器に適用が可能な冷却装置を提供することである。
この発明に係る冷却装置は、箱及び蓋を備える断熱容器の内部を冷却するための冷却装置である。冷却装置は、放熱面及び放熱面より低温になる冷却面を有する冷却器と、放熱面に設けられた放熱器と、伝熱体と、断熱材と、を備える。伝熱体は、冷却面に設けられた第1伝熱部と、第1伝熱部より高温になる第2伝熱部と、第1伝熱部及び第2伝熱部を繋ぐ第3伝熱部と、を備える。断熱材は、少なくとも第1伝熱部を覆う。冷却器及び第1伝熱部は、断熱容器の内部が冷却される際に断熱容器の外に配置される。第3伝熱部は、断熱容器の内部が冷却される際に箱と蓋との間に配置される。
この発明に係る冷却装置は、冷却器、放熱器、伝熱体及び断熱材を備える。伝熱体は、第1伝熱部、第2伝熱部及び第3伝熱部を備える。第1伝熱部は、冷却面に設けられる。断熱材は、少なくとも第1伝熱部を覆う。この発明に係る冷却装置であれば、種々な種類の断熱容器に適用が可能である。
この発明の実施の形態1における冷却装置の例を示す斜視図である。 図1のA−A断面を示す図である。 冷却装置の使用方法を説明するための図である。 図3のB−B断面を示す図である。 伝熱体の例を示す斜視図である。 図5のC−C断面を示す図である。 図5のC−C断面に相当する図である。 断熱材の他の例を示す図である。 断熱材の他の例を示す図である。 冷却装置の他の例を示す図である。 冷却装置の他の例を示す図である。 冷却装置を断熱容器に取り付ける他の方法を示す図である。 この発明の実施の形態2における冷却装置の例を示す斜視図である。 図13のE−E断面を示す図である。 断熱カバーを示す斜視図である。
添付の図面を参照し、本発明を説明する。重複する説明は、適宜簡略化或いは省略する。各図において、同一の符号は同一の部分又は相当する部分を示す。
実施の形態1.
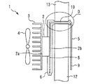
図1は、この発明の実施の形態1における冷却装置1の例を示す斜視図である。図2は、図1のA−A断面を示す図である。冷却装置1は、例えば冷却器2、放熱器3、送風機4、伝熱体5、断熱材6及びケース7を備える。図1は、冷却器2、放熱器3及び送風機4がケース7によって覆われる例を示す。図2では、ケース7を省略している。
冷却器2は、放熱面2a及び冷却面2bを有する。冷却面2bは、放熱面2aより温度が低くなる面である。冷却器2は、例えばペルチェ素子を備える。冷却器2に電力が供給されると、ペルチェ素子の吸熱現象によって冷却面2bが冷却される。また、ペルチェ素子の放熱現象によって放熱面2aが加熱される。図2は、放熱面2a及び冷却面2bが互いに反対の方向を向く例を示す。
放熱器3は、冷却器2の放熱面2aに設けられる。図2は、放熱器3が複数のフィンを備える例を示す。冷却器2で発生した熱は、放熱面2aから放熱器3に伝わる。
送風機4は、放熱器3に風を送る。送風機4によって放熱器3に風を当てることにより、放熱器3の温度を効率的に下げることができる。図2は、空冷によって放熱器3の温度を低下させる例を示す。水冷によって放熱器3の温度を低下させても良い。送風機4は、ケース7に着脱可能であっても良い。
伝熱体5は、冷却器2の冷却面2bに設けられる。伝熱体5は、冷却器2によって冷却される。伝熱体5は、例えば第1伝熱部8、第2伝熱部9及び第3伝熱部10を有する。
第1伝熱部8は、冷却器2の冷却面2bに設けられる部分である。伝熱体5自体に冷却機能は備えられていない。このため、冷却面2bに固定される第1伝熱部8は、第2伝熱部9及び第3伝熱部10より温度が低くなる。図1及び図2に示す例では、第1伝熱部8は平坦な板状である。第1伝熱部8は、冷却面2bに沿うように配置される。
第2伝熱部9は、伝熱体5を熱の移動経路として見た場合に冷却面2bから最も離れた部分を含む部分である。第2伝熱部9は、第1伝熱部8及び第3伝熱部10より温度が高くなる。図1及び図2に示す例では、第2伝熱部9は平坦な板状である。第2伝熱部9は、第1伝熱部8に対向するように配置される。例えば、第2伝熱部9は第1伝熱部8に対して平行に配置される。
第3伝熱部10は、第1伝熱部8と第2伝熱部9とを繋ぐ部分である。図1及び図2に示す例では、第3伝熱部10は平坦な板状である。第3伝熱部10は、第1伝熱部8の一つの縁と第2伝熱部9の一つの縁とを繋ぐように設けられる。例えば、第3伝熱部10は、第1伝熱部8と第2伝熱部9とに直交するように配置される。
断熱材6は、伝熱体5の一部を覆う。図1及び図2に示す例では、断熱材6は、第1伝熱部8と第3伝熱部10とを覆う。断熱材6を備えることにより、第2伝熱部9を冷却器2によって効率的に冷却することができる。
図3は、冷却装置1の使用方法を説明するための図である。図3は、冷却装置1を市販の断熱容器11に取り付けた状態を示す。図4は、図3のB−B断面を示す図である。断熱容器11は、例えば箱12及び蓋13を備える。
箱12は、内部に物品を保管するためのものである。蓋13は、箱12に形成された開口を塞ぐ。蓋13は、例えば箱12に着脱可能である。蓋13が箱12に取り付けられると、箱12が密閉される。図3は、断熱容器11の外形が直方体形状である例を示す。断熱容器11の外形は図3に示す例に限定されない。例えば、断熱容器11の外形は円柱形状でも良い。断熱容器11の外形が直方体形状で、断熱容器11の内側に形成される空間が円柱形状でも良い。
冷却装置1を断熱容器11に取り付ける場合は、伝熱体5の第3伝熱部10が箱12の縁の上に乗るように冷却装置1を配置する。そして、この状態で蓋13を箱12に取り付ける。蓋13が箱12に取り付けられることにより、断熱容器11は密閉される。また、第3伝熱部10は、箱12の縁と蓋13の端部とに挟まれる。断熱材6のうち第3伝熱部10を覆う部分の一部は、箱12の縁と蓋13の端部とに挟まれる。断熱材6が発泡樹脂で形成されていれば、断熱材6の上記一部は図4に示すように箱12及び蓋13によって押し潰される。
冷却装置1が断熱容器11に取り付けられると、冷却器2、放熱器3、送風機4及び第1伝熱部8は、断熱容器11の外に配置される。第3伝熱部10は、箱12と蓋13との間に配置される。第2伝熱部9は、断熱容器11の内部に配置される。第1伝熱部8と第2伝熱部9との間に、箱12の側壁に相当する部分が配置される。
図3及び図4に示す状態で冷却器2に電力が供給されると、伝熱体5が冷却される。図4に示す例では、断熱材6が第1伝熱部8と第3伝熱部10とを覆うため、第2伝熱部9を効率的に冷やすことができる。これにより、断熱容器11の内側に形成された空間の温度を効率的に下げることができる。
本実施の形態に示す例では、冷却器2が断熱容器11の外に配置される。即ち、冷却装置1の中で最も温度が低くなる冷却面2bが断熱容器11の外に配置される。冷却装置1は、従来の装置のように、冷媒を通すための配管を断熱容器11の内部にまで延ばす必要はない。伝熱体5は熱を伝えることができれば良く、その形状に制約はない。このため、市販の断熱容器11に冷却装置1を取り付けても、伝熱体5を挟んだ状態で蓋13を閉めることができる。本実施の形態に示す冷却装置1であれば、専用の断熱容器を用意する必要はない。冷却装置1は、種々の断熱容器に適用が可能である。
本実施の形態に示す冷却装置1であれば、既存の断熱容器11に後付けすることによって、その断熱容器11を冷蔵庫として利用することができる。例えば、断熱容器11によって保管される物品は、ワクチン製剤を含むものでも良い。発展途上国では、拠点等においてワクチン製剤を含む物品が断熱容器11に入れられ、モータバイク或いは乗用車等によってワクチンの接種会場に運ばれる。ワクチン製剤を保管する温度は、例えば2℃から8℃でなければならない。断熱容器11内の物品を上記温度範囲で保管できる時間が長いほど、拠点からの一回の出動によってより多くの会場にワクチン製剤を届けることができる。例えば、発展途上国では、物品を数日間上記温度範囲で保管できることが望ましい。
発展途上国において、ワクチンの接種会場に冷凍庫を用意することは難しい。しかし、ワクチンの接種会場に給電設備を備えることは可能である。例えば、持ち運びが可能な太陽光発電機をワクチンの接種会場に持ち込んでも良い。給電だけであれば、乗用車から行うこともできる。
ワクチンの接種会場では、蓋13が箱12から外され、ワクチン製剤が取り出される。蓋13が取り外されることによって断熱容器11内の温度は上昇する。本実施の形態に示す冷却装置1であれば、蓋13を開け閉めした後に断熱容器11の内部を冷却することができる。断熱容器11内の物品を上記温度範囲で保管できる時間を長くすることができる。
冷却装置1は、温度計及び表示器を更に備えても良い。温度計は、例えば第2伝熱部9に設けられる。温度計により、断熱容器11内の温度が計測される。表示器は、例えばケース7に設けられる。温度計によって計測された温度は表示器に表示される。冷却装置1は、コントローラを備えても良い。コントローラは、温度計によって計測された温度が目標温度範囲に収まるように冷却器2を制御する。かかる場合、コントローラは、ハードウェア資源として、例えばCPU及びメモリを含む処理回路を備える。コントローラは、メモリに記憶されたプログラムをCPUによって実行することにより、上記機能を実現する。コントローラの機能の一部又は全部をハードウェアによって実現しても良い。
伝熱体5の熱伝導率は、高ければ高いほど望ましい。例えば、伝熱体5は、50[W/m・K]以上の熱伝導率を有していることが望ましい。また、市販の断熱容器11では、箱12及び蓋13が樹脂製であることが多い。出願人が行った実験によれば、伝熱体5を厚さ2.5mmの1枚の金属板から成形しても、市販の断熱容器11において蓋13が閉まることを確認している。
他の例として、第3伝熱部10は、重ねられた複数の箔状の部材を備えても良い。伝熱体5のうち少なくとも箱12及び蓋13によって挟まれる部分が箔状の部材で形成されていれば、蓋13を容易に閉めることができる。また、断熱容器11の密閉性も確保できる。第3伝熱部10のみが箔状の部材を備えても良い。箔状の部材は、第1伝熱部8から第2伝熱部9に亘って配置されても良い。伝熱体5の全体が箔状の部材で形成されても良い。
他の例として、第3伝熱部10は、複数の線状の部材を備えても良い。図5は、伝熱体5の例を示す斜視図である。図6は、図5のC−C断面を示す図である。図6は、第3伝熱部10が複数の金属線14を備える例を示す。伝熱体5のうち少なくとも箱12及び蓋13によって挟まれる部分が線状の部材で形成されていれば、蓋13を容易に閉めることができる。また、断熱容器11の密閉性も確保できる。第3伝熱部10のみが線状の部材を備えても良い。線状の部材は、第1伝熱部8から第2伝熱部9に亘って配置されても良い。伝熱体5の全体が線状の部材で形成されても良い。
他の例として、第3伝熱部10は、ジェル状の部材を備えても良い。図7は、図5のC−C断面に相当する図である。図7に示す例では、第3伝熱部10は、袋状部材15及びジェル状部材17を備える。袋状部材15は、例えば樹脂製である。ジェル状部材17は、袋状部材15の内部に入れられる。伝熱体5のうち少なくとも箱12及び蓋13によって挟まれる部分がジェル状の部材で形成されていれば、蓋13を容易に閉めることができる。また、断熱容器11の密閉性も確保できる。第3伝熱部10のみが袋状部材15によって覆われたジェル状部材17を備えても良い。袋状部材15によって覆われたジェル状部材17は、第1伝熱部8から第2伝熱部9に亘って配置されても良い。伝熱体5の全体が、袋状部材15によって覆われたジェル状部材17で形成されても良い。熱伝導率を更に高めるため、袋状部材15に、ジェル状部材17と共に金属粉が入れられても良い。
図8及び図9は、断熱材6の他の例を示す図である。図8及び図9は、図4のD部に相当する図である。図8及び図9に示す例では、断熱材6は、第1伝熱部8と第3伝熱部10の一部とを覆う。即ち、少なくとも第1伝熱部8は断熱材6によって覆われる。
図8に示す例では、冷却装置1が断熱容器11に取り付けられると、断熱材6の縁が箱12及び蓋13によって押し潰される。一方、図9に示す例では、冷却装置1が断熱容器11に取り付けられても、断熱材6は箱12及び蓋13によって潰されない。第3伝熱部10の上に配置された断熱材6の端面は、蓋13の側面に対向する。第3伝熱部10の下に配置された断熱材6の端面は、箱12の側面に対向する。図9に示す例でも、伝熱体5の温度上昇を抑制する一定の効果は期待できる。
断熱材6は、第1伝熱部8と第3伝熱部10と第2伝熱部9の一部とを覆っても良い。かかる場合、少なくとも第1伝熱部8及び第3伝熱部10は断熱材6によって覆われる。このような配置であれば、冷却装置1を断熱容器11に取り付けた際に断熱材6を箱12及び蓋13によって確実に挟むことができる。
図10及び図11は、冷却装置1の他の例を示す図である。図10及び図11は、図1のA−A断面に相当する図である。図10に示す冷却装置1は、冷却器2、放熱器3、送風機4、伝熱体5、断熱材6及びケース7に加え、ケース18及び保冷液19を更に備える。図10では、ケース7を省略している。冷却器2、放熱器3、送風機4、伝熱体5、断熱材6及びケース7に関しては、上述した何れかの例と同様である。
ケース18は、伝熱体5の第2伝熱部9に設けられる。ケース18は、第2伝熱部9の一部を少なくとも覆う。図10は、第2伝熱部9の先端側の部分が、ケース18の内部の空間18aに配置される例を示す。保冷液19は、ケース18の内部に入れられる。第2伝熱部9の先端側の部分は、ケース18内で保冷液19に接触する。
図10に示す冷却装置1を断熱容器11に取り付ける場合は、伝熱体5の第3伝熱部10が箱12の縁の上に乗るように冷却装置1を配置する。そして、この状態で蓋13を箱12に取り付ける。冷却装置1が断熱容器11に取り付けられると、第2伝熱部9、ケース18及び保冷液19は、断熱容器11の内部に配置される。この状態で冷却器2に電力が供給されると、伝熱体5を介して保冷液19が冷却される。図10に示す冷却装置1では、ケース18の内部で第2伝熱部9が保冷液19に直接接触するため、保冷液19を効率的に冷却することができる。
図11に示す冷却装置1は、冷却器2、放熱器3、送風機4、伝熱体5、断熱材6及びケース7に加え、フィン20及び送風機21を更に備える。図11では、ケース7を省略している。冷却器2、放熱器3、送風機4、伝熱体5、断熱材6及びケース7に関しては、上述した何れかの例と同様である。
フィン20は、伝熱体5の第2伝熱部9に設けられる。送風機21は、フィン20に風を送る。
図11に示す冷却装置1を断熱容器11に取り付ける場合は、伝熱体5の第3伝熱部10が箱12の縁の上に乗るように冷却装置1を配置する。そして、この状態で蓋13を箱12に取り付ける。冷却装置1が断熱容器11に取り付けられると、第2伝熱部9、フィン20及び送風機21は、断熱容器11の内部に配置される。この状態で冷却器2に電力が供給されると、伝熱体5を介してフィン20が冷却される。また、フィン20が冷却されることによって冷やされた断熱容器11内の空気が送風機21によって攪拌される。これにより、断熱容器11内の温度を均一にすることができる。
図12は、冷却装置1を断熱容器11に取り付ける他の方法を示す図である。図12に示すように、冷却装置1を断熱容器11に取り付ける際に断熱容器11の外に配置される部分を蓋13の上方に配置しても良い。冷却装置1を取り付けた断熱容器11を横に並べる場合は、図12に示す取付方法が好適である。一方、冷却装置1を取り付けた断熱容器11を上に積み上げる場合は、図3に示すように、断熱容器11の外に配置される部分を箱12の側方に配置することが好適である。
実施の形態2.
図13は、この発明の実施の形態2における冷却装置22の例を示す斜視図である。図14は、図13のE−E断面を示す図である。冷却装置22は、例えば冷却器2、放熱器3、送風機4、伝熱体23、ケース24、保冷液25及びケース7を備える。図13は、冷却器2の一部、放熱器3及び送風機4がケース7によって覆われる例を示す。図14では、ケース7を省略している。冷却器2、放熱器3及び送風機4に関しては、実施の形態1で開示した何れかの例と同様である。
伝熱体23は、冷却器2の冷却面2bに設けられる。伝熱体23は、冷却器2によって冷却される。伝熱体23は、例えば複数のフィンを備える。
ケース24は、伝熱体23を覆う。図14は、伝熱体23の全体が、ケース24の内部の空間24aに配置される例を示す。保冷液25は、ケース24の内部に入れられる。伝熱体23は、ケース24内で保冷液25に接触する。図14は、伝熱体23に備えられたフィンのそれぞれに保冷液25が接触する例を示す。
冷却器2に電力が供給されると、伝熱体5を介して保冷液25が冷却される。図13及び図14に示す冷却装置22では、ケース24の内部で伝熱体23が保冷液25に直接接触するため、保冷液25を効率的に冷却することができる。出願人による試算では、同量の保冷液を有する保冷剤を冷凍庫で冷却する場合と比較して、冷却装置22は7倍の速度で保冷液25を冷却する。
上述したように、発展途上国において、ワクチンの接種会場に冷凍庫を用意することは難しい。しかし、ワクチンの接種会場に給電設備を備えることは可能である。本実施の形態に示す冷却装置22であれば、保冷液25を冷却する時間を短縮することができる。このため、1ヶ所の接種会場に僅かな時間しか滞在しない場合であっても、その会場で保冷液25を効率的に冷却することができる。
図15は、断熱カバー26を示す斜視図である。保冷液25をより効率的に冷却するため、図15に示すような断熱カバー26を用いても良い。断熱カバー26は、図14で二点鎖線で示すように、保冷液25を冷却する際にケース24に被せられる。保冷液25が固まると、冷却装置22は断熱容器11に入れられる。断熱カバー26を用いて保冷液25を冷却した場合は、断熱カバー26を外してから冷却装置22を断熱容器11に入れれば良い。
この発明に係る冷却装置は、電源を供給することができる場所で利用できる。
1 冷却装置、 2 冷却器、 2a 放熱面、 2b 冷却面、 3 放熱器、 4 送風機、 5 伝熱体、 6 断熱材、 7 ケース、 8 第1伝熱部、 9 第2伝熱部、 10 第3伝熱部、 11 断熱容器、 12 箱、 13 蓋、 14 金属線、 15 袋状部材、 17 ジェル状部材、 18 ケース、 18a 空間、 19 保冷液、 20 フィン、 21 送風機、 22 冷却装置、 23 伝熱体、 24 ケース、 24a 空間、 25 保冷液、 26 断熱カバー

Claims (10)

  1. 箱及び蓋を備える断熱容器の内部を冷却するための冷却装置であって、
    放熱面及び前記放熱面より低温になる冷却面を有する冷却器と、
    前記放熱面に設けられた放熱器と、
    伝熱体と、
    断熱材と、
    を備え、
    前記伝熱体は、
    前記冷却面に設けられた第1伝熱部と、
    前記第1伝熱部より高温になる第2伝熱部と、
    前記第1伝熱部及び前記第2伝熱部を繋ぐ第3伝熱部と、
    を備え、
    前記断熱材は、少なくとも前記第1伝熱部を覆い、
    前記冷却器及び前記第1伝熱部は、前記断熱容器の内部が冷却される際に前記断熱容器の外に配置され、
    前記第3伝熱部は、前記断熱容器の内部が冷却される際に前記箱と前記蓋との間に配置される冷却装置。
  2. 前記断熱材は、少なくとも前記第1伝熱部及び前記第3伝熱部を覆う請求項1に記載の冷却装置。
  3. 前記第1伝熱部は板状であり、前記冷却面に沿うように配置され、
    前記第2伝熱部は板状であり、前記第1伝熱部に対向するように配置された請求項1又は請求項2に記載の冷却装置。
  4. 前記第3伝熱部は板状であり、前記第1伝熱部及び前記第2伝熱部に直交するように配置された請求項3に記載の冷却装置。
  5. 前記第3伝熱部は、重ねられた複数の箔状の部材を備えた請求項1から請求項3の何れか一項に記載の冷却装置。
  6. 前記第3伝熱部は、複数の線状の部材を備えた請求項1から請求項3の何れか一項に記載の冷却装置。
  7. 前記第3伝熱部は、
    ジェル状の部材と、
    前記ジェル状の部材が内部に入れられた袋状の部材と、
    を備えた請求項1から請求項3の何れか一項に記載の冷却装置。
  8. 前記第3伝熱部は、前記袋状の部材に入れられた金属粉を更に備えた請求項7に記載の冷却装置。
  9. 前記第2伝熱部の一部を少なくとも覆うケースと、
    前記ケースの内部に入れられた保冷液と、
    を備え、
    前記第2伝熱部の前記一部は、前記ケース内で前記保冷液に接触する請求項1から請求項8の何れか一項に記載の冷却装置。
  10. 前記第2伝熱部に設けられたフィンと、
    前記フィンに風を送るための第2送風機と、
    を更に備えた請求項1から請求項8の何れか一項に記載の冷却装置。
JP2018547029A 2016-10-28 2016-10-28 冷却装置 Active JP6699747B2 (ja)

Applications Claiming Priority (1)

Application Number Priority Date Filing Date Title
PCT/JP2016/082067 WO2018078796A1 (ja) 2016-10-28 2016-10-28 冷却装置

Related Child Applications (1)

Application Number Title Priority Date Filing Date
JP2020004545A Division JP6849108B2 (ja) 2020-01-15 2020-01-15 冷却装置

Publications (2)

Publication Number Publication Date
JPWO2018078796A1 JPWO2018078796A1 (ja) 2019-04-18
JP6699747B2 true JP6699747B2 (ja) 2020-05-27

Family

ID=62024531

Family Applications (1)

Application Number Title Priority Date Filing Date
JP2018547029A Active JP6699747B2 (ja) 2016-10-28 2016-10-28 冷却装置

Country Status (2)

Country Link
JP (1) JP6699747B2 (ja)
WO (1) WO2018078796A1 (ja)

Families Citing this family (4)

* Cited by examiner, † Cited by third party
Publication number Priority date Publication date Assignee Title
WO2020146394A2 (en) * 2019-01-11 2020-07-16 Ember Technologies, Inc. Portable cooler with active temperature control
WO2020184745A1 (ko) * 2019-03-11 2020-09-17 주식회사 일렉쿠아 직접적인 열교환을 통한 어항용 수온 조절 방법 및 장치
JP7478034B2 (ja) * 2020-06-10 2024-05-02 ヤンマーホールディングス株式会社 冷却装置およびそれを備えた処理システム
JP7345027B1 (ja) 2022-08-29 2023-09-14 株式会社ツインバード スターリング冷凍機モジュール

Family Cites Families (8)

* Cited by examiner, † Cited by third party
Publication number Priority date Publication date Assignee Title
JPS5984386U (ja) * 1982-11-29 1984-06-07 株式会社日立製作所 車載用冷蔵庫
JPH10110961A (ja) * 1996-10-03 1998-04-28 Aisin Seiki Co Ltd スポット冷風装置
JPH11177264A (ja) * 1997-12-16 1999-07-02 Pfu Ltd 携帯型電子機器の収納ケース
JP2001148961A (ja) * 1999-11-25 2001-06-05 Doi Giken:Kk ペルチェ素子による水冷却装置および同方法
JP2001221551A (ja) * 2000-02-04 2001-08-17 Shibaura Mechatronics Corp 保冷庫
JP4350884B2 (ja) * 2000-11-02 2009-10-21 株式会社Kelk 熱交換装置
JP3956778B2 (ja) * 2002-06-12 2007-08-08 古河電気工業株式会社 薄型ヒートパイプ
JP2014178106A (ja) * 2013-02-18 2014-09-25 Cbc Est Co Ltd 温度管理搬送ボックス

Also Published As

Publication number Publication date
WO2018078796A1 (ja) 2018-05-03
JPWO2018078796A1 (ja) 2019-04-18

Similar Documents

Publication Publication Date Title
JP6699747B2 (ja) 冷却装置
JP6107954B2 (ja) 保冷庫
Müftüoğlu et al. Natural convection in an open square cavity with discrete heaters at their optimized positions
TW201641904A (zh) 冷卻裝置
CN210285069U (zh) 一种药品检验用医用低温保存箱
CN204937913U (zh) 超导型保温箱
CN103229010B (zh) 保管容器
JP6849108B2 (ja) 冷却装置
CN107367105A (zh) 冷库
CN207174456U (zh) 一种药用pvc包装盒
CN216003770U (zh) 一种便携式保温转运箱
KR200465901Y1 (ko) 식품 급속 냉동 장치
TWI520885B (zh) 吸冷保溫板及其應用之保溫櫃
US11079175B2 (en) Retrofit Peltier device for cooler
JP5208858B2 (ja) 冷却装置
JP2014126320A (ja) 保冷用落とし蓋および保冷箱
JP6296065B2 (ja) 収容庫
CN207635648U (zh) 一种基于tec制冷片的制冷装置
JP6255698B2 (ja) 収容庫
JP2004294034A (ja) 蓄冷式保冷庫
CN220707774U (zh) 铠装式直接热传导制冷器
CN206449933U (zh) 一种半导体制冷冰箱
CN214987444U (zh) 一种具有高效制冷组件的血液冷藏箱
JP3196994U (ja) ワインセラー
JP3200023U (ja) 被保冷体又は被保温体を冷却又は保温状態で搬送又は貯蔵するために使用する箱体

Legal Events

Date Code Title Description
A521 Request for written amendment filed

Free format text: JAPANESE INTERMEDIATE CODE: A523

Effective date: 20181214

A621 Written request for application examination

Free format text: JAPANESE INTERMEDIATE CODE: A621

Effective date: 20181214

A131 Notification of reasons for refusal

Free format text: JAPANESE INTERMEDIATE CODE: A131

Effective date: 20191210

A521 Request for written amendment filed

Free format text: JAPANESE INTERMEDIATE CODE: A523

Effective date: 20200115

TRDD Decision of grant or rejection written
A01 Written decision to grant a patent or to grant a registration (utility model)

Free format text: JAPANESE INTERMEDIATE CODE: A01

Effective date: 20200331

A61 First payment of annual fees (during grant procedure)

Free format text: JAPANESE INTERMEDIATE CODE: A61

Effective date: 20200413

R150 Certificate of patent or registration of utility model

Ref document number: 6699747

Country of ref document: JP

Free format text: JAPANESE INTERMEDIATE CODE: R150

R250 Receipt of annual fees

Free format text: JAPANESE INTERMEDIATE CODE: R250

R250 Receipt of annual fees

Free format text: JAPANESE INTERMEDIATE CODE: R250