JP6695752B2 - Furniture - Google Patents

Furniture Download PDF

Info

Publication number
JP6695752B2
JP6695752B2 JP2016137166A JP2016137166A JP6695752B2 JP 6695752 B2 JP6695752 B2 JP 6695752B2 JP 2016137166 A JP2016137166 A JP 2016137166A JP 2016137166 A JP2016137166 A JP 2016137166A JP 6695752 B2 JP6695752 B2 JP 6695752B2
Authority
JP
Japan
Prior art keywords
pair
furniture
top plate
attached
connecting beam
Prior art date
Legal status (The legal status is an assumption and is not a legal conclusion. Google has not performed a legal analysis and makes no representation as to the accuracy of the status listed.)
Active
Application number
JP2016137166A
Other languages
Japanese (ja)
Other versions
JP2018007731A (en
Inventor
榊原 義弥
義弥 榊原
Current Assignee (The listed assignees may be inaccurate. Google has not performed a legal analysis and makes no representation or warranty as to the accuracy of the list.)
Okamura Corp
Original Assignee
Okamura Corp
Priority date (The priority date is an assumption and is not a legal conclusion. Google has not performed a legal analysis and makes no representation as to the accuracy of the date listed.)
Filing date
Publication date
Application filed by Okamura Corp filed Critical Okamura Corp
Priority to JP2016137166A priority Critical patent/JP6695752B2/en
Priority to PCT/JP2017/025257 priority patent/WO2018012493A1/en
Publication of JP2018007731A publication Critical patent/JP2018007731A/en
Application granted granted Critical
Publication of JP6695752B2 publication Critical patent/JP6695752B2/en
Active legal-status Critical Current
Anticipated expiration legal-status Critical

Links

Images

Landscapes

  • Tables And Desks Characterized By Structural Shape (AREA)

Description

本発明は、什器に関する。   The present invention relates to furniture.

オフィスや公共施設等では、使用者の作業性を向上させるために、使用者の各種作業を補助する補助機能部を備える什器が用いられている。補助機能部としては、例えば、使用者に作業平面を提供するとともに使用者の作業に必要な機器や物品を載せる天板や、作業に必要な物品を収納する棚、パーソナルコンピューター等の電子機器に接続され作業に必要な情報を表示するディスプレイ、作業空間を照らす照明等が挙げられる。このような補助機能部は、使用者の作業内容に応じて必要とされるものが異なるため、オプション部材として必要に応じて取り付け可能に構成されている什器が知られている。例えば、特許文献1には、補助機能部である棚やモニター等をオプション部材として取り付けることが可能な什器が開示されている。   In offices, public facilities, and the like, in order to improve the workability of the user, a fixture provided with an auxiliary function unit that assists various operations of the user is used. As the auxiliary function unit, for example, a top plate that provides a work plane to the user and puts devices and articles necessary for the user's work, a shelf that stores items necessary for work, electronic devices such as personal computers, etc. Examples include a display that is connected and displays information necessary for work, and lighting that illuminates the work space. Since such an auxiliary function unit is required differently depending on the work content of the user, a furniture which is configured as an optional member so that it can be attached as needed is known. For example, Patent Document 1 discloses a fixture to which a shelf or a monitor, which is an auxiliary function unit, can be attached as an optional member.

ところで、補助機能部を備える什器において、使用者の姿勢や体格、性別、好み等によって、作業のしやすい補助機能部の高さは個々に異なっている。補助機能部の高さが一定である什器ではこのような実情に対応できないため、補助機能部の高さを上下方向に変更可能な什器が広く用いられている。こうした什器を用いることによって、使用者に対して作業性の良い環境を提供することができ、作業効率を向上させるとともに、使用者の体への負担を低減することができる。   By the way, in the furniture including the auxiliary function part, the height of the auxiliary function part which is easy to work is different depending on the posture, the physique, the sex, the preference of the user. Fixtures in which the height of the auxiliary function unit is constant cannot cope with such a situation, and therefore fixtures in which the height of the auxiliary function unit can be changed in the vertical direction are widely used. By using such a fixture, an environment with good workability can be provided to the user, work efficiency can be improved, and the burden on the user's body can be reduced.

従来、補助機能部の高さを上下に変更するための昇降手段として、ガススプリングを用いる方法やギアを用いる方法等が知られている(例えば、特許文献2および3参照)。これらの手動の昇降手段では、構造が比較的簡単であり、コストを低廉に抑えることができる。しかしながら、力の弱い使用者では、これらの昇降手段を操作しにくい場合があった。   Conventionally, as a raising / lowering means for changing the height of the auxiliary function portion up and down, a method using a gas spring, a method using a gear, and the like are known (for example, see Patent Documents 2 and 3). These manual elevating means have a relatively simple structure, and the cost can be kept low. However, it may be difficult for a weak user to operate these lifting means.

そこで、昇降手段の操作性を良好にするために、昇降手段に電動式駆動ユニットを用いた什器が多く採用されている(例えば、特許文献4〜6参照)。電動式駆動ユニットを用いた什器では、使用者は容易に補助機能部の高さを好適な位置に調整することができる。   Therefore, in order to improve the operability of the elevating means, many fixtures using an electric drive unit for the elevating means are adopted (for example, refer to Patent Documents 4 to 6). In the furniture using the electric drive unit, the user can easily adjust the height of the auxiliary function unit to a suitable position.

この電動式駆動ユニットは、一般的に、筒状のアウターケーシングと、アウターケーシングの内側に嵌合する筒状のインナーケーシングと、有し、内部に設けられた駆動部によってアウターケーシングとインナーケーシングとが相対的に摺動可能に構成されている。天板等の補助機能部は、この電動式駆動ユニットによって下側から支持されている。電動式駆動ユニットのアウターケーシングとインナーケーシングとが相対的に摺動することによって、電動式駆動ユニットが伸長又は収縮して、補助機能部の高さが変化する。   This electric drive unit generally has a tubular outer casing and a tubular inner casing that fits inside the outer casing, and an outer casing and an inner casing are provided by a drive unit provided inside. Are relatively slidable. The auxiliary function part such as the top plate is supported from below by the electric drive unit. When the outer casing and the inner casing of the electric drive unit relatively slide, the electric drive unit expands or contracts, and the height of the auxiliary function unit changes.

特開2005−21340号公報JP, 2005-21340, A 特許第3371959号公報Japanese Patent No. 3371959 特許第3391285号公報Japanese Patent No. 3391285 実用新案登録第3164739号公報Utility model registration No. 3164739 特開2014−113505号公報JP, 2014-113505, A 特許第5718503号公報Japanese Patent No. 5718503

上述した電動式駆動ユニット(昇降ユニット)によって支持された補助機能部を有する什器において、使用者が補助機能部を使用する際に、使用者の使用状況によって、昇降ユニットの伸縮する軸線から外れた位置に荷重が掛かる場合がある。この場合、この荷重によって昇降ユニットのアウターケーシングとインナーケーシングとの間の摺動抵抗が増加することで、昇降ユニットの負荷が増加したり、摺動時に昇降ユニット内で異音が発生したりする可能性がある。   In the furniture having the auxiliary function part supported by the above-mentioned electric drive unit (lifting unit), when the user uses the auxiliary function part, it deviates from the axis of expansion and contraction of the lifting unit depending on the usage condition of the user. The position may be loaded. In this case, the load increases the sliding resistance between the outer casing and the inner casing of the lifting unit, which increases the load on the lifting unit and causes abnormal noise in the lifting unit during sliding. there is a possibility.

本発明は、上記の事情を鑑みてなされたものであり、オプション部材として取り付けられる補助機能部を支持する昇降ユニットへの負荷を低減するとともに昇降動作時の異音の発生を防止することが可能な什器を提供することを目的とする。   The present invention has been made in view of the above circumstances, and it is possible to reduce the load on the lifting unit that supports the auxiliary function unit attached as an optional member and prevent the generation of abnormal noise during the lifting operation. The purpose is to provide furniture.

本発明の一態様によれば、什器は、床面上に互いに間隔をあけて配置され、上方に向かって延びて設けられ、上下方向に伸縮可能に構成された一対の昇降ユニットと、前記一対の昇降ユニットの上端部にそれぞれ取り付けられ、前記上端部から上方に向かって延びる一対の支持支柱体と、前記一対の支持支柱体間に架設された連結部材と、前記連結部材によって支持されたオプション部材と、を備える。   According to one aspect of the present invention, the furniture includes a pair of lifting units, which are arranged on a floor surface with a space between each other, extend upward, and are configured to be vertically expandable and contractable, A pair of support columns that are respectively attached to the upper ends of the lifting units and extend upward from the upper ends, a connecting member that is installed between the pair of supporting columns, and an option that is supported by the connecting members. And a member.

このような什器によれば、一対の支持支柱体は一対の昇降ユニットの上端部にそれぞれ取り付けられ、各上端部から上方に向かって延びている。このため、オプション部材、連結部材、及び一対の支持支柱体の荷重は、上下方向に伸縮する昇降ユニットの各上端部に直上から伝達される。これにより、昇降動作時における昇降ユニット内の摺動抵抗の増加を抑制することでき、昇降ユニットへの負荷を低減することができる。同時に、摺動抵抗の増加に伴う異音の発生を防止することができる。   According to such a fixture, the pair of support pillars are attached to the upper ends of the pair of lifting units, and extend upward from the upper ends. Therefore, the loads of the option member, the connecting member, and the pair of support pillars are transmitted from directly above to the upper end portions of the elevating unit that expands and contracts in the vertical direction. As a result, it is possible to suppress an increase in the sliding resistance in the lifting unit during the lifting operation and reduce the load on the lifting unit. At the same time, it is possible to prevent abnormal noise from being generated due to an increase in sliding resistance.

上記の什器において、前記連結部材は、前記上下方向に互いに間隔をあけて配置され、前記一対の支持支柱体を互いに連結する一対の連結ビームを有していてもよい。   In the above furniture, the connecting member may include a pair of connecting beams which are arranged at a distance from each other in the vertical direction and which connect the pair of support pillars to each other.

このような什器によれば、一対の連結ビームによって一対の支持支柱体を互いに連結しているので、一対の支持支柱体間の連結強度を増加させることができる。   According to such a fixture, since the pair of support pillars are connected to each other by the pair of connecting beams, the connection strength between the pair of support pillars can be increased.

上記の什器において、前記連結ビームは、前記連結ビームの長手方向に沿って延びる取付け溝を有していてもよい。前記オプション部材は、取付け手段を介して前記取付け溝に取り付けられていてもよい。   In the above fixture, the connection beam may have a mounting groove extending along a longitudinal direction of the connection beam. The optional member may be attached to the attaching groove via an attaching means.

このような什器によれば、オプション部材は取付け手段を介して連結ビームの取付け溝に取り付けられるので、連結ビームに対してオプション部材を容易にかつ確実に取り付けることができる。   According to such a fixture, since the option member is attached to the attachment groove of the connection beam via the attachment means, the option member can be attached to the connection beam easily and reliably.

上記の什器において、前記オプション部材は、平板状に形成された天板を含んでいてもよい。前記天板は、前記取付け溝に取り付けられた支持ブラケットを介して前記連結ビームに支持されていてもよい。   In the above furniture, the optional member may include a top plate formed in a flat plate shape. The top plate may be supported by the connection beam via a support bracket attached to the attachment groove.

このような什器によれば、オプション部材として天板が支持ブラケットを介して連結ビームに支持されているので、什器としての使い勝手をより向上させることができる。   According to such a furniture, since the top plate is supported by the connecting beam via the support bracket as an optional member, the usability as a furniture can be further improved.

上記の什器において、前記天板は、前記連結ビームの上面に配置されていてもよい。前記取付け溝は、前記連結ビームにおいて前記上面から下方に延びる側面に形成されていてもよい。   In the above furniture, the top plate may be arranged on an upper surface of the connection beam. The mounting groove may be formed on a side surface of the connecting beam that extends downward from the upper surface.

このような什器によれば、連結ビームの上面に天板が配置された状態で連結ビームによって天板を支持することができるので、平面視において連結ビームを跨ぐように天板を配置することができる。これにより、平面視において天板の重心の位置を一対の連結ビーム及び一対の支持支柱体の合成重心の位置に合わせることが可能となるため、什器にオプション部材として天板が取り付けられた場合でも、昇降動作時における昇降ユニット内の摺動抵抗の増加を抑制し、昇降ユニットへの負荷を低減することができる。   According to such a fixture, since the top plate can be supported by the connecting beam in a state where the top plate is arranged on the upper surface of the connecting beam, the top plate can be arranged so as to straddle the connecting beam in a plan view. it can. This makes it possible to align the position of the center of gravity of the top plate in plan view with the position of the combined center of gravity of the pair of connecting beams and the pair of support columns, and thus even when the top plate is attached to the fixture as an optional member. It is possible to suppress an increase in sliding resistance in the lifting unit during the lifting operation and reduce the load on the lifting unit.

上記の什器において、前記一対の昇降ユニットが並ぶ方向から見た側面視において、前記一対の支持支柱体、前記連結部材、及び前記オプション部材から構成される構造体の重心における荷重方向が、前記昇降ユニットの伸縮部分と重なるように設定されていてもよい。   In the above fixture, in a side view seen from the direction in which the pair of lifting units are arranged, the load direction at the center of gravity of the structure composed of the pair of support pillars, the connecting member, and the option member is It may be set so as to overlap the stretchable portion of the unit.

このような什器によれば、側面視において、構造体の荷重が昇降ユニットに対して昇降ユニットの伸縮方向と交差する方向に加わることを防止することができる。これにより、昇降動作時における昇降ユニット内の摺動抵抗の増加を抑制し、昇降ユニットへの負荷を低減することができる。   According to such a fixture, it is possible to prevent the load of the structure from being applied to the lifting unit in a direction intersecting the extension / contraction direction of the lifting unit when viewed from the side. As a result, it is possible to suppress an increase in sliding resistance in the lifting unit during the lifting operation and reduce the load on the lifting unit.

上記の什器において、前記連結ビームには、前記一対の昇降ユニットが互いに離間する方向である幅方向において前記連結ビームの寸法よりも短い寸法を有する前記オプション部材が取り付けられていてもよい。   In the above fixture, the connection beam may be provided with the optional member having a dimension shorter than a dimension of the connection beam in a width direction in which the pair of lifting units are separated from each other.

このような什器によれば、使用者の要望に合わせて幅方向の任意の位置に所望の態様及び数量のオプション部材を取り付けることが可能となり、什器としての利便性を向上させることができる。   According to such a fixture, it is possible to attach an optional member in a desired mode and quantity to any position in the width direction according to a user's request, and convenience as a fixture can be improved.

上記の什器によれば、昇降ユニットへの負荷を低減するとともに昇降動作時の異音の発生を防止することができる。   According to the above fixture, it is possible to reduce the load on the lifting unit and prevent the generation of abnormal noise during the lifting operation.

本発明の一実施形態に係る什器を示す斜視図である。It is a perspective view showing a furniture concerning one embodiment of the present invention. 前記什器においてオプション部材を取り外した状態を示す正面図である。It is a front view which shows the state which removed the option member in the said furniture. 図2のIII−III線における断面図である。It is sectional drawing in the III-III line of FIG. 前記什器において支持ブラケットを連結ビームに取り付ける構成を一部破断して示す側面図である。It is a side view which partially cuts and shows the structure which attaches a support bracket to a connection beam in the said furniture. 前記什器においてオプション部材として天板が取り付けられた状態を一部破断して示す側面図である。It is a side view which partially cuts and shows the state in which the top plate was attached as an optional member in the said furniture. 前記什器においてオプション部材としてモニターが取り付けられた状態を一部破断して示す図である。FIG. 3 is a partially cutaway view showing a state in which a monitor is attached as an optional member in the furniture. 前記什器の第一変形例を示す斜視図である。It is a perspective view which shows the 1st modification of the said furniture. 前記什器の第二変形例を示す斜視図である。It is a perspective view which shows the 2nd modification of the said furniture. 前記什器の第三変形例を示す斜視図である。It is a perspective view which shows the 3rd modification of the said furniture.

(第一実施形態)
以下、本発明の一実施形態について、図1から図6を参照して説明する。
(First embodiment)
An embodiment of the present invention will be described below with reference to FIGS. 1 to 6.

図1は、本実施形態に係る什器1を示す斜視図である。図2は、什器1においてオプション部材40を取り外した状態を示す正面図である。図3は、図2のIII−III線における断面図である。   FIG. 1 is a perspective view showing a furniture 1 according to the present embodiment. FIG. 2 is a front view showing a state in which the optional member 40 is removed from the furniture 1. FIG. 3 is a sectional view taken along line III-III in FIG.

図1に示すように、什器1は、一対の昇降ユニット10、10と、一対の支持支柱体20、20と、連結部材30と、オプション部材40と、を備えている。什器1では、オプション部材40として、平板状に形成された天板50と、2台のモニター60、60と、が連結部材30によって支持されている。   As shown in FIG. 1, the furniture 1 includes a pair of lifting units 10 and 10, a pair of support pillars 20 and 20, a connecting member 30, and an optional member 40. In the furniture 1, as the optional member 40, a top plate 50 formed in a flat plate shape and two monitors 60, 60 are supported by the connecting member 30.

一対の昇降ユニット10、10は、床面F上に床面Fに対して平行な一方向(以下、この方向を幅方向Dhと適宜称する。)に互いに間隔をあけて配置され、上方に向かって延びて設けられている。各昇降ユニット10は、上下方向Dvに伸縮可能に構成されている。   The pair of lifting units 10 and 10 are arranged on the floor surface F in a direction parallel to the floor surface F (hereinafter, this direction is appropriately referred to as a width direction Dh) with a space therebetween, and are directed upward. It is extended and provided. Each elevating unit 10 is configured to be capable of expanding and contracting in the vertical direction Dv.

本実施形態では、昇降ユニット10は、下部筒状体11aと、中間筒状体11bと、上部筒状体11cと、を有している。下部筒状体11a、中間筒状体11b、及び上部筒状体11cは、それぞれ上下方向Dvに延びる四角形筒状に形成されている。下部筒状体11aの内部に中間筒状体11bが収納され、中間筒状体11bの内部に上部筒状体11cが収納されている。昇降ユニット10が有するモータ等の駆動機構(不図示)により、下部筒状体11aに対して中間筒状体11b及び上部筒状体11cをそれぞれ上下方向Dvに移動させることで、昇降ユニット10を上下方向Dvに伸縮させることができる。   In the present embodiment, the elevating unit 10 has a lower tubular body 11a, an intermediate tubular body 11b, and an upper tubular body 11c. The lower tubular body 11a, the intermediate tubular body 11b, and the upper tubular body 11c are each formed in a rectangular tubular shape extending in the vertical direction Dv. The intermediate tubular body 11b is housed inside the lower tubular body 11a, and the upper tubular body 11c is housed inside the intermediate tubular body 11b. By moving the intermediate tubular body 11b and the upper tubular body 11c with respect to the lower tubular body 11a in the up-down direction Dv by a drive mechanism (not shown) such as a motor included in the lifting unit 10, the elevator unit 10 is moved. It can be expanded and contracted in the vertical direction Dv.

昇降ユニット10の下端部には、下部支持体12が設けられている。下部支持体12は、床面F上に配置され、床面Fに平行で幅方向Dhに直交する方向(以下、この方向を前後方向Dfと適宜称する。)に延びている。下部支持体12の下面には、下部支持体12の高さ及びレベルの調整を行うアジャスター13が設けられている。   A lower support 12 is provided at the lower end of the lifting unit 10. The lower support 12 is disposed on the floor surface F and extends in a direction parallel to the floor surface F and orthogonal to the width direction Dh (hereinafter, this direction is appropriately referred to as a front-back direction Df). An adjuster 13 for adjusting the height and level of the lower support 12 is provided on the lower surface of the lower support 12.

昇降ユニット10は、下部支持体12において中央部分から前後方向Dfの後方側に配置されている。昇降ユニット10の下部筒状体11aは、前後方向Dfの後方に下部支持体12の後端まで張り出すように構成されている。張り出した下部筒状体11aの後端部には、脚連結部材14がボルト(不図示)等により固定されている。脚連結部材14は、幅方向Dhに延びる矩形枠状に形成され、一対の昇降ユニット10、10の下部筒状体11a、11aの後端部を互いに連結している。   The elevating unit 10 is arranged on the lower side of the lower support 12 on the rear side in the front-rear direction Df from the central portion. The lower tubular body 11a of the lifting unit 10 is configured to project to the rear end of the lower support 12 rearward in the front-rear direction Df. A leg connecting member 14 is fixed to a rear end portion of the projecting lower tubular body 11a by a bolt (not shown) or the like. The leg connecting member 14 is formed in a rectangular frame shape extending in the width direction Dh, and connects the rear end portions of the lower tubular bodies 11a, 11a of the pair of lifting units 10, 10 to each other.

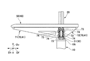
一対の支持支柱体20、20は、一対の昇降ユニット10、10の上端部10t、10tにそれぞれ取り付けられ、上端部10t、10tから上方に向かって延びている。支持支柱体20は、上下方向Dvから見て略正方形状の断面を有している。支持支柱体20の前後方向Df及び幅方向Dhの各側面には、連結部材30を取り付ける際に使用される溝が上下方向Dvに沿って形成されている。   The pair of support pillars 20 and 20 are attached to the upper ends 10t and 10t of the pair of lifting units 10 and 10, respectively, and extend upward from the upper ends 10t and 10t. The support column 20 has a substantially square cross section when viewed in the vertical direction Dv. Grooves used when attaching the connecting member 30 are formed along the vertical direction Dv on each side surface of the support column 20 in the front-rear direction Df and the width direction Dh.

連結部材30は、一対の支持支柱体20、20間に架設されている。本実施形態では、連結部材30は、上下方向Dvに互いに間隔をあけて配置され、一対の支持支柱体20、20を互いに連結する一対の連結ビーム31、31を有している。   The connecting member 30 is provided between the pair of support pillars 20, 20. In the present embodiment, the connecting member 30 has a pair of connecting beams 31 and 31 which are arranged at intervals in the up-down direction Dv and which connect the pair of support pillars 20 and 20 to each other.

連結ビーム31は、幅方向Dhから見て前後方向Dfよりも上下方向Dvに長い略矩形状の断面を有し、幅方向Dhに延びている。連結ビーム31の幅方向Dhの両端部は、支持支柱体20の溝内に配置された板ナット(不図示)を用いてボルト(不図示)により支持支柱体20に固定されている。一対の連結ビーム31、31のうち一方は、一対の支持支柱体20、20の上端部を互いに連結し、他方は、一対の支持支柱体20、20の下端部を互いに連結している。   The connecting beam 31 has a substantially rectangular cross section that is longer in the up-down direction Dv than in the front-rear direction Df when viewed from the width direction Dh, and extends in the width direction Dh. Both ends of the connecting beam 31 in the width direction Dh are fixed to the support column 20 by bolts (not shown) using plate nuts (not shown) arranged in the grooves of the support column 20. One of the pair of connecting beams 31, 31 connects the upper ends of the pair of support columns 20, 20 to each other, and the other connects the lower ends of the pair of support columns 20, 20 to each other.

連結ビーム31は、連結ビーム31の長手方向に沿って延びる取付け溝32を有している。本実施形態では、連結ビーム31の長手方向は幅方向Dhに一致している。連結ビーム31の上面31tおよび下面31bには、それぞれ取付け溝32が一つずつ形成されている。連結ビーム31において上面31tから下方に延びる側面、すなわち前側面31f及び後側面31rにはそれぞれ、上下方向Dvに並ぶ二つの取付け溝32が形成されている。取付け溝32の開口縁には、互いに近接するように突出する突出片33が形成されている。これによって、取付け溝32の開口幅は溝内部の幅よりも狭められている。   The connecting beam 31 has a mounting groove 32 extending along the longitudinal direction of the connecting beam 31. In this embodiment, the longitudinal direction of the connection beam 31 corresponds to the width direction Dh. One mounting groove 32 is formed on each of the upper surface 31t and the lower surface 31b of the connecting beam 31. On the side surface of the connecting beam 31 extending downward from the upper surface 31t, that is, on the front side surface 31f and the rear side surface 31r, two mounting grooves 32 arranged in the vertical direction Dv are formed. At the opening edge of the mounting groove 32, projecting pieces 33 that project so as to be close to each other are formed. As a result, the opening width of the mounting groove 32 is narrower than the width inside the groove.

オプション部材40は、取付け手段41を介して取付け溝32に取り付けられている。以下、オプション部材40を連結ビーム31に取り付ける構成について説明する。   The option member 40 is attached to the attachment groove 32 via the attachment means 41. Hereinafter, a structure for attaching the option member 40 to the connecting beam 31 will be described.

まず、図4及び図5を参照して、オプション部材40のうち天板50を連結ビーム31に取り付ける構成について説明する。図4は、什器1において支持ブラケット70を連結ビーム31に取り付ける構成を一部破断して示す側面図である。図5は、什器1においてオプション部材40として天板50が取り付けられた状態を一部破断して示す側面図である。なお、図5は、図3の断面図と同じ位置から見た図である。図4及び図5に示すように、天板50は、取付け溝32に取り付けられた支持ブラケット70を介して連結ビーム31に支持されている。また、本実施形態では、天板50は、下側の連結ビーム31に取り付けられている。   First, with reference to FIG. 4 and FIG. 5, a configuration of attaching the top plate 50 of the option member 40 to the connecting beam 31 will be described. FIG. 4 is a partially cutaway side view showing the structure for mounting the support bracket 70 to the connecting beam 31 in the furniture 1. FIG. 5 is a partially cutaway side view showing a state in which the top plate 50 is attached as the optional member 40 in the furniture 1. Note that FIG. 5 is a view seen from the same position as the cross-sectional view of FIG. As shown in FIGS. 4 and 5, the top plate 50 is supported by the connection beam 31 via a support bracket 70 attached to the attachment groove 32. In addition, in the present embodiment, the top plate 50 is attached to the lower connecting beam 31.

天板50の取付け手段41である支持ブラケット70は、前側ブラケット71と、後側ブラケット72と、を有している。前側ブラケット71は、上板部71aと、後板部71bと、補強板部71cと、を有している。上板部71aは、前後方向Dfに延びる平板状に形成されている。後板部71bは、上板部71aの後端部の下側に配置され、上下方向Dvに延びる平板状に形成されている。補強板部71cは、側面視において略直角三角形の板状に形成され、上板部71a及び後板部71bの幅方向Dhの一端部同士を互いに連結している。上板部71aの後端には、上板部71aから下方に突出する突出片71dが形成されている。   The support bracket 70, which is the attachment means 41 of the top plate 50, has a front bracket 71 and a rear bracket 72. The front bracket 71 has an upper plate portion 71a, a rear plate portion 71b, and a reinforcing plate portion 71c. The upper plate portion 71a is formed in a flat plate shape extending in the front-rear direction Df. The rear plate portion 71b is arranged below the rear end portion of the upper plate portion 71a, and is formed in a flat plate shape extending in the vertical direction Dv. The reinforcing plate portion 71c is formed in a plate shape of a substantially right triangle in a side view, and connects one end portions of the upper plate portion 71a and the rear plate portion 71b in the width direction Dh to each other. A projecting piece 71d that projects downward from the upper plate portion 71a is formed at the rear end of the upper plate portion 71a.

同様に、後側ブラケット72は、上板部72aと、前板部72bと、補強板部72cと、を有している。上板部72aは、前後方向Dfに延びる平板状に形成されている。前板部72bは、上板部72aの前端部の下側に配置され、上下方向Dvに延びる平板状に形成されている。補強板部72cは、側面視において略直角三角形の板状に形成され、上板部72a及び前板部72bの幅方向Dhの一端部同士を互いに連結している。上板部72aの前端には、上板部72aから下方に突出する突出片72dが形成されている。   Similarly, the rear bracket 72 has an upper plate portion 72a, a front plate portion 72b, and a reinforcing plate portion 72c. The upper plate portion 72a is formed in a flat plate shape extending in the front-rear direction Df. The front plate portion 72b is arranged below the front end portion of the upper plate portion 72a, and is formed in a flat plate shape extending in the vertical direction Dv. The reinforcing plate portion 72c is formed in a plate shape of a substantially right triangle in a side view, and connects one end portions of the upper plate portion 72a and the front plate portion 72b in the width direction Dh to each other. A projecting piece 72d that projects downward from the upper plate portion 72a is formed at the front end of the upper plate portion 72a.

支持ブラケット70を連結ビーム31に取り付ける際には、まず板ナット73を連結ビーム31の前側面31fの二つの取付け溝32及び後側面31rの二つの取付け溝32にそれぞれ挿入する。このとき、取付け溝32の二つの突出片33によって、板ナット73が取付け溝32から前後方向Dfに抜けることが防止されている。続いて、前側ブラケット71の突出片71dを連結ビーム31の上面31tの取付け溝32に係止させて、前側ブラケット71の後板部71bを連結ビーム31の前側面31fに当接させる。この状態で、ボルト74を、後板部71bに形成された貫通孔(不図示)を挿通させて、板ナット73に螺合させる。これによって、前側ブラケット71の後板部71b及び取付け溝32の突出片33がボルト74及び板ナット73によって締め付けられることにより、前側ブラケット71は連結ビーム31に固定される。   When attaching the support bracket 70 to the connection beam 31, first, the plate nuts 73 are inserted into the two attachment grooves 32 of the front side surface 31 f and the two attachment grooves 32 of the rear side surface 31 r of the connection beam 31, respectively. At this time, the two projecting pieces 33 of the mounting groove 32 prevent the plate nut 73 from coming off the mounting groove 32 in the front-rear direction Df. Subsequently, the protruding piece 71d of the front bracket 71 is locked in the mounting groove 32 of the upper surface 31t of the connecting beam 31, and the rear plate portion 71b of the front bracket 71 is brought into contact with the front side surface 31f of the connecting beam 31. In this state, the bolt 74 is inserted into a through hole (not shown) formed in the rear plate portion 71b and screwed into the plate nut 73. As a result, the rear plate portion 71 b of the front bracket 71 and the protruding piece 33 of the mounting groove 32 are tightened by the bolt 74 and the plate nut 73, so that the front bracket 71 is fixed to the connecting beam 31.

同様に、後側ブラケット72の突出片72dを連結ビーム31の上面31tの取付け溝32に係止させて、後側ブラケット72の前板部72bを連結ビーム31の後側面31rに当接させる。この状態で、ボルト74を、前板部72bに形成された貫通孔(不図示)を挿通させて、板ナット73に螺合させる。これによって、後側ブラケット72の前板部72b及び取付け溝32の突出片33がボルト74及び板ナット73によって締め付けられることにより、後側ブラケット72は連結ビーム31に固定される。   Similarly, the protruding piece 72d of the rear bracket 72 is locked to the mounting groove 32 of the upper surface 31t of the connecting beam 31, and the front plate portion 72b of the rear bracket 72 is brought into contact with the rear side surface 31r of the connecting beam 31. In this state, the bolt 74 is inserted into a through hole (not shown) formed in the front plate portion 72b and screwed into the plate nut 73. Accordingly, the front plate portion 72b of the rear bracket 72 and the protruding piece 33 of the mounting groove 32 are tightened by the bolt 74 and the plate nut 73, so that the rear bracket 72 is fixed to the connecting beam 31.

図2に示すように、支持ブラケット70は、連結ビーム31の幅方向Dhの両端部にそれぞれ取り付けられている。この状態で、天板50は、支持ブラケット70の上面及び連結ビーム31の上面31tに配置されている。天板50は、ボルト(不図示)等によって、前側ブラケット71の上板部71a及び後側ブラケット72の上板部72aにそれぞれ固定されている。   As shown in FIG. 2, the support brackets 70 are attached to both ends of the connecting beam 31 in the width direction Dh. In this state, the top plate 50 is arranged on the upper surface of the support bracket 70 and the upper surface 31t of the connecting beam 31. The top plate 50 is fixed to the upper plate portion 71a of the front bracket 71 and the upper plate portion 72a of the rear bracket 72 by bolts (not shown) or the like.

図1に示すように、天板50の前端部の下面には、昇降ユニット10、10を昇降動作させるための操作入力を行う操作部51が設けられている。操作部51は、昇降ユニット10、10の昇降動作を制御する制御ユニット(不図示)に電気的に接続されている。制御ユニットは、例えば天板50の下面に取り付けることができる。使用者は、操作部51に対して所定の操作を入力することで、昇降ユニット10、10を昇降動作させることができる。なお、什器1にオプション部材として天板50が設けられていない場合には、操作部51及び制御ユニットは、支持支柱体20や連結ビーム31に適宜取り付けられていてもよい。   As shown in FIG. 1, on the lower surface of the front end portion of the top plate 50, an operation section 51 for performing an operation input for moving up and down the lifting units 10, 10 is provided. The operation unit 51 is electrically connected to a control unit (not shown) that controls the lifting operation of the lifting units 10 and 10. The control unit can be attached to the lower surface of the top plate 50, for example. The user can move the lifting units 10 and 10 up and down by inputting a predetermined operation to the operation unit 51. In addition, when the top plate 50 is not provided as an optional member in the furniture 1, the operation unit 51 and the control unit may be appropriately attached to the support column 20 and the connection beam 31.

次に、図6を参照して、オプション部材40のうちモニター60を連結ビーム31に取り付ける構成について説明する。図6は、什器1においてオプション部材40としてモニター60が取り付けられた状態を一部破断して示す図である。図6のうち(a)は、モニター60を連結ビーム31に取り付ける構成を一部破断して示す側面図であり、(b)は、モニター60の取付け金具80を示す背面図である。モニター60は、例えば液晶ディスプレイ等、数値や機器動作状態等の情報や映像等の画像を表示する公知の表示装置である。本実施形態では、モニター60は、上側の連結ビーム31に取り付けられている。   Next, with reference to FIG. 6, a configuration in which the monitor 60 of the option member 40 is attached to the connecting beam 31 will be described. FIG. 6 is a partially cutaway view showing a state in which the monitor 60 is attached as the optional member 40 in the furniture 1. 6A is a partially cutaway side view showing the structure for attaching the monitor 60 to the connecting beam 31, and FIG. 6B is a rear view showing the mounting bracket 80 of the monitor 60. The monitor 60 is a known display device such as a liquid crystal display, which displays information such as numerical values and device operating states, and images such as images. In this embodiment, the monitor 60 is attached to the upper connecting beam 31.

モニター60の取付け手段41である取付け金具80は、基板部81と、台状部82と、腕部83と、爪部84と、を有している。基板部81は、上下方向Dv及び幅方向Dhに広がる略矩形の平板状に形成されている。また、基板部81には、ボルトを用いてモニター60の背面に取り付ける際に使用される複数の貫通孔が形成されている。台状部82は、基板部81から前後方向Dfの後方に張り出す台状に形成されている。また、台状部82は、基板部81に略平行で、連結ビーム31の前側面31fに当接する当接面を有している。   The mounting member 80, which is the mounting means 41 of the monitor 60, has a substrate portion 81, a base portion 82, an arm portion 83, and a claw portion 84. The substrate portion 81 is formed in a substantially rectangular flat plate shape that extends in the vertical direction Dv and the width direction Dh. Further, the board portion 81 is formed with a plurality of through holes used when the board portion 81 is attached to the back surface of the monitor 60 by using bolts. The trapezoidal portion 82 is formed in a trapezoidal shape protruding rearward in the front-rear direction Df from the substrate portion 81. Further, the trapezoidal portion 82 has an abutting surface that is substantially parallel to the substrate portion 81 and abuts on the front side surface 31 f of the connecting beam 31.

腕部83は、張り出した台状部82の上端部から延びている。腕部83は、連結ビーム31の上端部に嵌まるように形成され、具体的には、台状部82の上端部から上下方向Dvの上方に延びる板状の第一部分と、第一部分の上端部から前後方向Dfの後方に延びる板状の第二部分と、第二部分の後端部から上下方向Dvの下方に延びる板状の第三部分と、を有している。腕部83は、取付け金具80が連結ビーム31に取り付けられた状態において、第一部分が連結ビーム31の前側面31fに当接し、第二部分が連結ビーム31の上面31tに当接し、第三部分が連結ビーム31の後側面31rに当接するように構成されている。   The arm portion 83 extends from the upper end portion of the protruding trapezoidal portion 82. The arm portion 83 is formed so as to fit on the upper end portion of the connecting beam 31, and specifically, the plate-shaped first portion extending upward from the upper end portion of the platform portion 82 in the up-down direction Dv and the upper end of the first portion. The plate-shaped second portion extends rearward in the front-rear direction Df from the portion, and the plate-shaped third portion extends downward in the vertical direction Dv from the rear end portion of the second portion. The arm portion 83 has a first portion in contact with the front side surface 31f of the connecting beam 31, a second portion in contact with the upper surface 31t of the connecting beam 31, and a third portion in a state where the attachment fitting 80 is attached to the connecting beam 31. Is configured to abut the rear side surface 31r of the connecting beam 31.

爪部84は、張り出した台状部82の下端部から延びている。爪部84は、板状に形成され、後方に突出するように側面視において台状部82の下端部から略S字状に折り曲げられている。爪部84の下端部は、基板部81と略平行に形成されている。   The claw portion 84 extends from the lower end portion of the protruding platform portion 82. The claw portion 84 is formed in a plate shape, and is bent from the lower end portion of the trapezoidal portion 82 in a substantially S shape so as to project rearward. The lower end portion of the claw portion 84 is formed substantially parallel to the substrate portion 81.

モニター60を連結ビーム31に取り付ける際には、まず板ナット85を連結ビーム31の上面31tの取付け溝32に挿入する。続いて、モニター60の背面に取付け金具80の基板部81をボルトによって固定する。取付け金具80の爪部84を連結ビーム31の前側面31fの下側の取付け溝32に挿入して突出片33に係止させつつ、取付け金具80の腕部83を連結ビーム31の上端部に嵌め込む。この状態では、取付け金具80の台状部82の当接面及び腕部83の第一部分は連結ビーム31の前側面31fに当接し、腕部83の第二部分は連結ビーム31の上面31tに当接している。続いて、ボルト86を、腕部83の第二部分に形成された貫通孔を挿通させて、板ナット85に螺合させる。これによって、腕部83の第二部分及び取付け溝32の突出片33がボルト86及び板ナット85によって締め付けられることにより、取付け金具80は連結ビーム31に固定され、モニター60が連結ビーム31に取り付けられる。   When attaching the monitor 60 to the connection beam 31, first, the plate nut 85 is inserted into the attachment groove 32 of the upper surface 31 t of the connection beam 31. Subsequently, the base plate portion 81 of the mounting bracket 80 is fixed to the back surface of the monitor 60 with bolts. While inserting the claw portion 84 of the mounting bracket 80 into the mounting groove 32 on the lower side of the front side surface 31f of the connecting beam 31 and engaging with the projecting piece 33, the arm portion 83 of the mounting bracket 80 is attached to the upper end of the connecting beam 31. Fit in. In this state, the contact surface of the trapezoidal portion 82 of the mounting member 80 and the first portion of the arm portion 83 are in contact with the front side surface 31f of the connecting beam 31, and the second portion of the arm portion 83 is on the upper surface 31t of the connecting beam 31. Abutting. Subsequently, the bolt 86 is inserted into the through hole formed in the second portion of the arm portion 83 and screwed into the plate nut 85. Accordingly, the second portion of the arm portion 83 and the protruding piece 33 of the mounting groove 32 are tightened by the bolt 86 and the plate nut 85, so that the mounting bracket 80 is fixed to the connecting beam 31 and the monitor 60 is mounted to the connecting beam 31. Be done.

本実施形態において、一対の支持支柱体20、20は一対の昇降ユニット10、10の上端部10t、10tにそれぞれ取り付けられ、各上端部10tから上方に向かって延びている。このため、オプション部材40、連結部材30、及び一対の支持支柱体20、20の荷重は、上下方向Dvに伸縮する昇降ユニット10の上端部10tに直上から伝達される。これにより、昇降動作時における昇降ユニット10内の摺動抵抗の増加を抑制することでき、昇降ユニット10への負荷を低減することができる。同時に、摺動抵抗の増加に伴う異音の発生を防止することができる。ここで、昇降ユニット10内の摺動抵抗とは、例えば、下部筒状体11aに対して中間筒状体11bが上下方向Dvに移動する際の下部筒状体11aと中間筒状体11bとの間の摩擦抵抗や、中間筒状体11bに対して上部筒状体11cが上下方向Dvに移動する際の中間筒状体11bと上部筒状体11cとの間の摩擦抵抗である。   In the present embodiment, the pair of support pillars 20 and 20 are attached to the upper end portions 10t and 10t of the pair of lifting units 10 and 10, respectively, and extend upward from the upper end portions 10t. Therefore, the loads of the option member 40, the connecting member 30, and the pair of support pillars 20, 20 are transmitted from directly above the upper end 10t of the elevating unit 10 that expands and contracts in the vertical direction Dv. As a result, it is possible to suppress an increase in the sliding resistance in the elevating unit 10 during the elevating operation and reduce the load on the elevating unit 10. At the same time, it is possible to prevent abnormal noise from being generated due to an increase in sliding resistance. Here, the sliding resistance in the elevating unit 10 means, for example, the lower tubular body 11a and the intermediate tubular body 11b when the intermediate tubular body 11b moves in the vertical direction Dv with respect to the lower tubular body 11a. And the frictional resistance between the intermediate tubular body 11b and the upper tubular body 11c when the upper tubular body 11c moves in the vertical direction Dv with respect to the intermediate tubular body 11b.

また、図3に示すように、一対の昇降ユニット10、10が並ぶ方向、すなわち幅方向Dhから見た側面視において、一対の支持支柱体20、20及び連結部材30は、昇降ユニット10の上端部10tの真上に配置されている。よって、側面視において、一対の支持支柱体20、20及び連結部材30の合成重心における荷重方向は、昇降ユニット10の伸縮部分と重なるので、昇降動作時における昇降ユニット10内の摺動抵抗の増加が抑制される。なお、本実施形態では、昇降ユニット10の伸縮部分は、中間筒状体11b及び上部筒状体11cである。   Further, as shown in FIG. 3, in a side view when the pair of lifting units 10 and 10 are arranged, that is, in a side view viewed from the width direction Dh, the pair of support column bodies 20 and 20 and the connecting member 30 are the upper end of the lifting unit 10. It is arranged directly above the portion 10t. Therefore, in a side view, the load direction at the combined center of gravity of the pair of support pillars 20, 20 and the connecting member 30 overlaps with the stretchable portion of the elevating unit 10, so that the sliding resistance in the elevating unit 10 during the elevating operation increases. Is suppressed. In addition, in this embodiment, the expandable part of the elevating unit 10 is the intermediate tubular body 11b and the upper tubular body 11c.

さらに、連結部材30に天板50やモニター60といったオプション部材40を取り付けた場合でも、前後方向Dfにおける取付け位置を調整することで、側面視において、一対の支持支柱体20、20、連結部材30、及びオプション部材40から構成される構造体の重心における荷重方向が、昇降ユニット10の伸縮部分と重なるように設定されている。これによって、側面視において、構造体の荷重が、昇降ユニット10に対して昇降ユニット10の伸縮方向と交差する方向、すなわち下部筒状体11aに対して中間筒状体11bを近接させたり、中間筒状体11bに対して上部筒状体11cを近接させたりする方向に加わることを防止することができる。これにより、昇降動作時における昇降ユニット10内の摺動抵抗の増加を抑制し、昇降ユニット10への負荷を低減することができる。   Further, even when the optional member 40 such as the top plate 50 or the monitor 60 is attached to the connecting member 30, by adjusting the attaching position in the front-rear direction Df, the pair of support column bodies 20, 20, the connecting member 30 in a side view. , And the option member 40, the load direction at the center of gravity of the structure is set so as to overlap the telescopic portion of the elevating unit 10. As a result, when viewed from the side, the load of the structure crosses the elevating unit 10 in the direction intersecting with the extension / contraction direction of the elevating unit 10, that is, the intermediate cylindrical body 11b is brought closer to the lower cylindrical body 11a, It is possible to prevent the upper tubular body 11c from being applied to the tubular body 11b in the direction of approaching the upper tubular body 11c. As a result, it is possible to suppress an increase in the sliding resistance in the elevating unit 10 during the elevating operation and reduce the load on the elevating unit 10.

本実施形態によれば、什器1は、床面F上に互いに間隔をあけて配置され、上方に向かって延びて設けられ、上下方向Dvに伸縮可能に構成された一対の昇降ユニット10、10と、一対の昇降ユニット10、10の上端部10t、10tにそれぞれ取り付けられ、上端部10t、10tから上方に向かって延びる一対の支持支柱体20、20と、一対の支持支柱体20、20間に架設された連結部材30と、連結部材30によって支持されたオプション部材40と、を備える。   According to the present embodiment, the furniture 1 is arranged on the floor surface F at a distance from each other, is provided so as to extend upward, and is provided with a pair of elevating units 10 and 10 configured to be capable of expanding and contracting in the vertical direction Dv. And a pair of support pillars 20 and 20 attached to the upper ends 10t and 10t of the pair of lifting units 10 and 10 and extending upward from the upper ends 10t and 10t, and between the pair of support pillars 20 and 20. The connecting member 30 is installed on the above, and the option member 40 supported by the connecting member 30.

上述した構成によれば、一対の支持支柱体20、20は一対の昇降ユニット10、10の上端部10t、10tにそれぞれ取り付けられ、各上端部10tから上方に向かって延びている。このため、オプション部材40、連結部材30、及び一対の支持支柱体20、20の荷重は、上下方向Dvに伸縮する昇降ユニット10の各上端部10tに直上から伝達される。これにより、昇降動作時における昇降ユニット10内の摺動抵抗の増加を抑制することでき、昇降ユニット10への負荷を低減することができる。同時に、摺動抵抗の増加に伴う異音の発生を防止することができる。   According to the above-described configuration, the pair of support pillars 20 and 20 are attached to the upper end portions 10t and 10t of the pair of lifting units 10 and 10, respectively, and extend upward from the upper end portions 10t. Therefore, the loads of the option member 40, the connecting member 30, and the pair of support pillars 20, 20 are transmitted from directly above to the respective upper end portions 10t of the elevating unit 10 which expands and contracts in the vertical direction Dv. As a result, it is possible to suppress an increase in the sliding resistance in the elevating unit 10 during the elevating operation and reduce the load on the elevating unit 10. At the same time, it is possible to prevent abnormal noise from being generated due to an increase in sliding resistance.

また、連結部材30は、上下方向Dvに互いに間隔をあけて配置され、一対の支持支柱体20、20を互いに連結する一対の連結ビーム31、31を有している。これによって、一対の支持支柱体20、20間の連結強度を増加させることができる。   Further, the connecting member 30 has a pair of connecting beams 31 and 31 which are arranged at intervals in the vertical direction Dv and which connect the pair of support pillars 20 and 20 to each other. As a result, the connection strength between the pair of support pillars 20, 20 can be increased.

また、連結ビーム31は、連結ビーム31の長手方向に沿って延びる取付け溝32を有している。オプション部材40は、取付け手段41を介して取付け溝32に取り付けられている。これによって、連結ビーム31に対してオプション部材40を容易にかつ確実に取り付けることができる。   Further, the connecting beam 31 has a mounting groove 32 extending along the longitudinal direction of the connecting beam 31. The option member 40 is attached to the attachment groove 32 via the attachment means 41. Thereby, the option member 40 can be easily and surely attached to the connecting beam 31.

また、オプション部材40は、平板状に形成された天板50を含んでいる。天板50は、取付け溝32に取り付けられた支持ブラケット70を介して連結ビーム31に支持されている。これによって、什器としての使い勝手をより向上させることができる。   The option member 40 also includes a top plate 50 formed in a flat plate shape. The top plate 50 is supported by the connection beam 31 via a support bracket 70 attached to the attachment groove 32. This can further improve the usability as a furniture.

また、天板50は、連結ビーム31の上面31tに配置されている。取付け溝32は、連結ビーム31において上面31tから下方に延びる前側面31f及び後側面31rに形成されている。   The top plate 50 is arranged on the upper surface 31t of the connecting beam 31. The mounting groove 32 is formed in the front side surface 31f and the rear side surface 31r of the connecting beam 31 extending downward from the upper surface 31t.

上述した構成によれば、連結ビーム31の上面31tに天板50が配置された状態で連結ビーム31によって天板50を支持することができるので、平面視において連結ビーム31を跨ぐように天板50を配置することができる。これにより、平面視において天板の重心の位置を一対の連結ビーム31、31及び一対の支持支柱体20、20の合成重心の位置に合わせることが可能となるため、什器1にオプション部材40として天板50が取り付けられた場合でも、昇降動作時における昇降ユニット10内の摺動抵抗の増加を抑制し、昇降ユニット10への負荷を低減することができる。   According to the above-described configuration, the top plate 50 can be supported by the connection beam 31 in a state where the top plate 50 is arranged on the upper surface 31t of the connection beam 31, so that the top plate 50 straddles the connection beam 31 in a plan view. 50 can be arranged. This makes it possible to align the position of the center of gravity of the top plate in plan view with the position of the combined center of gravity of the pair of connecting beams 31 and 31 and the pair of support pillars 20 and 20. Even when the top plate 50 is attached, it is possible to suppress an increase in the sliding resistance in the elevating unit 10 during the elevating operation and reduce the load on the elevating unit 10.

また、一対の昇降ユニット10、10が並ぶ方向から見た側面視において、一対の支持支柱体20、20、連結部材30、及びオプション部材40から構成される構造体の重心における荷重方向が、昇降ユニット10の伸縮部分と重なるように設定されていてもよい。   Further, in a side view seen from the direction in which the pair of lifting units 10 and 10 are arranged, the load direction at the center of gravity of the structure composed of the pair of support column bodies 20, 20, the connecting member 30, and the option member 40 is raised and lowered. It may be set so as to overlap the stretchable portion of the unit 10.

上述した構成によれば、側面視において、構造体の荷重が昇降ユニット10に対して昇降ユニット10の伸縮方向と交差する方向に加わることを防止することができる。これにより、昇降動作時における昇降ユニット10内の摺動抵抗の増加を抑制し、昇降ユニット10への負荷を低減することができる。   According to the above-described configuration, it is possible to prevent the load of the structure from being applied to the elevating unit 10 in a direction intersecting the extension / contraction direction of the elevating unit 10 in a side view. As a result, it is possible to suppress an increase in the sliding resistance in the elevating unit 10 during the elevating operation and reduce the load on the elevating unit 10.

(第一変形例)
上記実施形態では、オプション部材40として、天板50及びモニター60が設けられていたが、オプション部材40の構成はこれに限らない。図7は、上記実施形態に係る什器1の第一変形例を示す斜視図である。
(First modification)
In the above embodiment, the top plate 50 and the monitor 60 are provided as the optional member 40, but the configuration of the optional member 40 is not limited to this. FIG. 7 is a perspective view showing a first modified example of the furniture 1 according to the above embodiment.

本変形例の什器1Aでは、オプション部材40として天板50に代えて、天板50A及び書類立て90が設けられている点で、上記実施形態に係る什器1と異なっている。天板50Aは、天板50よりも幅方向Dhの寸法が短い点を除いて、天板50と同様の構成を有している。書類立て90は、書類等を収納可能な公知の構成を有し、下側の連結ビーム31において天板50Aの隣に取り付けられている。このように、上述した什器に他のオプション部材が設けられていてもよい。
この構成によれば、天板50Aの取付け位置を使用者の要望に合わせて左右(幅方向Dh)に変更することができるとともに、作業面である天板上面の近傍に物品を載置することが可能となり、什器としての使い勝手をより良好なものとすることができる。
The furniture 1A of the present modification example is different from the furniture 1 according to the above-described embodiment in that a top plate 50A and a document stand 90 are provided in place of the top plate 50 as the optional member 40. The top plate 50A has the same configuration as the top plate 50 except that the top plate 50 has a shorter dimension in the width direction Dh. The document stand 90 has a known structure capable of storing documents and the like, and is attached to the lower connecting beam 31 next to the top plate 50A. In this way, other optional members may be provided on the above-described furniture.
According to this configuration, the attachment position of the top plate 50A can be changed to the left and right (width direction Dh) according to the user's request, and the article can be placed near the top face of the work surface. It is possible to improve the usability as a furniture.

本変形例の什器1Aによれば、連結ビーム31には、幅方向Dhにおいて連結ビーム31の寸法よりも短い寸法を有するオプション部材40(天板50A、書類立て90)が取り付けられている。このため、使用者の要望に合わせて幅方向Dhの任意の位置に所望の態様及び数量のオプション部材40を取り付けることが可能となり、什器としての利便性を向上させることができる。   According to the furniture 1A of the present modification, the option member 40 (top plate 50A, document stand 90) having a dimension shorter than the dimension of the link beam 31 in the width direction Dh is attached to the link beam 31. Therefore, it is possible to attach the optional member 40 in a desired mode and quantity to any position in the width direction Dh according to the user's request, and it is possible to improve convenience as a furniture.

(第二変形例)
図8は、上記実施形態に係る什器1の第二変形例を示す斜視図である。本変形例の什器1Bは、天板50に代えて天板50Bを備える点で、上記実施形態に係る什器1と異なっている。
(Second modified example)
FIG. 8 is a perspective view showing a second modification of the furniture 1 according to the above embodiment. The furniture 1B of this modified example is different from the furniture 1 according to the above-described embodiment in that a top plate 50B is provided instead of the top plate 50.

天板50Bは、天板50よりも幅方向Dhの寸法が大きく設定されている。一対の支持支柱体20、20との干渉を防ぐため、天板50Bの幅方向Dhの両端部には、一対の支持支柱体20、20を挿通させるように切り欠き部がそれぞれ形成されている。天板50Bのその他の構成は、天板50と同様である。このように、上述した什器にオプション部材40として天板50Bが設けられていてもよい。   The top plate 50B is set to have a larger dimension in the width direction Dh than the top plate 50. In order to prevent interference with the pair of support pillars 20 and 20, notches are formed at both ends of the top plate 50B in the width direction Dh so that the pair of support pillars 20 and 20 can be inserted therethrough. .. The other configurations of the top plate 50B are similar to those of the top plate 50. As described above, the top plate 50B may be provided as the optional member 40 in the above-described furniture.

(第三変形例)
図9は、上記実施形態に係る什器1の第三変形例を示す斜視図である。本変形例の什器1Cは、オプション部材40としてモニター60のみが設けられている点に加えて、デスク100を備える点で、上記実施形態に係る什器1と異なっている。
(Third modification)
FIG. 9 is a perspective view showing a third modification of the furniture 1 according to the above embodiment. The furniture 1C of the present modification example is different from the furniture 1 according to the above-described embodiment in that the desk 100 is provided in addition to the point that only the monitor 60 is provided as the optional member 40.

什器1Cにおいて、一対の連結ビーム31、31のうち下側の連結ビーム31は、一対の支持支柱体20、20の中央部分を互いに連結している。下側の連結ビーム31には、二つのモニター60が幅方向Dhに並べて配置され、上述した取付け金具80を介して取付けられている。このように、連結ビーム31の上下方向Dvの位置は取り付けるオプション部材40に応じて適宜変更してもよい。   In the furniture 1C, the lower connection beam 31 of the pair of connection beams 31 and 31 connects the central portions of the pair of support pillars 20 and 20 to each other. Two monitors 60 are arranged side by side in the width direction Dh on the lower connecting beam 31, and are attached via the above-described attachment fittings 80. As described above, the position of the connecting beam 31 in the vertical direction Dv may be appropriately changed according to the option member 40 to be attached.

デスク100は、一対の昇降ユニット10、10の前方に配置されている。デスク100は、平板状に形成された天板101と、幅方向Dhに間隔をあけて配置され、上下方向Dvに伸縮可能に構成された一対の昇降ユニット102、102と、を備える。天板101は、一対の昇降ユニット102、102に昇降可能に支持されている。各昇降ユニット102の下端部は、下部支持体12にボルト(不図示)等によって固定されている。   The desk 100 is arranged in front of the pair of lifting units 10 and 10. The desk 100 includes a top plate 101 formed in a flat plate shape, and a pair of elevating units 102, 102 arranged at intervals in the width direction Dh and configured to be extendable / contractible in the vertical direction Dv. The top plate 101 is supported by a pair of lifting units 102, 102 so as to be lifted and lowered. The lower end of each lifting unit 102 is fixed to the lower support 12 by a bolt (not shown) or the like.

このように、一対の昇降ユニット10、10とは別に設けられた一対の昇降ユニット102、102に支持される天板101を有するデスク100をさらに備えることで、什器としての使い勝手をより向上させてもよい。また、この場合、一対の昇降ユニット10、10と一対の昇降ユニット102、102とを、互いに独立して昇降動作するように制御してもよいし、互いに連動して昇降動作するように制御してもよい。   As described above, by further including the desk 100 having the top plate 101 supported by the pair of lifting units 102, 102 provided separately from the pair of lifting units 10, 10, the usability as a furniture is further improved. Good. Further, in this case, the pair of lifting units 10 and 10 and the pair of lifting units 102 and 102 may be controlled so as to perform the lifting operation independently of each other, or may be controlled to perform the lifting operation in conjunction with each other. May be.

以上、本発明の好ましい実施形態を説明したが、本発明はこれら実施形態に限定されることはない。本発明の趣旨を逸脱しない範囲で、構成の付加、省略、置換、およびその他の変更が可能である。   Although the preferred embodiments of the present invention have been described above, the present invention is not limited to these embodiments. It is possible to add, omit, replace, and change other configurations without departing from the gist of the present invention.

1、1A、1B、1C 什器
10 昇降ユニット
10t 上端部
20 支持支柱体
30 連結部材
31 連結ビーム
31t 上面
31f 前側面
31r 後側面
32 取付け溝
40 オプション部材
41 取付け手段
50、50A、50B 天板
60 モニター
70 支持ブラケット
80 取付け金具
90 書類立て
100 デスク
F 床面
1, 1A, 1B, 1C Fixture 10 Lifting unit 10t Upper end 20 Support column 30 Connecting member 31 Connecting beam 31t Upper surface 31f Front side surface 31r Rear side surface 32 Mounting groove 40 Optional member 41 Mounting means 50, 50A, 50B Top plate 60 Monitor 70 Support Bracket 80 Mounting Bracket 90 Document Stand 100 Desk F Floor

Claims (7)

床面上に互いに間隔をあけて配置され、上方に向かって延びて設けられ、上下方向に伸縮可能に構成された一対の昇降ユニットと、
前記一対の昇降ユニットの上端部にそれぞれ取り付けられ、前記上端部から上方に向かって延びる一対の支持支柱体と、
前記一対の支持支柱体間に架設された連結部材と、
前記連結部材によって支持されたオプション部材と、
を備える什器。
A pair of elevating units arranged on the floor surface with a space between each other, provided so as to extend upward, and configured to be expandable and contractable in the vertical direction,
A pair of support pillars respectively attached to the upper ends of the pair of lifting units and extending upward from the upper ends;
A connecting member erected between the pair of support pillars,
An optional member supported by the connecting member,
Furniture equipped with.
請求項1に記載の什器であって、
前記連結部材は、
前記上下方向に互いに間隔をあけて配置され、前記一対の支持支柱体を互いに連結する一対の連結ビームを有する
什器。
The furniture according to claim 1,
The connecting member is
A fixture having a pair of connecting beams which are arranged at a distance from each other in the vertical direction and which connect the pair of support pillars to each other.
請求項2に記載の什器であって、
前記連結ビームは、前記連結ビームの長手方向に沿って延びる取付け溝を有し、
前記オプション部材は、取付け手段を介して前記取付け溝に取り付けられている
什器。
The furniture according to claim 2,
The connecting beam has a mounting groove extending along a longitudinal direction of the connecting beam,
The fixture in which the optional member is attached to the attaching groove via attaching means.
請求項3に記載の什器であって、
前記オプション部材は、平板状に形成された天板を含み、
前記天板は、前記取付け溝に取り付けられた支持ブラケットを介して前記連結ビームに支持されている
什器。
The furniture according to claim 3,
The optional member includes a top plate formed in a flat plate shape,
The top plate is supported by the connection beam via a support bracket attached to the attachment groove.
請求項4に記載の什器であって、
前記天板は、前記連結ビームの上面に配置され、
前記取付け溝は、前記連結ビームにおいて前記上面から下方に延びる側面に形成されている
什器。
The furniture according to claim 4,
The top plate is disposed on the upper surface of the connection beam,
The fitting groove is formed on a side surface of the connecting beam that extends downward from the upper surface.
請求項5に記載の什器であって、
前記一対の昇降ユニットが並ぶ方向から見た側面視において、前記一対の支持支柱体、前記連結部材、及び前記オプション部材から構成される構造体の重心における荷重方向が、前記昇降ユニットの伸縮部分と重なるように設定されている
什器。
The furniture according to claim 5,
In a side view seen from the direction in which the pair of lifting units are arranged, the load direction at the center of gravity of the structure composed of the pair of support pillars, the connecting member, and the option member is the same as that of the lifting unit. Furniture that is set to overlap.
請求項3から6のいずれか一項に記載の什器であって、
前記連結ビームには、前記一対の昇降ユニットが互いに離間する方向である幅方向において前記連結ビームの寸法よりも短い寸法を有する前記オプション部材が取り付けられている
什器。
The furniture according to any one of claims 3 to 6,
The fixture is attached to the connecting beam, the optional member having a dimension shorter than a dimension of the connecting beam in a width direction that is a direction in which the pair of lifting units are separated from each other.
JP2016137166A 2016-07-11 2016-07-11 Furniture Active JP6695752B2 (en)

Priority Applications (2)

Application Number Priority Date Filing Date Title
JP2016137166A JP6695752B2 (en) 2016-07-11 2016-07-11 Furniture
PCT/JP2017/025257 WO2018012493A1 (en) 2016-07-11 2017-07-11 Article of furniture

Applications Claiming Priority (1)

Application Number Priority Date Filing Date Title
JP2016137166A JP6695752B2 (en) 2016-07-11 2016-07-11 Furniture

Publications (2)

Publication Number Publication Date
JP2018007731A JP2018007731A (en) 2018-01-18
JP6695752B2 true JP6695752B2 (en) 2020-05-20

Family

ID=60993557

Family Applications (1)

Application Number Title Priority Date Filing Date
JP2016137166A Active JP6695752B2 (en) 2016-07-11 2016-07-11 Furniture

Country Status (1)

Country Link
JP (1) JP6695752B2 (en)

Families Citing this family (1)

* Cited by examiner, † Cited by third party
Publication number Priority date Publication date Assignee Title
KR101939059B1 (en) * 2018-03-29 2019-01-16 문성수 Height-adjustable desk for display and table

Family Cites Families (5)

* Cited by examiner, † Cited by third party
Publication number Priority date Publication date Assignee Title
JPS4516118Y1 (en) * 1966-12-01 1970-07-04
JPS577317Y2 (en) * 1978-11-20 1982-02-12
KR101290039B1 (en) * 2010-04-07 2013-07-30 김총재 Desk for correct body posture and system furniture comprising the same
CN104510161A (en) * 2015-01-01 2015-04-15 饶弘剑 Adjustable table
JP6675153B2 (en) * 2015-04-30 2020-04-01 株式会社オカムラ Top plate lifting fixtures

Also Published As

Publication number Publication date
JP2018007731A (en) 2018-01-18

Similar Documents

Publication Publication Date Title
JP2008093818A (en) Fixture device for screw fastening work
JP5300587B2 (en) Portable work table moving device
JP2016018089A (en) stand
EP2712966A1 (en) Pivoting unit including pivotable body
JP6695752B2 (en) Furniture
KR101787561B1 (en) Table lift
CN210416776U (en) Cab structure for construction machine and construction machine including the same
JP6695777B2 (en) Furniture
WO2018012493A1 (en) Article of furniture
JP2018068948A (en) Lifting fixture
JP5993716B2 (en) desk
JP6278821B2 (en) Rack damping device support structure
WO2017122672A1 (en) Furniture article system
JP6333311B2 (en) Bracket and fall prevention device
JP2017092793A (en) Monitor stand for traveling
JP6912397B2 (en) Lifting work table
US9156666B2 (en) Carriage frame and fork pin lock assembly
JP6708533B2 (en) Furniture with a top plate
JP7330579B1 (en) Aori horizontal maintenance tool
JP2017124117A (en) Fixtures
JP4694917B2 (en) desk
JP2017124106A (en) Top plate lifting fixture
CN109110685A (en) A kind of tilting device for fixed shelf
JP4806754B2 (en) Optional mounting device
US8262046B1 (en) Collapsible workpiece support apparatus

Legal Events

Date Code Title Description
RD03 Notification of appointment of power of attorney

Free format text: JAPANESE INTERMEDIATE CODE: A7423

Effective date: 20181012

A621 Written request for application examination

Free format text: JAPANESE INTERMEDIATE CODE: A621

Effective date: 20190318

TRDD Decision of grant or rejection written
A01 Written decision to grant a patent or to grant a registration (utility model)

Free format text: JAPANESE INTERMEDIATE CODE: A01

Effective date: 20200414

A61 First payment of annual fees (during grant procedure)

Free format text: JAPANESE INTERMEDIATE CODE: A61

Effective date: 20200422

R150 Certificate of patent or registration of utility model

Ref document number: 6695752

Country of ref document: JP

Free format text: JAPANESE INTERMEDIATE CODE: R150

R250 Receipt of annual fees

Free format text: JAPANESE INTERMEDIATE CODE: R250

R250 Receipt of annual fees

Free format text: JAPANESE INTERMEDIATE CODE: R250

R250 Receipt of annual fees

Free format text: JAPANESE INTERMEDIATE CODE: R250