JP6609101B2 - Chemical volatilizer - Google Patents

Chemical volatilizer Download PDF

Info

Publication number
JP6609101B2
JP6609101B2 JP2015001139A JP2015001139A JP6609101B2 JP 6609101 B2 JP6609101 B2 JP 6609101B2 JP 2015001139 A JP2015001139 A JP 2015001139A JP 2015001139 A JP2015001139 A JP 2015001139A JP 6609101 B2 JP6609101 B2 JP 6609101B2
Authority
JP
Japan
Prior art keywords
support
drug container
neck
drug
container
Prior art date
Legal status (The legal status is an assumption and is not a legal conclusion. Google has not performed a legal analysis and makes no representation as to the accuracy of the status listed.)
Active
Application number
JP2015001139A
Other languages
Japanese (ja)
Other versions
JP2016123765A (en
Inventor
立樹 小枝
Current Assignee (The listed assignees may be inaccurate. Google has not performed a legal analysis and makes no representation or warranty as to the accuracy of the list.)
Kobayashi Pharmaceutical Co Ltd
Original Assignee
Kobayashi Pharmaceutical Co Ltd
Priority date (The priority date is an assumption and is not a legal conclusion. Google has not performed a legal analysis and makes no representation as to the accuracy of the date listed.)
Filing date
Publication date
Application filed by Kobayashi Pharmaceutical Co Ltd filed Critical Kobayashi Pharmaceutical Co Ltd
Priority to JP2015001139A priority Critical patent/JP6609101B2/en
Publication of JP2016123765A publication Critical patent/JP2016123765A/en
Application granted granted Critical
Publication of JP6609101B2 publication Critical patent/JP6609101B2/en
Active legal-status Critical Current
Anticipated expiration legal-status Critical

Links

Images

Landscapes

  • Packaging Of Annular Or Rod-Shaped Articles, Wearing Apparel, Cassettes, Or The Like (AREA)
  • Air-Conditioning For Vehicles (AREA)
  • Disinfection, Sterilisation Or Deodorisation Of Air (AREA)

Description

本発明は、薬剤揮散器に関する。   The present invention relates to a chemical volatilizer.

従来より、芳香剤等の薬剤が揮散される種々の形態の薬剤揮散器が提案されている。その中で、振動が生じる場所、例えば、車内で用いる薬剤揮散器も提案されているが、このような薬剤揮散器は収容された液状の薬剤がこぼれてしまうという問題があった。そのため、車内で用いる薬剤揮散器としては、液状の薬剤を用いないゲルタイプや、振動によっても薬剤が漏れにくいメンブレインタイプが用いられることが多い。メンブレインタイプとは、気体を通す膜を用い、この膜を介して揮散した薬剤を外部に放出するものである(例えば、特許文献1)。   Conventionally, various forms of chemical volatilizers have been proposed in which chemicals such as fragrances are volatilized. Among them, a chemical volatilizer used in a place where vibration occurs, for example, in a vehicle, has been proposed. However, such a chemical volatilizer has a problem that a liquid chemical contained therein is spilled. For this reason, as a chemical volatilizer used in a vehicle, a gel type that does not use a liquid chemical or a membrane type that does not easily leak even by vibrations is often used. The membrane type is a type in which a gas-permeable membrane is used and a chemical volatilized through the membrane is released to the outside (for example, Patent Document 1).

特開2014−94619号公報JP 2014-94619 A

しかしながら、メンブレインタイプでは、使用できる薬剤が限定されるという問題があった。例えば、高温の環境で用いる場合には、短期間で揮散してしまうような薬剤しか用いることができなかった。そこで、温度等に関わらず、種々の環境で利用可能な薬剤を用いる場合には、次のような薬剤揮散器が考えられる。すなわち、車内に取り付けられた支持体に薬剤容器を支持させるとともに、薬剤容器に収容される薬剤を吸液芯によって吸い上げ、揮散した薬剤を外部に放出するタイプの薬剤揮散器が考えられる。しかしながら、このタイプの薬剤揮散器は、振動が発生する場所で使用すると、支持体から薬剤容器が離脱し、薬剤がこぼれるという問題があった。本発明は、この問題を解決するためになされたものであり、薬剤を吸液芯によって吸い上げるタイプの薬剤揮散器であっても、薬剤がこぼれるのを防止することができる、薬剤揮散器を提供することを目的とする。   However, the membrane type has a problem that the drugs that can be used are limited. For example, when used in a high-temperature environment, only chemicals that would volatilize in a short period of time could be used. Therefore, the following chemical volatilizers can be considered when using chemicals that can be used in various environments regardless of temperature. That is, a drug volatilizer of a type that supports a drug container on a support attached in the vehicle, sucks up the drug contained in the drug container with a liquid absorbent core, and discharges the volatilized drug to the outside. However, when this type of chemical volatilizer is used in a place where vibration is generated, there is a problem that the chemical container is detached from the support and the chemical spills. The present invention has been made to solve this problem, and provides a chemical volatilizer that can prevent the chemical from spilling even if the chemical volatilizer is a type of chemical volatilizer that sucks up a drug by a liquid absorbent core. The purpose is to do.

本発明に係る薬剤揮散器は、上部に開口を有し、液状の薬剤が収容された薬剤容器と、前記薬剤容器の開口に差し込まれる吸液芯と、前記薬剤容器を支持するとともに、取付対象物に取り付けられる支持体と、を備え、前記支持体は、前記開口の軸線方向に対する径方向外方から、前記薬剤容器を挟むように保持する保持部を備えている。   The drug volatilizer according to the present invention has an opening in the upper part, a drug container in which a liquid drug is accommodated, a liquid absorption core inserted into the opening of the drug container, the drug container, and an attachment target A support that is attached to an object, and the support includes a holding unit that holds the drug container from outside in the radial direction with respect to the axial direction of the opening.

この構成によれば、薬剤を収容する薬剤容器が、支持体において、開口の軸線方向に対する径方向外方から挟むように保持されているため、薬剤容器が径方向、つまり横方向からの振動を受けても、薬剤容器が支持体から離脱するのを防止することができる。その結果、薬剤容器から薬剤がこぼれるのを防止することができる。   According to this configuration, since the medicine container that contains the medicine is held on the support so as to be sandwiched from outside in the radial direction with respect to the axial direction of the opening, the medicine container vibrates in the radial direction, that is, in the lateral direction. Even if it receives, it can prevent that a chemical | medical agent container detaches | leaves from a support body. As a result, it is possible to prevent the medicine from spilling from the medicine container.

上記薬剤揮散器において、保持部は、薬剤容器のいずれの位置を保持するように構成されてもよいが、例えば、前記薬剤容器が、前記開口が形成された首部と、前記首部よりも外形が大きく、当該首部が連結される本体部と、を備え、前記保持部が、前記首部を保持するように構成することができる。   In the drug volatilizer, the holding unit may be configured to hold any position of the drug container. For example, the drug container has a neck part in which the opening is formed and an outer shape that is larger than the neck part. A main body portion to which the neck portion is coupled, and the holding portion can be configured to hold the neck portion.

このとき、前記首部の外周面に、突部を形成し、前記突部と前記本体部との間の隙間に、前記保持部が係合するように構成することができる。こうすることで、薬剤容器の軸線方向の移動が拘束されるため、薬剤容器が軸線方向、つまり上下方向の振動を受けても、支持体から離脱するのを防止することができる。   At this time, a protrusion can be formed on the outer peripheral surface of the neck, and the holding portion can be engaged with a gap between the protrusion and the main body. By doing so, since the movement of the drug container in the axial direction is restricted, it is possible to prevent the drug container from being detached from the support body even when the drug container receives vibration in the axial direction, that is, the vertical direction.

上記各薬剤揮散器において、前記支持体は、前記保持部が設けられている側とは反対側から前記薬剤容器を覆う第1壁面と、前記吸液芯が差し込まれた前記開口側を覆う第2壁面と、を備えたカバーをさらに備え、前記第2壁面は、気体が通過可能に構成することができる。   In each of the drug volatilizers, the support includes a first wall surface that covers the drug container from a side opposite to a side on which the holding unit is provided, and a first cover that covers the opening side into which the liquid absorption core is inserted. A cover provided with two wall surfaces is further provided, and the second wall surface can be configured to allow gas to pass therethrough.

この構成により、次の効果を得ることができる。すなわち、第1壁面によって、薬剤容器が保持部から離れる方向に、支持体から離脱するのを防止することができる。また、第2壁面によって、吸液芯が薬剤容器から離脱するのを防止することができる。但し、第2壁面は、気体が通過可能に構成されているため、揮散した薬剤を外部に放出することができる。また、カバーを設けることで、薬剤容器を隠すことができ、例えば、第1壁面に装飾を施せば、製品の装飾性を高めることができる。   With this configuration, the following effects can be obtained. That is, the first wall surface can prevent the medicine container from being detached from the support body in the direction away from the holding portion. Further, the second wall surface can prevent the liquid absorbent core from being detached from the drug container. However, since the second wall surface is configured to allow gas to pass through, the volatilized drug can be released to the outside. Further, by providing the cover, the medicine container can be hidden. For example, if the first wall surface is decorated, the decorativeness of the product can be enhanced.

上記各薬剤揮散器において、前記薬剤容器は、前記開口が形成された首部と、前記首部よりも外形が大きく、当該首部が連結される本体部と、を備え、前記保持部は、前記首部を保持するように構成されており、前記支持体は、前記薬剤容器の重心Gと対応する上下方向の位置において、前記本体部の外周面と当接する第1支持部と、前記第1支持部に連結され、当該第1支持部よりも下方において、前記本体部と隙間を空けて配置される第2支持部と、を備えることができる。   In each of the drug volatilizers, the drug container includes a neck part in which the opening is formed, and a main body part having an outer shape larger than the neck part and connected to the neck part, and the holding part includes the neck part. The support body is configured to hold a first support part in contact with an outer peripheral surface of the main body part at a vertical position corresponding to the center of gravity G of the drug container; and the first support part. And a second support portion that is connected and disposed below the first support portion with a gap therebetween.

この構成によれば、薬剤容器の本体部の外周面全体が支持体に支持されているのでなく、薬剤容器は、支持体のうち、第1支持部と当接し、第2支持部とは隙間を空けている。そのため、薬剤容器が振動を受けても、その振動の少なくとも一部を第2支持部との隙間で吸収することができる。その結果、振動を受けたとき、薬剤容器が支持体からの衝撃で破損するのを防止することができる。また、第1支持部は、薬剤容器の重心Gと対応する上下方向の位置において、薬剤容器の本体部の外周面と当接しているため、振動を受けたとき(特に薬剤容器内の薬剤の残量が少なくなったとき)でも、支持体に対して大きく揺れるのを防止することができる。   According to this configuration, the entire outer peripheral surface of the main body portion of the drug container is not supported by the support body, but the drug container is in contact with the first support portion of the support body, and is not spaced from the second support portion. Is open. Therefore, even if the medicine container receives vibration, at least part of the vibration can be absorbed by the gap with the second support portion. As a result, when receiving vibration, the medicine container can be prevented from being damaged by the impact from the support. Further, since the first support portion is in contact with the outer peripheral surface of the main body portion of the drug container at the vertical position corresponding to the center of gravity G of the drug container, the first support portion receives vibration (particularly the drug in the drug container). Even when the remaining amount is low), it can be prevented that the support is greatly shaken.

上記各薬剤揮散器において、前記薬剤容器は、前記開口が形成された首部と、前記首部よりも外形が大きく、当該首部が連結される本体部と、を備え、前記保持部は、前記首部を保持するように構成されており、前記支持体は、上下方向に延び、前記保持部が前記首部に向けて延びるように連結されるとともに、少なくとも一部が前記本体部の側面と当接する、上下支持部と、前記上下支持部の下端部に連結され、前記保持部と同じ方向に、前記本体部の底面を支持するように延びる底面支持部と、を備えることができる。   In each of the drug volatilizers, the drug container includes a neck part in which the opening is formed, and a main body part having an outer shape larger than the neck part and connected to the neck part, and the holding part includes the neck part. The support is configured to extend vertically, and is connected so that the holding portion extends toward the neck, and at least a part of the support contacts the side surface of the main body. A support part and a bottom face support part connected to the lower end part of the upper and lower support parts and extending so as to support the bottom face of the main body part in the same direction as the holding part can be provided.

この構成によれば、薬剤容器の本体部は、保持部と底面支持部とで上下方向から挟むように支持されるため、薬剤容器を支持体に取り付ける際、上下方向の位置ずれがあれば、本体部は保持部または底面支持部に当たるため、取り付けることができない。したがって、底面支持部は、薬剤容器を支持体に取り付けるためのガイドとして機能する。また、本体部が、保持部と底面支持部とで上下方向から挟むように支持されるため、本体部が斜め上方または斜め下方に向かって離脱するのを防止することができる。   According to this configuration, since the main body portion of the drug container is supported so as to be sandwiched between the holding portion and the bottom surface support portion from above and below, when the drug container is attached to the support, if there is a vertical displacement, Since the main body portion hits the holding portion or the bottom surface supporting portion, it cannot be attached. Therefore, the bottom surface support portion functions as a guide for attaching the drug container to the support. In addition, since the main body portion is supported so as to be sandwiched between the holding portion and the bottom surface support portion from the vertical direction, it is possible to prevent the main body portion from being detached obliquely upward or obliquely downward.

上記各薬剤揮散器においては、支持体を取付対象物に直接取り付けることもできるが、例えば、前記支持体を、取付対象物に取り付けるための固定部を備えることができる。   In each said chemical volatilizer, although a support body can also be directly attached to an attachment target object, the fixing | fixed part for attaching the said support body to an attachment target object can be provided, for example.

また、前記固定部は、前記支持体に対し、停止することなく回転できるように連結することができる。なお、本発明に係る「回転」とは、360度以上の回転のみらならず、半回転などの360度よりも小さい角度での回転を含む。   Moreover, the said fixing | fixed part can be connected with respect to the said support body so that it can rotate, without stopping. The “rotation” according to the present invention includes not only rotation of 360 degrees or more but also rotation at an angle smaller than 360 degrees such as half rotation.

この構成によれば、支持体が振動を受けた場合、支持体は固定部に対して回転するようになっている。したがって、例えば、取付対象物が傾いたとしても、支持体の重心が、支持体と固定部との連結部分の鉛直下方に位置するように、支持体は回転する。そのため、薬剤容器は、開口が上方を向いた状態に維持されるため、薬剤がこぼれるのを防止することができる。   According to this structure, when a support body receives a vibration, a support body rotates with respect to a fixing | fixed part. Therefore, for example, even if the attachment object is tilted, the support rotates so that the center of gravity of the support is positioned vertically below the connecting portion between the support and the fixed portion. Therefore, since the medicine container is maintained in a state in which the opening faces upward, the medicine can be prevented from spilling.

なお、「停止することなく」とは、固定部に対する支持体の回転時に、支持体が抵抗を受けて完全に停止するのを除く意味である。したがって、取付対象物が傾き、支持体が固定部に対して回転するときに、多少の抵抗を受けたとしても、完全に停止することなく、支持体の重心が、支持体と固定部との連結部分の鉛直下方に移動するのであれば、本発明の「停止することなく」に含まれる。   Note that “without stopping” means that the support is completely stopped due to resistance during rotation of the support with respect to the fixed portion. Therefore, even if the object to be mounted is tilted and the support rotates relative to the fixed part, even if it receives some resistance, the center of gravity of the support does not stop between the support and the fixed part without stopping completely. If it moves below the connecting portion vertically, it is included in “without stopping” of the present invention.

上記各薬剤揮散器において、前記薬剤容器は、前記開口の直下に形成された底面と、当該底面の周縁から上方へ延びる外周面と、を備え、前記吸液芯の下端部の少なくとも一部が、前記底面の周縁のいずれかに当接するように構成することができる。   In each of the drug volatilizers, the drug container includes a bottom surface formed immediately below the opening and an outer peripheral surface extending upward from a peripheral edge of the bottom surface, and at least a part of a lower end portion of the liquid absorbent core is provided. , It can be configured to contact any one of the peripheral edges of the bottom surface.

このような薬剤容器においては、外周面を伝って底面に流れた薬剤は、表面張力により底面の周縁に貯まりやすいが、上記のように、吸液芯の下端部の少なくとも一部を、底面の周縁のいずれかに当接するようすれば、側面の周縁に貯まった薬剤も確実に吸い上げることができる。その結果、薬剤の最後まで使い切ることができる。   In such a drug container, the drug that has flowed to the bottom surface along the outer peripheral surface is likely to accumulate at the periphery of the bottom surface due to the surface tension, but as described above, at least a part of the lower end of the liquid absorbent core is If it abuts on one of the peripheral edges, the medicine accumulated on the peripheral edge on the side surface can be sucked up reliably. As a result, the medicine can be used up to the end.

上記各薬剤揮散器において、前記薬剤容器は、底面と、当該底面の周縁から上方に延びる外周面と、を備え、前記薬剤容器の内壁面には、前記底面から前記外周面の少なくとも一部に亘って延びる少なくとも1つの突条又は溝が形成されているものとすることができる。   In each of the drug volatilizers, the drug container includes a bottom surface and an outer peripheral surface extending upward from a peripheral edge of the bottom surface, and the inner wall surface of the drug container has at least a part of the outer peripheral surface from the bottom surface. At least one ridge or groove extending across may be formed.

このような突条又は溝が設けられていると、薬剤は突条又は溝を伝うことで、底面まで流れ落ちやすくなる。その結果、吸液芯によって流れ落ちた薬剤を吸い上げやすくなる。   When such protrusions or grooves are provided, the drug easily flows down to the bottom surface by passing through the protrusions or grooves. As a result, it becomes easy to suck up the medicine that has flowed down by the liquid absorbent core.

上記各薬剤揮散器において、前記薬剤容器は、底面と、当該底面の周縁から上方に延びる外周面と、を備え、前記薬剤容器の内壁面には、前記外周面から前記開口に向かって延びる少なくとも1つの突条又は溝が形成されているものとすることができる。   In each of the drug volatilizers, the drug container includes a bottom surface and an outer peripheral surface extending upward from a peripheral edge of the bottom surface, and at least an inner wall surface of the drug container extends from the outer peripheral surface toward the opening. One ridge or groove may be formed.

このような突条又は溝を設けると、例えば、薬剤容器を逆さに向けたとき、薬剤は外周面を伝って開口側に向かうが、薬剤は、突条又は溝を伝って、開口へと確実に流れるため、開口に刺し込まれた吸液芯に確実に吸引させることができる。   When such a ridge or groove is provided, for example, when the medicine container is turned upside down, the medicine is directed to the opening side along the outer peripheral surface, but the medicine is surely directed to the opening through the ridge or groove. Therefore, the liquid-absorbing core inserted into the opening can be surely sucked.

本発明に係る薬剤揮散器によれば、薬剤がこぼれるのを防止することができる。   According to the drug volatilizer according to the present invention, it is possible to prevent the drug from spilling.

本実施形態に係る薬剤揮散器の斜視図である。It is a perspective view of the chemical volatilization device concerning this embodiment. 図1の側面図である。It is a side view of FIG. 図1の平面図である。It is a top view of FIG. 図1の薬剤揮散器を後方から見た斜視図である。It is the perspective view which looked at the chemical volatilizer of FIG. 1 from back. 本実施形態に係る薬剤容器の正面図である。It is a front view of the medicine container concerning this embodiment. 図5の薬剤容器の底面図である。It is a bottom view of the chemical | medical agent container of FIG. 図5のA−A線断面図である。It is the sectional view on the AA line of FIG. 第2のポジションにある支持体の斜視図である。It is a perspective view of the support body in a 2nd position. 図8の正面図である。It is a front view of FIG. 第2のポジションにおいて薬剤容器が装着された支持体の側面図である。It is a side view of the support body with which the chemical | medical agent container was mounted | worn in the 2nd position. 図10の正面図である。It is a front view of FIG. 図10の背面図である。It is a rear view of FIG. 固定部の側面図である。It is a side view of a fixed part. 図1の薬剤揮散器の使用方法を示す正面図である。It is a front view which shows the usage method of the chemical volatilizer of FIG. 薬剤容器の他の例を示す断面図である。It is sectional drawing which shows the other example of a chemical | medical agent container. 薬剤容器の他の例を示す断面図である。It is sectional drawing which shows the other example of a chemical | medical agent container. 薬剤容器の他の例を示す底面図である。It is a bottom view which shows the other example of a chemical | medical agent container.

以下、本発明に係る薬剤揮散器の一実施形態について図面を参照しつつ説明する。なお、以下では、説明の便宜のため、図2の左側を正面側または前側、右側を背面側または後側と称する。また、図3の上下方向を幅方向と称する。そして、他の図面についてもこの方向にしたがって、説明を行う。但し、これらの方向は、本発明を限定するものではない。   Hereinafter, one embodiment of a chemical volatilizer according to the present invention will be described with reference to the drawings. In the following, for convenience of explanation, the left side of FIG. 2 is referred to as the front side or the front side, and the right side is referred to as the back side or the rear side. Further, the vertical direction in FIG. 3 is referred to as a width direction. The other drawings will be described according to this direction. However, these directions do not limit the present invention.

図1は本実施形態に係る薬剤揮散器の斜視図、図2は図1の側面図、図3は図1の平面図、図4は薬剤揮散器を後方から見た斜視図である。図1〜図4に示すように、本実施形態に係る薬剤揮散器は、液状の薬剤が収容された薬剤容器1と、この薬剤容器1に差し込まれ、薬剤を含浸する吸液芯2と、薬剤容器1を支持する支持体3と、この支持体3を取付対象物に取り付けるための固定部4と、を有している。以下、これら各部材について詳細に説明する。   1 is a perspective view of a drug volatilizer according to the present embodiment, FIG. 2 is a side view of FIG. 1, FIG. 3 is a plan view of FIG. 1, and FIG. As shown in FIG. 1 to FIG. 4, the drug volatilizer according to the present embodiment includes a drug container 1 containing a liquid drug, a liquid absorption core 2 inserted into the drug container 1 and impregnated with the drug, It has the support body 3 which supports the chemical | medical agent container 1, and the fixing | fixed part 4 for attaching this support body 3 to an attachment target object. Hereinafter, each of these members will be described in detail.

<1.薬剤容器>
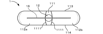
図5は薬剤容器の正面図、図6は薬剤容器の底面図、図7は図5のA−A線断面図である。図5〜図7に示すように、本実施形態に係る薬剤容器1は、正面視逆三角形状の本体部11と、この本体部11の上端に連結された首部12と、を備えており、これらは一体的に形成されている。本体部11は、底面111、一対の側面112a,112b、前面113、背面114、及び上面115によって囲まれた内部空間を有しており、この内部空間に薬剤が収容される。底面111は、平面視矩形状に形成され、左右の縁部(周縁)は凸状に湾曲している。また、一対の側面112は、底面111の左右の縁部1111からそれぞれ斜め上方に向かって互いに離れるように延びている。前面113及び背面114は、底面111の前側及び後側の縁部からそれぞれ上方に向かって延びている。上面115は、一対の側面112、前面113、及び背面114の上端縁をつなぐように概ね水平に延びる矩形状に形成されている。そして、上面115の中央には、上述した首部12が連結されている。
<1. Drug container>
5 is a front view of the drug container, FIG. 6 is a bottom view of the drug container, and FIG. 7 is a cross-sectional view taken along line AA of FIG. As shown in FIGS. 5-7, the chemical | medical agent container 1 which concerns on this embodiment is equipped with the main-body part 11 of front view reverse triangle shape, and the neck part 12 connected with the upper end of this main-body part 11, These are integrally formed. The main body 11 has an internal space surrounded by a bottom surface 111, a pair of side surfaces 112a and 112b, a front surface 113, a back surface 114, and an upper surface 115, and a medicine is accommodated in the internal space. The bottom surface 111 is formed in a rectangular shape in plan view, and left and right edges (peripheries) are curved in a convex shape. The pair of side surfaces 112 extend from the left and right edge portions 1111 of the bottom surface 111 so as to be separated from each other obliquely upward. The front surface 113 and the back surface 114 extend upward from the front and rear edges of the bottom surface 111, respectively. The upper surface 115 is formed in a rectangular shape extending substantially horizontally so as to connect the upper end edges of the pair of side surfaces 112, the front surface 113, and the back surface 114. The neck 12 described above is connected to the center of the upper surface 115.

首部12は、上端に開口121を有する円筒状に形成されており、底面111の直上に配置されている。首部12の外周面において、上面115に近接する位置には、環状の突部13が形成されており、この突部13と上面115との間の隙間に、後述する保持部が配置される。また、首部12の外周面において、突部13よりも上方には、螺旋状の雄ねじ14が形成されている。この雄ねじ14は,図示を省略するキャップの雌ねじが螺合するようになっている。すなわち、首部12には、キャップが取り付けられ、使用時に取り外すようになっている。   The neck portion 12 is formed in a cylindrical shape having an opening 121 at the upper end, and is disposed immediately above the bottom surface 111. An annular protrusion 13 is formed at a position close to the upper surface 115 on the outer peripheral surface of the neck portion 12, and a holding portion described later is disposed in a gap between the protrusion 13 and the upper surface 115. A spiral male screw 14 is formed on the outer peripheral surface of the neck 12 above the protrusion 13. The male screw 14 is adapted to be screwed into a female screw of a cap (not shown). That is, a cap is attached to the neck portion 12 and is removed during use.

本体部11の内壁面は、次のように構成されている。まず、底面111及び一対の側面112には、左右方向に延びる突条16が形成されている。この突条16は、底面111及び側面112の前後方向の中心付近を、一方の側面112aの上下方向の中心付近から、底面111を経て、他方の側面112bの上下方向の中心付近まで延びている。また、この突条16には、溝が形成されており、突条16に沿って延びている。   The inner wall surface of the main body 11 is configured as follows. First, the protrusions 16 extending in the left-right direction are formed on the bottom surface 111 and the pair of side surfaces 112. The protrusion 16 extends in the vicinity of the center in the front-rear direction of the bottom surface 111 and the side surface 112 from the vicinity of the center in the vertical direction of one side surface 112a to the vicinity of the center in the vertical direction of the other side surface 112b through the bottom surface 111. . In addition, a groove is formed in the ridge 16 and extends along the ridge 16.

また、上面115の内壁面にも一対の突条17a,17bが形成されている。各突条17a,17bは、上面115の前後方向の中心付近を通過しており、上面115の左右の端部付近から首部12に向かって延び、首部12の内壁面を開口121の縁部まで上方に向かって延びている。これらの突条17a,17bにも、溝が形成されており、突条17a,17bに沿って延びている。   A pair of protrusions 17 a and 17 b is also formed on the inner wall surface of the upper surface 115. Each of the protrusions 17a and 17b passes near the center of the upper surface 115 in the front-rear direction, extends from the vicinity of the left and right ends of the upper surface 115 toward the neck 12, and extends from the inner wall surface of the neck 12 to the edge of the opening 121. It extends upward. These protrusions 17a and 17b are also formed with grooves and extend along the protrusions 17a and 17b.

以上のような薬剤容器1は、種々の材料により形成することができるが、樹脂材料により形成することができる。この場合、例えば、前後方向の中心付近で分割した状態(形成される突条16,17a,17bも前後方向の中心付近で分割されている)に形成したものを張り合わせたり、また、ブロー法(例えば、インジェクションブロー法、ダイレクトブロー法)により成形した後、底面111及び側面112の内壁面を削ったり、突条を貼り付けたりして薬剤容器1を形成することができる。ブロー法のうち、特にダイレクトブロー法により薬剤容器1を成形する場合には、筒状のパリソンを用い、2つの成形型でパリソンの上部を挾み、雄ねじ14及び突部13が形成された首部12のみを先に成形し、続いて、成形された首部12よりも下方の部分を2つの成形型で挾み、パリソンに空気を注入しつつ本体部11を成形する。首部12よりも下方の部分を2つの成形型で挟む際、互いの成形型が接する箇所の樹脂材料が盛り上がるようにすることで、突条16,17a,17bを成形することができる。   The drug container 1 as described above can be formed of various materials, but can be formed of a resin material. In this case, for example, those formed in the state of being divided near the center in the front-rear direction (the formed ridges 16, 17a, 17b are also divided near the center in the front-rear direction) are bonded together, For example, the medicine container 1 can be formed by shaping the inner wall surfaces of the bottom surface 111 and the side surface 112 or attaching ridges after molding by an injection blow method or a direct blow method. Among the blow methods, in particular, when the drug container 1 is formed by the direct blow method, a cylindrical parison is used, the upper part of the parison is sandwiched between two molds, and the neck portion on which the male screw 14 and the protrusion 13 are formed. 12 is formed first, and then the portion below the molded neck 12 is squeezed with two molds, and the body 11 is molded while injecting air into the parison. When the portion below the neck portion 12 is sandwiched between two molding dies, the protrusions 16, 17a, and 17b can be molded by causing the resin material at the location where the molding dies come into contact with each other.

また、薬剤容器1は、内部の薬剤が視認できるように透明または半透明の材料で形成することが好ましい。薬剤容器1に収容される液状の薬剤としては、用途に応じて、公知の芳香液、消臭液、アロマオイルなど、種々のものを用いることができる。   Moreover, it is preferable to form the medicine container 1 with a transparent or translucent material so that the medicine inside can be visually recognized. As a liquid medicine accommodated in the medicine container 1, various kinds such as a known fragrance liquid, deodorant liquid, and aroma oil can be used depending on the application.

<2.吸液芯と薬剤容器への取付構造>
次に、吸液芯2及び薬剤容器1への取付構造について説明する。まず、図7に示すように、薬剤容器1には、吸液芯2の取付部材5が取り付けられており、この取付部材5を介して、吸液芯2が薬剤容器1に取り付けられている。取付部材5は、薬剤容器1の首部12の内壁面に圧入される円筒状の取付本体51と、この取付本体51の上縁から径方向外方に延びるフランジ部52とを備えている。そして、取付本体51の内部には、吸液芯2が挿入される。また、フランジ部52は、首部12の開口周縁を上方から覆うように配置される。
<2. Mounting structure for liquid core and drug container>
Next, the attachment structure to the liquid absorption core 2 and the medicine container 1 will be described. First, as shown in FIG. 7, an attachment member 5 for the liquid absorbent core 2 is attached to the drug container 1, and the liquid absorbent core 2 is attached to the drug container 1 via the attachment member 5. . The attachment member 5 includes a cylindrical attachment main body 51 that is press-fitted into the inner wall surface of the neck 12 of the medicine container 1, and a flange portion 52 that extends radially outward from the upper edge of the attachment main body 51. The liquid absorption core 2 is inserted into the mounting body 51. Moreover, the flange part 52 is arrange | positioned so that the opening periphery of the neck part 12 may be covered from upper direction.

また、取付本体51の内壁面には、上下方向に沿って延びる溝(図示省略)が形成されており、吸液芯2が挿入されたときに、この溝によって吸液芯2と取付本体51との間に隙間が形成される。この隙間は、薬剤容器1の内部空間と外部とを連通する。これにより、例えば、高温の環境で薬剤容器1を用い、薬剤容器1の内圧が上昇したとき、薬剤容器1内の空気が隙間を通じて外部に排出されるようになっている。一方、このような隙間が設けられていないと、内圧が上昇したとき、吸液芯2を通じて薬剤が過剰に押し出されるおそれがある。   Further, a groove (not shown) extending in the vertical direction is formed on the inner wall surface of the mounting body 51, and when the liquid absorbing core 2 is inserted, the liquid absorbing core 2 and the mounting body 51 are inserted by this groove. A gap is formed between the two. This gap communicates the internal space of the medicine container 1 with the outside. Thereby, for example, when the drug container 1 is used in a high-temperature environment and the internal pressure of the drug container 1 increases, the air in the drug container 1 is discharged to the outside through the gap. On the other hand, if such a gap is not provided, the drug may be excessively pushed out through the liquid absorbent core 2 when the internal pressure rises.

続いて、吸液芯2について説明する。吸液芯2は、円柱状に形成されており、上述したように、取付本体51の内壁面に密着した状態で、取付本体51に挿入される。そして、吸液芯2の長さは、次のように設定されている。すなわち、吸液芯2の下端部が薬剤容器1の底面111に当接したとき、吸液芯2の上端部は、首部12から突出した状態となるように設定されている。このとき、吸液芯2の下端部21の下面が底面111に接しつつ、下端部21の周縁が底面の左右の縁部1111にも接するようになっている。   Next, the liquid absorbent core 2 will be described. The liquid absorption core 2 is formed in a columnar shape, and is inserted into the mounting body 51 in a state of being in close contact with the inner wall surface of the mounting body 51 as described above. And the length of the liquid absorption core 2 is set as follows. That is, the upper end portion of the liquid absorbent core 2 is set to protrude from the neck portion 12 when the lower end portion of the liquid absorbent core 2 contacts the bottom surface 111 of the drug container 1. At this time, the lower surface of the lower end portion 21 of the liquid absorbent core 2 is in contact with the bottom surface 111, and the peripheral edge of the lower end portion 21 is also in contact with the left and right edge portions 1111 of the bottom surface.

吸液芯2を構成する材料は、薬剤を吸い上げ、首部12から突出している部分から薬剤を外部に揮散させることができるような材料であれば、特には限定されない。例えば、紙、布など種々の材料を用いることができる。   The material which comprises the liquid absorption core 2 will not be specifically limited if it can absorb a chemical | medical agent and volatilize a chemical | medical agent from the part which protrudes from the neck part 12 to the exterior. For example, various materials such as paper and cloth can be used.

<3.支持体>
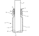
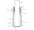
続いて、支持体3について、図8〜図12を参照しつつ説明する。図8は第2のポジションにある支持体の斜視図、図9は図8の正面図、図10は第2のポジションにおいて薬剤容器が装着された支持体の側面図、図11は図10の正面図、図12は図10の背面図である。但し、図12では説明の便宜上、固定部を取り外した状態を示している。
<3. Support>
Next, the support 3 will be described with reference to FIGS. 8 is a perspective view of the support in the second position, FIG. 9 is a front view of FIG. 8, FIG. 10 is a side view of the support with the drug container mounted in the second position, and FIG. FIG. 12 is a front view of FIG. However, in FIG. 12, the state which removed the fixing | fixed part is shown for convenience of explanation.

図8〜図12に示すように、支持体3は、薬剤容器1を保持する支持本体(上下支持部)31と、この支持本体31に取り付けられ、薬剤容器1を覆うカバー32と、を備えており、カバー32は薬剤容器1を覆う第1のポジション(図1〜図4)と薬剤容器1を取り外し可能な第2のポジション(図8〜図12)とを取り得る。以下では、説明の便宜のため、支持体3が第1のポジションを取りうる場合と第2のポジションを取りうる場合との両方を参照しつつ、支持体3について説明する。まず、支持本体31について説明する。   As shown in FIGS. 8 to 12, the support 3 includes a support body (upper / lower support part) 31 that holds the medicine container 1 and a cover 32 that is attached to the support body 31 and covers the medicine container 1. The cover 32 can take a first position (FIGS. 1 to 4) covering the medicine container 1 and a second position (FIGS. 8 to 12) where the medicine container 1 can be removed. Below, for convenience of explanation, the support 3 will be described with reference to both the case where the support 3 can take the first position and the case where the support 3 can take the second position. First, the support body 31 will be described.

支持本体31は、上方から下方に向かって配置された上端部311、中間部(第1支持部)312、及び下端部(第2支持部)313が一体的に形成された板状の部材であり、上端部311と中間部312との間には板状の保持部314が連結されている。上端部311は、正面視台形状の板状に形成されており、その中央には背面側に突出する環状の取付部315が形成されている。図12に示すように、この取付部315は、下側に切欠き3151が形成されており、後述する固定部4の軸部が切欠き3151から取付部315の穴に取り付けられる。また、上端部311の左右の辺には、それぞれ、前面側に第1係止部3111が形成され、背面側に第2係止部3112が形成されている。また、第1係止部3111は、中間部312側に配置され、第2係止部3112は、第1係止部3111よりも上方に配置されている。そして、これら第1係止部3111及び第2係止部3112によって、後述するカバー32の一部が挟まれる。また、上端部311の上辺にはヒンジ316が形成され、このヒンジ316を介して、カバー32が揺動自在に取り付けられている。   The support body 31 is a plate-like member in which an upper end portion 311, an intermediate portion (first support portion) 312, and a lower end portion (second support portion) 313 are integrally formed. In addition, a plate-like holding portion 314 is connected between the upper end portion 311 and the intermediate portion 312. The upper end portion 311 is formed in a plate shape having a trapezoidal shape when viewed from the front, and an annular attachment portion 315 protruding to the back side is formed at the center thereof. As shown in FIG. 12, the attachment portion 315 has a notch 3151 formed on the lower side, and a shaft portion of the fixing portion 4 described later is attached to the hole of the attachment portion 315 from the notch 3151. Further, on the left and right sides of the upper end portion 311, a first locking portion 3111 is formed on the front side, and a second locking portion 3112 is formed on the back side. The first locking portion 3111 is disposed on the intermediate portion 312 side, and the second locking portion 3112 is disposed above the first locking portion 3111. A part of the cover 32 to be described later is sandwiched between the first locking portion 3111 and the second locking portion 3112. A hinge 316 is formed on the upper side of the upper end portion 311, and the cover 32 is swingably attached via the hinge 316.

中間部312は、正面視矩形状の板状に形成されており、上端部311の下端に連結されている。そして、上端部311と中間部312との間には、上述したように、薬剤容器1の首部12を保持する保持部314が連結されている。保持部314は、板状に形成された一対の保持片3141a,3141bを備えており、これら保持片3141は前方に向かって延びている。そして、これら保持片3141は、左右方向の中央に隙間を空けて配置されており、この隙間に薬剤容器1の首部12が保持される。より詳細に説明すると、両保持片3141a,3141bの隙間は、首部12の外周面に沿うように平面視円形状に形成されているが、両保持片3141a,3141bの前端部間の隙間は、首部12の直径よりも狭くなっている。これにより、首部12の抜け止めを形成している。なお、保持部314の前後方向の長さは、薬剤容器1の前後方向の幅の半分よりも長いことが好ましい。   The intermediate portion 312 is formed in a plate shape having a rectangular shape when viewed from the front, and is connected to the lower end of the upper end portion 311. And as above-mentioned, the holding | maintenance part 314 which hold | maintains the neck part 12 of the chemical | medical agent container 1 is connected between the upper end part 311 and the intermediate part 312. The holding portion 314 includes a pair of holding pieces 3141a and 3141b formed in a plate shape, and these holding pieces 3141 extend forward. These holding pieces 3141 are arranged with a gap in the center in the left-right direction, and the neck 12 of the drug container 1 is held in this gap. More specifically, the gap between the holding pieces 3141a and 3141b is formed in a circular shape in plan view along the outer peripheral surface of the neck 12, but the gap between the front ends of the holding pieces 3141a and 3141b is It is narrower than the diameter of the neck 12. As a result, the neck 12 is prevented from coming off. The length in the front-rear direction of the holding part 314 is preferably longer than half of the width in the front-rear direction of the medicine container 1.

また、中間部312は、薬剤容器1の背面114に当接するように構成されており、薬剤容器1の本体部11の上端から、本体部11の上下方向の中間部付近まで延びている。より詳細には、図10に示すように、中間部312は、薬剤容器1の重心Gと対応する上下方向の位置を越えて、下方に延びている。   The intermediate portion 312 is configured to contact the back surface 114 of the drug container 1 and extends from the upper end of the main body portion 11 of the drug container 1 to the vicinity of the intermediate portion in the vertical direction of the main body portion 11. More specifically, as shown in FIG. 10, the intermediate portion 312 extends downward beyond the vertical position corresponding to the center of gravity G of the medicine container 1.

下端部313は、中間部312の背面の下端から下方に延びる正面視矩形状の板状に形成されている。これにより、下端部313は、中間部312よりも後方に配置され、中間部312に当接している薬剤容器1の背面114との間に隙間が形成される。また、下端部313の左右方向の幅は、中間部312よりも狭くなっており、保持部314に薬剤容器1が保持されたときには、薬剤容器1に遮られて正面からは下端部313が見えないようになっている。そして、下端部313の前面の中央には上下方向に延びる棒状の突部317が形成されており、この突部317の前面は中間部312の前面よりも後側にある。また、下端部313の下端縁には、平面視矩形状の板状の底面支持部318が連結されている。この底面支持部318は、保持部314と概ね同じ長さで前方に突出しており、薬剤容器1の底面111に当接するように構成されている。   The lower end 313 is formed in a rectangular plate shape in a front view extending downward from the lower end of the back surface of the intermediate portion 312. Thereby, the lower end portion 313 is disposed behind the intermediate portion 312 and a gap is formed between the lower end portion 313 and the back surface 114 of the medicine container 1 that is in contact with the intermediate portion 312. Further, the width of the lower end portion 313 in the left-right direction is narrower than that of the intermediate portion 312. When the drug container 1 is held by the holding portion 314, the lower end portion 313 is seen from the front by being blocked by the drug container 1. There is no such thing. A bar-shaped protrusion 317 extending in the vertical direction is formed at the center of the front surface of the lower end 313, and the front surface of the protrusion 317 is located behind the front surface of the intermediate portion 312. In addition, a plate-like bottom surface support portion 318 having a rectangular shape in plan view is connected to the lower end edge of the lower end portion 313. The bottom surface support portion 318 protrudes forward with substantially the same length as the holding portion 314 and is configured to contact the bottom surface 111 of the drug container 1.

続いて、カバー32について説明する。カバー32は、ヒンジ316を介して支持本体31に連結されることにより、上記のように薬剤容器1を覆う使用時の第1ポジションと、薬剤容器1を取り付けたり、あるいは取り外すときの第2ポジションを取り得る。   Next, the cover 32 will be described. The cover 32 is connected to the support body 31 via the hinge 316, so that the first position in use covers the drug container 1 as described above, and the second position when the drug container 1 is attached or removed. Can take.

カバー32は、支持本体31の前側に配置される前壁部(第1壁面)321と、前壁部321の上端縁に連結され,前後方向に延びる上壁部(第2壁面)322と、上壁部322の後端縁から上下方向に延び、支持本体31の上端部311の周囲を囲む背壁部323と、を備えている。   The cover 32 includes a front wall portion (first wall surface) 321 disposed on the front side of the support body 31, an upper wall portion (second wall surface) 322 that is connected to the upper edge of the front wall portion 321 and extends in the front-rear direction, A back wall portion 323 extending in the vertical direction from the rear end edge of the upper wall portion 322 and surrounding the periphery of the upper end portion 311 of the support body 31.

前壁部321は、正面視菱形状に形成されており、前面には装飾が施されている。前壁部321は、支持本体31に保持される薬剤容器1がほぼ隠れるような大きさに、形成されている。上壁部322は、前壁部321の上端部に沿うように正面視へ字状に形成されており、薬剤容器1に差し込まれた吸液芯2を上方から覆うように配置される。そして、上壁部322の上端付近には、開口が形成されるとともに、この開口の一部を塞ぐように前後方向に延びる複数の棒状部材3221が平行に配置されている。棒状部材3221の配置されている間隔は、吸液芯2の直径よりも小さくなっている。これにより、上壁部322からは、吸液芯2から揮発する薬剤は通過するが、吸液芯2が抜け出さないようになっている。   The front wall portion 321 is formed in a rhombus shape when viewed from the front, and the front surface is decorated. The front wall portion 321 is formed in such a size that the medicine container 1 held by the support body 31 is substantially hidden. The upper wall portion 322 is formed in a square shape in front view so as to follow the upper end portion of the front wall portion 321 and is disposed so as to cover the liquid absorbent core 2 inserted into the medicine container 1 from above. An opening is formed in the vicinity of the upper end of the upper wall portion 322, and a plurality of rod-like members 3221 extending in the front-rear direction are arranged in parallel so as to close a part of the opening. The interval at which the rod-shaped members 3221 are arranged is smaller than the diameter of the liquid absorbent core 2. Thereby, from the upper wall part 322, although the chemical | medical agent volatilized from the liquid absorption core 2 passes, the liquid absorption core 2 does not come out.

背壁部323は、上壁部322の後端縁に沿うように正面視へ字状に形成されており、上述したように、支持本体31の上端部311の周囲を囲むように板状に形成されている。まず、支持本体31の上端部311の上辺が、ヒンジ316を介して背壁部323に連結されている。また、背壁部323の両側の内周縁は、支持本体31の上端部311に形成された第1係止部3111及び第2係止部3112によって挟まれる。これにより、背壁部323が支持本体31に固定され、カバー32が第1ポジションに保持される。   The back wall portion 323 is formed in a square shape in front view so as to follow the rear end edge of the upper wall portion 322, and as described above, the back wall portion 323 has a plate shape so as to surround the periphery of the upper end portion 311 of the support body 31. Is formed. First, the upper side of the upper end portion 311 of the support body 31 is connected to the back wall portion 323 via a hinge 316. Further, the inner peripheral edges on both sides of the back wall portion 323 are sandwiched between a first locking portion 3111 and a second locking portion 3112 formed on the upper end portion 311 of the support body 31. Thereby, the back wall part 323 is fixed to the support main body 31, and the cover 32 is hold | maintained in a 1st position.

続いて、カバー32が第2ポジションにあるときについて、説明する。第1ポジションでは、図1〜図4に示すように、カバー32が薬剤容器1を覆うため、前壁部321は支持本体31と概ね平行になるように上下方向に延びるように配置される。この状態から、前壁部321を上方に向けて傾斜させると、第1係止部3111及び第2係止部3112と背壁部323との係止状態が解除され、カバー32がヒンジ316を中心として揺動可能となる。そして、例えば、図10に示すように、カバー32は、前壁部321が支持本体31の上方で水平に延びる状態まで揺動し、第2ポジションとなる。この状態で、薬剤容器1は外部に露出するため、取り外し可能となる。   Next, the case where the cover 32 is in the second position will be described. In the first position, as shown in FIGS. 1 to 4, since the cover 32 covers the drug container 1, the front wall portion 321 is arranged to extend in the vertical direction so as to be substantially parallel to the support body 31. If the front wall portion 321 is inclined upward from this state, the locked state of the first locking portion 3111 and the second locking portion 3112 and the back wall portion 323 is released, and the cover 32 causes the hinge 316 to move. It can swing around the center. Then, for example, as shown in FIG. 10, the cover 32 swings to a state where the front wall portion 321 extends horizontally above the support body 31 and assumes the second position. In this state, since the medicine container 1 is exposed to the outside, it can be removed.

<4.固定部>
次に、固定部4について、図13も参照しつつ説明する。図13は固定部の側面図である。固定部4は、支持本体31における上端部311の取付部315から背面側に延びるように形成されている。より詳細には、取付部315に回転自在に連結される連結部43と、この連結部43から後方に延びる板状の第1固定片41と、この第1固定片41の下側に平行に延びる板状の第2固定片42と、を備えており、これらは一体的に形成されている。連結部43は、小径の軸部431と、その前側に取り付けられ、軸部431よりも径の大きい円形の抜け止め部432とを備えており、軸部431が、取付部315の穴に切欠き3151を介して取り付けられる。取付部315の内径は、軸部431とほぼ同じであるが、抜け止め部432よりは小さいため、連結部43は、取付部315において前後方向に延びる軸周りに回転自在に取り付けられる。また、切欠き3151の幅は、軸部431の径よりも小さいため、切欠き3151は軸部431の抜け止めになる。このとき、連結部43は、ほぼ抵抗なく取付部315に対して回転するようになっており、これによって、例えば、支持体3が振動を受けた場合、支持体3は固定部4に対して回転するようになっている。
<4. Fixed part>
Next, the fixing part 4 will be described with reference to FIG. FIG. 13 is a side view of the fixing portion. The fixing portion 4 is formed so as to extend from the attachment portion 315 of the upper end portion 311 in the support body 31 to the back side. More specifically, a connecting portion 43 that is rotatably connected to the attachment portion 315, a plate-like first fixing piece 41 that extends rearward from the connecting portion 43, and a lower side of the first fixing piece 41 in parallel. And a plate-like second fixing piece 42 extending, and these are integrally formed. The connecting portion 43 includes a small-diameter shaft portion 431 and a circular retaining portion 432 that is attached to the front side of the shaft portion 431 and has a diameter larger than that of the shaft portion 431. It is attached via a notch 3151. The inner diameter of the attachment portion 315 is substantially the same as that of the shaft portion 431, but is smaller than the retaining portion 432, so that the connecting portion 43 is attached to the attachment portion 315 so as to be rotatable around an axis extending in the front-rear direction. Further, since the width of the notch 3151 is smaller than the diameter of the shaft portion 431, the notch 3151 serves to prevent the shaft portion 431 from coming off. At this time, the connecting portion 43 rotates with respect to the attachment portion 315 with almost no resistance. For example, when the support body 3 receives vibration, the support body 3 is in contact with the fixed portion 4. It is designed to rotate.

第1固定片41及び第2固定片42は連結部43に対して、弾性変形可能となっており、これにより、両固定片41,42は、互いに近接離間するように変形可能である。初期状態では、両固定片41,42の後端部は接しており、これを弾性力に抗して押し広げることで、両固定片41,42の間には、取付対象物を弾性的に挟むことができるようになっている。   The first fixed piece 41 and the second fixed piece 42 can be elastically deformed with respect to the connecting portion 43, whereby both the fixed pieces 41 and 42 can be deformed so as to be close to each other. In the initial state, the rear ends of the fixed pieces 41 and 42 are in contact with each other, and the object to be attached is elastically placed between the fixed pieces 41 and 42 by pushing it against the elastic force. It can be pinched.

<5.薬剤揮散器の使用方法>
次に、上記のように構成された薬剤揮散器の使用方法について説明する。まず、薬剤容器1のキャップを取り外し、吸液芯2を露出させる。続いて、支持体3のカバー32を開いて第2ポジションとし、保持部314を露出させる。これに続いて、保持部314の両保持片3141a,3141bの間に、薬剤容器1の首部12を挿入する。具体的には、首部12の突部13と本体部11の上面115との隙間に、両保持片3141a,3141bの内縁が係合するようにする。この状態で、両保持片3141a,3141bの前端側の隙間は、首部12の径よりも狭いので、これが抜け止めになって、首部12が保持部314から離脱するのが防止される。こうして、首部12が保持部314に装着されると、薬剤容器1の本体部11の背面114は、支持本体31の中間部312に当接するとともに、本体部11の底面111が底面支持部318に当接する。
<5. Usage of chemical volatilizer>
Next, the usage method of the chemical volatilizer comprised as mentioned above is demonstrated. First, the cap of the medicine container 1 is removed, and the liquid absorption core 2 is exposed. Subsequently, the cover 32 of the support 3 is opened to the second position, and the holding portion 314 is exposed. Following this, the neck portion 12 of the drug container 1 is inserted between the holding pieces 3141a and 3141b of the holding portion 314. Specifically, the inner edges of both holding pieces 3141a and 3141b are engaged with the gap between the protrusion 13 of the neck 12 and the upper surface 115 of the main body 11. In this state, the gap on the front end side of both holding pieces 3141a and 3141b is narrower than the diameter of the neck portion 12, so that this prevents the neck portion 12 from being detached from the holding portion 314. Thus, when the neck portion 12 is attached to the holding portion 314, the back surface 114 of the main body portion 11 of the drug container 1 comes into contact with the intermediate portion 312 of the support main body 31, and the bottom surface 111 of the main body portion 11 contacts the bottom surface support portion 318. Abut.

このように、保持部314は首部12の突部13と本体部11の上面115との隙間に係合するが、これが上下方向のいずれかにずれると、本体部11の底面111が底面支持部318に当接せず、例えば、本体部11が底面支持部318に当たって、薬剤容器1が支持体3に装着できないようになっている。そのため、底面支持部318は、薬剤容器1を正しい位置に装着するためのガイドとしても機能する。   As described above, the holding portion 314 engages with the gap between the protruding portion 13 of the neck portion 12 and the upper surface 115 of the main body portion 11, but when this shifts in any of the vertical directions, the bottom surface 111 of the main body portion 11 becomes the bottom surface support portion. For example, the main body portion 11 hits the bottom surface support portion 318 so that the medicine container 1 cannot be attached to the support body 3. Therefore, the bottom surface support part 318 also functions as a guide for mounting the medicine container 1 at the correct position.

こうして、薬剤容器1が装着されると、カバー32を第1ポジションに戻す。これにより、薬剤容器は1、カバー32の前壁部321により前方への移動が規制され、支持本体31から離脱するのが防止される。また、カバー32の上壁部322が吸液芯2を上方から覆うため、吸液芯2が薬剤容器1から離脱するのを防止することができる。   Thus, when the medicine container 1 is mounted, the cover 32 is returned to the first position. Thereby, the drug container 1 is prevented from moving forward by the front wall portion 321 of the cover 32 and is prevented from being detached from the support body 31. Moreover, since the upper wall part 322 of the cover 32 covers the liquid absorption core 2 from above, it is possible to prevent the liquid absorption core 2 from being detached from the drug container 1.

続いて、固定部4を取付対象部に取り付ける。すなわち、固定部4の両固定片41、42で取付対象物を挟むようにする。こうして、薬剤揮散器の取り付けが完了する。なお、取付対象物は特には限定されないが、例えば、自動車のエアコンやデフロスターの排気口など、振動を伴うものとすることができる。但し、振動が生じるような取付対象物は、上記のような排気口以外でもよく、特には限定されない。   Subsequently, the fixing portion 4 is attached to the attachment target portion. That is, the attachment object is sandwiched between the two fixing pieces 41 and 42 of the fixing portion 4. Thus, the attachment of the chemical volatilizer is completed. In addition, although an attachment target object is not specifically limited, For example, it can be accompanied by vibration, such as an air-conditioner of a motor vehicle, or an exhaust port of a defroster. However, the object to be vibrated may be other than the exhaust port as described above, and is not particularly limited.

その後、薬剤容器1内の薬剤は、吸液芯2に吸い上げられ、吸液芯2を伝って、薬剤容器1の外部へと揮散する。これにより、芳香効果等を得ることができる。そして、本実施形態に係る薬剤揮散器では、以下の理由から、薬剤容器1内の薬剤の量が少なくなっても、最後まで薬剤を使い切ることができる。まず、吸液芯2の下端部21は、薬剤容器1の底面111に接しており、さらに、吸液芯2の下端部21の少なくとも一部が、底面111の縁部1111に接している。そのため、側面112から流れ落ち、底面111に達した薬剤のうち、表面張力によって底面111の縁部付近に残留する薬剤も吸引することができる。また、本体部11の側面112から底面111に亘って、溝を有する突条16が形成されているため、薬剤はこの突条16を伝うことで、底面111まで流れ落ちやすくなる。その結果、吸液芯2によって流れ落ちた薬剤を吸い上げやすくなる。さらに、例えば、薬剤容器1を逆さに向けると、薬剤は本体部11の上面115に溜まるが、この薬剤は、上面115の突条17a,17bを伝って、首部12へと流れ、吸液芯2に吸引される。   Thereafter, the drug in the drug container 1 is sucked up by the liquid absorption core 2, and is evaporated to the outside of the drug container 1 through the liquid absorption core 2. Thereby, an aroma effect etc. can be acquired. And in the chemical volatilizer which concerns on this embodiment, even if the quantity of the chemical | medical agent in the chemical | medical agent container 1 decreases for the following reasons, a chemical | medical agent can be used up to the last. First, the lower end 21 of the liquid absorbent core 2 is in contact with the bottom surface 111 of the drug container 1, and at least a part of the lower end 21 of the liquid absorbent core 2 is in contact with the edge 1111 of the bottom surface 111. Therefore, among the drugs that have flowed down from the side surface 112 and reached the bottom surface 111, the drug remaining near the edge of the bottom surface 111 due to surface tension can also be aspirated. Further, since the ridge 16 having a groove is formed from the side surface 112 to the bottom surface 111 of the main body portion 11, the medicine easily flows down to the bottom surface 111 by passing through the ridge 16. As a result, the medicine that has flowed down by the liquid absorbent core 2 can be easily sucked up. Further, for example, when the medicine container 1 is turned upside down, the medicine accumulates on the upper surface 115 of the main body portion 11, but this medicine flows along the protrusions 17 a and 17 b of the upper surface 115 to the neck portion 12, and the absorbent core. 2 is aspirated.

このように、吸液芯2が底面111の縁部に接していること、及び突条16,17が形成されていることから、本実施形態の薬剤容器1では、薬剤が容器内に残留するのを防止することができ、薬剤を最後まで使い切ることができる。   Thus, since the liquid absorption core 2 is in contact with the edge of the bottom surface 111 and the protrusions 16 and 17 are formed, in the drug container 1 of the present embodiment, the drug remains in the container. Can be prevented, and the medicine can be used up to the end.

<6.特徴>
以上のように、本実施形態によれば、次の特徴を有している。
<6. Features>
As described above, this embodiment has the following features.

<6−1>
薬剤を収容する薬剤容器1の首部12が、支持体3の保持部314により左右から挟まれるように保持されているため、薬剤容器1が横方向からの振動を受けても、薬剤容器1が支持体から離脱するのを防止することができる。その結果、薬剤容器1から薬剤がこぼれるのを防止することができる。
<6-1>
Since the neck portion 12 of the medicine container 1 that contains the medicine is held by the holding portion 314 of the support 3 so as to be sandwiched from the left and right, even if the medicine container 1 is subjected to vibration from the lateral direction, The separation from the support can be prevented. As a result, the medicine can be prevented from spilling from the medicine container 1.

<6−2>
首部12の外周面に、突部13が形成されており、突部13と本体部11の上面115との隙間に、314保持部が係合するため、薬剤容器1の上下方向の移動が拘束される。そのため、薬剤容器1が上下方向の振動を受けても、支持体3から離脱するのを防止することができる。
<6-2>
A protrusion 13 is formed on the outer peripheral surface of the neck portion 12, and the 314 holding portion engages with a gap between the protrusion 13 and the upper surface 115 of the main body 11, so that the movement of the medicine container 1 in the vertical direction is restricted. Is done. Therefore, it is possible to prevent the medicine container 1 from being detached from the support body 3 even when the medicine container 1 receives vertical vibrations.

<6−3>
薬剤容器1の本体部11は、上下方向において、保持部314と底面支持部318との間に挟まれた状態となっているため、一旦、薬剤容器1が支持体3に装着されると、斜め上方あるいは斜め下方には移動できないようになっており、薬剤容器1の離脱を防止することができる。
<6-3>
Since the main body part 11 of the medicine container 1 is sandwiched between the holding part 314 and the bottom surface support part 318 in the vertical direction, once the medicine container 1 is mounted on the support body 3, The medicine container 1 cannot be moved obliquely upward or obliquely downward, so that the medicine container 1 can be prevented from being detached.

<6−4>
薬剤容器1の本体部11の外周面全体が支持本体31に支持されているのでなく、薬剤容器1は、支持本体31のうち、中間部312と当接し、下端部313とは隙間を空けている。そのため、薬剤容器1が振動を受けても、その振動の少なくとも一部を下端部313との隙間で吸収することができる。その結果、振動を受けたとき、薬剤容器1が支持本体31からの衝撃で破損するのを防止することができる。また、下端部313には棒状の突部317が形成されているため、薬剤容器1が隙間側へ移動したときには、この突部317がクッションとなって接触する。
<6-4>
The entire outer peripheral surface of the main body part 11 of the drug container 1 is not supported by the support body 31, but the drug container 1 contacts the intermediate part 312 of the support body 31 and leaves a gap with the lower end part 313. Yes. Therefore, even if the medicine container 1 receives vibration, at least a part of the vibration can be absorbed by the gap with the lower end 313. As a result, the drug container 1 can be prevented from being damaged by the impact from the support body 31 when subjected to vibration. Moreover, since the rod-shaped protrusion 317 is formed in the lower end part 313, when the chemical | medical agent container 1 moves to the clearance gap side, this protrusion 317 contacts as a cushion.

さらに、中間部312は、薬剤容器1の重心Gと対応する上下方向の位置において、薬剤容器1の本体部11の外周面と当接しているため、振動を受けたとき(特に薬剤容器内の薬剤の残量が少なくなったとき)でも、薬剤容器1が支持本体31に対して大きく揺れるのを防止することができる。   Further, since the intermediate portion 312 is in contact with the outer peripheral surface of the main body portion 11 of the drug container 1 at the vertical position corresponding to the center of gravity G of the drug container 1, when the vibration is received (particularly in the drug container) Even when the remaining amount of the medicine is low), the medicine container 1 can be prevented from shaking greatly with respect to the support body 31.

<6−5>
支持体3には、固定部4が回転自在に取り付けられているため、次のような効果がある。すなわち、支持体3が振動を受けた場合、支持体3は固定部4に対して回転するようになっている。したがって、例えば、取付対象物7が図14(a)に示す水平な状態から、図14(b)に示す傾いた状態になったとしても、支持体3の重心が、支持体3と固定部4との連結部分の鉛直下方に位置するように、支持体3は回転する。そのため、薬剤容器1は、開口121が上方を向いた状態に維持されるため、薬剤がこぼれるのを防止することができる。
<6-5>
Since the fixing part 4 is rotatably attached to the support body 3, the following effects are obtained. That is, when the support 3 receives vibration, the support 3 rotates with respect to the fixed portion 4. Therefore, for example, even if the attachment object 7 is changed from the horizontal state shown in FIG. 14 (a) to the inclined state shown in FIG. 14 (b), the center of gravity of the support 3 is fixed to the support 3 and the fixing portion. The support body 3 rotates so as to be positioned vertically below the connecting portion with the motor 4. Therefore, since the medicine container 1 is maintained with the opening 121 facing upward, it is possible to prevent the medicine from spilling.

<7.変形例>
以上、本発明の一実施形態について説明したが、本発明はこれに限定されるものではなく、その趣旨を逸脱しない限りにおいて種々の変更が可能である。なお、以下の変形例は、適宜組合わせ可能である。
<7. Modification>
As mentioned above, although one Embodiment of this invention was described, this invention is not limited to this, A various change is possible unless it deviates from the meaning. The following modifications can be combined as appropriate.

<7−1>
上記実施形態では、首部12の突部13と本体部11の上面115との間に保持部314を係合させているが、これに限定されるものでない。すなわち、首部12に設けられた雄ねじ14を利用して保持部314を係合させることもできる。また、首部12の突部13は、首部12の全周に亘って設ける必要はなく、一部でもよい。さらに、突部13を首部12の軸方向に複数設け、隣接する突部13の間に保持部314を係合させてもよい。
<7-1>
In the above embodiment, the holding portion 314 is engaged between the protruding portion 13 of the neck portion 12 and the upper surface 115 of the main body portion 11, but is not limited thereto. That is, the holding portion 314 can be engaged using the male screw 14 provided on the neck portion 12. Further, the protruding portion 13 of the neck portion 12 does not need to be provided over the entire circumference of the neck portion 12 and may be a part. Furthermore, a plurality of protrusions 13 may be provided in the axial direction of the neck 12, and the holding part 314 may be engaged between the adjacent protrusions 13.

保持部314の形態は、特には限定されず、首部の径方向外方から首部を挟むように保持するものであれば、特には限定されない。また、首部に限られず、本体部を径方向外方から挟むように保持することもできる。   The form of the holding part 314 is not particularly limited as long as the holding part 314 is held so as to sandwich the neck part from the outside in the radial direction of the neck part. Moreover, it is not restricted to a neck part, It can also hold | maintain so that a main-body part may be pinched | interposed from radial direction outer side.

<7−2>
支持体3の形態も、特には限定されず、少なくとも保持部314が設けられていればよい。したがって、カバーも必要に応じて設けられればよい。
<7-2>
The form of the support 3 is not particularly limited as long as at least the holding portion 314 is provided. Therefore, a cover may be provided as necessary.

<7−3>
固定部4の形態も特には限定されず、取付対象物に固定できればよい。また、固定部を設けず、両面テープなどで、支持体3を取付対象物に直接固定することもできる。
<7-3>
The form of the fixing portion 4 is not particularly limited as long as it can be fixed to the attachment target. Further, the support 3 can be directly fixed to the attachment object with a double-sided tape or the like without providing the fixing portion.

<7−4>
薬剤容器1の形態も特には限定されず、少なくとも上部に開口121を有し、この開口121から薬剤に含浸されるように吸液芯2が挿入可能であればよい。したがって、形状、材料などは特には限定されない。
<7-4>
The form of the medicine container 1 is not particularly limited as long as the medicine container 1 has an opening 121 at least at the top, and the liquid absorbent core 2 can be inserted so as to be impregnated with the medicine from the opening 121. Accordingly, the shape, material, etc. are not particularly limited.

<7−5>
薬剤容器1に形成された突条16、17a,17bは、薬剤を伝わせるために形成されたものであるが、これに限定されない。例えば、上記各突条16、17a,17bには溝が形成されているが、溝は必ずしもなくてもよく、図15に示すように、突条17だけでもよい。また、上記実施形態では、突条を薬剤容器1の底面111から側面112に亘って(16)と、上面115から首部12に亘って(17a,17b)形成しているが、少なくとも一方があればよい。また、複数の突条を設けることもできる。さらに、突条の代わりに、図16に示すように、薬剤容器1の内壁面に溝18を形成することもできる。
<7-5>
The protrusions 16, 17a, 17b formed in the medicine container 1 are formed to transmit medicine, but are not limited thereto. For example, although the grooves 16, 17 a, and 17 b are formed with grooves, the grooves are not necessarily provided, and only the protrusions 17 may be provided as shown in FIG. 15. In the above embodiment, the protrusions are formed from the bottom surface 111 to the side surface 112 of the drug container 1 (16) and from the top surface 115 to the neck portion 12 (17a, 17b). That's fine. Also, a plurality of protrusions can be provided. Further, instead of the protrusions, grooves 18 can be formed on the inner wall surface of the medicine container 1 as shown in FIG.

<7−6>
上記実施形態においては、図6に示すように、吸液芯2の下端部21は、薬剤容器の底面111の左右の縁部1111に接しているが、少なくとも一部が接していればよい。例えば、図17(a)に示すように、吸液芯2の下端部21の径が小さく、一方の縁部1111にのみ接していてもよいし、図17(b)に示すように、底面111のいずれかの縁部(この例では背面側)に接していてもよい。また、底面111の形状も特には限定されず、吸液芯2の下端部21の一部が縁部のいずれかに接するような形状であればよい。但し、このような構成は、必ずしも必要ではないが、設けられていることが好ましい。
<7-6>
In the above embodiment, as shown in FIG. 6, the lower end portion 21 of the liquid absorbent core 2 is in contact with the left and right edge portions 1111 of the bottom surface 111 of the drug container. For example, as shown in FIG. 17 (a), the diameter of the lower end portion 21 of the liquid absorbent core 2 may be small and may be in contact with only one edge portion 1111 or as shown in FIG. 17 (b). It may be in contact with any one of the edges 111 (the back side in this example). Further, the shape of the bottom surface 111 is not particularly limited as long as a part of the lower end portion 21 of the liquid absorbent core 2 is in contact with any one of the edge portions. However, such a configuration is not necessarily required, but is preferably provided.

1 :薬剤容器
11 :本体部
111 :底面
112 :側面(外周面)
113 :前面(外周面)
114 :背面(外周面)
115 :上面(外周面)
12 :首部
121 :開口
13 :突部
2 :吸液芯
21 :下端部
3 :支持体
31 :支持本体(上下支持部)
312 :中間部(第1支持部)
313 :下端部(第2支持部)
314 :保持部
318 :底面支持部
32 :カバー
4 :固定部
G :重心
1: Drug container 11: Main body 111: Bottom surface 112: Side surface (outer peripheral surface)
113: Front surface (outer peripheral surface)
114: Back surface (outer peripheral surface)
115: Upper surface (outer peripheral surface)
12: Neck part 121: Opening 13: Projection part 2: Liquid absorption core 21: Lower end part 3: Support body 31: Support body (upper and lower support part)
312: Intermediate part (first support part)
313: Lower end portion (second support portion)
314: Holding portion 318: Bottom support portion 32: Cover 4: Fixing portion G: Center of gravity

Claims (7)

上部に開口を有し、液状の薬剤が収容された薬剤容器と、
前記薬剤容器の開口に差し込まれる吸液芯と、
前記薬剤容器を支持するとともに、取付対象物に取り付けられる支持体と、
を備え、
前記支持体は、
前記開口の軸線方向に対する径方向外方から、前記薬剤容器を挟むように保持する保持部と、
上下方向に延び、前記保持部が連結されるとともに、少なくとも一部が前記薬剤容器の外周面と当接する、上下支持部と、
前記上下支持部の下端部に連結され、前記保持部と同じ方向に延び、前記薬剤容器の底面を支持するように延びる底面支持部と、
前記保持部が設けられている側とは反対側から前記薬剤容器を覆う第1壁面、及び前記吸液芯が差し込まれた前記開口側を覆う第2壁面、を備えたカバーと、
を備え、
前記第2壁面は、気体が通過可能に構成されており、
前記カバーは、前記支持体に取り付けられた状態で開閉可能に構成され、前記カバーが開状態にあるとき、前記薬剤容器が、前記保持部から離脱可能に構成されている、薬剤揮散器。
A drug container having an opening at the top and containing a liquid drug;
A liquid absorbent core to be inserted into the opening of the drug container;
Supporting the drug container, and a support attached to the attachment object;
With
The support is
From the radially outer side with respect to the axial direction of the opening, a holding part that holds the drug container so as to sandwich it,
An up-and-down support portion that extends in the up-and-down direction, is connected to the holding portion, and at least part of which abuts on the outer peripheral surface of the drug container;
A bottom support portion connected to a lower end portion of the upper and lower support portions, extending in the same direction as the holding portion, and extending to support the bottom surface of the drug container;
A cover including a first wall surface covering the drug container from the side opposite to the side where the holding unit is provided, and a second wall surface covering the opening side into which the liquid absorption core is inserted;
With
The second wall surface is configured to allow gas to pass through,
The said cover is comprised so that opening and closing is possible in the state attached to the said support body, When the said cover is in an open state, the said chemical | medical agent container is comprised so that isolation | separation from the said holding | maintenance part is possible .
前記薬剤容器は、前記開口が形成された首部と、前記首部よりも外形が大きく、当該首部が連結される本体部と、を備え、
前記保持部は、前記首部を保持するように構成されている、請求項1に記載の薬剤揮散器。
The drug container includes a neck part in which the opening is formed, and a main body part having an outer shape larger than the neck part and connected to the neck part,
The drug volatilizer according to claim 1, wherein the holding part is configured to hold the neck part.
前記首部の外周面には、突部が形成されており、
前記突部と前記本体部との間の隙間に、前記保持部が係合するように構成されている、請求項2に記載の薬剤揮散器。
A protrusion is formed on the outer peripheral surface of the neck,
The chemical volatilizer according to claim 2, wherein the holding unit is engaged with a gap between the protrusion and the main body.
前記薬剤容器は、前記開口が形成された首部と、前記首部よりも外形が大きく、当該首部が連結される本体部と、を備え、
前記保持部は、前記首部を保持するように構成されており、
前記支持体は、
前記薬剤容器の重心と対応する上下方向の位置において、前記本体部の外周面と当接する第1支持部と、
前記第1支持部に連結され、当該第1支持部よりも下方において、前記本体部と隙間を空けて配置される第2支持部と、を備えている、請求項1からのいずれかに記載の薬剤揮散器。
The drug container includes a neck part in which the opening is formed, and a main body part having an outer shape larger than the neck part and connected to the neck part,
The holding part is configured to hold the neck part,
The support is
A first support portion in contact with the outer peripheral surface of the main body portion at a vertical position corresponding to the center of gravity of the medicine container;
Is connected to the first support portion, the lower than the first support portion, wherein the includes a second supporting portion arranged at a main body portion with a gap, and to any one of claims 1 to 3 The chemical volatilizer as described.
前記薬剤容器は、前記開口が形成された首部と、前記首部よりも外形が大きく、当該首部が連結される本体部と、を備え、
前記保持部は、前記首部を保持するように構成されている、請求項1からのいずれかに記載の薬剤揮散器。
The drug container includes a neck part in which the opening is formed, and a main body part having an outer shape larger than the neck part and connected to the neck part,
The chemical vaporizer according to any one of claims 1 to 3 , wherein the holding part is configured to hold the neck part.
前記支持体を、取付対象物に取り付けるための固定部をさらに備えている、請求項1からのいずれかに記載の薬剤揮散器。 The chemical volatilizer according to any one of claims 1 to 5 , further comprising a fixing part for attaching the support to an attachment object. 前記薬剤容器は、前記開口の直下に形成された底面と、当該底面の周縁から上方へ延びる外周面とを備え、
前記吸液芯の下端部の少なくとも一部が、前記底面の周縁のいずれかに当接するように構成されている、請求項1からのいずれかに記載の薬剤揮散器。
The drug container includes a bottom surface formed immediately below the opening, and an outer peripheral surface extending upward from a peripheral edge of the bottom surface,
The chemical volatilizer according to any one of claims 1 to 6 , wherein at least a part of a lower end portion of the liquid absorbent core is configured to abut against any one of the peripheral edges of the bottom surface.
JP2015001139A 2015-01-06 2015-01-06 Chemical volatilizer Active JP6609101B2 (en)

Priority Applications (1)

Application Number Priority Date Filing Date Title
JP2015001139A JP6609101B2 (en) 2015-01-06 2015-01-06 Chemical volatilizer

Applications Claiming Priority (1)

Application Number Priority Date Filing Date Title
JP2015001139A JP6609101B2 (en) 2015-01-06 2015-01-06 Chemical volatilizer

Publications (2)

Publication Number Publication Date
JP2016123765A JP2016123765A (en) 2016-07-11
JP6609101B2 true JP6609101B2 (en) 2019-11-20

Family

ID=56358429

Family Applications (1)

Application Number Title Priority Date Filing Date
JP2015001139A Active JP6609101B2 (en) 2015-01-06 2015-01-06 Chemical volatilizer

Country Status (1)

Country Link
JP (1) JP6609101B2 (en)

Families Citing this family (1)

* Cited by examiner, † Cited by third party
Publication number Priority date Publication date Assignee Title
KR102621608B1 (en) * 2023-09-22 2024-01-04 채수인 Air vent attached direction device

Family Cites Families (3)

* Cited by examiner, † Cited by third party
Publication number Priority date Publication date Assignee Title
AU2003267463A1 (en) * 2003-04-16 2004-11-04 Zobele Espana, S.A. Vehicle air freshener diffuser
ITMI20031165A1 (en) * 2003-06-10 2004-12-11 Zobele Holding Spa DEVICE FOR THE EMANATION OF VOLATILE SUBSTANCES, IN
JP2005058338A (en) * 2003-08-08 2005-03-10 Earth Chem Corp Ltd Volatilization apparatus, outer container for volatilization apparatus, and storage container

Also Published As

Publication number Publication date
JP2016123765A (en) 2016-07-11

Similar Documents

Publication Publication Date Title
WO2013042428A1 (en) Liquid spray apparatus
JPWO2017183213A1 (en) container
JP6609101B2 (en) Chemical volatilizer
CN113316466B (en) Atomization device
JP6591750B2 (en) Drug container and drug volatilizer equipped with the same
JP6734021B2 (en) Bag container
JP2016123766A (en) Chemical agent vaporizer
JP2012115364A (en) Volatilization device
JP2017063898A (en) Chemical volatilizer
JP5904415B2 (en) Liquid spray device
JP6037750B2 (en) Cup container lid
JP6896407B2 (en) Volatilizer
WO2021261335A1 (en) Chemical solution volatilizer
JP2014069832A (en) Lid for cup container
BRPI0513658B1 (en) distributor, in particular dosing distributor
JP2012026659A (en) Funnel for humidifier and tank funnel assembly for humidifier
JP7016315B2 (en) cap
JP6804950B2 (en) Volatilizer
JP7770858B2 (en) Volatilization device
JP2022002973A (en) Chemical liquid vaporizer
JP2022002975A (en) Chemical liquid vaporizer
JP2020039446A (en) Fragrance equipment
EP1720723B1 (en) Volatile substance dispenser for motor vehicles
JP6198136B2 (en) Tube container and cap
JP2022002974A (en) Chemical liquid vaporizer

Legal Events

Date Code Title Description
A621 Written request for application examination

Free format text: JAPANESE INTERMEDIATE CODE: A621

Effective date: 20171212

A977 Report on retrieval

Free format text: JAPANESE INTERMEDIATE CODE: A971007

Effective date: 20180719

A131 Notification of reasons for refusal

Free format text: JAPANESE INTERMEDIATE CODE: A131

Effective date: 20180807

A601 Written request for extension of time

Free format text: JAPANESE INTERMEDIATE CODE: A601

Effective date: 20181009

A521 Request for written amendment filed

Free format text: JAPANESE INTERMEDIATE CODE: A523

Effective date: 20181206

A02 Decision of refusal

Free format text: JAPANESE INTERMEDIATE CODE: A02

Effective date: 20190423

A521 Request for written amendment filed

Free format text: JAPANESE INTERMEDIATE CODE: A523

Effective date: 20190722

A521 Request for written amendment filed

Free format text: JAPANESE INTERMEDIATE CODE: A523

Effective date: 20190823

A911 Transfer to examiner for re-examination before appeal (zenchi)

Free format text: JAPANESE INTERMEDIATE CODE: A911

Effective date: 20190828

TRDD Decision of grant or rejection written
A01 Written decision to grant a patent or to grant a registration (utility model)

Free format text: JAPANESE INTERMEDIATE CODE: A01

Effective date: 20191008

A61 First payment of annual fees (during grant procedure)

Free format text: JAPANESE INTERMEDIATE CODE: A61

Effective date: 20191025

R150 Certificate of patent or registration of utility model

Ref document number: 6609101

Country of ref document: JP

Free format text: JAPANESE INTERMEDIATE CODE: R150

R250 Receipt of annual fees

Free format text: JAPANESE INTERMEDIATE CODE: R250

R250 Receipt of annual fees

Free format text: JAPANESE INTERMEDIATE CODE: R250

R250 Receipt of annual fees

Free format text: JAPANESE INTERMEDIATE CODE: R250

R250 Receipt of annual fees

Free format text: JAPANESE INTERMEDIATE CODE: R250